Главная // Актуальные документы // Рекомендация / РекомендацииСПРАВКА
Источник публикации
М.: Стройиздат, 1989
Примечание к документу
Название документа
"Рекомендации по расчету и проектированию звукоизолирующих ограждений машинного оборудования"
"Рекомендации по расчету и проектированию звукоизолирующих ограждений машинного оборудования"
ПО РАСЧЕТУ И ПРОЕКТИРОВАНИЮ ЗВУКОИЗОЛИРУЮЩИХ ОГРАЖДЕНИЙ
МАШИННОГО ОБОРУДОВАНИЯ
Рекомендованы к изданию решением секции Научно-технического совета НИИСФ Госстроя СССР
Даны методы расчета требуемой звукоизоляции; звукоизоляции плоских ограждений конструкций, выполненных из тонколистовых материалов; звукоизоляции ограждений машинного оборудования и трубопроводов. Изложены требования к ограждающим конструкциям звукоизолирующих кожухов.
Для инженерно-технических работников проектных, строительных организаций, конструкторских бюро и заводов, занимающихся вопросами борьбы с шумом.
Технически и экономически наиболее эффективным методом снижения шума в производственных зданиях является устройство звукоизолирующих ограждений отдельных машин группы технологического оборудования подводимых к ним коммуникаций.
В настоящих Рекомендациях описываются методы расчета требуемой звукоизоляции, звукоизоляции плоских ограждающих конструкций, выполненных из тонколистовых материалов, звукоизоляции ограждений машинного оборудования, выполненных из таких конструкций, а также метод расчета звукоизоляции трубопроводов. Даны рекомендации по проектированию звукоизолирующих кожухов промышленного оборудования, звукоизоляции элементов технологических трубопроводов.
Данные Рекомендации обобщают накопленный опыт и результаты исследований, выполненных в последние годы в НИИСФ Госстроя СССР и других организациях. Особое внимание уделено расчету звукоизоляции в диапазоне низких частот и проектированию звукоизолирующих кожухов на промышленное оборудование и трубопроводы.
Разработано НИИСФ Госстроя СССР (д-р техн. наук Г.Л. Осипов, канд. техн. наук Е.Н. Федосеева, инженеры Л.П. Борисов, М.Б. Веселовский) при участии ВИСИ (канд. техн. наук Д.Р. Гужас).
1. ОСНОВНЫЕ ПОНЯТИЯ И ОПРЕДЕЛЕНИЯ
1.1. Под машинным оборудованием (машинами) понимаются стационарные машины, механизмы и другое стационарно установленное техническое оборудование.
1.2. В качестве звукоизолирующего ограждения машины принимают оболочку произвольной формы, выполненную из плоских ограждающих конструкций, полностью охватывающую всю машину или какую-либо ее часть с целью снижения уровней воздушного шума, воздействующих на производственный персонал.
Примечание. Звукоизолирующие ограждения, выполняемые из обычных строительных материалов, представляют собой небольшие помещения - боксы, разработка которых производится в соответствии с "Руководством по проектированию и расчету звукоизоляции ограждающих конструкций зданий" (М.: Стройиздат, 1983).
1.3. В настоящих Рекомендациях рассматриваются звукоизолирующие ограждения, выполненные из тонколистовых или тканых материалов (металлов, пластиков, стекла и т.п.) с применением звуко-, вибропоглощающих материалов, являющиеся самостоятельными конструкциями и охватывающие источник шума при наличии определенного воздушного промежутка между ними. Такие ограждения обычно называют кожухами машин (трубопроводов).
Примечание. Звукоизолирующие ограждения, охватывающие источники шума без воздушного промежутка и вплотную прилегающие к поверхности машины, обычно называют звукоизолирующими покрытиями. Такие покрытия бывают двух- или многослойные, их наружный слой изготавливают из материала с высокой плотностью, а прилегающий к поверхности машины - из эластичного материала с небольшой плотностью. Рекомендации по применению таких ограждений основываются на экспериментальных и опытных результатах и в данной работе не рассматриваются.
1.4. Снижение уровней воздушного шума в результате применения звукоизолирующего кожуха определяют для одной или нескольких расчетных точек. Расчетную точку следует выбирать на рабочем месте той машины, которая закрывается кожухом. Если около изолируемой машины (трубопровода) не требуется постоянное присутствие обслуживающего персонала, а в том же помещении имеются более тихие рабочие места около малошумного оборудования, расчетную точку следует выбирать на тихом рабочем месте, ближайшем к изолируемой машине.
1.5. Величиной звукоизоляции кожуха Rк, дБ, является снижение уровней излучаемой машиной в окружающее пространство звуковой мощности, вызванное установкой звукоизолирующего кожуха

(1)
где

;

- октавный уровень звуковой мощности, излучаемой машиной (трубопроводом) соответственно до установки и после установки кожуха, дБ.
Измерения звукоизоляции кожухов машин следует выполнять по
ГОСТ 23628-79.
1.6. Количественно снижение уровней звукового давления характеризуется эффективностью применения звукоизолирующего кожуха R'к, дБ, которая определяется звукоизоляцией кожуха и уровнями шумового фона в расчетной точке, создаваемого неизолируемым оборудованием данного помещения и приходящим извне
R'к = Lо - Lок, (2)
где Lо, Lок - октавный уровень звукового давления в расчетной точке данного помещения при наиболее характерном режиме работы установленного в нем производственного оборудования до применения и после применения звукоизолирующего кожуха, дБ.
1.7. Допустимые шумовые характеристики рабочих мест регламентируются
ГОСТ 12.1.003-83 в зависимости от типа помещений и характера излучаемого шума. В частности, допустимые уровни звукового давления в октавных полосах частот, уровни звука и эквивалентные уровни звука для тонального шума принимаются на 5 дБ меньше значений, разрешенных для широкополосного шума. Тональный характер шума определяется формой спектра шума, измеренного в третьоктавных полосах частот. Если уровень звукового давления в одной третьоктавной полосе превышает уровни в соседних полосах не менее чем на 10 дБ, то шум считается тональным.
Предельно допустимые уровни инфразвука устанавливаются Гигиеническими
нормами инфразвука на рабочих местах N 2274-80.
2. ОБЩИЕ УКАЗАНИЯ ПО ПРИМЕНЕНИЮ ЗВУКОИЗОЛИРУЮЩИХ
ОГРАЖДЕНИЙ МАШИННОГО ОБОРУДОВАНИЯ
2.1. Наиболее экономичным и эффективным методом обеспечения допустимых значений уровней шума на рабочих местах является эксплуатация малошумных машин. На действующих, а в ряде случаев и при проектировании новых предприятий приходится использовать машины с высоким уровнем звуковой мощности. В помещениях таких предприятий допустимые шумовые характеристики рабочих мест могут быть обеспечены за счет применения различных архитектурно-планировочных и строительно-акустических методов, в частности, звукоизолирующих ограждений машин и трубопроводов.
2.2. Звукоизолирующие кожухи в ряде случаев являются единственным радикальным средством снижения машин и трубопроводов, позволяя существенно снизить шум в непосредственной близости от работающего оборудования на ближайших к источнику рабочих местах, что невозможно сделать другими строительно-акустическими мероприятиями.
2.3. Целесообразность применения кожуха для снижения шума данной машины в выбранной расчетной точке следует определять на основе анализа требуемого снижения октавных уровней звукового давления данной машины и превышения допустимых уровней над уровнями звукового давления фона, создаваемого остальным оборудованием в расчетной точке.
Требуемое снижение октавных уровней звукового давления данной машины

, дБ, следует определять по формуле

(3)
где L - октавный уровень звукового давления, создаваемый машиной в расчетной точке, дБ; Lдоп - допустимый октавный уровень звукового давления в расчетной точке, дБ.
Превышение допустимых уровней звукового давления над уровнями фона, создаваемого в расчетной точке остальным оборудованием

, дБ, находят по формуле

(4)
где Lф - октавный уровень звукового давления, создаваемый производственным оборудованием, кроме изолируемой машины в расчетной точке, дБ.
Величины L, L
ф следует рассчитывать по
СНиП II-12-77. Для действующих предприятий они могут быть измерены непосредственно.
2.4. Кожух на данную машину следует проектировать, если

хотя бы в одной октавной полосе, а

в той же октавной полосе.
Применение кожуха на данную машину целесообразно сочетать с другими строительно-акустическими мероприятиями в данном помещении, если

, а

.
Наиболее целесообразно применение кожухов в случаях, когда в рассматриваемом помещении имеется одна или несколько машин (трубопроводов), шум которых значительно превышает шум остального оборудования, а вынос этих машин или размещение в отдельных помещениях технологически неудобны или по каким-либо причинам невозможны.
2.5. Применение звукоизолирующего ограждения не должно ухудшать условия работы оператора, изменять режим работы изолируемого оборудования, снижать качество выпускаемой продукции, поэтому выполнение требований и ограничений технологии имеет не менее важное значение, чем выполнение акустических требований.
Звукоизолирующий кожух для каждого типа машины в какой-то мере индивидуален, и при его проектировании должны учитываться конкретные условия эксплуатации. Кроме того, кожух помимо защиты от шума может выполнять и другие функции, что экономически оправдано.
Задача проектировщика заключается в поиске оптимального варианта конструкции кожуха, максимально удовлетворяющего всем предъявляемым требованиям.
2.6. В случае если должно быть обеспечено визуальное наблюдение оператора за работой машины и показаниями контрольных приборов, необходимо предусмотреть устройство окон с требуемым обзором. Желательно устройство системы дистанционного управления и контроля или хотя бы дистанционной аварийной остановки.
2.7. На основании теплотехнического расчета следует определить, необходима ли принудительная вентиляция или достаточно естественной через имеющиеся неплотности и технологические отверстия.
При проектировании кожуха следует предусмотреть питание машины энергией, подачу заготовок и удаление готовой продукции и отходов. Сетевые провода следует объединять в один жгут и вводить под кожух через одну ограждающую конструкцию, используя разъемы, применение которых облегчает монтаж и разборку кожуха.
Конструкция технологических отверстий определяется конкретными условиями эксплуатации, однако звукоизоляция отверстий должна быть сравнима со звукоизоляцией элементов ограждения. В случае непрерывной подачи сырья и получения готовой продукции целесообразно использовать акустически обработанные туннели. Отдельные предметы можно пропускать через самоуплотняющиеся отверстия, например с гибкими складными дверьми. Для пропуска мелких предметов и диспергированной среды целесообразно использование накопительных емкостей (загрузочных бункеров, ковшов). В этом случае шум будет излучаться только в течение коротких отрезков времени.
2.8. При проектировании кожуха должны быть учтены противопожарные требования, требования техники безопасности и промышленной эстетики.
3. РАСЧЕТ ТРЕБУЕМОЙ ЗВУКОИЗОЛЯЦИИ.
ЗАДАЧИ АКУСТИЧЕСКОГО РАСЧЕТА
3.1. Расчет требуемой звукоизоляции кожуха и требуемой звукоизоляции ограждающих конструкций кожуха выполняется после принятия решения о применении кожуха с целью выбора прототипа и проектирования ограждающих конструкций, имеющих необходимую звукоизоляцию.
3.2. После проработки конструкции кожуха и всех основных узлов (окон, дверей, люков, технологических и вентиляционных отверстий) следует выполнить расчет звукоизоляции ограждающих конструкций и сравнить его результаты с требуемыми значениями. Конструкция считается удовлетворяющей нормативным требованиям по шуму, если требуемая звукоизоляция не превышает расчетных значений. В противном случае следует доработать конструкцию. Таким образом, процесс проектирования осуществляется методом последовательных приближений: вычисляется звукоизоляция первоначальной конструкции, выполняются необходимые конструктивные улучшения, вновь проводится расчет и т.д.
3.3. Расчет требуемой звукоизоляции кожухов машинного оборудования, изготовляемых из плоских прямоугольных ограждающих конструкций, и требуемой звукоизоляции таких конструкций следует выполнять в двух поддиапазонах.
Поддиапазон I, включающий инфразвуковую низкочастотную области частотного диапазона, ограничен сверху частотой fнв, Гц,
fнв = 160/lмакс, (5)
где lмакс - максимальный линейный размер кожуха машинного оборудования, м.
Поддиапазон II, включающий средне- и высокочастотную области частотного диапазона, ограничен снизу частотой fвн, Гц,
и сверху частотой fвв, Гц,
где

- скорость распространения продольных волн в пластине, м/с; E - модуль упругости материала стенки, Па;

- плотность материала стенки, кг/м
3;

- коэффициент Пуассона материала стенки; h
к - толщина стенки кожуха, м.
Если частота fвв выходит за пределы нормируемого диапазона, то следует принимать fвв = 8000 Гц.
3.4. В поддиапазоне II звукоизоляция определяется значениями поверхностной массы и критической частоты стенок ограждающих конструкций. Поэтому основными конструктивными параметрами, влияющими на эффективность кожуха в этом диапазоне, являются толщина стенок и материал, из которого они изготовлены. На основании расчета звукоизоляции, выполняемого в октавных полосах частот проверяется правильность выбора толщины стенок ограждающих элементов использованного материала.
3.5. В поддиапазоне I звукоизоляция кожуха характеризуется резкими провалами, вызванными резонансом негерметичного кожуха и резонансами стенок ограждающих элементов. Значения резонансных частот определяются размерами отверстий и стенок - длиной и шириной, а также толщиной стенок и характеристиками материала, из которого они изготовлены, объемом заключенного под кожухом воздуха.
Если в спектре низкочастотного шума имеются дискретные тона, то для снижения материалоемкости кожуха следует стремиться в процессе проектирования разнести резонансные частоты и частоты дискретных тонов. Если дискретные тона отсутствуют, то для оптимизации конструкции резонансные частоты следует смещать в области, где требуемая звукоизоляция минимальна.
Для обеспечения необходимой частотной избирательности расчет следует выполнять в третьоктавных полосах частот, а по его результатам оценивается правильность выбора всех размеров ограждающих конструкций и отверстий.
3.6. Требуемую звукоизоляцию кожуха машинного оборудования R
тр.к, дБ, в поддиапазоне II следует определять в октавных полосах частот по формуле

(8)
где

- поправка, дБ, определяемая в зависимости от величины

[см.
формулу (4)], приведена ниже:
Превышение допустимых уровней над уровнями фона, создаваемого в расчетной точке оборудованием, за исключением изолируемой машины  , дБ | 3 | 4 - 5 | 6 - 9 | 9 |
Значения поправки  , дБ | 3 | 2 | 1 | 0 |
3.7. Требуемую звукоизоляцию ограждающих конструкций кожуха машинного оборудования Rтр.о, дБ, в поддиапазоне II следует определять по формуле

(9)
где

- поправка, учитывающая конструкцию кожуха, дБ, вычисляется по формулам:
а) для кожухов со звукопоглощающей облицовкой

(10)
где

- коэффициент звукопоглощения внутренней облицовки кожуха, определяемый по
табл. 1;
б) для необлицованных кожухов

(11)
где Sист - площадь воображаемой поверхности правильной формы (полусфера, параллелепипед), вплотную окружающей машину, м2; Sк - площадь поверхности кожуха, м2.
Материалы звукопоглощающей облицовки кожуха | Коэффициент звукопоглощения  в октавных полосах со среднегеометрическими частотами, Гц |
63 | 125 | 250 | 500 | 1000 | 2000 | 4000 | 8000 |
| | ИС МЕГАНОРМ: примечание. ГОСТ 19907-83 утратил силу с 01.06.2016 в связи с введением в действие ГОСТ 19907-2015 (Приказ Росстандарта от 06.07.2015 N 857-ст). | |
|
1. Мат из стекловолокна (ТУ 21-РСФСР-224-75) толщиной 50 мм, обернутый стеклотканью ЭЗ-100 (ГОСТ 19907-83) и закрытый просечно-вытяжным листом (ГОСТ 8706-78)* | 0,08 | 0,25 | 0,7 | 0,95 | 1 | 1 | 1 | 0,95 |
2. Мат из базальтового волокна (РСТ УССР 50В-76) толщиной 40 мм, обернутый стеклотканью (ГОСТ 19907-83) и закрытый перфорированной алюминиевой панелью (ТУ 36-1974-76) | 0,12 | 0,23 | 0,9 | 1 | 1 | 0,97 | 0,97 | 0,92 |
|
|
3. Минераловатная плита (ГОСТ 9573-82) толщиной 50 мм, обернутая стеклотканью ЭЗ-100 (ГОСТ 19907-83) и закрытая просечно-вытяжным листом (ГОСТ 8706-78)* | 0,09 | 0,18 | 0,55 | 1 | 0,86 | 0,79 | 0,85 | 0,85 |
4. Пенополиуретан звукопоглощающий эластичный (ТУ 6-0,5-221-638-83), толщиной 40 мм, закрытый полиэтиленовой пленкой (ГОСТ 10354-82)* и перфорированным экраном с коэффициентом перфорации не менее 30% | 0,15 | 0,22 | 0,5 | 0,84 | 0,8 | 0,9 | 0,95 | 1 |
3.8. Требуемая звукоизоляция кожуха машинного оборудования в поддиапазоне I Rтр.к, дБ, определяется в третьоктавных полосах частот по формуле

(12)
где Li - третьоктавные уровни звукового давления, создаваемые машиной в расчетной точке, дБ; L'доп - допустимый уровень звукового давления в той октавной полосе, в которую входит данная третьоктавная полоса, дБ; m - число третьоктавных полос, входящих в данную октаву, в которых уровни звукового давления превышают (L'доп - 4). Если m = 0, то член 10lgm не учитывают.
3.9. Требуемая звукоизоляция ограждающих конструкций кожуха машинного оборудования в поддиапазоне I Rтр.о, дБ, принимается равной требуемой звукоизоляции кожуха
Rтр.о = Rтр.к. (13)
3.10. Требуемую звукоизоляцию цилиндрического кожуха на трубопровод следует рассчитывать по
формуле (8) для всего нормируемого диапазона в октавных полосах частот.
4. ТИПЫ ЗВУКОИЗОЛИРУЮЩИХ КОЖУХОВ. ВЫБОР ПРОТОТИПА
4.1. После определения требуемой звукоизоляции кожуха следует выбрать тип звукоизолирующего кожуха. По достигаемой максимальной звукоизоляции можно выделить три типа звукоизолирующих кожухов: кожухи из тканых и пленочных материалов, кожухи из жестких одностенных конструкций, кожухи из жестких двухстенных конструкций.
4.2. Звукоизолирующие кожухи первого типа состоят из каркаса, на котором закрепляют полотнища специальной ткани на основе винила или звукоизоляционной пленки с поверхностной плотностью 4 - 5 кг/м2. При необходимости обеспечения теплообмена в потолочной части кожуха устанавливают глушитель пластинчатого типа, обеспечивающий конвекцию воздуха (рис. 1). Звукоизоляция таких кожухов не превышает 5 - 10 дБ на средних и высоких частотах.
Рис. 1. Схема звукоизолирующего кожуха из тканых материалов
1 - звукоизолирующая ткань; 2 - каркас;
3 - глушитель шума; 4 - изолируемая машина
Затраты на изготовление, установку, демонтаж кожухов, выполненных из эластичных материалов, минимальны, условия работы оператора машины меняются незначительно, не требуется виброизоляция машины. Проверочный расчет звукоизоляции спроектированной конструкции такого типа кожуха обычно не выполняют.
4.3. Ограждающие конструкции кожухов второго типа имеют одну стенку, выполненную из конструкционного материала, на которую могут быть нанесены слои звуко- и вибропоглощающих материалов. Звукоизоляция таких кожухов не превышает 30 дБ, при условии, что закрываемая кожухом машина виброизолирована, а площадь открытых проемов, не имеющих глушителей шума, составляет менее 1% площади поверхности кожуха.
4.4. Ограждающие конструкции кожухов третьего типа имеют две стенки, на каждую из которых могут быть нанесены слои звуко- и вибропоглощающих материалов. Расстояние между стенками обычно составляет 50 - 150 мм, а стенки соединяются между собой только звукоизолирующими мостиками, не влияющими на звукоизоляцию двустенной конструкции. Звукоизолирующие мостики бывают трех типов: инерционные, упругие и комбинированные. В качестве упругого элемента звукоизолирующего мостика во многих случаях можно использовать амортизаторы, выпускаемые промышленностью.
Звукоизоляция кожухов этого типа превышает 30 дБ при условии, что площадь открытых проемов и неплотностей, не имеющих глушителей шума, составляет менее 0,1% площади поверхности кожуха и использована двойная виброизоляция машины.
4.5. Для устройства звукоизолирующих кожухов первого типа требуются специальные эластичные звукоизолирующие материалы, что ограничивает их широкое применение в практику борьбы с шумом. Высокая звукоизоляция кожухов третьего типа может быть достигнута при высокой степени герметичности конструкции и надежной виброизоляции машины, что обычно затрудняется требованиями технологии и удобства обслуживания изолируемой машины. Такие кожухи следует применять в специальных случаях.
В настоящее время наиболее распространены кожухи машинного оборудования второго типа, ограждающие конструкции которых имеют одну стенку с нанесенными на нее слоями звуко-, вибропоглощающих материалов.
4.6. По конструктивно-планировочному решению звукоизолирующие кожухи могут быть сборные или монолитные, каркасные или бескаркасные. Ограждающие конструкции кожухов на крупногабаритные машины целесообразно собирать на каркасах, максимально используя стандартные изделия и унифицированные детали.
4.7. В зависимости от имеющейся возможности ремонта и обслуживания изолируемой машины кожухи могут быть с обслуживанием машины снаружи и с обслуживанием внутри кожуха (блочные).
В первом случае доступ оператора к отдельным узлам машины осуществляется посредством предусмотренных в конструкции люков, быстросъемных, откидывающихся или сдвижных конструкций ограждения
(рис. 2). При проведении крупных ремонтов сборные кожухи полностью или частично разбираются, а монолитные - убираются с помощью имеющегося подъемно-транспортного оборудования. Выбирать конкретное решение следует с учетом наличия свободного пространства или площади вблизи машины, имеющегося подъемно-транспортного оборудования, использованных в конструкции кожуха материалов.
Рис. 2. Конструктивные варианты звукоизолирующих
кожухов, охватывающих изолируемую машину
с небольшим воздушным зазором
Воздушный зазор у таких кожухов обычно составляет 100 - 150 мм, а габариты определяются размерами изолируемой машины, поэтому они отличаются большей компактностью, меньшей массой. Использование относительно большого количества открывающихся проемов требует надежной герметизации всех притворов.
4.8. Блочные кожухи имеют помимо технологических отверстий только одну дверь для входа обслуживающего персонала. Габаритные размеры выбираются с учетом возможности работы оператора внутри кожуха. Крупные ремонты машины осуществляются при полной разборке или снятии кожуха подъемными механизмами.
Блочная конструкция обладает большей звукоизоляцией за счет хорошей герметичности.
4.9. После выбора типа звукоизолирующего кожуха и его конструктивно-планировочного решения следует подобрать наиболее подходящий кожух из числа известных, используя его в качестве прототипа. Некоторые варианты приведены в
прил. 1.
4.10. После определения требуемой звукоизоляции ограждающих конструкций кожуха следует подобрать необходимую толщину стенок и внести другие изменения в конструкцию прототипа.
5. ТРЕБОВАНИЯ К ОГРАЖДАЮЩИМ КОНСТРУКЦИЯМ
ЗВУКОИЗОЛИРУЮЩИХ КОЖУХОВ
5.1. При проектировании звукоизолирующих кожухов следует учитывать три основных пути распространения воздушного шума: через ограждающие конструкции (
рис. 3, путь А), через негерметичные стыки деталей конструкции, притворы дверей и люков, через технологические и вентиляционные отверстия (путь Б). Через точки жесткого соприкосновения машины и кожуха и через фундамент (путь В) может распространяться структурный шум, который излучается относительно большими поверхностями пола и кожуха, снижая звукоизоляцию кожуха.
Рис. 3. Пути распространения шума
от изолируемого оборудования
А - через ограждающие конструкции; Б - через
технологические и вентиляционные отверстия,
неплотности конструкции; В - через фундамент
и точки жесткого соприкосновения машины и кожуха
5.2. Жесткость и устойчивость неразборного кожуха обеспечивается ограждающими конструкциями, соединяемыми между собой сваркой.
Жесткость и устойчивость сборного кожуха обеспечивается каркасом с рамным основанием. Каркас и основание следует изготовлять из тонкостенных профилей, выполняя соединения сваркой или на винтах.
5.3. Стенки ограждающих конструкций неразборных кожухов следует изготовлять из металлических пластин, для разборных кожухов могут применяться и другие листовые материалы
(табл. 2). При использовании звукопоглощающей облицовки для ее защиты от механических воздействий ограждающие конструкции сборных кожухов следует выполнять в виде панелей, имеющих рамку по контуру. С внутренней стороны панель следует закрыть металлической сеткой или перфорированным листом, причем площадь отверстий должна составлять не менее 20 - 30% площади стенки
(рис. 4). Толщина слоя звукопоглощающей облицовки должна составлять не менее 40 - 50 мм. Для защиты от пыли и других загрязнений применяют стеклоткань или специальные пленки.
Материал | Толщина, мм | Масса 1 м2, кг | Звукоизоляция одностенных конструкций в октавных полосах, дБ, со среднегеометрическими частотами, Гц |
63 | 125 | 250 | 500 | 1000 | 2000 | 4000 | 8000 |
Сталь | 1 | 7,8 | 12 | 16 | 20 | 24 | 29 | 33 | 36 | 34 |
2 | 15,6 | 16 | 20 | 24 | 29 | 23 | 36 | 34 | 34 |
3 | 23,4 | 19 | 23 | 27 | 31 | 35 | 37 | 30 | 39 |
4 | 31,2 | 21 | 25 | 29 | 33 | 36 | 34 | 34 | 41 |
Алюминиево-магниевые сплавы | 1 | 2,8 | 6 | 10 | 14 | 18 | 22 | 26 | 29 | 27 |
2 | 5,6 | 10 | 14 | 18 | 22 | 26 | 29 | 27 | 25 |
3 | 8,4 | 12 | 16 | 20 | 24 | 28 | 31 | 22 | 30 |
4 | 11,2 | 14 | 18 | 22 | 26 | 29 | 27 | 25 | 32 |
Стеклопластик | 3 | 5,1 | 9 | 13 | 17 | 21 | 25 | 29 | 31 | 32 |
5 | 8,5 | 12 | 16 | 20 | 24 | 28 | 31 | 31 | 34 |
8 | 13,6 | 15 | 19 | 23 | 27 | 30 | 31 | 33 | 37 |
Фанера | 5 | 4 | 9 | 13 | 17 | 21 | 25 | 28 | 26 | 29 |
8 | 6,4 | 12 | 16 | 20 | 24 | 27 | 27 | 27 | 32 |
10 | 8 | 13 | 17 | 21 | 25 | 28 | 25 | 29 | 33 |
12 | 9,6 | 15 | 19 | 23 | 26 | 28 | 26 | 30 | 34 |
Стекло силикатное | 2 | 5 | 12 | 16 | 20 | 24 | 28 | 32 | 30 | 33 |
3 | 7,5 | 14 | 18 | 22 | 26 | 30 | 34 | 29 | 38 |
5 | 12,5 | 17 | 21 | 25 | 29 | 33 | 30 | 36 | 41 |
10 | 25 | 21 | 25 | 28 | 33 | 30 | 36 | 42 | 44 |
Стекло органическое | 3 | 3,6 | 11 | 15 | 19 | 23 | 26 | 30 | 34 | 34 |
5 | 6 | 14 | 18 | 22 | 26 | 30 | 33 | 35 | 31 |
7 | 8,4 | 16 | 20 | 24 | 27 | 31 | 35 | 32 | 35 |
Рис. 4. Ограждающая конструкция сборного кожуха
1 - рамка; 2 - перфорированный лист; 3 - стенка
ограждающей конструкции; 4 - звукопоглощающий материал
5.4. Если кожух имеет днище, то его панели должны иметь уклон и коллектор для слива конденсата. При использовании звукопоглощающей облицовки днищевых панелей их зашивку с внутренней стороны следует выполнять из сплошного листа с герметичной заделкой по краям.
5.5. Для снижения стоимости кожуха, улучшения взаимозаменяемости ограждающих конструкций, упрощения их ремонта, сборки и демонтажа целесообразно унифицировать ограждающие конструкции.
5.6. В некоторых случаях отдельные ограждающие конструкции (дверцы, люки технологических отверстий) могут быть изготовлены из гибких (тканых) материалов в виде портьер (цельных или разрезанных на полосы).
Звукоизоляция таких кожухов будет определяться звукоизоляцией эластичного материала и его долей в общей площади поверхности кожуха. Такая конструкция позволяет совместить преимущества легкого доступа оператора к изолируемой машине с достаточно высоким снижением шума в определенных направлениях.
5.7. Для повышения звукоизоляции в области резонансов стенок ограждающих конструкций, а также на средних и высоких частотах следует использовать вибропоглощающие материалы. Если на кожух передается вибрация, то использовать вибропоглощающую облицовку стенок следует обязательно. Оптимальная толщина слоя вибропоглощающего материала составляет 2 - 3 толщины стенки. Вместо нанесения облицовки можно применять слоеные конструкционные материалы типа "сэндвич".
5.8. Для предотвращения снижения звукоизоляции кожуха из-за неплотностей стыков ограждающих конструкций и притворов дверей следует использовать в стыках прокладки из эластичных материалов и профилированной резины (
рис. 5,
6).
Рис. 5. Крепление ограждающей конструкции кожуха к каркасу
1 - каркас; 2 - ограждающая конструкция;
3 - эластичная прокладка
Рис. 6. Профиль резиновой прокладки для уплотнения стыков
5.9. Площадь смотровых окон должна быть минимальна, обеспечивая необходимый обзор контрольных приборов или зоны рабочего процесса. Требуемую освещенность следует обеспечивать за счет применения систем искусственного освещения. Одинарные окна следует изготовлять из толстого стекла - органического или силикатного, устанавливая их в ограждающие конструкции с помощью профилированных резиновых прокладок (рис. 7).
Рис. 7. Профиль резиновой прокладки для уплотнения окон
5.10. Если для обеспечения нормального тепловлажностного режима работы машины необходимо обеспечить циркуляцию воздуха под кожухом, то предусматривают в одной или нескольких ограждающих конструкциях отверстия требуемого сечения, оборудуя их глушителями шума. Схемы щелевых и трубчатых глушителей показаны на рис. 8.
Рис. 8. Схема щелевого и трубчатого глушителей
При устройстве принудительной вентиляции вентилятор следует устанавливать внутри кожуха, а его звуковую мощность следует учитывать при расчете уровней звукового давления на рабочем месте.
Расчет эффективности глушителей вентиляционных и технологических отверстий R
гл, дБ, следует выполнять в соответствии с
Руководством по расчету и проектированию шумоглушения вентиляционных установок (М.: Стройиздат, 1982).
Параметры щелевых и кольцевых глушителей можно выбрать по табл. 3. Ширина щели в таких глушителях должна быть 20 - 40 мм при двухсторонней и 10 - 20 мм при односторонней облицовке щели. Толщина облицовки 50 мм.
Таблица 3
Тип глушителя | Ширина щели, мм | Площадь свободного сечения, м2 | Длина, м | Эффективность глушителей вентиляционных и технологических отверстий с наполнителем из базальтового стекловолокна в октавных полосах со среднегеометрическими частотами, Гц |
63 | 125 | 250 | 500 | 1000 | 2000 | 4000 | 8000 |
Кольцевые и щелевые глушители с двухсторонней облицовкой | 40 | 0,035 | 0,5 | 18 | 18 | 20 | 25 | 33 | 38 | 40 | 34 |
0,75 | 20 | 22 | 27 | 36 | 45 | 45 | 45 | 40 |
1 | 23 | 26 | 35 | 45 | 45 | 45 | 45 | 40 |
30 | 0,022 | 0,5 | 20 | 22 | 24 | 31 | 40 | 45 | 45 | 45 |
0,75 | 22 | 27 | 33 | 45 | 45 | 45 | 45 | 45 |
1 | 25 | 32 | 40 | 45 | 45 | 45 | 45 | 45 |
20 | 0,015 | 0,5 | 22 | 29 | 32 | 38 | 45 | 45 | 45 | 40 |
0,75 | 26 | 38 | 40 | 45 | 45 | 45 | 45 | 40 |
1 | 30 | 40 | 40 | 45 | 45 | 45 | 45 | 40 |
Кольцевые глушители с односторонней облицовкой | 20 | Не более 0,015 | 0,5 | 18 | 18 | 20 | 25 | 33 | 38 | 40 | 34 |
0,75 | 20 | 22 | 27 | 36 | 45 | 45 | 45 | 40 |
1 | 23 | 26 | 35 | 45 | 45 | 45 | 45 | 40 |
10 | Не более 0,01 | 0,5 | 22 | 29 | 32 | 38 | 45 | 45 | 45 | 40 |
0,75 | 26 | 38 | 40 | 45 | 45 | 45 | 45 | 40 |
1 | 30 | 40 | 40 | 45 | 45 | 45 | 45 | 40 |
5.11. Вращающиеся валы и другие подвижные элементы машины должны проходить через минимально допустимые отверстия в ограждениях кожуха, обеспечивающие отсутствие виброакустических мостиков при любых возможных режимах работы машины. Герметизация таких отверстий может быть выполнена либо с применением эластичных мембран и прокладок, либо путем устройства акустически обработанных каналов (глушителей)
(рис. 9).
Рис. 9. Герметизация отверстий для прохода вращающихся валов
1 - кожаная прокладка; 2 - звукопоглощающая облицовка
5.12. Для снижения структурного шума (см.
рис. 1, путь В) следует использовать средства виброизоляции.
Виброизоляция машины и кожуха обеспечивается установкой их на виброизолирующие опоры или прокладки. Опоры могут быть резинометаллические (рис. 10), металлические либо пневматические. В качестве прокладок могут быть использованы пористая резина, эластичные синтетические материалы, рыхловолокнистые плиты из минерального или металлического войлока и др.
Рис. 10. Пример установки кожуха на виброизолирующие опоры
1 - рама фундамента; 2 - опора виброизолирующая ОВ-31
Установка виброизоляторов в системы коммуникаций (трубопроводы, валопроводы и приводы управления) должна осуществляться до их выхода из звукоизолирующего кожуха.
Для систем трубопроводов в качестве виброизоляторов применяются резинометаллические патрубки, резинотканевые и резинометаллические рукава и шланги, металлические сильфонные компенсаторы, гибкие металлические шланги. Для валопроводов в качестве виброизоляторов применяются муфты с резиновыми, металлическими или пневматическими упругими элементами. Трубопроводы и валопроводы, в конструкцию которых нельзя ввести эффективные виброизоляторы, должны быть закрыты собственным звукоизолирующим кожухом.
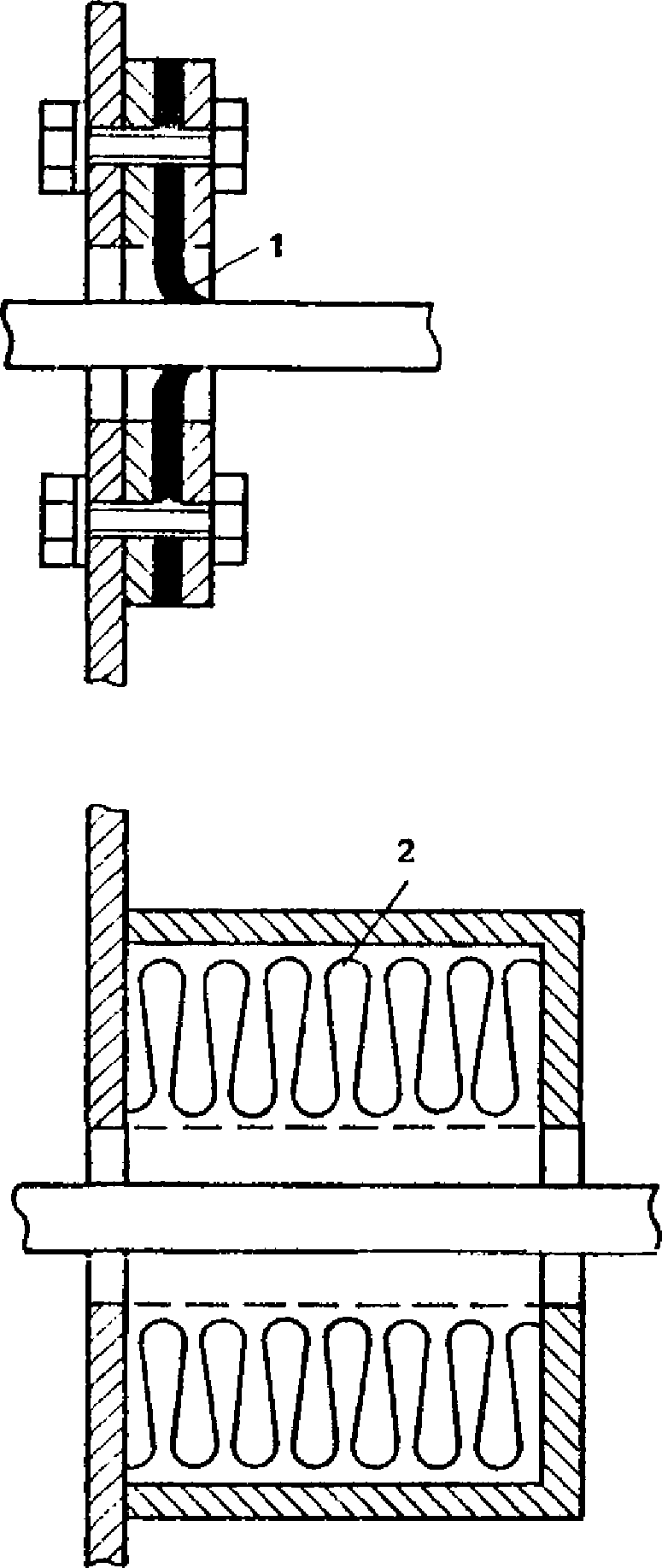
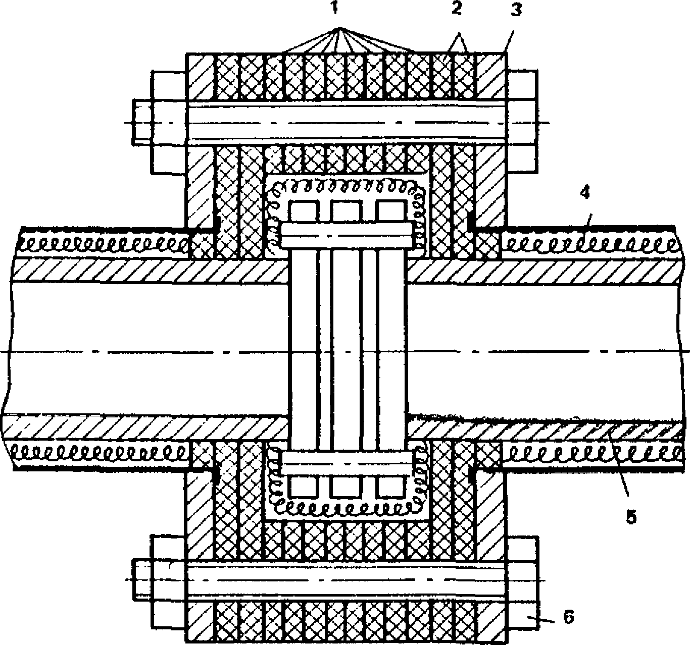
5.13. Цилиндрические кожухи на трубопроводы могут быть выполнены из листового металла монолитными, в виде трубы, или сборными, из двух полуцилиндров. Коаксиальное положение трубопровода и кожуха достигается за счет использования войлочных колец, надеваемых на трубопровод. Внутренний диаметр колец равен диаметру трубопровода, наружный - внутреннему диаметру кожуха. Для удобства установки кольца делают разрезными, а перед надеванием на трубопровод пропитывают жидким горячим битумом или применяют вибропоглощающие мастики (рис. 11). Диаметр кожуха должен быть на 60 - 100 мм больше диаметра трубопровода. Образующийся зазор следует заполнить звукопоглощающим материалом.
Рис. 11. Схема установки
цилиндрического кожуха на трубопровод
1 - трубопровод; 2 - звукопоглощающий материал;
3 - вибропоглощающая мастика или битум;
4 - металлический кожух; 5 - технический войлок;
6 - торцевая часть трубопровода
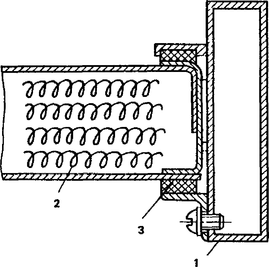
5.14. Трубопроводы кроме гладких частей могут иметь и фланцевые соединения, ответвления, дросселирующие устройства, вентили. Для их звукоизоляции требуется применение соответствующих кожухов. Размеры кожухов должны быть такими, чтобы между наружными поверхностями трубопровода и стенками кожухов оставался зазор 30 - 50 мм, который заполняется звукопоглощающим материалом.
На рис. 12 показано устройство звукоизоляции фланцевого соединения набором войлочных колец.
Рис. 12. Звукоизоляция фланцевого соединения трубопровода
1 - войлочное кольцо; 2 - войлочный диск;
3 - прижимной диск; 4 - звукоизолирующий материал;
5 - трубопровод; 6 - стяжной болт
Небольшие фланцевые соединения можно закрыть цилиндрической скользящей обоймой (рис. 13).
Рис. 13. Звукоизоляция фланцевых соединений
трубопроводов небольших диаметров
1 - скользящая муфта; 2 - металлический кожух;
3 - звукопоглощающий материал; 4 - трубопровод
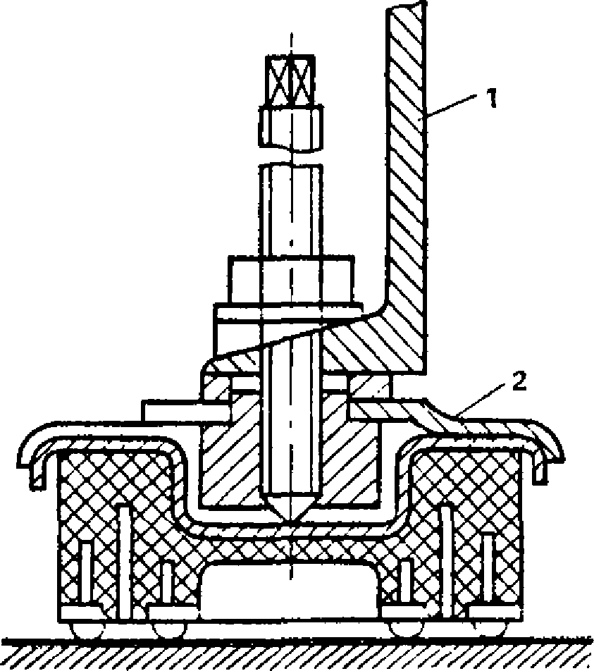
Вентили и другие арматурные детали трубопровода небольшого диаметра следует изолировать кожухом из технического войлока, пропитанного горячим строительным битумом и дополнительно промазанного вибропоглощающей мастикой
(рис. 14). Вентили большого размера следует изолировать разъемными кожухами, изготовляемыми из листовой стали или другого материала
(рис. 15). Внутреннее пространство кожуха заполняется звукопоглощающим материалом.
Рис. 14. Звукоизоляция небольшого вентиля
1 - кожух из технического войлока; 2 - прижимной диск;
3 - стяжной болт; 4 - звукопоглощающий материал;
5 - металлический кожух трубопровода; 6 - трубопровод
Рис. 15. Звукоизоляция крупногабаритных вентилей
6. РАСЧЕТ ЗВУКОИЗОЛЯЦИИ КОЖУХА
С ПЛОСКИМИ ОГРАЖДАЮЩИМИ КОНСТРУКЦИЯМИ
6.1. Рассматриваемые в настоящем Пособии методы расчета применимы к звукоизолирующим кожухам машинного оборудования, выполненным из плоских ограждающих конструкций, имеющих прямоугольную форму. Такие ограждения наиболее часто используются на практике. Применение каркасных конструкций позволяет создавать на основе плоских ограждений кожухи любой требуемой формы.
Предлагаемая методика расчета звукоизоляции в I частотном поддиапазоне применима к кожухам, ограждающие конструкции которых закрепляются на каркасе с помощью винтовых или болтовых соединений. Резонансные частоты кожухов, ограждающие конструкции которых закреплены с помощью сварных швов, лежат на одну-две третьоктавные полосы выше расчетных значений.
6.2. Расчетом не оценивается качество изготовления кожуха - степень его герметичности, степень виброизоляции кожуха и машины и некоторые другие факторы. В результате получаемую расчетную величину звукоизоляции следует рассматривать как верхнюю, предельную оценку достижимой звукоизоляции. На практике отклонения от расчета во II частотном поддиапазоне могут достигать 10 дБ. Высокое качество изготовления кожуха, надежная виброизоляция машины и кожуха обеспечивают в большинстве случаев хорошую сходимость с расчетом.
6.3. Если кожух закрывает наиболее шумную часть машины, опираясь на станину, и во всех других случаях, когда имеется непосредственный контакт кожуха с вибрирующими поверхностями изолируемой машины, требуемая звукоизоляция кожуха, спроектированного в соответствии с настоящим Пособием, не будет обеспечена. Фактическая звукоизоляция кожуха будет незначительной, а на некоторых частотах будет отсутствовать и может быть определена только экспериментальным путем. Для повышения звукоизоляции таких кожухов следует в максимальной степени использовать средства вибропоглощения и виброизоляции.
Расчет звукоизоляции во II поддиапазоне
6.4. Звукоизоляцию ограждающей конструкции кожуха Rо, дБ, следует определять по формуле

(14)
где R
с - звукоизоляция стенки ограждающей конструкции, выполненной из плоской прямоугольной пластины, дБ;

- поправка, учитывающая звукоизоляцию слоя звукопоглощающего материала, дБ;

- поправка, учитывающая влияние вибродемпфирующего материала, дБ.
6.5. Звукоизоляцию стенки ограждающей конструкции или стекла для окна с одинарным остеклением R
с, дБ, следует определять по графику частотной характеристики звукоизоляции
(рис. 16).
Рис. 16. Частотная характеристика звукоизоляции
стенки ограждающей конструкции во II поддиапазоне
Для построения частотной характеристики звукоизоляции стенки следует определить критическую частоту fкр, Гц, по формуле
или по номограмме (рис. 17).
Рис. 17. Номограмма для расчета критической частоты стенки
1 - сталь, алюминиевые сплавы; 2 - силикатное стекло;
3 - стеклопластик; 4 - слоистый пластик; 5 - фанера;
6 - стеклотекстолит; 7 - органическое стекло
Значения f
вн, 0,5f
кр, f
кр, f
вв следует округлить до значений среднегеометрических частот третьоктавных полос, в которые они попадают. Границы третьоктавных полос частот приведены в
прил. 2. Ординаты точек 2 и 3 приведены в табл. 4.
Таблица 4
Материал | Звукоизоляция, дБ, на частоте |
0,5fкр | fкр |
Сталь | 39 | 31 |
Алюминиевые сплавы | 32 | 22 |
Стеклопластик | 31 | 28 |
Фанера | 29 | 26 |
Асбоцементный лист | 34 | 28 |
Стекло силикатное | 35 | 29 |
" органическое | 37 | 30 |
6.6. Значения поправки

, дБ, следует определять по формуле

(16)
где

- коэффициент затухания звуковой волны на единицу длины, 1/м; h
обл - толщина звукопоглощающей облицовки, м.
Значения параметра

для некоторых материалов, используемых при устройстве звукопоглощающей облицовки, приведены в табл. 5.
Материал звукопоглощающей облицовки | Коэффициент затухания  , 1/м, при среднегеометрических частотах октавных полос, Гц |
63 | 125 | 250 | 500 | 1000 | 2000 | 4000 | 8000 |
Стекловолокно | 1,4 | 2 | 3,2 | 8 | 14,2 | 19,8 | 22 | 22 |
Базальтовое волокно | - | - | 8 | 11 | 25 | 34 | 37 | 38 |
Поропласт ППУ-ЭТ | - | - | 12 | 19 | 30 | 37 | 42 | 50 |
Плиты минераловатные | 1,8 | 6,1 | 10,4 | 15 | 18 | 32 | 45 | 47 |
6.7. Значения поправки

, дБ, для жестких вибропоглощающих покрытий определяются следующим образом. На частотах f > 0,5f
кр величина

определяется в зависимости от отношения эффективного значения коэффициента потерь стенки ограждающего элемента с покрытием

к значению коэффициента потерь стенки без покрытия

по номограмме, приведенной на рис. 18.
Рис. 18. Влияние вибродемпфирования
на звукоизоляцию стенки ограждающей конструкции

(17)
где

- коэффициент потерь материала покрытия;

- отношение толщин слоя покрытия и стенки;

- отношение модулей упругости материалов покрытия и стенки.
Формула (17) справедлива при

, что практически всегда выполняется.
Для покрытия оптимальной толщины

следует использовать формулу

(18)
На частотах f < 0,5f
кр величину

следует определять по формуле

(19)
где

- отношение первой резонансной частоты стенки f
о к среднегеометрической частоте

; f
о = 0,45с
пh(1/a
2 + 1/b
2); a, b - длина и ширина стенки, м;

- коэффициент потерь необлицованной стенки ограждающего элемента, определяемый конструкционными потерями. Для сборных конструкций кожухов можно принять

, для остальных

.
Для большинства кожухов резонансные частоты стенок не попадают в высокочастотный диапазон (f
о < f
вн), в этих случаях расчет величины

для частот f < 0,5f
кр следует выполнять по упрощенной формуле

(20)
6.8. Звукоизоляцию герметичного кожуха Rк, дБ, выполненного из ограждающих конструкций одного типа, следует рассчитывать по формуле

(21)
6.9. Звукоизоляцию герметичного кожуха Rк, дБ, выполненного из различных ограждающих конструкций, следует рассчитывать по формуле

(22)
где Sоi - площадь ограждающей конструкции, м2.
6.10. Звукоизоляцию негерметичного кожуха следует определять по
формуле (22), включив в число ограждающих элементов n и имеющиеся отверстия. Для отверстий в качестве R
о следует использовать эффективность глушителя R
гл, а в качестве S
о - площадь отверстия глушителя S
отв, м
2. Если глушитель отсутствует, принимают R
0 = 0.
Расчет звукоизоляции в I поддиапазоне
6.11. Перед началом расчета ограждающие конструкции кожуха разделяют на группы однотипных, т.е. имеющих одинаковые размеры и изготовленных из одного материала.
6.12. Звукоизоляцию ограждающей конструкции герметичного кожуха R
о, дБ, в частотной полосе следует определять по графику частотной характеристики звукоизоляции
рис. 19. Звукоизоляцию ограждающей конструкции негерметичного кожуха на частотах

и ниже следует принимать равной нулю, но не больше значений в точке 10
(рис. 20).
Рис. 19. Частотная характеристика звукоизоляции ограждающей
конструкции герметичного кожуха в I поддиапазоне
Рис. 20. Частотная характеристика звукоизоляции ограждающей
конструкции негерметичного кожуха в I поддиапазоне
6.13. Резонансные частоты ограждающей конструкции кожуха

, Гц, следует определять по формуле

(23)
где знаки "плюс" и "минус" соответствуют индексам 1 и 2;

;

; W = V
к - V
м - объем воздуха под кожухом, м
3; V
к - свободный объем кожуха, определяемый внутренними размерами, м
3; V
м - объем, занимаемый машиной, м; B
э - эффективная жесткость при изгибе стенки, ограждения с нанесенным слоем вибропоглощающего материала, Па·м
4;

;

- жесткость при изгибе стенки без вибропоглощающего материала; E - модуль упругости материала стенки, Па; h - толщина стенки ограждающей конструкции, м; m
э - поверхностная плотность ограждающей конструкции, кг/м
2;

,

,

,
- плотности соответственно материала стенки, звукопоглощающего материала облицовки и вибропоглощающего покрытия, кг/м
3; g - коэффициент, учитывающий способ крепления звукопоглощающей облицовки к стенкам; g = 1, если облицовка наклеивается на стенку; g = 0,2, если облицовка установлена вплотную к стенке ограждения и прижата к ней защитной сеткой или перфорированной пластиной; g = 0 - в остальных случаях; h
обл, h
п - толщины звукопоглощающей облицовки и вибропоглощающего покрытия, м; K - суммарная проводимость отверстий и щелей кожуха, м;

; p - число отверстий и щелей кожуха; K
i - проводимость i-го отверстия, м; для круглого отверстия диаметра d, мм, K = d; для эллиптического отверстия (щели)

;

- эксцентриситет эллиптического отверстия; a
отв, b
отв - длина и ширина эллиптического отверстия, м; S
1 = rab - площадь ограждающих конструкций данной группы, м
2; r - число ограждений в группе; S
2 = S
к - площадь поверхности кожуха, м
2.
6.14. Значения частот

,

, f
нв следует округлить до значений среднегеометрических частот третьоктавных полос, в которые они попадают. Границы третьоктавных полос частот приведены в
прил. 2.
6.15. Значение звукоизоляции ограждающей конструкции R
о6, дБ, на частоте

следует определять по формуле

(24)
где

.
После этого строится частотная характеристика звукоизоляции ограждающей конструкции: отмечается точкой 6 значение звукоизоляции R
о6 на частоте

, а затем проводятся прямые с указанным наклоном (см.
рис. 19,
20).
6.16. Звукоизоляцию герметичного и негерметичного кожуха Rк, дБ, выполненного из унифицированных ограждающих конструкций, следует определять по формуле
Rк = Rо. (25)
6.17. Звукоизоляцию герметичного и негерметичного кожуха, выполненного из различных ограждающих конструкций, следует рассчитывать по формуле

(26)
6.18. Между частотами fнв и fвн имеется минимум звукоизоляции, вызванный объемным резонансом кожуха. Ориентировочные значения звукоизоляции в этой области можно получить, проведя до пересечения через крайние точки построенных частотных зависимостей прямые с наклоном 20 дБ/октава.
7. МЕТОДЫ ПОВЫШЕНИЯ ЗВУКОИЗОЛЯЦИИ КОЖУХОВ
С ПЛОСКИМИ ОГРАЖДАЮЩИМИ КОНСТРУКЦИЯМИ
7.1. Если требуемая звукоизоляция кожуха или какой-либо его ограждающей конструкции превышает рассчитанные значения, в проект должны быть внесены изменения. В первую очередь следует изменять конструкцию и увеличивать звукоизоляцию тех элементов ограждения, звукоизоляция которых минимальна.
7.2. Для повышения звукоизоляции ограждающих конструкций необлицованных кожухов в поддиапазоне II следует применить звуко- и вибропоглощающие облицовки. При необходимости дальнейшего повышения звукоизоляции следует увеличивать толщину стенки элемента ограждения. Не следует применять стенки с поверхностной массой более 30 кг/м
3, так как конструкция кожуха получается тяжелой. В таких случаях целесообразно использовать двухстенные ограждения. Ограждающие элементы обычных одностенных кожухов, имеющие пониженную звукоизоляцию, например окна, также могут быть выполнены двойными (рис. 21). Звукоизоляция окон с двойным остеклением приведена в
табл. 6. Расчет звукоизоляции двухстенных ограждающих конструкций приведен в Методических рекомендациях по проектированию звукоизоляции машин (М.: Стройиздат, 1982).
Рис. 21. Конструкция окна с двойным остеклением
1 - корпус; 2 - резиновая прокладка; 3 - стекло
Материал | Толщина стекол, мм | Воздушный промежуток, мм | Звукоизоляция окон, дБ, со среднегеометрическими частотами октавных полос, Гц |
63 | 125 | 250 | 500 | 1000 | 2000 | 4000 | 8000 |
Силикатное стекло | 3 + 3 | 20 | 22 | 25 | 26 | 34 | 42 | 45 | 42 | 36 |
40 | 25 | 28 | 29 | 37 | 45 | 48 | 45 | 39 |
60 | 27 | 30 | 31 | 39 | 47 | 50 | 47 | 41 |
4 + 4 | 20 | 24 | 26 | 28 | 36 | 44 | 47 | 40 | 39 |
40 | 27 | 29 | 31 | 39 | 47 | 50 | 43 | 42 |
60 | 29 | 31 | 33 | 41 | 49 | 52 | 45 | 44 |
7 + 7 | 20 | 27 | 30 | 32 | 41 | 47 | 41 | 51 | 50 |
40 | 30 | 33 | 35 | 44 | 50 | 44 | 54 | 53 |
60 | 32 | 35 | 37 | 46 | 52 | 46 | 56 | 65 |
Органическое стекло | 4 + 4 | 20 | 11 | 16 | 26 | 32 | 41 | 48 | 54 | 47 |
40 | 14 | 19 | 29 | 35 | 44 | 51 | 57 | 50 |
60 | 16 | 21 | 31 | 37 | 46 | 53 | 59 | 52 |
7.3. Частотная характеристика звукоизоляции кожуха на низких частотах (в поддиапазоне I) характеризуется резонансными минимумами. Для повышения звукоизоляции в отдельных полосах поддиапазона достаточно изменить (повысить или понизить) резонансную частоту ограждающей конструкции

. Значение резонансной частоты ограждающей конструкции определяется размерами ее стенки и характеристиками использованного материала, а также объемом воздуха под кожухом.
7.4. При необходимости изменить положение резонансного минимума на частотной оси следует определить параметр конструкции, в наибольшей степени влияющий на величину

. Для этого следует вычислить значение собственной частоты стенки ограждающей конструкции по формуле

(27)
и сравнить его с

.
Для кожухов с относительно небольшим объемом воздуха

превышает f
о более чем на третьоктавную полосу и определяющим параметром является объем воздуха. Если

и f
о отличаются на одну третьоктавную полосу, то

определяется параметрами стенки ограждающей конструкции и объемом воздуха. Если

и f
о попадают в одну третьоктавную полосу, то влияние объема воздуха незначительно, а положение резонансного минимума определяется параметрами стенки ограждения.
7.5. Следует стремиться к тому, чтобы резонансная частота ограждающей конструкции

попадала в частотную полосу с минимальной требуемой звукоизоляцией или выходила за пределы поддиапазона I.
Для повышения резонансной частоты

следует увеличивать жесткость при изгибе стенки B
э или уменьшать объем воздуха под кожухом W, или уменьшать размеры стенки.
Для понижения резонансной частоты

следует увеличивать размеры стенки a и b или увеличивать поверхностную массу m
э, или уменьшать жесткость при изгибе стенки B
э, или увеличивать объем воздуха W.
7.6. Жесткость при изгибе ограждающей конструкции B
э определяется по
формуле (23) толщиной стенки, характеристиками материала стенки и вибропоглощающего покрытия.
Если в процессе проектирования поддерживается постоянная толщина стенки ограждающей конструкции h, то для повышения жесткости при изгибе следует использовать материалы с большим модулем упругости E (табл. 7), и, наоборот, для понижения жесткости при изгибе следует использовать материалы с меньшим модулем упругости.
Материал | Модуль упругости E, Па | Коэффициент Пуассона  | Плотность  , кг/м 3 | | |
Сталь | 2,1·1011 | 0,29 | 7,8·103 | 0,48 | 1 |
Стекло органическое | 3,1·109 | 0,34 | 1,2·103 | 2,03 | 4,2 |
Стеклотекстолит ФСМ-1 | 5·109 | 0,3 | 1,3·103 | 2,5 | 5,2 |
Алюминиево-магниевые сплавы | 7,2·1010 | 0,3 | 2,8·103 | 3,6 | 7,5 |
Стекло силикатное | 6,7·1010 | 0,2 - 0,3 | 2,5·103 | 4,29 | 8,9 |
Стеклопластик | 2,1·1010 | 0,1 | 1,7·103 | 4,32 | 9 |
Трудносгораемый слоистый пластик | 1,35·1010 | 0,3 | 1,4·103 | 5,41 | 11,2 |
Фанера | 3,4·109 | 0,67 | 0,8·103 | 12,05 | 25 |
Если необходимо обеспечить заданную величину поверхностной плотности m
э, то для повышения жесткости при изгибе стенки B
э следует использовать материалы с максимальным отношением
(табл. 7) и, наоборот, для понижения жесткости при изгибе - материалы с меньшим отношением
.
7.7. Следует унифицировать и использовать ограждающие конструкции одного типоразмера. В этом случае частотная характеристика звукоизоляции герметичного кожуха в поддиапазоне I будет иметь только один минимум, общая звукоизоляция кожуха в этом поддиапазоне будет максимальна.
7.8. Уменьшение жесткости при изгибе стенки при постоянной поверхностной массе может быть достигнуто за счет пропиливания узких пазов в двух взаимно перпендикулярных направлениях на глубину, меньшую толщины стенки. При вычислении жесткости в этом случае следует использовать эффективное значение толщины hэ = hк - hпаз, где hпаз - глубина пропиленных пазов.
7.9. Изменять поверхностную плотность и жесткость при изгибе стенки ограждающей конструкции можно путем нанесения вибропоглощающей облицовки, что также приводит к повышению звукоизоляции на резонансной частоте.
7.10. Повышение звукоизоляции может быть достигнуто за счет увеличения свободного объема под кожухом, уменьшения площади отверстий в ограждающих конструкциях кожуха.
Пример 1. Требуется рассчитать звукоизоляцию кожуха во II частотном диапазоне.
В производственном помещении установлена машина, которая при одиночной работе создает на рабочем месте уровни звукового давления, указанные в
табл. 8, п. 1. Уровни шумового фона, создаваемого на рабочем месте другим оборудованием, приведены в
п. 2, а в
п. 3 - допустимые уровни по
ГОСТ 12.1.003-83 (тональные составляющие в спектре шума отсутствуют). Рассчитываем по
формуле (8) требуемую звукоизоляцию кожуха
(п. 4).
Таблица 8
Величина | Ссылка на источник | Звукоизоляция кожуха, дБ, со среднегеометрической частотой октавных полос, Гц |
63 | 125 | 250 | 500 | 1000 | 2000 | 4000 | 8000 |
| L, дБ | - | 61 | 70 | 76 | 85 | 103 | 105 | 88 | 78 |
| Lф, дБ | - | 59 | 64 | 70 | 73 | 76 | 62 | 40 | 39 |
| Lдоп, дБ | | 99 | 92 | 86 | 83 | 80 | 78 | 76 | 74 |
| Rтр.к, дБ | | - | - | 0 | 2 | 23 | 27 | 12 | 4 |
5. |  , дБ | | - | - | 2 | 2 | 2 | 2 | 2 | 2 |
| Rтр.о, дБ | | - | - | 0 | 9 | 30 | 34 | 19 | 11 |
| Rо, дБ | | - | - | 21 | 25 | 28 | 32 | 36 | 36 |
|  , 1/м | | - | - | 3,2 | 8 | 14,2 | 19,8 | 22 | 22 |
9. | | - | - | - | 0,16 | 0,4 | 0,71 | 0,99 | 1,1 | 1,1 |
|  , дБ | | - | - | 0 | 0 | 0 | 0 | 0,4 | 0,4 |
11. | | | - | - | 0,7 | 0,95 | 1 | 1 | 1 | 0,95 |
|  , дБ | | - | - | 1,5 | 0,2 | 0 | 0 | 0 | 0,2 |
| Rк, дБ | | - | - | 19,5 | 25 | 28 | 32 | 36 | 36 |
Для снижения шума на рабочем месте запроектируем кожух, собираемый из унифицированных ограждающих конструкций на каркасе. Размер конструкций 0,5 x 0,5 м2. Поскольку превышение нормативного уровня составляет менее 30 дБ, ограждения выполняем одностенными, толщину стальной стенки выбираем h = 1·10-3 м. С учетом размеров машины 1,7 x 1,6 x 1,6 м3 выбираем размеры кожуха 2 x 2 x 2 м3. В конструкции кожуха предусматриваем дверь из трех модулей, устройство окон и отверстий не требуется.
Рассчитываем требуемую звукоизоляцию ограждений кожуха. Площадь поверхности кожуха S
к = 2·2·5 = 20 м
2. Площадь поверхности, окружающей машину S
и = 1,7·1,6·2 + 1,6·1,6·2 + 1,7·1,6 = 13,28 м
2. Величина поправки

. Результаты вычисления R
тр.о представлены в
табл. 8 (поз. 6).
Определяем критическую частоту стальной стенки кожуха по
формуле (15): f
кр = 6,4·10
4/5,4·10
3·1·10
-3 = 11851 Гц. После округления получаем f
кр = 12 500 Гц, 0,5f
кр = 6300 Гц и строим частотную характеристику звукоизоляции стенки (рис. 22) в пределах частотного поддиапазона. Ординаты характерных точек находим по
табл. 5.
Рис. 22. Частотная характеристика звукоизоляции стенки
Сравнивая полученные значения звукоизоляции стенки
(п. 7) с требуемыми
(п. 6), видим, что кожух не обеспечивает требуемое снижение шума. Поэтому на внутренние поверхности кожуха наносим звукопоглощающую облицовку из супертонкого стекловолокна толщиной h
обл = 5·10
-2 м.
Определяем дополнительную звукоизоляцию слоя облицовки по
формуле (16), результаты представлены в табл. 8 (
пп. 8 -
10). Поскольку дополнительная звукоизоляция

, то в дальнейших расчетах ее не учитываем.
Пример 2. Требуется спроектировать кожух на машину, создающую низкочастотный шум.
В производственном помещении установлена машина, которая при одиночной работе создает в расчетной точке уровни звукового давления в третьоктавных полосах частот, указанные в
табл. 9, п. 1. С учетом тонального характера шума допустимые уровни в октавных полосах частот приведены в
табл. 10, там же указаны уровни шумового фона, создаваемого другим оборудованием, и величина поправки

. Расчет требуемой звукоизоляции выполняем по
формуле (12), результаты приведены в
табл. 10. Отрицательные значения звукоизоляции показывают допустимое увеличение уровней шума кожухом.
Таблица 9
Величина | Ссылка на источник | Значения звукового давления, дБ, на среднегеометрических частотах третьоктавных полос, Гц |
50 | 63 | 80 | 100 | 125 | 160 |
| L, дБ | - | 60 | 89 | 93,2 | 78 | 89 | 70 |
2. | 10lgm, дБ | - | 0 | 0 | 0 | 0 | 0 | 0 |
3. |  , дБ | | 0 | 0 | 0 | 1 | 1 | 1 |
| Rтр.к, дБ | | -29 | 0 | 4,2 | -3 | 8 | -11 |
Величина | Ссылка на источник | Значения звукового давления, дБ, в октавной полосе со среднегеометрическими частотами, Гц |
63 | 125 |
1. | Lдоп, дБ | | 94 | 87 |
2. | Lф, дБ | - | 82 | 80 |
3. |  , дБ | | 0 | 1 |
Размеры машины составляют 1,22 x 0,75 x 1,1 м3, в конструкции кожуха необходимо предусмотреть устройство отверстия с размером не менее 0,15 x 0,02 м2 и окна в верхней части кожуха с размером не менее 0,2 x 0,5 м2.
Изготовим кожух каркасной конструкции с размером 1,4 x 0,9 x 1,2 м (рис. 23) из стали толщиной 1·10-3 м. Окно изготовим из силикатного стекла толщиной 3·10-3 м. Размеры стальных ограждений составят 1,4 x 0,6 (4 шт.) и 0,9 x 0,6 м2 (6 шт.).
Рис. 23. Схема ограждающих конструкций кожуха к
примеру 2
1 - фронтальная грань кожуха размером 1,4 x 1,2 м2;
2 - боковая грань размером 0,9 x 1,2 м2; 3 - верхняя грань
размером 1,4 x 0,9 м2; 4 - окно размером 0,2 x 0,9 м2;
5 - отверстие размером 0,15 x 0,02 м2
Граничная частота диапазона f
нв = 160/1,4 = 114 ~= 125 Гц. Объем кожуха V
к = 1,4·0,9·1,2 = 1,512 м
3. Объем, занимаемый машиной, V
м = 1,22·0,75·1,1 = 1,0065 м
3, свободный объем над кожухом W = 1,512 - 1,0065 = 0,506 м
3. Площадь поверхности кожуха S
к = 1,4·1,2·2 + 0,9·1,2·2 + 1,4·0,9 = 6,78 м
2. Площадь отверстия S
отв = 0,15·0,02 = 3·10
-3 м
2. Эксцентриситет отверстия e = (0,15
2 - 0,02
2)/0,15 = 0,99. Проводимость отверстия

. Поверхностная плотность стальных ограждений m
с = 7800·1·10
-3 = 7,8 кг/м
2, стекла m
о = 2500·3·10
-3 = 7,5 кг/м
2. Жесткость при изгибе стальной стенки B
с = 2,1·10
11(1·10
-3)
3/12(1 - 0,29
2) = 19,1 Па·м
4, для стекла B
о = 6,7·10
10(3·10
-3)/12(1 - 0,25
2) = 161 Па·м
4. Площадь, занимаемая ограждениями с размером 1,4 x 0,6 м, S = 1,4·0,6·4 = 3,36 м
2, с размером 0,9 x 0,6 м, S = 0,9·0,6·6 = 3,24 м
2, площадь окна S = 0,9·0,2 = 0,18 м
2.
Выполняем расчет резонансных частот ограждений. Для ограждений с размером 0,9 x 0,6 м2 имеем:
A1 = 97,4·0,506·19,1(1/0,92 + 1/0,62)2 + 1,18·105 x
x 6,36·10-2· 7,8 + 9,35·104·3,24 = 3,77·105;
A2 = 97,4·0,506·19,1(1/0,92 + 1/0,62)2 + 1,18·105 x
x 6,36·10-2·7,8 + 9,36·104·6,78 = 7,08·105;
D = 4,58·107·6,36·10-4·7,8·0,506·19,1(1/0,92 + 1/0,62) =
= 3,54·109;
Для стальных ограждений с размером 1,4 x 0,6 м:
A1 = 97,4·0,506·19,1(1/1,42 + 1/0,62)2 + 1,18·105 x
x 6,36·10-2·7,8 + 9,35·104·3,36 = 3,83·105;
A2 = 97,4·0,506·19,1(1/1,42 + 1/0,62)2 + 1,18·105 x
x 6,36·10-2·7,8 + 9,35·104·6,78 = 7,03·105;
D = 4,58·107·6,36·10-2·7,8·0,506·19,1(1/1,42 + 1/0,62)2 =
= 2,37·109;
Звукоизоляция в характерной точке R
о6 будет такой же, как и для первой группы ограждений, поэтому для двух групп ограждений строим одну частотную зависимость звукоизоляции в пределах заданного частотного диапазона
(рис. 24) для окна:
A1 = 97,4·0,506·161(1/0,92 + 1/0,22)2 + 1,18·105 x
x 6,36·10-2·7,5 + 9,35·104·0,18 = 5,53·106;
A2 = 97,4·0,506·161(1/0,92 + 1/0,22)2 + 1,18·105 x
x 6,36·10-2·7,5 + 9,35·104·6,78 = 6,15·106;
D = 4,58·107·6,36·10-2·7,5·0,506·161(1/0,92 + 1/0,22)2 =
= 1,22·1012;
Рис. 24. Частотные характеристики звукоизоляции
1 - стальных; 2 - окна
При построении частотной характеристики звукоизоляции окна выше граничной частоты I поддиапазона ломаную линию наносим условно пунктиром (см.
рис. 24).
Требуемая звукоизоляция превышает расчетные значения для ограждений из стали, поэтому в конструкцию следует внести изменения. Минимум звукоизоляции целесообразно сместить в сторону низких частот, что может быть достигнуто уменьшением жесткости стенки ограждения и упругости воздуха.
Рассчитываем собственную частоту отдельно взятой стенки ограждения с размером 1,4 x 0,6 м,
Поскольку

, то для смещения резонансного минимума звукоизоляции в сторону низких частот следует увеличить объем воздуха под кожухом.
Увеличиваем высоту кожуха до 1,4 м, а ширину до 1 м. Тогда размеры ограждающих конструкций составят 1,4 x 0,7 м - 4 шт. общей площадью S = 1,4·0,7·4 = 3,92 м2; 1 x 0,7 м - 4 шт. - общей площадью S = 1·0,7·4 = 2,8 м2; 1 x 0,4 м - 3 шт. общей площадью S = 1·0,4·3 = 1,2 м2; окно с размером 1 x 2 м имеет площадь S = 1·0,2·1 = 0,2 м2. Площадь поверхности кожуха Sк = 1,4·1,4·2 + 1·1,4·2 + 1,4·1·1 = 8,12 м2. Объем кожуха Vк = 1,4·1·1,4 = 1,96 м2, свободный объем W = 1,96 - 1,0065 = 0,954 м3.
Для дополнительного повышения звукоизоляции облицовываем ограждения из стали вибропоглощающим материалом "Антивибрит 2", имеющим плотность

, модуль упругости E
п = 5·10
9 Па, толщину h
п = 3·10
-3 м.
Эффективные значения поверхностной плотности и жесткости для ограждений с покрытием составят:
mэ = 7,8·103·1·10-3 + 1,6·103·3·10-3 = 12,6 кг/м2;
Для стальных ограждений с размером 1,4 x 0,7 м:
A1 = 97,4·0,954·86(1/1,42 + 1/0,72)2 + 1,18·105 x
x 6,36·10-2·12,6 + 9,35·104·3,92 = 5,13·105;
A2 = 97,4·0,954·86(1/1,42 + 1/0,72)2 + 1,18·105 x
x 6,36·10-2·12,6 + 9,35·104·8,12 = 9,06·105;
D = 4,58·107·6,36·10-2·12,6·0,954·86(1/1,42 + 1/0,72) =
= 1,96·1010;
Для стальных ограждений с размером 1 x 0,7 м:
A1 = 97,4·0,954·86(1/12 + 1/0,72)2 + 1,18·105 x
x 6,36·10-2·12,6 + 9,35·104·2,8 = 4,3·105;
A2 = 97,4·0,954·86(1/12 + 1/0,72)2 + 1,18·105 x
x 6,36·10-2·12,6 + 9,35·104·8,12 = 9,28·105;
D = 4,58·107·6,36·10-2·12,6·0,954·86(1/12 + 1/0,72)2 =
= 2,78·1010;
Звукоизоляция в характерной точке Rо6 будет такой же, как и у предыдущей группы ограждений, поэтому для двух групп будем строить одну частотную зависимость звукоизоляции в пределах заданного частотного диапазона.
Для стальных ограждений с размером 1 x 0,4 м:
A1 = 97,4·0,954·86(1/12 + 1/0,42)2 + 1,18·105 x
x 6,36·10-2·12,6 + 9,35·104·1,2 = 6,27·105;
A1 = 97,4·0,954·86(1/12 + 1/0,42)2 + 1,18·105 x
x 6,36·10-2·12,6 + 9,35·104·8,12 = 1,27·105;
D = 4,58·107·6,36·10-2·12,6·0,954·86(1/12 + 1/0,42)2 =
= 1,58·1011;
Частотная характеристика будет такой же, как и у предыдущих групп стальных ограждений, для окна:
A1 = 97,4·0,954·161(1/12 + 1/0,22)2 + 1,18·105 x
x 6,36·10-2·7,5 + 9,35·104·0,2 = 1,02·107;
A2 = 97,4·0,954·161(1/12 + 1/0,22)2 + 1,18·105 x
x 6,36·10-2·7,5 + 9,35·104·8,12 = 1,09·107;
D = 4,58·107·6,36·10-2·7,5·0,954·161(1/12 + 1/0,22)2 =
= 2,27·1012;
Строим частотные зависимости звукоизоляции для ограждающих конструкций всех групп
(рис. 25). Конструктивные параметры и значения звукоизоляции всех групп ограждений приведены в
табл. 11.
Рис. 25. Частотные характеристики звукоизоляции
ограждающих конструкций улучшенного кожуха к
примеру 2
1 - стальных; 2 - окна
N группы | Размеры ограждения | Площадь ограждения | Число ограждений | Звукоизоляция в третьоктавных полосах, дБ, со среднегеометрическими частотами, Гц |
50 | 63 | 80 | 100 | 125 |
1 | 1,4 x 0,7 | 0,98 | 4 | -5 | 1,6 | 5 | 8,3 | 11,6 |
2 | 1 x 0,7 | 0,7 | 4 | -5 | 1,6 | 5 | 8,3 | 11,6 |
3 | 1 x 0,4 | 0,4 | 3 | -5 | 1,6 | 5 | 8,3 | 11,6 |
4 | 1 x 0,2 | 0,2 | 1 | 26,6 | 26,6 | 25,6 | 24,6 | 23,6 |
Вычисляем звукоизоляцию кожуха по
формуле (26), результаты сводим в табл. 12. Выше граничной частоты диапазона f
нв звукоизоляция падает на 20 дБ/октав. Поэтому звукоизоляция в третьоктавной полосе со среднегеометрической частотой 100 Гц составит на 20·1/3 дБ меньше, чем в соседней полосе со среднегеометрической частотой 125 Гц: R
160 = 11,7 - 20/3 = 5 дБ.
Таблица 12
Величина | Звукоизоляция кожуха в третьоктавных полосах, дБ, со среднегеометрическими частотами |
50 | 63 | 80 | 100 | 125 | 160 |
Расчетная | -4,9 | 1,7 | 5,1 | 8,4 | 11,7 | 5 |
Требуемая | -29 | 0 | 4,2 | -3 | 8 | -11 |
ЦИЛИНДРИЧЕСКОГО КОЖУХА НА ТРУБОПРОВОД
8.1 Предлагаемый расчет относится к цилиндрическим кожухам, расположенным коаксиально с трубопроводами. Для вычисления звукоизоляции кожуха следует выполнить расчет частот, характеризующих акустические свойства трубопровода и кожуха.
Определяются частоты продольного резонанса трубопровода fпт, Гц, и кожуха fпк, Гц, по формуле
fп = 0,16сп/aт, (28)
где aт - радиус трубопровода или кожуха, м.
Определяется частота совпадения трубопровода fст, Гц, по формуле

(29)
где с1 = сср + v, сср - скорость распространения звука в среде, заполняющей трубопровод, м/с; v - средняя скорость потока в трубопроводе, м/с; hт - толщина стенки трубопровода, м.
Частота совпадения кожуха fск, Гц, определяется по формуле
fск = 6,36·104/спhк, (30)
где hк - толщина стенки кожуха, м.
8.2. Определяются критические частоты fкр.n, Гц, трубопровода
f
кр.n = с
1/8a
т(4n + 1), (31)
где n = 1, 2, ... - целое число.
Расчет следует ограничить такими значениями n, для которых fкр.n < 11 200 Гц, т.е. попадают в нормируемый диапазон частот.
8.3. Вычисляются радиальные волновые числа

трубопровода:

(32)

(33)

(34)
где

- плотность материала трубопровода, кг/м
3; f - среднегеометрическая частота октавной полосы, Гц; f
пт - частота продольного резонанса трубопровода, Гц; f
ст - частота совпадения трубопровода, Гц; с - скорость звука в воздухе; с = 343 м/с.
8.4. Вычисляются вспомогательные величины:

(35)

(36)
По графику на
рис. 26 или по
табл. 13 определяется величина

. По графику на
рис. 27 или по
табл. 13 определяются величины углов

и

и вычисляется величина

(37)
где n = 0, 1, 2, ... - целое число.
Рис. 26. Функция


при

;

при

Рис. 27. Функция


при

;

при

| | |
0,1 | 41,7 | 0,44 |
0,2 | 11 | 1,71 |
0,3 | 5,3 | 3,7 |
0,4 | 3,2 | 6,28 |
0,5 | 2,2 | 9,35 |
0,6 | 1,67 | 12,8 |
0,7 | 1,3 | 16,6 |
0,8 | 1,1 | 20,66 |
0,9 | 0,93 | 24,94 |
1 | 0,8 | 29,39 |
1,2 | 0,63 | 38,74 |
1,4 | 0,52 | 48,52 |
1,6 | 0,45 | 58,62 |
1,8 | 0,39 | 68,96 |
2 | 0,34 | 79,49 |
2,2 | 0,31 | 90,15 |
2,4 | 0,28 | 100,93 |
2,6 | 0,26 | 111,81 |
2,8 | 0,24 | 122,75 |
3 | 0,22 | 133,76 |
3,2 | 0,21 | 144,82 |
3,4 | 0,19 | 155,9 |
3,6 | 0,18 | 167,1 |
3,8 | 0,17 | 178,2 |
4 | 0,16 | 189,4 |
4,2 | 0,155 | 200,6 |
4,4 | 0,15 | 211,9 |
4,6 | 0,14 | 223,1 |
4,8 | 0,135 | 234,4 |
Рассчитывается величина

(38)
где

- плотность материала кожуха, кг/м
3.
8.5. Вычисляются значения Rn, дБ, по формуле

(39)
Для определения звукоизоляции цилиндрического кожуха на трубопровод в октавной полосе следует выделить значения Rn с такими номерами n, для которых соответствующие значения критических частот fкр.n не превышают верхней граничной частоты выбранной полосы. За звукоизоляцию кожуха в выбранной октавной полосе следует принимать минимальное значение из числа выбранных значений Rn.
Пример 3. Рассчитаем звукоизоляцию цилиндрического кожуха, коаксиально установленного на трубопровод в октавной полосе со среднегеометрической частотой 1000 Гц. Трубопровод стальной радиуса aт = 0,36 м, толщина стенок hт = 0,01 м. По трубопроводу протекает со скоростью v = 20 м/с природный газ, скорость распространения звука в котором сср = 400 м/с. Кожух, изготовленный из алюминиево-магниевого сплава, имеет радиус aк = 0,42 м, толщина стенок составляет hк = 0,001 м.
Определяем скорость продольных волн в материале кожуха

скорость продольных волн в материале трубопровода (стали) берем из
примера 1: с
пт = 5,4 ·10
3 м/с. Получаем частоты продольных резонансов f
пт = 0,16(5,4·10
3)/0,36 = 2400 Гц, f
пк = 0,16·(5,3·10
3)/0,42 = 2019 Гц.
Имеем с
1 = 400 + 20 = 420 м/с. Определяем частоту совпадения трубопровода f
ст = 0,55·420
2/5,4·10
3·0,01 = 1797 Гц и кожуха f
ск = 6,36·10
4/5,3·10
3·10
-3 = 1,2·10
4 Гц. Определяем по
формуле (31) критические частоты, результаты сводим в табл. 14. Расчет ограничиваем значением n = 1, так как при больших значениях n критические частоты превышают верхнюю граничную частоту октавной полосы со среднегеометрической частотой 1000 Гц.
Величина | Ссылка на источник | Значения критических частот, Гц, при n |
0 | 1 |
1. fкр.n, Гц | | - | 729 |
2.  , 1/м -1 | | 10,6 | 15,2 |
3.  | | 0,45 | 0,104 |
4. zn | | 3,08 | 3,08 |
5.  | - | 4,45 | 6,38 |
6.  | | 0,14 | 0,1 |
7.  | - | 3,82 | 5,47 |
8.  , рад | | 3,66 | 5,59 |
9.  , рад | То же | 3,03 | 4,68 |
10.  , рад | | 0,63 | 0,91 |
11. An | | 59,6 | 87,5 |
12: Rn, дБ | | 62,2 | 73,7 |
Вычисляем радиальные волновые числа
| | ИС МЕГАНОРМ: примечание. В официальном тексте документа, видимо, допущена опечатка: таблица 15 отсутствует. Возможно, имеется в виду таблица 14. | |
Дальнейший расчет сводим в
табл. 15. Звукоизоляция кожуха в октавной полосе со среднегеометрической частотой составит R = 62 дБ.
КОНСТРУКЦИИ ЗВУКОИЗОЛИРУЮЩИХ ОГРАЖДЕНИЙ МАШИН
На рис. 1 изображена схема звукоизолирующего кожуха гвоздильных автоматов, конструкторская документация на который (КД N 82-046-083) имеется в Челябинском ЦНТИ. Ограждающие конструкции представляют собой металлические каркасы, обшитые стальным или алюминиевым листом толщиной 0,8 - 1,2 мм. Внутренние поверхности ограждающих конструкций оклеены поролоном, на опорные поверхности приклеена губчатая резина. Установка кожуха производится так, чтобы исключить касание с гвоздильным автоматом, маховик и клиноременная передача закрываются специальным ограждением, электродвигатель не закрывается. Снижение шума в результате применения кожуха составляет 13 - 16 дБА.
Рис. 1. Звукоизолирующий кожух гвоздильного автомата
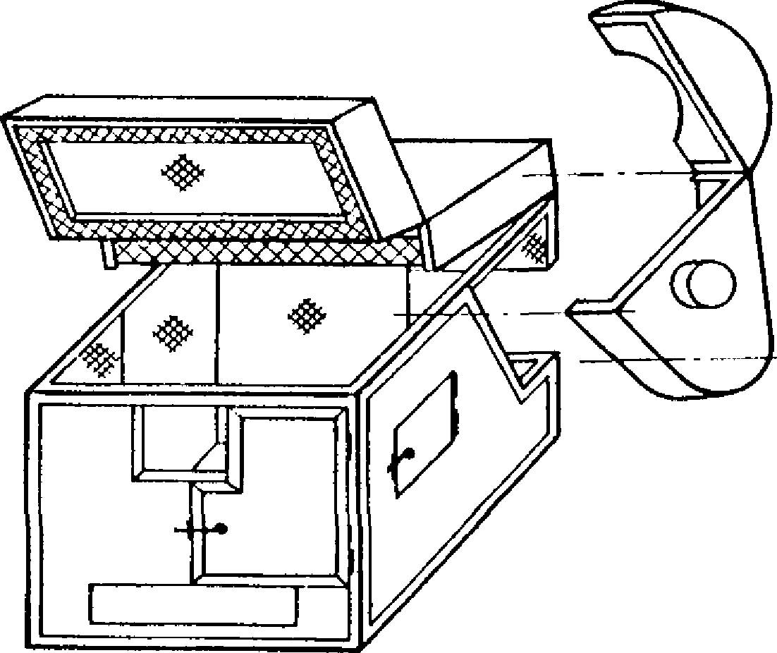
На
рис. 2 представлена схема звукоизолирующего кожуха, собираемого из унифицированных ограждающих конструкций с размером 500 x 500 x 50 мм. Количество ячеек каркаса может быть выбрано исходя из габаритных размеров изолируемой машины, толщину стенок ограждающих конструкций подбирают в процессе проектирования. Кожух со стальными стенками толщиной 2 мм и звукопоглощающей облицовкой из стекловолокна имеет звукоизоляцию 8 - 33 дБ в пределах нормируемого диапазона звуковых частот. Конструкция разработана НИИСФ Госстроя СССР совместно с СКБ ВЦНИИОТ ВЦСПС.
Рис. 2. Унифицированный звукоизолирующий кожух
1 - основание; 2 - каркас; 3 - дверь; 4 - окно;
5 - глушитель вентиляционного отведения;
6 - звукоизолирующий элемент
Среднегеометрическая частота | Границы октавной полосы | Границы третьоктавной полосы |
2 | 1,41 - 2,82 | 1,78 - 2,24 |
2,5 | 2,24 - 2,82 |
3,15 | 2,82 - 3,55 |
4 | 2.82 - 5,62 | 3,55 - 4,47 |
5 | 4,47 - 5,62 |
6,3 | 5,62 - 7,08 |
8 | 5,62 - 8,91 | 7,08 - 8,91 |
10 | 8,91 - 11,2 |
12,5 | 11,2 - 14,1 |
16 | 11,2 - 22,4 | 14,1 - 17,8 |
20 | 17,8 - 22,4 |
25 | 22,4 - 28,2 |
31,5 | 22,4 - 44,7 | 28,2 - 35,5 |
40 | 35,5 - 44,7 |
50 | 44,7 - 56,2 |
63 | 44,7 - 89,1 | 56,2 - 70,8 |
80 | 70,8 - 89,1 |
100 | 89,1 - 112 |
125 | 89,1 - 178 | 112 - 141 |
160 | 141 - 178 |
200 | 178 - 224 |
250 | 178 - 355 | 224 - 282 |
315 | 282 - 355 |
400 | 355 - 447 |
500 | 355 - 708 | 447 - 562 |
630 | 562 - 708 |
800 | 708 - 891 |
1000 | 708 - 1410 | 891 - 1120 |
1250 | 1120 - 1410 |
1600 | 1410 - 1780 |
2000 | 1410 - 2820 | 1780 - 2240 |
2500 | 2240 - 2820 |
3150 | 2820 - 3550 |
4000 | 2820 - 5620 | 3550 - 4470 |
5000 | 4470 - 5620 |
6300 | 5620 - 7080 |
8000 | 5620 - 11 200 | 7080 - 8910 |
10000 | 8910 - 11 200 |