Главная // Актуальные документы // Рекомендация / РекомендацииСПРАВКА
Источник публикации
М.: НИИЖБ Госстроя СССР, 1985
Примечание к документу
Название документа
"Рекомендации по проектированию и изготовлению ячеистобетонных конструкций, армированных каркасами из волнообразных сеток"
(утв. НИИЖБ Госстроя СССР 21.02.1985)
"Рекомендации по проектированию и изготовлению ячеистобетонных конструкций, армированных каркасами из волнообразных сеток"
(утв. НИИЖБ Госстроя СССР 21.02.1985)
директором НИИЖБ
21 февраля 1985 года
РЕКОМЕНДАЦИИ
ПО ПРОЕКТИРОВАНИЮ И ИЗГОТОВЛЕНИЮ ЯЧЕИСТОБЕТОННЫХ
КОНСТРУКЦИЙ, АРМИРОВАННЫХ КАРКАСАМИ
ИЗ ВОЛНООБРАЗНЫХ СЕТОК
Печатаются по решению секции бетонных и железобетонных конструкций НТС НИИЖБ от 15 февраля 1985 г.
Изложены особенности проектирования и изготовления конструкций из ячеистого бетона, армированных каркасами из волнообразных сеток.
Предназначены для ИТР промышленных предприятий и проектных организаций.
Рекомендации разработаны на основе научных исследований, опыта экспериментального и типового проектирования, опытного и промышленного заводского изготовления и опытного применения в строительстве ячеистобетонных конструкций, армированных пространственными волнообразными сетками.
Применение пространственных арматурных каркасов из волнообразных сеток вместо традиционных позволяет на 5 - 7% сократить расход арматурной стали, снизить на 20 - 30% трудоемкость изготовления каркасов на существующем оборудовании; уменьшить в 2 - 2,5 раза расход электроэнергии на сварку каркаса и сократить производственные площади, предназначенные для складирования и хранения каркасов.
Конструкции пространственного каркаса из волнообразной сетки допускают механизацию операций по его изготовлению.
В Рекомендациях изложены особенности проектирования конструкций с новым видом каркаса и его изготовления применительно к существующей номенклатуре изделий из ячеистого бетона и существующего оборудования арматурных цехов предприятий.
Рекомендации разработаны НИИЖБ Госстроя СССР (кандидаты техн. наук К.П. Муромский, Б.П. Филиппов) при участии ВНИИстром им. П.П. Будникова МПСМ СССР (канд. техн. наук О.А. Коковин, инж. В.А. Титов).
Все замечания и предложения по содержанию Рекомендаций просим направлять в НИИЖБ по адресу: 109389, Москва, 2-я Институтская ул., д. 6.
Дирекция НИИЖБ
1.1. Настоящие Рекомендации распространяются на проектирование и изготовление однослойных стеновых панелей, крупных блоков и панелей покрытий из ячеистого бетона для строительства промышленных и гражданских зданий, изготовляемых в индивидуальных формах и по резательной технологии.
1.2. Арматурный каркас вышеупомянутых конструкций состоит из прямых продольных и волнообразно изогнутых поперечных стержней, объединенных в пространственную конструкцию с помощью сварки. Принципиальная схема каркаса показана на рис. 1.
Рис. 1. Принципиальная схема
пространственного арматурного каркаса
1 - продольные стержни;
2 - поперечные волнообразные стержни
Примечание. В сравнении с традиционной конструкцией пространственного каркаса, который состоит из большого числа (несколько сотен) отдельных прямых арматурных стержней (заготовок), соединенных друг с другом с помощью сварки, новая конструкция пространственного каркаса за счет волнообразного изгиба поперечных стержней позволяет значительно сократить (в 3 - 4 раза) число отдельных стержней заготовок, составляющих каркас, и тем самым намного уменьшить (в 2 - 2,5 раза) количество сварных соединений арматуры при сборке пространственного каркаса.
1.3. Основные рекомендуемые схемы размещения продольной арматуры пространственной волнообразной сетки (каркаса) в сечениях конструкций показаны на рис. 2. При этом количество стержней в параллельных ярусах продольной арматуры у противоположных рабочих граней конструкций может приниматься разное (в плитах покрытия, рис. 2, а) или одинаковое (в стеновых панелях, рис. 2, б).
Рис. 2. Варианты использования волнообразных каркасов
а - в плитах покрытия; б - в стеновых панелях
2. ПРОЕКТИРОВАНИЕ КОНСТРУКЦИЙ,
АРМИРОВАННЫХ КАРКАСАМИ ИЗ ВОЛНООБРАЗНЫХ СЕТОК
2.1. Расчет конструкций следует выполнять в соответствии с требованиями
СНиП 2.03.01-84 "Бетонные и железобетонные конструкции" (М., 1985) и с учетом положений "
Пособия по проектированию бетонных и железобетонных конструкций из ячеистого бетона" (М., 1985).
2.2. Учитывая относительно высокую деформативность конструкций из ячеистого бетона, первичный подбор сечения продольной рабочей арматуры рекомендуется производить исходя из расчета прогибов (по предельному состоянию второй группы), а затем выполнять проверку прочности нормальных сечений (по предельному состоянию первой группы).
2.3. Прочность нормальных сечений стеновых панелей наружных стен, воспринимающих одновременно воздействие вертикальных и горизонтальных нагрузок, т.е. работающих в условиях косого изгиба, следует рассчитывать по методике общего случая расчета нормальных сечений, приведенной в
СНиП 2.03.01-84.
2.4. Расчет панелей на косой изгиб
(Приложение 1) рекомендуется производить с учетом кососимметричного расположения продольной арматуры в сечении согласно схемам "А" и "Б", приведенным на рис. 3. При этом горизонтальную нагрузку от воздействия ветра на наветренную поверхность панели следует прикладывать по схеме "А", а на заветренную - по схеме "Б".
Рис. 3. Схемы "А" и "Б" приложения внешних нагрузок
к стеновой панели при расчете прочности нормальных сечений
2.5. В рабочих чертежах стеновых панелей, ввиду кососимметричности расположения продольной арматуры в поперечных сечениях конструкций, необходимо указывать наветренную грань панелей, соответствующую расположению волнообразной сетки по схеме "А" (рис. 3).
2.6. Количество необходимых продольных стержней следует определять на основании требуемой расчетной площади сечения продольной арматуры согласно конструктивным требованиям
СНиП 2.03.01-84 и положениям
разд. 3 настоящих Рекомендаций.
2.7. При расчете прочности конструкций типа плит покрытий (
рис. 2, а) по наклонным сечениям на действие поперечной силы поперечные волнообразно изогнутые стержни следует учитывать как несколько одиночных поперечных стержней, соединяющих сжатую и растянутую арматуру, в количестве, равном числу пересечений ветвей волнообразных стержней расчетным наклонным сечением.
2.8. При аналогичном расчете по наклонным сечениям конструкций типа стеновых панелей (
рис. 2, б) поперечные волнообразно изогнутые стержни не следует учитывать как поперечную арматуру. Для таких конструкций в случае недостаточной прочности расчетного наклонного сечения в арматурный каркас следует вводить дополнительные прямые поперечные стержни в виде плоских каркасов. Поперечные плоские каркасы в волнообразной сетке следует размещать согласно рекомендациям, приведенным в
разд. 3.
2.9. Шаг поперечных волнообразно изогнутых стержней, так же как и поперечных плоских каркасов усиления для стеновых панелей по
п. 2.8, следует назначать исходя из конструктивных требований на поперечную арматуру или расчета на поперечную силу по
СНиП 2.03.01-84.
2.10. Продольную арматуру, расположенную в сжатой зоне конструкций и раскрепленную поперечными стержнями с шагом, превышающим предельную величину шага хомутов по
СНиП 2.03.01-84 для расчетной сжатой арматуры, не следует учитывать при расчете прочности нормальных сечений конструкций. При этом допускается учитывать подобную сжатую арматуру при расчете прогибов изгибаемых конструкций, воспринимающих кратковременно действующую нагрузку, такую, как ветровая.
3. КОНСТРУКТИВНЫЕ ОСОБЕННОСТИ КАРКАСОВ
С ПОПЕРЕЧНОЙ ВОЛНООБРАЗНО ИЗОГНУТОЙ АРМАТУРОЙ
3.1. В качестве продольных стержней в каркасе рекомендуется применять арматуру класса Вр-I и А-III, в отдельных случаях допускается применение арматуры класса А-II.
3.2. Продольные стержни следует принимать диаметром не менее 5 и не более 12 мм.
3.3. В одном каркасе могут применяться продольные стержни двух разных диаметров в двух вариантах:
а) разные диаметры в ярусах, но одинаковые в каждом ярусе (плиты покрытий);
б) два крайних стержня (по одному в ярусе) с одной стороны сетки могут быть увеличенного диаметра (на 2 мм) относительно остальных продольных стержней (стеновые панели).
В качестве основного варианта при подборе сечения продольной арматуры для стеновых панелей рекомендуется принимать все продольные стержни одинакового сечения.
3.4. Поперечные волнообразные стержни следует принимать из арматурной проволоки класса Вр-I диаметром 4 или 5 мм.
3.5. При конструировании каркасов число волн, по которым следует изгибать поперечные стержни, определяется шириной изделия и количеством необходимых продольных стержней.
3.6. Расстояние между продольными стержнями, расположенными у одной грани изделия, рекомендуется назначать не менее 200 мм, что обусловлено удобством сварки мест пересечения продольной и поперечной арматуры, и не более 400 мм.
3.7. Форму изгиба поперечных стержней следует принимать волнообразной трапециевидной с постоянным шагом волны (рис. 4).
Рис. 4. Форма и размеры волн, по которым изгибаются
поперечные стержни (размеры в мм)
3.8. На вершинах волн следует предусматривать прямые участки-площадки. Длина прямых участков может приниматься не менее 45 мм.
3.9. При назначении габарита высоты волны следует учитывать требования СНиП, ограничивающие минимальную толщину защитного слоя бетона до продольной арматуры.
3.10. При проектировании каркасов для изделий, включающих конструкции различного назначения и различной ширины и длины, но одинаковые по толщине, целесообразно унифицировать форму изгиба поперечных стержней.
3.11. Шаг поперечных волнообразных стержней в сетке следует назначать кратным 25 мм и не более 500 мм. Расстояние от первого поперечного стержня до торцов продольных стержней следует принимать равным 25 мм.
3.12. По длине волнообразной сетки не следует принимать шаг поперечных стержней более чем двух типоразмеров.
3.13. Поперечные плоские каркасы (лесенки) для усиления наклонных сечений необходимо проектировать с такими размерами, чтобы они могли быть установлены внутри волнообразного каркаса между параллельными ярусами продольных стержней. Для этого внешний габарит плоского каркаса по стержням усилия должен приниматься на 1 - 2 мм меньше внутреннего габарита волнообразного каркаса между ярусами продольных стержней (рис. 5).
Рис. 5. Усиление волнообразного каркаса панелей
поперечной арматурой
а - волнообразный пространственный каркас;
б - плоский каркас усиления; в - подъемная петля;
г - подъемная петля с каркасом усиления; д - усиление
волнообразного каркаса в местах расположения подъемных
петель; е - усиление волнообразного каркаса
поперечной арматурой
3.14. Установку конструктивных поперечных плоских каркасов необходимо предусматривать во всех конструкциях в сечениях, где размещаются подъемные петли.
3.15. Рекомендуемый диаметр сечения арматуры для плоских каркасов - не менее 4 мм из арматурной проволоки класса Вр-I.
4. ИЗГОТОВЛЕНИЕ АРМАТУРНЫХ КАРКАСОВ
4.1. Технологический процесс изготовления арматурных каркасов типа волнообразной сетки включает следующие операции:
правку и резку арматурных стержней по заданным размерам;
изгиб поперечных стержней по трапециевидной волне;
сварку продольных и поперечных стержней в пространственный каркас.
4.2. Правка и резка арматурных стержней осуществляется на правильно-отрезных станках (отклонения от проектных размеров не должны превышать +/- 3 мм).
Поверхность арматурных стержней-заготовок не должна быть загрязнена маслом и иметь следов ржавчины.
4.3. Изгиб поперечных стержней производится с помощью рычажного приспособления с ручным или механическим приводом. Принципиальная схема приспособления с ручным приводом дана в
Приложении 2.
Приспособление может быть рассчитано на одновременный изгиб одного или группы стержней (3 - 5 шт.).
4.4. Допускаемые отклонения изогнутых поперечных стержней от проектных размеров не должны превышать:
по высоте волны .............................................. +/- 2 мм
по шагу волны ................................................ +/- 2 мм.
4.5. Ручную сборку продольных и поперечных стержней в пространственный каркас рекомендуется выполнять на наклонных или вертикальных кондукторах по типу универсального кондуктора, разработанного Уральским ПромстройНИИпроектом.
В зависимости от типа кондуктора в его конструкцию вносятся дополнительные элементы, для фиксации в проектном положении прямых продольных и волнообразных поперечных стержней.
Сварку стержней рекомендуется выполнять подвесными сварочными машинами типа КТ-801.
4.6. Для полуавтоматической сварки каркасов могут быть использованы сварочные серийные машины, например, типа МТМС 10 x 35 при некоторой их реконструкции.
| | ИС МЕГАНОРМ: примечание. Постановлением Госстроя СССР от 28.11.1991 N 19 с 1 июля 1992 года введен в действие ГОСТ 14098-91. | |
4.7. В местах пересечений продольных и поперечных стержней крестообразные пересечения, выполненные контактной точечной сваркой, должны удовлетворять требованиям ГОСТ 14098-68.
4.8. В волнообразной сетке должны быть сварены все пересечения стержней.
4.9. Прочность сварных соединений крестообразных узлов должна соответствовать требованиям
ГОСТ 10922-75.
4.10. Отклонения габаритных размеров волнообразной сетки по продольным стержням не должны превышать:
по длине .................................................... +/- 7 мм
по ширине ................................................... +/- 15 мм
по высоте ................................................... +/- 3 мм.
4.11. Продольные стержни в волнообразной сетке должны быть прямолинейны. Допускаемые отклонения от прямолинейности стержней не должны превышать 6 мм на 1 м длины стержня.
4.12. Отклонения от проектных размеров шага поперечных стержней в сетке не должны превышать +/- 10 мм. Крайние поперечные стержни с обоих концов сетки не должны иметь отклонения от проектного положения более +/- 2 мм.
5. ПРАВИЛА ПРИЕМКИ И МЕТОДЫ ИСПЫТАНИЯ
5.1. Приемку каркасов рекомендуется производить партиями, в которые входят однотипные каркасы, изготовленные в течение одной смены из стали одной партии при одинаковом режиме сварки.
5.2. Проверку качества каркасов следует осуществлять по следующим показателям:
соответствие диаметров и классов арматуры;
размеры по габариту;
шаг поперечных и продольных стержней;
прямолинейность отдельных продольных стержней;
наличие сварки в крестообразных соединениях;
прочность крестообразных соединений;
разрывное усилие проволоки или временное сопротивление разрыву в местах сварки стержня;
величину осадки стержней.
5.3. Для внешнего осмотра и обмера отбирается 5% изделий, но не менее 5 штук. Размеры изделий и сварных соединений измеряются с точностью до 1 мм. Прямолинейность стержней проверяется рейкой или струной.
5.4. Прочность крестообразных соединений, выполненных контактной сваркой, контролируется в соответствии с требованиями
ГОСТ 10922-75 не менее чем на трех образцах.
5.5. Величину осадки проволоки и стержней в крестообразных соединениях определяют по ГОСТ 14098-68 с погрешностью до 0,1 мм.
6. НАНЕСЕНИЕ АНТИКОРРОЗИЙНОГО ПОКРЫТИЯ
6.1. Для предохранения арматуры от коррозии пространственные каркасы с волнообразно изогнутой поперечной арматурой должны иметь антикоррозийное покрытие.
6.2. Исходные материалы, способы приготовления и нанесения антикоррозийного покрытия, а также методы его контроля должны удовлетворять требованиям "Инструкции по изготовлению изделий из ячеистого бетона"
СН 277-80 (М., 1981).
6.3. Погружение каркасов в ванну с антикоррозийным покрытием рекомендуется осуществлять пакетом (5 - 10 шт.).
7. ХРАНЕНИЕ И ТРАНСПОРТИРОВАНИЕ КАРКАСОВ
7.1. Каркасы рекомендуется складировать пакетами, вкладывая их один в другой. При этом в один пакет рекомендуется укладывать каркасы одной марки.
7.2. Для обеспечения хорошей сохранности и удобства межцехового транспортирования каркасов желательно складирование осуществлять на специальных поддонах, имеющих площадки опирания, соответствующие форме волны поперечных стержней каркасов.
В этом случае допускается высота пакета до 1,0 м.
При складировании каркасов без специальных поддонов в один пакет рекомендуется укладывать не более 20 каркасов.
7.3. Каркасы транспортируют между цехами всеми видами межцехового транспорта.
7.4. При хранении и транспортировании каркасов следует соблюдать меры по предотвращению повреждений самих каркасов и нанесенного на них слоя антикоррозийного покрытия.
8. УСТАНОВКА КАРКАСОВ В ФОРМУ
8.1. Для обеспечения заданной величины защитного слоя бетона в изделиях рекомендуется применять призматические подкладки из ячеистого бетона, их количество должно быть таким, чтобы исключить провисание каркаса между подкладками более чем на 5 мм.
8.2. Ввиду несимметричного каркаса при установке его в форму необходимо соблюдать ориентацию относительно наружной поверхности панели согласно рабочим чертежам.
8.3. Монтажные петли с приваренными к ним плоскими каркасами устанавливаются в пространственный каркас непосредственно в форме. После установки в проектное положение петли крепятся к продольным стержням пространственного каркаса в 2 - 3 местах с помощью вязальной проволоки.
8.4. Установка закладных деталей в форму производится по технологии, принятой на предприятии.
9. РАСПАЛУБКА, КАНТОВАНИЕ И ТРАНСПОРТИРОВАНИЕ КОНСТРУКЦИЙ
9.1. Распалубку конструкций, армированных каркасами из волнообразных сеток, следует выполнять на равной горизонтальной площадке, соблюдая требования
СН 277-80.
9.2. При кантовании конструкций из горизонтального положения в вертикальное (стеновые панели) недопустима их пригрузка какими-либо дополнительными грузами.
9.3. При погрузке, разгрузке, хранении и транспортировании конструкций должны соблюдаться меры, исключающие возможность их повреждения и увлажнения, а также требования действующих ГОСТ на технические требования соответствующих конструкций.
ПРИМЕР РАСЧЕТА СТЕНОВОЙ ПАНЕЛИ ПРОМЫШЛЕННЫХ ЗДАНИЙ
НА КОСОЙ ИЗГИБ
Расчет выполняется для панели перемычки длиной 5,98 см, с высотой сечения 118 см и толщиной 25 см.
Материал панели - ячеистый бетон класса B2,5 (М35). В качестве рабочей продольной арматуры применяются стержни класса А-III.
Нагрузки на панель принимаются согласно рабочих чертежей серии 1.432-14/80, вып. 1.
Исходные данные для расчета:
Расчетные изгибающие моменты от внешней нагрузки:
вертикальный -

;
горизонтальный

.
Расчетные нагрузки:
вертикальная

;
горизонтальная

.
Расчет выполняем для арматурного каркаса, размещенного в сечении по схеме А (рис. 6).
Рис. 6. Стеновая панель ПС 600.12.25-Я-2,
нагруженная по схеме "А"

Цифры 1 - 8 обозначают номера стержней согласно таблице
Предварительный расчет прогибов панели от действия горизонтальной ветровой нагрузки

позволил принять продольную арматуру в каркасе в количестве 8

(рис. 6).
Проверяем прочность нормальных сечений панели на косой изгиб, при этом принимаем

.
Плоскость изгиба от внешних усилий характеризуется углом

, который определяют по

. Для данного случая

, а

.
Для выполнения расчета необходимо определить форму и размеры сжатой зоны бетона, удовлетворяющие равенство

.
Определяем угол

между осью y и прямой, ограничивающей сжатую зону.
| | ИС МЕГАНОРМ: примечание. При публикации в издании М.: НИИЖБ Госстроя СССР, 1985 допущен типографский брак. Текст, не пропечатанный в официальном тексте документа, в электронной версии данного документа выделен треугольными скобками. | |
Предварительно принимаем

.
Задаваясь значением

- размером сжатой зоны по наиболее сжатой стороне сечения
(рис. 6), определяем изгибающие моменты, воспринимаемые сечением панели в плоскостях X и Y. При этом необходимо стремиться к соблюдению условий параллельности плоскостей действия моментов внешних и внутренних сил, которое определяется равенством или достаточной близостью углов

и

, из которых угол

соответствует расчетной плоскости изгиба по моментам от внутренних усилий

.
Расчеты показали, что первоначально принятые значения угла

и

не удовлетворяют прочности сечения по

и дают значительный запас прочности по

. При этом также не обеспечивается близкое совпадение плоскостей действия моментов от внешних и внутренних усилий. В этом случае выполняются дополнительные расчеты при других значениях угла

и

.
К расчету панели ПС 600.12.25-Я-2
N стержня |  , см2 |  , см |  , см |  , см |  , см | X = 117 см |
|  , МПа |  , МПа |  , кН |
1 | 0,785 | 3 | 8,5 | 22,5 | 31 | 3,744 | -959,2 | 0 | 0 |
2 | 0,785 | 22 | 23,5 | 165 | 188,5 | 0,621 | 208,7 | 208,7 | 16,38 |
3 | 0,785 | 3 | 38,5 | 22,5 | 61 | 1,918 | -736,6 | 0 | 0 |
4 | 0,785 | 22 | 53,5 | 165 | 218,5 | 0,535 | 433,4 | 375,0 | 29,44 |
5 | 0,785 | 3 | 68,5 | 22,5 | 91 | 1,286 | -514,2 | 0 | 0 |
6 | 0,785 | 22 | 83,5 | 165 | 248,5 | 0,471 | 653,9 | 375,0 | 29,44 |
7 | 0,785 | 3 | 98,5 | 22,5 | 121 | 0,967 | -291,5 | 0 | 0 |
8 | 0,785 | 22 | 113,5 | 165 | 278,5 | 0,420 | 877,7 | 375,0 | 29,44 |
|
Определяем форму сжатой зоны, так как

,

.
Форма сжатой зоны треугольная, ее площадь равна

;

;

,
согласно таблице.
Таким образом

, что практически удовлетворяет условию

.
Определяем моменты внутренних сил относительно осей Y и X.
Для этого определяем статистические моменты сжатой зоны бетона относительно этих осей:

;

.
Используя полученные значения, определяем расчетные изгибающие моменты:

;

.
При этом угол

.
Поскольку

и

прочность сечения обеспечена.
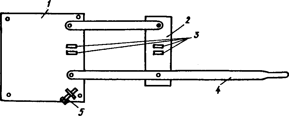
ПРИСПОСОБЛЕНИЯ ДЛЯ ИЗГИБА ПОПЕРЕЧНЫХ СТЕРЖНЕЙ
а)
б)
Рис. 7
а - общая схема приспособления; б - последовательность
гнутья заготовки
1 - неподвижная плита; 2 - подвижная
плита; 3 - упоры; 4 - рукоятка; 5 - регулируемый
ограничитель угла поворота