Главная // Актуальные документы // ПравилаСПРАВКА
Источник публикации
В данном виде документ опубликован не был.
Первоначальный текст документа опубликован в издании
М.: Минрегион России, 2011.
Информацию о публикации документов, создающих данную редакцию, см. в справке к этим документам.
Примечание к документу
О порядке применения данного документа при проверке соответствия проектной документации и (или) результатов инженерных изысканий, представленных на первичную или повторную государственную или негосударственную экспертизу, в целях обеспечения соблюдения требований Федерального
закона от 30.12.2009 N 384-ФЗ см.
п. 2 Постановления Правительства РФ от 28.05.2021 N 815.
Отдельные положения данного документа до 01.09.2022 были включены в
Перечень национальных стандартов и сводов правил (частей таких стандартов и сводов правил), в результате применения которых на обязательной основе обеспечивается соблюдение требований Федерального
закона "Технический регламент о безопасности зданий и сооружений" (
Постановление Правительства РФ от 28.05.2021 N 815).
Отдельные положения данного документа включены в
Перечень национальных стандартов и сводов правил (частей таких стандартов и сводов правил), в результате применения которых на обязательной основе обеспечивается соблюдение требований Федерального
закона "Технический регламент о безопасности зданий и сооружений" (
Постановление Правительства РФ от 04.07.2020 N 985).
Документ включен в
Перечень документов в области стандартизации, в результате применения которых на добровольной основе обеспечивается соблюдение требований Федерального
закона от 30.12.2009 N 384-ФЗ "Технический регламент о безопасности зданий и сооружений" (
Приказ Росстандарта от 02.04.2020 N 687).
Документ включен в
Перечень документов в области стандартизации, в результате применения которых на добровольной основе обеспечивается соблюдение требований Федерального
закона от 30.12.2009 N 384-ФЗ "Технический регламент о безопасности зданий и сооружений" (
Приказ Росстандарта от 17.04.2019 N 831).
Документ включен в
Перечень документов в области стандартизации, в результате применения которых на добровольной основе обеспечивается соблюдение требований Федерального
закона от 30.12.2009 N 384-ФЗ "Технический регламент о безопасности зданий и сооружений" (
Приказ Росстандарта от 30.03.2015 N 365).
Отдельные положения данного документа включены в
Перечень национальных стандартов и сводов правил (частей таких стандартов и сводов правил), в результате применения которых на обязательной основе обеспечивается соблюдение требований Федерального
закона от 30.12.2009 N 384-ФЗ "Технический регламент о безопасности зданий и сооружений" (
Постановление Правительства РФ от 26.12.2014 N 1521).
При применении данного документа следует учитывать, что в соответствии с
пунктом 32 Правил разработки и утверждения сводов правил, утв. Постановлением Правительства РФ от 19.11.2008 N 858, для соблюдения требований технических регламентов и оценки соответствия своды правил применяют после внесения их в перечни национальных стандартов и (или) сводов правил, подлежащие утверждению и опубликованию в установленном порядке.
Название документа
"СП 41.13330.2012. Свод правил. Бетонные и железобетонные конструкции гидротехнических сооружений. Актуализированная редакция СНиП 2.06.08-87"
(утв. Приказом Минрегиона России от 29.12.2011 N 635/13)
(ред. от 28.11.2018)
"СП 41.13330.2012. Свод правил. Бетонные и железобетонные конструкции гидротехнических сооружений. Актуализированная редакция СНиП 2.06.08-87"
(утв. Приказом Минрегиона России от 29.12.2011 N 635/13)
(ред. от 28.11.2018)
регионального развития
Российской Федерации
(Минрегион России)
от 29 декабря 2011 г. N 635/13
СВОД ПРАВИЛ
БЕТОННЫЕ И ЖЕЛЕЗОБЕТОННЫЕ КОНСТРУКЦИИ
ГИДРОТЕХНИЧЕСКИХ СООРУЖЕНИЙ
АКТУАЛИЗИРОВАННАЯ РЕДАКЦИЯ
СНиП 2.06.08-87
Concrete and reinforced concrete hydraulic structures
СП 41.13330.2012
| | Список изменяющих документов Минстроя России от 28.11.2018 N 764/пр) | |
Дата введения
1 января 2013 года
Цели и принципы стандартизации в Российской Федерации установлены Федеральным
законом от 27 декабря 2002 г. N 184-ФЗ "О техническом регулировании", а правила разработки -
Постановлением Правительства Российской Федерации от 19 ноября 2008 г. N 858 "О порядке разработки и утверждения сводов правил".
1 ИСПОЛНИТЕЛЬ - ОАО "ВНИИГ им. Б.Е. Веденеева"
2 ВНЕСЕН Техническим комитетом по стандартизации ТК 465 "Строительство"
3 ПОДГОТОВЛЕН к утверждению Департаментом архитектуры, строительства и градостроительной политики
4 УТВЕРЖДЕН
Приказом Министерства регионального развития Российской Федерации (Минрегион России) от 29 декабря 2011 г. N 635/13 и введен в действие с 1 января 2013 г.
5 ЗАРЕГИСТРИРОВАН Федеральным агентством по техническому регулированию и метрологии (Росстандарт). Пересмотр СП 41.13330.2011 "СНиП 2.06.08-87. Бетонные и железобетонные конструкции гидротехнических сооружений"
Информация об изменениях к настоящему своду правил публикуется в ежегодно издаваемом информационном указателе "Национальные стандарты", а текст изменений и поправок - в ежемесячно издаваемых информационных указателях "Национальные стандарты". В случае пересмотра (замены) или отмены настоящего свода правил соответствующее уведомление будет опубликовано в ежемесячно издаваемом информационном указателе "Национальные стандарты". Соответствующая информация, уведомление и тексты размещаются также в информационной системе общего пользования - на официальном сайте разработчика (Минрегион России) в сети Интернет
Настоящий свод правил является актуализированной редакцией
СНиП 2.06.08-87 "Бетонные и железобетонные конструкции гидротехнических сооружений". Основанием для разработки нормативного документа является Федеральный
закон от 30 декабря 2009 г. N 384-ФЗ "Технический регламент о безопасности зданий и сооружений".
Актуализированная редакция
СНиП 2.06.08-87 разработана Открытым Акционерным Обществом "ВНИИГ им. Б.Е. Веденеева" (канд. техн. наук
А.П. Пак - руководитель темы, доктора техн. наук
Е.Н. Беллендир, В.Б. Глаговский, В.Б. Судаков).
Настоящий свод правил распространяется на проектирование вновь строящихся, реконструируемых и ремонтируемых речных и морских бетонных и железобетонных гидротехнических сооружений всех классов, входящих в состав энергетических и водно-транспортных гидроузлов; сооружений для борьбы с наводнениями и защиты территории от затопления и подтопления; а также должен использоваться при расчетной оценке состояния эксплуатируемых сооружений (в том числе с учетом данных натурных наблюдений и обследований).
В проектах сооружений, предназначенных для строительства в сейсмических районах, в Северной строительно-климатической зоне, в районах распространения просадочных, набухающих и слабых по физико-механическим свойствам грунтов, должны соблюдаться дополнительные требования, предъявляемые к таким сооружениям соответствующими нормативными документами.
(раздел в ред.
Изменения N 1, утв. Приказом Минстроя России от 28.11.2018 N 764/пр)
В настоящем своде правил использованы нормативные ссылки на следующие документы:
СП 58.13330.2012 "СНиП 33-01-2003 Гидротехнические сооружения. Основные положения" (с изменением N 1)
СП 63.13330.2012 "СНиП 52-01-2003 Бетонные и железобетонные конструкции. Основные положения" (с изменениями N 1, N 2, N 3)
СП 131.13330.2012 "СНиП 23-01-99* Строительная климатология" (с изменениями N 1, N 2)
СП 357.1325800.2017 Конструкции бетонные гидротехнических сооружений. Правила приемки и производства работ
Примечание - При пользовании настоящим сводом правил целесообразно проверить действие ссылочных документов в информационной системе общего пользования - на официальном сайте федерального органа исполнительной власти в сфере стандартизации в сети Интернет или по ежегодному информационному указателю "Национальные стандарты", который опубликован по состоянию на 1 января текущего года, и по выпускам ежемесячного информационного указателя "Национальные стандарты" за текущий год. Если заменен ссылочный документ, на который дана недатированная ссылка, то рекомендуется использовать действующую версию этого документа с учетом всех внесенных в данную версию изменений. Если заменен ссылочный документ, на который дана датированная ссылка, то рекомендуется использовать версию этого документа с указанным выше годом утверждения (принятия). Если после утверждения настоящего свода правил в ссылочный документ, на который дана датированная ссылка, внесено изменение, затрагивающее положение, на которое дана ссылка, то это положение рекомендуется применять без учета данного изменения. Если ссылочный документ отменен без замены, то положение, в котором дана ссылка на него, рекомендуется применять в части, не затрагивающей эту ссылку. Сведения о действии сводов правил целесообразно проверить в Федеральном информационном фонде стандартов.
Для целей настоящего свода правил используются следующие термины и определения:
3.1 бетонная конструкция: Конструкция, выполненная из бетона без арматуры или с небольшим количеством арматуры, установленной по конструктивным соображениям; расчетные усилия от собственного веса и внешних нагрузок и воздействий в бетонной конструкции воспринимаются бетоном.
3.2 железобетонная конструкция: Конструкция, выполненная из бетона и рабочей стальной арматуры; расчетные усилия от собственного веса и внешних нагрузок и воздействий в железобетонной конструкции воспринимаются бетоном и рабочей арматурой.
3.3 сталежелезобетонная конструкция: Конструкция, выполненная из бетона, рабочей стержневой арматуры и рабочей арматуры из листового проката; расчетные усилия от собственного веса и внешних нагрузок и воздействий в сталежелезобетонной конструкции воспринимаются бетоном и рабочей стержневой и листовой арматурой.
3.4 сталебетонная конструкция: Конструкция, выполненная из бетона и внешней рабочей арматуры из листового проката; расчетные усилия от собственного веса и внешних нагрузок и воздействий в сталебетонной конструкции воспринимаются бетоном и листовой арматурой.
Абзац исключен с 29 мая 2019 года. -
Изменение N 1, утв. Приказом Минстроя России от 28.11.2018 N 764/пр.
3.5 надежность: Способность конструкции выполнять требуемые функции в течение расчетного срока эксплуатации.
(п. 3.5 введен
Изменением N 1, утв. Приказом Минстроя России от 28.11.2018 N 764/пр)
3.6 резервирование: Способ обеспечения надежности объекта за счет использования дополнительных средств и (или) возможностей, избыточных по отношению к минимально необходимым для выполнения требуемых функций.
(п. 3.6 введен
Изменением N 1, утв. Приказом Минстроя России от 28.11.2018 N 764/пр)
3.7 ресурс: Суммарная наработка конструкции от начала ее эксплуатации или возобновления после ремонта до перехода в предельное состояние.
(п. 3.7 введен
Изменением N 1, утв. Приказом Минстроя России от 28.11.2018 N 764/пр)
3.8 суперпластификаторы: Добавки для бетона и строительных растворов.
(п. 3.8 введен
Изменением N 1, утв. Приказом Минстроя России от 28.11.2018 N 764/пр)
3.9 микросилика: Готовый к употреблению продукт, служащий для улучшения технологических свойств растворных и бетонных смесей и повышения эксплуатационных свойств строительных растворов и бетонов.
Примечание - Основные буквенные обозначения, принятые в настоящем своде правил, приведены в
приложении А.
(п. 3.9 введен
Изменением N 1, утв. Приказом Минстроя России от 28.11.2018 N 764/пр)
4.1 При проектировании бетонных и железобетонных конструкций гидротехнических сооружений необходимо соблюдать, кроме требований данного свода правил, также требования
СП 58.13330.
4.2 Выбор типа бетонных и железобетонных конструкций (монолитных, сборно-монолитных, сборных, в том числе предварительно напряженных и заанкеренных в основание) должен производиться исходя из технико-экономического сопоставления вариантов с учетом оптимального использования трудовых ресурсов, материалов, стимулирования энергосбережения, снижения стоимости строительства.
При выборе элементов сборных конструкций следует рассматривать целесообразность применения предварительно напряженных конструкций из высокопрочных бетонов и арматуры.
Типы конструкций, основные размеры их элементов, а также степень насыщения железобетонных конструкций арматурой необходимо принимать на основании сравнения технико-экономических показателей вариантов.
4.3 Элементы сборных конструкций должны отвечать условиям механизированного изготовления на специализированных предприятиях.
Следует рассматривать целесообразность укрупнения сборных конструкций с учетом условий их изготовления, транспортирования и грузоподъемности монтажных механизмов.
4.4 Для монолитных конструкций следует предусматривать унифицированные размеры, позволяющие применять инвентарную опалубку.
4.5 Конструкции узлов и соединений элементов в сборных конструкциях должны обеспечивать надежную передачу усилий, прочность самих элементов в зоне стыка, а также связь дополнительно уложенного бетона в стыке с бетоном конструкции.
4.6 При проектировании конструкций гидротехнических сооружений, недостаточно апробированных практикой проектирования и строительства, для сложных условий статической и динамической работы конструкции в дополнение к расчетам необходимо предусматривать проведение экспериментальных исследований.
4.7 Для обеспечения требуемой водонепроницаемости и морозостойкости конструкций необходимо предусматривать следующие мероприятия:
укладку бетона соответствующих марок по водонепроницаемости и морозостойкости со стороны напорной грани и наружных поверхностей (особенно в зонах переменного уровня воды);
применение поверхностно-активных добавок к бетону (воздухововлекающих, пластифицирующих и др.);
устройство противофильтрационных элементов (уплотнений) в деформационных швах и применение специальной технологии подготовки горизонтальных строительных швов;
устройство дренажа со стороны напорной грани.
Выбор мероприятий следует производить на основе технико-экономического сравнения вариантов.
5 Материалы для бетонных и железобетонных конструкций
Бетон
5.1 Бетон для бетонных и железобетонных конструкций гидротехнических сооружений должен удовлетворять требованиям
ГОСТ 26633 и указаниям настоящего раздела.
5.2 При проектировании бетонных и железобетонных конструкций гидротехнических сооружений в зависимости от вида и условий работы необходимо устанавливать показатели качества бетона, основными из которых являются следующие:
а) классы бетона по прочности на сжатие (МПа), которые отвечают значению гарантированной прочности бетона, с обеспеченностью q = 0,95. В массивных сооружениях допускается применение бетонов со значениями гарантированной прочности с обеспеченностью q = 0,90.
Для внутренней зоны бетонных гравитационных плотин допускается применение бетонов со значениями гарантированной прочности с обеспеченностью q = 0,85.
В проектах необходимо предусматривать следующие классы бетона по прочности на сжатие: B5; B7,5; B10; B12,5; B15; B17,5; B20; B22,5; B25; B27,5; B30; B35; B40.
При надлежащем обосновании допускается устанавливать промежуточные значения классов бетона по прочности на сжатие, отличающиеся от вышеперечисленных. Характеристики этих бетонов следует принимать интерполяцией;
б) классы бетона по прочности на осевое растяжение.
Эту характеристику устанавливают в случаях, когда она определяет прочность конструкций и контролируется на производстве.
В проектах необходимо предусматривать следующие классы бетона по прочности на осевое растяжение: Bt0,8; Bt1,2; Bt1,6; Bt2,0; Bt2,4; Bt2,8; Bt3,2;
в) марки бетона по морозостойкости.
В проектах необходимо предусматривать следующие марки бетона по морозостойкости: F50; F75; F100; F150; F200; F300; F400; F500; F600; F700; F800; F1000;
г) марки бетона по водонепроницаемости.
В проектах необходимо предусматривать следующие марки бетона по водонепроницаемости: W2; W4; W6; W8; W10; W12; W14; W16; W18; W20.
5.3 К бетону конструкций гидротехнических сооружений могут предъявляться дополнительные, устанавливаемые в проектах и подтверждаемые экспериментальными исследованиями требования: по прочности на сдвиг горизонтальных строительных швов, предельной растяжимости, сопротивляемости истиранию потоком с донными и взвешенными наносами, стойкости против кавитации, тепловыделению при твердении бетона, отсутствию вредного взаимодействия щелочей цемента с заполнителями и др.
Значения предельной растяжимости бетона и сдвиговой прочности горизонтальных строительных швов приведены соответственно в
таблицах Б.6 и
Б.8 Приложения Б.
5.4 Требования к бетону конструкций гидротехнических сооружений по прочности на сжатие и растяжение, морозостойкости, водонепроницаемости и т.д. необходимо устанавливать дифференцированно по зонам сооружения, при этом требования к техническим характеристикам бетона должны соответствовать фактическим условиям работы бетона различных зон и частей сооружений в период строительства и эксплуатации.
5.5 Срок твердения (возраст) бетона, отвечающий его классам по прочности на сжатие, на осевое растяжение и марке по водонепроницаемости, принимается, как правило, для конструкций речных гидротехнических сооружений 180 сут, для сборных и монолитных конструкций морских и речных портовых сооружений - 28 сут. Срок твердения (возраст) бетона, отвечающий его проектной марке по морозостойкости, принимается 28 сут.
Примечание - Если известны сроки фактического нагружения конструкций, способы их возведения, условия твердения бетона, вид и качество применяемого цемента, то допускается устанавливать класс и марки бетона в ином возрасте.
5.6 Классы бетона по прочности на сжатие и растяжение должны назначаться в зависимости от уровня напряжений в расчетных зонах сооружения с учетом фактического времени нагружения конструкций.
Для железобетонных элементов из тяжелого бетона, рассчитываемых на воздействие многократно повторяющейся нагрузки, и железобетонных сжатых стержневых конструкций (набережные типа эстакад на сваях, сваях-оболочках и т.п.) следует применять бетон класса по прочности на сжатие не ниже B20.
Для предварительно напряженных элементов следует принимать бетон класса по прочности на сжатие: не менее B15 - для конструкций со стержневой арматурой; не менее B30 - для элементов, погружаемых в грунт забивкой или вибрированием.
5.7 Требования по морозостойкости предъявляются только к бетону, который находится в зоне переменного уровня воды, и наружному надводному бетону. Марку бетона по морозостойкости следует назначать в зависимости от климатических условий района строительства и числа расчетных циклов (смен) попеременного замораживания и оттаивания в течение года (по данным долгосрочных наблюдений), с учетом эксплуатационных условий.
Для конструкций и частей сооружений в зоне переменного уровня воды (включая двухметровую зону над ней) марку бетона по морозостойкости следует принимать по таблице 1.
Таблица 1
Климатические условия | Марка бетона по морозостойкости при числе циклов попеременного замораживания и оттаивания в год |
до 25 включительно | от 26 - 50 | 51 - 100 | 101 - 150 | 151 - 200 | 201 - 250 | 251 - 300 |
Умеренные | F50 | F100 | F150 | F200 | F300 | F400 | F600 |
Суровые | F100 | F150 | F200 | F300 | F400 | F600 | F800 |
Особо суровые | F200 | F300 | F400 | F500 | F600 | F800 | F1000 |
Примечания 1 Климатические условия характеризуются среднемесячной температурой наиболее холодного месяца: умеренные - выше минус 10 °C; суровые - от минус 10 до минус 20 °C включительно; особо суровые - ниже минус 20 °C. Среднемесячные температуры наиболее холодного месяца для района строительства определяются по СП 131.13330, а также по данным гидрометеорологической службы. 2 При одновременном воздействии замораживания - оттаивания и агрессивной воды-среды необходимо учитывать требования, предъявляемые к материалам и конструкциям СП 28.13330 и ГОСТ 18105, и применять бетоны более высоких марок по морозостойкости: при воздействии слабо- и среднеагрессивной воды-среды - на одну ступень, а при воздействии сильноагрессивной воды-среды - на две ступени. |
(в ред. Изменения N 1, утв. Приказом Минстроя России от 28.11.2018 N 764/пр) |
Для напорных конструкций гидроузлов с водохранилищами многолетнего и годового регулирования стока в зоне сработки водохранилища до горизонта мертвого объема марки бетона по морозостойкости должны быть не ниже F150 - для умеренных, F200 - для суровых и F300 - для особо суровых климатических условий.
Для надводной зоны сооружений марки бетона по морозостойкости назначаются с учетом атмосферных воздействий, но не ниже F100 - для умеренных, F150 - для суровых и F200 - для особо суровых климатических условий.
Примечание - Для наружных зон сооружений и конструкций, где при основных сочетаниях нагрузок и воздействий имеют место растягивающие напряжения (деформации), следует применять бетоны с более высокой (не менее чем на одну ступень) морозостойкостью.
5.8 Марку бетона по водонепроницаемости назначают в зависимости от градиента напора, определяемого как отношение максимального напора, м, к толщине конструкции (или расстоянию от напорной грани до дренажа), м, и температуры контактирующей с сооружением воды, °C, по таблице 2 с учетом агрессивности воды-среды по
СП 28.13330.
Таблица 2
Температура воды, °C | Марки бетона по водонепроницаемости при градиентах напора |
до 5 включительно | свыше 5 до 10 | свыше 10 до 20 | свыше 20 до 30 включительно |
До 10 включительно | W2 | W4 | W6 | W8 |
Свыше 10 до 30 включительно | W4 | W6 | W8 | W10 |
Свыше 30 | W6 | W8 | W10 | W12 |
Примечание - Для конструкций с градиентом напора свыше 30 следует назначать марку бетона по водонепроницаемости W14 и выше. |
В нетрещиностойких напорных железобетонных конструкциях и нетрещиностойких безнапорных конструкциях морских сооружений проектная марка бетона по водонепроницаемости должна быть не ниже W4.
5.9 Следует предусматривать широкое применение добавок поверхностно-активных веществ (ЛСТ, С-3, СДО, ЛХД и др.), а также применение тонкодисперсных минеральных добавок, отвечающих требованиям соответствующих нормативных документов.
Области рационального применения добавок для бетонов гидротехнических сооружений приведены в
Приложении В.
5.10 При предъявлении к бетону сооружений требований к сопротивляемости истиранию потоком воды с влекомыми наносами или стойкости против кавитации класс бетона по прочности на сжатие должен быть не ниже B25, марка бетона по морозостойкости - не ниже F300, марка бетона по водонепроницаемости - не ниже W8.
5.11 При соответствующем технико-экономическом обосновании для бетонных и железобетонных конструкций гидротехнических сооружений допускается использовать бетоны на напрягаемом цементе, а для снижения нагрузки от собственного веса конструкции - легкие бетоны.
5.12 Для замоноличивания стыков элементов сборных конструкций, которые в процессе эксплуатации могут подвергаться воздействию отрицательных температур наружного воздуха или воздействию агрессивной воды, следует применять бетоны проектных марок по морозостойкости и водонепроницаемости не ниже принятых для стыкуемых элементов.
5.13 Класс бетона по прочности на сжатие и на осевое растяжение следует принимать по таблицам 3 и
4 в зависимости от значений расчетных сопротивлений бетона, определенных в соответствии с указаниями
разделов 8,
9,
10 настоящего свода правил.
Таблица 3
Класс бетона по прочности на сжатие | Нормативные и расчетные сопротивления бетона, МПа (кг/см2) |
нормативные сопротивления; расчетные сопротивления для предельных состояний второй группы | расчетные сопротивления для предельных состояний первой группы |
Сжатие осевое Rbn; Rb,ser | Растяжение осевое Rbtn; Rbt,ser | Сжатие осевое Rb | Растяжение осевое Rbt |
бетон вибрированный | бетон укатанный | бетон вибрированный | бетон укатанный |
1 | 2 | 3 | 4 | 5 | 6 | 7 |
B5 | 3,5 (35,7) | 0,55 (5,61) | 0,39 (3,98) | 2,8 (28,6) | 0,37 (3,77) | 0,26 (2,65) |
B7,5 | 5,5 (56,1) | 0,70 (7,14) | 0,58 (5,92) | 4,5 (45,9) | 0,48 (4,89) | 0,39 (3,98) |
B10 | 7,5 (76,5) | 0,85 (8,67) | 0,78 (7,96) | 6,0 (61,2) | 0,57 (5,81) | 0,52 (5,35) |
B12,5 | 9,5 (96,5) | 1,00 (10,2) | 0,95 (9,70) | 7,5 (76,5) | 0,66 (6,73) | 0,63 (6,42) |
B15 | 11,3 (115) | 1,15 (11,7) | 1,10 (11,2) | 8,9 (91,0) | 0,75 (7,65) | 0,73 (7,45) |
B17,5 | 13,0 (133) | 1,27 (13,0) | 1,23 (12,6) | 10,3 (105) | 0,83 (8,41) | 0,80 (8,20) |
B20 | 14,9 (152) | 1,40 (14,3) | 1,38 (14,1) | 11,7 (120) | 0,90 (9,18) | 0,90 (9,15) |
B22,5 | 16,7 (170) | 1,50 (15,3) | - | 13,1 (134) | 0,97 (10,0) | - |
B25 | 18,5 (189) | 1,60 (16,3) | - | 14,5 (148) | 1,05 (10,7) | - |
B27,5 | 20,2 (206) | 1,70 (17,3) | - | 15,8 (161) | 1,12 (11,4) | - |
B30 | 22,0 (224) | 1,80 (18,4) | - | 17,0 (173) | 1,20 (12,2) | - |
B35 | 25,5 (260) | 1,95 (19,9) | - | 19,5 (199) | 1,30 (13,3) | - |
B40 | 29,0 (296) | 2,10 (21,4) | - | 22,0 (224) | 1,40 (14,3) | - |
Класс бетона по прочности на растяжение | Нормативные и расчетные сопротивления бетона при осевом растяжении, МПа (кг/см2) |
нормативные сопротивления, расчетные сопротивления для предельных состояний второй группы Rbtn; Rbt,ser | расчетные сопротивления для предельных состояний первой группы Rbt |
Bt0,8 | 0,8 (8,1) | 0,62 (6,32) |
Bt1,2 | 1,2 (12,2) | 0,93 (9,49) |
Bt1,6 | 1,6 (16,3) | 1,25 (12,7) |
Bt2,0 | 2,0 (20,4) | 1,55 (15,8) |
Bt2,4 | 2,4 (24,5) | 1,85 (18,9) |
Bt2,8 | 2,8 (28,6) | 2,15 (21,9) |
Bt3,2 | 3,2 (32,4) | 2,45 (25,0) |
5.14 Расчетные сопротивления бетона для предельных состояний первой группы

и

снижаются (или повышаются) путем умножения на коэффициенты условий работы бетона

, учитывающие влияние на его прочность сочетания нагрузок, различия в возрасте бетона в конструкции ко времени ее нагружения эксплуатационными нагрузками и в возрасте бетона, соответствующем его классу по прочности, различия в прочности бетона в сооружении и в контрольных образцах, схемы нагружения, градиента деформаций по сечению, формы поперечного сечения, сложного напряженного состояния, типа и размеров конструкций, строительных швов, многократного повторения нагрузок; схемы, коэффициента и дисперсности армирования, других факторов. Значения коэффициентов условий работы бетона приведены в таблице 5.
Факторы, обуславливающие введение коэффициента условий работы бетона | Коэффициент условий работы бетона |
Условное обозначение | Значение |
1 | 2 | 3 |
1 Бетонные конструкции | | |
а) основное сочетание нагрузок и воздействий | | 0,9 |
б) особое сочетание нагрузок и воздействий с учетом сейсмических | | 1,1 |
в) внецентренно сжатые элементы, не воспринимающие напор воды и не подверженные действию агрессивной среды, рассчитываемые без учета сопротивления растянутой зоны сечения | | 1,3 |
г) другие бетонные элементы | | 1,0 |
д) влияние градиента растягивающих деформаций по сечению | | |
е) влияние формы поперечного сечения конструкций | | |
ж) влияние сложного напряженного состояния | | |
з) влияние размеров конструкций | | |
2 Железобетонные конструкции | | |
а) основное сочетание нагрузок и воздействий | | 1,1 |
б) особое сочетание нагрузок и воздействий без учета сейсмических | | 1,2 |
в) особое сочетание нагрузок и воздействий с учетом сейсмических: | | |
при расчете элементов с арматурой классов А-I, А-II, А-III, Вр-I по нормальным сечениям; | | 1,3 |
то же, с арматурой других классов; | | 1,2 |
при расчете элементов по наклонным сечениям | | 1,1 |
г) влияние числа рядов арматуры | | |
д) влияние коэффициента и дисперсности армирования | | |
е) влияние неупругой работы бетона растянутой зоны | | |
ж) влияние плоского напряженного состояния при действии напряжений разного знака | | |
3 Бетонные и железобетонные конструкции | | |
а) многократное повторение нагрузки | | |
б) влияние на прочность бетона строительных швов: | | |
сжатого бетона; | | 1,0 |
растянутого бетона | | |
в) влияние возраста бетона ко времени нагружения конструкции эксплуатационными нагрузками | | |
г) влияние различия в прочности бетона в конструкции и в контрольных образцах | | |
Примечания 1 При одновременном действии нескольких факторов, влияющих на прочность бетона, в расчет вводится произведение соответствующих коэффициентов условий работы, но не менее  и не более  . 2 Коэффициент  учитывается при обосновании прочности массивных конструкций, возводимых в течение 1 года и более. 3 Коэффициент  учитывается при обосновании прочности конструкций, минимальный размер которых не менее 1,5 м. |
Расчетные сопротивления бетона для предельных состояний второй группы

и

вводят в расчет с коэффициентом условий работы бетона

, за исключением случаев, указанных в
9.2,
9.3,
10.13.
5.15 Коэффициент условий работы бетонных конструкций, учитывающий влияние на прочность растянутого бетона градиента деформаций по сечению, определяется по формуле

(1)
и принимается не более

,
где c - параметр, зависящий от класса бетона, его структуры, влажности и других факторов;

- высота растянутой зоны сечения, см, определенная в предположении упругой работы бетона.
Значения параметра c следует определять на основании экспериментальных исследований. Для сооружений I и II классов на предварительной стадии проектирования, а для сооружений III и IV классов во всех случаях параметр c допускается принимать по таблице 6.
Класс бетона по прочности на сжатие | B5 | B7,5 | B10 | B12,5 | B15 | B20 | B25 | B30 | B35 | B40 |
c, см | 8,0 | 7,9 | 7,7 | 7,5 | 7,3 | 6,7 | 6,1 | 5,5 | 4,9 | 4,4 |
5.16 Коэффициент условий работы бетонных конструкций, учитывающий влияние на прочность растянутого бетона формы их поперечного сечения, определяется по формуле

, (2)
где K - коэффициент, зависящий от формы сечения и соотношения его размеров.
Для прямоугольных, круговых, крестовых сечений, а также для тавровых сечений с полкой в сжатой зоне K = 0.
Для кольцевых сечений коэффициент K равен отношению размеров внутреннего диаметра к наружному.
Для тавровых сечений с полкой в растянутой зоне, для коробчатых и двутавровых сечений коэффициент K следует определять:
при

по формуле

; (3)
Здесь

и

- ширина и высота поперечного сечения растянутой полки.
5.17 Коэффициент условий работы бетона бетонных конструкций, учитывающий влияние на его прочность двухосного напряженного состояния, определяется по формулам:
а) при действии напряжений разного знака:
при проверке прочности сжатого бетона:

; (4)
при проверке прочности растянутого бетона:

, (5)
где

и

- максимальные и минимальные значения главных напряжений в бетоне, МПа;
б) при действии напряжений одного знака

.
5.18 Коэффициент условий работы бетона бетонных конструкций, учитывающий влияние на его прочность объемного напряженного состояния, определяется по формулам:
а) при всестороннем сжатии:

; (6)
б) при двухосном сжатии с растяжением по третьей оси:
при проверке прочности сжатого бетона - по
формуле (4);
при проверке прочности растянутого бетона:

; (7)
в) при двухосном растяжении со сжатием по третьей оси:
при проверке прочности сжатого бетона:

; (8)
при проверке прочности растянутого бетона - по
формуле (5),
где

- коэффициент эффективной пористости бетона;

- среднее по величине главное напряжение, МПа.
Для сооружений I и II классов коэффициент

надлежит определять экспериментальным путем. При отсутствии экспериментальных данных допускается коэффициент

определять по формуле

(9)
и принимать не менее

.
5.19 Коэффициент условий работы растянутого бетона железобетонных конструкций, учитывающий влияние схемы армирования, принимается равным:

- при однорядном армировании, а также при обычном многорядном, когда расстояние между рядами арматуры или между стержнями в ряду больше 8
d (
d - диаметр арматуры);

- при многорядном армировании, когда расстояние между рядами арматуры и между стержнями в ряду равно или меньше 8
d.
5.20 Коэффициент условий работы бетона центрально растянутых железобетонных элементов, учитывающий влияние коэффициента и дисперсности армирования, определяется по формуле

, (10)
где

- коэффициент армирования;

;
d - диаметр арматуры, мм.
При

следует принимать

.
5.21 Коэффициент условий работы растянутого бетона железобетонных конструкций, учитывающий влияние его неупругой работы, определяется по формулам:
при однорядном армировании растянутой зоны сечения, а также при обычном многорядном:

, (11)
и принимается не более

; (12)
при многорядном дисперсном армировании, когда расстояние между рядами арматуры и стержнями в ряду равно или меньше 8d:

, (13)
и принимается не более

. (14)
В формулах (13) и (14)
a - расстояние от растянутой грани сечения до оси ближайшего ряда растянутой арматуры;

- расстояние между рядами арматуры;

- высота растянутой зоны сечения;

- диаметр стержней ближайшего к нейтральной оси ряда арматуры.
Примечание - При определении коэффициента

рассматривается приведенное сечение, при этом наличие арматуры в сжатой зоне допускается не учитывать.
5.22 Коэффициент условий работы растянутого бетона железобетонных элементов, учитывающий влияние плоского напряженного состояния при действии напряжений разного знака, определяется по формуле

, (15)
где

,

- сжимающие и растягивающие напряжения.
При

следует принимать

.
5.23 Коэффициент условий работы бетона бетонных и железобетонных конструкций, учитывающий влияние многократного их нагружения, определяется по формуле

, (16)
где N - число циклов нагружения;

- коэффициент условий работы бетона при числе циклов нагружения

, принимаемый по таблице 7.
Таблица 7
Состояние бетона по влажности | Коэффициенты условий работы бетона  при многократно повторяющейся нагрузке и коэффициенте асимметрии цикла  , равном |
0 - 0,1 | 0,2 | 0,3 | 0,4 | 0,5 | 0,6 | 0,7 | 0,8 |
Естественной влажности | 0,65 | 0,70 | 0,75 | 0,80 | 0,85 | 0,90 | 0,95 | 1,0 |
Водонасыщенный | 0,45 | 0,50 | 0,60 | 0,70 | 0,80 | 0,85 | 0,95 | 1,0 |
Примечания 1 Коэффициент  для бетонов, класс которых установлен в возрасте 28 сут, принимается в соответствии с экспериментальными данными. 2 Коэффициент  равен  , где  и  - соответственно наименьшее и наибольшее напряжение в бетоне в пределах цикла изменения нагрузки. |
При числе циклов
N менее приведенных в таблице 8 следует принимать

.
Таблица 8
Минимальное число циклов нагружения Nmin при коэффициенте асимметрии цикла  |
0,1 | 0,2 | 0,3 | 0,4 | 0,5 | 0,6 | 0,7 | 0,8 | 0,9 |
3·103 | 6·103 | 104 | 2·104 | 3·104 | 6·104 | 2·105 | 2·106 | 108 |
5.24 Для сооружений I и II классов коэффициент условий работы растянутого бетона бетонных и железобетонных конструкций, учитывающий влияние швов бетонирования, следует определять на основании экспериментов.
Для сооружений I и II классов на предварительных стадиях проектирования, а для сооружений III и IV классов - во всех случаях допускается принимать

.
Для сжатого бетона во всех случаях следует принимать

.
5.25 Коэффициенты условий работы бетона, учитывающие влияние разницы в возрасте бетона ко времени нагружения конструкций эксплуатационными нагрузками с возрастом твердения бетона, соответствующим его классу по прочности на сжатие или растяжение, для сооружений I и II классов определяются экспериментально, а при отсутствии экспериментальных данных и для сооружений III и IV классов принимаются по таблице 9.
Таблица 9
Возраст бетона ко времени нагружения сооружения, год | Коэффициент  |
при сжатии для районов | при растяжении |
со среднегодовой температурой наружного воздуха 0 °C и выше | с отрицательной среднегодовой температурой наружного воздуха |
0,5 | 1,0/0,9 | 1,0/0,9 | 1,0/0,9 |
1,0 | 1,1/1,0 | 1,05/1,0 | 1,05/1,0 |
2,0 | 1,15/1,1 | 1,10/1,05 | 1,10/1,05 |
3,0 и более | 1,20/1,15 | 1,15/1,10 | 1,15/1,10 |
Примечание - В числителе приведены значения коэффициента  при проектном возрасте бетона 180 сут, в знаменателе - при проектном возрасте бетона 360 сут. |
5.26 Коэффициент условий работы бетона, учитывающий различие в прочности бетона сооружения и контрольных образцов, принимается равным:

- при механизированном изготовлении, транспортировке и подаче бетонной смеси с распределением и уплотнением ручными вибраторами;

- при автоматизированном приготовлении бетонной смеси, полностью механизированной ее транспортировке, укладке и уплотнении.
5.27 Начальный модуль упругости бетона естественного твердения массивных конструкций при сжатии и растяжении

следует принимать по таблице 10.
Способ уплотнения бетонной смеси | Осадка конуса бетонной смеси, см | Максимальный размер крупного заполнителя, мм | Начальные модули упругости бетона при сжатии и растяжении Eb·10-3, МПа (кгс/см2), при классе бетона по прочности на сжатие |
B5 | B7,5 | B10 | B12,5 | B15 | B17,5 | B20 | B22,5 | B25 | B27,5 | B30 | B32,5 | B35 |
1 | 2 | 3 | 4 | 5 | 6 | 7 | 8 | 9 | 10 | 11 | 12 | 13 | 14 | 15 | 16 |
Вибрирование | Менее 4 | 40 | 23,0 | 28,0 | 31,0 | 33,5 | 35,5 | 37,0 | 38,5 | 39,5 | 41,0 | 42,0 | 43,0 | 44,5 | 46,0 |
| (235) | (285) | (315) | (340) | (360) | (380) | (395) | (405) | (420) | (430) | (440) | (455) | (470) |
80 | 26,0 | 30,0 | 34,0 | 36,5 | 38,5 | 40,0 | 41,5 | 42,5 | 43,5 | 44,5 | 45,0 | 46,5 | 47,5 |
| (265) | (305) | (345) | (375) | (395) | (410) | (425) | (435) | (445) | (455) | (460) | (475) | (485) |
120 | 28,5 | 33,0 | 36,5 | 27,0 | 40,5 | 42,0 | 43,5 | 44,5 | 45,5 | 46,5 | 47,0 | 48,5 | 49,5 |
| (290) | (340) | (365) | (275) | (415) | (430) | (445) | (455) | (465) | (475) | (480) | (495) | (505) |
4 - 8 | 40 | 19,5 | 24,0 | 27,0 | 29,5 | 31,5 | 33,0 | 34,5 | 36,0 | 37,0 | 38,0 | 39,5 | 41,0 | 42,5 |
| (200) | (245) | (275) | (300) | (320) | (335) | (350) | (365) | (380) | (385) | (405) | (420) | (435) |
80 | 22,5 | 28,0 | 30,0 | 32,5 | 34,5 | 36,0 | 37,5 | 39,0 | 40,0 | 41,0 | 42,0 | 44,0 | 45,5 |
| (230) | (285) | (305) | (330) | (350) | (370) | (380) | (400) | (410) | (420) | (430) | (450) | (465) |
120 | 24,5 | 29,0 | 32,5 | 35,0 | 37,0 | 38,5 | 40,0 | 41,0 | 42,0 | 43,0 | 44,0 | 45,5 | 46,5 |
| (250) | (295) | (330) | (355) | (380) | (395) | (410) | (420) | (430) | (440) | (450) | (465) | (475) |
8 - 16 | 40 | 13,0 | 16,0 | 18,0 | 21,0 | 23,0 | 25,5 | 27,0 | 28,5 | 30,0 | 31,5 | 32,5 | 34,5 | 36,0 |
| (135) | (165) | (185) | (215) | (235) | (260) | (275) | (290) | (305) | (320) | (330) | (350) | (365) |
80 | 15,5 | 19,0 | 22,0 | 24,5 | 26,5 | 28,5 | 30,0 | 31,5 | 33,0 | 34,0 | 35,0 | 36,5 | 37,5 |
| (160) | (195) | (225) | (250) | (270) | (290) | (305) | (320) | (335) | (345) | (360) | (370) | (385) |
120 | 17,5 | 21,5 | 24,5 | 27,0 | 29,5 | 31,0 | 32,5 | 34,0 | 35,0 | 36,0 | 37,0 | 38,0 | 39,0 |
| (180) | (220) | (250) | (270) | (295) | (315) | (330) | (345) | (350) | (365) | (380) | (390) | (400) |
Свыше 16 | 40 | - | 13,0 | 16,0 | 18,0 | 21,0 | 23,0 | 25,5 | 27,0 | 28,5 | 30,0 | 31,5 | 32,5 | 34,5 |
| | (135) | (165) | (185) | (215) | (235) | (260) | (275) | (290) | (305) | (320) | (330) | (350) |
80 | - | 15,5 | 19,0 | 22,0 | 24,5 | 26,5 | 28,5 | 30,0 | 31,5 | 33,0 | 34,0 | 35,0 | 36,5 |
| | (160) | (195) | (225) | (250) | (270) | (290) | (305) | (320) | (335) | (345) | (360) | (370) |
Укатка | Вдоль слоев бетонирования |
- | 40 | 20,5 | 25,0 | 28,0 | 30,0 | 32,0 | 33,0 | 35,0 | 36,0 | 37,0 | 38,0 | 39,0 | 40,5 | - |
| | (210) | (255) | (285) | (310) | (325) | (340) | (355) | (365) | (375) | (385) | (400) | (415) | |
- | 80 | 23,0 | 27,0 | 30,5 | 33,0 | 35,0 | 36,5 | 38,0 | 39,0 | 40,0 | 41,0 | 42,0 | 44,0 | - |
| | (235) | (275) | (310) | (335) | (350) | (375) | (390) | (400) | (410) | (420) | (430) | (450) | |
Поперек слоев бетонирования |
- | 40 | 16,0 | 18,5 | 20,5 | 22,0 | 23,5 | 25,0 | 26,0 | 27,0 | 28,0 | 29,0 | 30,0 | 31,5 | - |
| | (165) | (190) | (210) | (225) | (240) | (255) | (265) | (275) | (285) | (295) | (305) | (320) | |
- | 80 | 18,0 | 20,5 | 22,5 | 24,0 | 25,5 | 27,0 | 28,0 | 29,5 | 30,5 | 31,5 | 32,5 | 34,0 | - |
| | (185) | (210) | (230) | (245) | (260) | (275) | (285) | (300) | (310) | (320) | (330) | (345) | |
При расчете на прочность и по деформациям тонкостенных стержневых и плитных элементов модуль упругости бетона следует во всех случаях принимать по
таблице 10 как для бетона с максимальным диаметром крупного заполнителя 40 мм и осадкой конуса, равной 8 см и более.
Модуль сдвига бетона

следует принимать равным

.
Начальный коэффициент поперечной деформации (коэффициент Пуассона)

принимается равным: для массивных конструкций - 0,15, для стержневых и плитных конструкций - 0,20.
5.28 Плотность тяжелого бетона при отсутствии опытных данных следует принимать по таблице 11.
(в ред.
Изменения N 1, утв. Приказом Минстроя России от 28.11.2018 N 764/пр)
Таблица 11
Плотность заполнителя, г/см3 | Средняя плотность бетона  , г/см 3, при максимальной крупности заполнителя, мм |
10 | 20 | 40 | 80 | 120 |
2,60  2,65 | 2,26 | 2,32 | 2,37 | 2,41 | 2,43 |
2,65  2,70 | 2,30 | 2,36 | 2,40 | 2,45 | 2,47 |
2,70  2,75 | 2,33 | 2,39 | 2,44 | 2,49 | 2,50 |
Арматура
5.29 Для армирования железобетонных конструкций гидротехнических сооружений следует применять арматурную сталь, отвечающую требованиям соответствующих государственных стандартов или утвержденных в установленном порядке технических условий и принадлежащую к одному из следующих видов:
стержневая арматурная сталь:
горячекатаная - гладкая класса А-I, периодического профиля классов А-II, А-III, А-IV, А-V; термически и термомеханически упрочненная - периодического профиля классов Ат-IIIС, Ат-IVС, Ат-VСК; упрочненная вытяжкой класса А-IIIв;
проволочная арматурная сталь:
холоднотянутая проволока обыкновенная - периодического профиля класса Вр-I.
Для закладных деталей и соединительных накладок следует применять, как правило, прокатную углеродистую сталь.
Марки арматурной стали для армирования железобетонных конструкций в зависимости от условий их работы и средней температуры наружного воздуха наиболее холодной пятидневки в районе строительства следует принимать по действующим нормативным документам.
Арматурную сталь классов А-IIIв, А-IV и А-V рекомендуется применять для предварительно напряженных конструкций.
5.30 Нормативные и расчетные сопротивления основных видов арматуры, применяемой в железобетонных конструкциях гидротехнических сооружений, в зависимости от класса арматуры должны приниматься по таблице 12.
Примечание - Начальные модули упругости бетонов, получаемых из литых (самоуплотняющихся) бетонных смесей, следует принимать на 15% ниже.
Таблица 12
Вид и класс арматуры | Нормативные сопротивления растяжению и расчетные сопротивления растяжению арматуры для предельных состояний второй группы, МПа (кгс/см2), Rsn; Rs,ser | Расчетные сопротивления арматуры для предельных состояний первой группы, МПа (кгс/см2) |
растяжению | сжатию |
продольной Rs | поперечной (хомутов, отогнутых стержней) Rsw | Rsc |
1 | 2 | 3 | 4 | 5 |
Стержневая арматура классов: | | | | |
А-I | 235 (2400) | 225 (2300) | 175 (1800) | 225 (2300) |
А-II | 295 (3000) | 280 (2850) | 225 (2300) | 280 (2850) |
А-III, диаметром, мм: | | | | |
6 - 8 | 390 (4000) | 355 (3600) | 285 (2900) | 355 (3600) |
10 - 40 | 390 (4000) | 365 (3750) | 290 (3000) | 365 (3750) |
А-IV | 590 (6000) | 520 (5200) | 405 (4150) | 400 (4000) |
А-V | 785 (8000) | 680 (6950) | 545 (5550) | 400 (4000) |
Упрочненная вытяжкой класса А-IIIв с контролем: | | | | |
напряжений и удлинений | 540 (5500) | 490 (5000) | 390 (4000) | 200 (2000) |
только удлинений | 540 (5500) | 450 (4600) | 360 (3700) | 200 (2000) |
Проволочная арматура класса Вр-I, диаметром, мм: | | | | |
3 | 410 (4200) | 375 (3850) | 270 (2750) | 375 (3850) |
4 | 405 (4150) | 365 (3750) | 265 (2700) | 365 (3750) |
5 | 395 (4050) | 360 (3700) | 260 (2650) | 360 (3700) |
Примечание - В сварных каркасах для хомутов из арматуры класса А-III, диаметр которых меньше 1/3 диаметра продольных стержней, Rsw равно 255 МПа (2600 кгс/см2). При отсутствии сцепления арматуры с бетоном Rsc равно нулю. |
При расчете арматуры по главным растягивающим напряжениям (балки-стенки, короткие консоли и др.) расчетные сопротивления арматуры следует принимать как для продольной арматуры на действие изгибающего момента.
При надлежащем обосновании для железобетонных конструкций гидротехнических сооружений допускается применять стержневую и проволочную арматуру других классов, их нормативные и расчетные характеристики следует принимать по действующим нормативным документам.
Примечание - Начальные модули упругости бетонов, получаемых из литых (самоуплотняющихся) бетонных смесей, следует принимать на 15% ниже.
5.31 Коэффициенты условий работы ненапрягаемой арматуры следует принимать по таблице 13, а напрягаемой арматуры - по действующим нормативным документам (см.
СП 63.13330).
(в ред.
Изменения N 1, утв. Приказом Минстроя России от 28.11.2018 N 764/пр)
Таблица 13
Факторы, обуславливающие введение коэффициентов условий работы арматуры | Коэффициенты условий работы арматуры |
Условное обозначение | Значение |
Многократное повторение нагрузки | | |
Железобетонные элементы | | 1,1 |
Сталежелезобетонные конструкции (открытые и подземные) | | 0,9 |
Примечание - При наличии нескольких факторов, действующих одновременно, в расчет вводится произведение соответствующих коэффициентов условий работы. |
Коэффициент условий работы арматуры при расчете по предельным состояниям второй группы принимается равным единице.
5.32 Расчетные сопротивления ненапрягаемой стержневой арматуры при расчете на выносливость следует определять по формуле

, (17)
где

- коэффициент условий работы арматуры, определяемый по формуле

(18)
и принимаемый не более

.
Здесь

- коэффициент условий работы арматуры при числе циклов нагружения

.
Значения

определяются:
для арматуры классов А-I, А-II, А-III - по формуле (19),

. (19)
Здесь

- коэффициент, учитывающий класс арматуры, принимаемый по таблице 14;

- коэффициент, учитывающий диаметр арматуры, принимаемый по
таблице 15;

- коэффициент, учитывающий тип сварного стыка, принимаемый по
таблице 16;

- коэффициент асимметрии цикла,

, где

и

- соответственно наименьшее и наибольшее напряжения в растянутой арматуре.
Таблица 14
Класс арматуры | Коэффициент  |
А-I | 0,44 |
А-II | 0,32 |
А-III | 0,28 |
Диаметр арматуры, мм | До 20 | 30 | 40 | 60 и более |
Коэффициент  | 1 | 0,9 | 0,85 | 0,8 |
Примечание - Для промежуточных значений диаметра арматуры значение коэффициента  принимается линейной интерполяцией. |
Тип сварного соединения стержневой арматуры | Коэффициент  |
Контактное стыковое типов: | |
КС-М (с механической зачисткой) | 1,0 |
КС-О (без механической зачистки) | 0,8 |
Стыковое, выполненное способом ванной одноэлектродной сварки на стальной подкладке при ее длине: | |
5 и более диаметров наименьшего из стыкуемых стержней | 0,8 |
1,5 - 3 диаметра наименьшего из стыкуемых стержней | 0,6 |
Стыковое с парными симметричными накладками | 0,55 |
Примечание - Для арматуры, не имеющей сварных соединений, значение коэффициента  принимается равным единице. |
При числе циклов нагружения

следует принимать

.
Растянутая арматура на выносливость не проверяется, если коэффициент

, определяемый по
формуле (19), больше 1,0.
5.33 Расчетные сопротивления арматуры при расчете на выносливость предварительно напряженных конструкций определяются по действующим нормативным документам (см.
СП 63.13330).
(в ред.
Изменения N 1, утв. Приказом Минстроя России от 28.11.2018 N 764/пр)
5.34 Модули упругости ненапрягаемой и стержневой напрягаемой арматур принимаются по таблице 17, а арматуры других видов - по действующим нормативным документам.
Таблица 17
Вид арматуры | Класс арматуры | Модуль упругости арматуры Es·10-3, МПа (кгс/см2) |
Стержневая | А-I, А-II | 210 (2100) |
| А-III | 200 (2000) |
| А-IV, А-V | 190 (1900) |
| А-IIIв | 180 (1800) |
Арматурная проволока | Вр-I | 170 (1700) |
5.35 При расчете железобетонных конструкций гидротехнических сооружений на выносливость неупругие деформации в сжатой зоне бетона следует учитывать снижением модуля упругости бетона, принимая коэффициенты приведения арматуры к бетону

по таблице 18.
Таблица 18
Класс бетона по прочности на сжатие | B15 | B20 | B25 | B30 | B35 | B40 |
Коэффициент приведения  | 25 | 23 | 20 | 18 | 15 | 10 |
6 Конструктивные требования
6.1 При проектировании конструкций, испытывающих температурные и влажностные воздействия, для предотвращения трещинообразования необходимо предусматривать следующие конструктивные решения и технологические мероприятия.
6.1.1 Конструктивные решения:
выбор наиболее рациональной конструкции в данных природных условиях;
разрезка конструкции постоянными деформационно-осадочными швами;
разрезка конструкции постоянными и временными температурными и усадочными швами;
устройство теплоизоляции на наружных бетонных поверхностях;
применение предварительно напряженной арматуры (для тонкостенных конструкций).
Технологические мероприятия:
снижение тепловыделения бетона применением низкотермичных цементов, уменьшением расхода цемента за счет использования воздухововлекающих и пластифицирующих добавок, золы-уноса и др.;
регулирование температуры бетонных смесей;
максимальное рассеивание начальной теплоты и экзотермии за счет наиболее выгодного сочетания высоты ярусов бетонирования и интервалов между укладкой ярусов при заданной интенсивности роста сооружения;
регулирование температурного и влажностного режимов поверхностей бетонных массивов для защиты этих поверхностей от резких колебаний температуры среды и сохранения в теплое время года во влажном состоянии с помощью постоянной или временной теплоизоляции или теплогидроизоляции, поливки водой, устройства шатров с кондиционированием воздуха и т.п.;
применение трубного охлаждения бетонной кладки;
повышение однородности бетона, обеспечение его высокой растяжимости, повышение предела прочности на осевое растяжение;
замыкание статически неопределимых конструкций, а также омоноличивание массивных конструкций при температурах бетона, близких к его минимальным эксплуатационным температурам.
Устройство постоянных и временных швов
6.2 Для предотвращения образования трещин или уменьшения их раскрытия в монолитных бетонных и железобетонных сооружениях необходимо предусматривать постоянные температурные швы, а также временные строительные швы.
Постоянные швы должны обеспечивать возможность взаимных перемещений частей сооружения как в процессе строительства, так и в процессе эксплуатации.
Временные строительные швы должны обеспечивать:
снижение температурных напряжений в бетоне в процессе возведения сооружений;
снижение усилий, вызванных неравномерной осадкой частей сооружений в строительный период;
соблюдение требуемой интенсивности работ по возведению сооружения;
унификацию армоконструкций, опалубки, сборных элементов и т.п.
6.3 Постоянные швы в сооружениях могут выполняться сквозными или в виде надрезов по поверхностям, подверженным значительным колебаниям температуры.
Расстояние между постоянными и временными швами следует назначать в зависимости от климатических и геологических условий, конструктивных особенностей сооружений, последовательности производства работ и т.п.
6.4 Для сборно-монолитных конструкций необходимо предусматривать мероприятия, обеспечивающие надлежащую связь по поверхностям контакта при омоноличивании конструкций.
6.5 Для уменьшения температурных напряжений, а также влияния неравномерных осадок основания при соответствующем обосновании допускается устраивать временные расширенные швы, заполняемые бетоном (замыкающие блоки) после выравнивания температур и стабилизации осадок.
Назначение продольного и поперечного армирования
6.6 В массивных железобетонных элементах гидротехнических сооружений, размеры которых превышают требуемые по расчету и назначены по конструктивным или технологическим соображениям, а в обделках гидротехнических туннелей - во всех случаях, минимальный процент армирования не нормируется, и сечение рабочей арматуры назначается в соответствии с расчетом.
Площадь сечения продольной арматуры остальных железобетонных элементов должна приниматься не менее 0,05% от площади расчетного сечения бетона.
6.7 Расстояние в свету между арматурными стержнями по высоте и ширине сечения должно обеспечивать совместную работу арматуры с бетоном и назначаться с учетом удобства укладки и уплотнения бетонной смеси.
Расстояние в свету между стержнями арматуры для немассивных конструкций следует принимать с учетом условий их бетонирования.
В массивных железобетонных конструкциях расстояния в свету между стержнями рабочей арматуры по ширине сечения определяются крупностью заполнителя бетона, но не менее 2,5d, где d - диаметр арматуры.
6.8 Толщину защитного слоя бетона следует принимать:
для лицевых поверхностей конструкций, не подвергающихся непосредственному воздействию воды, паров воды или атмосферных осадков: не менее 30 мм для рабочей арматуры и 20 мм для распределительной арматуры и хомутов в балках и плитах высотой до 1,5 м, а также в колоннах с меньшей стороной до 1,5 м;
для лицевых поверхностей конструкций и частей сооружений, подвергающихся непосредственному воздействию воды (зоны переменного горизонта воды, поверхности водосливов и водосбросов, обделки безнапорных туннелей, плиты крепления откосов каналов и т.п.) в сочетании с воздействием замораживания-оттаивания, кавитации или истирания наносами - не менее 60 мм и не менее двух диаметров стержней для рабочей и распределительной арматуры. Это же требование должно выполняться для конструкций и элементов сооружений, защитные слои бетона которых систематически подвергаются воздействию паров воды.
Толщину защитного слоя бетона в железобетонных конструкциях морских гидротехнических сооружений необходимо принимать:
для рабочей арматуры стержневой - не менее 60 мм;
для распределительной арматуры и хомутов - не менее 40 мм.
Для защитных слоев бетона должен применяться бетон класса по прочности не ниже B20, при этом морозостойкость и водонепроницаемость этого бетона должны быть не ниже предъявленных проектом к лицевым поверхностям данных конструкций или частей сооружения.
Для сборных железобетонных элементов заводского изготовления при применении бетона класса по прочности на сжатие B15 и выше толщина защитного слоя может быть уменьшена на 10 мм против указанных выше величин.
При эксплуатации железобетонных конструкций в условиях агрессивной среды толщину защитного слоя необходимо назначать не менее 60 мм.
6.9 В нетрещиностойких железобетонных плитах и стенах сечением высотой 60 см и более с коэффициентом армирования

при надлежащем обосновании допускается многорядное расположение арматуры по сечению элемента, способствующее уменьшению максимальной ширины раскрытия трещин по высоте сечения.
6.10 Если стержни арматуры размещаются в два и более ряда, то диаметры стержней рядов должны отличаться друг от друга не более чем на 40%.
6.11 Из условия долговечности гидротехнических сооружений без предварительного напряжения диаметр арматуры следует принимать для рабочей стержневой арматуры из горячекатаной стали не менее 10 мм, для спиралей и для каркасов и сеток, вязаных или изготовленных с применением контактной сварки - не менее 6 мм.
6.12 Продольные стержни растянутой и сжатой арматуры должны быть заведены за нормальное или наклонное к продольной оси элемента сечение, где они не требуются по расчету.
6.13 Распределительную арматуру для элементов, работающих в одном направлении, следует назначать в размере не более 10% от площади рабочей арматуры в месте наибольшего изгибающего момента.
6.14 При выполнении сварных соединений арматуры следует выполнять требования действующих нормативных документов.
6.15 В конструкциях, рассчитываемых на выносливость, в одном сечении должно стыковаться, как правило, не более половины стержневой растянутой рабочей арматуры. Применение стыков внахлестку (без сварки и со сваркой) для растянутой рабочей арматуры в этих конструкциях не допускается.
6.16 В изгибаемых элементах при высоте сечения более 700 мм у боковых граней следует устанавливать конструктивные продольные стержни. Расстояние между ними по высоте должно быть не более 400 мм, площадь поперечного сечения - не менее 0,1% от площади сечения бетона, имеющего размер, равный по высоте элемента расстоянию между этими стержнями, по ширине - половине ширины ребра элемента, но не более 200 мм.
6.17 У всех поверхностей железобетонных элементов, вблизи которых ставится продольная расчетная арматура, необходимо предусматривать также поперечную арматуру, охватывающую крайние продольные стержни. Расстояние между поперечными стержнями должно быть не более 500 мм и не более удвоенной ширины грани элемента.
6.18 Во внецентренно сжатых линейных элементах, а также в сжатой зоне изгибаемых элементов при наличии учитываемой в расчете сжатой продольной арматуры необходимо предусматривать установку хомутов.
Расстояние между хомутами следует принимать в вязаных каркасах не более 15d, в сварных - не более 20d, где d - наименьший диаметр сжатой продольной арматуры. В обоих случаях расстояние между хомутами должно быть не более 500 мм.
Конструкция поперечной арматуры должна обеспечивать закрепление сжатых продольных стержней от бокового выпучивания в любом направлении.
В местах стыковки рабочей арматуры внахлестку без сварки или если общее насыщение элемента продольной арматурой составляет более 3%, хомуты следует устанавливать на расстоянии не более 10d и не более 300 мм.
В массивных внецентренно сжатых элементах, рассчитанных без учета сжатой арматуры, расстояние между конструктивными поперечными связями (хомутами) следует увеличивать до двух высот (ширин) элемента.
(в ред.
Изменения N 1, утв. Приказом Минстроя России от 28.11.2018 N 764/пр)
6.19 Расстояние между вертикальными поперечными стержнями в элементах, не имеющих отогнутой арматуры, и в случаях, когда поперечная арматура требуется по расчету, необходимо принимать:
а) на приопорных участках (не менее 1/4 пролета) при высоте сечения менее или равной 450 мм - не более h/2 и не более 150 мм;
при высоте сечения более 450 мм - не более h/3 и не более 500 мм;
при высоте сечения, равной или более 2000 мм, - не более h/3;
б) на остальной части пролета при высоте сечения 300 - 2000 мм - не более (3/4)h и не более 500 мм;
при высоте сечения более 2000 мм - не более (3/4)h.
6.20 В элементах, работающих на изгиб с кручением, вязаные хомуты должны быть замкнутыми с перепуском их концов на 30 диаметров хомутов, а при сварных каркасах все поперечные стержни обоих направлений должны быть приварены к угловым продольным стержням, образуя замкнутый контур.
6.21 Отверстия в железобетонных элементах следует располагать в пределах ячеек арматурных сеток и каркасов.
Отверстия с размерами, превышающими размеры ячеек сеток, должны окаймляться дополнительной арматурой. Суммарная площадь ее сечения должна быть не менее сечения прерванной рабочей арматуры того же направления.
6.22 При проектировании сталежелезобетонных конструкций надлежит обеспечивать совместную работу арматуры и стальной облицовки. Толщину облицовки следует принимать минимальной по условиям монтажа и транспортирования. В сталежелезобетонных элементах водоподводящего тракта ГЭС толщина стальной облицовки должна приниматься из условия

(здесь

и

- площадь сечения соответственно стальной облицовки и стержневой арматуры в расчетном сечении элемента).
6.23 Арматура железобетонных конструкций должна предусматриваться в виде армоферм, армопакетов, сварных каркасов, сеток и штучной арматуры.
Типы армоконструкций следует назначать с учетом принятого способа производства работ. Они должны обеспечивать возможность механизированной подачи бетона и тщательной его проработки.
Установку арматуры в железобетонных конструкциях необходимо производить индустриальными методами при максимальной экономии металла на конструктивные элементы для закрепления ее в блоке бетонирования.
Увеличение площади сечения арматуры, определенной расчетом на эксплуатационные нагрузки, для восприятия нагрузок строительного периода, как правило, не допускается.
6.24 Открытые поверхности бетонных сооружений, находящиеся в зоне переменного уровня воды и подвергающиеся воздействию отрицательных температур, а также открытые поверхности сооружений, возводимых в условиях жаркого сухого климата, допускается армировать сетками из арматуры класса А-II диаметром 16 мм. Во всех остальных случаях конструктивное армирование открытых поверхностей бетонных сооружений допускается только при специальном обосновании.
Дополнительные указания по конструированию предварительно напряженных элементов
6.25 При конструировании предварительно напряженных элементов следует выполнять требования действующих нормативных документов на проектирование отдельных видов сооружений и требования 6.26 -
6.31.
6.26 Приварка и прихватка к натянутой арматуре каких-либо деталей не допускается.
Это требование не распространяется на приварку деталей к концам напрягаемой арматуры, выступающим из изделия, после передачи усилий обжатия бетона.
6.27 Продольную ненапрягаемую арматуру следует располагать ближе к наружной поверхности элемента с тем, чтобы поперечная арматура (хомуты) охватывала напрягаемую арматуру.
6.28 Стержневую напрягаемую арматуру в ребристых элементах следует располагать по оси каждого ребра элемента или симметрично ей.
6.29 Соединение по длине заготовок арматурных стержней из горячекатаной стали периодического профиля диаметром 10 мм и более, как правило, следует производить контактной стыковой сваркой.
При отсутствии оборудования для контактной сварки допускается применять дуговую сварку. Стержни арматуры класса А-IIIв необходимо сваривать до вытяжки. Сварные стыки растянутых стержней не рекомендуется располагать в местах наибольших усилий.
6.30 У концов предварительно напряженных элементов должна быть установлена дополнительная поперечная арматура (сварные сетки, охватывающие все продольные стержни арматуры, хомуты и т.п. с шагом 5 - 10 см) на длине участка не менее 60% зоны передачи напряжений и не менее 20 см.
Если напрягаемая продольная арматура у торцов элемента располагается сосредоточенно у верхней или нижней грани, то на концевых участках необходимо предусматривать поперечную арматуру (не учитываемую в расчете на поперечные силы).
Суммарная площадь поперечной арматуры должна назначаться такой, чтобы эта арматура могла воспринять в конструкциях, не рассчитываемых на выносливость, 20%, а в конструкциях, рассчитываемых на выносливость, 30% усилия натяжения в продольной напрягаемой арматуре, которая расположена у одной грани сечения, с учетом первых потерь.
Суммарную площадь сечения дополнительной поперечной арматуры необходимо определять по формулам:
для конструкций, не рассчитываемых на выносливость:

, (20)
для конструкций, рассчитываемых на выносливость:

, (21)
где

- предварительное напряжение в арматуре с учетом первых потерь;

- наибольшая из площадей сечения напрягаемой продольной арматуры, расположенной внутри хомутов у одной грани сечения.
6.31 Дополнительную поперечную арматуру рекомендуется предусматривать в виде сварных замкнутых хомутов из арматурной стали классов А-II или А-III.
Если из условия опирания элемента на его концевом участке устанавливают стальную опорную плиту, то дополнительную поперечную арматуру следует соединять с ней сваркой.
7 Основные расчетные положения
7.1 Расчеты бетонных и железобетонных конструкций необходимо производить по методу предельных состояний в соответствии с
СП 58.13330.
Бетонные и железобетонные конструкции должны удовлетворять требованиям расчета по предельным состояниям первой группы при всех сочетаниях нагрузок и воздействий, а по предельным состояниям второй группы - только при основном сочетании нагрузок и воздействий.
Расчет по предельным состояниям, как правило, следует производить для всех стадий возведения, транспортирования, монтажа и эксплуатации конструкции.
7.2 Бетонные конструкции необходимо рассчитывать:
по предельным состояниям первой группы - по прочности с проверкой устойчивости положения и формы конструкции в соответствии с
разделом 8;
по предельным состояниям второй группы - по образованию трещин - в соответствии с
разделами 9 и
10.
Железобетонные и сталежелезобетонные конструкции следует рассчитывать:
по предельным состояниям первой группы - по прочности с проверкой устойчивости положения и формы конструкции и по выносливости при многократно повторяющейся нагрузке в соответствии с
разделом 8;
по предельным состояниям второй группы - по образованию трещин в тех случаях, когда по условиям нормальной эксплуатации сооружения не допускается их образование (трещиностойкие конструкции) или по ограничению величины раскрытия трещин (нетрещиностойкие конструкции) и по деформациям в тех случаях, когда величина перемещений может ограничить возможность нормальной эксплуатации конструкции или находящихся на ней механизмов в соответствии с
разделом 9.
При проектировании сталежелезобетонных конструкций дополнительно необходимо рассчитывать прочность металлической облицовки на действие транспортных, монтажных и строительных нагрузок (в соответствии со специально разработанными техническими условиями) и анкеров, обеспечивающих совместную работу листовой арматуры и бетона.
7.3 Сборно-монолитные конструкции, а также конструкции с несущей арматурой надлежит рассчитывать для двух стадий работы конструкции:
до приобретения бетоном, уложенным на месте использования конструкции, заданной прочности - на действие собственного веса этого бетона и других нагрузок, действующих на данном этапе возведения сооружения;
после приобретения бетоном, уложенным на месте использования конструкции, заданной прочности - на нагрузки, действующие при эксплуатации конструкции, включая собственный вес.
Расчет на прочность производится на расчетные нагрузки раздельно по двум группам без суммирования усилий и напряжений.
7.4 Для сооружений I и II классов, заанкеренных в основание, наряду с расчетом конструкций следует производить экспериментальные исследования для определения несущей способности анкерных устройств, релаксации напряжений в бетоне, скальном основании и анкерах. Необходимо предусматривать мероприятия по защите анкеров от коррозии.
Для предварительно напряженных конструкций рекомендуется в проекте предусматривать возможность повторного натяжения анкеров или их замены, а также проведение контрольных наблюдений за состоянием анкеров в бетоне.
7.5 При расчете элементов сборных конструкций на усилия, возникающие при подъеме, транспортировании и монтаже, нагрузку от собственного веса элемента следует вводить в расчет с коэффициентами динамичности.
7.6 Способ оценки прочности и трещиностойкости бетонных и железобетонных элементов (по усилиям или по напряжениям) определяется соотношением их размеров. В таблице 19 приведена классификация элементов и способы оценки наступления их предельных состояний в зависимости от соотношения их размеров.
N п.п. | Отношение размеров элемента | Наименование элемента | Способ оценки наступления предельного состояния |
по усилиям | по напряжениям |
А. Балочные конструкции - b  3 h |
1 | l/h  6 | Стержневой элемент - балка | + | - |
2 | 3 l/h < 6 | Короткая балка | + | + |
3 | l/h < 3 | Балка-стенка | - | + |
Б. Консольные конструкции - b  3 h |
4 | l/h  3 | Стержневой элемент - консоль | + | - |
5 | 1,5 l/h < 3 | Короткая консоль | + | + |
6 | l/h < 1,5 | Консольная стенка | - | + |
В. Плитные конструкции - b > 3h |
7 | a/h  6 | Тонкая плита | + | - |
8 | 3 a/h < 6 | Толстая плита | + | + |
9 | a/h < 3 | Объемный элемент | - | + |
Г. Арочные и кольцевые конструкции |
10 | t/R  0,1 | Тонкая арка, кольцо | + | - |
11 | 0,1 < t/R  0,25 | Арка, кольцо средней толщины | + | + |
12 | t/R > 0,25 | Толстая арка, кольцо | - | + |
Примечание - В таблице приняты следующие обозначения: l - длина (пролет) балки или консоли; b и h - соответственно ширина и высота поперечного сечения элемента; a - длина меньшей стороны плиты; t - толщина арки, стенки кольца; R - радиус осевой линии арки, кольца. |
7.7 При проверке несущей способности и пригодности к нормальной эксплуатации сооружения внутренние усилия (изгибающие и крутящие моменты, нормальные и перерезывающие силы), напряжения, перемещения и углы поворота следует определять, как правило, с учетом неупругого поведения конструкций, обусловленного трещинообразованием и ползучестью бетона, нелинейной зависимостью между напряжениями и деформациями материалов, а также с учетом последовательности возведения и нагружения сооружения.
Допускается усилия и напряжения в сечениях элементов определять в предположении упругой работы конструкции в тех случаях, когда расчет выполняется на предварительной стадии проектирования сооружения.
7.8 При определении линейных перемещений и углов поворота необходимо учитывать изменение жесткости сечений в результате трещинообразования в бетоне. Условия трещинообразования следует принимать в соответствии с
разделом 9.
В статически неопределимых стержневых конструкциях, тонких плитах и арках внутренние усилия и перемещения следует определять методами строительной механики с учетом, как правило, неупругой работы, обусловленной изменением жесткости сечений в результате трещинообразования в бетоне.
7.9 При оценке прочности и трещиностойкости элементов (балки-стенки, консольные стенки, толстые арки и трубы и объемные элементы) последние определяются методами теории упругости.
7.10 Проверку прочности и трещиностойкости коротких балок и консолей, толстых плит и арок средней толщины следует производить как по напряжениям, так и по усилиям. Напряжения в расчетных сечениях элемента определяются методами теории упругости (см.
7.7), а усилия - по величинам равнодействующих эпюр напряжений в сечении:
N = D - Z;
M = Dz (здесь
D и
Z - равнодействующие эпюр сжимающих и растягивающих напряжений;
z - плечо пары внутренних сил).
(в ред.
Изменения N 1, утв. Приказом Минстроя России от 28.11.2018 N 764/пр)
7.11 Плитные элементы консольного типа или опирающиеся по двум противоположным сторонам, нагрузка по ширине которых распределена равномерно, рассчитываются по прочности и трещиностойкости аналогично консольным или балочным элементам. Расчеты в этом случае производятся для участка плиты единичной ширины.
7.12 Величину противодавления воды в расчетных сечениях элементов следует определять с учетом условий работы конструкций в эксплуатационный период, а также с учетом конструктивных и технологических мероприятий, указанных в
4.7.
В элементах массивных напорных бетонных и железобетонных конструкций гидротехнических сооружений противодавление воды необходимо учитывать как объемную силу и определять по
СП 40.13330.
В стержневых и плитных элементах противодавление воды следует учитывать как растягивающую силу, приложенную в рассматриваемом расчетном сечении, при этом объемный вес материала принимается без учета взвешивания.
Противодавление воды следует учитывать как при расчете сечений, совпадающих со швами бетонирования, так и монолитных сечений.
7.13 Усилие противодавления в расчетных сечениях напорных стержневых, плитных, арочных и кольцевых элементов следует принимать равным площади эпюры напряжений, обусловленных воздействием противодавления. Указанные напряжения в отдельных точках сечения принимаются равными

, где
p - интенсивность гидростатического давления,

- коэффициент эффективной площади противодавления в бетоне.
Для трещиностойких элементов следует принимать линейный закон изменения интенсивности гидростатического давления воды от величины давления на напорной (верховой) грани до величины давления на низовой грани.
Для нетрещиностойких элементов линейный закон изменения гидростатического давления следует принимать только в пределах сжатой зоны сечения. В пределах трещин принимается равномерное давление, определяемое заглублением трещин под уровень воды.
Коэффициенты эффективной площади противодавления

для сооружений I и II классов следует определять на основании экспериментальных исследований с учетом противофильтрационных устройств.
При отсутствии данных экспериментальных исследований в сечениях изгибаемых, внецентренно сжатых и внецентренно растянутых элементов допускается принимать следующие значения

:
1,0 - в растянутой зоне сечений и в зоне распространения трещин;
0 - в сжатой зоне сечений элементов.
Высота сжатой зоны бетона определяется исходя из гипотезы плоских сечений. В нетрещиностойких элементах работа растянутого бетона не учитывается, а форма эпюры напряжений бетона в сжатой зоне сечения принимается треугольной.
Вид напряженного состояния сечения при определении дополнительных напряжений устанавливается исходя из гипотезы плоских сечений при действии всех нагрузок без учета силы противодавления.
7.14 При расчете элементов бетонных и железобетонных конструкций гидротехнических сооружений допускается при специальном обосновании учитывать дополнительные связи строительного периода, носящие постоянный характер (эстакады, пазовые конструкции, балки подкрановых путей, дополнительная арматура для производства работ и т.п.).
7.15 Расчеты элементов бетонных и железобетонных конструкций, подлежащих усилению, при их ремонте или реконструкции, следует проводить с учетом фактических классов бетона, напряжений в бетоне и арматуре, имевших место к моменту начала реконструкции, и диаграмм деформирования бетона и арматуры.
7.16 При проектировании гидротехнических сооружений расчеты, которые не регламентированы настоящими нормами (расчеты предварительно напряженных конструкций, расчет сечений в общем случае, в том числе расчет на косое внецентренное сжатие и косой изгиб, расчет коротких консолей, расчет на продавливание и отрыв, расчет закладных деталей и др.), рекомендуется выполнять по указаниям действующих нормативных документов. При этом необходимо учитывать коэффициенты, принятые в настоящих нормах.
7.17 Расчет элементов конструкций на выносливость необходимо производить при числе циклов изменения нагрузки

и более за весь расчетный срок эксплуатации сооружения (например, проточные части гидроагрегатов, водосбросы, плиты водобоя, подгенераторные конструкции и др.).
8 Расчеты элементов бетонных и железобетонных конструкций на прочность и выносливость
Расчет бетонных элементов на прочность
8.1 Расчет прочности элементов, условия наступления предельных состояний которых выражаются через усилия
(таблица 19), следует производить для сечений, нормальных к их продольной оси, в соответствии с указаниями данного подраздела.
Расчеты прочности элементов, в которых условия наступления предельного состояния не могут быть выражены через усилия в сечениях, следует выполнять для площадок действия главных напряжений
(таблица 19) в соответствии с указаниями данного подраздела.
8.2 Внецентренно сжатые элементы, в которых по условиям эксплуатации допускается образование трещин, рассчитываются без учета сопротивления бетона растянутой зоны сечения.
Все изгибаемые элементы, а также внецентренно сжатые элементы, в которых по условиям эксплуатации не допускается образование трещин, рассчитываются с учетом сопротивления бетона растяжению.
8.3 Бетонные конструкции, прочность которых определяется прочностью бетона растянутой зоны сечения, допускается применять в том случае, если образование трещин в них не приводит к разрушению, к недопустимым деформациям или к нарушению водонепроницаемости конструкции. При этом должна быть проведена проверка трещиностойкости элементов таких конструкций с учетом температурно-влажностных воздействий в соответствии с требованиями
раздела 10.
8.4 Расчет бетонных изгибаемых элементов, симметричных относительно плоскости действия нагрузки, условия наступления предельного состояния которых выражаются через усилия, необходимо производить по формуле

, (22)

- коэффициент условий работы сооружения, принимаемый по строительным нормам и правилам на проектирование отдельных видов гидротехнических сооружений;

- коэффициенты условий работы бетона, принимаемые по
таблице 5;

- расчетное сопротивление бетона на растяжение;

- момент сопротивления для растянутой грани сечения, определяемый в предположении упругой работы бетона.
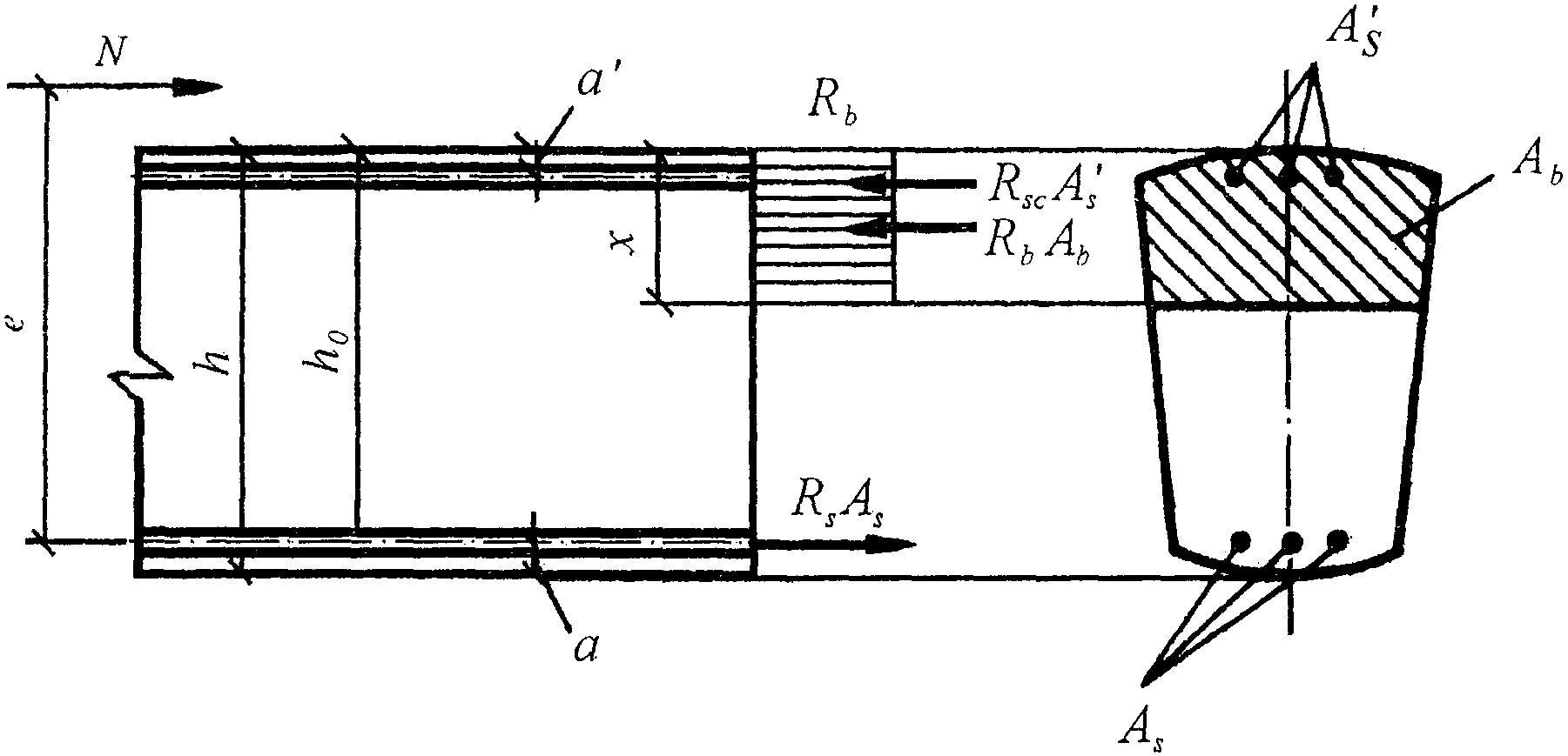
8.5 Внецентренно сжатые элементы бетонных конструкций, симметричные относительно действия нагрузки, условия наступления предельного состояния которых выражаются через усилия, следует рассчитывать в предположении упругой работы бетона (рисунок 1) из условия ограничения величины краевых сжимающих и растягивающих напряжений по следующим формулам.
а - без учета сопротивления бетона растянутой зоны;
б - с учетом сопротивления бетона растянутой зоны
Рисунок 1 - Схема усилий и эпюра напряжений в сечении,
нормальном к продольной оси внецентренно сжатого
бетонного элемента
При расчете без учета сопротивления бетона растянутой зоны:

, (23)
где

- краевое сжимающее напряжение;

- коэффициент, учитывающий влияние гибкости элементов и принимаемый по таблице 20;

;

- расчетное сопротивление бетона на сжатие.
Таблица 20
l0/b для сечения прямоугольной формы | l0/r для сечения произвольной симметричной формы | Коэффициент  |
До 4 | До 14 | 1,0 |
4 | 14 | 0,98 |
6 | 21 | 0,96 |
8 | 28 | 0,91 |
10 | 35 | 0,86 |
Примечание - Обозначения, принятые в таблице: l0 - расчетная длина элемента; b - наименьший размер прямоугольного сечения; r - наименьший радиус инерции сечения. |
Прямоугольные сечения рассчитываются по формуле

, (24)
где F = bh - площадь поперечного сечения элемента;

- относительный эксцентриситет приложения нагрузки.
При расчете с учетом сопротивления бетона растянутой зоны:

, (25)
где

- момент сопротивления для растянутой грани сечения, определяемый в предположении упругой работы бетона;

.
По формуле (25) следует рассчитывать также внецентренно сжатые бетонные элементы с однозначной эпюрой напряжений при

.
8.6 При расчете гибких бетонных элементов при

или

следует учитывать влияние длительного действия нагрузки на несущую способность конструкции в соответствии с требованиями действующих нормативных документов с введением расчетных коэффициентов, принятых в настоящих нормах.
8.7 В элементах прямоугольного сечения, рассчитываемых по
формуле (24), значение эксцентриситета расчетного усилия относительно центра тяжести сечения не должно превышать 0,3
h при основном сочетании нагрузок и при особом сочетании нагрузок, не включающем сейсмические воздействия, и 0,325
h - при особом сочетании нагрузок, включающем сейсмические воздействия.
Внецентренно сжатые бетонные элементы при

(или

) должны проверяться по условию недопущения образования продольных трещин откола:

, (26)
где

- растягивающее напряжение, действующее по продольным площадкам на границе сжатой зоны.
Растягивающие напряжения

, а также высота зоны

, в пределах которой они действуют, определяются в общем случае расчетом по методу конечных элементов (МКЭ).
Для элементов, изготовленных из бетона класса B20 и выше, проверку по условию недопущения образования продольных трещин откола можно не делать, если выполняется условие:

, (27)
где

.
8.8 Бетонные изгибаемые и внецентренно сжатые элементы, условия наступления предельных состояний которых выражаются через усилия, в случае действия в расчетных сечениях значительных поперечных сил следует проверять по прочности наклонных сечений из условия:

, (28)
где

;

- главное растягивающее напряжение в бетоне, действующее по наклонным площадкам.
Главные растягивающие напряжения определяются на уровне нейтральной оси, на уровне центра тяжести сечения, а также в местах резкого изменения ширины сечения, что характерно для тавровых, двутавровых, крестовых, коробчатых и других сечений.
Главные растягивающие и сжимающие напряжения в бетоне вычисляются по формуле

, (29)
где

и

- нормальные напряжения в бетоне на площадках, перпендикулярных соответственно продольной и параллельной продольной осям элемента;

- касательные напряжения в бетоне.
Напряжения

,

и

определяются в предположении упругой работы бетона. Напряжения

и

подставляются в формулу (29) со знаком "плюс", если они растягивающие, и со знаком "минус" - если сжимающие.
Для элементов с переменной высотой сечения касательные напряжения

следует определять по теории упругости или МКЭ. При значениях угла наклона одной грани по отношению к другой

до 30° допускается

определять по формуле

, (30)
где y - расстояние от горизонтальной (вертикальной) грани элемента до точки, в которой определяются значения касательных напряжений;

- статический момент части сечения, ограниченной горизонталью (вертикалью) на расстоянии
y от горизонтальной (вертикальной) грани.
При определении коэффициента

высота растянутой зоны сечения

находится по эпюре напряжений в плоскости действия главных растягивающих напряжений. Если касательные напряжения в поперечном сечении элемента вызваны только действием перерезывающей силы, следует принимать

(то есть

).
8.9 Бетонные элементы, условия наступления предельных состояний которых выражаются через напряжения, следует рассчитывать из условия ограничения величин главных растягивающих

и главных сжимающих

напряжений. Проверка прочности по главным растягивающим напряжениям производится по
формуле (30). Проверку прочности по главным сжимающим напряжениям следует выполнять по формуле

, (31)
где

.
Расчет железобетонных элементов на прочность
8.10 Расчет прочности железобетонных элементов, условия наступления предельных состояний которых выражаются через усилия (см.
таблицу 19), надлежит производить для сечений, нормальных к их продольной оси, а также для наклонных к оси сечений наиболее опасного направления в соответствии с указаниями данного подраздела.
При наличии крутящих моментов следует проверить прочность сечений, ограниченных в растянутой зоне спиральной трещиной наиболее опасного из возможных направлений.
Кроме того, следует производить расчет элементов на местное действие нагрузки (смятие, продавливание, отрыв).
Расчет прочности железобетонных элементов, в которых условия наступления предельных состояний не могут быть выражены через усилия в сечениях, следует выполнять для площадок действия главных растягивающих напряжений в бетоне в соответствии с указаниями данного подраздела.
8.11 Предельные усилия в сечении, нормальном к продольной оси элемента, следует определять исходя из следующих предпосылок:
сопротивление бетона растяжению принимается равным нулю;
сопротивление бетона сжатию представляется напряжениями, равными

, распределенными равномерно по сжатой зоне бетона;
растягивающие напряжения в арматуре принимаются не более расчетного сопротивления растяжению

(для стержневой арматуры) и

(для листовой арматуры);
сжимающие напряжения в арматуре принимаются не более расчетного сопротивления сжатию

и

;
при установке в сечении элемента арматуры разных видов и классов ее вводят в расчет прочности с соответствующими расчетными сопротивлениями.
Примечание - Допускается массивные элементы, высота поперечного сечения которых превышает 1,5 м, рассчитывать в предположении треугольной эпюры напряжений в бетоне сжатой зоны.
8.12 Расчет сечений, нормальных к продольной оси элемента, когда внешняя сила действует в плоскости оси симметрии сечения и арматура сосредоточена у перпендикулярных к указанной плоскости граней элемента, необходимо производить в зависимости от соотношения между относительной высотой сжатой зоны бетона

и относительной высотой сжатой зоны бетона

, при которой предельное состояние наступает одновременно с достижением в растянутой арматуре напряжения, равного расчетному сопротивлению

с учетом соответствующих коэффициентов условий работы арматуры. Относительная высота сжатой зоны

определяется из соответствующих условий равновесия элемента под действием системы внешних и внутренних сил.
Изгибаемые и внецентренно растянутые с большим эксцентриситетом железобетонные элементы, как правило, должны удовлетворять условию

. Для элементов, симметричных относительно плоскости действия момента и нормальной силы, армированных ненапрягаемой арматурой, граничные значения надлежит принимать по таблице 21, а армированных напрягаемой арматурой - по действующим нормативным документам.
Таблица 21
Класс арматуры | Граничные значения  при классе бетона |
B17,5 и ниже | от B20 до B30 | B35 и выше |
А-I | 0,70 | 0,65 | 0,60 |
А-II, А-III, Вр-I | 0,65 | 0,60 | 0,50 |
8.13 Если высота сжатой зоны бетона, определенная без учета сжатой арматуры, меньше 2a', то сжатую арматуру в расчете следует не учитывать.
8.14 Изгибаемые сталежелезобетонные (железобетонные) элементы из бетона класса B30 и ниже, симметричного относительно вертикальной оси поперечного сечения (рисунок 2), при

должны удовлетворять следующему условию прочности:

. (32)
При этом положение нейтральной оси определяется из условия:

. (33)
Рисунок 2 - Схема усилий и эпюра напряжений в сечении,
нормальном к продольной оси изгибаемого железобетонного
элемента, при расчете его по прочности

,

,

,

- расчетные сопротивления соответственно растянутой и сжатой стержневой арматуры, растянутой и сжатой листовой арматуры;

,

,

,

,

- площадь поперечного сечения соответственно сжатой зоны бетона, растянутой и сжатой стержневой арматуры, растянутой и сжатой листовой арматуры;

,

,

- статические моменты площади поперечного сечения соответственно сжатой зоны бетона, сжатой стержневой и листовой арматуры относительно точки приложения равнодействующей усилий в растянутой стержневой и листовой арматуре.
Расчетные сопротивления листовой арматуры определяются по действующим нормативным документам.
Для элементов прямоугольного сечения
где h и b - соответственно высота и ширина поперечного сечения элемента;
a,
a' - расстояние от равнодействующей усилий соответственно в растянутой

и сжатой

стержневой арматуре до ближайшей грани бетонного сечения;
| | ИС МЕГАНОРМ: примечание. Обозначение дано в соответствии с официальным текстом документа. | |

,

- толщина соответственно растянутой

и сжатой

листовой арматуры;

- рабочая высота сечения.
Положение точки приложения равнодействующей усилий в растянутой стержневой и листовой арматуре
(рисунок 2) определяется из условия

. (34)
При отсутствии в рассматриваемой конструкции какого-либо элемента армирования (сжатой листовой и стержневой арматуры, растянутой листовой арматуры) в
формулах (32) и
(33) следует принимать равными нулю соответствующие этим элементам армирования геометрические характеристики сечения.
Для железобетонных (не имеющих листовой арматуры) элементов прямоугольного сечения
условия (32) и
(33) принимают вид:

; (35)

. (36)
Проверку прочности сталежелезобетонных (железобетонных) элементов из бетона класса B30 и ниже при

следует проводить по
формулам (34) -
(36), принимая

.
(в ред.
Изменения N 1, утв. Приказом Минстроя России от 28.11.2018 N 764/пр)
Проверку прочности железобетонных элементов из бетона класса выше B30 следует производить с учетом расчетных коэффициентов, принятых в настоящих правилах.
8.15 Внецентренно сжатые сталежелезобетонные (железобетонные) элементы из бетона B30 и ниже симметричного относительно вертикальной оси поперечного сечения (рисунок 3) должны отвечать следующему условию прочности:

, (37)
где e - эксцентриситет приложения внешней продольной силы относительно точки приложения равнодействующей усилий в растянутой арматуре.
Рисунок 3 - Схема усилий и эпюр напряжений в сечении,
нормальном к продольной оси внецентренно сжатого
железобетонного элемента, при расчете его по прочности
При этом положение нейтральной оси определяется:
при

из условия:

; (38)
при

из условия:

, (39)
где

и

- напряжения соответственно в растянутой стержневой и листовой арматуре, определяемые по формулам:

, (40)

. (41)
Для элементов прямоугольного сечения:

;

.
При отсутствии в рассматриваемой конструкции какого-либо элемента армирования (сжатой листовой и стержневой арматуры, растянутой листовой арматуры) в
формулах (37) -
(39) следует принимать равными нулю соответствующие этим элементам армирования геометрические характеристики поперечного сечения.
Для железобетонных (не имеющих листовой арматуры) элементов прямоугольного сечения
условие прочности (37) принимает вид

. (42)
При этом положение нейтральной оси определяется:
при

из условия:

; (43)
при

из условия:

, (44)
где

- напряжение в растянутой стержневой арматуре, определяемое по
формуле (40).
Проверку прочности внецентренно сжатых железобетонных элементов из бетона класса выше B30 следует производить в соответствии с требованиями действующих нормативных документов с учетом расчетных коэффициентов, принятых в настоящих правилах.
8.16 Расчет внецентренно сжатых элементов любой формы при гибкости

и элементов прямоугольного сечения при

производится с учетом прогиба элемента как в плоскости эксцентриситета продольного усилия, так и в нормальной к ней плоскости в соответствии с требованиями действующих нормативных документов.
8.17 Проверку прочности внецентренно растянутых сталежелезобетонных (железобетонных) элементов следует производить в зависимости от положения продольной силы N.
Если продольная сила N приложена между равнодействующей усилий в арматуре

и

с одной стороны и

и

с другой стороны (рисунок 4, а), внецентренно растянутые элементы должны отвечать следующим условиям прочности:

; (45)

. (46)
а - продольная сила N приложена между равнодействующими
усилий в арматуре

и

;
б - продольная сила N приложена
за пределами расстояния между равнодействующими усилий
в арматуре

и

Рисунок 4 - Схема усилий и эпюра напряжений в сечении,
нормальном к продольной оси внецентренно растянутого
железобетонного элемента, при расчете его по прочности
Положение равнодействующей усилий в арматуре

и

определяется по
формуле (34).
Положение равнодействующей усилий в арматуре

и

определяется из условия:

. (47)
При проверке прочности железобетонных (не имеющих листовой арматуры) элементов в
формулах (45),
(46) следует принимать равными нулю величины

,

,

и

.
Если продольная сила N приложена за пределами расстояния между равнодействующими усилий в арматуре

и

с одной стороны и

и

с другой стороны
(рисунок 4, б), внецентренно растянутые сталежелезобетонные (железобетонные) элементы при

должны отвечать следующему условию прочности:

. (48)
При этом положение нейтральной оси определяется из условия:

. (49)
При отсутствии в рассматриваемой конструкции какого-либо элемента армирования (сжатой листовой и стержневой арматуры, растянутой листовой арматуры) в формулах (48) и (49) следует принимать равными нулю соответствующие этим элементам армирования геометрические характеристики поперечного сечения.
Для железобетонных (не имеющих листовой арматуры) элементов прямоугольного сечения условие прочности (49) принимает вид:

. (50)
При этом положение нейтральной оси определяется из условия:

. (51)
При

расчет прочности внецентренно растянутых сталежелезобетонных (железобетонных) элементов следует производить по формуле (50), принимая

.
8.18 Центрально растянутые сталежелезобетонные (железобетонные) элементы должны удовлетворять следующему условию прочности:

. (52)
Для элементов прямоугольного сечения

.
Для железобетонных (не имеющих листовой арматуры) элементов условие (52) принимает вид:

. (53)
Примечание - К центрально растянутым относятся элементы, в которых линия действия продольной силы N совпадает с равнодействующей усилий во всей арматуре поперечного сечения элемента (
e' =
e;
рисунок 4, а).
8.19 Сталежелезобетонные элементы водоподводящего тракта ГЭС и ГАЭС (турбинные водоводы, их развилки и колена, турбинные блоки, затворные камеры и др.), сталежелезобетонные конструкции, расположенные в массиве гравитационных плотин и других сооружений, условия наступления предельных состояний которых выражаются через напряжения, при однозначной эпюре напряжений в расчетных сечениях рассчитываются из условий:

; (54)

, (55)
где

и

- растягивающие напряжения соответственно в стержневой арматуре и в облицовке.
8.20 При расчете на действие поперечной силы должно соблюдаться условие:

, (56)
где b - минимальная ширина элемента в сечении.
8.21 Расчет прочности сечений, наклонных к продольной оси элемента, на действие поперечной силы можно не производить, если соблюдаются условия:
а) для плитных конструкций, работающих пространственно, и для конструкций на упругом основании, за исключением вертикальных консолей подпорных стен:

; (57)
б) для всех остальных конструкций:

, (58)
где

- поперечное усилие, воспринимаемое бетоном сжатой зоны в наклонном сечении, определяемое по формуле

, (59)
где

;

- для элементов с высотой сечения
h < 0,6 м;
0,83 - для элементов с высотой сечения
h 
0,6 м;

- коэффициент, учитывающий влияние строительных швов в зоне действия поперечных сил, принимаемый по таблице 22.
lj/hj | 0,45 и меньше | От 0,46 до 0,64 | 0,65 и выше |
| 1,0 | 1 - [(lj/hj) - 0,45] | 0,80 |

- расстояние между сечением по шву и нормальным сечением, проходящим через конец наклонного сечения в сжатой зоне (рисунок 5, а);

- высота сечения по шву.
а - нагрузка действует в сторону элемента; б - нагрузка
действует в сторону от элемента, где знаки "плюс" и "минус"
следует применять соответственно для внецентренно сжатых
и внецентренно растянутых элементов
Рисунок 5 - Схема усилий в сечении, наклонном к продольной
оси железобетонного элемента, при расчете его по прочности
на действие поперечной силы
Относительная высота сжатой зоны сечения

определяется по формулам:
для изгибаемых элементов

; (60)
для внецентренно сжатых во всех случаях и внецентренно растянутых элементов с большим эксцентриситетом

. (61)
Для внецентренно растянутых элементов с малым эксцентриситетом следует принимать

.
Угол между наклонным сечением и продольной осью элемента определяется по формуле

. (62)
Значение

принимается не более 1,5 и не менее 0,5.
Допускается поперечное усилие

в
условии (60) определять по формулам:

, (63)
но не более

; (64)

, (65)
где

- коэффициент, учитывающий влияние продольной арматуры, определяемый по формуле

(66)
и принимаемый не более 2,0;

- коэффициент, учитывающий влияние продольных сил (с учетом противодавления), определяемый по формулам:
при действии продольных сжимающих сил:

, (67)
принимаемый не более 0,5;
при действии продольных растягивающих сил:

, (68)
принимаемый не более 0,8 по абсолютной величине;
c - длина проекции наклонного сечения на продольную ось элемента, отсчитывая от опоры.
В
формулах (62) и
(65) M и
Q - соответственно изгибающий момент и поперечная сила в нормальном сечении, проходящем через конец наклонного сечения в сжатой зоне.
В общем случае расчета элемента следует задаваться рядом сечений
c и определять

по
формуле (63). При действии на элемент сосредоточенных сил значения
c принимаются равными расстояниям от опоры до точки приложения этих сил.
При действии на элемент распределенной нагрузки интенсивностью

значение
c определяется по формуле

. (69)
Если
условие (58) при подстановке в правую часть вместо

не удовлетворяется, следует задаться рядом наклонных сечений, для которых найти значения
M и
Q, по
формуле (65) определить значение

и проверить
условие (58) при

.
Расчет поперечной арматуры не производится, если
условие (58) соблюдается при подстановке в его правую часть одного из поперечных усилий

или

.
8.22 Расчет поперечной арматуры в наклонных сечениях элементов постоянной высоты
(рисунок 5) следует производить по формуле:

, (70)
где

- поперечная сила, действующая в наклонном сечении, т.е. равнодействующая всех поперечных сил от внешней нагрузки, расположенных по одну сторону от рассматриваемого наклонного сечения;

;

- суммы поперечных усилий, воспринимаемых соответственно хомутами и отогнутыми стержнями, пересекающими наклонное сечение;

- угол наклона отогнутых стержней к продольной оси элемента в наклонном сечении.
Если внешняя нагрузка действует в сторону элемента, как показано на
рисунке 5, а, расчетную поперечную силу надлежит определять по формуле

, (71)
где Q - поперечная сила в опорном сечении;

- равнодействующая внешней нагрузки, действующей на элемент в пределах длины проекции наклонного сечения на продольную ось элемента;
V - сила противодавления, действующая в наклонном сечении, определяемая в предположении линейного распределения пьезометрического давления и

.
8.23 Если
условие (58) при

и

не выполняется, расчет элементов, армированных хомутами, допускается производить по наиболее опасному наклонному сечению из условий:

; (72)

, (73)
где

- поперечное усилие, воспринимаемое хомутами в пределах наиболее опасного наклонного сечения и определяемое по формуле

, (74)
где

- усилие в хомутах на единицу длины элемента в пределах наклонного сечения, определяемое по формуле

, (75)
где s - шаг хомутов.
При расчете элементов принимается наименьшее число хомутов, полученных из
условий (72) и
(73).
8.24 Расстояние между поперечными стержнями (хомутами), между концом предыдущего и началом последующего отгиба, а также между опорой и концом отгиба, ближайшего к опоре, должно быть не более величины

, определяемой по формуле

. (76)
8.25 Расчет элементов переменной высоты сечения на действие поперечной силы производится следующим образом:
если одна из граней элемента горизонтальна или вертикальна, а вторая наклонна, то ось элемента принимается соответственно горизонтальной или вертикальной. За рабочую высоту наклонного сечения следует принимать проекцию рабочей части наклонного сечения на нормаль к оси элемента:
для элемента с наклонной сжатой гранью - у конца наклонного сечения в сжатой зоне (рисунок 6, а);
для элемента с наклонной растянутой гранью - у начала наклонного сечения в растянутой зоне
(рисунок 6, б);
если обе грани элемента наклонные, за ось элемента следует принимать геометрическое место точек, равноудаленных от граней элемента. За рабочую высоту сечения принимается проекция рабочей части наклонного сечения на нормаль к оси элемента.
а
а - наклонная грань сжата; б - наклонная грань растянута
Рисунок 6 - Схема усилий в сечении, наклонном к продольной
оси железобетонного элемента, с наклонной гранью
при расчете его по прочности на действие
поперечной силы
8.26 Расчет сечений, наклонных к продольной оси элемента, на действие изгибающего момента следует производить для сечений, проверяемых на прочность при действии поперечных сил, а также для сечений, проходящих через точки изменения площади поперечного сечения продольной растянутой арматуры (точки теоретического обрыва арматуры или изменения ее диаметра), и в местах резкого изменения размеров поперечного сечения элемента по формуле

, (77)
где M - момент всех внешних сил (с учетом противодавления), расположенных по одну сторону от рассматриваемого наклонного сечения относительно оси, которая проходит через точку приложения равнодействующей усилий в сжатой зоне и перпендикулярна плоскости действия момента;

;

;

- суммы моментов относительно той же оси соответственно от усилий в продольной арматуре, в отогнутых стержнях и хомутах, пересекающих растянутую зону наклонного сечения;
z;

;

- плечи усилий в продольной арматуре, в отогнутых стержнях и хомутах относительно той же оси (рисунок 7).
Рисунок 7 - Схема усилий в сечении, наклонном к продольной
оси железобетонного элемента, при расчете его по прочности
на действие изгибающего момента
Если наклонное сечение расположено в зоне изменения знака изгибающего момента, проверку на изгиб следует производить относительно точек пересечения наклонного сечения с продольной арматурой, расположенной у обеих граней. При этом следует принимать

.
Высота сжатой зоны в наклонном сечении, измеренная по нормали к продольной оси элемента, определяется в соответствии с требованиями
8.14.
8.27 Элементы с постоянной или плавно изменяющейся высотой сечения допускается не рассчитывать по прочности наклонного сечения на действие изгибающего момента в одном из следующих случаев:
если вся продольная арматура доводится до опоры или до конца элемента и имеет достаточную анкеровку;
в плитных пространственно работающих конструкциях;
если продольные растянутые стержни, обрываемые по длине элемента, заводятся за нормальное сечение, в котором они не требуются по расчету, на длину

и более, определяемую по формуле

, (78)
где Q - поперечная сила в нормальном сечении, проходящем через точку теоретического обрыва стержня;

;

- соответственно площадь сечения и угол наклона отогнутых стержней, расположенных в пределах участка длиной

;

- усилие в хомутах на единицу длины элемента на участке длиной

, определяемое по формуле

, (79)
где d - диаметр обрываемого стержня, см;
если выполняется условие

(80)
в конструкциях на упругом основании, за исключением подпорных стен.
8.28 Расчет консоли, длина которой равна или меньше ее высоты в опорном сечении h (короткая консоль), следует производить по действующим нормативным документам.
8.29 При проектировании массивных железобетонных элементов прямоугольного сечения, предельные состояния которых выражаются через усилия, следует проверять прочность продольных сечений на уровне нейтральной оси и на уровне продольных строительных швов до и после образования трещин в растянутой зоне элемента.
8.30 Расчет выносливости сечений, нормальных к продольной оси элемента, должен производиться из условий:
для сжатого бетона

; (81)
для растянутой арматуры

, (82)
где

,

- максимальные значения соответственно сжимающих напряжений в бетоне и растягивающих напряжений в арматуре;

.
Сжатая арматура на выносливость не рассчитывается.
8.31 В трещиностойких элементах напряжения в бетоне

и в арматуре

определяются в зоне действия максимального изгибающего момента по расчету как для упругого тела по приведенным сечениям с учетом указаний
5.35.
В нетрещиностойких элементах площадь и момент сопротивления приведенного сечения следует определять без учета растянутой зоны бетона. Напряжения в арматуре следует определять согласно
9.7 настоящего свода правил.
8.32 Расчет выносливости сечений, наклонных к продольной оси элемента, следует выполнять из условия

, (83)
где

- главные растягивающие напряжения в бетоне;

.
Величину главных растягивающих напряжений в бетоне следует определять по
формуле (29) с учетом указаний
8.8.
Для стержневых элементов прямоугольного сечения с параллельными растянутой и сжатой гранями допускается при определении главных растягивающих напряжений принимать

, а напряжения

и

определять по формулам:

; (84)

, (85)
где

и

- площадь и момент инерции приведенного сечения относительно его центра тяжести;

- статический момент части приведенного сечения, лежащей по одну сторону от оси, на уровне которой определяются касательные напряжения;
y - расстояние от центра тяжести приведенного сечения до линии, на уровне которой определяются касательные напряжения;
b - ширина сечения на том же уровне.
В
формуле (84) знак "плюс" принимается для внецентренно растянутых, а знак "минус" - для внецентренно сжатых элементов.
Геометрические параметры приведенного сечения следует определять с учетом указаний
5.35.
Для элементов с переменной высотой сечения касательные напряжения

следует определять с учетом указаний
8.8.
Если
условие (83) не выполняется, то равнодействующая главных растягивающих напряжений должна быть полностью передана на поперечную арматуру при напряжениях в ней

.
9 Расчет элементов бетонных и железобетонных конструкций по образованию и раскрытию трещин и по деформациям
Расчет бетонных и железобетонных элементов по образованию трещин
9.1 Расчет бетонных и железобетонных элементов по образованию трещин следует производить:
а) в случаях, когда по условиям эксплуатации трещины не допускаются;
б) для выявления зон трещинообразования при расчете статически неопределимых стержневых и массивных конструкций;
в) при наличии специальных требований норм проектирования отдельных видов гидротехнических сооружений.
К числу конструкций, в которых не допускаются трещины с раскрытием более 0,2 мм, относятся:
напорные и безнапорные элементы, находящиеся в зоне переменного уровня воды и подвергающиеся систематическому замораживанию и оттаиванию.
К числу конструкций, в которых трещины не допускаются, относятся:
конструкции, к которым предъявляется требование водонепроницаемости в тех случаях, когда это требование невозможно обеспечить конструктивными и технологическими мероприятиями;
элементы причальных набережных, погружаемые в грунт забивкой или вибрированием;
лицевые элементы причальных набережных, сваи и сваи-оболочки для стадий изготовления, транспортировки и монтажа.
9.2 Расчет стержневых железобетонных элементов по образованию трещин, нормальных к их продольной оси, следует производить:
для центрально растянутых элементов по формуле

, (86)
где

.
При

следует принимать

;
для изгибаемых элементов по формуле

, (87)
где

.
При

следует принимать

;
для внецентренно сжатых элементов по формуле

, (88)
где

.
При

следует принимать

;
для внецентренно растянутых элементов по формуле

, (89)
где

.
При расчете по формуле (89) следует принимать:

- как для центрально растянутого элемента такого же поперечного сечения;

- как для изгибаемого элемента такого же поперечного сечения.
Примечание - В
формулах (86) - (89) знак равенства соответствует условию образования трещин, знак неравенства - условию трещиностойкости.
9.3 Расчеты по образованию трещин, нормальных к продольной оси бетонных элементов, предельные состояния которых выражаются через усилия, следует производить по
формулам (22) и
(25), принимая в них

,

и

вместо

.
9.4 Расчеты по образованию трещин по главным растягивающим напряжениям выполняются:
для оценки трещиностойкости сечений, наклонных к продольной оси стержневых бетонных и железобетонных конструкций;
для оценки трещиностойкости объемных бетонных и железобетонных конструкций, предельные состояния которых не могут быть выражены через усилия;
для оценки трещиностойкости бетонных и железобетонных конструкций при действии многократно повторяющейся нагрузки.
Расчеты по образованию трещин в этих случаях выполняются из условия

, (90)
где

- при расчетах бетонных элементов;

- при расчетах железобетонных элементов;

- при расчетах бетонных элементов при действии многократно повторяющейся нагрузки;

- при расчетах железобетонных элементов при действии многократно повторяющейся нагрузки.
Напряженное состояние элементов определяется в соответствии с указаниями
8.8. Проверка
условия (90) производится для наружных граней элементов, в точках пересечения их с главными центральными осями инерции приведенного сечения, а для элементов таврового, двутаврового и коробчатого сечений также в местах примыкания сжатых полок к стенке.
При определении коэффициентов

- для бетонных конструкций и

- для железобетонных конструкций высота растянутой зоны сечения

находится по эпюре напряжений в плоскости главных растягивающих напряжений.
Значение коэффициента

зависит от схемы армирования (однорядное или многорядное, дисперсное или обычное) области элемента, для которой производится проверка трещиностойкости.
Расчет железобетонных элементов по раскрытию трещин
9.5 В нетрещиностойких стержневых элементах расчет по раскрытию нормальных к продольной оси трещин следует выполнять из условия

, (91)
где

- расчетная ширина раскрытия трещин, мм;

- допускаемая ширина раскрытия трещин, мм, определяемая по
9.8.
9.6 Ширину раскрытия трещин

, мм, следует определять по формуле

, (92)
где

- коэффициент, принимаемый равным для элементов:
изгибаемых и внецентренно сжатых - 1,0;
центрально и внецентренно растянутых - 1,2;

- коэффициент, принимаемый равным: при учете временного действия нагрузок: при

; при

;
(

и

- наибольшие обобщенные усилия (изгибающий момент, нормальная сила и т.п.) соответственно от действия полной нагрузки (постоянной, длительной, кратковременной) и от действия постоянной и длительной нагрузок);
при учете многократно повторяющейся нагрузки:
при воздушно-сухом состоянии бетона 2 -

(

- коэффициент асимметрии цикла);
при водонасыщенном состоянии бетона - 0,9;

- коэффициент, принимаемый равным при арматуре:
стержневой периодического профиля - 1,0,
гладкой стержневой - 1,4,
проволочной периодического профиля - 1,2;

- напряжение в растянутой арматуре, определяемое в соответствии с
9.7 без учета сопротивления бетона растянутой зоны сечения; с учетом фильтрационного давления воды, определяемого в соответствии с
7.12 и
7.13;

- начальное растягивающее напряжение в арматуре от набухания бетона. Для конструкций, находящихся в воде,

; для конструкций, подверженных длительному высыханию, в том числе во время строительства,

;

- коэффициент армирования сечения,

, но не более 0,02;
d - диаметр стержневой арматуры, мм.
При различных диаметрах стержней следует принимать

,
где n - число стержней одного диаметра.
9.7 Напряжения в арматуре при расчетах ширины раскрытия трещин следует определять по следующим формулам:
для изгибаемых элементов

; (93)
для центрально растянутых элементов

; (94)
для внецентренно растянутых и внецентренно сжатых элементов при больших эксцентриситетах

; (95)
для внецентренно растянутых элементов при малых эксцентриситетах:
для арматуры S

; (96)
для арматуры S'

. (97)
В
формуле (93) знак "плюс" принимается при внецентренном растяжении, "минус" - при внецентренном сжатии.
В
формулах (93) и
(95) z (плечо внутренней пары сил) допускается принимать по результатам расчета сечений на прочность при расчетных нагрузках.
9.8 Допускаемую ширину раскрытия трещин

, мм, для массивных напорных конструкций следует принимать не более величин, приведенных в таблицах 23,
24.
Гидрокарбонатная щелочность воды W, мг·экв/л | Максимальное значение В/Ц бетона при напоре H, м | Допускаемая ширина раскрытия трещин  , мм, в сооружениях I класса по условию коррозионной стойкости |
10 | 50 | 200 |
До 0,25 включ. | 0,50 | 0,48 | 0,45 | Не допускается |
0,4 | 0,55 | 0,50 | 0,45 | 0,05 |
0,4 | 0,48 | 0,45 | 0,42 | 0,10 |
0,8 | 0,63 | 0,48 | 0,52 | 0,05 |
0,8 | 0,59 | 0,55 | 0,50 | 0,10 |
0,8 | 0,56 | 0,52 | 0,48 | 0,15 |
0,8 | 0,54 | 0,50 | 0,46 | 0,20 |
0,8 | 0,52 | 0,49 | 0,45 | 0,25 |
0,8 | 0,50 | 0,47 | 0,44 | 0,35 |
0,8 | 0,48 | 0,45 | 0,43 | 0,50 |
1,6 | 0,70 | 0,69 | 0,64 | 0,05 |
1,6 | 0,70 | 0,66 | 0,62 | 0,10 |
1,6 | 0,68 | 0,64 | 0,60 | 0,15 |
1,6 | 0,66 | 0,62 | 0,58 | 0,20 |
1,6 | 0,64 | 0,60 | 0,57 | 0,25 |
1,6 | 0,62 | 0,58 | 0,55 | 0,35 |
1,6 | 0,60 | 0,56 | 0,53 | 0,50 |
2,4 | 0,70 | 0,70 | 0,70 | 0,05 |
2,4 | 0,70 | 0,70 | 0,69 | 0,10 |
2,4 | 0,70 | 0,70 | 0,66 | 0,15 |
2,4 | 0,70 | 0,66 | 0,62 | 0,25 |
2,4 | 0,68 | 0,64 | 0,60 | 0,35 |
2,4 | 0,66 | 0,62 | 0,59 | 0,50 |
3,2 и более | Не ограничивается |
Условия воздействия среды на конструкцию | Градиент напора | Допускаемая ширина раскрытия трещин  , мм, в сооружениях I класса по условию сохранности арматуры при суммарной концентрации ионов [Cl'] + 0,25 [SO 4''] в водной среде, мг/л |
менее 50 | 100 | 200 | 400 - 1000 |
Постоянное водонасыщение | До 5 | 0,50 | 0,40 | 0,35 | 0,30 |
| 50 | 0,45 | 0,35 | 0,30 | 0,25 |
| 300 | 0,40 | 0,30 | 0,25 | 0,20 |
Периодические насыщения водой при числе циклов в год: | | | | | |
менее 100 | До 5 | 0,30 | 0,25 | 0,20 | 0,15 |
| 50 | 0,30 | 0,20 | 0,15 | 0,10 |
| 300 | 0,30 | 0,20 | 0,10 | 0,05 |
200 - 1000 | До 5 | 0,25 | 0,20 | 0,15 | 0,10 |
| 50 | 0,20 | 0,15 | 0,10 | 0,05 |
| 300 | 0,20 | 0,10 | 0,10 | 0,05 |
Капиллярный подсос, брызги | - | 0,20 | 0,15 | 0,10 | 0,05 |
Для сооружений II - IV классов предельная ширина раскрытия трещин определяется умножением полученных по таблицам значений

, мм, на коэффициенты, равные соответственно 1,3; 1,6; 2,0. При этом ширина раскрытия трещин принимается не более 0,5 мм.
Для тонкостенных конструкций при отсутствии агрессивной среды допустимая ширина раскрытия трещин принимается в соответствии с указаниями действующих нормативных документов.
Приведенные в
таблицах 23 и
24 значения

принимаются с учетом применения арматуры классов А-I, А-II, А-III, Вр-I. При применении арматуры других классов предельная ширина раскрытия трещин принимается не более величин, полученных по настоящим таблицам.
При бикарбонатной щелочности воды-среды, меньшей 1 мг·экв/л, или суммарной концентрации ионов Cl и

, большей 1000 мг/л, значения

следует уменьшать в два раза.
При среднегодовом значении бикарбонатной щелочности воды-среды, меньшей 0,25 мг·экв/л, и при отсутствии защитных мероприятий напорные конструкции следует проектировать трещиностойкими.
Значения

при использовании защитных мероприятий следует устанавливать на основании специальных исследований.
При диаметрах арматуры 40 мм и более значение

допускается увеличивать на 25%.
Для тонкостенных конструкций (с высотой сечения менее 1,5 м) ширину допускаемого раскрытия трещин

следует умножать на коэффициент 0,5.
Расчет элементов железобетонных конструкций по деформациям
9.9 Деформации железобетонных конструкций, а также усилия в элементах статически неопределимых конструкций определяются методами строительной механики с учетом трещин и неупругих свойств бетона.
При сложных статически неопределимых системах допускается определять перемещения по формулам сопротивления материалов.
9.10 При кратковременном действии нагрузки жесткость изгибаемых, внецентренно сжатых и внецентренно растянутых элементов следует определять по формулам:
для трещиностойких элементов или их участков

, (98)
для нетрещиностойких элементов или их участков

. (99)
Для определения жесткости нетрещиностойких участков изгибаемых элементов прямоугольного поперечного сечения допускается использовать зависимость и номограмму, приведенные в
Приложении Д.
9.11 При одновременном действии кратковременных и длительных нагрузок жесткость изгибаемых, внецентренно сжатых и внецентренно растянутых элементов следует определять по формулам:
для трещиностойких элементов или их участков

; (100)
для нетрещиностойких элементов или их участков

, (101)
где C - обобщенное усилие от длительно действующих нагрузок;
V - обобщенное усилие от кратковременно действующих нагрузок;

- коэффициент снижения жесткости. Для тавровых сечений с полкой в сжатой зоне

, в растянутой зоне

, для прямоугольных, двутавровых, коробчатых и других замкнутых сечений

.
10 Расчет элементов бетонных и железобетонных конструкций на температурные и влажностные воздействия
10.1 Учет температурных воздействий производится:
а) при расчете прочности бетонных конструкций в соответствии с
9.3, а также при расчете их по образованию (недопущению) трещин в случаях, когда нарушение монолитности этих конструкций может изменить статическую схему их работы, вызвать дополнительные внешние воздействия или увеличение противодавления, привести к снижению водонепроницаемости и долговечности конструкции;
б) при расчете статически неопределимых железобетонных конструкций, а также при расчете железобетонных конструкций по образованию (недопущению) трещин в случаях, указанных в
9.1;
в) при определении деформаций и перемещений элементов сооружений для назначения конструкций температурных швов и противофильтрационных уплотнений;
г) для назначения температурных режимов, требуемых по условиям возведения сооружения и нормальной его эксплуатации;
д) при расчете тонкостенных железобетонных элементов непрямоугольного сечения (тавровых, кольцевых), контактирующих с грунтом.
Температурные воздействия допускается не учитывать в расчетах тонкостенных конструкций, если обеспечена свобода перемещений этих конструкций.
10.2 При расчете бетонных и железобетонных конструкций следует учитывать температурные воздействия эксплуатационного и строительного периодов.
Температурные воздействия строительного периода определяются с учетом экзотермии и других условий твердения бетона, включая конструктивные и технологические мероприятия по регулированию температурного режима конструкции, температуры замыкания строительных швов, полного остывания конструкции до среднемноголетних эксплуатационных температур, колебаний температуры наружного воздуха и воды в водоемах.
К температурным воздействиям эксплуатационного периода относятся климатические колебания температуры наружного воздуха, воды в водоемах и эксплуатационный подогрев (или охлаждение) сооружения.
Конкретный перечень температурных воздействий, учитываемых в расчетах бетонных и железобетонных конструкций основных видов гидротехнических сооружений, должен устанавливаться в соответствии с требованиями
СП 58.13330 и строительными нормами на проектирование соответствующих видов сооружений.
10.3 В расчетах бетонных и железобетонных конструкций гидротехнических сооружений на температурные воздействия при соответствующем обосновании допускается учитывать тепловое влияние солнечной радиации.
10.4 Учет влажностных воздействий при расчете бетонных и железобетонных конструкций должен быть обоснован в зависимости от возможности развития усадки или набухания бетона этих конструкций.
Допускается не учитывать усадку бетона в расчетах:
массивных конструкций;
тонкостенных конструкций, находящихся под водой, контактирующих с водой или засыпанных грунтом, если были предусмотрены меры по предотвращению высыхания бетона в период строительства.
10.5 Температурные и влажностные поля конструкций рассчитываются методами строительной физики с использованием основных положений, принятых для нестационарных процессов.
10.6 Данные о температуре и влажности наружного воздуха и другие климатологические характеристики должны приниматься на основе метеорологических наблюдений в районе строительства. При отсутствии таких наблюдений необходимые сведения следует принимать по официальным данным государственной гидрометеорологической службы.
Температура воды в водоемах должна определяться на основе специальных расчетов и по аналогам.
10.7 Для сооружений I класса теплофизические характеристики бетона устанавливаются на основании специальных исследований. Для сооружений других классов и при предварительном проектировании сооружений I класса указанные характеристики бетона допускается принимать по
таблицам Б.1 и
Б.2 Приложения Б.
10.8 Деформативные характеристики бетона, необходимые для расчета термонапряженного состояния конструкций, следует принимать:
(в ред.
Изменения N 1, утв. Приказом Минстроя России от 28.11.2018 N 764/пр)
начальный модуль упругости бетона, МПа, в возрасте менее 180 сут - по формуле

, (102)
где

- безразмерный параметр, принимаемый по
таблице Б.3 Приложения Б;
t - возраст бетона, сут.
Начальный модуль упругости бетона в возрасте 180 сут и более следует принимать в соответствии с
5.27.
Характеристики ползучести бетона следует принимать по
таблице Б.4 Приложения Б.
Для сооружений I класса деформативные характеристики бетона следует уточнять исследованиями на образцах из бетона производственного состава.
10.9 Расчет бетонных и железобетонных конструкций по образованию (недопущению) температурных трещин следует производить по формулам:
а) при проверке образования трещин и определении их размеров:

. (103)
Для образования поверхностной трещины необходимо, чтобы условие (103) выполнялось в пределах зоны растяжения, глубина которой в направлении, перпендикулярном поверхности, была бы не менее

, где

- максимальный размер крупного заполнителя бетона;
б) при недопущении трещин в конструкциях, рассчитываемых по второй группе предельных состояний:

; (104)
в) при недопущении трещин в конструкциях, рассчитываемых по первой группе предельных состояний:

. (105)
В этих формулах:
A(t) - работа растягивающих напряжений, нормальных к плоскости трещины, на соответствующей им разности полных и вынужденных температурных деформаций; значение
A(t) определяется в соответствии с
10.10;

;

- соответственно нормативное и расчетное сопротивления бетона на осевое растяжение, определяемые в соответствии с
5.13 и
5.14;

- коэффициент перехода от нормативного сопротивления бетона на осевое растяжение к средней прочности на осевое растяжение бетона производственного состава, определяемый в соответствии с
10.11;

- коэффициент, учитывающий зависимость прочности бетона на осевое растяжение от возраста
t и принимаемый в соответствии с
10.12;

- модуль упругости бетона;

- коэффициент условий работы, равный для массивных сооружений - 1,15, для остальных - 1,0.
10.10 Значение работы
A(t) находится по следующим формулам:
для случая одноосного растяжения и плоского напряженного состояния:

; (106)
для плоскодеформированного состояния:

, (107)
где

- текущее время;

- время схватывания бетона;

- температура бетона в момент времени

;

- температурный коэффициент линейного расширения бетона;

- деформации бетона, определяемые с учетом переменных во времени модуля упругости и ползучести бетона;

- растягивающие напряжения в бетоне:

при

;

при

,
где

- напряжения в бетоне, определенные с учетом переменных во времени модуля упругости и ползучести бетона.
10.11 Коэффициент

определяется по формуле

, (108)
где u - коэффициент, зависящий от установленной обеспеченности гарантированной прочности бетона и равный
1,64 при q = 0,95;
1,28 при q = 0,90
и 1,04 при q = 0,85;

- коэффициент вариации прочности бетона производственного состава.
Для сооружений I и II классов значения коэффициента

устанавливаются исследованиями на крупномасштабных образцах из бетона производственного состава. Для сооружений других классов и при предварительном проектировании сооружений I и II классов допускается принимать:

при
q = 0,95,

при
q = 0,90,

при
q = 0,85.
10.12 Значения

в зависимости от возраста бетона следует принимать для строительного периода по
таблице Б.5 Приложения Б, для эксплуатационного периода, как правило, равным 1,0.
Для сооружений I и II классов коэффициент

следует уточнять исследованиями на крупномасштабных образцах из бетона производственного состава.
10.13 Для сооружений I и II классов в технико-экономическом обосновании, а для сооружений III и IV классов - во всех случаях допускается расчет по образованию (недопущению) трещин от температурных воздействий производить по формуле

, (109)
где

- температурные напряжения в момент времени
t;

- предельная растяжимость бетона, определяемая по
таблице Б.6 Приложения Б;

- коэффициент, учитывающий зависимость

от возраста бетона, определяемый по
таблице Б.7 Приложения Б.
При определении коэффициента

значения

следует принимать равными длине участка эпюры растягивающих напряжений в пределах блока или при наличии на участке эпюры растягивающих напряжений зоны с нулевым градиентом напряжений.
(обязательное)
ОСНОВНЫЕ БУКВЕННЫЕ ОБОЗНАЧЕНИЯ
Усилия от внешних нагрузок и воздействий в поперечном сечении элемента
M - изгибающий момент;
N - продольная сила;
Q - перерезывающая сила.
Характеристики материалов

,

,

,

- расчетные сопротивления бетона осевому сжатию и осевому растяжению соответственно для предельных состояний первой и второй групп в возрасте бетона 180 сут (или 1 год);

,

- расчетные сопротивления соответственно стержневой и листовой арматуры;

- расчетное сопротивление поперечной арматуры растяжению для предельных состояний первой группы при расчете сечений, наклонных к продольной оси элемента;

- расчетное сопротивление арматуры сжатию для предельных состояний первой группы;

- начальный модуль упругости бетона при сжатии и растяжении;

- модуль упругости арматуры;

- коэффициент Пуассона;

- отношение соответствующих модулей упругости арматуры

и бетона

;

- коэффициент вариации прочности бетона производственного состава.
Характеристики положения продольной арматуры в поперечном сечении элемента
S - обозначение продольной арматуры:
а) для изгибаемых элементов - расположенной в зоне, растянутой от действия внешних усилий;
б) для сжатых элементов - расположенной в зоне, растянутой от действия усилий или у наименее сжатой стороны сечения;
в) для внецентренно растянутых элементов - наименее удаленной от точки приложения внешней продольной силы;
г) для центрально растянутых элементов - всей в поперечном сечении элемента;
S' - обозначение продольной арматуры:
а) для изгибаемых элементов - расположенной в зоне, сжатой от действия внешних усилий;
б) для сжатых элементов - расположенной в зоне, сжатой от действия внешних усилий или у наиболее сжатой стороны сечения;
в) для внецентренно растянутых элементов - наиболее удаленной от точки приложения внешней продольной силы.
Геометрические характеристики
b - ширина прямоугольного сечения, ширина ребра таврового или двутаврового сечения;
h - высота прямоугольного, таврового или двутаврового сечения;
a, a' - расстояние от равнодействующей усилий соответственно в арматуре S и S' до ближайшей грани сечения;

,

- рабочая высота сечения

;
x - высота сжатой зоны сечения (бетона);

- относительная высота сжатой зоны бетона, равная

;
s - расстояние между хомутами, измеренное по длине элемента;

- эксцентриситет продольной силы N относительно центра тяжести приведенного сечения;
e, e' - расстояние от точки приложения продольной силы соответственно до равнодействующих усилий в арматуре S и S';
d - номинальный диаметр арматурных стержней;
F - площадь всего бетона в поперечном сечении;

- площадь сечения сжатой зоны бетона;

- площадь приведенного сечения элемента;

,

- площадь сечений арматуры соответственно
S и
S';

- площадь сечения хомутов, расположенных в одной нормальной к продольной оси элемента плоскости, пересекающей наклонное сечение;

- площадь сечения отогнутых стержней, расположенных в одной наклонной к продольной оси элемента плоскости, пересекающей наклонное сечение;
I - момент инерции сечения бетона относительно центра тяжести сечения элемента;

- момент инерции приведенного сечения относительно его центра тяжести;

- момент инерции площади сечения арматуры относительно центра тяжести сечения элемента;

- момент инерции сжатой зоны бетона относительно центра тяжести сечения;

- статический момент площади сечения сжатой зоны бетона относительно точки приложения равнодействующей усилий в арматуре
S;

,

- статические моменты площади сечения всей продольной арматуры относительно точки приложения равнодействующей усилий соответственно в арматуре

и

.
Коэффициенты

- сочетаний нагрузок;

- надежности по назначению сооружений;

- условий работы сооружения;

- условий работы бетона;

- условий работы арматуры;

- армирования, определяемый как отношение площади сечения арматуры
S к площади поперечного сечения элемента

, без учета свесов сжатых и растянутых полок.
Химические добавки для бетонов
ЛСТ - лигносульфонаты технические;
СДО - смола древесная омыленная;
ЛХД - лесохимическая добавка;
С-3 - суперпластификатор;
СНВ (СВЭК) - смола нейтрализованная воздухововлекающая;
ПФЛХ - понизитель вязкости фенольный лесохимический;
СП - сахарная патока;
ХК - хлористый кальций;
СВЭК - смола воздухововлекающая экстракционная канифольная.
Номенклатуру отечественных добавок (минеральных и поверхностных веществ) для бетона см. в
приложении А СП 357.1325800.2017.
(абзац введен
Изменением N 1, утв. Приказом Минстроя России от 28.11.2018 N 764/пр)
Подвижность и жесткость бетонной смеси, укладываемой в монолитные конструкции, должны учитывать применяемые средства уплотнения бетонной смеси при ее укладке, с тем чтобы обеспечивать получение бетонных конструкций с наименьшим количеством дефектов. Одним из таких способов является уплотнение жестких бетонных смесей, уплотняемых укаткой (укатанных бетонов).
(абзац введен
Изменением N 1, утв. Приказом Минстроя России от 28.11.2018 N 764/пр)
Для массивных конструкций типа внутренних зон гравитационных и арочно-гравитационных плотин и др. допускается при соответствующем обосновании применение малоцементного укатанного бетона с нулевой осадкой конуса, жесткость бетонной смеси которого на месте укладки должна составлять 20 - 30 с.
(абзац введен
Изменением N 1, утв. Приказом Минстроя России от 28.11.2018 N 764/пр)
Требования к заполнителям для укатанного бетона должны быть учтены при проектировании конкретного объекта с учетом особенностей его конструкции и технологии строительства.
(абзац введен
Изменением N 1, утв. Приказом Минстроя России от 28.11.2018 N 764/пр)
Укатанный бетон рекомендуется для проектирования и строительства сейсмостойких плотин. Допускается применение модификации технологии укатанного бетона для сейсмостойких гравитационных плотин.
(абзац введен
Изменением N 1, утв. Приказом Минстроя России от 28.11.2018 N 764/пр)
(рекомендуемое)
ХАРАКТЕРИСТИКИ БЕТОНА ДЛЯ РАСЧЕТА КОНСТРУКЦИЙ
НА ТЕМПЕРАТУРНЫЕ ВОЗДЕЙСТВИЯ
Таблица Б.1
Теплофизические характеристики бетона
Характеристики бетона | Буквенное обозначение | Размерность | Значение |
Температурный коэффициент линейного расширения | | | |
Теплопроводность | | Вт/(м·°C) | 2,67 |
Температуропроводность | | м2/с | |
Удельная теплоемкость | | кДж/(кг·°C) | 1 |
Коэффициент теплоотдачи с открытой поверхности бетона: | | Вт(м2·°C) | |
в наружный воздух | | | 24 |
в воздух внутри полых швов, шахт, шатров | | | (7 - 12) |
в воду | | | |
Таблица Б.2
Характеристики тепловыделения бетона
Тип цемента | Марка цемента | Тепловыделение бетона, кДж/ккал, на 1 кг цемента в возрасте бетона, сут |
3 | 7 | 28 | 90 |
Портландцемент | 300 | 210/50 | 250/60 | 295/70 | 300/72 |
| 400 | 250/60 | 295/70 | 345/82 | 355/85 |
| 500 | 295/70 | 335/80 | 385/92 | 400/95 |
Пуццолановый портландцемент, | 300 | 175/42 | 230/55 | 270/65 | 280/67 |
шлакопортландцемент | 400 | 210/50 | 265/63 | 320/77 | 335/80 |
Таблица Б.3
Параметр 
Осадка конуса бетонной смеси, см | Максимальный размер крупного заполнителя, мм |  при классе бетона по прочности на сжатие |
B5 | B7,5 | B10 | B12,5 | B15 | B17,5 | B20 | B22,5 | B25 | B27,5 | B30 | B35 | B40 |
До 4 | 40 | 27 | 37 | 45 | 54 | 62 | 69 | 77 | 83 | 90 | 98 | 106 | 125 | 146 |
| 80 | 32 | 44 | 56 | 67 | 77 | 87 | 98 | 106 | 116 | 125 | 133 | 153 | 180 |
| 120 | 37 | 52 | 67 | 77 | 90 | 103 | 116 | 125 | 139 | 150 | 162 | 191 | 216 |
4 - 8 | 40 | 20 | 28 | 35 | 41 | 47 | 52 | 58 | 63 | 69 | 74 | 80 | 94 | 115 |
| 80 | 25 | 37 | 42 | 50 | 58 | 65 | 72 | 79 | 86 | 93 | 102 | 120 | 139 |
| 120 | 29 | 40 | 50 | 60 | 69 | 77 | 86 | 94 | 102 | 110 | 116 | 132 | 154 |
Свыше 8 | 40 | 11 | 15 | 19 | 23 | 26 | 30 | 35 | 38 | 42 | 46 | 50 | 62 | 74 |
| 80 | 15 | 19 | 24 | 29 | 33 | 37 | 42 | 47 | 52 | 56 | 60 | 72 | 86 |
| 120 | 18 | 24 | 29 | 35 | 40 | 45 | 50 | 55 | 60 | 65 | 69 | 83 | 98 |
Таблица Б.4
Характеристики ползучести бетона
Возраст загружения, сут | Мера ползучести бетона c ( t,  )·10 5, МПа -1, при длительности загружения ( t -  ), сут |
0 | 10 | 25 | 50 | 100 | 200 | 500 | 1000 | 1500 |
0,125 | 0 | 0,05 | 16,00 | 20,00 | 24,00 | 27,00 | 31,00 | 32,00 | 32,00 |
10 | 0 | 1,10 | 1,76 | 2,23 | 2,67 | 3,06 | 3,48 | 3,60 | 3,60 |
30 | 0 | 0,85 | 1,41 | 1,80 | 2,18 | 2,52 | 2,89 | 3,00 | 3,00 |
112 | 0 | 0,50 | 0,80 | 1,18 | 1,45 | 1,70 | 1,92 | 1,98 | 1,98 |
205 | 0 | 0,35 | 0,67 | 0,88 | 1,09 | 1,26 | 1,42 | 1,46 | 1,46 |
512 | 0 | 0,21 | 0,46 | 0,65 | 0,80 | 0,91 | 0,98 | 1,00 | 1,00 |
1500 | 0 | 0,21 | 0,46 | 0,65 | 0,80 | 0,91 | 0,98 | 1,00 | 1,00 |
Таблица Б.5
Коэффициент 
Возраст достижения бетоном прочности по классу на сжатие, сут | Коэффициент  при возрасте бетона, сут |
3 | 7 | 14 | 28 | 45 | 90 | 180 | 360 | 1,5 | 2,0 | 2,5 | 3,0 | 3,5 | 4,0 |
180 | 0,31 | 0,47 | 0,62 | 0,78 | 0,85 | 0,93 | 1,00 | 1,07 | 1,12 | 1,18 | 1,23 | 1,27 | 1,32 | 1,37 |
360 | 0,29 | 0,44 | 0,59 | 0,72 | 0,80 | 0,86 | 0,93 | 1,00 | 1,05 | 1,10 | 1,15 | 1,19 | 1,23 | 1,27 |
Таблица Б.6
Предельная растяжимость бетона
Осадка конуса бетонной смеси, см | Максимальный размер крупного заполнителя, мм | Предельная растяжимость бетона  ·10 5 при классе бетона по прочности на сжатие |
B5 | B7,5 | B10 | B12,5 | B15 | B17,5 | B20 | B22,5 | B25 | B27,5 | B30 | B35 | B40 |
До 4 | 40 | 3,5 | 3,7 | 4,0 | 4,2 | 4,5 | 4,8 | 5,0 | 5,3 | 5,5 | 5,8 | 6,0 | 6,5 | 7,0 |
| 80 | 3,0 | 3,2 | 3,5 | 3,7 | 4,0 | 4,3 | 4,5 | 4,8 | 5,0 | 5,3 | 5,5 | 6,0 | 6,5 |
| 120 | 2,7 | 3,0 | 3,2 | 3,5 | 3,7 | 4,0 | 4,2 | 4,5 | 4,7 | 5,0 | 5,2 | 5,7 | 6,2 |
4 - 8 | 40 | 4,0 | 4,2 | 4,5 | 4,7 | 5,0 | 5,3 | 5,5 | 5,8 | 6,0 | 6,3 | 6,5 | 7,0 | 7,5 |
| 80 | 3,5 | 3,7 | 4,0 | 4,2 | 4,5 | 4,8 | 5,0 | 5,3 | 5,5 | 5,8 | 6,0 | 6,5 | 7,0 |
| 120 | 3,2 | 3,5 | 3,7 | 4,0 | 4,2 | 4,5 | 4,7 | 5,0 | 5,2 | 5,5 | 5,7 | 6,2 | 6,7 |
Свыше 8 | 40 | 6,0 | 6,2 | 6,4 | 6,5 | 6,7 | 6,9 | 7,0 | 7,2 | 7,4 | 7,6 | 7,7 | 8,0 | 8,5 |
| 80 | 5,0 | 5,2 | 5,4 | 5,6 | 5,8 | 6,0 | 6,2 | 6,4 | 6,6 | 6,8 | 7,0 | 7,5 | 7,8 |
| 120 | 4,5 | 4,7 | 4,9 | 5,1 | 5,3 | 5,6 | 5,8 | 6,0 | 6,2 | 6,5 | 6,7 | 7,0 | 7,5 |
Таблица Б.7
Коэффициент 
Возраст бетона, сут |  при классе бетона по прочности на сжатие в возрасте 180 сут |
B5 | B7,5 | B10 | B12,5 | B15 | B17,5 | B20 | B22,5 | B25 | B27,5 | B30 | B35 | B40 |
3 | 0,94 | 0,89 | 0,84 | 0,80 | 0,76 | 0,74 | 0,71 | 0,69 | 0,66 | 0,64 | 0,63 | 0,61 | 0,60 |
7 | 0,95 | 0,90 | 0,86 | 0,83 | 0,80 | 0,78 | 0,76 | 0,74 | 0,73 | 0,72 | 0,71 | 0,70 | 0,70 |
14 | 0,96 | 0,92 | 0,89 | 0,89 | 0,84 | 0,82 | 0,81 | 0,80 | 0,79 | 0,78 | 0,78 | 0,77 | 0,77 |
28 | 0,97 | 0,95 | 0,93 | 0,91 | 0,90 | 0,89 | 0,88 | 0,87 | 0,87 | 0,86 | 0,86 | 0,86 | 0,86 |
45 | 0,98 | 0,97 | 0,95 | 0,94 | 0,93 | 0,92 | 0,92 | 0,92 | 0,92 | 0,91 | 0,91 | 0,91 | 0,91 |
90 | 0,99 | 0,99 | 0,98 | 0,98 | 0,98 | 0,98 | 0,98 | 0,98 | 0,98 | 0,98 | 0,98 | 0,98 | 0,98 |
180 и более | 1,00 | 1,00 | 1,00 | 1,00 | 1,00 | 1,00 | 1,00 | 1,00 | 1,00 | 1,00 | 1,00 | 1,00 | 1,00 |
Таблица Б.8
Расчетные значения сдвиговых характеристик
бетонной кладки по строительным швам
Характеристика сдвига | Сооружения с секционной разрезкой на блоки | Сооружения со столбчатой разрезкой на блоки |
Вибрированный бетон класса | Укатанный бетон класса | Вибрированный бетон класса |
B5  B17,5 | B20  B40 | B5  B17,5 | B20  B30 | B5  B17,5 | B20  B40 |
Коэффициент трения-зацепления  | 1,1 | 1,2 | 1,0 | 1,1 | 1,0 | 1,1 |
Сцепление C, МПа | 0,3 | 0,4 | 0,2 | 0,3 | 0,1 | 0,2 |
Примечание - Обеспеченность расчетных значений сдвиговых характеристик принята равной 90%. |
(рекомендуемое)
ОБЛАСТИ РАЦИОНАЛЬНОГО ПРИМЕНЕНИЯ ДОБАВОК
ДЛЯ БЕТОНОВ ГИДРОТЕХНИЧЕСКИХ СООРУЖЕНИЙ
Таблица В.1
Части сооружений или конструкций | Наименование добавок |
Пластифицирующего действия | Воздухововлекающего действия | Пластифицирующе-воздухо вовлекающего действия | Замедляющего действия |
ЛСТ | С-3 | ЛХД, СДО, СНВ (СВЭК) | ПФЛХ | СП |
1. Бетон и железобетон гидротехнических сооружений - частей, расположенных в зоне переменного горизонта воды: | | | | | |
а) в особо суровых климатических условиях; | | | + | | |
б) в суровых климатических условиях; | | | + | + | (+) |
в) в умеренных климатических условиях: | | | + | + | (+) |
частей, постоянно находящихся под водой; | + | | + | + | (+) |
надводных частей, эпизодически омываемых водой; | + | + | + | + | (+) |
частей внутренних зон | + | + | + | + | (+) |
2. Бетон водоводов и других конструкций, испытывающих растягивающие напряжения | + | | + | | (+) |
3. Кавитационно-стойкие и износостойкие бетоны | + | | | | (+) |
Окончание таблицы В.1
Части сооружений или конструкций | Наименование добавок |
Комплексного действия | Ускоряющего действия | Микронаполнитель |
ЛСТ + ЛХД или ЛСТ + СДО или ЛСТ + СНВ (СВЭК) | С-3 + ЛХД или С-3 + СДО или С-3 + СНВ (СВЭК) С-3 + ПВЛХ | ХК | зола уноса | микрокремнезем |
1. Бетон и железобетон гидротехнических сооружений - частей, расположенных в зоне переменного горизонта воды: | | | | | |
а) в особо суровых климатически условиях; | + | | (+) | | |
б) в суровых климатических условиях; | + | | (+) | | |
в) в умеренных климатических условиях: | + | | (+) | | |
частей, постоянно находящихся под водой; | + | | (+) | | |
надводных частей, эпизодически омываемых водой; | + | + | (+) | + | |
частей внутренних зон | + | | (+) | + | |
2. Бетон водоводов и других конструкций, испытывающих растягивающие напряжения | + | | | | |
3. Кавитационно-стойкие и износостойкие бетоны | + | | | | + |
Примечание - Знак + означает целесообразность введения добавки;  - добавка может быть использована только после соответствующего технико-экономического обоснования; (+) - добавка может быть использована только как регулятор сроков схватывания в сочетании с другой добавкой, обеспечивающей комплекс требований, предъявляемых к бетону в каждом конкретном случае;  - добавка используется либо в обычной, либо в повышенной дозировке. |
(рекомендуемое)
НОМОГРАММА ДЛЯ ОПРЕДЕЛЕНИЯ КОЭФФИЦИЕНТА k
ДЛЯ РАСЧЕТА ПРОЧНОСТИ БЕТОННЫХ ЭЛЕМЕНТОВ ТАВРОВОГО,
ДВУТАВРОВОГО И КОРОБЧАТОГО СЕЧЕНИЙ
(рекомендуемое)
НОМОГРАММА ДЛЯ ОПРЕДЕЛЕНИЯ КОЭФФИЦИЕНТА ЖЕСТКОСТИ
НЕТРЕЩИНОСТОЙКИХ УЧАСТКОВ ЭЛЕМЕНТОВ ПРЯМОУГОЛЬНОГО СЕЧЕНИЯ,
РАССЧИТЫВАЕМЫХ ПО РАСКРЫТИЮ ТРЕЩИН

, (Д.1)

, (Д.2)
где

- момент инерции сечения элемента с высотой

.
[1] Федеральный
закон РФ от 30 декабря 2009 г. N 384-ФЗ "Технический регламент о безопасности зданий и сооружений".