Главная // Актуальные документы // ПравилаСПРАВКА
Источник публикации
М.: Минстрой России, 2024
Примечание к документу
Документ включен в
Перечень документов в области стандартизации, в результате применения которых на добровольной основе обеспечивается соблюдение требований Федерального
закона от 30.12.2009 N 384-ФЗ "Технический регламент о безопасности зданий и сооружений" (
Приказ Росстандарта от 02.04.2020 N 687).
Текст документа приведен в соответствии с публикацией на сайте https://www.minstroyrf.ru/ по состоянию на 29.05.2024.
Документ
введен в действие с 23.05.2024.
Название документа
"СП 407.1325800.2024. Свод правил. Земляные работы. Правила проектирования организации строительства и производства работ способом гидромеханизации"
(утв. и введен в действие Приказом Минстроя России от 22.04.2024 N 271/пр)
"СП 407.1325800.2024. Свод правил. Земляные работы. Правила проектирования организации строительства и производства работ способом гидромеханизации"
(утв. и введен в действие Приказом Минстроя России от 22.04.2024 N 271/пр)
Утвержден и введен в действие
и жилищно-коммунального хозяйства
Российской Федерации
от 22 апреля 2024 г. N 271/пр
СВОД ПРАВИЛ
ЗЕМЛЯНЫЕ РАБОТЫ
ПРАВИЛА ПРОЕКТИРОВАНИЯ ОРГАНИЗАЦИИ СТРОИТЕЛЬСТВА
И ПРОИЗВОДСТВА РАБОТ СПОСОБОМ ГИДРОМЕХАНИЗАЦИИ
Earthworks. Rules for design organization of construction
and production of works by the method of hydromechanization
СП 407.1325800.2024
Дата введения
23 мая 2024 года
Сведения о своде правил
1 ИСПОЛНИТЕЛЬ - Общество с ограниченной ответственностью Компания "Трансгидромеханизация" (ООО Компания "ТГМ")
2 ВНЕСЕН Техническим комитетом по стандартизации ТК 465 "Строительство"
3 ПОДГОТОВЛЕН к утверждению Департаментом градостроительной деятельности и архитектуры Министерства строительства и жилищно-коммунального хозяйства Российской Федерации
4 УТВЕРЖДЕН
приказом Министерства строительства и жилищно-коммунального хозяйства Российской Федерации от 22 апреля 2024 г. N 271/пр и введен в действие с 23 мая 2024 г.
5 ЗАРЕГИСТРИРОВАН Федеральным агентством по техническому регулированию и метрологии (Росстандарт). Пересмотр
СП 407.1325800.2018 "Земляные работы. Правила производства способом гидромеханизации"
В случае пересмотра (замены) или отмены настоящего свода правил соответствующее уведомление будет опубликовано в установленном порядке. Соответствующая информация, уведомление и тексты размещаются также в информационной системе общего пользования - на официальном сайте разработчика (Минстрой России) в сети Интернет
Настоящий свод правил разработан в целях обеспечения требований Федерального закона от 30 декабря 2009 г.
N 384-ФЗ "Технический регламент о безопасности зданий и сооружений"
[1] с учетом требований федеральных законов от 29 декабря 2004 г.
N 190-ФЗ "Градостроительный кодекс Российской Федерации"
[2], от 21 июля 1997 г.
N 116-ФЗ "О промышленной безопасности опасных производственных объектов"
[3], в развитие и дополнение
СП 34.13330,
СП 39.13330,
СП 45.13330,
СП 119.13330.
Пересмотр свода правил разработан авторским коллективом в составе: ООО Компания "ТГМ" (руководитель темы - В.Н. Васильев; К.К. Гаевский; канд. техн. наук Е.В. Лизунов; В.О. Русинов); ОАО "Институт Гипростроймост" (В.И. Эдель, А.А. Бардаков); АО ЦНИИТС (д-р техн. наук, проф. А.А. Цернант; канд. техн. наук Н.А. Ефремов; канд. техн. наук А.Н. Ефремов); ООО "Лаборатория инженерной теплофизики" (д-р техн. наук, проф. Вад.В. Пассек; канд. техн. наук Вяч.В. Пассек; канд. техн. наук Г.М. Поз; канд. техн. наук В.П. Величко); АО "НИЦ "Строительство" - НИИОСП им. Н.М. Герсеванова (канд. техн. наук А.Г. Алексеев; П.М. Сазонов, Д.В. Зорин).
Настоящий свод правил распространяется на проектирование организации строительства, производство и оценку качества земляных работ, выполняемых способом гидромеханизации при возведении земляного полотна автомобильных и железных дорог, строительстве каналов, берегозащитных сооружений, портов и других гидротехнических сооружений, для разработки грунтовых притрассовых и строительных (добычных) карьеров общераспространенных полезных ископаемых, объектов строительной инфраструктуры, а также рекультивации шламохранилищ, хвостохранилищ, золоотвалов.
В настоящем своде правил использованы ссылки на следующие нормативные документы:
ГОСТ 12.1.007 Система стандартов безопасности труда. Вредные вещества. Классификация и общие требования безопасности
ГОСТ 12.2.011 Система стандартов безопасности труда. Машины строительные, дорожные и землеройные. Общие требования безопасности
ГОСТ 12.4.026 Система стандартов безопасности труда. Цвета сигнальные, знаки безопасности и разметка сигнальная. Назначение и правила применения. Общие технические требования и характеристики. Методы испытаний
ГОСТ 17.1.1.04 Охрана природы. Гидросфера. Классификация подземных вод по целям водопользования
ГОСТ 27751 Надежность строительных конструкций и оснований. Общие положения
ГОСТ 30416 Грунты. Лабораторные испытания. Общие положения
ГОСТ 30672 Грунты. Полевые испытания. Общие положения
ГОСТ Р 12.3.048 Система стандартов безопасности труда. Строительство. Производство земляных работ способом гидромеханизации. Требования безопасности
СП 22.13330 "СНиП 2.02.01-83* Основания зданий и сооружений" (с изменениями N 1, N 2, N 3, N 4)
СП 23.13330 "СНиП 2.02.02-85* Основания гидротехнических сооружений" (с изменением N 1)
СП 25.13330.2020 "СНиП 2.02.04-88 Основания и фундаменты на вечномерзлых грунтах" (с изменением N 1)
СП 39.13330 "СНиП 2.06.05-84* Плотины из грунтовых материалов" (с изменениями N 1, N 2, N 3)
СП 45.13330 "СНиП 3.02.01-87 Земляные сооружения, основания и фундаменты" (с изменениями N 1, N 2, N 3)
СП 47.13330 "СНиП 11-02-96 Инженерные изыскания для строительства. Основные положения" (с изменением N 1)
СП 48.13330 "СНиП 12-01-2004 Организация строительства" (с изменением N 1)
СП 58.13330 "СНиП 33-01-2003 Гидротехнические сооружения" (с изменением N 1)
СП 78.13330 "СНиП 3.06.03-85 Автомобильные дороги" (с изменениями N 1, N 2)
СП 119.13330 "СНиП 32-01-95 Железные дороги колеи 1520 мм" (с изменением N 1)
СП 317.1325800 Инженерно-геодезические изыскания для строительства. Общие правила производства работ (с изменением N 1)
СП 446.1325800 Инженерно-геологические изыскания для строительства. Общие правила производства работ (с изменением N 1)
СП 447.1325800 Железные дороги в районах вечной мерзлоты. Основные положения проектирования (с изменением N 1)
СП 482.1325800 Инженерно-гидрометеорологические изыскания для строительства. Общие правила производства работ
СП 493.1325800 Инженерные изыскания для строительства в районах распространения многолетнемерзлых грунтов. Общие требования
СП 502.1325800 Инженерно-экологические изыскания для строительства. Общие правила производства работ
СП 504.1325800 Инженерные изыскания для строительства на континентальном шельфе. Общие требования
Примечание - При пользовании настоящим сводом правил целесообразно проверить действие ссылочных документов в информационной системе общего пользования - на официальном сайте федерального органа исполнительной власти в сфере стандартизации в сети Интернет, на официальном сайте федерального органа исполнительной власти, разработавшего и утвердившего настоящий свод правил, или по ежегодному информационному указателю "Национальные стандарты", который опубликован по состоянию на 1 января текущего года, и по выпускам ежемесячного информационного указателя "Национальные стандарты" за текущий год. Если заменен ссылочный документ, на который дана недатированная ссылка, то рекомендуется использовать действующую версию этого документа с учетом всех внесенных в данную версию изменений. Если заменен ссылочный документ, на который дана датированная ссылка, то рекомендуется использовать версию этого документа с указанным выше годом утверждения (принятия). Если после утверждения настоящего свода правил в ссылочный документ, на который дана датированная ссылка, внесено изменение, затрагивающее положение, на которое дана ссылка, то это положение рекомендуется применять без учета данного изменения. Если ссылочный документ отменен без замены, то положение, в котором дана ссылка на него, рекомендуется применять в части, не затрагивающей эту ссылку. Сведения о действии сводов правил целесообразно проверить в Федеральном информационном фонде стандартов.
3 Термины, определения и сокращения
3.1 Термины и определения
В настоящем своде правил применены термины с соответствующими определениями:
3.1.1 водооборотная схема: Замкнутая система водоснабжения, обеспечивающая водой землесосный снаряд с возвратом ее с намываемого сооружения обратно в забой.
3.1.2 водосбросная канава: Профильная выемка для отвода осветленной воды с карты намыва.
3.1.3 водосбросной колодец: Устройство шандорного или другого типа с обеспечением регулировки уровня перелива для сбора и отвода осветленной воды с карты намыва.
3.1.4 водосбросная система: Комплекс устройств для удаления осветленной воды с карты намыва, включающий водосбросной колодец и трубы, водоотводные и дренажные канавы, прудок-отстойник.
3.1.5 вскрышные породы (вскрыша): Горные породы, перекрывающие сверху полезную толщу карьера.
3.1.6 выемка: Сооружение, расположенное ниже поверхности земли и выполненное путем разработки грунта по заданному профилю.
3.1.7 гидромеханизация: Способ производства земляных работ, при котором технологический процесс разработки, транспортирования и укладки грунта выполняют энергией движущегося потока воды в едином цикле.
3.1.8 гидромонитор: Устройство создания водяной струи для разрушения, размыва и перемещения грунта.
3.1.9 гидромониторно-землесосная установка: Комплекс оборудования гидромеханизации для разработки грунта гидромонитором и напорного транспортирования пульпы грунтовым насосом.
3.1.10 грунтовый карьер: Выемка, разрабатываемая в целях получения грунта для возведения земляного сооружения, не относящаяся к горнодобывающим предприятиям и объектам капитального строительства.
3.1.11
грунт многолетнемерзлый, грунт вечномерзлый: Грунт, находящийся в мерзлом состоянии постоянно в течение трех и более лет. |
3.1.12
грунт сезонномерзлый (сезонноталый): Грунт, находящийся в мерзлом или талом состоянии периодически в течение холодного или теплого сезона. |
3.1.13 дренажная (фильтрационная) канава: Выемка для перехвата воды, фильтрующейся через обвалование карты намыва, и отвода за пределы сооружения.
3.1.14 дюкер: Часть магистрального трубопровода, уложенная под водой при пересечении водоема, под насыпью автомобильной или железной дороги, расположенной в выемке.
3.1.15 землесосный снаряд (земснаряд): Плавучая землеройная машина, разрабатывающая грунт из-под воды и перемещающая его вместе с водой по напорным пульпопроводам к месту намыва (укладки).
3.1.16 зумпф: Емкость для сбора пульпы и воды.
3.1.17 карта намыва: Земляное сооружение или часть его, оконтуренная дамбами обвалования, на которой происходит осаждение грунта из потока пульпы.
3.1.18 намывной грунт: Техногенный грунт, разработанный, перемещенный и уложенный с помощью средств гидромеханизации.
3.1.19 обвалование: Дамба из грунта по периметру карты намыва для управления процессом намыва и формирования сооружения.
3.1.20 пионерный (первичный) котлован: Начальный котлован, разрабатываемый экскаваторами для аккумуляции воды и монтажа плавучего земснаряда в карьерах, удаленных от водотоков.
3.1.21 прудок-отстойник: Водоем, образующийся при выпуске пульпы на карту намыва, предназначенный для частичного осаждения частиц грунта и осветления воды.
3.1.22 пульпа (гидросмесь): Механическая смесь грунта и воды.
3.1.23 строительный (добычный) карьер: Карьер для разработки общераспространенных полезных ископаемых - местных строительных материалов (гравия, песка, супеси, суглинка, глины) как сырья для предприятий строительной индустрии или производства земляных работ - самостоятельный объект капитального строительства.
3.1.24 талик: Участок грунта с положительной температурой в массиве многолетнемерзлых грунтов.
3.1.25 штабель: Намытый в определенном порядке грунтовый массив, предназначенный для последующей отсыпки земляного сооружения или использования в качестве сырья на предприятии строительной индустрии.
3.2 Сокращения
В настоящем своде правил применены следующие сокращения:
ВЛ - воздушная линия электропередачи;
ГОК - горно-обогатительный комбинат;
ГСМ - горюче-смазочные материалы;
ИГЭ - инженерно-геологический элемент;
КИРВ - коэффициент использования рабочего времени;
КПД - коэффициент полезного действия;
КС - класс сооружений;
ЛЭП - линия электропередачи;
МНГС - морское нефтегазопромысловое гидротехническое сооружение;
ОВОС - оценка воздействий на окружающую среду;
ОПИ - общераспространенные полезные ископаемые;
ПОС - проект организации строительства;
ППР - проект производства работ;
СПДФ - станция приготовления и дозирования флокулянта;
ТКЗ - территориальная комиссия по государственной экспертизе запасов полезных ископаемых;
УГВ - уровень грунтовых вод.
4.1 Гидромеханизация земляных работ на объектах строительства
4.1.1 Земляные работы способом гидромеханизации технически рационально и экономически эффективно следует проектировать и выполнять при намыве насыпей железных и автомобильных дорог, территорий и площадей для промышленного и гражданского строительства, возведении грунтовых плотин и дамб, разработке каналов, дноуглубительных работах, устройстве гидроотвалов и шламохранилищ, гидравлической классификации и фракционировании дисперсных грунтов, заготовке грунтовых штабелей и резервов в ординарных и экстремальных природно-климатических условиях, в том числе на труднодоступных территориях, без развитой транспортной инфраструктуры и в районах распространения многолетнемерзлых грунтов, при строительстве объекта с большими сосредоточенными объемами земляных работ при наличии подводного или обводненного карьера грунта, воды в количестве, достаточном для разработки, гидравлического транспортирования и укладки разработанного грунта в намываемые массивы.
4.1.2 Основные технико-экономические преимущества производства земляных работ способом гидромеханизации:
- высокая производительность и технологичность работ - разработку, транспортирование и укладку грунта осуществляют в едином и непрерывном технологическом процессе;
- улучшение физико-механических характеристик и качества намываемого грунта, достигаемых в процессе намыва;
- использование обводненных грунтовых карьеров, расположенных на заболоченных или затапливаемых территориях;
- уменьшение площади отвода земли под карьер за счет увеличения глубины (до 30 - 45 м) разработки грунта земснарядом (при достаточной мощности залегания полезной толщи);
- возможность повышения биопродуктивности территорий и акваторий после рекультивации отработанных карьеров с учетом требований охраны природы и повышения рекреационного потенциала (разведение рыбы, зоны отдыха, пожарный водоем, круглогодичный водозабор и другое);
- сравнительно низкие удельные энергетические и трудовые затраты на 1 м3 намывного грунта и минимальные негативные воздействия на окружающую природную среду.
4.1.3 Основные преимущества производства земляных работ земснарядами в районах распространения многолетнемерзлых грунтов:
- устройство грунтового карьера на базе речных меандр и озер, обеспечивающее высокие экономические показатели разработки местных мелких и тонких дисперсных грунтов [в естественном (природном) сложении не пригодных для возведения насыпей железных и автомобильных дорог и других земляных сооружений нормального КС-2 или повышенного КС-3 уровня ответственности по
ГОСТ 27751];
- технологическая особенность производства земснарядами - непрерывно-поточный метод работ (земснаряды имеют сравнительно низкую стоимость и минимальные затраты на эксплуатацию, по сравнению с экскаваторами);
- карьер гидромеханизации занимает в 7 - 10 раз меньшую площадь, чем при разработке грунта экскаваторами, при равных объемах земляных работ, что особо значимо для восстановления экосистемы и местностей, приравненных к районам Крайнего Севера;
- устойчивость земляных сооружений из намывных грунтов к ветровой эрозии исключает или минимизирует загрязнение воздушной среды и трансграничных территорий мелкодисперсными частицами пыли;
- технология работ на береговых участках с формированием мелководных литоральных зон ускоряет восстановление водных экосистем в процессе рекультивации грунтовых карьеров гидромеханизации;
- технологии разработки грунтового карьера на глубину 10 - 15 м и более совпадают с рекомендуемым приемом экологической мелиорации водных объектов северных регионов;
- в отработанном карьере гидромеханизации, после его рекультивации, формируют среду обитания с высоким содержанием растворенного в воде кислорода, исключающую возможность проявления зимнего замора
<1>.
--------------------------------
<1> По истечении двух-трех лет в карьерах, разработанных на базе меандр и озер способом гидромеханизации, обитают все виды рыб, характерные для водных объектов Крайнего Севера.
4.1.4 Состав и этапы разработки проектной документации производства земляных работ способом гидромеханизации должны соответствовать
[5].
4.1.5 В проектной документации преимущества производства земляных работ способом гидромеханизации следует обосновать результатами сопоставительных технико-экономических расчетов по сравнению с другими способами выполнения этих работ.
4.2 Инженерные изыскания для земляных работ способом гидромеханизации
4.2.1 Разрабатывать проектную документацию раздела "Производство земляных работ способом гидромеханизации" следует на основании результатов инженерных изысканий, выполненных в соответствии с требованиями
СП 47.13330,
СП 317.1325800,
СП 446.1325800,
СП 482.1325800,
СП 502.1325800,
СП 504.1325800, требованиями к намыву грунтовых сооружений
СП 22.13330,
СП 23.13330,
СП 25.13330,
СП 34.13330,
СП 39.13330,
СП 45.13330,
СП 58.13330,
СП 78.13330,
СП 119.13330,
СП 447.1325800, и настоящего свода правил.
Инженерные изыскания для проектирования организации строительства и производства земляных работ способом гидромеханизации должны содержать:
- инженерно-топографические планы территории земляных работ в границах согласованного землеотвода (полосы отвода для линейных сооружений);
- данные рекогносцировочного обследования территории (участка трассы) размещения намывного сооружения;
- сведения об опасных природных и техногенных процессах и явлениях, влияющих на производство намывных работ;
- геологическое строение, геоморфологические, гидрологические и экологические условия территории и акватории водного объекта;
- состав, состояние и основные физико-механические характеристики грунтов карьера и оснований карт намыва;
- прогноз взаимодействия намывного сооружения с окружающей средой;
- данные об опорно-геодезической сети района для разработки и организации геодезических измерений объемов земляных работ и намыва сооружения на различных стадиях жизненного цикла;
- данные о закреплении в натуре границ карьеров и производственных участков гидромеханизации;
- геодезический план с границами водоохранной зоны, полосы отвода действующих и проектируемых железных и автомобильных дорог, охранных зон ЛЭП и подземных коммуникаций (с указанием контактов владельцев, эксплуатирующих организаций и компетентных лиц для получения согласований на выполнение проектно-изыскательских и строительных работ);
- результаты наблюдений за деформациями и осадками существующих объектов строительной инфраструктуры в зоне вероятного влияния намывного сооружения.
4.2.2 Материалы инженерно-гидрометеорологических изысканий должны содержать следующие данные:
- гидрологические режимы водного объекта с указанием максимальных и минимальных расходов и уровней воды;
- сведения о русловых процессах, плановых и высотных деформациях берегов водных объектов;
- сведения о климатических условиях, количестве атмосферных осадков, изменениях температуры за год, глубине промерзания грунтов, высоте снежного покрова, наличии мерзлых грунтов.
4.2.3 Результаты инженерно-геологических изысканий должны содержать следующие сведения о карьере грунта, основаниях карт намыва и трасс магистральных трубопроводов:
- объемы и методы изысканий, инженерно-геологические разрезы и колонки скважин с ИГЭ;
- результаты полевых и лабораторных испытаний грунтов, в том числе вскрышных пород с оценкой условия, что для технически и экономически эффективного производства земляных работ способом гидромеханизации соотношение мощности вскрыши к мощности слоя полезной толщи грунтового карьера должно быть не ниже 1:4 по массе грунта. При невыполнении соотношения 1:4 следует обосновать пригодность карьера для земляных работ способом гидромеханизации на основе результатов технико-экономических расчетов или проектировать раздельную разработку грунтов вскрыши и грунтов полезной толщи карьера;
- согласования с местной администрацией, природоохранными организациями, владельцами участков земли на инженерно-геологическую разведку, проектирование и разработку грунтового карьера способом гидромеханизации в соответствии с
СП 48.13330.
Для проектирования и производства земляных работ способом гидромеханизации должны быть получены соответствующие разрешения, установленные
[2],
[6].
Оформления горного отвода и утверждения запасов ОПИ грунтового карьера не требуется
(приложение А). Необходимо и достаточно оформление временного отвода в составе объекта строительства, так как разработка грунтового карьера (выемки) входит в единый технологический комплекс строительства объекта.
4.2.4 Количество (объем) грунта в карьере для земляных работ способом гидромеханизации следует определять путем суммирования объема намываемого сооружения по проекту и нормируемых потерь по
СП 45.13330 и
приложению Б.
Потери грунта при разработке обводненных карьеров способом гидромеханизации следует определять по объектам-аналогам и результатам опытных работ.
4.2.5 По результатам инженерно-геологических изысканий следует определить свойства грунтов в карьере, приведенные в
таблице 4.1, которые в прямой зависимости определяют техническую и экономическую эффективность технологических процессов разработки грунтов способом гидромеханизации.
Таблица 4.1
Зависимость технологических процессов гидромеханизации
от физико-механических свойств грунтов в карьере
Технологический процесс | Физико-механические свойства грунта |
Размыв грунта гидромонитором | Плотность, гранулометрический состав, коэффициент сцепления, угол внутреннего трения, размягчаемость <1> частиц грунта в воде, пластичность |
Разработка грунта земснарядом | Гранулометрический состав, плотность, коэффициент сцепления, угол внутреннего трения, пластичность, липкость <2>, форма частиц, засоренность грунтов карьера |
Гидротранспорт грунта | Гранулометрический состав, плотность частиц грунта, гидравлическая крупность, форма частиц, абразивность частиц грунта |
Намыв сооружений и укладка грунта в отвалы | Гранулометрический состав, коэффициент фильтрации, водоудерживающая способность, гидравлическая крупность, плотность, угол внутреннего трения, коэффициент сцепления, набухание <3> |
Попутное обогащение | Плотность, коэффициент сцепления, угол внутреннего трения, растворимость <4> и размягчаемость в воде, пластичность, гранулометрический состав, коэффициент фильтрации, измельчаемость при гидравлическом транспортировании |
|
4.2.6 При проведении инженерно-геологических изысканий следует, в соответствии с требованиями
ГОСТ 25100, установить значение сопротивления недренированному сдвигу
cu, МПа, грунтов в карьере для расчетов и проектирования удельных расходов воды на разработку (размыв) 1 м
3 грунта.
В
таблице 4.2 приведены средние удельные расходы воды на разработку (размыв) 1 м
3 грунта в карьере в зависимости от сопротивления недренированному сдвигу
cu, МПа. Из
таблицы 4.2 следует, что чем больше сопротивление недренированному сдвигу грунта
cu, МПа, тем грунт прочнее и тем больше удельный расход воды
qв требуется на размыв 1 м
3 грунта.
Таблица 4.2
Удельные расходы воды на размыв 1 м3 грунта qв в зависимости
от сопротивления недренированному сдвигу грунта cu
Тип грунта | Сопротивление недренированному сдвигу грунта cu, МПа | Удельный расход воды на размыв 1 м3 грунта qв, м3 |
Пески пылеватые | 0,004 - 0,008 | 4 - 6 |
Супеси | 0,007 - 0,042 | 4 - 10 |
Суглинки | 0,019 - 0,068 | 10 - 16 |
Глины легкие | 0,037 - 0,082 | 12 - 18 |
Глины тяжелые | 0,047 - 0,094 | 14 - 20 |
4.2.7 При проведении инженерно-геологических изысканий для производства земляных работ способом гидромеханизации с целью проектирования процессов грунтозабора с оптимальными параметрами следует установить коэффициент разрыхления - отношение объема грунта в разрыхленном виде при отделении от массива к его же объему в массиве грунта.
4.2.8 Инженерно-геодезические изыскания должны содержать топографо-геодезические материалы по грунтовому карьеру, участкам намыва, водозаборным сооружениям, отстойникам, пульпопроводам и водоводам, ЛЭП, линиям связи и другим сооружениям.
4.2.9 Результаты инженерно-экологических изысканий при проектировании земляных работ способом гидромеханизации должны соответствовать требованиям
СП 45.13330,
СП 47.13330 и
[6].
4.2.10 Гидравлическая крупность частиц грунта

, см/с, - скорость осаждения частиц грунта в стоячей воде. Гидравлическая крупность зависит от формы частиц, их удельного веса и температуры воды, °C. По гидравлической крупности проектируют процессы грунтозабора, намыва грунта и осветления оборотной воды. В расчетах принято различать гидравлическую крупность частиц грунта в условиях свободного осаждения (осаждение одной частицы)

или в условиях стесненного осаждения (осаждение многих частиц)

в стоячей воде.
Скорость

, см/с, осаждения частицы грунта следует определять по формуле

(4.1)
где

- безразмерный параметр, аналогичный числу Рейнольдса;

- кинематический коэффициент вязкости, см
2/с;
d - диаметр частицы, см.
По результатам инженерно-экологических изысканий, при необходимости, следует разработать мероприятия компенсации и возмещения ущерба водным ресурсам и рыбным запасам, которые следует согласовать с региональной природоохранной организацией и включить затраты на их реализацию в сводный сметный расчет.
4.2.11 В составе инженерных изысканий следует определить возможности существующей транспортной инфраструктуры для доставки строительных машин, оборудования и материалов на объект строительства, а также состояние водных путей для проводки по ним земснарядов, барж с трубами пульпопроводов и выполнения логистических работ.
4.3 Подготовительные работы
4.3.1 Основные подготовительные работы по
СП 48.13330 выполняет застройщик (заказчик), который получает разрешение на строительство, заключает договоры подряда, обеспечивает производителей работ проектной документацией, прошедшей соответствующую экспертизу и получившей разрешение на строительство, извещает органы государственного надзора (контроля) о начале строительно-монтажных работ на объекте.
4.3.2 В подготовительный период следует выполнить:
- геодезическую разбивку границ грунтового карьера, осей намываемых сооружений, пульпопроводов, канав, дамб с устройством реперов и установкой соответствующих знаков и сопоставление фактических мест расположения коммуникаций с топографической основой;
- установить основные и контрольные водомерные рейки с увязкой их высотного положения с отсчетными уровнями и геодезическими реперами;
- установить в зоне производства работ знаки о предельно допустимом приближении гидромонитора или земснаряда к подводным кабелям, трубопроводам и местам расположения прочих подводных и надводных сооружений;
- подготовить причальные сооружения, трапы для безопасного прохода по звеньям плавучего пульпопровода, грунтовые якоря для рабочих перемещений земснаряда в карьере;
- подготовить пионерный котлован для монтажа земснаряда и размещения его в грунтовом карьере.
4.3.3 При разработке ППР для подготовительного периода следует предусматривать следующие работы:
- снятие и складирование плодородного слоя грунта (допускается не снимать плодородный слой: при толщине плодородного слоя менее 10 см; на болотах, заболоченных и обводненных участках; участках с кочкой; торфяниках), удаление пней, строительного мусора, валунов и т.п. негабаритных включений с поверхности территории грунтового карьера, карты намыва, трасс пульпопроводов и водоводов;
- перенос по проекту существующих ЛЭП, линий связи, коллекторов и др.;
- проведение реконструкции и усиления (при необходимости) автомобильных дорог на территории производства земляных работ способом гидромеханизации и подготовку всесезонных проездов транспортных средств к земснарядам, грунтовым карьерам, картам намыва, пульпопроводам, вахтовому комплексу с обустройством (при необходимости) выездов и заездов на дороги общего пользования;
- завершение устройства вахтового комплекса, временных производственных, складских и ремонтных зданий и сооружений;
- передислоцирование водным путем, автомобильным или железнодорожным транспортом на площадку строительства земснаряда или гидромонитора с насосно-землесосным комплексом;
- завершение монтажа гидромонитора или земснаряда, пульпопроводов, линий электроснабжения и связи;
- выполнение по проекту устройства водообеспечения средств гидромеханизации с подачей воды в карьер самотеком или насосами и организацию возврата осветленной воды с карт намыва в карьер;
4.4 Водообеспечение средств гидромеханизации
4.4.1 Возможность производства земляных работ способом гидромеханизации следует определять по результатам инженерно-гидрометеорологических изысканий, проводимых в соответствии с требованиями
СП 47.13330 и
СП 482.1325800, в зависимости от условий водообеспечения средств гидромеханизации: гидромониторов, земснарядов, гидравлических классификаторов.
4.4.2 По результатам инженерно-гидрометеорологических изысканий, проводимых в соответствии с требованиями
СП 47.13330 и
СП 482.1325800, и в зависимости от источника водообеспечения следует проектировать прямоточное и оборотное водоснабжение средств гидромеханизации с использованием:
- воды поверхностных водных объектов (рек, озер, болот);
- грунтовых и подземных вод;
- атмосферных осадков и снеготаяния.
4.4.3 Прямое водообеспечение следует применять для водных объектов (река, озеро) с практически неограниченным дебитом и постоянным уровнем воды.
При ограниченном дебите воду следует подавать в грунтовый карьер гидромеханизации из другого источника самотеком по траншее или насосами по водоводам. В грунтовый карьер, отделенный от водного объекта перемычкой, воду следует подавать по трубе с задвижкой.
4.4.4 Применение прямоточного водообеспечения средств гидромеханизации допускается как исключение при технико-экономическом обосновании и по согласованию с федеральным органом исполнительной власти по надзору в области охраны водных объектов за использованием водных объектов.
4.4.5 Способы водообеспечения гидромонитора или земснаряда в карьере приведены в
таблице 4.3.
Таблица 4.3
Водообеспечение земснаряда в карьере
Схема водообеспечения | Способ подачи воды | Условие применения |
Прямое | Самотечное | УК <= УИ |
Подача насосами | УК > УИ |
Оборотное | Самотечное | - |
Подача насосами | - |
Использование подземных вод | Фильтрация через откосы и дно карьера | УК < УИ |
Смешанное | - |
Подача насосами | УК > УИ |
Примечание - УК и УИ (УИ - уровень исходный) - уровни воды в карьере и водном объекте соответственно. |
4.4.6 При прямом водообеспечении минимально допустимый расход воды Qмин, м3/ч, следует определять по формуле

(4.2)
где Qг - производительность гидроустановок по грунту, м3/ч;
qв - удельный расход воды на разработку 1 м3 грунта гидромонитором или земснарядом, м3;

- суммарные потери воды на испарение, фильтрацию и т.п., м
3/ч (в среднем равна 5% - 10% (
Qг·
qв), м
3);
N - принятое в ППР и ПОС количество работающих в карьере машин гидромеханизации.
4.4.7 Расход воды (дебит) Qд, м3/сут, поступающей в карьер из водоносных слоев грунта за счет фильтрации, следует определять по формуле
Qд = qвL, (4.3)
где qв - расход воды, поступающей с 1 пог. м в котлован за сутки, м3/сут;
L - длина стенок котлована, с учетом направления течения подземных вод, м.
4.4.8 Расход воды qв, м3/сут, поступающей с 1 пог. м в котлован за сутки следует определять по формуле
qв = Kф(Hв - hк)/Rот, (4.4)
Hв - мощность водоносного слоя до отметки дна котлована, м;
hк - глубина воды в котловане при откачке, м;
Rот - радиус влияния откачки или понижения (депрессии) уровня, м, определяемый по
таблице 4.4.
Таблица 4.4
Радиус влияния откачки Rот для различных грунтов
Тип грунта откоса котлована | Значение Rот, м |
Галечниковые грунты | 400 - 600 |
Песок крупный | 200 - 400 |
- средней крупности | 100 - 200 |
- мелкий | 50 - 100 |
4.4.9 При прямом водообеспечении средств гидромеханизации воду, до ее сброса в водный объект, следует осветлять в соответствии с
[6] и расчетом степени очистки (допустимой мутности) сбросной воды
(приложение В).
4.4.10 При оборотном водообеспечении осветленную воду подают в карьер самотеком по траншеям или водоводам с помощью насосных станций. Для откачки осветленной воды следует применять только грунтовые насосы, в связи с наличием в воде абразивных частиц грунта.
4.5 Проектирование и монтаж пульпопроводов и водоводов
4.5.1 Пульпопроводы и водоводы - основные системы гидравлического транспортирования пульпы от грунтового карьера до карты намыва, проектировать которые следует в соответствии с
СП 45.13330.
Магистральные пульпопроводы и водоводы через естественные и искусственные сооружения: водные объекты, дороги, ЛЭП, другие инженерные коммуникации (газопроводы, нефтепроводы и другие) следует прокладывать по проекту, разработанному в соответствии с техническими условиями, выдаваемыми владельцами сооружений, с которыми данный проект следует согласовать.
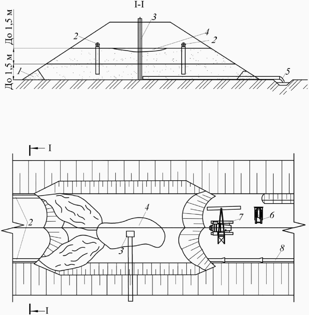
Схемы поперечных сечений устройства инженерных коммуникаций (водосбросных и фильтрационных канав, пульпопроводов и водоводов, технологических дорог, линий электропередачи) приведены в
приложении Г.
4.5.2 Геодезическую съемку и инженерно-геологические изыскания грунтовых оснований под трассы пульпопроводов и водоводов следует выполнять в общем комплексе инженерных изысканий по объекту строительства.
4.5.3 Пульпопроводы и водоводы следует проектировать и монтировать из стальных бесшовных, прямошовных и спиралешовных труб диаметром Dу = 200 - 820 мм, с электросварными, фланцевыми и быстроразъемными (разводящие пульпопроводы на картах намыва) соединениями и соответствующей арматурой (задвижки, обратные клапаны и т.п.).
4.5.4 Пульпопроводы, транспортирующие пульпу под давлением до 0,5 МПа, следует проектировать из стальных тонкостенных труб со стенкой толщиной до 8 мм. При давлении свыше 0,5 МПа следует проектировать пульпопроводы из стальных толстостенных труб со стенкой толщиной более 8 мм.
Предельно допустимые объемы гидротранспорта грунта по стальным трубам пульпопроводов и нормативный износ труб приведены в
[7].
4.5.5 Трассу пульпопроводов и водоводов следует проектировать в полосе временного земельного отвода, по возможно короткому пути, исключая резкие повороты в плане, подъемы и спуски в профиле.
4.5.6 Вдоль трасс пульпопроводов и водоводов следует проектировать временную грунтовую дорогу для завоза и монтажа труб, осмотра технического состояния и текущего обслуживания в период эксплуатации.
4.5.7 Пульпопроводы и водоводы следует монтировать поточно-плетевым способом, сваривая на трубосборочной площадке плети (секции) труб длиной от 30 до 36 м. Плети (секции) следует доставлять к месту монтажа трубоукладчиками грузоподъемностью от 5 до 7 т, соединять и укладывать по проекту.
4.5.8 При пересечении оврагов и балок трубы пульпопроводов и водоводов следует укладывать на эстакады, расстояние между опорами которой следует определять расчетом.
4.5.9 На пульпопроводах, в указанных по проекту местах, следует устраивать сбросные выпуски для аварийного и технически необходимого (для ремонта и перед зимним отстоем) опорожнения и люки ревизии для промывки, в случае заиления грунтом.
4.5.10 Пульпопроводы на прямолинейных участках и поворотах следует закреплять анкерами, во избежание смещений и разрыва труб от действия центробежных сил потока пульпы и гидравлического удара.
4.5.11 В проекты конструкции пульпопроводов и водоводов следует включать следующие технические средства для регулирования и управления их работой, обеспечивающие их надежную и безопасную эксплуатацию:
- температурные компенсаторы;
- переключатели пульпы;
- выпуски;
- люки-ревизии;
- вантузы;
- обратные клапаны;
- задвижки и вентили.
4.5.12 На прямолинейных участках пульпопроводов, подверженных колебаниям температуры, через расстояния от 300 до 500 м следует проектировать сальниковые компенсаторы, минимальное число которых Nск, шт., определяют по формуле

(4.5)
где L - длина прямолинейного участка трубопровода, м;

- коэффициент линейного расширения материала трубопровода (для стальных труб

);
tmax - tmin - алгебраическая разность между максимальной и минимальной температурами воздуха;
l - ход компенсатора, м; для стальных труб равный 0,25 м.
4.5.13 Проектировать пульпопроводы и водоводы следует с условием защиты от гидравлического удара. В трубопроводе с резким повышением давления гидравлический удар возникает перед дюкером, после дюкера, перед перекачивающей станцией, а также после перекачивающей станции:
- при внезапной остановке грунтового насоса земснаряда;
- нарушении правил пуска и остановки грунтового насоса;
- резком закрытии запорной арматуры;
- скоплении воздуха в повышенных участках пульпопровода;
- закупорке грунтом пульпопровода или завале всасывающего устройства;
- резком изменении консистенции пульпы, ее скорости и пульсации давления, разрыве сплошности потока пульпы, срыве вакуума и т.п.
4.5.14 Возникающее при гидравлическом ударе давление P, Па, в трубах пульпопровода или водовода следует определять по формуле

(4.6)
где

- плотность пульпы, кг/м
3;
C - скорость распространения ударной волны в жидкости, равная 1300 м/с;
v - скорость движения жидкости, м/с.
4.5.15 Избыточное давление, возникающее при гидравлическом ударе, в 10 раз и более превышает рабочее - причина аварии земснаряда и его напорного пульпопровода. Значения предельного давления на разрыв основного оборудования гидромеханизации, МПа, приведены в
таблице 4.5.
Таблица 4.5
Предельное давление на разрыв
основного оборудования гидромеханизации
Наименование оборудования | Значение предельного давления, МПа |
Корпус грунтового насоса | 4,5 |
Обратный клапан диаметром 250 - 800 мм стальной сварной | 2,5 |
То же, литой | 5,0 |
Задвижка чугунная Dу 500 мм | 3,0 |
4.5.16 Для предотвращения гидравлического удара следует:
- избегать резких поворотов и изгибов пульпопроводов. Минимальный радиус поворота согласно
СП 45.13330 следует принимать в диапазоне от 3
Dн до 6
Dн, где
Dн - наружный диаметр пульпопровода с отклонением +/- 10%;
- определять номинальную толщину стенок труб пульпопровода расчетом из условия прочности, с учетом гидроабразивного износа и при минимально допускаемой толщине стенки труб не менее 3 мм;
- соблюдать правила эксплуатации гидравлической системы: земснаряд - пульпопровод - перекачивающая станция. Проектировать на перекачивающих станциях обводные линии пульпопровода с возможностью пропуска потока пульпы в обход грунтового насоса перекачивающей станции;
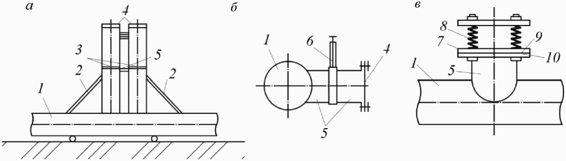
- включать в проект пульпопровода устройства для смягчения гидравлического удара, схемы конструкции которых приведены на
рисунке 4.1.
а - сдвоенные уравнительные воздушные колонны;
б - предохранительный патрубок; в - демпфер;
1 - пульпопровод; 2 - подкосы; 3 - уравнительные воздушные
колонны; 4 - заглушки; 5 - патрубки; 6 - шиберная заслонка;
7 - крышка; 8 - пружины; 9 - резиновая прокладка;
10 - фланец
Рисунок 4.1 - Устройства для смягчения гидравлического удара
4.5.17 В проекте производства работ и инструкции по производству земляных работ следует указывать, что запуск и остановка грунтовых насосов земснаряда и станции перекачки допускаются только на чистой воде. Продолжительность промывки t, с, определяют по формуле
t = Lтр/vср, (4.7)
где Lтр - длина пульпопровода, м;
vср - средняя скорость воды, м/с.
В местах резких переломов профиля пульпопровода и на входе и выходе дюкеров устанавливают впускные и выпускные клапаны для удаления воздуха (вантузы).
4.5.18 Пересечения пульпопроводами и водоводами действующих автомобильных и железных дорог следует проектировать согласно требованиям
СП 34.13330,
СП 78.13330,
СП 119.13330,
СП 447.1325800 и согласовывать с организациями, эксплуатирующими данные объекты.
4.5.19 Пульпопроводы и водоводы на участках пересечения железных и автомобильных дорог следует проектировать в защитных кожухах, конструкцией которых должны быть исключены дополнительные нагрузки и воздействия на трубы, обеспечена безопасная эксплуатация дороги и возможность замены труб при их абразивном износе. Диаметры защитных кожухов для труб пульпопроводов и водоводов приведены в
таблице 4.6.
Таблица 4.6
Диаметр кожуха в зависимости от диаметра труб
пульпопроводов и водоводов
Диаметр трубы, мм | 219 - 273 | 325 - 377 | 426 | 530 | 630 | 720 |
Диаметр кожуха, мм | 426 | 530 | 630 | 720 | 820 | 920 |
4.5.20 Длину защитных кожухов, с целью предотвращения размыва дорожных насыпей в случае аварии, следует принимать:
- не менее 25 м от осей крайних путей железной дороги общего назначения;
- не менее 15 м от осей промышленной железной дороги;
- не менее 10 м от бровки насыпи автомобильной дороги.
4.5.21 Угол пересечения магистрального пульпопровода и водовода с сооружением следует принимать близким к прямому и не менее 60°.
4.5.22 При сближении или параллельном следовании пульпопровода или водовода с ВЛ наименьшие допустимые расстояния следует проектировать в соответствии с
таблицей 4.7 и согласовывать проектные решения с организациями, эксплуатирующими эти объекты.
Таблица 4.7
Наименьшие допустимые расстояния пульпопровода
или водовода с ВЛ
Пересечение или сближение | Наименьшее расстояние по вертикали, м, при напряжении ВЛ, кВ |
До 20 | 35 - 110 | 150 | 220 | 330 | 500 |
От провода ВЛ до верхней части пульпопровода | 3,0 | 4,0 | 4,5 | 5,0 | 6,0 | 6,6 |
При параллельном следовании от крайнего провода ВЛ до любой части пульпопровода | Не менее 25,0 |
В стесненных условиях от опоры ВЛ до любой части пульпопровода | 3,0 | 4,0 | 4,5 | 5,0 | 6,0 | 6,5 |
4.5.23 Для проектирования трассы магистрального пульпопровода или водовода, расположенного вблизи кабельной электролинии, следует указывать глубину заложения кабеля и напряжение тока в нем.
Для продуктопровода (нефтепровода или газопровода) следует указывать его расположение (наземный, подземный), глубину заложения, диаметр труб, а для газопровода - рабочее давление.
4.5.24 Места переходов пульпопроводов и водоводов через реки следует выбирать ниже по течению реки от моста, пристани и водозабора. Не допускается располагать такие переходы выше по течению реки и на расстояниях менее:
- 300 м от моста или гидротехнического сооружения;
- 100 м от пристани или речного вокзала;
- 500 м от водозабора при диаметре трубопровода до 500 мм и 1000 м при диаметре более 500 мм.
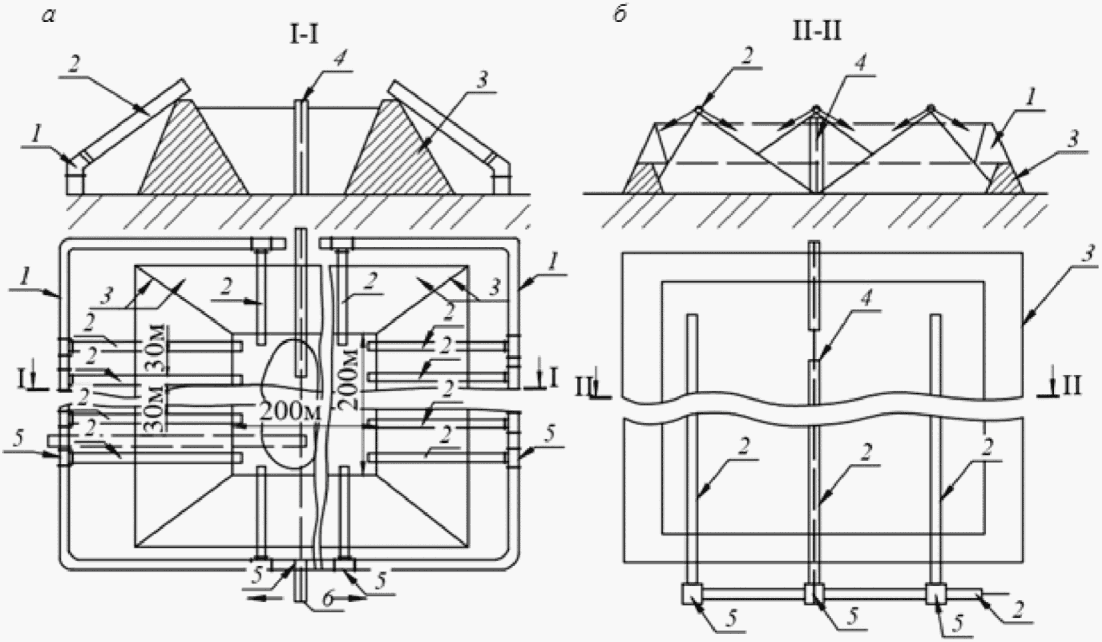
4.5.25 Пульпопроводы и водоводы при пересечении рек и каналов следует проектировать в виде дюкера
(рисунок 4.2).
1 - вантуз и обратный клапан; 2 - береговой спуск;
3 - трубопровод (дюкер) в траншее; 4 - траншея;
5 - бульдозер-трубоукладчик
Дюкеры в зависимости от требований владельцев водотока и органов надзора укладывают по дну или в заранее подготовленную траншею.
4.5.26 Дюкер следует проектировать на основании данных инженерно-гидрометеорологических и инженерно-геологических изысканий и технических условий бассейнового управления водного пути, органов охраны вод и рыбного надзора, с которыми проектная документация дюкера должна быть согласована.
4.5.27 Трассу дюкера на судоходных реках следует проектировать на прямолинейном участке с минимальной шириной реки, перпендикулярно к оси течения, участке с пологими берегами, устойчивыми к размыву.
Во избежание повреждения следует проектировать укладку дюкера с заглублением в дно реки (траншею) с прогнозированием возможных деформаций русла и производства дноуглубительных работ. Верх дюкера должен находиться не менее 1 м от естественного дна реки в пределах фарватера.
Укладка дюкеров в период паводка и ледохода не допускается. Способ укладки дюкера в паводок при ширине водотока до 200 м и скорости течения воды не более 0,5 м/с определяют в проекте.
4.5.28 При отсутствии судоходства на водном объекте вместо дюкера из стальных труб на дно реки временно следует укладывать дюкер из гибких труб с шаровыми соединениями (через две-три трубы), которые копируют микрорельеф дна. При пересечении несудоходных рек, проток, стариц небольшой ширины магистральный пульпопровод следует укладывать на плавучих понтонах или по эстакаде (при глубине не более 1,5 м).
При укладке дюкера на эстакады следует проектировать защиту опор эстакады от ледовых нагрузок и воздействий. Эстакадный вариант перехода водного объекта следует использовать только в качестве временного.
4.5.29 Во избежание повреждения дюкера якорями судов трубы следует укладывать с заглублением в дно реки (в траншею) с учетом возможных деформаций русла и перспективных дноуглубительных работ. Верх труб дюкера должен находиться на глубине не менее 1 м от естественного дна реки в пределах фарватера, а на остальных участках на глубине не менее 0,5 м.
4.5.30 Ширину подводной траншеи по дну B, м, при укладке в нее нескольких ниток пульпопроводов (трубопроводов) следует определять по формуле
B =
nDн +
a(
n - 1) + 2
b, (4.8)
где n - число трубопроводов, укладываемых в траншее;
Dн - наружный диаметр пульпопровода с учетом пригрузки, м;
a и
b - расстояния между трубопроводами и трубопроводами и откосами траншеи соответственно, м
(таблица 4.8).
Таблица 4.8
Расстояния между трубопроводами и трубопроводами
и откосами траншеи
Наружный диаметр трубопровода, мм | a, м | b, м |
До 530 | 0,7 | 0,5 |
520 - 630 | 0,8 - 0,9 | 0,6 - 0,7 |
720 - 820 | 1,0 - 1,2 | 0,7 - 0,8 |
920 - 1020 | 1,3 - 1,5 | 0,8 - 1,0 |
4.5.31 Объемы земляных работ подводной траншеи следует определять с учетом технологических переборов грунта по
СП 45.13330 и очистки траншеи от илистых наносов перед укладкой в нее труб дюкера. В
таблице 4.9 приведены заложения откосов подводной траншеи; в
таблице 4.10 - предельное заложение откосов обводненных береговых траншей для укладки дюкера и
таблице 4.11 - способы разработки грунтов, которые следует принимать при проектировании и производстве строительно-монтажных работ по укладке дюкера пульпопровода и водовода.
Таблица 4.9
Заложение откосов подводных траншей для укладки дюкера
Грунт | Заложение откосов при глубине траншеи, м |
до 2,5 включ. | более 2,5 |
Песок: | | |
- пылеватый и мелкий | 1:2 - 2,5 | 1:2,5 - 3 |
- средней крупности | 1:1,5 | 1:1,8 |
- крупный | 1:1,8 | 1:2,3 |
- гравийный и галечниковый | 1:1,5 | 1:1,2 |
Супеси | 1:1 | 1:1,5 |
Суглинки | 1:0,5 | 1:1 |
Глины | 1:0,5 | 1:4 |
Предварительно разрыхленный скальный | По результатам испытаний |
Ил | То же |
Таблица 4.10
Заложение откосов береговых траншей для укладки дюкера
Грунт | Заложение откосов при глубине траншеи, м |
до 2,0 включ. | более 2,0 |
Песок: | | |
- пылеватый и мелкий | 1:1,5 | 1:2 |
- средней крупности | 1:1,5 | 1:1,8 |
- крупный | 1:1,25 | 1:1,5 |
- гравийный и галечниковый | 1:0,75 | 1:1 |
Суглинки | 1:0,67 | 1:1,25 |
Глины | 1:0,5 | 1:0,75 |
Таблица 4.11
Минимальная ширина подводной траншеи
в зависимости от способа разработки грунта
Способ разработки грунта | Минимальная ширина траншеи, м |
Земснаряд с папильонированием | 5,0 - 10,0 |
Гидромонитор | 2,5 - 3,0 |
Водолаз с гидроэлеватором | 1,5 - 2,0 |
- с пневматическим грунтоносом | 1,2 - 1,5 |
- с гидромонитором | 1,5 - 2,0 |
Результаты расчетов ширины траншеи для укладки пульпопровода по
формуле (4.8) с учетом заложения откосов (
таблицы 4.9,
4.10) следует сопоставить и, при необходимости, откорректировать в зависимости от способа разработки грунта, приведенного в
таблице 4.11.
4.5.32 На участке дюкера следует проектировать гидравлическое транспортирование пульпы по пульпопроводу со скоростью течения выше критической, исключая вероятность заиления. При этом следует предусматривать ускоренную замену труб вследствие абразивного износа, особенно при гидротранспорте гравийно-песчаных грунтов. Дюкеры следует проектировать из труб со стенками толщиной свыше 8 мм.
4.5.33 Диаметр труб пульпопровода на участке дюкера следует принимать меньше диаметра труб берегового пульпопровода на один размер условного прохода во избежание работы пульпопровода на участке дюкера в заиленном режиме. Трубы пульпопровода на участке дюкера следует проектировать электросварными и стыковыми со скосом двух кромок. Для усиления стыков следует применять лепестковые муфты и накладки.
4.5.34 Перекачивающую станцию следует устанавливать на берегу за дюкером во избежание повышенного напора в пульпопроводе и разрыва труб, которые в случае разрыва не ремонтируют, а заменяют на новые.
4.5.35 Способ укладки дюкера следует разрабатывать в ППР.
Проектируют следующие технологические схемы укладки подводных дюкеров (пульпопроводов):
- укладку трубопровода со льда способом свободного погружения;
- протаскивание по дну реки с предварительным монтажом трубопровода на полную длину в створе перехода;
- монтаж пульпопровода на централизованной площадке, буксировка в створ на плаву и погружение на дно.
4.5.36 При погружении со льда дюкер монтируют рядом с прорезью (майной), которую прорубают по оси створа над подводной траншеей. Трубы дюкера сталкивают в прорезь, заливают водой и погружают на дно.
4.5.37 При укладке способом протаскивания по дну реки дюкер, изготовленный на берегу в створе подводной траншеи, перемещают тяговым тросом с помощью тракторов или лебедки с полиспастом, расположенной на противоположном берегу, протягивают по дну реки в траншею.
Расчетное тяговое усилие P, необходимое для протаскивания дюкера по дну реки, следует определять по формуле
P = KQfтр = KqтLтрfтр, (4.9)
где K - коэффициент трогания с места, значением от 1,5 до 2,0;
Q - нагрузка (от трубопровода), Н;
qт - вес 1 м отрезка трубопровода, Н;
Lтр - длина трубопровода, м.
Таблица 4.12
Коэффициент трения скольжения fтр
Поверхность, по которой протаскивают стальной дюкер | Значение коэффициента трения fтр при скольжении |
по сухой поверхности | в воде |
Сталь без смазки | 0,20 | 0,44 |
То же, со смазкой | 0,12 | - |
Лед | 0,02 | - |
Суглинок, супесь, мягкий глинистый или илистый грунт | - | 0,32 |
Мелкопесчаный и галечниковый грунт | - | 0,38 - 0,42 |
Плотная скала | - | 0,45 |
Булыжник и взорванная скала | - | 0,50 |
Снег | 0,03 | - |
Тяговое усилие на крюке трактора (тягача) P определяют по формуле

(4.10)
где Qсц - сцепная масса трактора (тягача), принимаемая для гусеничных машин равной 0,9 их массы, для тягачей - 0,75 их массы, кг;
fсц - коэффициент сцепления колес или гусениц с поверхностным покровом, зависящий от вида грунта
(таблица 4.13).
Таблица 4.13
Коэффициент сцепления колес или гусениц
с поверхностным покровом, зависящий от вида грунта
Грунт | Значение fсц |
Глинистые грунты полутвердые и твердые среднеуплотненные и сильноуплотненные | 0,8 - 1,0 |
Пески малой степени водонасыщения | 0,3 - 0,4 |
Пески средней степени водонасыщения и водонасыщенные | 0,4 - 0,5 |
Почвенно-растительный слой | 0,7 - 1,2 |
Для снижения тягового усилия Hл на крюке тягача применяют систему полиспастов, определяя усилие по формуле
Hл = (1 + n/K)/1 + nP, (4.11)
где n - суммарное число шкивов в блоках полиспаста;
K - коэффициент, принимаемый для стального каната равным 10 и для пенькового - 6;
P - расчетное тяговое усилие, Н (по тяговому усилию рассчитывают необходимый диаметр каната).
Преимущества укладки дюкера способом протаскивания: возможность выполнения работ в любое время года без остановки судоходства, отсутствие влияния действия волн и ветра, малая продолжительность работ.
4.5.38 При укладке свободным погружением дюкер с заваренными наглухо торцами выводится на плаву в створ траншеи. С одного берегового конца в него закачивают воду, выпуская воздух через вентиль на другом конце, и дюкер погружается на дно реки в подготовленную траншею.
4.5.39 Трубопровод с заглушками по торцам следует перемещать буксирными катерами мощностью не менее 110 кВт. Тяговое усилие P для буксировки трубопровода следует определять по формуле

(4.12)
где f = 0,3 - 0,4 - коэффициент трения воды о смоченную поверхность;
s - площадь смоченной поверхности трубопровода, м2;
v - скорость буксировки, м/с.
4.5.40 До и после опускания в траншею пульпопровод на участке дюкера следует испытывать на герметичность путем подачи воды или воздуха давлением, превышающим рабочее на 50%, но не менее 1 МПа и выдержкой этого давления не менее часа.
4.5.41 После укладки дюкера в траншею следует обследовать его техническое состояние водолазами и составить акт на скрытые работы по
СП 48.13330. Затем дюкер и траншею следует замыть грунтом с помощью земснаряда или засыпать грунтом из шаланд с открывающимися створками дна. Береговую часть дюкера следует закрепить анкерными сваями.
4.5.42 В соответствии с
[8] места расположения подводных переходов (дюкеров, трубопроводов, электрических и телефонных кабелей) следует обозначать хорошо видимыми с судов береговыми информационными знаками - створными столбами, устанавливаемыми на 100 м выше и ниже (по течению) от перехода на обоих берегах.
В темное время суток знаки следует освещать створными огнями (по одному на каждом столбе), видимыми на расстоянии не менее 4 км.
4.5.43 При пересечении несудоходных рек, проток, стариц небольшой ширины магистральный пульпопровод допускается укладывать на плавучих понтонах или по эстакаде (при глубине водного объекта не более 1,5 м).
4.6 Земляные работы способом гидромеханизации в зимний период
4.6.1 В зимний период грунт средствами гидромеханизации разрабатывают по ППР с обоснованием технико-экономической эффективности. Проектирование и производство земляных работ способом гидромеханизации в зимних условиях при отрицательных температурах наружного воздуха обусловлено специфическими особенностями, в числе которых:
- разработка дисперсных и мерзлых грунтов обводненных карьеров, поверхность которых покрыта льдом;
- разработка гидромониторами и земснарядами мерзлых грунтов и таликов, прочность и устойчивость которых к размыву существенно выше, чем у дисперсных связных и несвязных дисперсных грунтов при положительной температуре;
- гидравлическое транспортирование пульпы при условии возможного промерзания пульпопровода.
Минимальную допускаемую температуру воздуха (не ниже минус 15 °C - 20 °C) разработки грунта земснарядом определяют технологией производства работ, оборудованием и местными условиями.
4.6.2 Основное условие технической и экономической эффективности способа гидромеханизации зимой и в северной климатической зоне - проектирование непрерывно-поточной и интенсивной работы средств гидромеханизации.
4.6.3 Подготовительные, организационные и технологические мероприятия, связанные с работой средств гидромеханизации в зимних условиях, следует проводить по ранее разработанному ППР, в соответствии с
СП 45.13330.
4.6.4 В проекте производства земляных работ способом гидромеханизации в зимний период следует уменьшать производительность гидромониторов и земснарядов от 10% до 25% по сравнению с работой при положительной температуре наружного воздуха, уменьшать выработку на одного рабочего до 20%, увеличивать затраты энергии и удельные расходы воды от 15% до 25% на 1 м3 грунта.
4.6.5 Зимой следует разрабатывать участки грунтового карьера с песком, без негабаритных включений, глинистых и сцементированных прослоек, с максимальной высотой подводного и надводного забоев, вблизи от берега и места укладки грунта.
4.6.6 Подготовительные работы следует выполнять заблаговременно, до наступления морозов. Осенью следует удалить растительный слой грунтового карьера и карты намыва и складировать его в штабель на сухом месте.
4.6.7 Магистральные пульпопроводы следует выровнять в вертикальной плоскости с уклонами для слива воды через выпуски.
4.6.8 До наступления морозов следует подготовить первичное обвалование карты намыва максимально возможной высоты, утеплить земснаряд и пульпопровод.
4.6.9 В календарный план на зимний период следует включить следующие работы:
- возведение насыпей на основаниях из грунтов, физико-механические характеристики которых изменяются незначительно в процессе промерзания и оттаивания;
- разработку выемок в дисперсных связных грунтах глубиной более 3,0 м с перемещением грунта в насыпь или резерв;
- устройство насыпей на болотах;
- укрепление откосов регуляционных сооружений намывом грунта.
4.6.10 Для предохранения грунтов карьера от промерзания на глубину, превышающую предельно допустимую для земснаряда принятой водопроизводительности, м3/ч, следует:
- разрыхлить поверхность карьера на глубину от 0,2 до 0,3 м;
- выполнить снегозадержание;
- устроить морозозащитное покрытие на участке грунтового карьера, предназначенного для работы зимой.
Глубина промерзания грунта, м, при различных способах утепления поверхности территории грунтового карьера приведена в
таблице 4.14.
Таблица 4.14
Глубина промерзания грунта
Способ обработки поверхности грунтового карьера | Утеплитель | Глубина промерзания грунта, м, за время, сут |
40 | 60 | 80 |
При срезке растительного слоя | Утеплитель отсутствует | 1,4 | 1,75 | 1,80 |
При вспашке на глубину до 0,15 м | Снег до 0,25 м | 1,0 | 1,20 | 1,25 |
При срезке растительного слоя | Рыхлый грунт и снег до 0,25 м | 0,70 | 1,0 | 1,10 |
При срезке растительного слоя | Рыхлый грунт 0,50 м, снег 0,25 м | 0,50 | 0,75 | 0,75 |
При вспашке на глубину 0,25 м | Снег толщиной 0,25 м | 0,45 | 0,60 | 0,75 |
При вспашке на глубину 0,35 м и бороновании на 0,25 м | Снег толщиной 0,25 м | 0,30 | 0,35 | 0,45 |
При срезке растительного слоя | Опилки толщиной 0,25 м или шлак - 0,40 м, снег - 0,25 м | 0,0 | 0,30 | 0,35 |
При срезке растительного слоя | Опилки толщиной 0,45 м или шлак - 0,70 м, снег - 0,25 м | 0,0 | 0,0 | 0,05 |
Примечание - Значения приведены для песчаных грунтов и температуры воздуха не ниже минус 25 °C. |
4.6.11 При проектировании производства земляных работ гидромониторами зимой зумпф землесосной установки для гидравлического транспортирования размытого грунта следует располагать как можно ближе к забою гидромонитора. Грунт гидромонитором следует размывать с близкого расстояния и на узком участке, уменьшая образование наледей.
4.6.12 При разработке гидромониторами дисперсных грунтов в зимнее время в отличие от летнего времени следует увеличивать напор струи у насадки от 30% до 50%. Грунт следует размывать со средней скоростью не менее 0,2 м/ч при ширине проходки не более 12 м. При увеличении ширины забоя шаг передвижки гидромонитора уменьшают, а количество передвижек увеличивают.
4.6.13 Технологические или аварийные перерывы в работе зимой следует принимать в соответствии с
таблицей 4.15.
Таблица 4.15
Максимальная продолжительность перерыва в работе
гидромонитора в зависимости от температуры воздуха
Грунт | Максимальная продолжительность перерыва, ч, при температуре воздуха, °C |
до минус 10 | минус 10 - минус 20 | ниже минус 20 |
Продолжительность перерыва из условия недопустимости образования мощного слоя мерзлоты в забое |
Глина | 4 (2) | 3 (1,5) | 0,5 (0,2) |
Суглинок | 5 (2,5) | 4 (2) | 0,7 (0,3) |
Супесь | 8 (4) | 6 (3) | 1 (0,5) |
Песок | 16 (8) | 12 (6) | 2 (1) |
Продолжительность перерыва между обрушением талого грунта в забой и началом его размыва |
Связный грунт | 24 (12) | 18 (9) | 3 (1,5) |
Несвязный грунт | 36 (18) | 24 (12) | 6 (4) |
Примечание - В скобках указана продолжительность перерыва при сильном ветре. |
4.6.14 Коэффициенты снижения норм выработки гидромонитора при работе зимой приведены в
таблице 4.16.
Таблица 4.16
Коэффициенты снижения норм выработки Kнв гидромонитора зимой
Средняя температура наружного воздуха, °C | Количество мерзлого грунта в объеме разработанного грунта, % | Значение Kнв |
От 5 до 0 | 10 | 0,9 |
11 - 20 | 0,8 |
От 0 до минус 10 | 10 | 0,8 |
11 - 20 | 0,6 |
4.6.15 В грунтовом карьере зимой вокруг корпуса земснаряда и плавучего пульпопровода с минимальным числом звеньев от 2 до 5 шт. следует поддерживать незамерзающую майну, которую формирует поток воды, истекающий с высокой скоростью из насоса потокообразователя.
Производительность насоса потокообразователя Qпо, м3/ч, следует определять по формуле

(4.13)
где
Fмин - минимально допустимая площадь майны, м
2, земснаряда приведена в
таблице 4.17;

- плотность воды, т/м
3;
C - удельная теплоемкость воды, кДж/(кг·К);
tп и tл - средняя температура воды на выходе из потокообразователя tп и у кромки льда tл, °C.
Таблица 4.17
Минимально допустимая площадь майны
Производительность земснаряда по воде, м3/ч | 2000 | 3600 | 4000 |
Минимально допустимая площадь майны Fмин, м2 | 1200 | 2100 | 3000 |
Таблица 4.18
Условия на акватории | Теплоотдача S, Вт/(м2·°C) |
Открытая водная поверхность | 633 |
Лед толщиной 50 см | 267 |
Лед толщиной 10 см | 207 |
Лед толщиной 10 см под слоем снега в 5 см | 33 |
Лед толщиной 10 см под слоем снега в 10 см | 32 |
4.6.16 При проектировании производства земляных работ способом гидромеханизации в зимний период следует:
- организовать непрерывность намыва по поточной технологии с короткими перерывами по времени на наращивание пульпопровода;
- применять сосредоточенный выпуск пульпы на карту намыва;
- сформировать плавающий ледяной покров на поверхности прудка отстойника для уменьшения потерь тепла;
- проектировать размеры карты намыва в плане с учетом производительности грунтового насоса земснаряда, условий разработки грунтового карьера и ожидаемой температуры наружного воздуха (по метеорологическому прогнозу);
- не допускать промерзания намытого грунта в теле сооружения и образования льда свыше установленной глубины, которую следует определять в соответствии с
таблицей 4.19.
Таблица 4.19
Глубина промерзания, м, намытого среднезернистого песка
при перерыве в работе, ч
Температура воздуха, °C | Глубина промерзания, м, намытого среднезернистого песка при перерыве в работе, ч |
1 | 2 | 5 | 12 | 24 | 48 | 72 | 120 | 240 | 480 | 720 |
-10 | 0,04 | 0,06 | 0,10 | 0,13 | 0,22 | 0,30 | 0,37 | 0,48 | 0,68 | 0,97 | 1,18 |
-20 | 0,06 | 0,08 | 0,13 | 0,20 | 0,28 | 0,40 | 0,49 | 0,64 | 0,90 | 1,27 | 1,36 |
4.6.17 В проекте земляных работ способом гидромеханизации в зимний период следует уделить особое внимание обеспечению надежности работы водосбросной системы карты намыва, подаче пульпы на карту намыва с максимальным запасом тепла и разработке участков грунтового карьера, при намыве которых осаждаются частицы дисперсных и мерзлых грунтов наибольшей гидравлической крупности, обеспечивающие ускорение фильтрации отработанной воды и процессов седиментации.
4.6.18 В проекте производства земляных работ способом гидромеханизации при отрицательных температурах воздуха следует разработать комплекс мероприятий в соответствии с
ГОСТ Р 12.3.048.
4.6.19 Проектировать продление сезона земляных работ способом гидромеханизации в зимний период с качеством намытого грунта по проекту и оптимальной производительностью следует на основе результатов расчета и соблюдения следующих неравенств

(4.14)

(4.15)
hm <= hg; (4.16)
(dm <= dn); (4.17)
S0 >= Sкр, (4.18)
где t0 - температура пульпы на выходе из грунтового насоса, °C;

- перепад температуры пульпы по длине гидротранспортной системы, °C;
tкр - критическая температура пульпы при намыве грунта, при которой исключено формирование наледей на карте намыва, °C;

и

- скорости, соответственно, промерзания намытого грунта во время перерывов и оттаивания при намыве, м/ч;

и

- продолжительность, соответственно, технологического перерыва и следующего за ним непрерывного намыва, ч;
Gкр - допустимое суммарное содержание мерзлоты в расчетном сечении намывного сооружения на момент окончания намыва, м;
hm и hg - расчетная и допустимая по условиям обеспечения заданной производительности толщина мерзлого грунта в карьере, м;
dm и dn - размер комьев разрыхленного мерзлого грунта и размер проходного сечения грунтового насоса, м;
S0 и Sкр - площадь акватории карьера, свободной от льда, и минимально допустимый размер майны, м2.
4.6.20 Карты намыва и штабели грунта следует проектировать так, чтобы обеспечивать максимальную суммарную выработку средств гидромеханизации в течение каждого сезона и всего периода эксплуатации грунтового карьера. К картам намыва и штабелям намытого грунта следует прокладывать временные автомобильные дороги с круглогодичным проездом транспортных средств.
4.6.21 Физико-механические характеристики намываемых грунтов следует принимать по результатам изысканий, полевых и лабораторных испытаний.
4.6.22 При намыве сооружения из песчаных грунтов на основания из связных грунтов следует выполнять поверочные расчеты на суффозионную устойчивость откосов и определять устойчивость откосов на участках выхода потоков фильтрационной воды
(СП 39.13330).
При намыве грунта на мерзлое основание (водоупор) следует предварительно устраивать дренажно-водоотводную систему, ограничивающую растекание неконсолидированной грунтовой массы при выходе фильтрационного потока воды по кривой депрессии на откосах намываемого сооружения. В качестве дренажно-водоотводной системы допускается использовать предварительно намытый слой дренирующего грунта, из которого, после водоотдачи, следует отсыпать обвалование.
4.6.23 При проектировании земляных работ способом гидромеханизации в северной климатической зоне следует использовать организационно-технологические схемы работы гидротранспортных систем по оборотной схеме водоснабжения.
Отработанную воду в карьер следует сбрасывать как можно дальше от места работы земснаряда. Расчетным путем
(приложение В) следует определить вероятные размеры отложений пылеватых и глинистых фракций на дне карьера, содержащиеся в отработанной воде, и разработать мероприятия, исключающие возможность повторного всасывания в грунтозаборное устройство земснаряда мелкодисперсных грунтовых частиц, ранее содержавшихся в сбросной воде.
4.6.24 Отработанные грунтовые карьеры гидромеханизации следует через 1 - 2 года после рекультивации использовать в качестве источников круглогодичного водоснабжения и объектов рекреации.
4.6.25 В проектах организации строительства и производства работ следует предусматривать размещение оборудования гидромеханизации, пульпопроводов, энергоустановок, складов ГСМ, вахтовых помещений для персонала и путей перехода с учетом защиты от снега, метелей и заносов. Строительную технику следует хранить в укрытиях и защищенных от снега ангарах. Персонал согласно
ГОСТ Р 12.3.048 следует обеспечивать средствами связи, надежно работающими круглосуточно.
5 Производство земляных работ гидромониторами
5.1 Гидромониторы и вспомогательное оборудование
5.1.1 Проектировать организацию строительства и производить земляные работы гидромониторами следует при устройстве каналов, котлованов, выемок земляного полотна железных и автомобильных дорог, при разработке необводненных притрассовых грунтовых карьеров, производстве вскрышных работ и на объектах, не требующих особо точного соблюдения профилей грунтового сооружения.
Гидромониторами следует разрабатывать пески, супеси, илистые грунты и легкие суглинки в необводненных карьерах с высокими забоями (до 30 м), грунты, сильно засоренные остатками растительности, топляками и валунами. Для повышения эффективности гидромониторной разработки связные грунты и плотные песчано-гравийные отложения следует предварительно рыхлить механическими средствами. Техническую и экономическую эффективность разработки грунтов гидромониторами следует обосновывать в каждом случае по результатам расчета.
Транспортируют пульпу к месту укладки грунта по комбинированным лоткам или земляным канавам (их уклоны, обеспечивающие самотечное транспортирование пульпы, приведены в
таблице 5.1).
Таблица 5.1
Уклоны деревянных и комбинированных лотков, земляных канав
при самотечном гидротранспортировании пульпы
Вид грунта | Значение уклона, д. ед., для |
деревянных и комбинированных лотков | земляных канав |
Глины и суглинки тяжелые | 0,010 - 0,015 | 0,015 - 0,020 |
Глины и суглинки легкие, супеси | 0,015 - 0,025 | 0,02 - 0,03 |
Пески: | | |
- мелкие | 0,025 - 0,030 | 0,03 - 0,04 |
- средней крупности | 0,030 - 0,035 | 0,04 - 0,05 |
- крупные | 0,05 - 0,10 | 0,05 - 0,06 |
Крупнообломочные: гравийные | 0,05 - 0,10 | - |
Уклоны пульпоприемных канав в зимнее время должны быть более крутыми, чем в теплое время.
Производительность гидромониторно-насосно-землесосных установок:
требуемая месячная производительность установки

, тыс. м
3/мес:
по объему грунта в насыпи:

(5.1)
где Wн - объем земляных работ по насыпи, тыс. м3;
e - коэффициент потерь грунта (e = K/100, здесь K - сумма процентов всех потерь грунта при укладке его в насыпь);
T - число месяцев работы в году;
n - число лет работы на объекте;
по объему грунта в выемке:

(5.2)
где Wв - объем земляных работ в выемке или карьере, тыс. м3.
Тип и число гидромониторно-землесосных установок принимают по потребной месячной производительности

(
таблицы 5.2 и
5.3) и проверяют расчетом по производительности грунтового насоса установки.
Таблица 5.2
Месячная производительность гидромониторных установок 
(по объему грунта, разработанного в выемке)
Производительность установки по воде, м3/ч | Значение производительности  , тыс. м 3, для группы грунта [7] |
1 | 2 | 3 | 4 | 5 | 6 |
400 | 35 | 29 | 25 | 19 | 15 | 12 |
700 | 62 | 51 | 44 | 34 | 26 | 22 |
900 | 70 | 58 | 50 | 39 | 29 | 25 |
1100 | 94 | 78 | 67 | 52 | 39 | 33 |
2000 | 161 | 134 | 116 | 89 | 67 | 57 |
Примечание - Производительность установок принята исходя из условия их эксплуатации в течение 525 рабочих часов в месяц. |
Таблица 5.3
Производительность гидромониторов
по размытому грунту группы 1
Напор перед насадкой, м | Значение производительности, м3/ч, для диаметра насадки, мм |
50,0 | 62,5 | 65,0 | 75,0 | 87,5 | 90,0 | 100,0 | 110,0 |
10 | 19,2 | 29,4 | 31,4 | 42,2 | 57,6 | 60,8 | 75,6 | 91,0 |
20 | 26,6 | 41,8 | 44,8 | 58,8 | 81,4 | 86,0 | 107,4 | 128,8 |
30 | 33,2 | 51,2 | 55,0 | 73,6 | 100,8 | 106,0 | 131,2 | 158,0 |
40 | 38,2 | 58,4 | 63,2 | 85,0 | 115,2 | 121,6 | 151,2 | 183,0 |
50 | 42,4 | 65,6 | 70,8 | 95,0 | 129,6 | 135,4 | 169,2 | 207,2 |
60 | 46,0 | 72,0 | 77,8 | 104,4 | 140,4 | 149,0 | 185,0 | 223,0 |
70 | 49,6 | 77,8 | 83,6 | 111,6 | 152,0 | 161,0 | 202,0 | 241,0 |
80 | 53,2 | 82,8 | 90,0 | 118,8 | 163,4 | 172,0 | 214,6 | 257,2 |
90 | 56,8 | 87,8 | 95,0 | 126,0 | 173,6 | 182,2 | 226,8 | 273,6 |
100 | 59,6 | 92,8 | 101,0 | 133,2 | 183,0 | 193,0 | 239,0 | 288,0 |
110 | 62,6 | 97,2 | 105,0 | 140,4 | 191,6 | 202,0 | 251,6 | 302,0 |
120 | 65,6 | 101,6 | 110,0 | 146,2 | 200,0 | 211,2 | 274,0 | 316,0 |
130 | 67,8 | 105,8 | 114,6 | 152,0 | 208,8 | 220,0 | 279,0 | 328,0 |
140 | 69,8 | 109,4 | 119,0 | 157,6 | 216,8 | 228,0 | 281,0 | 342,0 |
150 | 72,0 | 113,0 | 123,0 | 163,4 | 223,2 | 236,0 | 294,0 | 365,6 |
Примечание - Для пересчета производительности гидромонитора при работе в грунтах группы 1 к другим грунтовым условиям значения настоящей таблицы умножают на коэффициенты 0,83; 0,72; 0,50; 0,42; 0,36 для грунтов групп 2 - 6 соответственно. |
Техническая производительность по грунту
гидромониторно-насосной установки, м3/ч:

(5.3)
где Qн - подача насоса по воде, м3/ч;
qв - удельный расход воды на разработку 1 м
3 грунта, м
3 (таблица 4.2);
гидромониторно-насосно-землесосной установки, м3/ч:

(5.4)
где Qг - производительность грунтового насоса по пульпе, м3/ч;
qв - удельный расход воды на разработку 1 м
3 грунта, м
3 (таблица 4.2);
0,35 - коэффициент, учитывающий среднюю пористость грунтов.
Сезонная производительность
гидромониторно-насосной установки, м3/ч:

(5.5)
где t - число часов работы в смену;
s - число смен работы в сезон;
Kсм - коэффициент использования гидромониторных установок по времени
(таблица 5.4);
Kмс = 0,9 - коэффициент, учитывающий межсменные, цельносуточные и другие простои;
Kз - коэффициент, учитывающий засоренность забоя, который принимают в зависимости от продолжительности остановок
(таблица 5.5);
Kпер - коэффициент, учитывающий работу с перекачивающей станцией (при одной станции Kпер = 1,05, при двух - Kпер = 1,10);
гидромониторно-насосно-землесосной установки:

(5.6)

(5.7)
Таблица 5.4
Коэффициенты использования гидромониторных установок
по времени в смену Kсм
Место укладки грунта | Гидромониторно-землесосные установки | Гидромониторные установки |
Способ транспортирования пульпы и способ намыва грунта |
Напорный, безэстакадный или низкоопорный | Напорный, эстакадный | Самотечный, эстакадный |
Водоем или отвал без устройства обвалования | 0,95 | 0,85 | 0,90 |
Отвал с устройством обвалования или намыв сооружений под воду | 0,90 | 0,80 | 0,90 |
Части сооружений, площадей или штабелей: | | | |
широкопрофильные | 0,85 | 0,75 | 0,85 |
узкопрофильные | 0,75 | 0,70 | - |
Таблица 5.5
Коэффициент, учитывающий засоренность забоя Kз
Продолжительность остановок, % | 5 - 10 | 10 - 15 | 15 - 20 | 20 - 25 | 25 - 30 |
Значение Kз | 1,02 | 1,05 | 1,10 | 1,15 | 1,20 |
5.1.2 Гидромониторы классифицируют:
- по способу управления;
- по способу передвижения - самоходные и несамоходные;
- по напору - низконапорные до 1,2 МПа и высоконапорные более 1,2 МПа.
5.1.3 Насосная станция предназначена для подачи под напором воды в гидромонитор. Насосная станция оборудована насосами, двигателями с пускорегулирующей аппаратурой, всасывающим и напорным трубопроводами, водозаборными устройствами, контрольно-измерительными приборами.
В строительстве наиболее распространены плавучие (передвижные) и реже - стационарные (береговые) насосные станции. Плавучие насосные станции монтируют на понтонах.
5.1.4 Если требуемый расход или напор воды не обеспечивает один насос, то следует проектировать два или более насосов насосной станции.
5.1.5 При недостатке напора грунтового насоса землесосной установки следует применять перекачивающие станции, которые устанавливают на пульпопроводе в том месте, где остаточный напор грунтового насоса не превышает 8 - 10 м.
5.1.6 При производстве земляных работ гидромониторами следует соблюдать требования
ГОСТ Р 12.3.048 и правила приемки и ввода средств гидромеханизации в эксплуатацию, доступа к управлению, эксплуатации и обслуживанию, планово-производственного ремонта, ухода за основными узлами в соответствии с указаниями в паспортах оборудования.
5.2 Производительность гидромониторов и гидромониторно-насосно-землесосных комплексов
5.2.1 Способы гидромониторной разработки грунта
При разработке попутным забоем направление струи гидромонитора, установленного на верхней площадке уступа, совпадает с направлением потока пульпы. Однако при этом снижается напор воды у гидромонитора, не используется энергия обрушения уступа, увеличивается недомыв в забое, в связи с чем способ применяют редко.
При разработке грунта попутным забоем направление струи воды от гидромонитора, установленного на верхней площадке уступа, совпадает с направлением потока пульпы. Гидромонитор следует устанавливать на верхней площадке карьера, а гидротранспортирование пульпы от забоя к зумпфу - проектировать с учетом уклонов естественной поверхности.
Попутно-встречная (или попутно-боковая) разработка эффективна при песчаных и песчано-гравийных грунтах, когда разработку ведут с флангов к середине забоя с подталкиванием породы к зумпфу, что позволяет уменьшать уклоны, необходимые для гидротранспортирования пульпы, и снижает объем недомыва.
5.2.2 При разработке грунта по схеме встречный забой, когда направление струи воды гидромонитора и потока пульпы не совпадают, гидротранспорт пульпы от забоя к сооружению (зумпфу) следует проектировать в зависимости от расхода потока, гранулометрического состава разрабатываемого грунта и уклона местности (подошвы забоя).
5.2.3 В проекте разработки дисперсных связных и мерзлых грунтов гидромонитором следует разделять две технологические операции:
- подрезку и обрушение грунта забоя;
- размыв грунта и транспортирование пульпы в зумпф.
Подрезка уступа забоя из дисперсных связных и мерзлых грунтов наиболее трудоемкая операция гидроразмыва. На нее затрачивают до 60% - 70% всего времени разработки. Глубину вруба в нижней части уступа следует принимать в зависимости от свойств грунтов в пределах 0,8 - 1,5 м, высоту вруба - в пределах 0,4 - 0,6 м.
При разработке плотных связных и мерзлых грунтов для увеличения напора на гидромонитор следует устанавливать насадки диаметром 50 - 75 мм и переключать насосы на последовательную работу, что повышает скорость и интенсивность размыва. Для смыва грунта в зумпф следует устанавливать насадки гидромонитора диаметром 90 - 100 мм.
5.2.4 В забое следует проектировать установку не менее двух гидромониторов, один из которых "резервный" используют во время технологических перерывов и перемещений рабочего гидромонитора.
Расстояние между гидромониторами в забое должно составлять не менее 0,8 высоты уступа при работе с несвязными дисперсными или мерзлыми грунтами и не менее 1,2 высоты уступа для связных грунтов, размыв которых сопровождается обрушением крупных глыб.
Минимально допустимое расстояние Lmin, м, от гидромонитора до забоя, ширину забоя Bз, м, объемы грунта W0, м3, разрабатываемого на одной стоянке гидромонитора, следует определять по формулам:
Lmin = a·Hз, (5.8)
где
a - коэффициент приближения, приведен в
таблице 5.6;
Hз - высота уступа (забоя), м;

(5.9)
где s - шаг передвижки гидромонитора;
W0 = Bз·s·Hз. (5.10)
Таблица 5.6
Коэффициент приближения a
Грунт | Значения коэффициента приближения a для высоты уступа, м |
5 | 15 | 20 | 25 | 30 | 35 | 40 |
Лесс и лессовидные | 1,2 ---- 1,0 | 1,25 ---- 1,05 | 1,3 ---- 1,1 | 1,3 ---- 1,1 | 1,3 ---- 1,1 | 1,3 ---- 1,1 | 1,3 ---- 1,1 |
Глинистые | 0,9 ---- 0,7 | 0,95 ---- 0,75 | 1,0 ---- 0,8 | 1,05 ---- 0,85 | 1,1 ---- 0,9 | 1,1 ---- 0,9 | 1,1 ---- 0,9 |
Суглинистые | 0,8 ---- 0,6 | 0,85 ---- 0,65 | 0,9 ---- 0,7 | 0,95 ---- 0,75 | 1,0 ---- 0,8 | 1,0 ---- 0,8 | 1,0 ---- 0,8 |
Песчано-гравийные и супеси тяжелые | 0,6 ---- 0,5 | 0,65 ---- 0,55 | 0,7 ---- 0,6 | 0,75 ---- 0,65 | 0,8 ---- 0,7 | 0,8 ---- 0,7 | 0,8 ---- 0,7 |
Песчаные | 0,4 ---- 0,3 | 0,4 ---- 0,3 | 0,4 ---- 0,3 | 0,4 ---- 0,3 | 0,4 ---- 0,3 | 0,4 ---- 0,3 | 0,4 ---- 0,3 |
Примечание - В числителе - коэффициент приближения при радиальном размыве грунта, в знаменателе - при боковом. |
Гидромониторы в забое следует переставлять на расстояние передвижки не менее 6 м, т.е. кратное длине звена трубы.
Землесосную установку передвигают на плаву или "по суху" бульдозерами и размещают на предварительно подготовленной и спланированной грунтовой площадке или на плаву.
При разработке гидромонитором выемок железных и автомобильных дорог переборы грунта и нарушения естественного сложения грунтов на откосах и в основании не допускаются. Недобор грунта на откосах не должен превышать требований
СП 45.13330.
Водоснабжение земляных работ гидромонитором следует проектировать по водооборотной схеме с восполнением потерь воды или прямоточной схеме (без повторного использования воды), применение которой следует обосновывать технико-экономическими расчетами, в том числе учитывающими затраты на компенсацию экологических воздействий.
6 Производство земляных работ землесосными снарядами
6.1 Классификация земснарядов и грунтозаборных устройств
6.1.1 Строительные земснаряды относятся к землеройно-транспортным машинам, выполняющим в непрерывном технологическом процессе разработку грунта и гидравлическое транспортирование его к месту укладки. Укладку выполняют с использованием дополнительных механизмов (трубоукладчиков и бульдозеров).
6.1.2 К особенностям производства земляных работ земснарядами относится их работа как землеройных машин непрерывного действия, когда технологические процессы: разработка, гидравлическое транспортирование и укладка грунта осуществляются совместно. Другая особенность производства земляных работ земснарядами - разработка грунта только под водой. В случаях, когда грунтовый карьер имеет надводный откос (часть грунта расположена выше горизонта воды) разработке грунта земснарядом должен предшествовать обязательный размыв грунта с применением водяных струй гидромонитора и сползание его в воду.
6.1.3 Для строительных землесосных снарядов основные параметры, характеризующие технологические возможности:
- производительность в единицу времени, т.е. количество грунта, которое разрабатывается в грунтовом карьере или забое отделено от грунтового массива и уложено в сооружение;
- расстояние, на которое перемещен разработанный грунт;
- глубина забоя, на которой данный земснаряд разрабатывает грунт.
6.1.4 Плавучие несамоходные земснаряды, применяемые в строительстве, классифицируют по следующим признакам:
- по конструкции корпуса;
- типу привода;
- способу грунтозабора;
- способу рабочих перемещений;
- месту размещения грунтового насоса.
6.1.5 Несамоходные земснаряды разделяют на классы
[8]:
- Л - для работы на водных объектах (реках) с высотой волны до 0,6 м;
- Р - для работы на водных объектах с высотой волны до 1,2 м;
- О - для работы на водных объектах с высотой волны до 2,0 м;
- М - для работы на водных объектах с высотой волны до 3,0 м.
6.1.6 Земснаряды для производства земляных работ классифицируют по
СП 45.13330 по производительности грунтовых насосов по воде: менее 400 м
3/ч; от 400 до 800 м
3/ч; от 800 до 1000 м
3/ч; от 1000 до 2500 м
3/ч; от 2500 до 4000 м
3/ч; от 4000 до 7500 м
3/ч включ.; более 7500 м
3/ч.
Технические характеристики типовых землесосных снарядов приведены в
приложении Д.
6.1.7 У земснарядов выделяют три группы узлов и устройств:
1-я группа - грунтозаборное устройство, всасывающий пульпопровод, грунтовый насос, напорный пульпопровод, устройство рабочих перемещений;
2-я группа - вспомогательное оборудование и узлы, обеспечивающие нормальную работу основных технологических устройств земснаряда: корпуса землесосного снаряда, механизмов подъема и опускания грунтозаборного устройства, вспомогательных насосов и энергетических установок;
3-я группа - система управления, контрольно-измерительная аппаратура, вспомогательные грузоподъемные устройства, вентиляционные, санитарно-технические, сигнальные и противопожарные устройства.
6.1.8 Грунтозаборное устройство - рабочий орган земснаряда для разработки, рыхления и подачи грунта во всасывающий пульпопровод грунтового насоса. Классификация конструкций грунтозаборных устройств земснарядов приведена на
рисунке 6.1.
Рисунок 6.1 - Классификация грунтозаборных
устройств земснаряда
6.1.9 По характеру воздействия на разрабатываемый грунт и конструктивным признакам грунтозаборные устройства земснарядов подразделяют на две основные группы: свободного (непосредственного) всасывания с размывом грунта струями (потоками) воды или всасывания рыхлением грунта устройствами для интенсификации грунтозабора.
6.1.10 Строительные земснаряды эффективно работают в различных природно-климатических условиях с грунтами групп 1 - 8
[7], поэтому грунтозаборное устройство является сменной конструкцией.
При изменении грунтовых условий следует подбирать соответствующий тип рыхлителя и определять оптимальную скорость рабочих перемещений земснаряда в грунтовом карьере. Выбор грунтозаборного устройства и режимов работы земснаряда определяют технические и экономические преимущества производства земляных работ способом гидромеханизации.
6.1.11 При свободном всасывании следует разрабатывать песчано-гравийный грунт, песок, песчанистые и пылеватые супеси в соответствии с
ГОСТ 25100. Эти грунты разрабатывают при невысоких всасывающих и размывающих скоростях со сползанием откосов грунтового карьера к торцу всасывающего пульпопровода грунтового насоса земснаряда. При свободном всасывании следует применять простейшую конструкцию грунтозаборного устройства в виде всасывающего пульпопровода с наконечником грунтового насоса земснаряда.
6.1.12 Разработку слабоуплотненных слежавшихся гравелистых песков, пылеватых супесей и песчано-гравийных грунтов при наличии прослоек суглинков следует выполнять свободным всасыванием с помощью гидравлических рыхлителей, работающих по принципу гидромонитора. Грунтозаборные устройства этого типа совмещены со всасывающим наконечником и разрабатывают грунт по схеме размыва и обрушения.
6.1.13 Для интенсификации грунтозабора и увеличения глубины разработки до 25 - 30 м несвязных дисперсных грунтов с прослойками, суглинков и глин следует применять гидравлические эжекторные грунтозаборные устройства земснаряда. Их устанавливают на всасывающем пульпопроводе в виде гидравлических насадок, создающих дополнительный напор и повышающих всасывающую способность грунтового насоса, что увеличивает разрежение на 3 - 6 м, увеличивает производительность земснаряда по грунту, исключает кавитацию и срыв вакуума, существенно увеличивает глубину разработки грунта в карьере.
6.1.14 Вибрационные рыхлители следует применять при подводной разработке сцементированных и плотно слежавшихся песчано-гравийных и гравийно-галечниковых грунтов. По типу источника вибрационных воздействий грунтозаборные устройства подразделяют на гидравлические и электровибрационные.
6.1.15 Для разработки связных, плотно слежавшихся и сцементированных песчано-гравелистых грунтов, суглинков и глин земснаряды следует оснащать механическими фрезерными рыхлителями. Наиболее распространены вращающиеся однофрезерные рыхлители, простые в конструктивном и эксплуатационном отношении и надежные в работе.
6.2 Режим работы и производительность земснарядов
6.2.1 Производство земляных работ земснарядом следует проектировать для условия оптимального (эффективного) режима работы, которому соответствует максимальная производительность по грунту, условие использования номинальной мощности двигателя грунтового насоса, непрерывность процесса разработки грунта без срыва вакуума и кавитационного режима работы грунтового насоса.
6.2.2 Оптимальный режим работы земснаряда следует устанавливать с помощью контрольных приборов: вакуумметра, манометра и амперметра, расположенных в рубке на пульте управления земснарядом.
6.2.3 На шкалы контрольных приборов наносят границы показаний, определяющие оптимальный режим работы земснаряда для условий конкретного грунтового карьера и земляного сооружения.
На шкале вакуумметра указывают предельно допустимые значения вакуума: максимальное (вне зоны кавитации) и минимальное (при работе на воде).
На шкале манометра - максимально допустимое давление, соответствующее началу заиления грунтом пульпопровода.
На шкале амперметра электродвигателя грунтового насоса указывают предельно допустимую нагрузку (номинальную по паспорту электродвигателя) и минимальную, соответствующую началу заиления грунтом пульпопровода.
Экстремальные режимы работы земснаряда и соответствующие им показания приборов приведены в
таблице 6.1.
Таблица 6.1
Режимы работы земснаряда и соответствующие
им показания приборов
Показания приборов | Оценка режима работы земснаряда и меры по его улучшению |
вакуумметра | манометра | амперметра |
Максимальные значения | Нормальная работа |
Снижение вакуума | Значение выше максимального | Снижение нагрузки максимальное | Пониженная подача, заиливание пульпопровода. Промыть пульпопровод водой |
Максимальное значение | Снижение | То же | Пониженная подача, засорение приемного отверстия всасывающего наконечника. Очистка всасывающего наконечника и промывка водой |
Значение выше максимального | " | Значение выше максимального | Нормальная работа при коротком пульпопроводе |
То же | Значение выше максимального | Значение около максимального | Хорошая работа. Высокая консистенция пульпы. Для предотвращения срыва вакуума уменьшить грунтозабор |
" | Значение ниже максимального | Значение выше максимального | Повышенная подача, разрыв напорного пульпопровода. Ремонт пульпопровода в месте разрыва |
Значение ниже максимального | Значение ниже максимального | Значение выше или около максимального | Повышенная подача, низкая консистенция пульпы. Усилить грунтозабор |
То же | То же | Значение ниже максимального | Пониженная подача, вибрация грунтового насоса, засорение рабочего колеса. Необходима чистка рабочего колеса |
Значение ниже максимального | Значение выше максимального | Значение ниже максимального | Пониженная подача, начало заиливания пульпопровода. Промыть пульпопровод водой для предотвращения его забивки грунтом |
6.2.4 Оптимальный режим земляных работ по показаниям вакуумметра, манометра и амперметра обеспечивают точно скоординированные перемещение земснаряда в грунтовом карьере и управление скоростью перемещения грунтозаборного устройства.
6.2.5 Производительность земснаряда по грунту Qгр, м3/ч, определяют режимом работы земснаряда и условиями грунтозабора по формуле
Qгр = Kп·Qп, (6.1)
где Kп - объемная консистенция пульпы;
Qп - производительность земснаряда по пульпе, м3/ч.
6.2.6 Потребную производительность земснаряда по грунту за месяц QМ, тыс. м3/мес, определяют по формуле
QМ =
W/[
m1·
n(1 - п)], (6.2)
где W - проектный объем земляных работ по сооружению, тыс. м3;
m1 - число месяцев работы земснаряда в году;
n - число лет работы на объекте;
п - коэффициент потерь грунта; п = Kг/100, где Kг - потери грунта при гидротранспортировании и намыве сооружения, %.
6.2.7 Годовой (сезонный) объем QГ, тыс. м3/год, производства земляных работ земснарядом следует определять по формуле
QГ = QМ·T. (6.3)
6.2.8 Тип земснарядов и их число для намыва конкретного сооружения следует определять расчетом в зависимости от производительности земснаряда в месяц QМ, тыс. м3/мес, инженерно-геологических условий карьера, вида сооружения, наличия электроэнергии.
6.2.9 Техническую производительность земснаряда по грунту в час чистой работы Qт, м3/ч (наибольшую при самых благоприятных условиях) следует определять по формуле
Qт =
Qп/[
qв + (1 -
e)], (6.4)
где
Qп - производительность земснаряда по пульпе, м
3/ч;

или

(для воды

);
e - коэффициент пористости грунта (
eср = 0,35)
(ГОСТ 25100);
qв - удельный расход воды на разработку 1 м
3 грунта, м
3 [7];
Qв - производительность грунтового насоса земснаряда по воде, м3/ч;

- плотность пульпы, т/м
3, определяют по формуле

(6.5)

и

- плотность грунта и воды соответственно, т/м
3.
6.2.10 Сезонную производительность земснаряда QС, м3, определяют по формуле
QС =
Q·
t·
s·
Kсм·
Kмс·
Kз·
Kпс, (6.6)
где Q - производительность земснаряда по паспорту, м3/ч;
t - продолжительность смены работы земснаряда, ч;
s - число смен работы земснаряда в сезон;
Kсм - коэффициент использования внутрисменного времени в зависимости от способа укладки грунта и вида сооружения;
Kмс - коэффициент, учитывающий межсменные, суточные и другие технологические простои земснаряда, Kмс = 0,9;
Kпс - коэффициент, учитывающий разработку и транспортирование грунта при совместной работе с перекачивающими станциями, Kпс = 1,05 (при работе одной ступени перекачки), Kпс = 1,10 (при работе двух ступеней перекачки), Kпс = 1,15 (при работе трех ступеней перекачки);
Kз - коэффициент, учитывающий разработку грунта в выемках и карьерах, засоренных пнями, корнями, топляками, деревьями, болотной и водяной растительностью, валунами, камнями, вызывающими простои земснаряда и установок гидромеханизации продолжительностью более 5% рабочей смены, при продолжительности остановок: 5% - 10% Kз = 1,02; для 10% - 15% Kз = 1,05; для 15% - 20% Kз = 1,1; для 20% - 25% Kз = 1,15; для 25% - 30% Kз = 1,2.
6.2.11 Средняя производительность земснаряда в месяц
QМ, тыс. м
3/мес, для грунтов групп 1 - 8 по трудности разработки
[7] приведена в
таблице 6.2.
Таблица 6.2
Средняя производительность земснаряда
в месяц QМ, тыс. м3/мес
Производительность земснаряда по грунту, м3/ч | Средняя производительность земснаряда в месяц QМ, тыс. м3/мес, для грунта группы |
1 | 2 | 3 | 4 | 5 | 6 | 7 | 8 |
1 | 2 | 3 | 4 | 5 | 6 | 7 | 8 | 9 |
80 | 44 | 35 | 29 | 23 | 18 | 15 | 13 | 11 |
140 | 66 | 53 | 43 | 34 | 27 | 22 | 19 | 17 |
200 | 95 | 76 | 26 | 49 | 39 | 32 | 28 | 24 |
400 | 189 | 151 | 124 | 97 | 77 | 64 | 55 | 48 |
Примечание - Приведенную в настоящей таблице производительность земснаряда в месяц QМ, тыс. м3/мес, следует использовать на начальном этапе проектирования и уточнять расчетным путем при разработке проектной и рабочей документации. |
6.2.12 Продолжительность остановок средств гидромеханизации в связи с засоренностью грунтов в карьерах и выемках устанавливают проектом на основании материалов инженерно-геологических изысканий. Время такого простоя определяют в процентах, как отношение общего времени простоя к общему времени рабочих смен за соответствующий период работы, но без учета цельносменных простоев машин и установок гидромеханизации.
6.2.13 При разработке и гидроклассификации песчано-гравийных грунтов годовую эксплуатационную производительность земснаряда по грунту Qгк, м3/год, следует определять по формуле
где T - годовой фонд календарного времени, T = 4000 рабочих часов;
Таблица 6.3
Коэффициент использования рабочего времени Kк
Содержание гравия, %, в песчано-гравийной смеси | До 5 | 5 - 20 | 20 - 40 | 40 - 60 |
Kк | 0,70 | 0,65 | 0,60 | 0,52 |
6.2.14 В расчетах рабочего времени земснаряда следует учитывать технологические перерывы:
- на замену изношенных элементов из ремонтного комплекта;
- работы на карте намыва;
- перекладку рабочих якорей;
- наращивание и перекладку пульпопроводов;
- осмотр и смазку механизмов;
- перерывы по гидрометеорологическим причинам;
- пополнение запасов топлива и воды;
- сдачу мусора и подсланиевых вод;
- очистку грунтоприемных устройств и грунтового насоса от негабаритных включений;
- промывку пульпопровода.
6.2.15 При проектировании земляных работ тип земснаряда следует выбирать на основе рабочих характеристик грунтового насоса, являющихся совокупностью графических зависимостей напора, мощности и КПД грунтового насоса от подачи воды. Рабочие характеристики грунтового насоса земснаряда должны обеспечивать максимальную производительность по грунту и снижение удельных энергетических затрат на разработку, гидравлическое транспортирование и намыв грунта.
6.2.16 Число земснарядов ns, шт., для выполнения заданного объема земляных работ W, тыс. м3, производительностью QМ, тыс. м3/мес, и Qсез, тыс. м3 в сезон, должно быть определено в ПОС по формулам:
ns = (QМ·n)/Qсез; (6.8)
QМ = W/(1 - Kп)·n·ml; (6.9)
Qсез = (Qп·t·s·Kк·Kпр·Kз·Kпер)/[qв(1 - e)], (6.10)
где W - объем грунта, намытого в земляное сооружение по проектной документации, тыс. м3;
Kп - потери грунта при транспортировании и намыве
(СП 45.13330), д. ед.;
m1 - количество месяцев работы земснаряда в год, см. в
формуле (6.2);
n - количество лет работы земснаряда на объекте;
Qп - производительность грунтового насоса земснаряда по пульпе, м
3/ч, см. в
формуле (6.4);
t - число часов работы земснаряда в смену, ч, см. в
формуле (6.6);
Kпр - коэффициент, учитывающий простои, Kпр = 0,85;
Kз - коэффициент, учитывающий засоренность забоя, принимают равным от 0,80 до 0,95;
Kпер - коэффициент, учитывающий работу землесосного снаряда совместно с перекачивающей станцией, Kпер = 0,95 при работе одного земснаряда, уменьшается в среднем на 5% на каждую дополнительную перекачивающую станцию;
qв - удельный расход воды на разработку 1 м
3 грунта, м
3, см. в
формуле (5.4);
6.3 Гидравлический транспорт грунта
6.3.1 Гидравлическое транспортирование грунта (гидротранспорт) - неотъемлемая часть технологии производства земляных работ земснарядами и гидромониторами
(приложение Е). Расход энергии на гидротранспорт в 5 - 10 раз превосходит энергозатраты на рыхление и всасывание грунта грунтовым насосом земснаряда.
При проектировании и производстве земляных работ способом гидромеханизации применяют следующие технологии гидротранспорта:
- напорную по трубам, с расчетом скорости транспортирования, диаметра труб, потерь напора, определением предельно допустимого расстояния гидротранспорта грунта от земснаряда до сооружения или карты намыва;
- самотечную (безнапорную) по лоткам или каналам с расчетом скоростей гидротранспорта, поперечного сечения и уклонов лотков и каналов.
6.3.2 Напорный гидротранспорт грунта по трубам пульпопровода следует осуществлять с такими скоростями, чтобы в пульпопроводе не происходило осаждение частиц грунта и заиление.
Критическую скорость vкр, м/с, - скорость потока пульпы, при уменьшении которой начинается выпадение частиц грунта крупностью 0,1 - 10,0 мм на дно пульпопровода, следует определять по формуле

(6.11)
где D - диаметр пульпопровода, м;
C0 - действительная объемная консистенция пульпы,

; здесь

- действительная плотность пульпы, кг/м
3;

и

- плотность частиц грунта и воды соответственно, кг/м
3;

- коэффициент транспортабельности.
6.3.3 Коэффициент транспортабельности

грунтов со степенью разнородности гранулометрического состава
Cu > 3,0
(ГОСТ 25100) следует вычислять по формуле

(6.12)
где

- среднее значение коэффициента транспортабельности для
i-й фракции грунта
(таблица 6.4);
Pi - содержание i-й фракции в грунте карьера, %.
Таблица 6.4
Коэффициент 
Диаметр частиц, мм | 0,1 - 0,15 | 0,15 - 0,25 | 0,25 - 0,5 | 0,5 - 1,0 | 1 - 2 | 2 - 3 | 3 - 5 | 5 - 10 | > 10 |
| 0,02 | 0,2 | 0,4 | 0,8 | 1,2 | 1,5 | 1,8 | 1,9 | 2,0 |
6.3.4 По технологической схеме напорного гидротранспорта поток пульпы должен транспортировать по пульпопроводу мелкие фракции грунта во взвешенном состоянии, а крупные - в нижней части потока без заиления труб. В расчетах напорного гидротранспорта средняя
vср, м/с, и критическая
vкр, м/с,
(таблица 6.5) скорости движения пульпы связаны зависимостью
vср = 1,2vкр. (6.13)
Таблица 6.5
Критические скорости vкр, м/с, движения пульпы
Грунт | Dу пульпопровода, мм | Критическая скорость vкр, м/с, движения пульпы консистенцией объемного соотношения Т:Ж |
1:5 | 1:10 | 1:15 |
Пески гравелистые с содержанием гравия и гальки свыше 45% | 400 | 4,5 | 4,03 | 3,74 |
500 | 5,0 | 4,46 | 4,20 |
600 | 5,48 | 4,95 | 4,60 |
Пески гравелистые с содержанием гравия и гальки 20% - 45% | 400 | 3,87 | 3,57 | 3,28 |
500 | 4,34 | 3,90 | 3,64 |
600 | 4,76 | 4,28 | 4,0 |
Пески крупные с содержанием гравия до 10% | 400 | 3,32 | 2,94 | 2,76 |
500 | 3,67 | 3,30 | 3,08 |
600 | 4,04 | 3,6 | 3,40 |
Пески средней крупности, мелкие и пылеватые | 400 | 2,77 | 2,48 | 2,32 |
500 | 3,10 | 2,88 | 2,58 |
600 | 3,42 | 3,0 | 2,86 |
Глинистые грунты | 400 | 1,88 | 1,68 | 1,57 |
500 | 2,12 | 1,88 | 1,77 |
600 | 2,32 | 2,07 | 1,94 |
Примечание - Для потока пульпы с промежуточным значением консистенции Т:Ж критическую скорость vкр, м/с, движения пульпы по пульпопроводу следует определять экстраполированием. |
6.3.5 Диаметр пульпопровода D, м, при котором грунт пульпы по пульпопроводу движется без заиления, следует определять по формуле

(6.14)
где Qп - расход грунтового насоса земснаряда по пульпе, м3/с.
6.3.6 Суммарные потери напора грунтового насоса земснаряда при напорном гидротранспорте пульпы по пульпопроводу состоят из потерь на преодоление геодезической высоты подачи пульпы Hг, линейных потерь на трение по длине пульпопровода, местных потерь и остаточного напора.
Потери напора H0, м, грунтового насоса земснаряда при напорном гидротранспорте пульпы по пульпопроводу следует определять по формуле
H0 = hг + hвс + hш + hп + hн + hм + h0, (6.15)
где hг - геодезические потери напора, определяют по формуле

(6.16)
Hг - разность высот расположения грунтового насоса земснаряда и карты намыва, м;

- плотность пульпы, т/м
3;
hвс - потери напора во всасывающем пульпопроводе земснаряда, hвс = 1,5 - 2 м;
hш - потери напора в шаровых соединениях пульпопровода, hш = nшh1ш, м;
nш - число шаровых соединений, шт.;
h1ш - потери напора в одном шаровом соединении, h1ш = 0,25 м;
hп - потери напора в пульпопроводе (плавучем, магистральном), м, определяют по формуле
hп = iвKпL, (6.17)
iв - удельные потери напора на 1 м длины трубы при движении чистой воды, м
(таблица 6.6);
Kп - коэффициент повышения потерь напора при движении пульпы по пульпопроводу
(таблица 6.7);
L - длина пульпопровода, м;
hн - потери напора в намывном пульпопроводе, hн = iуLнп, м;
iу - удельные потери напора в намывном пульпопроводе;
Lнп - длина намывного пульпопровода, м;
hм - местные потери напора в фасонных частях пульпопровода принимают равными 10% линейных потерь в напорном пульпопроводе, м;
h0 - остаточный напор в пульпопроводе, м; h0кн = 3 - 5 м - при подаче пульпы на карту намыва; h0пс = 8 - 10 м перед перекачивающей станцией; h0гк = 10 м - на входе в гидроклассификатор.
Таблица 6.6
Потери напора и скорость движения пульпы, м/с, при движении
воды на 100 пог. м трубопровода, м
Подача воды, Q | Потери напора iв и скорость движения пульпы v, м/с, при движении воды на 100 пог. м трубопровода, м, при его диаметре, мм |
400 | 500 | 600 | 700 |
м3/ч | л/с | v | 100iв | v | 100iв | v | 100iв | v | 100iв |
800 | 220 | 1,75 | 0,77 | - | - | - | - | - | - |
900 | 250 | 1,99 | 0,98 | - | - | - | - | - | - |
1000 | 280 | 2,23 | 1,20 | - | - | - | - | - | - |
1115 | 310 | 2,47 | 1,49 | 1,58 | 0,54 | 1,10 | 0,20 | - | - |
1260 | 350 | 2,79 | 1,87 | 1,78 | 0,68 | 1,24 | 0,26 | 0,91 | 0,12 |
1440 | 400 | 3,19 | 2,42 | 2,08 | 0,88 | 1,42 | 0,33 | 1,04 | 0,16 |
1580 | 440 | 3,50 | 2,89 | 2,24 | 1,04 | 1,56 | 0,40 | 1,14 | 0,18 |
1800 | 500 | 3,98 | 3,68 | 2,53 | 1,32 | 1,77 | 0,50 | 1,30 | 0,23 |
2020 | 560 | 4,46 | 4,56 | 2,86 | 1,66 | 2,00 | 0,64 | 1,45 | 0,29 |
2230 | 620 | 4,94 | 5,56 | 3,16 | 2,01 | 2,20 | 0,76 | 1,61 | 0,35 |
2520 | 700 | 5,58 | 7,01 | 3,55 | 2,53 | 2,48 | 0,96 | 1,82 | 0,45 |
2880 | 800 | 6,38 | 9,02 | 4,08 | 3,28 | 2,83 | 1,23 | 2,08 | 0,58 |
3020 | 840 | 6,69 | 9,85 | 4,28 | 3,60 | 2,98 | 1,36 | 2,18 | 0,63 |
3240 | 900 | 7,16 | 11,22 | 4,58 | 4,06 | 3,19 | 1,55 | 2,34 | 0,72 |
3600 | 1000 | - | - | 5,10 | 5,00 | 3,54 | 1,89 | 2,60 | 0,88 |
3690 | 1100 | - | - | 5,6 | 5,11 | 3,89 | 2,09 | 2,86 | 0,99 |
4326 | 1200 | - | - | 6,11 | 5,72 | 4,24 | 2,47 | 3,12 | 1,21 |
Таблица 6.7
Коэффициент повышения сопротивления при движении пульпы
по трубопроводу Kп
Транспортируемый грунт | vср, м/с | Коэффициент повышения сопротивления при движении пульпы консистенцией объемного соотношения Т:Ж по трубопроводу Kп |
1:20 | 1:12 | 1:10 | 1:8 | 1:5 |
Глины и суглинки | 1,4 | 1,15 | 1,20 | 1,25 | - | - |
2,0 | 1,10 | 1,15 | 1,20 | 1,25 | 1,30 |
2,7 | 1,05 | 1,10 | 1,15 | 1,20 | 1,25 |
Супеси, пески мелкие и пески средней крупности | 1,7 | 1,25 | 1,25 | 1,30 | - | - |
2,0 | 1,17 | 1,20 | 1,25 | 1,30 | - |
3,2 | 1,10 | 1,15 | 1,20 | 1,25 | 1,30 |
Пески крупные | 2,1 | 1,20 | 1,30 | 1,35 | - | - |
3,0 | 1,17 | 1,25 | 1,30 | 1,35 | - |
4,0 | 1,15 | 1,20 | 1,25 | 1,30 | - |
Пески гравелистые | 2,4 | 1,30 | 1,35 | 1,40 | - | - |
3,0 | 1,25 | 1,30 | 1,35 | - | - |
4,6 | 1,20 | 1,25 | 1,30 | - | - |
6.3.7 Наибольшую дальность Lmax, м, подачи пульпы грунтовым насосом земснаряда следует определять по формуле

(6.18)
где Hн - напор, развиваемый грунтовым насосом земснаряда при принятых в проекте условиях работы, м;
iв - удельные потери напора на 1 м длины трубы при движении чистой воды, м;
Kм - коэффициент, учитывающий местные потери, Kм = 1,10 - 1,15.
6.3.8 При необходимости гидротранспорта на расстояние Lп.max > Lmax, определяют количество перекачивающих станций по формуле
nпс = (Lп.max - Lmax)iв·Kм/Hсн, (6.19)
где Hсн - напор грунтового насоса перекачивающей станции, м.
6.3.9 Технологию самотечного (безнапорного) гидротранспорта грунта по лоткам и каналам проектируют на основании результатов расчетов уклонов и скоростей движения пульпы.
6.3.10 Уклон лотка (канала) i следует определять по формуле
i = (lgQп +0,04Pгр + Ai)/1000R, (6.20)
где Qп - расход гидросмеси (пульпы), м3/с;
Pгр - содержание грунта в гидросмеси (пульпе), %;
Ai - коэффициент, характеризующий состав грунта в пульпе (для связных дисперсных грунтов принимают равным 1,84; для песков - 2,0; для песков с небольшим количеством гравия - 3,0; для гравийных грунтов - 3,0 - 5,0);
R - гидравлический радиус, м.
6.3.11 Скорость движения пульпы в лотке (канале) vср.л, м/с, следует определять по формуле

(6.21)
где W0 - средняя гидравлическая крупность грунта, м/с;
a = [d0-80/(0,5dср + 0,8)dср]0,2, (6.22)
здесь a - поправочный коэффициент неоднородности грунта;
d0-80 и dср - размеры фракций грунта, мм.
Каналы для гидравлического транспортирования грунта следует проектировать и разрабатывать трапецеидального поперечного сечения.
7 Намыв насыпей железных и автомобильных дорог
7.1 Конструкции и способы намыва дорожных насыпей
7.1.1 Способом гидромеханизации намывают насыпи и разрабатывают грунтовые выемки автомобильных и железных дорог, заготавливают штабели грунтов для последующей отсыпки дорожного земляного полотна. Проектируют производство земляных работ способом гидромеханизации в соответствии с требованиями
СП 34.13330,
СП 45.13330,
СП 78.13330,
СП 119.13330 и
СП 447.1325800.
7.1.2 В проект производства работ следует включать работы по подготовке основания карты намыва, устройству водоотводных систем, отсыпке первичного обвалования и принятие их по актам в соответствии с
СП 48.13330.
7.1.3 В проектах организации строительства и производства работ следует указывать длину, ширину и заложение откосов карты намыва дорожной насыпи, предельно допустимую интенсивность намыва в зависимости от производительности земснаряда и физико-механических свойств намываемых грунтов.
7.1.4 Длину карты намыва Lкн, м, следует определять по формуле
Lкн = Qгр/bh, (7.1)
где Qгр - производительность земснаряда по грунту, м3/сут;
b - ширина карты намыва, м;
h - интенсивность намыва, м/сут.
Длина
Lкн, м, карты намыва дорожной насыпи, число колодцев и расстояние между ними приведены в
таблице 7.1.
Таблица 7.1
Длина карты намыва, число водосбросных колодцев
и расстояние между ними
Показатель | Рекомендуемая длина карты намыва Lкн, м, число водосбросных колодцев, шт., и расстояние между ними, м, при производительности земснаряда, м3/ч, по пульпе |
1000 | 1500 | 3000 | 4000 | 5000 |
по грунту |
100 | 150 | 300 | 400 | 500 |
Длина карты намыва, м | 50 - 150 | 100 - 200 | 150 - 250 | 200 - 300 | 200 - 400 |
Число водосбросных колодцев, шт. | 1 - 2 | 1 - 2 | 2 - 3 | 2 - 3 | 2 - 4 |
Расстояние между колодцами, не более, м | 75 | 75 | 75 | 100 | 100 |
Ширину карты намыва
b, м, при проектировании дорожной насыпи следует принимать по
таблице 7.2.
Таблица 7.2
Тип земляного полотна дороги | Ширина карты намыва b, м, при производительности земснаряда по пульпе, м3/ч |
800 - 1000 | 1101 - 2000 | 2001 - 3000 | 3001 - 4000 | 4001 - 7500 |
Широкопрофильное | 15 | 25 | 45 | 60 | 100 |
Узкопрофильное | 15 (5) | 25 (10) | 45 (12) | 60 (15) | 100 (30) |
Примечание - В скобках указана минимальная ширина насыпи по гребню. |
Интенсивность намыва, м/сут, следует проектировать такой, чтобы грунт в процессе намыва успевал отдавать воду. Предельно допустимая интенсивность намыва, которую следует принимать при проектировании намыва дорожных насыпей, приведена в
таблице 7.3.
Таблица 7.3
Предельная интенсивность намыва песка, м/сут
| Предельная интенсивность намыва песка, м/сут, для основания карты намыва |
Водонепроницаемого | Водопроницаемого |
Пылеватый и мелкий | 0,2 - 0,4 | 0,4 - 0,6 |
Средней крупности | 0,4 - 0,6 | 0,6 - 0,8 |
Крупный | 0,6 - 1,0 | 1,0 - 1,5 |
Гравелистый | 1,0 - 1,5 | 1,5 - 2,0 |
Интенсивность намыва грунта и величину заложения откосов намывной дорожной насыпи следует обосновывать расчетом на устойчивость и фильтрационную прочность.
Откосы карты намыва из крупных песков следует проектировать не круче 1:2; - для средней крупности - 1:2,5; - мелких - 1:3; - пылеватых - 1:4.
7.1.5 В соответствии с
СП 45.13330 объемы разработки грунта в карьере земснарядом при намыве насыпей железных и автомобильных дорог следует проектировать с запасом на восполнение следующих потерь:
- на осадку основания под насыпью согласно проекту;
- уплотнение грунта, равное 1,5% высоты сооружения при намыве супесей и суглинков и 0,75% - песка и песчано-гравийных грунтов;
- унос грунта течением воды и волнами в размере 1% - 2% при намыве подводных частей насыпей, а также насыпей на пойме в период подтопления;
- унос грунта ветром - 0,5% - 2% объема намыва грунта;
- перемыв проектного профиля, технологические потери грунта при грунтозаборе и уносе со сбросной водой.
Нормируемые потери намывных грунтов приведены в
приложении Б.
7.1.6 Способы намыва насыпей железных и автомобильных дорог следует проектировать по
приложению Е.
7.1.7 Последовательность намыва дорожной насыпи безэстакадным способом приведена на
рисунке 7.1.
1 - первичное обвалование; 2 - намывной пульпопровод;
3 - "шапка" насыпи, формируемая экскаватором из резерва;
4 - резерв грунта
Рисунок 7.1 - Намыв узкопрофильной насыпи
безэстакадным способом
Безэстакадный способ намыва - наиболее эффективный, так как обеспечивает полную механизацию работ, непрерывность процесса намыва, увеличивает коэффициент использования земснаряда по времени, не требует применения лесоматериалов.
7.1.8 При безэстакадно-тонкослойном способе грунт намывают слоями 0,15 - 0,6 м
(рисунок 7.2). Для наращивания намывного пульпопровода в процессе намыва следует применять кран-трубоукладчик на гусеничном ходу с удельным давлением на грунт не более 0,02 - 0,025 МПа.
1 - водосбросный колодец; 2 - прудок-отстойник;
3 - кран-трубоукладчик; 4 - намывной пульпопровод
с быстроразъемными соединениями; 5 - бульдозер
Рисунок 7.2 - Безэстакадно-тонкослойный способ намыва
7.1.9 При безэстакадно-торцовом способе
(рисунок 7.3) грунт намывают слоями высотой 1,5 м и более до проектной высоты сооружения.
1 и 2 - первичное и текущее обвалование соответственно;
3 - положения намывного пульпопровода; 4 - водосбросной
колодец; 5 - водосбросная канава; 6 - кран-трубоукладчик;
7 - бульдозер
Рисунок 7.3 - Безэстакадно-торцовый способ намыва
7.1.10 При безэстакадно-встречно-торцовом способе
(рисунок 7.4) грунт намывают слоями в направлении, противоположном намыву предыдущего слоя.
1 и 2 - первичное и текущее обвалование соответственно;
3 - положения намывного пульпопровода;
4 - кран-трубоукладчик; 5 - водосбросный колодец;
6 - прудок-отстойник; 7 - бульдозер
Рисунок 7.4 - Безэстакадно-встречно-торцовый способ намыва
7.1.11 При безэстакадно-продольно-торцовом бесколодцевом способе
(рисунок 7.5) намыва грунта пульпу сосредоточенно выпускают из торцов труб, укладываемых на отметке гребня сооружения. Осветленную воду отводят через временные трубчатые водосбросы, расположенные в первичном обваловании. В данном способе нет деления сооружения на карты намыва и фронт намыва не ограничен по длине. Данный способ получил широкое применение при намыве насыпей железных и автомобильных дорог в экстремальных природно-климатических условиях Западной Сибири.
1 - намывной пульпопровод; 2 - первичное обвалование;
3 - перемычка; 4 - бульдозер; 5 - прудок-отстойник;
6 - водосбросная канава
Рисунок 7.5 - Безэстакадно-продольно-торцовый
бесколодцевый способ намыва
7.1.12 При послойно-грунтоопорном способе намыва
(рисунок 7.6) пульпу сосредоточенно выпускают из торцов труб, уложенных на земляных валах высотой до 1,5 м. Данный способ намыва обеспечивает экономию лесоматериалов. Недостаток - дополнительные объемы земляных работ по формированию земляных валов бульдозером.
1 - насыпь; 2 - намывной пульпопровод; 3 - участки
наращивания пульпопровода; 4 - валы грунта
Рисунок 7.6 - Послойно-грунтоопорный способ намыва
7.1.13 При низкоопорном способе намыва
(рисунок 7.7) распределительный пульпопровод укладывают на низких инвентарных опорах высотой до 1,5 м. Пульпу выпускают на намываемую поверхность сосредоточенно из торца распределительного пульпопровода. Толщину намываемого слоя принимают равной 1,0 - 1,2 м. Недостаток способа - значительный расход лесоматериалов.
1 - первичное обвалование; 2 - намывной пульпопровод
(располагается по оси насыпи); 3 - водосбросной колодец;
4 - прудок-отстойник; 5 - водосбросная канава;
6 - бульдозер; 7 - трубоукладчик;
8 - магистральный пульпопровод
Рисунок 7.7 - Низкоопорный способ намыва
7.1.14 По методу "набивки гребня"
(рисунок 7.8) верхнюю часть насыпи высотой 1,5 - 2 м формируют бульдозером из намытого грунта, "набиваемого" в направлении, противоположном намыву. Метод следует применять для намыва узкопрофильных дорожных насыпей.
1 - бульдозер; 2 - намывной пульпопровод; 3 - опора
трубопровода узкопрофильной насыпи или вал грунта;
4 - обвалование
Рисунок 7.8 - Намыв методом "набивки гребня"
узкопрофильной насыпи
7.1.15 Отработанную воду с карт намыва следует отводить по водосбросной системе, включающей водосбросные колодцы, трубы, канавы и отстойники.
Расход воды через колодец Qк, м3/с, следует определять по формуле
Qк =
m·П
с.к.·
H(2
g·
H)
0,5, (7.2)
где m = 0,42 - 0,46 - коэффициент расхода жидкости;
Пс.к. - длина периметра водосливных стенок колодца, м;
H - высота переливающегося слоя воды, H = 0,1 - 0,2 м.
Число водосбросных колодцев n = Qс/Qк, где Qс - количество отработанной воды для отвода с карты намыва, м3/с.
Расход воды Qт через водосбросную трубу, м3/с, определяют по формуле

(7.3)
где

- коэффициент расхода при свободном истечении в атмосферу;
Aв.т. - площадь поперечного сечения водосбросной трубы, м2;
7.1.16 Количество пылеватых и глинистых фракций грунта, отмываемых с карты намыва с целью улучшения физико-механических свойств грунтов, следует проектировать по результатам расчетов размеров прудка-отстойника и гидравлических параметров водосбросного колодца.
Условие осаждения пылеватых и глинистых фракций грунта на карте намыва - соблюдение следующего неравенства

(7.4)
где vп - средняя скорость течения воды в прудке-отстойнике, м/с;
qп - расход воды, поступающей в колодец, м3/с;
Fп - площадь сечения прудка, м2;

- гидравлическая крупность наибольших по размеру частиц грунта, осаждающихся в прудке-отстойнике, м/с.
7.1.17 Осветленную воду с карт намыва следует отводить по водосбросным грунтовым канавам с заложением откосов в зависимости от вида грунта, попутным уклоном 0,001 - 0,002 и скоростью потока 0,8 - 0,95 м/с, которую следует определять по результатам расчетов или принимать по
таблице 7.4.
Таблица 7.4
Средняя скорость потока сбросной воды vср, м/с,
для транспортирования частиц грунта во взвешенном состоянии
Разновидность грунта | Размер частиц d, мм | vср, м/с |
Пылеватые и илистые | 0,005 - 0,05 | 0,10 - 0,18 |
Глины и суглинки | 0,005 - 0,05 | 0,25 - 0,35 |
Песок: | | |
- мелкий | 0,05 - 0,25 | 0,18 - 0,30 |
- средний | 0,25 - 1,0 | 0,30 - 0,45 |
- крупный | 1,0 - 2,0 | 0,45 - 0,50 |
Скорость потока воды vтр, м/с, в водосбросной канаве для транспортирования частиц грунта во взвешенном состоянии, следует определять расчетом при соблюдении следующего неравенства

(7.5)
где КТ = 15 - 20 - коэффициент турбулентности;

- гидравлическая крупность транспортируемых частиц грунта, м/с.
7.1.18 Дорожные насыпи высотой 6 - 8 м и более из слабоводопроницаемых
Kф < 0,005 м/сут
(ГОСТ 25100) мелких и пылеватых песков следует намывать в два яруса или картами намыва длиной 300 - 400 м. Намывать дорожную насыпь следует безэстакадно-встречно-торцовым способом с двумя попеременно работающими водосбросными колодцами и "блуждающим" прудком-отстойником
(рисунок 7.9).
1 - магистральный пульпопровод; 2 - стояк намывного
пульпопровода; 3 и 4 - водосбросные колодцы;
5 - переключатель подачи пульпы на карту намыва
Рисунок 7.9 - Схема намыва дорожной насыпи
безэстакадно-встречно-торцовым способом
с "блуждающим" прудком-отстойником
Первоначально следует намыть основание насыпи высотой до 3 м бесколодцевым способом или картами намыва
(рисунок 7.9) для создания дренирующего слоя. На это основание следует намыть грунт верхней части насыпи.
Осветленную воду
(рисунок 7.9) следует сбрасывать с карты намыва через дальний (от выпуска пульпы) колодец. При этом, вблизи ближнего (неработающего) колодца, закрытого шандорами, осаждаются частицы грунта более крупных фракций.
Намытый грунт практически сразу имеет несущую способность, обеспечивающую бульдозеру передвижение по карте намыва и устройство обвалования в районе колодца с закрытыми шандорами
(рисунок 7.9).
В процессе намыва дорожной насыпи
(рисунок 7.9) прудок-отстойник перемещается ("блуждает") от одного колодца к другому на участках карты намыва с подготовленным обвалованием. При этом верхнюю часть узкопрофильной дорожной насыпи следует формировать методом "набивки гребня".
7.1.19 Насыпи дорог высотой до 5 - 6 м следует намывать безэстакадным продольно-торцовым бесколодцевым способом сразу на полную проектную высоту. По этой схеме трубы намывного пульпопровода следует укладывать на отметках гребня насыпи.
Осветленную воду следует отводить через временные трубчатые водосбросы, уложенные через 200 - 250 м на дамбе первичного обвалования высотой 1,5 - 2 м, перед поперечными перемычками. При подходе грунта к водосбросной трубе перемычку следует разрушить, а трубу для сброса осветленной воды переложить на следующий участок, на котором продолжают намыв.
Верхнюю часть узкопрофильной насыпи высотой 1 - 1,5 м следует формировать методом "набивки гребня" бульдозером до проектной отметки. После "набивки гребня" на участке намывной пульпопровод следует нарастить на три-четыре длины трубы (18 - 24 м).
7.1.20 По схеме
(рисунок 7.10) на первом этапе в основание насыпи следует намыть земляную подушку (тропу) из грунта. Основание насыпи следует намывать на высоту 1,5 - 2,0 м при подаче пульпы безэстакадным продольно-торцовым способом с укладкой намываемого грунта с откосами заложением 1:25 (в зависимости от крупности частиц грунта и удельных расходов подачи пульпы), обеспечивающими возможность бульдозеру или бульдозеру-трубоукладчику выполнять работы по устройству обвалования из намытого грунта. При необходимости, следует продолжить намыв дорожной насыпи до проектного профиля по схеме, приведенной в проекте.
1 - намыв земляной "подушки" с пляжным откосом
(I этап намыва); 2 - намыв насыпи (II этап намыва);
3 - положения пульпопровода на I и II этапах намыва;
4 - просадка насыпи (стрелками показано перемещение грунта
бульдозером для обвалования на I этапе намыва)
Рисунок 7.10 - Последовательность намыва дорожной насыпи
на основание из грунтов низкой прочности
на затопляемом участке поймы реки
7.1.21 Земляное полотно дороги
(рисунок 7.10) с пляжными (волноустойчивыми) откосами заложением 1:25 (в зависимости от крупности частиц грунта и удельных расходов подачи пульпы) следует намывать на грунтах низкой прочности и затопляемом основании.
Заложение пляжного откоса следует проектировать на основе расчетов устойчивости к волновым и ветровым воздействиям, в местах, не подверженных размыву в паводок
(рисунок 7.11).
1 - поперечный профиль намывной насыпи со свободными
"пляжными" волноустойчивыми откосами
Рисунок 7.11 - Поперечные профили в пойме реки
и на затапливаемом участке
7.1.22 Технология намыва насыпей с пляжными волноустойчивыми откосами обеспечивает возможность с большим экономическим эффектом отказаться от искусственного крепления откосов, например, железобетонными плитами. Возведение и эксплуатация намывных сооружений по проекту с пляжными откосами отличается повышенной надежностью и устойчивостью намывных пляжных откосов в сравнении с традиционными конструкциями крепления.
7.1.23 При намыве земляного полотна дороги из мелких и пылеватых песков с прослойками глинистых грунтов пляжные откосы под ветровыми и волновыми нагрузками уполаживаются до 1:35 - 1:50. При этом часть грунта осаждается за пределами проектного профиля сооружения.
7.1.24 Дамбы первичного обвалования из песчаных грунтов следует проектировать в теле насыпи. В процессе намыва последующих слоев насыпи происходит естественное уплотнение дамб первичного обвалования нижнего слоя. Дамбы из супесчаных, суглинистых и глинистых грунтов следует располагать вне проектного контура насыпи. По окончании работ грунты этих дамб следует удалить. При креплении откосов намывных насыпей железобетоном первичное и текущее обвалование выносят за проектный контур с последующей срезкой рыхлого слоя.
7.1.25 Грунт подводной части насыпи следует намывать при сосредоточенном выпуске пульпы из торца периодически наращиваемого намывного пульпопровода, расположенного на свободном откосе на 1 - 1,5 м выше уровня воды. При намыве грунта под водой откос формируют более крутым, чем над водой. Заложение подводного откоса зависит от намываемых грунтов и глубины водоема. Средние значения заложений подводных откосов при намыве грунта в воду приведены в
таблице 7.5.
Таблица 7.5
Заложение подводных откосов при намыве грунта в воду
| Средние значения заложений подводных откосов при намыве грунта в воду при глубине намыва, м |
1 - 5 | 5 - 10 | 10 - 15 | 15 - 20 |
Супесь | 1:8 | 1:16 | 1:24 | 1:28 |
Песок мелкий | 1:6 | 1:13 | 1:19 | 1:22 |
- средней крупности | 1:6 | 1:12 | 1:17 | 1:20 |
- крупный | 1:5 | 1:10 | 1:14 | 1:17 |
Крупнообломочный: гравийный, дресвяный | 1:1,5 | 1:1,5 | 1:1,5 | 1:1,5 |
- галечниковый, щебенистый | 1:1,25 | 1:1,25 | 1:1,25 | 1:1,25 |
Время, сут, консолидации намытого супесчаного грунта для различной температуры воздуха, °C, приведено в
таблице 7.6.
Таблица 7.6
Время, сут, консолидации намытого супесчаного грунта
Мощность слоя намыва грунта, м | Время, сут, консолидации намытого супесчаного грунта при температуре воздуха, °C |
10 | 20 | 30 | 40 |
0,1 | 27 | 4,5 | 1,5 | 1,0 |
0,2 | 27 | 5,8 | 2,3 | 1,9 |
0,3 | 27 | 6,8 | 3,3 | 2,2 |
0,4 | 32 | 7,4 | 4,2 | 2,4 |
0,5 | 39 | 8,5 | 5,4 | 3,3 |
7.2 Намыв насыпей на основания из низкопрочных грунтов и болота
7.2.1 Конструкцию намывной дорожной насыпи на основания из низкопрочных грунтов и болота в соответствии с
СП 34.13330 и
СП 78.13330 следует проектировать на основе результатов технико-экономического сравнения вариантов:
- с вырезкой и удалением низкопрочных грунтов;
- использованием низкопрочных грунтов в качестве сжимаемого слоя основания дорожной насыпи.
7.2.3 Насыпи на низкопрочных грунтах и болотах следует намывать безэстакадным, продольно-торцовым или встречно-торцовым способами
(приложение Е).
В проектах организации строительства и производства работ следует разработать технологические схемы и организационно-технические мероприятия намыва насыпей на низкопрочных грунтах и болотах.
7.2.4 Насыпи дорог на естественное основание из низкопрочных грунтов следует намывать из дисперсных несвязных и водопроницаемых (
Kф > 3 м/сут) грунтов по
ГОСТ 25100.
7.2.5 На
рисунке 7.12 показаны схемы намыва дорожной насыпи на основание из низкопрочного грунта с частичным замещением на намывной грунт в процессе производства намывных работ.
1 - намывной пульпопровод; 2 - обвалование;
3 - бульдозер-трубоукладчик
Рисунок 7.12 - Схемы намыва в насыпи с заменой части
низкопрочных грунтов основания на намывной грунт
7.2.6 Схемы намыва дорожной насыпи в два этапа показаны на
рисунке 7.13.
1 и 2 - положения пульпопровода на этапах намыва;
3 - прорези в низкопрочном грунте;
4 - бульдозер-трубоукладчик
Рисунок 7.13 - Схемы намыва насыпи в два этапа
без "выторфовывания"
На первом этапе намыва земснаряд подает пульпу из торца намывного пульпопровода на грунтовое основание без обвалования. Грунт, при свободном растекании пульпы, формирует пологие "пляжные" откосы с заложением 1:6 - 1:30, несущую способность которых проектируют из условия обеспечения работы бульдозера-трубоукладчика на карте намыва с основанием из низкопрочных грунтов.
На втором этапе, после формирования первичного обвалования из грунта, намытого на первом этапе, земснаряд намывает узкопрофильную насыпь дороги проектного профиля.
7.2.7 Конечную стабилизированную осадку намывных дорожных насыпей на низкопрочных грунтах и болотах следует определять расчетом в соответствии с
СП 34.13330,
СП 45.13330,
СП 78.13330.
Консолидацию грунтов основания насыпи следует завершить до устройства искусственного покрытия (исключение допускается при применении сборных покрытий насыпей автомобильных дорог).
7.2.8 Заложение откосов намывных дорожных насыпей для участков ниже естественной поверхности низкопрочного грунта или поверхности болота следует проектировать в зависимости от разновидности дисперсных грунтов (песка) по
ГОСТ 25100 и в соответствии с
таблицей 7.7.
Таблица 7.7
Заложение откосов намывной дорожной насыпи ниже
естественной поверхности низкопрочного грунта
Разновидность грунта | Заложение откоса |
Пески: - пылеватые и мелкие | 1:4 |
- средней крупности и крупные | 1:2 |
Крупнообломочные грунты | 1:1,5 |
7.2.9 При проектировании намыва дорожной насыпи полную вырезку низкопрочных грунтов следует выполнять на болотах I и II типов глубиной до 4 м при усовершенствованном капитальном покрытии автомобильной дороги и до 2 м при облегченном покрытии.
7.2.10 Технологию намыва с частичной вырезкой низкопрочных грунтов следует проектировать на дорогах с переходным и низшим типами покрытий.
На болотах III типа глубиной до 4 м для дорог с любым типом покрытия насыпи следует намывать без вырезки низкопрочных грунтов и намывом грунта с осадкой намывной насыпи на минеральное дно болота.
7.2.11 Грунт на основаниях из низкопрочных грунтов и болотах следует намывать при систематическом мониторинге технологии производства работ и проверки соответствия следующих параметров:
- глубины и ширины вырезки низкопрочных грунтов и грунтов выторфовки болота;
- условий работы водоотводных систем по проекту;
- гранулометрического состава, плотности и фильтрации намытого грунта;
- осадки и консолидации грунтов с применением плит-марок.
7.2.12 Проект производства работ технологии намыва грунта на основаниях из грунтов низкой прочности и болотах следует корректировать по результатам намыва опытного участка: провести комплексные испытания физико-механических свойств намытых грунтов и разработать рекомендации по оптимизации технологии производства работ по техническим, экономическим и экологическим критериям.
7.2.13 При намыве осадку основания необходимо контролировать плит-марками. Конструкция плит-марки для измерения величины осадки основания насыпи сооружения состоит из квадратной стальной пластины толщиной 2 - 4 мм размером не менее 0,4 x 0,4 м с приваренной по центру мерной штангой. Длина мерной штанги принимается равной проектной толщине намываемого слоя плюс 1 м, в целях ее предохранения от повреждений техникой, работающей на карте намыва.
7.3 Намыв насыпей вторых путей железных и уширение земляного полотна действующих автомобильных дорог
7.3.1 Сооружение насыпи вторых путей железных и уширение земляного полотна действующих автомобильных дорог, без остановки движения, следует проектировать по технологии с отсыпкой намывного грунта из штабеля или резерва, а также методом прямого намыва, на основе результатов обоснования надежности и безопасности.
В проекте возведения насыпей вторых путей из намывных грунтов следует разработать и согласовать мероприятия по защите от негативных воздействий существующих сооружений железной или автомобильной дороги.
7.3.2 Для намыва насыпи второго пути (
рисунки 7.14 и
7.15) следует использовать грунты, однородные с грунтами существующей насыпи, или грунты с более высокими дренирующими свойствами (среднезернистые пески и гравийные или песчано-гравийные смеси).
а - на полную высоту; б - с отсыпкой верхней части насыпи
из резерва грунта; I и II - продольные оси действующего
и второго пути; 1 - насыпь под второй путь;
2 - водосбросные колодцы; 3 - намывной пульпопровод;
4 - резерв грунта
Рисунок 7.14 - Схема намыва насыпи для второго пути
1, 2 и 3 - очередности намыва частей насыпи;
4 - существующая насыпь
Рисунок 7.15 - Намыв грунта и подъем насыпи по очередям
7.3.3 На этапе подготовки к намыву следует удалить с откосов дерн и древесно-кустарниковую растительность. В случае их отсутствия - песчаные грунты откоса следует разрыхлить на глубину 0,10 - 0,15 м, а в глинистых грунтах нарезать уступы шириной 1,0 - 1,5 м с устройством поперечных уклонов заложением 0,01 - 0,02.
7.3.4 Карту намыва насыпей вторых путей следует проектировать длиной до 120 - 150 м и шириной не менее 8 м с учетом принятой в проекте интенсивности намыва.
7.3.5 Во избежание переувлажнения насыпи действующего пути на карту намыва следует подавать пульпу возможно более высокой консистенции. Прудок-отстойник должен быть минимальных размеров. Располагать прудок-отстойник вблизи откоса существующей насыпи не допускается. Образование застойных зон воды и пульпы при намыве, а также участков, примыкающих к существующей насыпи, с мелкими частицами грунта, не допускается. Обвалование карты намыва следует отсыпать двухсторонним, с опережающей отсыпкой со стороны существующей насыпи.
7.3.6 При возведении насыпи второго пути шириной менее 8 м следует намыть резерв (штабель) грунта в объеме, необходимом для отсыпки верхней части насыпи.
7.3.7 При уширении поперечного профиля насыпи и поднятии полотна обоих путей на новый уровень грунт следует намывать в несколько очередей
(рисунок 7.15).
7.3.8 При сложных профилях укладки намывного грунта сбросные колодцы на картах намыва следует устраивать ступенчатыми в соответствии со схемами намыва.
7.3.9 В ходе проектирования организации строительства по намыву насыпей вторых путей без перерыва движения поездов по первому пути и определении производительности гидроустановок следует принимать понижающие коэффициенты 0,95 и 0,90 к объему земляных работ соответственно ниже и выше отметки бровки существующей насыпи.
7.3.10 В процессе производства земляных работ способом гидромеханизации следует проводить систематический мониторинг технического состояния существующей и возводимой насыпей железной дороги.
7.3.11 В случае появления признаков нарушения устойчивости насыпи, оползней, сплавов намытого грунта или просадок, работы следует прекратить и немедленно информировать об этом производителя работ.
7.3.12 Земляные работы по намыву насыпей для вторых путей следует выполнять в соответствии с
ГОСТ Р 12.3.048. Проектирование мероприятий по обеспечению устойчивости полотна и безопасности движения поездов по действующему пути следует выполнять в соответствии с
ГОСТ Р 12.3.048.
8 Намыв территорий и площадей для строительства
8.1 Территории строительства следует намывать при сравнительно небольшой толщине слоя намывного грунта в 1,0 - 3,0 м и обширных размерах в плане.
Технологию намыва территории следует проектировать в соответствии с
СП 22.13330,
СП 45.13330 и
приложением Е, отдельными картами с указанием объемов земляных работ, сроков и очередности передачи намытого участка под застройку.
8.2 Намывная территория - площадка значительных размеров в плане при сравнительно небольшой мощности слоя намывного грунта. Особых требований к фракционированию грунтовых частиц при намыве территории нет. Сравнительно простые технологические схемы намыва грунта обеспечивают земснарядам наиболее существенные технико-экономические преимущества по сравнению с "сухоройными" способами производства земляных работ по подготовке к строительству территорий (площадей).
8.3 Территорию (площадь) намывают отдельными картами, количество и расположение которых определяют в проекте с учетом объемов намывных работ, сроков их производства, очередности передачи намытых участков территории под застройку.
8.4 В проектной документации и при производстве работ по намыву территорий следует указывать здания и сооружения с повышенным удельным давлением на грунт, в основании которых не допускается располагать водосбросные колодцы, границы смежных карт намыва и т.п.
8.5 Проектировать технологию намыва территории следует в соответствии с техническим заданием и
СП 45.13330.
8.6 Для намыва территории следует применять безэстакадный послойно-грунтоопорный, продольно-торцовый (бесколодцевый) и кольцевой способы намыва грунта (см.
раздел 9).
8.7 Территорию ограждают по периметру обвалованием высотой 1 - 1,5 м. Обвалованную площадь делят на карты намыва. В средней части площадки располагают магистральный пульпопровод, к которому присоединяют распределительные пульпопроводы. В процессе намыва пульпу подают поочередно в распределительные пульпопроводы, которые после намыва проектного объема грунта демонтируют и переносят подачу пульпы на очередной участок. Отработанную воду при этом отводят с карты намыва через водосбросные колодцы, водоводы и водоотводные канавы, при необходимости, осветляя в отстойнике. Схема намыва территории при подаче пульпы на карту намыва из разводящего пульпопровода приведена на
рисунках 8.1 и
8.2.
1, 2, 6 - кольцевой, намывной и магистральный пульпопроводы
соответственно; 3, 7 - первичное и текущее обвалование;
4 - водосбросной колодец; 5 - переключатель пульпы
Рисунок 8.1 - Схема намыва территорий по кольцевому (а)
и параллельному (б) пульпопроводам
1 - намытая часть площади; 2 - разводящие пульпопроводы;
3 - магистральный пульпопровод; 4 - обвалование площади;
5 - сбросные колодцы; 6 - водоотводная канава;
7 - пульпопровод на поплавках; 8 - землесосный снаряд;
9 - выработанная часть карьера
Рисунок 8.2 - Схема торцового намыва площадей
из разводящих пульпопроводов
8.8 Участки территории между пульпопроводами, со сравнительно низкими отметками поверхности намытого грунта, следует выравнивать и планировать, перемещая грунт бульдозерами.
8.9 Работы по намыву грунтовых территорий на грунтах низкой прочности следует выполнять поэтапно
(рисунок 8.3).
1 - кровля минеральных грунтов; 2 - торф; 3 - намыв
нижнего слоя; 4 - отрывка замковых траншей с устройством
обвалования; 5 - пульпопровод для намыва нижнего слоя;
6 - пульпопровод для намыва верхнего слоя
Рисунок 8.3 - Намыв территории поэтапно
8.10 На первом этапе грунт намывают при подаче пульпы из торца пульпопровода, пионерным способом со свободным откосом на высоту 1 - 1,5 м.
Второй этап заключается в подготовке замковых траншей и устройстве обвалования из намытого грунта экскаватором повышенной проходимости.
Третий этап заключается в намыве верхнего яруса территории из торца пульпопровода, а также устройстве дренажных траншей.
8.11 Намыв территории из связных грунтов и шламохранилищ допускается выполнять также кольцевым способом. Пульпу выпускают из шиберных отверстий пульпопровода, уложенного по периметру сооружения.
8.12 Плотность намытого грунта зависит от его гранулометрического состава, неоднородности, технологии намыва, консистенции пульпы. При движении потока пульпы к прудку-отстойнику плотность намытого грунта понижается от места выпуска пульпы, где откладываются крупные фракции грунта. При подаче на карту намыва пульпы высокой консистенции плотность укладки грунта уменьшается, при подаче пульпы низкой консистенции плотность намытого грунта увеличивается до определенного предела. Наибольшая плотность укладки грунта достигается при консистенции пульпы в пределах 8% - 12%. Плотность намытого грунта повышается с увеличением его крупности при одном и том же коэффициенте неоднородности. Наиболее интенсивный процесс уплотнения в пляжевой части происходит в течение суток после намыва. Процесс повышения плотности намытого грунта связан с удалением из него избыточной воды.
9 Земляные работы способом гидромеханизации в гидротехническом и мелиоративном строительстве
9.1 Намывные плотины и дамбы
9.1.1 Проектировать и намывать новые и реконструировать действующие грунтовые плотины, напорные и струенаправляющие дамбы гидротехнического, энергетического и мелиоративного назначения следует согласно
СП 39.13330,
45.13330 и
СП 58.13330.
9.1.2 Высоты намывных плотин, оградительных и струенаправляющих дамб, гидроотвалов, хвостохранилищ и искусственных островов в зависимости от класса ответственности по
СП 58.13330 приведены в
таблице 9.1.
Таблица 9.1
Высота намывного сооружения
Намывное сооружение | Тип грунта основания | Высота намывного сооружения, м, для класса ответственности |
I | II | III | IV |
Грунтовая плотина | А | > 80 | 50 - 80 | 20 - 50 | < 20 |
Б | > 65 | 35 - 65 | 15 - 35 | < 15 |
В | > 50 | 25 - 50 | 15 - 25 | < 15 |
Оградительная и струенаправляющая дамба | А, Б, В | > 25 | 5 - 20 | < 5 | - |
Гидроотвал и шламохранилище | А, Б, В | > 50 | 20 - 50 | 10 - 20 | < 10 |
Искусственный остров | А, Б, В | > 25 | < 25 | - | - |
Обозначения: А - скальные; Б - песчаные, крупнообломочные и глинистые грунты в твердом и полутвердом состояниях; В - глинистые мягкопластичные грунты. |
Таблица 9.2
Типы конструкции намывных морских нефтегазопромысловых
гидротехнических сооружений
Тип конструкции намывного морского нефтегазопромыслового гидротехнического сооружения | Эксплуатационное назначение | Основные условия применения природных сооружений |
Тип грунта основания | Глубина, м | Ледовый режим |
Остров с пляжными откосами или обжатого профиля | Для бурения скважин, сбора и хранения нефти и газа | А, Б | До 15 | Без ограничений |
Остров с защитной стенкой из шпунта | То же, с причальной стенкой | А, Б | До 30 | То же |
9.1.4 В соответствии с
СП 39.13330 грунтовые плотины, в зависимости от способа намыва и профиля, подразделяют на виды
(рисунок 9.1).
а - с ядром на водонепроницаемом основании; б - однородная
на песчаном основании; в - из песка на водопроницаемом
основании, намытая с односторонним свободным откосом;
1 - верхний бьеф; 2, 4 - боковые призмы; 3 - ядро;
5 - дренаж; 6 - основание плотины
Рисунок 9.1 - Виды и поперечные профили намывных плотин
9.1.5 Минимальную ширину гребня плотины следует проектировать в зависимости от гранулометрического состава грунта в карьере, способа намыва, условий эксплуатации сооружения: обеспечения проезда транспортных средств, шириной не менее 20 м.
При меньшей ширине верхнюю часть плотины следует отсыпать насухо грунтом из намывного штабеля.
9.1.6 Объем кондиционного грунта в карьере должен в 1,5 - 1,8 раза превышать проектный.
9.1.7 Норму отмыва следует проектировать в зависимости от гранулометрического состава грунта в карьере, технологии намывных работ и определять по
СП 39.13330.
9.1.8 На завершающем этапе намыва плотины и дамбы следует разработать проект ликвидации (заделки, тампонирования) водосбросных систем. Заделку этих систем выполняют путем:
- промывки коллектора водой и откапывания труб;
- установки заглушек на трубах с устройством клапанов для выпуска воздуха и средств контролирования процесса;
- заполнения водосбросных коллекторов и систем пластичным бетоном без перерывов.
Шахтные колодцы, по согласованию с проектной организацией, следует заделывать укладкой грунта с послойной отсыпкой, поливом водой и уплотнением.
9.1.9 Геотехнический контроль при возведении намывных плотин и дамб согласно
СП 39.13330 и
СП 58.13330 осуществляет заказчик в порядке технического надзора и для сравнения фактических параметров с проектными.
Следует контролировать: объем разработки грунта в карьере; технологию и качество намытого грунта с отбором проб грунта для определения плотности, гранулометрического состава, коэффициента фильтрации и т.д.
9.2 Разработка каналов
9.2.1 В зависимости от назначения различают каналы: судоходные, мелиоративные, оросительные, водоподводящие и т.п. Все каналы при производстве работ способом гидромеханизации следует проектировать и разрабатывать в соответствии с требованиями
СП 45.13330 как профильные грунтовые выемки.
9.2.2 Переборы разработки грунта на откосах и подошве канала с искусственным креплением не допускаются. Недоборы грунта по дну, при разработке каналов без искусственного крепления или с креплением каменной наброской, также не допускаются.
При определении объемов земляных работ способом гидромеханизации допускаются только переборы грунта по дну.
Допускаемые переборы грунта
hп, м, по дну каналов в зависимости от производительности земснаряда
Qз по воде приведены в
таблице 9.3.
Таблица 9.3
Допускаемые переборы грунта hп, м, по дну каналов
в зависимости от производительности земснаряда Qз по воде
Qз, м3/ч | 800 - 1000 | 1001 - 2000 | 2001 - 3500 | 3501 - 7000 | > 7000 |
hп, м | 0,3 | 0,3 | 0,5 | 0,6 | 0,9 |
Примечание - Допускаемые переборы грунта hп, м, по дну канала при наличии валунов размерами до 60 см следует увеличивать на 0,2 м, до 80 см - на 0,4 м. |
9.2.3 При разработке земснарядом грунтовой подводной выемки допускается не планировать откосы под водой, в связи с тем, что в процессе эксплуатации канала откосы самоуполаживаются до устойчивого естественного заложения под действием течения и ветровых волн. Подводные грунтовые откосы в несвязных грунтах самоуполаживаются быстрее, чем в связных грунтах.
9.2.4 Если при разработке грунта в каналах земснарядом проектное заложение откосов не обеспечивается, а крепление откосов канала проектом не предусмотрено, то откосы следует формировать по принципу равновеликости объемов, заключающемуся в переборе грунта в основании откоса и недоборе в верхней его части. По этой технологии откосы самоуполаживаются до устойчивого их заложения в процессе эксплуатации.
9.2.5 Технология земляных работ способом гидромеханизации с разработкой более пологих грунтовых откосов канала, с заложением 1:5 вместо 1:3, предусматривает отказ от планировки и искусственных откосов и, несмотря на некоторое увеличение объемов земляных работ, снижение затрат и сокращение сроков строительства.
9.2.6 Заложения откосов подводных выемок, которые следует принимать при проектировании, приведены в
таблице 9.4.
Таблица 9.4
Заложение откосов подводных выемок
Разновидность грунта | Заложение откосов в воде |
стоячей | текущей |
Пески: гравелистые и крупные | 1:1,5 - 1:2 | 1:2 - 1:2,5 |
Песок: - средней крупности и мелкие | 1:3 - 1:3,5 | 1:4 - 1:6 |
- пылеватые | 1:5 - 1:6 | 1:5 - 1:6 |
9.2.7 Разрабатывать каналы с намывом приканальных отвалов (дамб) следует с применением двустороннего плавучего гидроотвального моста. Гидроотвальный мост
(рисунок 9.2) представляет собой смонтированный на отдельных плавучих понтонах консольный пульпопровод, который перемещается и работает совместно с земснарядом.
1 - дамбы первичного обвалования; 2 - намывные приканальные
дамбы; 3 - водосбросной колодец; 4 - гидроотвальный мост;
5 - земснаряд; 6 - канал
Рисунок 9.2 - Плавучий гидроотвальный мост
9.2.8 Проектировать разработку способом гидромеханизации глубоких грунтовых выемок в сложных гидрогеологических условиях следует с применением поэтапной и поярусной технологии.
9.2.9 При производстве земляных работ способом гидромеханизации, в том числе на водном объекте с переменным уровнем воды, следует контролировать глубину разработки грунта и проектные отметки выемки промерами не реже чем через каждые 2 - 4 ч работы.
9.3 Дноуглубительные работы
9.3.1 Дноуглубительные работы следует проектировать и производить с учетом требований
СП 45.13330.
9.3.2 Землесосные снаряды для производства дноуглубительных работ и вспомогательные суда технического флота должны соответствовать требованиям
[8] и нормативных документов на производство земляных работ на реках и в море (эстуарии реки).
Дноуглубительные работы на открытых акваториях водных объектов следует выполнять земснарядом, конструкция которого соответствует ветровым и волновым воздействиям, а также скорости течения воды, установленным при проведении инженерных изысканий
СП 47.13330.
9.3.3 В соответствии с
ГОСТ Р 12.3.048 и
СП 45.13330 производство дноуглубительных работ плавучими несамоходными земснарядами класса "Р" по классификации
[8] допускается при силе ветра не более 4 баллов, волнении воды не более 3 баллов и средней скорости течения менее 0,75 м/с. Работа земснарядов производительностью 4000 м
3/ч по пульпе и выше допускается при силе ветра не выше 5 баллов и скорости течения менее 1,2 м/с.
9.3.4 Для дноуглубления открытых акваторий и водохранилищ следует (по
СП 45.13330) применять земснаряды класса "О" по
[8]. Производство земляных работ на открытых акваториях строительными земснарядами класса "Р" допускается после соответствующих согласований и при обеспечении возможности оперативного отвода земснаряда в безопасное место в случае шторма - в укрытие с защитными дамбами, снижающими ветровые и волновые воздействия.
9.3.5 В подготовительный период дноуглубления следует выполнить:
- разбивку в натуре границ подводной выемки;
- установку створных знаков, вех, контрольных водомерных реек;
- устройство временных причальных сооружений;
- удаление и складирование плодородного слоя грунта с карты намыва.
9.3.6 Схемы дноуглубления реки земснарядом приведены на
рисунках 9.3 и
9.4.
1 - земснаряд; 2 - магистральный пульпопровод;
3 - прудок-отстойник на карте намыва; 4 - вторичный
отстойник; 5 - водосбросной колодец; 6 - водосбросная
канава; 7 - выпуск осветленной воды
Рисунок 9.3 - Схема дноуглубления реки земснарядом
1 - земснаряд; 2 - магистральный пульпопровод;
3 - карта намыва; 4 - прудок-отстойник на карте намыва;
5 - водосбросной колодец; 6 - водосбросная канава;
7 - вторичный отстойник; 8 - грунтовая перемычка;
9 - выпуск осветленной воды (сифонный или донный)
Рисунок 9.4 - Схема дноуглубления реки с разработкой донных
грунтов земснарядом с осветлением сбросной воды в отстойнике
Схема дноуглубления реки с разработкой донных грунтов земснарядом с осветлением сбросной воды в отстойниках приведена на
рисунке 9.4.
9.3.7 Дноуглубление следует проектировать на основе требований
[7],
[10] и
[11].
9.3.8 При производстве дноуглубительных работ земснарядом с погрузкой грунта в шаланды следует согласовывать участки разгрузки грунтоотвозных шаланд и складирования грунтов дноуглубления с организациями, эксплуатирующими водные ресурсы, либо органами исполнительной власти субъектов Российской Федерации, уполномоченными на выдачу официальной информации о природных и природно-антропогенных условиях района (площадки, участка, трассы).
9.3.9 При производстве дноуглубительных работ на водных объектах, в донных грунтах, в которых существует риск наличия взрывоопасных предметов, следует руководствоваться
ГОСТ Р 12.3.048.
9.4 Намыв и обезвоживание грунтов с применением коагулянтов и флокулянтов
9.4.1 В гидромеханизации земляных работ коагуляцию применяют для ускорения процессов осаждения илистых, пылеватых и глинистых грунтовых частиц при намыве сооружений и интенсификации осветления сбросной воды. Для коагуляции в пульпу (пульпопровод) добавляют флокулянты. Под действием флокулянта высокодисперсные грунтовые частицы пульпы адсорбируются с увеличением размеров, массы, ускорением осаждения, консолидации и очистки сбросной воды.
Коагулянты обеспечивают эффективное преодоление основного недостатка намыва илистых, пылеватых, суглинистых и глинистых грунтов, связанного с длительной водоотдачей.
9.4.2 Применение коагулянта при намыве суглинков и глин обеспечивает следующие преимущества:
- высокодисперсные пылеватые и глинистые частицы соединяются в более тяжелые агрегаты с ускорением осаждения на карте намыва;
- равномерное распределение тонких песчаных, пылеватых и глинистых частиц на карте намыва, следовательно, более однородные физико-механические характеристики грунтов намывного сооружения.
Недостаток - повышение стоимости 1 м3 намытого грунта и некоторое снижение плотности его укладки.
9.4.3 Технология намыва с коагулянтом включает приготовление 0,1% - 0,5% раствора полиакриламида и дозированную подачу его в напорный пульпопровод земснаряда.
На участке производства работ следует организовать складирование полиакриламида, станцию приготовления и объемного дозирования в напорный пульпопровод рабочего раствора флокулянта.
9.4.4 Оптимальные параметры приготовления и подачи полиакриламида при намыве следует определять на основе результатов лабораторных и полевых испытаний.
9.5 Намыв гидроотвалов
9.5.1 Гидроотвалы намывают для складирования вскрышных пород и отходов переработки полезных ископаемых.
Таблица 9.5
Класс ответственности гидроотвала
Характерные признаки гидроотвала | Класс ответственности гидроотвала |
I - особо ответственные | II - ответственные | III - прочие |
Типы грунтов основания |
А | Б | А | Б | А | Б |
Расположение по отношению к населенному пункту или объекту промышленности | Вблизи населенного пункта или объекта промышленности | Возможно частичное повреждение зданий и сооружений | Вдали от населенных пунктов и промышленных объектов |
Рельеф местности | Косогор | Равнина | Косогор | Равнина | Косогор | Равнина |
Обозначения: А - грунты основания недостаточно надежные: просадочные или размываемые при фильтрации воды; Б - надежное грунтовое основание. |
Таблица 9.6
Приемная способность гидроотвала
Категория гидроотвала | I | II | III | IV |
Приемная способность гидроотвала, млн. м3/год | > 5 | 2 - 5 | 1 - 2 | < 1 |
По высоте гидроотвалы подразделяют на: низкие - высота до 10 м; средние - от 10 до 30 м; высокие - более 30 м.
9.5.2 Гидроотвал следует располагать на территории, не пригодной для возведения зданий и сооружений промышленного и гражданского строительства и сельского хозяйства. Территория расположения гидроотвала может быть ровной или на косогорах, склонах, балках и в отработанных карьерах.
9.5.3 На этапе подготовительных работ следует очистить территорию гидроотвала от кустарников и деревьев, снять и складировать растительный слой, отсыпать дамбы первичного обвалования, выполнить монтаж и устройство водосбросной системы.
9.5.4 Дамбы первичного обвалования гидроотвалов классов ответственности I и II следует отсыпать высотой 1,5 - 4,0 м из местного или привозного грунта, шириной от 3,0 до 3,5 м по верху, в случае если в ППР предусмотрен проезд строительной техники или монтаж пульпопроводов. При их отсутствии ширину дамб обвалования по верху следует уменьшить до 1,5 или до 2,0 м.
Дамбы первичного обвалования гидроотвалов классов ответственности I и II следует проектировать с заложением откосов от 1,0:1,5 до 1:2 и размерами, указанными в
таблице 9.7.
Таблица 9.7
Основные размеры дамб первичного обвалования гидроотвалов
классов ответственности I и II
Наименование показателя | Грунт отсыпки дамбы |
песчаный | глинистый |
| 1,5 - 4,0 |
Заложение откоса: - внутреннего | 1 - 1,75 | 1 - 1,5 |
- наружного | 1,75 - 2,0 | 1,5 - 1,75 |
Минимальная ширина поверху, м | >= 2,0 |
Запас по высоте при ветровых волнах в прудке-отстойнике, м ( hв - высота волны <2>, м) | 0,5 + hв | 0,7 + hв |
<1> Высоту дамбы первичного обвалования и ее откосы следует проектировать по результатам расчетов на устойчивость при статических и сейсмических воздействиях. <2> Высоту возможной ветровой волны hв, м, следует определять по результатам расчетов с проверкой устойчивости внутреннего откоса при волновых воздействиях. |
9.5.5 Способы гидравлической укладки грунта в отвалы следует проектировать с учетом назначения гидроотвалов, класса ответственности, гранулометрического состава, гидравлической крупности, коэффициента фильтрации и плотности грунтов и пород для намыва, вероятной максимальной интенсивности подачи пульпы, объема работ, размера и рельефа территории.
9.5.6 Намытый в гидроотвал глинистый грунт с низкой водоотдачей и сильно деформируемый
(ГОСТ 25100) недоступен для работы механизмов в период намыва и длительное время после его прекращения
(ГОСТ 12.2.011). В таком случае намыв глинистых грунтов в гидроотвал следует выполнять слоями 0,3 - 0,4 м с перерывами, которые устанавливают в ППР на основе результатов расчетов, лабораторных и полевых испытаний.
9.5.7 Вместимость гидроотвала Vг, м3, грунта следует определять по формуле

(9.1)
где Vгр - объем грунта, подлежащего укладке в гидроотвал, м3;

- относительная деформация набухания без нагрузки, д. ед.
(ГОСТ 25100);
Vпр - объем прудка-отстойника, принимаемый равным 5 - 10 дневных расходов гидросмеси, м3;
Vс - объем стока осветленной воды, м3.
Площадь прудка-отстойника следует проектировать около 40% площади гидроотвала.
9.5.8 Осветленную воду из прудка-отстойника гидроотвала следует отводить по водосбросной системе или откачивать насосом плавучей станции в карьер при работе по водооборотной схеме.
9.5.9 В проектах организации строительства и производства работ следует проанализировать и разработать технические решения по предотвращению и оперативному устранению возможных аварийных ситуаций в процессе намыва гидроотвала:
- размыва грунтового обвалования и наружного откоса в результате перелива воды из прудка-отстойника;
- размыва с образованием промоин и оползней в результате фильтрации воды.
В инструкцию по эксплуатации, план мероприятий по предотвращению разрушения гидроотвала и программу мониторинга следует включать:
- мероприятия по повышению устойчивости откосов, препятствующие возникновению и развитию возникающих деформаций;
- контроль исправного состояния систем водосброса и предотвращения перелива воды через гребень дамбы обвалования;
- мероприятия по соблюдению принятой в ПОС и ППР технологии намывных работ;
- систематический контроль процесса намыва, обвалования и откосов карт намыва, размеров прудка-отстойника, работы водосбросного колодца;
- систематический инструментальный и визуальный контроль состояния внешнего откоса и принятие оперативных мер в случае возникновения его аварийного состояния.
9.6 Намыв грунта в геосинтетические оболочки
9.6.1 Геосинтетические оболочки (геотубы), габионы и композитный шпунт - эффективное решение для намыва тонких песчаных, илистых, пылеватых и глинистых грунтов с непосредственным обезвоживанием и отводом фильтрационной воды через стенки и мелкие поры.
9.6.2 Организацию строительства при намыве грунта в геосинтетические оболочки
(приложение Ж) следует проектировать для укрепления берегов, откосов дорожных насыпей от размыва, в качестве обвалования карт намыва, для быстрой и надежной защиты зданий и сооружений от паводков и наводнений, для складирования шламов и отходов переработки ГОК фабрик (хвостовые продукты после добычи алмазов, золота, серебра, железной руды, отходов от целлюлозно-бумажной промышленности, шлам-лигнин), для строительства защитных дамб, в качестве волнорезов, для обезвоживания намывных грунтов, а также в качестве элементов берегоукрепления при заполнении пульпой, как на берегу, так и под водой.
9.6.3 Геосинтетические оболочки изготавливают из полипропилена толщиной 2 мм и с прочностью на разрыв до 200 кН/м.
Срок службы геосинтетических оболочек более 50 лет и соответствует сооружениям класса КС-2 (нормального) и КС-1 (пониженного) уровней ответственности в соответствии с
ГОСТ 27751.
9.6.4 Технические средства и технологические операции, требующиеся для намыва и обезвоживания грунтов в геосинтетических оболочках
9.6.4.1 Подготовка дренажной площадки представляет собой основание из геомембраны и слоя щебня или гравия толщиной от 200 до 400 мм фракцией 20 - 40 мм (дренажный слой). Крупность фракции, марку щебня и необходимую толщину слоя (не менее 20 см) определяют проектными данными исходя из типа грунта основания площадки и других местных особенностей.
9.6.4.2 Допускается применение геоматов или аналогичных геоматериалов. Щебень позволяет ускорить процесс дренажа отработанной воды из геотуб и выполнить ее организованный отвод с дренажной площадки.
9.6.4.3 Дренажный слой из щебня или гравия укладывают по всей поверхности площадки, кроме траншеи и бермы по периметру. Дренажный слой устраивают на предварительно спланированной, уплотненной и очищенной от мусора поверхности.
9.6.4.4 Оптимальный уклон спланированной поверхности площадки - 0,15%. Берму возводят по периметру участка. Высота бермы принимается 1/3 - 2/3 максимальной высоты геоконтейнера первого яруса.
9.6.4.5 Для отвода фильтрата в накопитель оборотной воды хвостохранилища, по внешнему периметру участка - внутри бермы устраивают траншею с уклоном к нижней точке площадки. От площадки до накопителя оборотной воды хвостохранилища отфильтрованная вода доставляется по водоотводной канаве.
9.6.4.6 Водонепроницаемую геомембрану (толщина не менее 1 мм) укладывают по всей поверхности площадки с последующей ее засыпкой щебнем (гравием) слоем не менее 20 см, включая траншею и берму по периметру.
9.6.5 Раскладка геоконтейнеров и монтаж пульпопровода
9.6.5.1 Первый ярус геоконтейнеров укладывают внахлест друг на друга по 0,5 м с двух сторон, согласно схеме раскладки (
рисунки 9.5 и
9.6).
I, II - очередность заполнения геоконтейнера
Рисунок 9.5 - Схема раскладки и очередности
заполнения геоконтейнеров
Рисунок 9.6 - Схема размещения геоконтейнеров геотуб
9.6.5.2 Следует использовать многоярусную раскладку геоконтейнеров. Количество ярусов рассчитывают исходя из прочности характеристики грунтов. В последующих ярусах, после наполнения первого, геоконтейнеры укладывают по стыкам геоконтейнеров предыдущего яруса.
9.6.5.3 После заполнения геоконтейнеров каждого яруса выполняют засыпку пазух между геоконтейнерами и бермой отсевом, для укладки поверх следующего яруса геоконтейнеров. Движение погрузчика к месту засыпки пазух происходит непосредственно по ранее заполненным геоконтейнерам, после консолидации в них закаченного осадка.
9.6.5.4 Отсыпку берм второго и последующих ярусов выполняют по двум сторонам площадки складирования. Стороны площадки, где предусматривают ее увеличение в последующие годы и устраивают сброс отфильтрованной воды в водоотводную канаву, засыпке не подлежат.
9.6.5.5 Для обеспечения стабильности геометрического положения в процессе заполнения осадком, геосинтетические оболочки крепят на дренажной площадке с помощью вшитых крепежных петель (при их наличии в конструктиве геоконтейнера, в бесшовных геоконтейнерах наличие петель крепления не предусмотрено), связанных с помощью фала с анкерами
(рисунок 9.7). Анкер представляет собой бетонный блок размерами 0,3 x 0,3 x 0,3 м.
Рисунок 9.7 - Схема закрепления геоконтейнеров геотуб
9.6.5.6 В первый год следует заполнять не более трех ярусов. При увеличении количества ярусов от трех и более следует оставлять заполненные геоконтейнеры в зиму для дополнительного обезвоживания в результате нескольких циклов замораживания - оттаивания и набора осадком необходимой прочности.
9.6.5.7 Максимальное количество ярусов геоконтейнеров зависит от габаритных размеров площадки складирования и количества уложенных контейнеров в первом ярусе в поперечнике, укладку и монтаж распределительного пульпопровода начинают от места врезки в магистральный пульпопровод до смещения, где устанавливают запорную арматуру, после чего происходит сборка звеньев труб на фланцевые соединения.
9.6.5.8 Геоконтейнеры заполняют с помощью распределительных рукавов
(рисунок 9.8). Диаметр определяют исходя из расхода поступающей пульпы (фабрики, землесосного снаряда). Для соединения распределительных рукавов с геоконтейнером предусмотрены загрузочные порты.
Рисунок 9.8 - Схема пульпораспределительной системы
9.6.5.9 Для контроля наполнения одного или нескольких геоконтейнеров устанавливают запорную арматуру (прижимные вентили) на распределительных рукавах разводной системы между T-образным соединением и входным клапаном в геоконтейнер. По мере наполнения геоконтейнера, вентиль на входной напорной трубе перекрывают и открывают вентиль на входной трубе в следующий геоконтейнер. С помощью вентиля регулируют количество подачи пульпы, приводя ее в соответствие со скоростью обезвоживания.
9.6.6 В технологию намыва грунта синтетических оболочек следует включать подачу в пульпу реагентов, флокулянтов и коагулянтов, которые связывают между собой мелкие частицы, благодаря чему увеличивается коэффициент фильтрации (скорость водоотдачи) намытого грунта, а фильтрат (вода), выходящий из геотуба, осветляется и не содержит механических взвесей. Дозировку флокулянтов и коагулянтов подбирают индивидуально к каждому виду грунта лабораторным путем.
9.6.7 Геосинтетические оболочки из фильтрующего материала (геотекстиля) не впитывают атмосферные осадки и не подвергают намывные грунты повторному обводнению, что обеспечивает малую степень водонасыщения и сыпучемерзлое состояние, чем обеспечивается максимальная устойчивость отвала.
9.6.8 Зимой, с наступлением устойчивой температуры воздуха ниже 0 °C, процесс обезвоживания и консолидации грунта, намытого в геосинтетическую оболочку, продолжается с повышением плотности и отделением остаточной влаги после оттаивания.
9.6.9 При укреплении берегов в виде пляжного откоса с применением местного намывного материала определяют заложение пляжного откоса
i (рисунок 9.9) на основе результатов расчетов на устойчивость при ветровых и волновых воздействиях. Для песчаных мелкодисперсных грунтов
i = 30 - 40.
Рисунок 9.9 - Схема берегоукрепления в виде пляжного откоса
из намытого грунта
9.6.10 Схемы берегоукрепления пляжного откоса с применением геотуб показаны на
рисунках 9.10 -
9.12.
Рисунок 9.10 - Схема намыва грунта в геотубы
и поярусной укладки
Рисунок 9.11 - Конструкция берегоукрепления в виде шпоры
из геотуб с технологией подачи пульпы в геотубы
Рисунок 9.12 - Комбинированная схема берегоукрепления
местным материалом с геотубами
9.7 Замыв пазух и обратных засыпок больверков
9.7.1 Замыв пазух и обратных засыпок следует проектировать на основе индивидуальных особенностей конструкции причальных сооружений, камер шлюзов и больверков из стальных или железобетонных шпунтов при подаче пульпы на карты намыва длиной 100 - 200 м, шириной 5 - 10 м и глубиной 3 - 15 м.
Перед намывом грунта обратной засыпки следует проводить освидетельствование готовности сооружения на соответствие проекту и очистку карты намыва от строительного мусора, снега и льда.
В обратные засыпки следует намывать, в соответствии с ПОС и ППР, крупнообломочный гравийный грунт или песок местного карьера: песок средней крупности, содержащий по массе более 50% частиц размером более 0,25 мм, или мелкий песок, содержащий по массе более 90% частиц размером более 0,1 мм в соответствии с
ГОСТ 25100.
Не допускается применять для намыва пазух и обратных засыпок грунты с растворимыми в воде сернокислыми солями и органическими включениями в количестве более 5% сухой минеральной части грунта.
9.7.2 Параметры намыва: расход пульпы, напор, интенсивность намыва грунта следует определять по результатам расчетов на устойчивость и прочность подпорных стен больверков на временные воздействия и нагрузки от гидросмеси плотностью до 1,5 т/м3, неконсолидированного массива грунта с углом внутреннего трения 10° - 12°, фильтрации и гидростатического давления.
9.7.3 Грунт следует намывать при подаче пульпы только на один участок карты намыва и не проводить в процессе намыва дноуглубительные работы перед больверком.
9.7.4 В процессе намыва грунта следует контролировать напор воды в обратной засыпке и возможные смещения стенки в плане и от вертикали.
9.7.5 По окончании работ по намыву грунта сбросные колодцы следует демонтировать на глубину не менее 1,5 м от поверхности территории, а водопропускные трубы тампонировать и заглушить.
9.7.6 Качество замыва пазух и обратных засыпок на соответствие требованиям ПОС и ППР следует контролировать на соответствие технологии производства земляных работ, гранулометрического состава и плотности намытого грунта. Допустимые отклонения гранулометрического состава и плотности грунтовых пазух и обратных засыпок приведены в
таблице 9.8.
Таблица 9.8
Допустимые отклонения качества грунтов, намытых в пазухи
обратных засыпок
Контролируемый параметр и вид отклонения | Допустимое отклонение | Объем контроля | Метод контроля |
Отметка поверхности намытого и уплотненного (при необходимости) грунта | +/- 50 мм | 100% поверхности | Нивелирование по сетке 5 x 5 м |
Характеристики намывного грунта |
- содержание растворимых и органических включений | 5% | Одна проба на 500 м3 грунта через 1 м по высоте | |
- уменьшение относительной плотности | 10% |
- уменьшение угла внутреннего трения | 2° |
Примечания 1 Отклонения допускаются не более чем в 10% проб намытых грунтов. 2 Плотность и угол трения грунтов ниже уровня воды допускается контролировать с помощью статического и динамического зондирования. |
10 Гидравлическая классификация, фракционирование и обезвоживание грунта
10.1 Гидравлическая классификация и фракционирование грунта
10.1.1 Гидравлическую классификацию и фракционирование дисперсных несвязных грунтов средствами гидромеханизации проектируют с целью улучшения качества карьерного песка, промывки и удаления со сбросной водой пылеватых dп < 0,05 мм и глинистых dг < 0,002 мм частиц.
Песок и гравий с ординарными свойствами в карьере, после гидравлической классификации и фракционирования, становятся песком самого высокого качества, гравийным балластом для отсыпки насыпей высокоскоростных железных и магистральных автомобильных дорог. Фракционированный песок, отмытый от пыли и глины, сокращает до 20% расход цемента в бетоне, увеличивает трещиностойкость и морозостойкость железобетонных конструкций.
10.1.2 Для классификации, фракционирования и обезвоживания грунтов в карьере способом гидромеханизации применяют устройства, назначение и основные характеристики которых приведены в
таблице 10.1.
Таблица 10.1
Наименование и область применения гидравлических устройств
для переработки и обогащения грунтов
Наименование устройства | Область применения |
Классификаторы: | Классификация песчано-гравийной смеси и песка на две фракции с граничным зерном от 0,5 до 5,0 мм |
- многокамерные | Классификация песка на две фракции |
- спиральные | Промывка и обезвоживание песка |
Конический гидрогрохот | Отделение гравия от песка в песчано-гравийной смеси |
Дуговые сита | Деление песка на две фракции |
Гидроциклоны | Удаление из песка частиц крупностью до 0,3 мм и сгущение гидросмеси |
Сгустители напорные | Сгущение гидросмеси при подаче на песчано-гравийный завод |
Сгустительные воронки | Сгущение гидросмеси с песком |
Примечание - Граничное зерно dгр, мм, - размер частицы грунта, по которому осуществляется разделение частиц на фракции. |
10.1.3 Технико-экономическую эффективность гидравлической классификации и фракционирования грунтов с применением гидравлических устройств гидромеханизации следует оценивать коэффициентом эффективности гидравлической классификации
Kк, значения которого приведены в
таблице 10.2.
Таблица 10.2
Коэффициент эффективности гидравлической классификации
Наименование устройства | Коэффициент эффективности гидравлической классификации Kк, % |
Многокамерный классификатор | <= 85 |
Спиральный классификатор | <= 60 |
Конический гидравлический грохот | <= 90 |
Дуговой гидравлический грохот | <= 90 |
Гидравлический циклон | <= 60 |
10.1.4 Схемы гидравлических классификаторов для разделения дисперсных (песчаных, песчано-гравийных) грунтов на фракции по крупности (граничному зерну) в движущемся потоке воды приведены на
рисунках 10.1 и
10.2.
а - двухпродуктовый; б - трехпродуктовый;
1 - обогатительная камера; 2 - классификационные камеры
Рисунок 10.1 - Гидроклассификаторы
1 - верхняя обогатительная камера для классификации фракций
по граничному зерну 5 мм; 2 - решетка; 3 - камера
для оседания зерна фракций более 5 мм; 4 - средняя камера
для приема зерна фракций 5 - 20 мм; 5 - камера
для классификации фракций по граничному зерну 20 мм;
6 - нижняя камера для оседания зерна фракций более 20 мм
Рисунок 10.2 - Схема устройства и работы
трехпродуктового гидроклассификатора
10.1.5 Технические и экономические преимущества гидравлических классификаторов с тангенциальной подачей пульпы:
- отсутствие необходимости подачи восходящего потока воды снизу;
- простая конструкция корпуса - в виде трубы;
Таблица 10.3
Технические показатели работы
двухпродуктовых гидроклассификаторов
Параметр | Значение показателя для гидроклассификатора производительностью по пульпе, м3/ч |
1200 | 1600 | 2000 | 3600 |
Диаметр граничного зерна, мм | 0,6; 1,2; 2; 3; 5 | 0,6; 3; 5; 10 | 2; 5 | 0,6; 3; 5 |
Диаметр приемно-разделительной камеры, мм | 2850, 1700, 1600, 1400 | 3000, 1600, 1100 | 2500, 2000 | 4000, 2500 |
Диаметр классификационной камеры, мм | 600 | 1200 - 600 | 800 | 800 |
Дополнительный расход воды, м3/ч | 1200 | 1200 - 2000 | 2000 | 2000 - 3000 |
Общая масса металлоконструкций, т | 5 - 10 | 5 - 10 | 13 - 14 | 10 - 12 |
10.1.6 Гидроклассификатор
(рисунок 10.2) делит грунт по граничному зерну 5 мм при подаче пульпы под напором в обогатительную камеру.
Частицы грунта менее 5 мм через верхний слив по пульпопроводу поступают на карту намыва, более 5 мм опускаются вниз, в классификационную камеру, где происходит разделение его по граничному зерну 20 мм.
Фракции 5 - 20 мм потоком воды направляются в среднюю камеру. Зерна крупностью более 20 мм падают в нижнюю камеру и потоком воды транспортируются по трубопроводу в штабель гравия.
Технические показатели работы двухпродуктовых гидроклассификаторов приведены в
таблице 10.3.
10.1.7 В конических гидрогрохотах песчано-гравийный грунт разделяют на фракции с граничным зерном 3 мм; 5 мм и 10 мм, обезвоживают гравий и отделяют глинистые окатыши от песка.
На
рисунке 10.3 приведена поточная технологическая схема фракционирования карьерного грунта коническими гидрогрохотами.
а - для фракционирования грунтов с содержанием гравия
до 30%; б - то же, с содержанием гравия до 20%;
1 - земснаряд; 2 - механический рыхлитель; 3 - пульпопровод;
4 - конический гидрогрохот; 5 - виброгрохот; 6 - зумпф;
7 - гидроэлеватор; 8 - насосная станция
Рисунок 10.3 - Схемы фракционирования грунта
коническими гидрогрохотами
Основные преимущества конических гидрогрохотов - простота конструкции и эксплуатации, отсутствие необходимости подачи дополнительной воды и электроэнергии, малая стоимость оборудования и монтажа, сравнительно высокая мобильность.
Недостатки абразивный износ, засоренность продуктов фракционирования, зависимость от остаточного напора системы гидротранспорта на входе в конический гидрогрохот и неравномерность подачи пульпы.
10.1.8 Характеристики конических гидрогрохотов приведены в
таблице 10.4.
Таблица 10.4
Характеристики конических гидрогрохотов
Наименование параметра | Значение параметра |
Производительность по пульпе, м3/ч | 1400 | 2000 | 3300 | 3600 |
Деление по граничному зерну, мм | 2,5; 2 - 5; 5 | 5; 5; 20; 5 | 15 | 5 |
Наружный диаметр гидрогрохота, м | 2,1; 2,4; 2,4 | 2,5; 2,1; 2,5; 2,5 | 3,5 | 4,5 |
То же, внутренний, м | 1,6; 2,3; 2,0 | 2,0; 1,6; 2,0; 2,0 | 3,0 | 3,5 |
Масса (примерная), т | 7,2; 8,4; 11,0 | 9,3; 7,3; 13,1; 9,3 | 28,8 | 35,4 |
10.1.9 Грунт пульпы по плотности и крупности частиц разделяют в гидроциклонах с коническим корпусом и верхней короткой цилиндрической частью. Пульпу подают в гидроциклон по напорному пульпопроводу и разгружают через отводную трубу (крупные фракции) и сливную насадку (мелкие частицы). Под действием центробежной силы сравнительно крупные и тяжелые частицы разгружаются по песковой насадке, а мелкие и легкие частицы поступают в слив.
10.2 Складирование и обезвоживание грунта
10.2.1 Обезвоживание применяют при гидравлическом обогащении щебня, гравия и песка после их промывки. Его применяют для уменьшения влажности грунта с целью обеспечения благоприятных условий складирования, несмерзаемости, возможности транспортирования конвейерами.
Остаточная влажность грунта после обезвоживания 10% - 20%. Для обезвоживания следует применять устройства вибрационной и спиральной конструкции. Производительность процесса обезвоживания с применением вибрационных устройств зависит от ширины его сита и составляет от 30 до 150 т/ч по грунту. Средняя производительность обезвоживания для устройств спиральной конструкции составляет до 260 т/ч по грунту.
10.2.2 Центрифуги применяют для получения песка и щебня мелких фракций влажностью 2,5% - 4%, сыпучего состояния и несмерзаемости при отрицательных температурах наружного воздуха.
10.2.3 Сгущение гидросмеси - вспомогательная операция в технологической схеме гидравлической классификации и фракционирования грунтов. Сгустители горизонтальные диафрагмовые, с вертикально восходящим потоком воды, камерные и центробежные применяют в случаях, когда консистенция гидросмеси изменяется в значительных пределах. Сгущение гидросмеси (удаление лишней воды) обеспечивает стабильную работу виброгрохотов и гидроклассификаторов.
10.2.4 Сложность организации работы складов песка, гравия и песчано-гравийной смеси связана с сезонностью работы средств гидромеханизации и обводненностью складируемого материала. Для складирования песка и гравия устраивают намывные склады.
10.2.4.1 При устройстве склада с намеченной территории снимают почвенно-растительный слой и заменяют его песчано-гравийным слоем. Снятый почвенно-растительный грунт сохраняют во временных отвалах для использования его при последующей рекультивации территории склада.
10.2.4.2 При организации склада следует проектировать не менее трех карт намыва на каждую фракцию. Размеры карты намыва в плане 50 (60) x 100 (120) м при высоте намыва до 6 м.
10.2.5 Обезвоживание песка и гравия на картах намыва и в штабелях следует проектировать с фильтрацией воды в дренажную систему из перфорированных труб (обычно асбоцементных) с обратным фильтром
(рисунок 10.4).
1 - перфорированная труба; 2 - слой песка;
3 и 4 - слои мелкого и крупного гравия;
5 - отверстия диаметром 10 мм
Рисунок 10.4 - Схема дренажа
10.2.5.1 Отфильтрованную воду следует отводить за пределы территории склада. Под штабелями гравия при водонепроницаемом основании следует устраивать бетонное основание с уклоном к оси и для стока воды.
10.2.5.2 Для осушения территории склада с намывными грунтами следует организовать дренажную систему со смотровыми колодцами, отводом отфильтрованной воды за пределы территории склада, ливнестоками. При наличии дренирующего основания трубчатый дренаж можно не устраивать, за исключением участка со стороны подъездного железнодорожного пути, где дренаж необходим.
10.2.5.3 Для складирования и обезвоживания намывных грунтов, в том числе классов опасности 1 - 4 по
ГОСТ 12.1.007, следует также применять геотубы - схема складирования приведена на
рисунке 10.5.
1 - первый ярус геоконтейнеров; 2 - второй ярус
геоконтейнеров; 3 - упорный пояс
Рисунок 10.5 - Схема размещения геотуб ярусами
10.2.6 Геотубы первого яруса
(рисунок 10.5) следует укладывать внахлест, до 50 см, исключая образования пустот между ними. Геотубы второго яруса следует укладывать на конструкции первого яруса со смещением их продольных осей на половину ширины геотубы.
При образовании пустот между геотубами первого яруса следует заполнить пустоты геотубами меньшей ширины (диаметра) или отсыпками из инертных сыпучих материалов.
10.2.7 В случае смещения геотуб в плане, по периметру площадки складирования
(рисунок 10.5) следует устраивать упорный пояс из грунта или ограждающих конструкций.
С целью повышения надежности и эксплуатационной безопасности на начальном этапе (в первый год) на площадке складирования следует устраивать не более трех ярусов геотуб.
10.2.8 Для интенсификации процессов складирования и обезвоживания, при подаче пульпы геотуб, следует применять флокулянты и коагулянты. Концентрацию и количество флокулянтов и коагулянтов следует определять по результатам лабораторных и полевых испытаний, непосредственно на месте проведения работ.
10.2.9 На распределительном пульпопроводе, для предотвращения возникновения экстремальной ситуации, следует устанавливать аварийную задвижку для переключения подачи пульпы.
На территории площадки обезвоживания, для предотвращения возникновения экстремальной (аварийной) ситуации, в магистральном трубопроводе следует устраивать аварийную задвижку, для отвода потока пульпы от распределительного трубопровода в накопительную емкость.
11 Охрана окружающей природной среды при производстве земляных работ способом гидромеханизации
11.1 Экологические требования
11.1.1 Экологические требования и мероприятия по охране окружающей природной среды при производстве земляных работ способом гидромеханизации следует разрабатывать на основе технического задания и в соответствии с
[4], результатов инженерных изысканий и соответствующих нормативных документов по охране окружающей природной среды.
11.1.2 При проектировании производства земляных работ способом гидромеханизации следует разрабатывать раздел, содержащий оценку влияния производства земляных работ на окружающую среду.
11.1.3 К разработке раздела проектной документации ОВОС и расчетам эколого-экономической эффективности технических и технологических решений допускается привлекать по договору профильную организацию, допущенную к выполнению изысканий и проектирования работ данного вида в порядке, установленном действующим законодательством, имеющую в штате квалифицированных специалистов, эксплуатирующую на законном основании комплект измерительного оборудования и средств измерений, прошедших поверку согласно требованиям действующего законодательства в области обеспечения единства измерений.
11.1.4 Места расположения грунтовых карьеров, площадок под карты намыва, отстойники, временные подъездные пути и другие временные сооружения следует выбирать в процессе инженерных изысканий и на этапе вариантного проектирования с учетом сохранения земель, занятых лесными массивами, путями миграции диких животных, птиц и рыб.
11.1.5 При проектировании сброса отработанной воды с карты намыва в водный объект следует соблюдать требования
[9] и рассчитывать степень очистки (допустимой мутности) сбросной воды в соответствии требованиями настоящего свода правил.
11.2 Рекультивация карьеров гидромеханизации
11.2.1 В проекте производства намывных работ, в соответствии с
[4], следует разработать мероприятия по рекультивации грунтовых карьеров, карт намыва и других территорий, временно использованных гидромеханизацией.
11.2.2 Проект рекультивации должен удовлетворять требованиям
[10],
[11],
[7] и решать задачи рационального и эффективного использования территорий, временно использованных гидромеханизацией, с учетом интересов настоящего и на перспективу.
11.2.3 После окончания производства работ по разработке карьера и намыву грунта следует выполнить следующие мероприятия по рекультивации:
- засыпать грунтом канавы и спланировать временно занятые площади;
- восстановить почвенно-растительный слой;
- посеять травы и посадить саженцы кустарников и деревьев (если это предусмотрено проектом);
- выполнить планировку откосов грунтового карьера.
11.2.4 Поперечные профили рекультивации (благоустройства) отработанных обводненных карьеров грунта приведены в
приложении И.
11.2.5 Рекультивацию территорий гидромеханизации в районах распространения многолетнемерзлых грунтов и после удаления временных штабелей намытого грунта следует проектировать на основе принципа I строительства инженерных сооружений на многолетнемерзлых грунтах
(СП 25.13330), с сохранением грунтов основания в мерзлом состоянии, исключая деградацию мерзлых грунтов и развития термокарстовых процессов.
11.2.6 Технические решения по рекультивации территорий гидромеханизации в районах распространения многолетнемерзлых грунтов следует разрабатывать на основе результатов теплотехнических расчетов, учитывающих воздействие потока гидросмеси с положительной температурой на мерзлое грунтовое основание, оформление слоя талого дренирующего грунта, процессы теплообмена, изменения теплопроводности и термического сопротивления грунтов.
11.2.7 Углы естественных откосов грунтов в градусах, которые следует принимать при проектировании рекультивации участков грунтового карьера выше УГВ, приведены в
таблице 11.1.
Таблица 11.1
Углы естественных откосов грунтов
Показатель | |
Крупнообломочного | Песка |
галечникового | гравийного | крупного | средней крупности | мелкого |
Угол естественного откоса <1> | 40° | 35° | 30° | 28° | 25° |
| 1:1,5 | 1:1,25 | 1:1,75 | 1:2,0 | 1:2,25 |
<1> Профили откоса следует проектировать на основе результатов расчетов на устойчивость. <2> При наличии ветровых воздействий заложение откоса и его профиль следует проектировать на основе результатов соответствующих расчетов. |
11.2.8 Биологическую рекультивацию следует проектировать по указанию заказчика и согласованию с арендодателем (собственником) территории. Биологическая рекультивация содержит комплекс агрохимических и мелиоративных мероприятий, направленных на улучшение агрофизических, агрохимических, биологических и других свойств почвы.
11.2.9 Биологическую рекультивацию следует проектировать из условия, что после 3 - 5 лет по окончании производства земляных работ способом гидромеханизации имеет место естественное восстановление растительного покрова и самозарастание откосов грунтовых карьеров выше УГВ и территорий карт намыва.
11.2.10 Грунтовые карьеры гидромеханизации по окончании их разработки представляют собой котлованы глубиной до 30 м, заполненные водой, со стабильным естественным температурным режимом, прозрачностью воды выше 3 м, с содержанием растворенного кислорода в 5,5 - 12,3 мг/л, благоприятной средой обитания ихтиофауны и отсутствием явлений замора.
11.2.11 Земли после рекультивации следует передавать арендодателю по акту в соответствии с
СП 48.13330 и желательно в безморозный период, в который сравнительно просто установить качество исполнения работ рекультивации и состояние растительного покрова.
12 Контроль качества и приемка намывных сооружений
Таблица 12.1
Перечень основных контролируемых параметров производства
земляных работ (для автомобильных и железных дорог,
котлованов, траншей и площадок)
Конструктивный элемент/вид работ | Контролируемый параметр | Значение нормативных требований |
1 Конструктивные элементы и виды работ для автомобильных дорог |
Основание/подготовка основания земляного полотна | Толщина снимаемого плодородного слоя грунта | Не более чем для 10% результатов определений допускаются отклонения от проектных значений до +/- 40%, остальные - до +/- 20% |
Снижение плотности естественного основания | Не более чем для 10% результатов определений допускаются отклонения от проектных значений до 4%, остальные должны быть не ниже проектных значений |
Земляное полотно/возведение насыпей и разработка выемок | Снижение плотности слоев земляного полотна <1> | Не более чем для 10% результатов определений допускаются отклонения от проектных значений до 4%, а остальные должны быть не ниже проектных значений |
Высотные отметки продольного профиля | Не более чем для 10% результатов определений допускаются отклонения от проектных значений до +/- 20 мм, остальные - до +/- 10 мм |
Расстояния между осью и бровкой земляного полотна | Не более чем для 10% результатов определений допускаются отклонения от проектных значений до +/- 20 см, остальные - до +/- 10 см |
Поперечные уклоны | Не более чем для 10% результатов определений допускаются отклонения от проектных значений в пределах от минус 0,010 до плюс 0,015, остальные - до +/- 0,005 |
Уменьшение крутизны откосов | Не более чем для 10% результатов определений допускаются отклонения от проектных значений до 20%, остальные - до 10% |
Водоотвод/устройство водоотвода | Увеличение поперечных размеров кюветов, нагорных и других канав (по дну) | Не более чем для 10% результатов определений допускаются отклонения от проектных значений до 10 см, остальные - до 5 см |
Глубина кюветов, нагорных и других канав (при условии обеспечения стока) | Не более чем для 10% результатов определений допускаются отклонения от проектных значений до +/- 10 см, остальные - до +/- 5 см |
Поперечные размеры дренажей | Не более чем для 10% результатов определений допускаются отклонения от проектных значений до +/- 10 см, остальные - до +/- 5 см |
Продольные уклоны дренажей | Не более чем для 10% результатов определений допускаются отклонения от проектных значений до +/- 0,002, остальные - до +/- 0,001 |
Ширина насыпных берм | Не более чем для 10% результатов определений допускаются отклонения от проектных значений до +/- 30 см, остальные - до +/- 15 см |
Снижение плотности грунта в обочинах | Не более чем для 10% результатов определений допускаются отклонения от проектных значений до 4%, остальные должны быть не ниже проектных значений |
Присыпная обочина/устройство присыпных обочин | Толщина укрепления | Не более чем для 10% результатов определений допускаются отклонения от проектных значений в пределах от минус 22 до плюс 30 мм, остальные - до +/- 15 мм |
Поперечные уклоны обочин | Не более чем для 10% результатов определений допускаются отклонения от проектных значений в пределах от минус 0,010 до плюс 0,015, остальные - до +/- 0,005 |
Отклонение высотных отметок бровки (оси) земляного полотна | Плюс 0,05 м, нивелировка |
2 Конструктивные элементы и виды работ для железных дорог |
Земляное полотно | Отклонение бровки земляного полотна от проектного положения оси | Для скоростных, пассажирских линий: плюс 0,02 м, измерения через 50 м. Для особо грузонапряженных и категории I: плюс 0,05 м. Для остальных плюс 0,10 м |
Отклонение верха сливной призмы по ширине | Плюс 0,10 м |
Увеличение крутизны откосов земляных сооружений | Не допускается, измерения не менее чем на двух поперечниках на пикете |
Отклонение от проектного положения бровки (подошвы) откоса насыпи (выемки) | Плюс 0,15 м, измерения не менее чем на двух поперечниках на пикете |
Отклонение в плоскости откосов на длине не более 3 м | Плюс 0,10 м |
При укреплении посевом трав и сборной обрешеткой бетонными плитами | Плюс 0,05 м |
Отклонение по ширине берм | Плюс 0,15 м, измерения через 50 м |
Отклонение от проектной толщины растительного слоя на откосах, насыпях, выемках, кавальерах, на площадках рекультивируемых земель | 20%, проверка через каждые 10 м не менее чем в пяти местах |
Отклонение от толщины слоя дренирующего грунта в верхней части земляного полотна | Плюс 0,10 м, измерения через 50 м |
Отклонение в поперечных размерах дренажных траншей | Плюс 0,05 м, измерения через 50 м |
Отклонение в поперечных размерах канав | Плюс 0,05 м |
Водоотвод | Уменьшение поперечных размеров кювета и водоотводной канавы | Не допускается, измерения через 50 м |
Отклонение от проектного продольного уклона дна канавы, траншеи, дренажа и т.д. | 0,0005, измерения через 50 м |
Уменьшение минимально допустимых уклонов дна канав, кюветов, дренажей | Не допускается |
Отклонения отметок дна выемок от проектных (кроме выемок в валунных, скальных и многолетнемерзлых грунтах) при черновой разработке: а) одноковшовыми экскаваторами, оснащенными ковшами с зубьями: | Измерительный метод, точки измерений намечают случайным образом |
3 Выемки (котлованы), траншеи и спланированные поверхности (площадки) <2> |
Выемка (кроме выемок в валунных, скальных и многолетнемерзлых грунтах) | - для экскаваторов с механическим приводом с рабочим оборудованием "драглайн" | Плюс 25 см, число измерений на принимаемый участок должно быть не менее 20 |
- для экскаваторов с механическим приводом с рабочим оборудованием "обратная лопата" | Плюс 15 см, число измерений на принимаемый участок должно быть не менее 10 |
- для экскаваторов с гидравлическим приводом | Плюс 10 см, число измерений на принимаемый участок должно быть не менее 10 |
б) одноковшовыми экскаваторами, оснащенными планировочными ковшами, зачистным и другим оборудованием для планировочных работ, экскаваторами-планировщиками | Плюс 5 см, число измерений на принимаемый участок должно быть не менее пяти |
в) бульдозерами | Плюс 10 см, число измерений на принимаемый участок должно быть не менее 15 |
г) траншейными экскаваторами | Плюс 10 см, число измерений на принимаемый участок должно быть не менее 10 |
д) скреперами | Плюс 10 см, число измерений на принимаемый участок должно быть не менее 10 |
Выемки в местах устройства фундаментов и укладки конструкций | Отклонения отметок дна выемок в местах устройства фундаментов и укладки конструкции при окончательной разработке или после доработки недоборов и восполнения переборов | +/- 5 см, измерительный метод, по углам и центру котлована, на пересечениях осей здания, в местах изменения отметок, поворотов и примыканий траншей, расположения колодцев, но не реже чем через 50 м и не менее 10 измерений на принимаемый участок |
Вид и характеристики вскрытого грунта | Вид и характеристики вскрытого грунта естественных оснований под фундаменты и земляные сооружения | Должны соответствовать проекту. Не допускаются размыв, размягчение, разрыхление или промерзание верхнего слоя грунта основания толщиной более 3 см. Технический осмотр всей поверхности основания |
Траншеи под безнапорные трубопроводы, водоотводные канавы и другие выемки с уклонами | Отклонения от проектного продольного уклона дна траншей под безнапорные трубопроводы, водоотводных канав и выемок с уклонами | Не должны превышать +/- 0,0005. Измерительный метод, в местах поворотов, примыканий, расположения колодцев и т.п., но не реже чем через 50 м |
Спланированная поверхность, кроме орошаемых земель | Отклонения уклона спланированной поверхности от проектного, кроме орошаемых земель | Не должны превышать +/- 0,001 при отсутствии замкнутых понижений. Визуальный метод (наблюдения за стоком атмосферных осадков) или измерительный метод, по сетке 50 x 50 м |
Отклонения отметок спланированной поверхности от проектных, кроме орошаемых земель: | Измерительный метод, по сетке 50 x 50 м |
а) в нескальных грунтах | Не должны превышать +/- 5 см |
б) в скальных грунтах | Не должны превышать 20 см |
<1> При отсыпке земляного полотна из скальных (крупнообломочных) грунтов этот показатель для оценки качества не используют. <2> Приведен перечень основных контролируемых параметров производства земляных работ для автомобильных и железных дорог, для отдельных сооружений. |
12.2 Качество намытого грунта следует контролировать в соответствии с ПОС, ППР и
СП 45.13330 и технологией управления физико-механическими характеристиками грунта в процессе намыва.
12.3 Принятую в проекте технологию намыва сооружения следует контролировать на опытном участке с отработкой регламентов производства работ с наиболее высокими показателями качества намытого грунта.
12.4 На опытном участке следует контролировать соответствие фактических характеристик грунтов грунтового карьера принятым в проекте, оптимальные режимы работы средств гидромеханизации, геометрические размеры намываемого сооружения и физико-механические характеристики грунтов.
12.5 По результатам лабораторных
(ГОСТ 30416) и полевых
(ГОСТ 30672) испытаний следует определять плотность и несущую способность намывных грунтов, консолидацию их во времени, соответствие параметров намывного сооружения требованиям проекта.
Если результаты опытного намыва, лабораторные и полевые испытания установят, что фактическая плотность, прочность и несущая способность намытого грунта существенно меньше принятой в проекте, следует провести корректировку технологии и принять конструктивно-технологические решения по повышению качества намывных грунтов.
12.6 Намыв грунта на основаниях из низкопрочных грунтов и болотах следует контролировать от начала до полного завершения работ по проекту, измеряя приведенные в
СП 45.13330 показатели и параметры:
- геометрические размеры траншеи в плане и поперечных сечениях;
- глубину и ширину вырезки низкопрочных грунтов и торфа из основания;
- свойства грунтов минерального основания болота;
- размеры и поперечные профили водоотводных канав;
- качество намывных грунтов полевыми и лабораторными методами;
- поперечные уклоны и ровность поверхности намытого слоя.
12.7 В процессе намыва грунта на естественное основание без вырезки низкопрочного грунта и торфа следует с периодичностью, указанной в
СП 45.13330, измерять возможность выпора низкопрочных грунтов за пределы намыва и процесс повышения плотности намытого грунта во времени, используя геодезические измерения осадок плит-марок с наращиваемыми и размеченными штангами и метод статического зондирования.
12.8 После завершения комплекса работ на опытном участке следует выполнить лабораторные
(ГОСТ 30416) и полевые
(ГОСТ 30672) испытания грунтов, по результатам которых определить эффективность реализованных конструктивно-технологических решений и провести корректировку принятой технологии намыва на основе технико-экономического сравнения вариантов технологических схем намыва грунта.
12.9 По результатам контроля качества следует определить соответствие технологических процессов и результатов земляных работ проектной и рабочей документации с учетом изменения в ходе работ исходных параметров объекта и свойств грунтов.
12.10 Входной, операционный и приемочный контроль производства земляных работ следует проектировать по
СП 45.13330 в соответствии с особенностями намывных сооружений.
12.11 Грунтовая лаборатория контролирует качество и соответствие физико-механических характеристик намывных грунтов требованиям проекта с применением полевых
(ГОСТ 30672) и лабораторных
(ГОСТ 30416) методов испытаний. Результаты испытаний оформляют и докладывают устно и письменно компетентному представителю производителя работ для принятия соответствующих решений.
12.12 Земляные работы следует принимать в соответствии с
СП 48.13330. Допускается приемка намывных работ полностью или по этапам.
12.14 По
СП 48.13330 разработку грунтового карьера, технологию намыва и качество намытого грунта контролирует заказчик, пользуясь грунтовой лабораторией, укомплектованной специалистами и измерительной аппаратурой.
12.15 По результатам контроля за разработкой грунтового карьера способом гидромеханизации следует определить соответствие фактического количества и качества (гранулометрический состав, физико-механические характеристики) намытых грунтов данным инженерно-геологических изысканий, принятым в проекте.
12.16 В процессе контроля технологии намывных работ следует определить условия распределения потока пульпы по карте намыва, отсутствие формирования застойных зон на карте намыва, соответствие фактической интенсивности намыва грунта принятой в проекте.
12.17 Качество намытого грунта (гранулометрический состав, влажность, коэффициент фильтрации, плотность, прочность, деформируемость и другие характеристики) следует контролировать двумя методами:
- по результатам полевых испытаний методом прессиометрических испытаний грунтов в массиве;
- по результатам лабораторных испытаний.
12.18 Количество отбора проб и периодичность испытаний следует определять по данным проекта и
СП 45.13330.
12.19 Состав контролируемых параметров намывных сооружений и предельно допустимые отклонения размеров профильных выемок, каналов, котлованов, работ дноуглубления следует принимать в соответствии с проектом, в зависимости от технической производительности земснаряда или гидромонитора, засоренности грунтового карьера негабаритными включениями, и
СП 45.13330.
12.20 Подготовку карт намыва (устройство дамб обвалования, водосбросных сооружений и т.д.), заделку водосбросных устройств после окончания намыва и т.д. следует принимать с составлением актов освидетельствования скрытых работ в соответствии с
СП 48.13330.
12.21 Подводные выемки следует сдавать заказчику по актам
СП 48.13330 с результатами промеров глубин, выполненных не позже, чем через 10 сут по окончании дноуглубительных работ.
13 Требования безопасности и охрана труда
13.1 При производстве земляных работ способом гидромеханизации следует выполнять правила техники безопасности, охраны труда и производственной санитарии в соответствии с требованиями
ГОСТ Р 12.3.048 и правила эксплуатации машин, оборудования, инструмента для производства земляных работ согласно
ГОСТ 12.2.011.
13.2 Грунтовые карьеры гидромеханизации, карты намыва, выемки и насыпи следует ограждать знаками, предупреждающими об опасности и запрещении доступа посторонних лиц, указателями объезда и обхода в соответствии с
ГОСТ 12.4.026.
Ограждающие предупредительные знаки следует устанавливать в пределах не менее трехдневной выработки и вероятной призмы обрушения грунта.
13.3 Пульпопроводы и водоводы по окончании прокладки и монтажа следует испытать на герметичность и прочность с 1,5-кратным рабочим давлением.
13.4 Запрещаются хождение по трубам пульпопроводов и водоводов, а также какие-либо ремонтные работы при эксплуатации труб пульпопроводов и водоводов.
13.5 Плавучий пульпопровод следует оснащать спасательными кругами через каждые 50 м его длины.
13.6 Грунтовый карьер, площадка производства земляных работ, выемка, карта намыва и др. в ночное время должны быть освещены в соответствии с
ГОСТ Р 12.3.048.
13.7 Дамбы обвалования следует возводить с запасом высоты не менее чем на 0,4 - 0,5 м.
13.8 В процессе намыва должен быть предусмотрен мониторинг состояния дамб обвалования и исправности работы водосбросных систем карты намыва.
13.9 В случае засорения водосбросной системы или перелива воды через гребень дамбы обвалования следует немедленно информировать производителя работ, остановить работу земснаряда и устранить неисправности.
13.10 Подход к водосбросному колодцу на карте намыва следует оснастить мостиком (трапом) с перилами или лодкой в зависимости от размеров прудка-отстойника и месторасположения колодца.
13.11 Водосбросные колодцы следует ремонтировать бригадой не менее чем из двух человек после прекращения подачи пульпы на карту намыва и только после полного осушения водосбросного колодца. Ремонтные работы в водосбросных колодцах глубиной более 4 м следует выполнять по наряду-допуску и под наблюдением инженерно-технического работника.
13.12 При перерывах в работе средств гидромеханизации водосбросные колодцы следует закрывать щитами или ограждать. По окончании работ верхнюю часть водосбросного колодца на высоту не менее 1,5 м следует разобрать, а трубы водоводов заглушить.
13.13 Вахтовые комплексы следует обеспечивать запасом продуктов, питьевой воды и медицинских препаратов для защиты от обморожений и с учетом длительности прогнозируемых перерывов в транспортной доступности во время метелей и пурги.
14 Надежность и эксплуатационная долговечность намывных сооружений из дисперсных и мерзлых грунтов
14.1 Надежность и эксплуатационную долговечность намывных дисперсных и мерзлых грунтов: прочность, сопротивление сдвигу, устойчивость при статических и динамических воздействиях и т.п. обеспечивают в течение расчетного срока службы сооружений повышенного КС-3 и нормального КС-2 уровней ответственности согласно
ГОСТ 27751, при условии соответствия техногенных и природных воздействий и нагрузок принятым в проекте.
14.2 Надежность и эксплуатационную долговечность намывного сооружения следует определять по результатам контрольных испытаний грунтов и комплексного анализа их состояния, геологических, геокриологических, гидрологических, климатических и сейсмических условий.
14.3 Надежность земляных сооружений из намывных песчаных грунтов следует проектировать с учетом повышения их плотности и прочности во времени вследствие влияния физических и физико-химических факторов.
14.4 Намывные сооружения из дисперсных и мерзлых грунтов следует эксплуатировать на протяжении их жизненного цикла под нагрузками и воздействиями, указанными в проекте, как в ординарных, так и экстремальных природно-климатических условиях.
14.5 Безопасность на стадии производства земляных работ способом гидромеханизации при намыве сооружения обеспечивают путем соблюдения требований проекта и учитывая результаты строительного надзора и контроля.
14.6 На начальном этапе эксплуатации намывного сооружения (в течение 1 - 3 лет) следует периодически (один раз в полгода) визуально и инструментально контролировать сохранность грунтовых откосов от размыва водой, осадки и локальные просадки намывной поверхности.
15 Возведение земляных сооружений на многолетнемерзлых грунтах с использованием способа гидромеханизации
15.1 В районах распространения многолетнемерзлых грунтов средства гидромеханизации следует применять при наличии достаточных запасов дренирующего грунта, находящегося в талом состоянии в подрусловых и подозерных таликах. Разработку мерзлых грунтов землесосными снарядами следует осуществлять после предварительного перевода грунтов из мерзлого в талое состояние.
15.2 Производство земляных работ способом гидромеханизации в районах распространения многолетнемерзлых грунтов следует проектировать по материалам следующих изысканий в соответствии с
СП 493.1325800:
- геокриологических условий, составу и свойствам многолетнемерзлых и сезонномерзлых грунтов в пределах дальности транспортирования грунта по пульпопроводам;
- наличия несвязных дисперсных грунтов в таликах с указанием площади и глубины залегания;
- гидрологических и термических режимов возможных источников водоснабжения;
- климатических характеристик района, с указанием транспортно-логистических схем источников электроснабжения.
15.3 Изыскания на участках возможного применения гидромеханизации следует проводить в зимне-весеннее и осенне-зимнее время, получая наиболее достоверную информацию о мерзлотно-грунтовых явлениях, топографии местности, ледо-термическом режиме источников водоснабжения.
15.4 Выбор принципа строительства и способов подготовки грунтовых карьеров к разработке средствами гидромеханизации следует обосновывать теплотехническими и технико-экономическими расчетами с разработкой программы работ и прогнозированием изменений мерзлотно-грунтовых условий в зоне влияния сооружения с учетом особенностей воздействия процессов намыва на тепловлажностный режим грунтов основания и намываемого сооружения.
15.5 Карты намыва, штабели и намывные земляные сооружения следует проектировать в соответствии с
СП 25.13330 с учетом производительности средств гидромеханизации, скорости консолидации и обезвоживания грунта.
Величину запаса на осадку насыпей, намытых зимой на многолетнемерзлый грунт основания, допустимо определять по
приложению К.
15.6 При намыве земляного сооружения на основание из сильнольдистых грунтов
(ГОСТ 25100) с использованием первого принципа строительства по
СП 25.13330 и при неустойчивом термическом режиме многолетнемерзлых грунтов следует применять схемы намыва со свободными (пляжными) откосами.
15.7 При намыве грунта на основание из многолетнемерзлых грунтов, являющихся водоупором, следует предварительно устраивать дренажно-водоотводную систему, ограничивающую растекание неконсолидированной грунтовой массы при выходе фильтрационного потока воды по кривой депрессии на откосах намываемого сооружения. В качестве дренажно-водоотводной системы допускается использовать предварительно намытый слой дренирующего грунта, из которого, после водоотдачи, следует отсыпать обвалование.
15.8 При намыве сооружения из песчаных грунтов на основания из многолетнемерзлых грунтов следует выполнять поверочные расчеты на суффозионную устойчивость откосов и определять устойчивость откосов на участках выхода потоков фильтрационной воды
(СП 39.13330).
15.9 При разработке гидромониторами многолетнемерзлых грунтов в зимний период напор струи у насадки следует увеличивать на 30% - 50% против летнего. Грунт следует размывать со средней скоростью не менее 0,2 м/ч при ширине проходки не более 12 м. При увеличении ширины забоя шаг передвижки гидромонитора уменьшают, а количество передвижек увеличивают.
(рекомендуемое)
КАРЬЕРЫ. ГИДРОМЕХАНИЗИРОВАННАЯ ДОБЫЧА
ОБЩЕРАСПРОСТРАНЕННЫХ ПОЛЕЗНЫХ ИСКОПАЕМЫХ
А.1 Общие положения проектирования, производства и приемки работ по разработке карьера добычи местных строительных материалов, выполняемых средствами гидромеханизации
А.1.1 Проектирование разработки добычного карьера местных строительных материалов - ОПИ средствами гидромеханизации допускается только при наличии отчета о геологоразведочных работах и протокола ТКЗ об утверждении запасов.
А.1.2 Проектирование следует осуществлять на основе технического задания и отчетов по инженерно-геологическим, по инженерно-геодезическим, инженерно-гидрометеорологическим, инженерно-экологическими изысканиям, выполненным в соответствии с действующими нормативными документами на геологоразведочные работы.
А.1.3 Задание на проектирование гидромеханизированного добычного карьера должно содержать следующие данные:
- наименование добычного карьера и его адрес;
- район, пункты и площадка строительства;
- территориальное расположение объекта;
- основание для проектирования;
- режим предприятия;
- источники снабжения предприятия сырьем, водой, газом, электроэнергией;
- основные технологические процессы и оборудование;
- сроки строительства;
- намечаемый размер капитальных затрат и основные технико-экономические показатели проекта, которые должны быть достигнуты;
- этапы проектирования;
- технико-экономические показатели, достигнутые при эксплуатации аналогичных карьеров;
- технические условия на рекультивацию и др.;
- сроки начала и окончания проектных работ;
- количество экземпляров выдаваемой проектной документации на бумажном носителе и в электронном виде.
А.1.4 Исходные данные для разработки проекта добычного карьера:
- отчет по результатам инженерно-геологических изысканий;
- протокол ТКЗ об утверждении запасов;
- технические условия на подключение к внешним сетям;
- подъездные пути (наличие железной и автомобильной дороги, возможность доставки грузов водным путем).
А.1.5 При проектировании производства работ по добыче ОПИ и получении сырья средствами гидромеханизации необходимо обеспечивать заданный уровень надежности и безопасности технологических процессов, прочности, стабильности и устойчивости намытого в штабели и уложенного в гидроотвалы грунта при минимальных затратах, максимальной сохранности земель и наименьшем нанесении ущерба природной среде.
А.2 Геологическая разведка и инженерные изыскания
А.2.1 Геологическая разведка общераспространенных полезных ископаемых
А.2.1.1 Геологическую разведку местных строительных материалов - ОПИ для проектирования и организации карьеров по добыче камня, гравия, щебня, песка, глины и т.п. выполняют самостоятельно или при необходимости в составе инженерных изысканий в соответствии с действующими национальными стандартами, нормативными документами на геологоразведочные работы.
А.2.1.2 Геологоразведочные работы карьеров ОПИ следует разделять на поисковые и разведочные:
- поисковые работы ведут с целью отыскания и перспективной оценки пригодности месторождения грунта, после выявления и оценки месторождений ведут их разведку;
- разведку карьеров общераспространенных полезных ископаемых проводят во время инженерных изысканий.
А.2.1.3 По результатам геологоразведочных работ необходимо составить геологический отчет (паспорт карьера), включающий следующие материалы:
- общие сведения о районе разведки карьера;
- топографический план местности;
- результаты инженерно-геодезических, инженерно-геологических, инженерно-экологических и инженерно-гидрометеорологических изысканий;
- геологическую и гидрогеологическую характеристики карьера (месторождения);
- качественную характеристику сырья и кондиции на него;
- запасы полезного ископаемого.
А.2.1.4 Запасы твердых полезных ископаемых по степени их разведанности и изученности разделяют на разведанные - категорий A, B и C1 и предварительно оцененные - категории C2.
А.2.1.4.1 Категория A - запасы, детально разведанные, наиболее точно подсчитанные и опробованные в широком масштабе: установлены геологическое строение, размеры, формы и условия залегания полезной толщи, качество грунтов надежно охарактеризовано и полностью отвечает требованиям кондиций. Наличие запасов категории A служит для обоснования проектов разработки месторождений и капитальных вложений.
А.2.1.4.2 Категория B - запасы, достаточно точно количественно установленные предварительной разведкой, при которой форма залегания полезной толщи и качественные показатели выявлены недостаточно. Наличие запасов категории B служит обоснованием для составления проекта разработки месторождения и капитальных вложений.
А.2.1.4.3 Категория C1 - выяснены размеры и характерные формы тел полезного ископаемого, основные особенности условий их залегания. Качество полезного ископаемого охарактеризовано достаточно для обоснования промышленной ценности разведанных запасов. Контур запасов определен по скважинам и выработкам с учетом данных геофизических исследований и экстраполяции. Наличие запасов категории C1 - основа для разработки проекта.
А.2.1.4.4 Категория C2 - размеры, форма и условия залегания полезных ископаемых оценены по геологическим и геофизическим данным на основе единичных скважин или выработок. Качество и свойства полезного ископаемого определены по результатам исследований единичных проб либо оценены по аналогам. Контур запасов определен на основании единичных скважин, выработок, естественных обнажений с учетом геофизических исследований, геологических построений и экстраполяции, служит для общей оценки месторождения.
А.2.1.4.5 Прогнозные ресурсы по степени их обоснованности разделяют на категории P1, P2, P3.
А.2.1.5 На плане и других графических документах (геологических разрезах) должно быть отображено местоположение горного и земельного отводов (дополнительно следует уточнять список координат угловых точек).
А.2.1.6 Разработка месторождений полезных ископаемых за пределами горного отвода запрещается.
А.2.1.7 Местоположение и площадь земельного отвода следует устанавливать в зависимости от контура и площади горного отвода, расположения гидротранспортных коммуникаций, производственной базы, объекта намыва.
А.2.1.8 Контур подсчета запасов на плане следует определять по крайним положительным скважинам, удовлетворяющим требованиям по качеству, мощности полезной толщи и вскрыши, с включением зоны экстраполяции, с учетом рельефа местности, водотоков и т.д. По глубине границу подсчета запасов определяют по подошве полезной толщи или в соответствии с технической возможностью земснаряда, предусматривая мероприятия по увеличению глубины разработки.
А.2.1.9 Подсчитанные запасы ОПИ в разведанном карьере утверждают протоколом ТКЗ.
А.2.2 Инженерные изыскания
А.2.2.1 Инженерные изыскания для проектирования, добычи и производства намывных местных строительных материалов - ОПИ должны обеспечивать комплексное изучение природных и техногенных условий карьера, основания карт намыва и гидроотвалов, трасс магистральных пульпопроводов и водоводов, водосбросных сооружений и хвостохранилищ, составление прогнозов взаимодействия этих объектов с окружающей средой.
А.2.2.2 Изыскания местных строительных материалов выполняют в порядке, установленном действующими законодательными и нормативными актами Российской Федерации, в соответствии с требованиями
СП 47.13330.
А.3 Проектирование
А.3.1 Проектную документацию на разработку месторождения местных строительных материалов гидромеханизированным способом выполняют на основе материалов геологической разведки и инженерных изысканий.
А.3.2 Проектирование разработки месторождения полезных ископаемых допускается только при наличии геологического отчета, утвержденного Государственной комиссией Российской Федерации по запасам.
А.3.3 Утверждение постоянных кондиций на общераспространенных полезных ископаемых (кроме месторождений строительного камня для предприятий производственной мощностью более 400 тыс. м3 в год) осуществляют ТКЗ.
А.3.4 Разработка, гидравлическое транспортирование и намыв общераспространенных полезных ископаемых земснарядом в едином поточном и поточно-цикличном комплексе включает промывку и очистку песка, гравия и гальки от пылеватых, илистых и глинистых частиц, а также естественную раскладку материала по фракциям на карте намыва. В проект поточного и поточно-цикличного комплекса допускается включать гидравлические устройства для промывки и разделения на фракции местных строительных материалов.
А.3.5 Проект переработки намывных местных строительных материалов - ОПИ на береговых или плавучих сортировочных устройствах, включает грохочение, промывку, классификацию и обогащение песка, щебня и гравия, обезвоживание и складирование материалов по фракциям.
Наиболее благоприятные условия для производства намывных местных строительных материалов обеспечивает разработка землесосным снарядом речного грунтового карьера, в котором гравийные или песчаные грунты залегают на дне реки, находятся в прибрежной зоне, выстилают долину реки или старые русла.
А.3.6 Номенклатура намывных местных строительных материалов включает:
- материалы для общестроительных целей;
- заполнители бетона;
- материалы для дорожного строительства;
- пески формовочные;
- пески для силикатных изделий;
- материалы для фильтров.
А.3.7 Каждая партия намытого из местных строительных материалов сырья должна быть снабжена разборчивой, легко читаемой маркировкой и содержать следующую информацию:
- наименование предприятия-изготовителя и его товарный знак;
- наименование намывного строительного материала;
- номер партии строительного материала;
- количество продукции в партии;
- сведения о документе, подтверждающем соответствие намывного строительного материала требованиям проекта.
А.4 Приемка намывных грунтовых строительных материалов и контроль их качества
А.4.1 Намывной грунтовый строительный материал должен быть принят службой технического контроля предприятия в соответствии с требованиями проекта.
А.4.2 Качество намывного грунтового строительного материала следует проверять в процессе приемо-сдаточных и периодических испытаний.
Состав приемочной комиссии и порядок ее работы устанавливают заказчик и подрядчик (строительная организация).
А.4.3 Приемо-сдаточные испытания следует проводить путем испытания проб одной смены (если не предусмотрены проектом иные условия), отобранных с каждой технологической линии.
А.4.4 На приемочном контроле определяют:
- зерновой состав и модуль крупности;
- содержание пылевидных и глинистых частиц;
- содержание глины в комках.
А.4.5 При периодических испытаниях (один раз в квартал, если не предусмотрены другие периоды времени периодических испытаний) определяют:
- наличие органических примесей (гумусовых частиц);
- насыпную плотность и влажность.
А.4.6 При выявлении несоответствий приемочная комиссия разрабатывает мероприятия по их устранению или информирует подрядчика о возможных санкциях, предусмотренных действующим законодательством.
(обязательное)
НОРМИРУЕМЫЕ ПОТЕРИ НАМЫВНЫХ ГРУНТОВ
Таблица Б.1
Нормируемые потери намывных грунтов
Наименование запаса | Методика определения нормируемой потери |
Компенсация на осадку грунтов основания | По данным проектной документации. После намыва - по результатам измерений (плитам, маркам, реперам, результатам бурения скважин и т.п.) |
Уплотнение грунта в теле сооружения | В зависимости от высоты сооружения и типа намываемых грунтов: - 1,5% высоты при намыве супесчаных или суглинистых грунтов; - 0,75% при намыве песков |
Технологические потери грунта | |
Перемыв грунта с отклонением от проектного профиля | В соответствии с проектной документацией недомыв не допустим, перемыв плюс 0,5 м |
Отмыв частиц грунта | |
Унос грунта ветром | В зависимости от профиля и высоты сооружения, характеристик грунта и района производства работ: 0,5% - высота штабеля до 5 м, окружающая территория покрыта лесом, ветер средней интенсивности; 1,0% - высота штабеля более 5 м; 1,5% - для территории, подверженной воздействиям ветра; 2% - район со средней скоростью ветра более 10 м/с |
(рекомендуемое)
РАСЧЕТ СТЕПЕНИ ОЧИСТКИ (ДОПУСТИМОЙ МУТНОСТИ) СБРОСНОЙ ВОДЫ
В.1 Методика расчета
При выпуске осветленной сбросной воды с карты намыва в водоем поступает некоторое количество пылеватых и глинистых частиц грунта.
Предельно допустимое содержание взвешенных веществ в воде водоема Cex, мг/л, при смешивании со сбросной водой определяют по формуле

(В.1)
где C1lim - допустимое по нормам увеличение концентрации взвешенных веществ в воде после спуска в водоем сбросной воды, C1lim = 0,25 мг/л для водоемов хозяйственно-питьевого водопользования, C1lim = 0,75 мг/л - для водоемов, предназначенных для купания, спорта и отдыха;
a - коэффициент смешения;
Q - расход воды водоема у места выпуска сбросной воды, м/с;
q - средний расход сбросной воды, выпускаемой в водоем, м/с;
Cф - содержание взвешенных веществ (фоновое) в воде водоема, мг/л.
Коэффициент смешения a определяют по формуле

(В.2)
где

- коэффициент, учитывающий гидравлические факторы смешения;
L - расстояние по фарватеру водоема от места выпуска сбросной воды до расчетного створа, м.
Коэффициент, учитывающий гидравлические факторы смешения, определяют по формуле

(В.3)
где

- коэффициент извилистости водоема - отношение длины водоема по фарватеру от места выпуска сбросной воды до расчетного створа к длине водоема по прямой на этом же участке

(В.4)
- коэффициент, зависящий от места выпуска сбросной воды: при выпуске у берега

; при выпуске в фарватер

;
E - коэффициент турбулентной диффузии, определяемый по формуле
E = vH/(2Cm), (В.5)
где v - средняя скорость течения воды на участке между выпуском сбросных вод и расчетным створом, м/с;
H - средняя глубина водоема на том же участке, м;
C - коэффициент Шези, для равнинных водоемов C = 40;
m - коэффициент шероховатости Буссинеска

.
При указанных значениях m и C получен результат 2mC = 200, таким образом, E = VH/200.
Кратность разбавления определяют по формуле
n = (Q + q)/q. (В.6)
(справочное)
СХЕМЫ ПОПЕРЕЧНЫХ СЕЧЕНИЙ УСТРОЙСТВА ИНЖЕНЕРНЫХ КОММУНИКАЦИЙ
Г.1 Схемы поперечных сечений устройства инженерных коммуникаций представлены на
рисунках Г.1 и
Г.2.
Рисунок Г.1 - Схема типового поперечного сечения устройства
инженерных коммуникаций (водосбросных и фильтрационных
канав, пульпопроводов и водоводов, технологических дорог,
линий электропередачи) в полосе временного отвода
вдоль карты намыва
Рисунок Г.2 - Схема для проектирования инженерных
коммуникаций (трубопроводов, линий электропередачи,
технологических проездов) карьеров гидромеханизации
Г.2 Пересечение пульпопроводами железных и автомобильных дорог следует предусматривать под углом 90°, но не менее 60°.
Г.3 Переходы пульпопроводов под железными и автомобильными дорогами и городскими магистралями следует проектировать в местах прохождения дорог в насыпях или нулевых отметках. При этом пульпопроводы в местах перехода следует прокладывать в кожухах или тоннелях, внутренний диаметр которых должен быть на 200 мм более наружного диаметра пульпопровода. Концы кожуха должны быть заизолированы и выступать за очертание насыпи.
Г.4 Расстояние между параллельно укладываемыми трубопроводами - не менее 500 мм для труб внутренним диаметром до 900 мм.
Г.5 Расстояние по вертикали от подошвы рельса железнодорожного пути, от верха покрытия автомобильных дорог и улиц до верха трубы или кожуха подземного пульпопровода принимают в зависимости от способа производства работ: при открытом способе - не менее 1 м; при закрытом (путем продавливания, горизонтального бурения или методом проходки) - 1,5 м.
Г.6 При разработке карьеров (выемок) способом гидромеханизации следует использовать приведенные ниже требования:
- линии электропередачи и прочие наземные сооружения, попадающие в зону разрабатываемого карьера, должны быть заблаговременно перенесены за ее пределы и отстоять от границы карьера на расстоянии не ниже двойной высоты забоя и не менее полуторной высоты опоры ЛЭП;
- высота уступа должна составлять максимально 30 м (в отдельных случаях до 50 м);
- расстояние от гидромониторной установки до другой техники принимают не менее 0,8 высоты уступа (для глинистых и лессовидных пород - не менее 1,2 высоты уступа).
(справочное)
ТЕХНИЧЕСКИЕ ХАРАКТЕРИСТИКИ ТИПОВЫХ ЗЕМЛЕСОСНЫХ СНАРЯДОВ
Д.1 Технические характеристики типовых землесосных снарядов представлены в
таблице Д.1.
Таблица Д.1
Технические характеристики земснарядов
Показатель | Условная производительность земснаряда по грунту категории 2, тыс. м3/мес |
30 | 40 | 50 | 80 | 140 | 200 | 400 | 600 |
Производительность по пульпе, м3/ч | От 600 - 800 | От 1400 - 1600 | От 2000 - 3000 | От 3500 - 4500 | От 5000 до 7000 |
Примечание - Для обеспечения достаточной производительности по пульпе марку грунтового насоса по пульпе принимают в большую сторону. |
Д.2 Перечень работ, выполняемых на участке:
- разработка грунта, устройство поверхностного обвалования в подводном карьере с транспортированием к месту укладки под напором и с распределением пульпы;
- управление работой землесосного снаряда;
- перемещение землесосных снарядов из забоя в забой в пределах одного карьера;
- наращивание и укорачивание плавучего пульпопровода;
- профилактический ремонт оборудования землесосного снаряда;
- обслуживание магистральных и разводящих пульпопроводов;
- обслуживание водосбросных устройств;
- устройство обвалования из намытого грунта (кроме первичного);
- распределение глинистых окатышей по карте намыва или уборка их за пределы намываемого сооружения;
- разъединение очередных звеньев труб разводящего пульпопровода в процессе намыва с разборкой и откаткой их в пределах одной карты;
- ремонт труб (пульпопроводов).
Д.3 Дополнительное транспортирование грунта землесосными перекачивающими станциями при работе совместно с плавучими землесосными снарядами:
- обслуживание агрегатов станций и напорных трубопроводов;
- управление работой станций;
- профилактический ремонт оборудования станций;
- ремонт труб (водоводов и пульпопроводов).
(справочное)
СПОСОБЫ НАМЫВА ЗЕМЛЯНЫХ СООРУЖЕНИЙ
Таблица Е.1
Способы намыва земляных сооружений
Способ намыва | Характеристика способа |
Безэстакадный | Выпуск пульпы, сосредоточенный из торцов раструбных труб, укладываемых на поверхности. Намыв грунта слоями 1,0 - 1,5 м при наращивании труб, а при укорачивании - слоями 0,7 - 1,0 м. Полностью механизированный и непрерывный процесс намыва. Применяют для намыва несвязных грунтов с подачей пульпы на карту намыва более 200 м3/ч |
Низкоопорный | Выпуск пульпы, сосредоточенный из торцов стандартных труб, укладываемых на опорах высотой до 1,5 м. Намыв грунта слоями высотой до 1,5 м. Применение не ограничено в связи с простотой и удобством. Недостаток - значительный расход материалов для устройства опор, которые остаются в теле сооружения, так как инвентарные эстакады не всегда применимы |
Послойно-грунтоопорный | Выпуск пульпы сосредоточен из торцов стандартных труб, укладываемых на земляные валы высотой до 1,5 м, заменяющие опоры. Применяют при необходимости экономии материалов. Недостаток - необходимо производство земляных работ для создания грунтовых валов |
Продольно-торцовый | Бесколодцевый выпуск пульпы, сосредоточенный из торцов труб, укладываемых на отметке гребня сооружения. Сброс осветленной воды осуществляют через временные трубчатые водосборы в дамбах первичного обвалования. Обеспечивает неограниченное продвижение фронта намыва по длине, без деления на карты намыва, что достигается сопряжением первичного обвалования с гребнем сооружения посредством наклонных дамб вторичного обвалования и постепенным перемещением временного водосбора по мере намыва. Применяют при намыве линейных сооружений и реже - штабелей |
Эстакадный | Выпуск пульпы, рассредоточенный из отверстий в стенках труб, укладываемых на эстакадах высотой от 2 до 6 м, с подачей пульпы к основанию обвалования с помощью подвесных лотков; фронт намыва по длине карты намыва регулируют при непосредственном процессе намыва с помощью шиберных задвижек, устанавливаемых на трубах. Применение способа требует технико-экономического обоснования из-за его трудоемкости и потребности в лесоматериалах. Допускается намыв сооружений из пылеватых, лессовых и глинистых грунтов |
Встречно-торцовый | Намыв каждого очередного слоя в противоположном направлении при устройстве двух попеременно работающих водосбросных колодцев. Это позволяет рассредоточить скопление мелких фракций грунта у колодцев как по высоте (по слоям), так и в плане. Применяют при повышенных требованиях к плотности и равномерности распределения грунта по фракциям, при намыве линейных сооружений и штабелей |
Метод "набивки гребня" | Верхнюю часть насыпи высотой 1,0 - 1,5 м набивают намытым грунтом с помощью бульдозера в направлении, противоположном намыву, при этом устроенное бульдозером "корыто" заполняют намывом. Применяют для узкопрофильных сооружений (насыпей) |
(справочное)
ТЕХНОЛОГИЧЕСКИЕ СХЕМЫ УКЛАДКИ ГРУНТОВ
(ГЕОТУБЫ, КАРТЫ, СКЛАДЫ, ТЕРРИТОРИИ)
Ж.1 Геотубы
Ж.1.1 Подготовка площадки под размещение геоконтейнеров включает следующее:
- земляные работы (отсыпка щебня фракций 20 - 40, выравнивание, обеспечение уклона не более 0,5%, упорный пояс высотой 1/3 - 2/3 высоты наполнения геоконтейнера);
- обеспечение бесперебойного электроснабжения 380 В;
- водоснабжение для приготовления флокулянта: вода техническая
(ГОСТ 17.1.1.04);
- установка СПДФ;
- монтаж земснаряда;
- обеспечение водоотведения;
- подготовка трубопровода;
- установка запорной арматуры.
Ж.1.2 Схема укладки и наполнения геоконтейнеров типа геотуб показана на
рисунке Ж.1.
Рисунок Ж.1 - Схема укладки и наполнения геоконтейнеров
типа геотуб
Ж.1.3 Схема площадки для размещения геоконтейнеров представлена на
рисунке Ж.2.
Рисунок Ж.2 - Схема площадки для размещения геоконтейнеров
Ж.2 Технологические схемы классификации песка с применением гидрогрохотов показаны на
рисунках Ж.3 -
Ж.5 (карты, склады).
Рисунок Ж.3 - Схематическое расположение оборудования
в карьере
Рисунок Ж.4 - Схема намыва штабеля
Рисунок Ж.5 - Схема попутного обвалования карты намыва
Рисунок Ж.6 - Схема намыва территории
1 - входной пульпопровод; 2 - конический гидрогрохот;
3 - магистральный пульпопровод; 4 - освещение; 5 - входной
пульпопровод; 6 - гидроклассификатор; 7 - сбросной
трубопровод диаметром 400 мм; 8 - задвижка; 9 - сброс
пылевидной глинистой фракции в карьер; 10 - водовод;
11 - намывной пульпопровод; 12 - штабель песка; 13 - пульпа;
14 - чистая вода от насоса; 15 - фракция больше 2,5 мм;
16 - фракция меньше 2,5 мм
Рисунок Ж.7 - Схема намыва с использованием технологии
двойной промывки (намыв гидрогрохот и гидроциклон)
1 - намытый грунт; 2 - намывной пульпопровод;
3 - опора для намывного пульпопровода из намытого грунта
Рисунок Ж.8 - Грунтоопорный способ намыва грунта
Ж.4 Схема укладки гидротехнических сооружений и попутного устройства обвалования приведена на
рисунке Ж.9.
Рисунок Ж.9 - Схема укладки гидротехнических сооружений
и попутного устройства обвалования
(справочное)
ТИПОВЫЕ ПОПЕРЕЧНЫЕ ПРОФИЛИ РЕКУЛЬТИВАЦИИ (БЛАГОУСТРОЙСТВА)
ОТРАБОТАННЫХ ОБВОДНЕННЫХ КАРЬЕРОВ
И.1 Образовавшиеся после проведения гидромеханизированных земляных работ водоемы используют в рыбохозяйственных, технических, рекреационных и хозяйственных нуждах. Соответствующие поперечные профили приведены ниже на
рисунках И.1 -
И.4.
Рисунок И.1 - Водоем для объектов
рыбохозяйственного производства
Рисунок И.2 - Водоем для рекреации и организации зон отдыха
Рисунок И.3 - Водоем для технических нужд (вариант А)
Рисунок И.4 - Водоем для технических нужд (вариант Б)
И.2 Съезды к урезу воды водоема должны устраивать не реже чем через 500 м.
И.3 Ширина съездов должна быть не менее 5 м.
И.4 Уклон съездов, устраиваемых к урезу воды водоема, должен быть не круче 1:11 (согласно нормам технологического проектирования).
(рекомендуемое)
ОПРЕДЕЛЕНИЕ ВЕЛИЧИНЫ ЗАПАСА НА ОСАДКУ НАСЫПЕЙ, НАМЫТЫХ ЗИМОЙ
НА МЕРЗЛЫЙ ГРУНТ ОСНОВАНИЯ
К.1 Величину запаса на осадку после оттаивания насыпи, возводимой в зимних условиях, следует определять по формуле

(К.1)
где S1 - величина запаса на осадку за счет пучения грунта основания насыпи, см;
S2 - величина запаса на осадку за счет пучения грунта основания (определяют по фактической глубине промерзания к моменту возведения насыпи), см;
S3 - величина запаса на осадку за счет осадки грунта основания, если его плотность до замерзания была меньше проектной;
Hн - высота насыпи, см;
h1 - относительное морозное пучение грунта насыпи, %, которое принимают по
таблице К.1;
Hпр - глубина промерзания основания к моменту возведения насыпи, см;
h0 - относительное морозное пучение грунта основания, %, принимаемое по
таблице К.2;
K1,
K2,
K3 - коэффициенты, учитывающие свойства грунтов основания, принимаемые по
таблицам К.3,
К.4 и
К.5 соответственно;
Hос - глубина активной зоны основания, принимаемая равной 120 - 150 см от поверхности;

- фактическая плотность сухого грунта основания (в пределах активной зоны) до замерзания, г/см;

- стабильная плотность сухого грунта, г/см (принимают равной 0,93 - 0,95 максимальной стандартной плотности).
Таблица К.1
Относительное морозное пучение грунта насыпи h1
Грунт | h1, %, при влажности |
W0 | Wдоп |
Несвязный и малосвязный | 1 - 2 | 2 - 4 |
Связный | 2 - 3 | 4 - 6 |
Таблица К.2
Относительное морозное пучение грунта основания h0
Степень связности | Вид грунта | Разновидность | Группа степени пучинистости на 2-м и 3-м типах местности по СП 34.13330 | |
Несвязные | Песок | Крупный | I | < 1 |
Средний | I | < 1 |
Мелкий | III | 2 - 4 |
Пылеватый | V | 7 - 10 |
Слабосвязные | Супесь | Легкая крупная | III | 2 - 4 |
Легкая | IV | 4 - 7 |
Пылеватая | V | 7 - 10 |
Тяжелая пылеватая | VI | 10 - 15 |
Связные | Суглинок | Легкий | IV | 4 - 7 |
Легкий пылеватый | VI | 10 - 15 |
Тяжелый | IV | 4 - 7 |
Тяжелый пылеватый | V | 7 - 10 |
Сильносвязные | Глина | Песчанистая | IV | 4 - 7 |
Пылеватая | IV | 4 - 7 |
Жирная | IV | 4 - 7 |
<1> Для 2-го и 3-го типов местности по характеру и степени увлажнения грунта при глубине промерзания более 1,5 м. |
Таблица К.3
Учет свойств связных грунтов основания
| Значение коэффициента K1 для грунта |
связного | несвязного и малосвязного |
1,0 - 0,98 | 1,0 | 1,0 |
0,97 - 0,95 | 1,2 | 1,1 |
0,94 - 0,90 | 1,5 | 1,2 |
< 0,89 | 2,0 | 1,5 |
Таблица К.4
Учет свойств грунтов основания от глубины промерзания
Глубина промерзания грунта основания, м | Значение коэффициента K2 |
0,5 | 1,4 |
1,0 | 1,2 |
1,5 | 1,0 |
2,0 | 0,85 |
Таблица К.5
Учет свойств грунтов основания от их вида
Вид грунта | Значение коэффициента K3 |
Песок | 1,0 |
Супесь | 1,1 |
Суглинок, глина | 1,3 |
Примечание - Для связных грунтов, расположенных в зоне промерзания, значения K3 применяют от 0,8 до 0,9. |
К.2 Расчетную осадку насыпи, намытой зимой из дренирующего грунта, определяют в зависимости от суммарной толщины замытых прослоек мерзлого грунта, образовавшегося во время технологических перерывов.
[1] Федеральный
закон от 30 декабря 2009 г. N 384-ФЗ "Технический регламент о безопасности зданий и сооружений"
[2] Федеральный
закон от 29 декабря 2004 г. N 190-ФЗ "Градостроительный кодекс Российской Федерации"
[3] Федеральный
закон от 21 июля 1997 г. N 116-ФЗ "О промышленной безопасности опасных производственных объектов"
[4] Федеральный
закон от 10 января 2002 г. N 7-ФЗ "Об охране окружающей среды"
[5]
Постановление Правительства Российской Федерации от 16 февраля 2008 г. N 87 "О составе разделов проектной документации и требованиях к их содержанию"
[6]
Закон Российской Федерации от 21 февраля 1992 г. N 2395-1 "О недрах"
[7]
ГЭСН 81-02-01-2022 Государственные сметные нормативы. Государственные элементные сметные нормы на строительные и специальные строительные работы. Сборник 1. Земляные работы
[8]
Правила классификации и освидетельствования плавучих объектов (утверждены приказом Федерального автономного учреждения "Российский Речной Регистр" от 17 марта 2017 г. N 35-п)
[9]
Постановление Правительства Российской Федерации от 10 сентября 2020 г. N 1391 "Об утверждении Правил охраны поверхностных водных объектов"
[10]
СанПиН 2.1.3684-21 Санитарно-эпидемиологические требования к содержанию территорий городских и сельских поселений, к водным объектам, питьевой воде и питьевому водоснабжению, атмосферному воздуху, почвам, жилым помещениям, эксплуатации производственных, общественных помещений, организации и проведению санитарно-противоэпидемических (профилактических) мероприятий
[11]
СанПиН 1.2.3685-21 Гигиенические нормативы и требования к обеспечению безопасности и (или) безвредности для человека факторов среды обитания