Главная // Актуальные документы // Поправка / ПоправкиСПРАВКА
Источник публикации
В данном виде документ опубликован не был.
Первоначальный текст документа опубликован в издании
М.: Стандартинформ, 2014.
Информацию о публикации документов, создающих данную редакцию, см. в справке к этим документам.
Примечание к документу
Документ утратил силу с 01.07.2023 в связи с изданием
Приказа Росстандарта от 10.10.2022 N 1104-ст. Взамен введен в действие
ГОСТ ISO 3405-2022.
Документ включен в Перечень международных и региональных (межгосударственных) стандартов (
п. п. 78,
145,
219), а в случае их отсутствия - национальных (государственных) стандартов, содержащих правила и методы исследований (испытаний) и измерений, в том числе правила отбора образцов, необходимые для применения и исполнения требований технического
регламента Таможенного союза "О требованиях к автомобильному и авиационному бензину, дизельному и судовому топливу, топливу для реактивных двигателей и мазуту" (ТР ТС 013/2011) и осуществления оценки соответствия объектов технического регулирования (
Решение Коллегии Евразийской экономической комиссии от 15.08.2023 N 114).
Документ включен в Перечень стандартов (
п.п. 123,
199,
287), содержащих правила и методы исследований (испытаний) и измерений, в том числе правила отбора образцов, необходимые для применения и исполнения требований технического
регламента таможенного союза "о требованиях к автомобильному и авиационному бензину, дизельному и судовому топливу, топливу для реактивных двигателей и мазуту" (ТР ТС 013/2011) и осуществления оценки соответствия объектов технического регулирования (
Решение Комиссии Таможенного союза от 18.10.2011 N 826).
Название документа
"ГОСТ ISO 3405-2013. Межгосударственный стандарт. Нефтепродукты. Определение фракционного состава при атмосферном давлении"
(введен в действие Приказом Росстандарта от 22.11.2013 N 723-ст)
(ред. от 19.09.2017)
"ГОСТ ISO 3405-2013. Межгосударственный стандарт. Нефтепродукты. Определение фракционного состава при атмосферном давлении"
(введен в действие Приказом Росстандарта от 22.11.2013 N 723-ст)
(ред. от 19.09.2017)
агентства по техническому
регулированию и метрологии
от 22 ноября 2013 г. N 723-ст
МЕЖГОСУДАРСТВЕННЫЙ СТАНДАРТ
НЕФТЕПРОДУКТЫ
ОПРЕДЕЛЕНИЕ ФРАКЦИОННОГО СОСТАВА ПРИ АТМОСФЕРНОМ ДАВЛЕНИИ
Petroleum products. Determination of distillation
characteristics at atmospheric pressure
(ISO 3405:2011, IDT)
ГОСТ ISO 3405-2013
| | Список изменяющих документов Приказом Росстандарта от 19.09.2017 N 1164-ст) | |
Дата введения
1 января 2015 года
Цели, основные принципы и порядок проведения работ по межгосударственной стандартизации установлены
ГОСТ 1.0-92 "Межгосударственная система стандартизации. Основные положения" и
ГОСТ 1.2-2009 "Межгосударственная система стандартизации. Стандарты межгосударственные, правила и рекомендации по межгосударственной стандартизации. Правила разработки, принятия, применения, обновления и отмены".
1. Подготовлен Федеральным государственным унитарным предприятием "Всероссийский научно-исследовательский центр стандартизации, информации и сертификации сырья, материалов и веществ" (ФГУП "ВНИЦСМВ") на основе собственного аутентичного перевода на русский язык стандарта, указанного в
пункте 4.
2. Внесен Федеральным агентством по техническому регулированию и метрологии (Росстандарт).
3. Принят Межгосударственным советом по стандартизации, метрологии и сертификации (Протокол от 14 ноября 2013 г. N 44).
За принятие проголосовали:
Краткое наименование страны по МК (ИСО 3166) 004-97 | Код страны по МК (ИСО 3166) 004-97 | Сокращенное наименование национального органа по стандартизации |
Армения | AM | Минэкономики Республики Армения |
Киргизия | KG | Кыргызстандарт |
Молдова | MD | Молдова-Стандарт |
Россия | RU | Росстандарт |
Узбекистан | UZ | Узстандарт |
4. Настоящий стандарт идентичен международному стандарту ISO 3405:2011. Petroleum products - Determination of distillation characteristics at atmospheric pressure (Нефтепродукты. Определение фракционного состава при атмосферном давлении).
Настоящий стандарт разработан на основе
ГОСТ Р ЕН ИСО 3405-2007 "Нефтепродукты. Метод определения фракционного состава при атмосферном давлении".
Европейский региональный стандарт разработан техническим комитетом CEN/TC 19 "Газообразные и жидкие топлива, смазочные материалы и родственные продукты нефтяного, синтетического и природного происхождения".
Перевод с английского языка (en).
Межгосударственный стандарт разработан на основе
ГОСТ Р ЕН ИСО 3405-2007 "Нефтепродукты. Метод определения фракционного состава при атмосферном давлении".
Официальные экземпляры международного стандарта, на основе которого подготовлен настоящий межгосударственный стандарт, имеются в Федеральном информационном фонде технических регламентов и стандартов.
Сведения о соответствии межгосударственных стандартов ссылочным международным стандартам приведены в дополнительном
Приложении ДА.
Степень соответствия - идентичная (IDT).
5.
Приказом Федерального агентства по техническому регулированию и метрологии от 22 ноября 2013 г. N 723-ст межгосударственный стандарт ГОСТ ISO 3405-2013 введен в действие в качестве национального стандарта Российской Федерации с 1 января 2015 г.
6. Введен впервые.
Информация об изменениях к настоящему стандарту публикуется в ежегодном информационном указателе "Национальные стандарты", а текст изменений и поправок - в ежемесячных информационных указателях "Национальные стандарты". В случае пересмотра (замены) или отмены настоящего стандарта соответствующее уведомление будет опубликовано в ежемесячном информационном указателе "Национальные стандарты". Соответствующая информация, уведомления и тексты размещаются также в информационной системе общего пользования - на официальном сайте Федерального агентства по техническому регулированию и метрологии в сети Интернет.
Безопасность и эксплуатация углеводородов, особенно топлив и растворителей, в значительной степени зависит от фракционного состава. Интервал кипения характеризует состав нефтепродукта и позволяет прогнозировать его поведение при хранении и использовании. Область применения многих растворителей зависит от скорости испарения.
Большинство нормативных документов на дистиллятные нефтепродукты включает интервал кипения нефтепродуктов для оценки практического применения нефтепродукта и контроля испаряемости, приводящей к образованию взрывоопасных смесей с воздухом или выбросов летучих органических соединений (VOC) в атмосферу.
Предупреждение - Применение настоящего стандарта может быть связано с использованием опасных материалов, операций и оборудования. В настоящем стандарте не предусмотрено рассмотрение всех проблем безопасности, связанных с его применением. Пользователь настоящего стандарта несет ответственность за установление соответствующих мер по технике безопасности и охране здоровья, а также определяет возможности применения законодательных ограничений перед его применением.
Настоящий стандарт устанавливает лабораторный метод определения фракционного состава легких и средних нефтяных дистиллятов с температурой начала кипения выше 0 °C и температурой конца кипения ниже 400 °C с использованием ручного или автоматического оборудования.
К легким дистиллятам относятся автомобильные бензины, автомобильные бензины с содержанием этанола до 10% об. и авиационные бензины, к средним дистиллятам - топливо для реактивных двигателей, керосин, дизельное топливо, дизельное топливо с содержанием FAME (метиловых эфиров жирных кислот) до 20% об., топочный мазут и судовые топлива, не содержащие значительного количества остаточных продуктов.
Примечание. В настоящем стандарте для обозначения объемной доли отогнанного продукта используется термин "% об.".
Для применения настоящего стандарта необходимы следующие ссылочные документы. Для датированных ссылок применяют только указанное издание ссылочного документа, для недатированных ссылок применяют последнее издание ссылочного документа (включая все его изменения).
ISO 918. Volatile organic liquids for industrial use - Determination of distillation characteristics (Жидкости органические летучие технические. Определение характеристики дистилляции)
ISO 3170. Petroleum liquids - Manual sampling (Нефтяные жидкости. Ручной отбор проб)
ISO 3171. Petroleum liquids - Аutomatic pipeline sampling (Нефтяные жидкости. Автоматический отбор проб из трубопровода)
ISO 4259. Petroleum products - Determination and application of precision data in relation to methods of test (Нефтепродукты. Определение и применение показателей прецизионности методов испытаний)
ISO 4788:2005. Laboratory glassware - Graduated measuring cylinders (Лабораторная стеклянная посуда. Градуированные мерные цилиндры).
В настоящем стандарте применены следующие термины с соответствующими определениями:
3.1 температура разложения (decomposition point): Температура (скорректированная), при которой наблюдаются первые признаки термического разложения жидкости в колбе.
Примечание. Характерными признаками термического разложения являются образование дыма и снижение показания термометра при регулировании температуры нагревания.
3.2 температура выпаривания (dry point): Температура (скорректированная), наблюдаемая в момент, когда последняя капля жидкости испаряется со дна колбы. Любые капли или пленка жидкости на стенке колбы или на термометре не учитываются.
(п. 3.2 в ред.
Изменения N 1, введенного в действие Приказом Росстандарта от 19.09.2018 N 1164-ст)
3.3 температура конца кипения (end-point, final boiling point): Максимальное значение показания термометра (скорректированное), полученное при проведении испытания.
(п. 3.3 в ред.
Изменения N 1, введенного в действие Приказом Росстандарта от 19.09.2018 N 1164-ст)
3.4 температура начала кипения (initial boiling point): Показание термометра (скорректированное) в момент, когда первая капля конденсата падает с нижнего конца трубки холодильника.
3.5 процент выпаривания (percent evaporated): Сумма процента отогнанного продукта и процента потерь.
3.6 процент потерь (percent loss): Количество несконденсированного вещества, потерянного на начальной стадии разгонки, эквивалентное разности 100% и полного отгона.
3.7 скорректированные потери (corrected loss): Процент потерь, скорректированный на атмосферное давление.
3.8 процент отогнанного продукта (percent recovered): Объем конденсата в приемном цилиндре на любой стадии перегонки при конкретном значении температуры.
Примечание - Объем конденсата (отогнанного продукта) выражают в процентах от объема испытуемого образца.
(п. 3.8 в ред.
Изменения N 1, введенного в действие Приказом Росстандарта от 19.09.2018 N 1164-ст)
3.9 процент отгона (выход) (percent recovery): Максимальный процент отогнанного продукта, определяемый в соответствии с настоящим стандартом.
3.10 процент остатка после перегонки (percent residue): Объем остатка после перегонки, измеренный в соответствии с настоящим стандартом.
Примечание 2. Процент остатка после перегонки выражают в процентах к объему образца.
3.11 общий процент отгона (percent total recovery): Процент отгона в приемном цилиндре и процент остатка после перегонки в колбе, определяемые в соответствии с настоящим стандартом.
3.12 показание термометра (thermometer reading): Температура, зарегистрированная датчиком насыщенного пара в горлышке колбы ниже пароотводной трубки в условиях настоящего метода испытания.
3.13 значение температуры (temperature reading): Показание термометра или устройства для измерения температуры
(3.12), скорректированное на давление 101,3 кПа.
3.14 эффект выступающего столбика (emergent stem effect): Поправка на значение температуры, обусловленное использованием термометра в режиме частичного погружения, калиброванного на полное погружение.
Примечание. Выступающая часть столбика ртутного термометра находится при более низкой температуре, чем погруженная часть, что приводит к более низкому значению температуры по сравнению со значением, получаемым при полном погружении термометра во время калибровки.
3.15 температурное запаздывание (temperature lag): Расхождение между показаниями температуры стеклянного ртутного термометра и электронного устройства измерения температуры, вызванное разным временем отклика применяемых систем.
В зависимости от состава и ожидаемых характеристик испаряемости образец относят к одной из четырех групп. Для каждой группы характерны свое оборудование, температура холодильника и условия проведения испытания. При определенных условиях, соответствующих конкретной группе испытуемого образца, перегоняют 100 мл образца и регистрируют показания термометра и объем конденсата. Измеряют объем остатка в колбе после перегонки и регистрируют процент потерь при разгонке. Показания термометра корректируют на барометрическое давление и результаты используют при вычислениях в зависимости от группы образца и требований спецификации на продукцию.
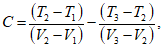
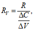
На рисунках 1 и
2 приведены типичные ручные аппараты. Автоматический аппарат в дополнение к основным компонентам, приведенным в настоящем разделе, оснащен системой измерения и автоматической записи значений температуры пара и соответствующего объема отогнанного продукта в приемном цилиндре.
1 - охлаждающая баня; 2 - вентиляционные отверстия;
3 - газовая горелка; 4 - защитный экран; 5 - термостойкие
прокладки; 6 - перегонная колба; 7 - термометр; 8 - крышка
бани; 9 - фильтровальная бумага; 10 - подставка под
приемный цилиндр; 11 - приемный цилиндр; 12 - газопровод
Приказом Росстандарта от 19.09.2018 N 1164-ст)
Рисунок 1. Аппарат в сборе с газовой горелкой
1 - приемный цилиндр; 2 - фильтровальная бумага;
3 - термометр; 4 - перегонная колба; 5 - термостойкая
прокладка для установки колбы; 6 - электрический
нагревательный элемент; 7 - опора для установки колбы;
8 - круглая ручка для установки колбы; 9 - шкала
регулирования нагревания; 10 - выключатель; 11 - открытый
снизу защитный экран; 12 - охлаждающая баня;
13 - трубка холодильника; 14 - кожух
Приказом Росстандарта от 19.09.2018 N 1164-ст)
Рисунок 2. Аппарат в сборе с электрическим нагревателем
Автоматические аппараты, выпущенные после 1999 г., должны быть оборудованы устройством автоматического выключения питания и устройством распыления инертных газов или паров в камере с установленной перегонной колбой в случае пожара.
Примечание. Причинами пожара могут быть повреждение перегонной колбы, короткое замыкание, вспенивание и выброс жидкого образца через горловину колбы.
Перегонные колбы вместимостью 125 мл из термостойкого стекла размерами и допусками, приведенными на
рисунке 3.
Примечание. Для определения температуры выпаривания следует использовать колбы, дно и стенки которых имеют одинаковую толщину.
1 - усиливающий буртик; 2 - конус 19/22 или 19/26;
3 - оплавленный край
Приказом Росстандарта от 19.09.2018 N 1164-ст)
Рисунок 3. Колбы вместимостью 125 мл.
Альтернативные конструкции горловины
5.3. Трубка холодильника и охлаждающая баня
5.3.1. На
рисунках 1 и
2 приведены типовые холодильники и охлаждающие бани. Можно использовать другую аппаратуру при условии получения прецизионности результатов, указанной в
разделах 13 или
14, сопоставимых с полученными на аппаратуре, приведенной на рисунках 1 и 2.
5.3.2. Холодильник должен быть изготовлен из бесшовной трубки некорродирующего металла длиной (560 +/- 5) мм, наружным диаметром 14 мм и толщиной стенок 0,8 - 0,9 мм.
Примечание. Для изготовления холодильника можно использовать латунь или нержавеющую сталь.
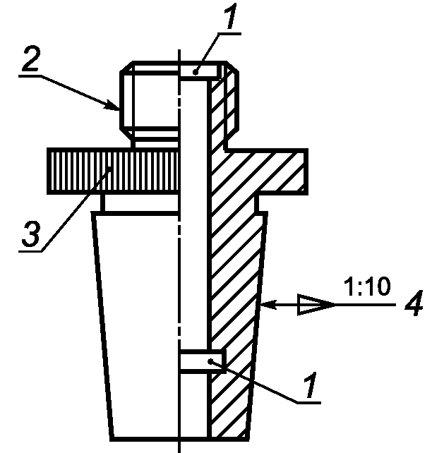
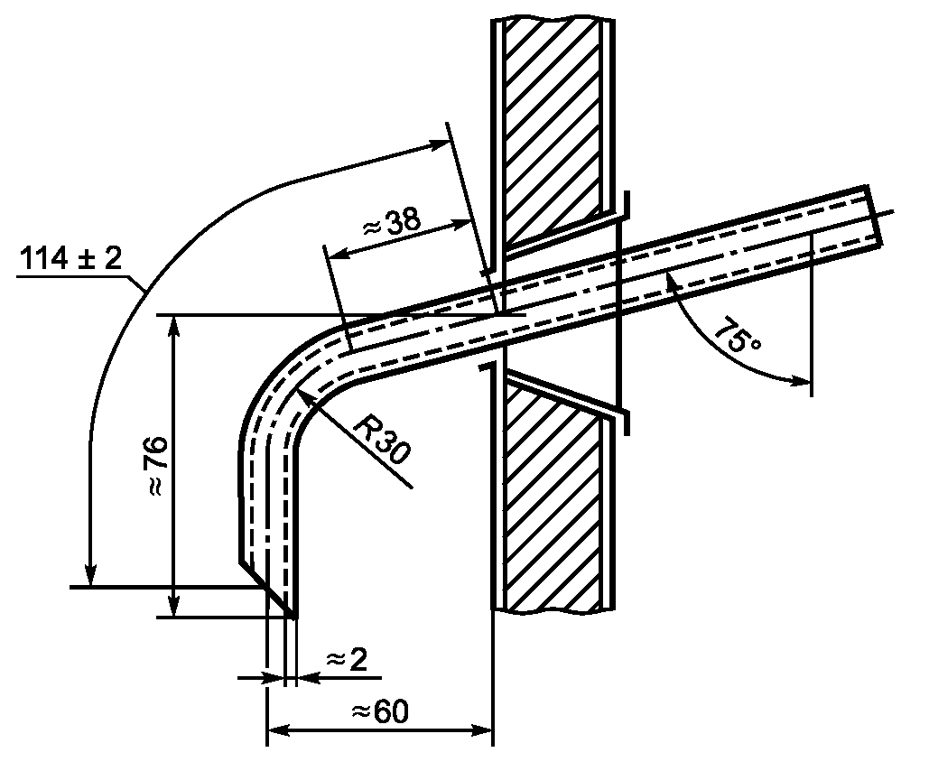
5.3.3. Холодильник устанавливают таким образом, чтобы часть трубки длиной (393 +/- 3) мм контактировала с охлаждающей средой, при этом верхний конец длиной (50 +/- 3) мм и нижний конец длиной (114 +/- 3) мм должны выступать из бани. Часть трубки, выступающую сверху, устанавливают под углом 75°. Часть трубки внутри бани должна быть прямой или изогнутой по любой подходящей непрерывной плавной кривой. Средний градиент наклона трубки должен составлять (15 +/- 1)° относительно горизонтали, ни один из отрезков длиной 100 мм не должен выходить за пределы градиента (15 +/- 3)°. Выступающая нижняя часть трубки холодильника длиной 76 мм должна быть изогнута вниз, нижний конец должен быть срезан под острым углом. Дистиллят должен стекать по внутренней стенке приемного цилиндра. На рисунке 4 приведен нижний конец трубки холодильника.
Рисунок 4. Нижний конец трубки холодильника
Стекание дистиллята по внутренней стенке приемного цилиндра осуществляется с помощью конденсатной ловушки, вставленной в приемник, или по слегка изогнутой назад нижней части трубки холодильника, касающейся стенки приемного цилиндра в точке, находящейся на 25 - 32 мм ниже верхней части цилиндра, когда он находится в положении для приема дистиллята.
5.3.4. Объем и конструкция охлаждающей бани зависят от используемой охлаждающей среды. Охлаждающая баня должна обеспечивать поддержание заданной температуры холодильника. Одну охлаждающую баню можно использовать для нескольких трубок холодильника.
5.4. Металлический защитный экран для колбы (только для ручного аппарата)
Экран должен обеспечивать защиту оператора во время проведения испытания и перегонной колбы от сквозняков. Он должен обеспечивать легкий доступ к аппарату при перегонке и иметь смотровое окошко для наблюдения за температурой в конце перегонки.
Примечание 1. Типовой экран из листового металла толщиной приблизительно 0,8 мм для установки с газовой горелкой должен иметь высоту 400 мм, длину 280 мм, ширину 200 мм
(рисунок 1).
Примечание 2. Типовой экран из листового металла толщиной приблизительно 0,8 мм для установки с электронагревателем должен иметь высоту 440 мм, длину 200 мм, ширину 200 мм
(рисунок 2).
5.5.1. Газовая горелка
(рисунок 1), обеспечивающая получение первой капли с момента нагревания в течение установленного времени и продолжение перегонки с установленной скоростью. Для обеспечения контроля нагревания следует предусмотреть чувствительный регулировочный кран и регулятор давления газа.
5.5.2. Электрический нагреватель (см.
рисунок 2) с высоким коэффициентом теплоотдачи и регулируемой мощностью в диапазоне от 0 до 1000 Вт.
(п. 5.5.2 в ред.
Изменения N 1, введенного в действие Приказом Росстандарта от 19.09.2018 N 1164-ст)
5.6.1. С газовой горелкой
(рисунок 1) применяют опору типа 1.
В качестве опоры для колбы используют лабораторную кольцевую прокладку (далее - прокладка) диаметром не менее 100 мм, фиксируемую на стойке за защитным экраном или размещаемую на регулируемой платформе, установленной перед экраном.
Прокладка из керамики или другого жаростойкого материала должна иметь толщину от 3 до 6 мм и отверстие в центре, соответствующее размерам, приведенным в
таблице 2. Прокладка должна обеспечивать нагревание только через центральное отверстие, другой нагрев должен быть минимальным. Прокладку можно слегка перемещать в соответствии с указаниями по установке перегонной колбы для обеспечения подачи тепла к колбе только через отверстие в прокладке. Положение колбы на прокладке фиксируют, регулируя длину пароотводной трубки колбы, вставленной в холодильник.
5.6.2. С электрическим нагревателем
(рисунок 2) применяют опору типа 2.
Опора для колбы представляет собой платформу, установленную над электрическим нагревателем, регулируемую перед экраном. Прокладку по
5.6.1 устанавливают на опору. Для обеспечения нагревания колбы только через специальное отверстие в прокладке необходимо предусмотреть, чтобы верхняя прокладка свободно перемещалась в горизонтальной плоскости. Опора для колбы вместе с прокладками должна легко перемещаться в вертикальном направлении для обеспечения во время разгонки касания прокладки дна колбы и легкой сборки и разборки аппарата.
5.7.1. Приемный цилиндр вместимостью 100 мл по ISO 4788, с ценой деления 1 мл и градуировкой, начинающейся с отметки не менее 5 мл, и отметкой 100 мл. Основание должно обеспечивать устойчивость пустого приемного цилиндра при установке на поверхности под углом 13° к горизонтали. Детали конструкции и предельные отклонения размеров приемного цилиндра приведены на рисунке 5.
1 - оплавленный край
Приказом Росстандарта от 19.09.2018 N 1164-ст)
Рисунок 5. Приемный цилиндр вместимостью (100,0 +/- 1,0) мл
Для автоматического аппарата приемный цилиндр должна быть только отметка 100 мл. Приемные цилиндры для автоматических аппаратов могут иметь металлическое основание.
При необходимости приемный цилиндр погружают в баню с охлаждающей жидкостью, например, в высокий стакан из прозрачного стекла или пластмассы так, чтобы ее уровень был выше отметки 100 мл, или в термостат с принудительной циркуляцией воздуха.
5.7.2. Цилиндр вместимостью 5 мл по ISO 4788 для остатка после перегонки.
5.8. Система измерения температуры
5.8.1. Стеклянные ртутные термометры, заполненные азотом, с градуировкой на стержне с эмалью на обратной стороне, соответствующие требованиям, приведенным в
Приложении A.
Предупреждение - При определенных условиях испытания температура шарика термометра может быть на 28 °C выше наблюдаемой температуры. При температуре 371 °C температура шарика достигает критической температуры для стекла. Поэтому рекомендуется избегать температуры перегонки свыше 371 °C. Если термометр нагревался выше 371 °C, перед следующим использованием необходимо проверить калибровку по температуре замерзания воды.
5.8.2. Можно использовать электронное устройство измерения температуры, имеющее такое же запаздывание температуры, влияние выступающего столбика термометра и прецизионность, как равноценный стеклянный ртутный термометр.
Электрическая схема и/или алгоритмы используемой электронной системы должны моделировать запаздывание температуры стеклянного ртутного термометра.
При этом датчик, у которого кончик (щуп) защищен кожухом, помещают так, чтобы в сборке, благодаря регулированию его теплоемкости и теплопроводности, он имел запаздывание температуры, аналогичное стеклянным ртутным термометрам.
При разногласиях выполняют контрольное испытание с использованием стеклянных ртутных термометров.
В
Приложении B приведен способ определения расхождения по времени запаздывания между электронным устройством измерения температуры и стеклянным ртутным термометром.
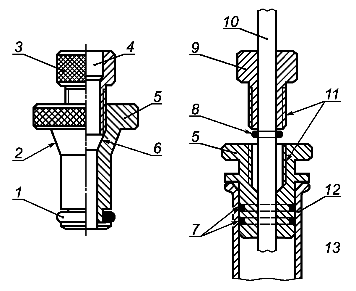
5.9. Центрирующее приспособление
Температурный датчик устанавливают в плотно подогнанном устройстве, конструкция которого позволяет механически центрировать датчик в горловине перегонной колбы, не допуская утечки паров. При этом не применяют корковую пробку или пробку из силиконовой резины с высверленным в центре отверстием. На рисунках 6 и
7 приведены примеры рекомендуемых центрирующих приспособлений.
1 - кольцевая прокладка; 2 - навинчивающаяся крышка;
3 - ручка с насечкой; 4 - внешний конус NS 19/26
Рисунок 6. Центрирующее приспособление
из политетрафторэтилена (ПТФЭ) для соединения
колбы со стеклянным шлифом
1 - уплотнительное кольцо круглого сечения
из вайтона
<1> или перфторированного эластомера;
2 - конус для центрирования в горловине перегонной колбы;
3 - стяжная гайка из ПТФЭ; 4 - высверленное отверстие
для термодатчика Pt100; 5 - корпус из ПТФЭ; 6 - уплотнение
без уплотнительного кольца; 7 - два уплотнительных
кольца из вайтона
<1> или перфторированного эластомера;
8 - уплотнительное кольцо; 9 - стяжная гайка;
10 - термометр или термодатчик Pt100;
11 - резьба; 12 - горловина перегонной колбы;
13 - внутренний диаметр горловины колбы
должен быть высокоточным
Приказом Росстандарта от 19.09.2018 N 1164-ст)
Рисунок 7. Схемы центрирующих приспособлений
для прямой горловины
--------------------------------
<1>

- торговая марка продукции компании DuPont. Информация приведена для удобства пользователей настоящего стандарта и не является одобрением ISO данной продукции. Можно использовать другую продукцию, обеспечивающую аналогичные результаты.
Допускается использовать другие центрирующие приспособления, обеспечивающие установку и удержание температурного датчика в середине горловины перегонной колбы.
Примечание. При ручном методе испытаний продуктов с низкой температурой начала кипения возможно, что одно или более делений термометра будет закрыто центрирующим приспособлением.
Барометр, обеспечивающий измерение атмосферного давления с точностью не менее 0,1 кПа, на уровне расположения лаборатории. Не используют барометры-анероиды, предварительно скорректированные на показание давления на уровне моря.
Примечание. Барометр должен быть установлен в помещении, в котором проводят испытания.
Классифицируют отбираемый продукт в соответствии с таблицей 1. В таблице 1 приведены общие рекомендации по условиям отбора проб.
Таблица 1
Группы продуктов и условия отбора проб
Наименование | Группа продукта |
1 | 2 | 3 | 4 |
Наименование продукта | Бензин/керосин | Бензин | Авиационное топливо с широким диапазоном кипения | Керосин/газойль |
(в ред. Изменения N 1, введенного в действие Приказом Росстандарта от 19.09.2018 N 1164-ст) |
Давление паров по методу Рейда, кПа | >= 65,5 | < 65,5 | < 65,5 | < 65,5 |
Разгонка: |
Температура начала кипения (ТНК), °C | - | - | <= 100 | > 100 |
Температура конца кипения (ТКК), °C | <= 250 | <= 250 | > 250 | > 250 |
(в ред. Изменения N 1, введенного в действие Приказом Росстандарта от 19.09.2018 N 1164-ст) |
Температура контейнера с пробой, °C | < 10 | - | - | - |
Температура пробы при отборе, °C | <= 10 | <= 10 | Температура окружающей среды <a> | Температура окружающей среды <a> |
Температура хранения пробы, °C | | | Температура окружающей среды | Температура окружающей среды |
Влажный образец | Повторно отбирают пробу или сушат | Сушат | Сушат |
См. пункт | | | | |
<a> Если проба не течет при температуре окружающей среды, ее следует хранить при температуре на 9 °C - 21 °C выше температуры застывания. <b> При отсутствии возможности хранения при температуре ниже 10 °C, пробу можно хранить в плотно закрытой емкости при температуре ниже 20 °C. См. 6.2.2. |
6.2. Подготовка проб до отбора
6.2.1. Общие положения
Если нет других указаний, пробу отбирают по ISO 3170 или ISO 3171 с учетом требований
таблицы 1. Перед проведением испытания пробу выдерживают при температуре, указанной в
таблице 1, и защищают от воздействия тепла или солнечного света.
Пробу отбирают в предварительно очищенную и охлажденную до температуры ниже 10 °C емкость. Готовят емкость, погружая ее в испытуемый продукт и отбрасывая первую порцию продукта. Если погружение невозможно, пробу переливают в предварительно охлажденную емкость, не перемешивая. Сразу же закрывают емкость плотно подогнанной пробкой и помещают в ледяную баню или холодильник для хранения при температуре, ниже установленной. Перед испытанием пробу выдерживают при температуре ниже 10 °C и хранят при этой же температуре или ниже. Если невозможно выдерживать и хранить пробу при температуре ниже 10 °C, ее можно хранить при температуре не выше 20 °C. При этом перед открыванием емкости пробу охлаждают до температуры ниже 10 °C.
6.2.3. Группы 3 и 4
Выдерживают пробу при температуре окружающей среды. Если при температуре окружающей среды проба не течет, ее выдерживают при температуре выше температуры застывания от 9 °C до 21 °C. Для обеспечения однородности перед отбором образца для испытаний пробу энергично встряхивают и не учитывают температурный диапазон для приемного цилиндра, указанный в
таблице 2. Перед анализом приемный цилиндр нагревают приблизительно до той же температуры, что и пробу, нагретый образец наливают точно до метки 100 мл. По возможности быстро переносят образец для испытания в перегонную колбу.
Предупреждение - При нагревании полностью заполненный плотно закрытый холодный контейнер с пробой может разрушиться.
6.3. Удаление воды из пробы
6.3.1. Общие положения
Не испытывают пробу, содержащую взвешенную воду или предположительно содержащую воду.
Не испытывают пробу, содержащую взвешенную воду. Если невозможно отобрать сухую пробу, пробу, выдерживаемую при температуре от 0 °C до 10 °C, сушат добавлением достаточного количества безводного сульфата натрия или другого подходящего осушающего агента. Для анализа используют декантированную порцию высушенной пробы, выдержанной при температуре от 0 °C до 10 °C, и указывают, что проба для испытания была высушена осушителем.
Примечание. Данные круговых испытаний показывают, что удаление суспендированной воды из мутных образцов групп 1 и 2 по вышеизложенной процедуре не оказывает статистически значимого влияния на результаты испытания.
Если невозможно получить сухую пробу, взвешенную воду удаляют встряхиванием с безводным сульфатом натрия или другим подходящим осушающим агентом и декантацией пробы.
7.1. Готовят аппаратуру в соответствии с
таблицей 2, выбирая соответствующую перегонную колбу, систему измерения температуры и подставку для колбы, установленные для конкретной группы продукта. При использовании газовой горелки применяют подставку для колбы типа 1
(5.6.1). При использовании электронагревателя применяют подставку для колбы типа 2
(5.6.2). Доводят температуру колбы, термометра, приемного цилиндра, датчика температуры и охлаждающей бани до указанной в таблице 2.
Таблица 2
Наименование | Группа продукта |
1 | 2 | 3 | 4 |
Система измерения температуры (5.8) | Низкий диапазон | Низкий диапазон | Низкий диапазон | Высокий диапазон |
Диаметр отверстия в прокладке подставки для колбы, мм | 38 | 38 | 50 | 50 |
Температура в начале испытания, °C: колбы и термометра | От 13 до 18 | От 13 до 18 | От 13 до 18 | <= окружающей среды |
прокладки, подставки для колбы и кожуха | <= окружающей среды | <= окружающей среды | <= окружающей среды | - |
приемного цилиндра и пробы | От 13 до 18 | От 13 до 18 | От 13 до 18 | От 13 до температуры окружающей среды |
7.2. Обеспечивают поддержание установленной температуры охлаждающей бани и приемного цилиндра.
Приемный цилиндр устанавливают в бане так, чтобы уровень жидкости был выше отметки 100 мл или в охлаждающей камере цилиндр был полностью окружен циркулирующим воздухом.
Для групп 1, 2 и 3 в качестве среды для низкотемпературной бани используют колотый лед с водой, солевой раствор и этиленгликоль.
Для группы 4 в качестве среды для бани с температурой окружающей среды и выше используют холодную или горячую воду и этиленгликоль.
7.3. Удаляют остаточную жидкость из трубки холодильника тампоном из мягкой безворсовой ткани, используя корд или медную проволоку.
7.4. Для образцов групп 1, 2 и 3 температурный датчик низкого диапазона, снабженный плотно пригнанной корковой пробкой или пробкой из силиконовой резины, устанавливают в горловину емкости с пробой и доводят температуру до указанной в
таблице 2.
7.5. После достижения необходимой температуры отбирают 100 мл пробы для испытания в приемный цилиндр и, по возможности, полностью переносят в перегонную колбу, не допуская попадания жидкости в пароотводную трубку.
Примечание 1. Вещества, которые испаряются во время переноса, увеличивают потери; вещества, которые остаются в мерном цилиндре, увеличивают объем отгона при температуре начала кипения.
Если предполагается бурное кипение, к пробе добавляют небольшое количество чистых и сухих гранул.
Примечание 2. Теоретически объем осадка на гранулах является частью остатка, однако этим значением можно пренебречь.
7.6. С помощью центрирующего приспособления
(5.9) устанавливают соответствующий температурный датчик. Шарик стеклянного ртутного термометра должен находиться в центре горловины колбы, нижний конец ртутного капилляра - на уровне нижней точки пароотводной трубки
(рисунок 8). При использовании термопары или термометра сопротивления датчик должен находиться ниже уровня пароотводной трубки перегонной колбы в соответствии с инструкцией изготовителя.
Рисунок 8. Положение термометра в колбе для разгонки
Для облегчения разборки аппарата после его использования на контактирующую поверхность центрирующего приспособления из политетрафторэтилена (ПТФЭ) наносят небольшое количество вакуумной смазки.
7.7. Пароотводную трубку колбы с плотно подогнанной пробкой (корковой или силиконовой) плотно соединяют с трубкой холодильника. Колбу устанавливают вертикально так, чтобы пароотводная трубка входила в трубку холодильника на 25 - 50 мм. Поднимают и устанавливают прокладку так, чтобы она плотно прилегала ко дну колбы.
7.8. Приемный цилиндр, используемый для измерения объема пробы для испытания без сушки, помещают в баню под нижний конец трубки холодильника так, чтобы ее конец был в центре приемного цилиндра на глубине не менее 25 мм, но не ниже отметки 100 мл. При необходимости используют конденсатную ловушку. При использовании ручного аппарата закрывают приемный цилиндр фильтровальной бумагой или аналогичным материалом, плотно облегающим трубку холодильника
(рисунок 1).
7.9. Регистрируют температуру и барометрическое давление в лаборатории и сразу приступают к разгонке в соответствии с
разделом 9 или
10 в зависимости от используемой аппаратуры.
Для автоматического аппарата датчик/регистратор уровня должен иметь разрешение 0,1 мл с максимальной погрешностью 0,3 мл между отметками 5 и 100 мл. Калибровку аппарата в сборе проверяют в соответствии с инструкциями изготовителя не реже одного раза в 3 мес.
Примечание. Стандартная процедура проверки включает проверку с использованием приемника, содержащего 5 и 100 мл образца соответственно.
8.2. Электронные устройства измерения температуры
8.2.1. Устройства измерения температуры, отличные от стеклянных ртутных термометров, должны показывать такое же запаздывание температуры, влияние выступающего столбика и точность, как стеклянный ртутный термометр. Проверку калибровки температурных датчиков выполняют не реже одного раза в 6 мес. Электронную схему для термометров сопротивления проверяют по эталону сопротивления. При проверке не применяют алгоритмы для корректировки запаздывания температуры и влияния выступающего столбика (см. инструкции изготовителя). Отклик системы измерения температуры проверяют по одной из процедур, описанных в
8.2.2 или
8.2.3.
8.2.2. Толуол квалификации ч.д.а. (или другой квалификации при условии обеспечения такой же точности результатов испытания) перегоняют по ISO 918 и сравнивают температуру 50% об. отгона с температурой, показываемой стеклянным ртутным термометром при испытании с использованием ручного аппарата при таких же условиях.
Толуол применяют в качестве проверочной жидкости при определении смещения, но это не дает почти никакой информации о том, как электронная система измерения моделирует температурное запаздывание стеклянного ртутного термометра. В
Приложении B приведен метод определения этого расхождения по времени запаздывания.
Для проверки отклика при повышенных температурах используют цетан (гексадекан).
Примечание. В справочниках указано, что в условиях по ISO 918 с применением термометра неполного погружения толуол кипит при температуре 110,6 °C, а цетан - при 287,0 °C. Поскольку в настоящем стандарте используют термометры, калиброванные на полное погружение, результаты будут занижены. Приблизительные значения таких результатов, полученные при проведении межлабораторных испытаний, следующие:
| ручной аппарат | автоматический аппарат |
толуол (продукты группы 1, 2, 3) | 105,98 °C - 111,8 °C | 108,58 °C - 109,7 °C |
цетан (продукты группы 4) | 272,28 °C - 283,1 °C | 277,08 °C - 280,0 °C |
8.2.3. Сертифицированные эталонные жидкости, соответствующие конкретной группе продукта, разгоняют ручным способом по настоящему стандарту, применяя последовательно соответствующий ртутный стеклянный термометр, затем альтернативное устройство или систему измерения температуры. Регистрируют систематические отклонения по всему диапазону измеряемых температур для гарантии того, что отклонение не превышает повторяемости настоящего метода испытания и алгебраическая сумма отклонений близка к нулю.
Примечание. Сертифицированные эталонные жидкости, представляющие собой смеси отдельных соединений, для продуктов групп 1 и 4 имеются в продаже.
8.3. Электронное устройство измерения давления
Проверяют показания барометрического устройства по барометру
(5.10) не реже одного раза в 6 мес, а также после ремонта или заменены системы.
9. Проведение испытания с использованием ручного аппарата
9.1. Нагревают перегонную колбу
(5.2) с испытуемой пробой, при этом конец трубки холодильника не должен касаться стенки приемного цилиндра
(5.7.1), позволяя наблюдать образование первой капли конденсата. Нагревание на этой стадии регулируют так
(5.5), чтобы время от начала нагревания до достижения температуры начала кипения было равно указанному в таблице 3.
Таблица 3
Условия проведения испытания
Наименование показателя | Группа продукта |
1 | 2 | 3 | 4 |
Температура охлаждающей бани, °C | От 0 до 1 включ. | От 0 до 4 включ. | От 0 до 4 включ. | От 0 до 60 включ. |
Температура вокруг приемного цилиндра, °C | От 13 до 18 | От 13 до 18 | От 13 до 18 | +/- 3 от объема |
Время от начала нагревания до температуры начала кипения, мин | От 5 до 10 | От 5 до 10 | От 5 до 10 | От 5 до 15 |
Время от начала кипения до 5% об. отгона, с | От 60 до 100 | От 60 до 100 | - | - |
Постоянная средняя скорость разгонки от 5% об. отгона до остатка 5 мл в перегонной колбе, мл/мин | От 4 до 5 | От 4 до 5 | От 4 до 5 | От 4 до 5 |
Время от получения 5 мл остатка в перегонной колбе до температуры конца кипения, мин | <= 5 | <= 5 | <= 5 | <= 5 |
(в ред.
Изменения N 1, введенного в действие Приказом Росстандарта от 19.09.2018 N 1164-ст)
9.2. Отмечают и записывают падение первой капли конденсата как температуру начала кипения с точностью до ближайших 0,5 °C. Если конденсатную ловушку не применяют, после падения первой капли перемещают приемный цилиндр так, чтобы конец трубки холодильника касался его внутренней стенки.
9.3. Регулируют нагревание так, чтобы время от достижения температуры начала кипения до получения 5% об. отгона соответствовало указанному в
таблице 3.
9.4. Продолжают регулировать нагревание так, чтобы средняя скорость конденсации от 5% об. отгона до остатка 5 мл в колбе была равномерной и составляла 4 - 5 мл/мин.
Из-за различных размеров перегонной колбы и условий проведения испытания пар и жидкость в зоне датчика температуры (см.
5.8) не находятся в термодинамическом равновесии. Поэтому скорость перегонки будет влиять на измеряемую температуру пара и она по возможности должна быть постоянной в течение всего испытания.
(в ред.
Изменения N 1, введенного в действие Приказом Росстандарта от 19.09.2018 N 1164-ст)
Примечание. При испытании продуктов групп 1 или 2 конденсат может образовывать несмешиваемые фазы, капли на термометре и в горловине колбы для разгонки при температуре пара приблизительно 160 °C. Это сопровождается резким (приблизительно на 3 °C) снижением температуры пара и снижением скорости разгонки. Это явление может продолжаться 10 - 20 с, прежде чем температура восстановится и конденсат начнет снова стекать. Эту температуру отмечают как "температуру задержки".
9.5. Если не выполнены условия, указанные в
9.1 -
9.4, разгонку повторяют.
9.6. Если проба разлагается при определенной температуре, прерывают нагревание и выполняют операции по
9.10.
9.7. В интервале между температурой начала кипения и концом разгонки отмечают и записывают данные, необходимые для вычисления и оформления результатов испытания, согласно спецификации или как установлено для испытуемой пробы.
Примечание. Данные могут включать показания термометра при установленных процентах отгона или процент отгона при установленных температурах.
Записывают все значения объемов отгона с точностью до ближайших 0,5 мл и все показания термометра с точностью до ближайших 0,5 °C.
Если нет других указаний, для продуктов всех групп записывают температуру начала кипения, температуру конца кипения и/или температуру выпаривания. Отмечают показания термометра при отгоне 5% об., 15% об., 85% об. и 95% об. и записывают показания через каждые 10% об. отгона в диапазоне от 10% об. до 90% об. включительно.
(в ред.
Изменения N 1, введенного в действие Приказом Росстандарта от 19.09.2018 N 1164-ст)
При испытании продуктов группы 4 с использованием высокотемпературного термометра его показания могут быть закрыты центрирующим устройством. Если эти показания необходимы, выполняют вторую разгонку в соответствии с требованиями для продуктов группы 3. В таких случаях вместо неясных показаний высокотемпературного термометра записывают показания низкотемпературного термометра, что указывают в протоколе испытания. При наличии договоренности об отказе от таких показаний высокотемпературного термометра, это указывают в протоколе испытания
(раздел 15).
Если требуется записывать показание термометра при заданном проценте выпаривания или отгона для пробы, которая имеет быстро меняющийся наклон кривой разгонки в области показания заданного процента выпаривания или отгона, регистрируют температурные показания при каждом 1% об. отгона. Наклон считают быстро меняющимся, если изменение наклона C по точкам, указанным выше, для всех групп продуктов в этой конкретной зоне более 0,6; наклон C вычисляют по формуле

(1)
где

- показание термометра, соответствующее заданному % об. отгона, °C;

- показание термометра, соответствующее % об. отгона, предшествующему заданному % об. отгона, °C;

- значение заданного отгона, % об.;

- значение отгона, предшествующего заданному отгону, % об.;

- показание термометра, соответствующее последующему за заданным % об. отгона, °C;

- значение отгона, последующего за заданным, % об.
9.8. Окончательную регулировку нагревания проводят при объеме остающейся в колбе жидкости приблизительно 5 мл. Чтобы определить, когда в колбе для разгонки останется приблизительно 5 мл жидкости, из 93,5 мл вычитают объем вычисленных потерь. Время с момента, когда в колбе остается 5 мл жидкого остатка, до температуры конца кипения должно соответствовать пределам, установленным в
таблице. Если это условие не выполнено, повторяют испытание, изменяя регулировку нагревания.
(в ред.
Изменения N 1, введенного в действие Приказом Росстандарта от 19.09.2018 N 1164-ст)
Испытание повторяют, если действительные потери отличаются от вычисленного значения более чем на 2 мл.
Примечание. Поскольку очень трудно определить объем кипящей в перегонной колбе жидкости, его вычисляют по объему жидкости в приемном цилиндре. Установлено, что содержание жидкости в трубках аппарата равно 1,5 мл, следовательно, можно предположить, что объем жидкости 5 мл в колбе соответствует объему 93,5 мл в приемнике при отсутствии потерь.
9.9. Отмечают и регистрируют температуру конца кипения и/или температуру выпаривания и прекращают нагревание.
(в ред.
Изменения N 1, введенного в действие Приказом Росстандарта от 19.09.2018 N 1164-ст)
9.10. При продолжающем стекать в приемный цилиндр конденсате отмечают объем конденсата с точностью до ближайших 0,5 мл с интервалом 2 мин до совпадения двух последовательных показаний. Измеряют объем и записывают его как процент отгона с точностью до ближайших 0,5 мл. Если разгонка была прекращена из-за разложения образца, вычитают из 100 процент отгона, записывают разность как процент остатка после перегонки и процент потерь и не выполняют процедуру по 9.11.
9.11. После охлаждения и прекращения выделения паров перегонную колбу отсоединяют от холодильника и выливают остаток в мерный цилиндр вместимостью 5 мл
(5.7.2), подвешивая колбу над цилиндром и оставляя так до тех пор, пока не прекратится заметное увеличение объема жидкости в цилиндре. Определяют объем жидкости в цилиндре и записывают с точностью до ближайших 0,1 мл как процент остатка.
При добавлении гранул избегают попадания их в цилиндр для остатка.
Если мерный цилиндр вместимостью 5 мл не имеет градуировки ниже 1 мл, а объем жидкости менее 1 мл, для точного определения объема остатка приемный цилиндр предварительно наполняют вязким маслом до отметки 1 мл.
Для продуктов группы 4 проверяют трубку холодильника и пароотводную трубку перегонной колбы на наличие парафинистых или твердых отложений. При их обнаружении испытание повторяют, повышая температуру бани холодильника в соответствии с
таблицей 3.
9.12. Если требуется определить только процент выпаривания или процент отгона при предварительно определенном скорректированном показании термометра, процедуру модифицируют, как указано в
Приложении C.
10. Проведение испытания с использованием
автоматического аппарата
10.1. Нагревают перегонную колбу
(5.2) с испытуемой пробой, при этом конец трубки холодильника должен касаться стенки приемного цилиндра
(5.7.1). Нагревание на этой стадии регулируют так
(5.5), чтобы интервал времени между началом нагревания и достижением температуры начала кипения соответствовал указанному в
таблице 3.
10.2. Регистрируют падение первой капли конденсата как температуру начала кипения с точностью до ближайшей 0,1 °C.
10.3. Регулируют нагревание так, чтобы время от достижения температуры начала кипения до получения 5% об. отгона соответствовало указанному в
таблице 3.
10.4. Продолжают регулировать нагревание так, чтобы средняя скорость конденсации от 5% об. отгона до остатка 5 мл в колбе была равномерной и составляла 4 - 5 мл/мин.
Не устанавливается термодинамическое равновесие пара и жидкости вокруг температурного датчика
(5.8) из-за конфигурации колбы для разгонки и условий проведения испытания. Поэтому скорость перегонки будет влиять на измеряемую температуру пара и она по возможности должна быть постоянной в течение всего испытания.
Примечание. При испытании продуктов групп 1 или 2 конденсат может образовывать несмешиваемые фазы, капли на термометре и в горловине колбы для разгонки при температуре пара приблизительно 160 °C. Это сопровождается резким (приблизительно на 3 °C) снижением температуры пара и снижением скорости разгонки. Это явление может продолжаться 10 - 20 с, прежде чем температура восстановится, и конденсат начнет снова стекать. Эту температуру отмечают как "температуру задержки".
10.5. Если не выполнены условия, указанные в
10.1 -
10.4, разгонку повторяют.
10.6. Если проба разлагается при определенной температуре, прерывают нагревание и выполняют операции по
10.10.
10.7. В интервале между температурой начала кипения и концом разгонки отмечают и записывают данные, необходимые для вычисления и оформления результатов испытания, согласно спецификации или как установлено для испытуемой пробы.
Примечание. Данные могут включать показания термометра при установленных процентах отгона или процент отгона при установленных температурах.
Записывают все значения объемов отгона с точностью до ближайших 0,1 мл и все показания термометра с точностью до ближайших 0,1 °C.
Если нет других указаний, для продуктов всех групп записывают температуру начала кипения, температуру конца кипения и/или температуру выпаривания. Отмечают показания термометра при отгоне 5% об., 15% об., 85% об. и 95% об. и записывают показания через каждые 10% об. отгона в диапазоне от 10% об. до 90% об. включительно.
(в ред.
Изменения N 1, введенного в действие Приказом Росстандарта от 19.09.2018 N 1164-ст)
10.8. Окончательную регулировку нагревания проводят при объеме остающейся в колбе жидкости приблизительно 5 мл. Чтобы определить, когда в колбе для разгонки останется приблизительно 5 мл жидкости, из 93,5 мл вычитают объем вычисленных потерь. Время с момента, когда в колбе остается 5 мл жидкого остатка, до температуры конца кипения должно соответствовать пределам, установленным в
таблице 3. Если это условие не выполнено, повторяют испытание, изменяя регулировку нагревания.
(в ред.
Изменения N 1, введенного в действие Приказом Росстандарта от 19.09.2018 N 1164-ст)
Испытание повторяют, если действительные потери отличаются от вычисленного значения более чем на 2 мл.
Примечание. Поскольку очень трудно определить объем кипящей в перегонной колбе жидкости, его вычисляют по объему жидкости в приемном цилиндре. Установлено, что содержание жидкости в трубках аппарата равно 1,5 мл, следовательно, можно предположить, что объем жидкости 5 мл в колбе соответствует объему 93,5 мл в приемнике при отсутствии потерь.
10.9. Отмечают и регистрируют температуру конца кипения и/или температуру выпаривания и прекращают нагревание.
(в ред.
Изменения N 1, введенного в действие Приказом Росстандарта от 19.09.2018 N 1164-ст)
10.10. При продолжающем стекать в приемный цилиндр конденсате отмечают объем конденсата с точностью до ближайших 0,1 мл с интервалом 2 мин до совпадения двух последовательных показаний. Измеряют объем и записывают его как процент отгона с точностью до ближайших 0,1 мл.
10.11. После охлаждения и прекращения выделения паров перегонную колбу отсоединяют от холодильника и выливают остаток в мерный цилиндр вместимостью 5 мл
(5.7.2), подвешивая колбу над цилиндром и оставляя так до тех пор, пока не прекратится заметное увеличение объема жидкости в цилиндре. Определяют объем жидкости в цилиндре и записывают с точностью до ближайших 0,1 мл как процент остатка.
При добавлении гранул избегают попадания их в цилиндр для остатка.
Если мерный цилиндр вместимостью 5 мл не имеет градуировки ниже 1 мл, а объем жидкости менее 1 мл, для точного определения объема остатка приемный цилиндр предварительно наполняют вязким маслом до отметки 1 мл.
Для продуктов группы 4 проверяют трубку холодильника и пароотводную трубку перегонной колбы на наличие парафинистых или твердых отложений. При их обнаружении испытание повторяют, повышая температуру бани холодильника в соответствии с
таблицей 3.
11. Обработка результатов
11.1. Общий процент отгона равен сумме процента отгона (
9.10 или
10.10) и процента остатка после перегонки (
9.11 или
10.11). Процент потерь получают вычитанием из 100 значения общего процента отгона.
11.2. Показания термометра корректируют на давление 101,3 кПа. Определяют поправку

, которую применяют к каждому показанию термометра, с помощью
таблицы 4 или уравнения Сиднея Янга

(2)
где

- барометрическое давление при проведении испытания в лаборатории, кПа;
t - показание термометра, °C.
Таблица 4
Аппроксимированные поправки к показаниям
температурного датчика
Температурный диапазон, °C | Поправка, °C/кПа |
От 10,0 до 29,5 включ. | 0,27 |
" 30,0 " 49,5 " | 0,29 |
" 50,0 " 69,5 " | 0,31 |
" 70,0 " 89,5 " | 0,32 |
" 90,0 " 109,5 " | 0,35 |
" 110,0 " 129,5 " | 0,36 |
" 130,0 " 149,5 " | 0,38 |
" 150,0 " 169,5 " | 0,40 |
" 170,0 " 189,5 " | 0,42 |
" 190,0 " 209,5 " | 0,44 |
" 210,0 " 229,5 " | 0,45 |
" 230,0 " 249,5 " | 0,48 |
" 250,0 " 269,5 " | 0,49 |
" 270,0 " 289,5 " | 0,51 |
(в ред. Изменения N 1, введенного в действие Приказом Росстандарта от 19.09.2018 N 1164-ст) |
" 290,0 " 309,5 " | 0,53 |
" 310,0 " 329,5 " | 0,55 |
" 330,0 " 349,5 " | 0,57 |
" 350,0 " 369,5 " | 0,58 |
" 370,0 " 389,5 " | 0,60 |
" 390,0 " 410,0 " | 0,62 |
Если при испытании барометрическое давление менее 101,3 кПа, к наблюдаемой температуре прибавляют абсолютное значение температурной поправки, а если барометрическое давление более 101,3 кПа, температурную поправку вычитают.
Для абсолютной точности наблюдаемое барометрическое давление скорректируют на температуру 0 °C и стандартную силу тяжести, чтобы компенсировать изменения силы тяжести на широте размещения лаборатории. Эти поправки незначительны и приводят к корректировке температуры начала кипения менее 0,2 °C. Корректировку не проводят, если нет соответствующего требования.
Примечание. Показания термометра не корректируют на барометрическое давление 101,3 кПа, если в спецификации на продукцию или в соглашении заинтересованных сторон указано, что такая корректировка при испытании продукта нецелесообразна или корректировку следует проводить на другое базовое давление.
После введения поправок и округления каждого результата до ближайших 0,5 °C или 0,1 °C в соответствии с применяемым аппаратом в дальнейших вычислениях и записях используют скорректированные показания термометра.
11.3. Если показания термометра скорректированы на давление 101,3 кПа, фактические потери должны быть скорректированы на такое же давление 101,3 кПа. Вычисляют скорректированные потери

, % об., по формуле

(3)
где L - процент потерь, вычисленный на основании результатов испытания, % об.;
p - наблюдаемое барометрическое давление, кПа.
Примечание.
Формула (3), на которую дается ссылка в ASTM D 86-96 и в более поздних изданиях, выведена на основе экспериментальных данных.
11.4. Вычисляют соответствующий скорректированный процент отгона

, % об., по формуле

(4)
где R - наблюдаемый процент отгона, % об.;
L - наблюдаемые потери, % об.;

- скорректированные потери, % об.
11.5. Для записи процентов выпаривания

, % об., при установленных показаниях термометра процент потерь прибавляют к наблюдаемому проценту отогнанного продукта

при установленных показаниях температуры по формуле

(5)
где

- отогнанный продукт, % об.;
L - наблюдаемые потери, % об.
11.6. Для метода с использованием ручного аппарата определяют показания термометра при установленных процентах выпаривания по одному из способов, приведенных в
11.6.1 или
11.6.2. В протоколе испытания указывают использованный способ - арифметический или графический.
11.6.1. Для получения соответствующего процента отгона арифметическим способом вычитают отмечаемые потери при разгонке из каждого установленного процента выпаривания. Вычисляют необходимое показание термометра T, °C, по формуле

(6)
где

- показание термометра при

, °C;

- показание термометра при

, °C;
R - процент отгона, соответствующий установленному проценту выпаривания, % об.;

- отгон ближайший и ниже R, % об.;

- отгон ближайший и выше R, % об.
На значения, полученные арифметическим способом, влияет нелинейность графика разгонки. Интервалы между последовательными точками на любой стадии испытания должны соответствовать интервалам, указанным в
9.7. При вычислениях не используют экстраполяцию.
11.6.2. При использовании графического способа на миллиметровой бумаге с одинаковыми делениями строят график зависимости показаний термометра [при необходимости с поправкой на барометрическое давление
(11.2)] от соответствующего процента отгона. Построение графика начинают с температуры начала кипения при нулевом проценте отгона по объему. Проводят плавную кривую, объединяющую точки. Для каждого требуемого процента выпаривания вычитают потери при разгонке для получения соответствующего процента отгона и находят по графику показание термометра, соответствующее этому проценту отгона. Значения, полученные способом графической интерполяции, зависят от тщательности построения графика.
Примечание. В
Приложении D приведены примеры вычисления результатов.
11.7. При проведении испытания на автоматическом аппарате не применяют графический способ по
11.6, т.к. аппарат фиксирует зависимость температуры от объема отгона и хранит их в памяти. Значение температуры с интервалом 0,1% об. от заданного процента выпаривания получают непосредственно из базы данных.
12. Оформление результатов
12.1. Регистрируют метод отбора проб.
12.2. Регистрируют все проценты по объему с точностью до ближайших 0,5% об. для ручного метода или с точностью до 0,1% об. для автоматического метода, а также все показания термометра с точностью до ближайших 0,5 °C для ручного метода или 0,1 °C для автоматического метода.
12.3. Указывают используемый метод испытания: ручной или автоматический.
12.4. При отсутствии указаний (см.
примечание к 11.2), показания термометра перед записью корректируют на барометрическое давление 101,3 кПа. После проведения корректировки записывают наблюдаемые значения в соответствии с правилами округления, указанными в
12.2, вместе с лабораторным барометрическим давлением. При этом остаток и потери указывают как "наблюдаемые".
12.5. Для продуктов группы 1 или любого продукта с потерей более 2,0% об. регистрируют зависимость между показанием термометра и процентом выпаривания по объему. Для продуктов групп 2, 3 и 4 обычно регистрируют зависимость между показанием термометра и процентом отогнанного продукта. Четко указывают способ регистрации.
12.6. Если выполняли процедуру по
6.3.2, образцы групп 1 и 2 регистрируют как "осушенные".
12.7. При применении
условий 9.7, абзац 4, указывают о замене термометра низкого диапазона на термометр высокого диапазона.
Примечание. В
Приложении F приведены примеры оформления протоколов испытания.
13. Прецизионность метода при использовании
ручного аппарата
Прецизионность по ISO 4259, полученная при статистическом исследовании результатов межлабораторных испытаний образцов бензинов, керосинов и газойлей с использованием ручного аппарата, приведена в
13.2 и
13.3. Значения прецизионности приведены в
таблицах 6 и
7. Показатели отклонения приведены в
14.4.
Для определения прецизионности результатов испытаний в пределах температур начала и конца кипения определяют скорость изменения температуры в данном конкретном интервале. Переменную величину

, равную отношению изменения температуры к изменению процента отгона, вычисляют по формуле

, (7)
где TU - максимальная температура для заданного интервала, °C;
TL - минимальная температура для заданного интервала, °C;
VU - процент отгона, соответствующий TU, % об;
VL - процент отгона, соответствующий TL, % об.
(в ред.
Изменения N 1, введенного в действие Приказом Росстандарта от 19.09.2018 N 1164-ст)
В
таблице 5 приведены данные по точкам, которые используются для определения наклона при конкретных значениях процента отгона или выпаривания. Для проб группы 1 приведенные показатели прецизионности основаны на значениях наклона, вычисленных по значениям процента выпаривания, для проб групп 2, 3 и 4 приведенные показатели прецизионности основаны на значениях, вычисленных по значению процента отгона.
Таблица 5
Значения для определения наклона
Наклон при, % | Температура начала кипения (ТНК), °C | Процент отгона | Температура конца кипения (TKK), °C |
5 | 10 | 20 | 30 | 40 | 50 | 60 | 70 | 80 | 90 | 95 |
 при, % | 0 | 0 | 5 | 10 | 20 | 30 | 40 | 50 | 60 | 70 | 80 | 90 | 95 |
 при, % | 5 | 10 | 20 | 30 | 40 | 50 | 60 | 70 | 80 | 90 | 90 | 95 | |
| 5 | 10 | 15 | 20 | 20 | 20 | 20 | 20 | 20 | 20 | 10 | 5 | |
(в ред.
Изменения N 1, введенного в действие Приказом Росстандарта от 19.09.2018 N 1164-ст)
При температуре конца кипения до 95% об. выпаривания или отгона наклон в конце разгонки вычисляют по формуле
(в ред.
Изменения N 1, введенного в действие Приказом Росстандарта от 19.09.2018 N 1164-ст)

(8)
где TТКК - температура конца кипения, °C;
TH - температура, с точностью до 0,5 °C, при объеме отгона, равном VH, °C;
VТКК - объем при достижении температуры конца кипения, см3;
VH - максимальный объем с точностью до 5% об. перед достижением температуры конца кипения, см3.
(в ред.
Изменения N 1, введенного в действие Приказом Росстандарта от 19.09.2018 N 1164-ст)
13.2.1. Продукты группы 1
Расхождение между двумя результатами испытания, полученными одним оператором на одной и той же аппаратуре на идентичном испытуемом материале при постоянных рабочих условиях, при нормальном и правильном применении метода испытания в течение длительного времени может превышать значения, указанные в таблице 6, только в одном случае из двадцати.
Таблица 6
Прецизионность для продуктов группы 1 (ручной метод)
Процент выпаривания, % об. | Повторяемость, °C | Воспроизводимость, °C |
Температура начала кипения (ТНК) | 3,3 | 5,6 |
5 | | |
10 | | |
20 | | |
30 - 70 | | |
80 | | |
90 | | |
95 | | |
Температура конца кипения (ТКК) | 3,9 | 7,2 |
Примечание.  и  - переменные величины, являющиеся постоянной наклона  для каждой точки перегонки; значения этих переменных вычисляют по формулам  , (9)  . (10) |
13.2.2. Продукты групп 2, 3, 4
Расхождение между двумя результатами, полученными одним и тем же оператором на одной и той же аппаратуре на идентичном испытуемом материале при постоянных рабочих условиях, при нормальном и правильном применении метода испытания в течение длительного времени может превышать значения, указанные в таблице 7, только в одном случае из двадцати.
Таблица 7
Прецизионность для продуктов групп 2, 3, 4 (ручной метод)
Процент выпаривания, % об. | Повторяемость, °C | Воспроизводимость, °C |
Температура начала кипения (ТНК), °C | | |
От 5 до 95 | | |
Температура конца кипения (ТКК), °C | | |
% об. отгона при Т, °C | | |
Примечание. Таблица получена по номограмме, представляющей набор ранее полученных данных по показателям прецизионности. |
13.3.1. Продукты группы 1
Расхождение между двумя единичными и независимыми результатами испытаний, полученными разными операторами в разных лабораториях на идентичном испытуемом материале при нормальном и правильном применении метода испытания в течение длительного времени может превышать значения, указанные в
таблице 6, только в одном случае из двадцати.
13.3.2. Продукты групп 2, 3, 4
Расхождение между двумя единичными и независимыми результатами, полученными разными операторами в разных лабораториях на идентичном испытуемом материале при нормальном и правильном применении метода в течение длительного времени может превышать значения, указанные в
таблице 7, только в одном случае из двадцати.
14. Прецизионность метода при использовании
автоматического аппарата
Прецизионность по ISO 4259, полученная при статистическом исследовании результатов межлабораторных испытаний образцов бензинов, бензинов с содержанием оксигенатов до 10%, этанола или MTBE, авиационных бензинов, керосинов, дизельных топлив, дизельных топлив с содержанием FAME до 20%, топочного мазута, топлив для реактивных двигателей, нефтяных растворителей и судовых топлив на автоматическом аппарате, приведена в
14.2 и
14.3. Для некоторых стандартных топлив была вычислена воспроизводимость отдельных показателей разгонки, приведенная в
C.1.5.
Примечание 1. По результатам межлабораторных испытаний 2006 г. продуктов групп 1, 2 и 3 с использованием автоматического аппарата была установлена эквивалентность прецизионности. Поэтому значения прецизионности для продуктов групп 1, 2 и 3 объединены.
Примечание 2. В связи с невозможностью достижения многими лабораториями при проведении испытания бензина требуемых значений прецизионности для температуры выпаривания 50% об. проводят дополнительные межлабораторные испытания. По результатам таких испытаний могут быть разработаны изменения к настоящему стандарту.
14.2.1. Продукты групп 1, 2, 3
Расхождение между двумя результатами испытания, полученными одним оператором на одной и той же аппаратуре на идентичном испытуемом материале при постоянных рабочих условиях, при нормальном и правильном применении метода испытания в течение длительного времени может превышать значения, указанные в таблице 8, только в одном случае из двадцати.
Таблица 8
Прецизионность для продуктов групп 1, 2, 3
(автоматический метод)
Процент выпаривания, % об. | Повторяемость, °C | Воспроизводимость, °C | Допустимый диапазон, °C |
Температура начала кипения (ТНК), °C | 0,0295(T + 51,19) | 0,0595(E + 51,19) | 20 - 70 |
10 | 1,33 | 3,20 | 35 - 95 |
50 | 0,74 | 1,88 | 65 - 220 |
90 | 0,00755(E + 59,77) | 0,019(E + 59,77) | 110 - 245 |
(в ред. Изменения N 1, введенного в действие Приказом Росстандарта от 19.09.2018 N 1164-ст) |
Температура конца кипения (ТКК), °C | 3,33 | 6,78 | 135 - 260 |
E - температура при проценте выпаривания в пределах установленного допустимого диапазона. |
14.2.2. Продукты группы 4
Расхождение между двумя результатами, полученными одним и тем же оператором на одной и той же аппаратуре на идентичном испытуемом материале при постоянных рабочих условиях, при нормальном и правильном применении метода испытания в течение длительного времени может превышать значения, указанные в таблице 9, только в одном случае из двадцати.
Таблица 9
Прецизионность для продуктов группы 4 (автоматический метод)
Процент выпаривания, % об. | Повторяемость, °C | Воспроизводимость, °C | Допустимый диапазон, °C |
Температура начала кипения (ТНК), °C | 0,018T | 0,055T | 145 - 220 |
10 | 0,0094T | 0,022T | 160 - 265 |
50 | 0,94 | 2,97 | 170 - 295 |
90 | 0,0041T | 0,015T | 180 - 340 |
95 | 0,015(T -140) | 0,04227(T -140) | 260 - 340 |
Температура конца кипения (ТКК), °C | 2,2 | 7,1 | 195 - 365 |
T - температура при проценте отгона в пределах установленного допустимого диапазона. |
14.3.1. Продукты групп 1, 2, 3
Расхождение между двумя единичными и независимыми результатами испытаний, полученными разными операторами в разных лабораториях на идентичном испытуемом материале при нормальном и правильном применении метода испытания в течение длительного времени, может превышать значения, указанные в
таблице 8, только в одном случае из двадцати.
14.3.2. Продукты группы 4
Расхождение между двумя единичными и независимыми результатами, полученными разными операторами в разных лабораториях на идентичном испытуемом материале при нормальном и правильном применении метода в течение длительного времени, может превышать значения, указанные в
таблице 9, только в одном случае из двадцати.
14.4.1. Абсолютное отклонение
Поскольку не существует принятых эталонных материалов, пригодных для определения отклонения настоящего метода испытаний, отклонение не определено.
14.4.2. Относительное отклонение
В результате межлабораторных испытаний, проведенных в 2003 г. с использованием ручных и автоматических аппаратов, было установлено отсутствие отклонения результатов методов с использованием ручного и автоматического аппаратов. См. исследовательский отчет ASTM RR: D02-1580.
Протокол испытания должен содержать:
a) обозначение настоящего стандарта;
b) тип и полную идентификацию испытуемого продукта;
d) любое отклонение от метода настоящего стандарта;
e) дату проведения испытания.
Примечание. В
Приложении F приведены примеры оформления протоколов.
(обязательное)
СПЕЦИФИКАЦИЯ НА ТЕРМОМЕТРЫ
В таблице A.1 приведена спецификация на стеклянные ртутные термометры
(5.8.1).
Таблица A.1
Спецификация на термометры
Характеристика | Низкий диапазон | Высокий диапазон |
Диапазон, °C | От минус 2 до 300 | От минус 2 до 400 |
Мелкие деления, °C | 1 | 1 |
Погружение, мм | Полное | Полное |
Общая длина, мм | От 381 до 391 | От 381 до 391 |
Диаметр столбика, мм | От 6 до 7 | От 6 до 7 |
Форма ртутного резервуара | Цилиндрическая | Цилиндрическая |
Длина ртутного резервуара, мм | От 10 до 15 | От 10 до 15 |
Диаметр ртутного резервуара, мм | От 5 до 6 | От 5 до 6 |
Расстояние от дна ртутного резервуара до деления при температуре, мм: | | |
0 °C | От 100 до 110 | От 25 до 45 |
300 °C | От 333 до 354 | - |
400 °C | - | От 333 до 354 |
Длинные деления на каждом, °C | 5 | 5 |
Цифровые обозначения на каждом, °C | 10 | 10 |
Максимальная погрешность шкалы, °C | От 0,5 до 300 | От 1,0 до 370 |
Максимальная ширина деления, мм | 0,23 | 0,23 |
Камера расширения | | - |
Термостойкость | |
Примечание. Вышеизложенным требованиям соответствуют термометры типов ASTM 7C/IP 5C (низкий диапазон) и ASTM 8C/IP 6C (высокий диапазон). |
<а> Для предотвращения разрушения ртутного резервуара при более высоких температурах предусмотрена камера расширения. Она не обеспечивает соединение разрыва столбика ртути. Не допускается нагревать термометр выше максимального значения температуры для термометра. |
(обязательное)
ОПРЕДЕЛЕНИЕ ВРЕМЕНИ ЗАПАЗДЫВАНИЯ ТЕМПЕРАТУРНОГО ДАТЧИКА
B.1. Время запаздывания температурного датчика
B.1.1. Общее требование
Время отклика электронного устройства для измерения температуры более короткое, чем стеклянного ртутного термометра. Комплект, состоящий из датчика и его оболочки (кожуха) и/или электронной системы и программного обеспечения, обычно проектируют таким образом, чтобы устройство искусственно воспроизводило запаздывание стеклянного ртутного термометра.
Примечание. В
Приложении E приведена информация по типичным поправкам.
B.1.2. Процедура определения
Выбирают образец, представляющий обычно анализируемые продукты, но не индивидуальное соединение, а любой продукт с узким интервалом выкипания или синтетическую смесь, состоящую менее чем из шести соединений. Убеждаются, что расхождение между 5% об. и 95% об. отгона составляет не менее 100 °C.
Примечание. Пригодны сертифицированные эталонные жидкости
(8.2.3).
B.1.2.1. По методике, описанной в настоящем стандарте, выполняют разгонку с использованием автоматического аппарата с электронным устройством измерения температуры.
B.1.2.2. Заменяют электронное устройство для измерения температуры соответствующим стеклянным ртутным термометром и повторяют разгонку, регистрируя вручную показания термометра при каждом проценте отгона соответственно продукту, как указано в
9.7.
B.1.2.3. Для каждой процедуры вычисляют расхождение значений при каждом наблюдаемом наклоне

. Это расхождение в любой точке должно быть менее или равно повторяемости метода испытаний в рассматриваемой точке.
B.1.2.4. Если расхождение больше, чем повторяемость метода испытания, настраивают электронную систему автоматического устройства измерения температуры и повторяют испытание до получения удовлетворительной согласованности результатов.
(обязательное)
ОПРЕДЕЛЕНИЕ УСТАНОВЛЕННЫХ ПОКАЗАТЕЛЕЙ РАЗГОНКИ
C.1. Установленные показатели разгонки
C.1.1. Общее требование
В спецификациях на бензин, керосин и газойль установлены конкретные значения процентов выпаривания или отгона как максимальные или минимальные значения или как диапазоны при заданных показаниях температуры. Они часто обозначены как "Exxx" или "Rxxx".
Примечание. Типичными заданными температурами являются E70, E100 и E180 - для бензинов, R200 - для керосинов и R250 и R350 - для газойлей.
C.1.2. Процедура испытаний
C.1.2.1. Вычисляют показания термометра, эквивалентные требуемым по
11.2, с учетом наблюдаемого барометрического давления.
C.1.2.2. Выполняют разгонку по
разделу 9 в диапазоне приблизительно на 10 °C ниже и 10 °C выше установленного значения температуры, вычисленного по
C.1.2.1. Регистрируют температуру с интервалами отгона не более 1% об. Наблюдают и регистрируют объем отогнанного дистиллята, ближайший к точному значению температуры.
Если разгонку проводят для определения "Rxxx", ее можно прекратить после получения объема дистиллята не менее чем на 2 мл больше для конечной температуры.
C.1.3. Вычисления
Для определения значения "Exxx" объем потерь прибавляют к наблюдаемому объему отгона при скорректированном показании температуры или вблизи него. Получают значение при точной температуре арифметическим или графическим способом, указанным в
11.6.
C.1.4. Прецизионность
Статистическое определение прецизионности установленных показателей разгонки при использовании ручного аппарата и установленных точек разгонки для автоматического аппарата, кроме указанных в
C.1.5, не выполнялось на основании "Exxx" или "Rxxx". Эти значения можно вычислить на основе того, что прецизионность эквивалентна прецизионности измерения температуры, деленной на скорость изменения измеренной температуры, деленной на объем отгона или выпаривания.
Приведенный расчет становится менее точным при высоких значениях наклона. Эту зависимость вычисляют по формулам

(C.1)

(C.2)
где

- повторяемость определения объемного процента выпаривания или отгона;
r - повторяемость определения температуры при заданной температуре, полученная по
13.2;

- воспроизводимость определения объемного процента выпаривания или отгона;
R - воспроизводимость определения температуры при заданной температуре, полученная по
13.3.
C.1.5. Воспроизводимость для некоторых топлив при использовании автоматического аппарата
По результатам межлабораторных испытаний образцов автомобильного бензина и дизельного топлива на автоматическом аппарате, проведенных в 2006 г., были получены следующие значения воспроизводимости для установленных температур и объемных процентов отгона или выпаривания.
Воспроизводимость определения объемного процента отгона дизельного топлива при установленных температурах
Для R200, R250 и R350
R = 2,7% об.,
где Rxxx - процент отгона при установленном значении температуры "xxx", °C.
Воспроизводимость определения объемного процента выпаривания бензина при установленных температурах
Для E70: R = 2,7% об.,
для E100: R = 2,2% об.,
для E150: R = 1,3% об.,
для E180: R = 1,1% об.,
где Exxx - процент выпаривания при установленном значении температуры "xxx", °C.
(справочное)
ПРИМЕРЫ ВЫЧИСЛЕНИЯ РЕЗУЛЬТАТОВ ИСПЫТАНИЯ
D.1. Общие требования
В настоящем приложении приведен пример разгонки продукта группы 1, в результате которой были получены объемные проценты отгона - 96,7% об., остатка - 0,8% об. и потерь 2,5% об. при барометрическом давлении 98,6 кПа. В таблице D.1 приведены показания термометра до и после корректировки.
Таблица D.1
Измеренные и скорректированные данные
Показатель | Измеренное значение | Скорректированное значение |
ТНК, °C | 27,1 | 27,8 |
Отгон 2% об. при температуре, °C | 32,8 | 33,5 |
Отгон 5% об. при температуре, °C | 38,7 | 39,5 |
Отгон 10% об. при температуре, °C | 48,5 | 49,3 |
Отгон 20% об. при температуре, °C | 61,9 | 62,7 |
Отгон 30% об. при температуре, °C | 75,6 | 76,4 |
Отгон 40% об. при температуре, °C | 91,4 | 92,3 |
Отгон 50% об. при температуре, °C | 104,5 | 105,4 |
Отгон 60% об. при температуре, °C | 118,7 | 119,7 |
Отгон 70% об. при температуре, °C | 131,3 | 132,3 |
Отгон 80% об. при температуре, °C | 148,8 | 149,8 |
Отгон 90% об. при температуре, °C | 164,2 | 165,3 |
Отгон 95% об. при температуре, °C | 183,5 | 184,6 |
ТКК, °C | 206,0 | 207,2 |
Отгон, % об. | 96,7 | 97,2 |
Остаток, % об. | 0,8 | 0,8 |
Потери, % об. | 2,5 | 2,0 |
D.1.1. Корректировка показания термометра
| | ИС МЕГАНОРМ: примечание. В официальном тексте документа, видимо, допущена опечатка: здесь и далее имеются в виду формулы раздела 11, а не раздела 10. | |
Каждое показание термометра корректируют по
формуле (2) в 10.2.
Поправку вычисляют по формуле

(D.1)
где t - показание термометра, °C.
D.1.2. Корректировка объема потерь
Скорректированный объем потерь вычисляют по формуле

(D.2)
D.1.3. Корректировка объема отгона
Скорректированный объем отгона согласно
формуле (4) в 10.4 вычисляют по формуле

(D.3)
D.2. Перевод процента отгона в процент выпаривания
Для преобразования значений скорректированных показаний термометра при конкретных процентах отгона в соответствующий процент выпаривания используют
формулу (6).
Пример преобразования для

с использованием значений по
таблице D.1 приведен ниже

(D.4)
где

Другие примеры
5% об. отгона (7,5% об. выпаривания при) = 39,5 °C.
5% об. выпаривания при = 34,4 °C.
20% об. отгона (22,5% об. выпаривания при) = 62,7 °C.
20% об. выпаривания при = 59,5 °C.
90% об. отгона (92,5% об. выпаривания при) = 165,3 °C.
90% об. выпаривания при = 161,4 °C.
Примечание 1. Температуру начала кипения не корректировали. Из-за потери низкокипящих веществ наклон кривой разгонки в точке начала кипения не является надежным средством для экстраполяции к 0% об. выпаривания.
Примечание 2. Если наклон кривой разгонки между двумя рассматриваемыми точками резко меняется, вышеуказанные оценки могут быть ошибочными. В таких случаях следует использовать графический способ, приведенный в
11.6, особенно для более высоких процентов отгона.
D.3. Вычисление процента выпаривания при заданных температурах
D.3.1. Вычисление
Процент выпаривания можно легко вычислить, используя арифметический и графический способ по
11.6. При вычислениях корректируют измеренные показания термометра с учетом барометрического давления и заданных температур и интерполируют.
Примеры
70,8 °C для 70 °C.
100,9 °C для 100 °C.
181,1 °C для 180 °C.
D.3.2. Прецизионность
Для вычисления показателей прецизионности для вышеуказанных трех температур сначала для каждой определяют

.
Для E70 | 0,1 | (E32,5 - E22,5) = 0,1(76,4 - 62,7) = 1,37 |
Для E100 | 0,1 | (E52,5 - E42,5) = 0,1(105,4 - 92,3) = 1,31 |
Для E180 | 0,2 | (E97,5 - E92,5) = 0,2(184,6 - 165,3) = 3,86 |
Используют значения прецизионности, приведенные в
таблице 6, для приблизительно 30%, 50% и 95% отгона и вычисляют следующим образом:
rE70 = 2,40/1,37 = 1,75% об. | RE70 = 4,37/1,37 = 4,43% об. |
rE100 = 2,37/1,31 = 1,81% об. | RE100 = 4,32/1,31 = 3,95b% об. |
rE180 = 4,55/3,86 = 1,18% об. | RE180 = 8,69/3,86 = 2,25% об. |
(справочное)
ВВЕДЕНИЕ ПОПРАВКИ НА ВЫСТУПАЮЩИЙ СТОЛБИК
E.1. При использовании электронного или другого датчика вместо стеклянного ртутного термометра без учета поправки на выступающий столбик, корректируют выходные данные датчика или объединенной системы полученных данных на эту поправку. Усредненные
формулы (E.1) и
(E.2) получены на основании данных, представленных четырьмя изготовителями автоматического оборудования.
Формулы (E.1) и
(E.2) имеют ограниченное применение и приведены только для информации. Поправка электронного датчика и объединенной системы данных на выступающий столбик также должна учитывать запаздывание во времени отклика, характерное для стеклянных ртутных термометров.
E.2. При замене термометра низкого диапазона альтернативным датчиком при температуре ниже 20 °C поправку на выступающий столбик не применяют. При температуре выше 20 °C скорректированную температуру

, °C, вычисляют по формуле

. (E.1)
E.3. При замене термометра высокого диапазона альтернативным датчиком при температуре ниже 35 °C поправку на выступающий столбик не применяют. При температуре выше 35 °C скорректированную температуру

, °C, вычисляют по формуле

(E.2)
где

- истинная температура, °C.
(справочное)
ПРИМЕРЫ ПРОТОКОЛОВ ИСПЫТАНИЯ
(справочное)
СВЕДЕНИЯ О СООТВЕТСТВИИ МЕЖГОСУДАРСТВЕННЫХ СТАНДАРТОВ
ССЫЛОЧНЫМ МЕЖДУНАРОДНЫМ СТАНДАРТАМ
Таблица ДА.1
Обозначение и наименование ссылочного международного стандарта | Степень соответствия | Обозначение и наименование соответствующего межгосударственного стандарта |
ISO 918:1983 Жидкости органические летучие технические. Определение характеристики дистилляции | - | |
ISO 3170:2004 Жидкости нефтяные. Ручной отбор проб | NEQ | |
(в ред. Изменения N 1, введенного в действие Приказом Росстандарта от 19.09.2018 N 1164-ст) |
ISO 3171:1988 Жидкости нефтяные. Автоматический отбор проб из трубопровода | NEQ | |
(в ред. Изменения N 1, введенного в действие Приказом Росстандарта от 19.09.2018 N 1164-ст) |
ISO 4259:2006 Нефтепродукты. Определение и применение показателей прецизионности методов испытаний | - | |
ISO 4788:2005 Лабораторная стеклянная посуда. Градуированные мерные цилиндры | NEQ | ГОСТ 1770-74 (ИСО 1042-83, ИСО 4788-80) Посуда мерная лабораторная стеклянная. Цилиндры, мензурки, колбы, пробирки. Общие технические условия |
<*> Соответствующий межгосударственный стандарт отсутствует. До его утверждения рекомендуется использовать перевод на русский язык данного международного стандарта. Перевод данного международного стандарта находится в национальном органе по стандартизации. |
Примечание. В настоящей таблице использовано следующее условное обозначение степени соответствия стандартов: - NEQ - неэквивалентные стандарты. |