Главная // Актуальные документы // ПереченьСПРАВКА
Источник публикации
М.: ПИО ОБТ, 2002
Примечание к документу
Документ
введен в действие с 01.10.1999.
Название документа
"РД 03-300-99. Требования к преобразователям акустической эмиссии, применяемым для контроля опасных производственных объектов"
(утв. Постановлением Госгортехнадзора России от 15.07.1999 N 53)
"РД 03-300-99. Требования к преобразователям акустической эмиссии, применяемым для контроля опасных производственных объектов"
(утв. Постановлением Госгортехнадзора России от 15.07.1999 N 53)
Госгортехнадзора России
от 15 июля 1999 г. N 53
ТРЕБОВАНИЯ
К ПРЕОБРАЗОВАТЕЛЯМ АКУСТИЧЕСКОЙ ЭМИССИИ,
ПРИМЕНЯЕМЫМ ДЛЯ КОНТРОЛЯ ОПАСНЫХ ПРОИЗВОДСТВЕННЫХ ОБЪЕКТОВ
РД 03-300-99
Требования подготовлены Самарским филиалом АООТ "Оргэнергонефть" и Российским научным центром "Курчатовский институт" при участии специалистов Госгортехнадзора России.
Редакционная комиссия: А.А. Шагалов, Н.А. Хапонен, В.А. Баранов, Ю.А. Семенов, И.П. Песоцкий, Г.М. Селезнев.
Введены в действие с 01.10.99.
Преобразователь акустической эмиссии (ПАЭ) является важнейшим элементом прибора (системы) акустико-эмиссионного (АЭ) неразрушающего контроля. ПАЭ преобразует акустический сигнал АЭ-процесса в электрический сигнал, параметры которого используются для оценки источников АЭ.
Особенностью применения ПАЭ при контроле промышленных объектов являются, как правило, относительные измерения параметров АЭ и определение характерных зависимостей параметров АЭ-сигнала от параметров нагружения.
Настоящие Требования распространяются на контактные, прямые, пьезоэлектрические ПАЭ, используемые для контроля промышленных объектов, а также при исследованиях АЭ в лабораторных условиях, и устанавливают методы определения основных параметров ПАЭ.
Требования регламентируют использование как аналитических, так и экспериментальных методов для определения параметров ПАЭ.
В основу экспериментальных методов определения параметров положена реакция ПАЭ на динамическое смещение, нормальные поверхности калибровочного блока (объекта), на который устанавливается ПАЭ.
Требования не регламентируют определение характеристик направленности ПАЭ и использование различных типов волн.
2. ОСНОВНЫЕ ПАРАМЕТРЫ И ТЕХНИЧЕСКИЕ ХАРАКТЕРИСТИКИ
ПРЕОБРАЗОВАТЕЛЕЙ АКУСТИЧЕСКОЙ ЭМИССИИ
2.1. Перечень параметров и технических характеристик ПАЭ
преобразователей акустической эмиссии
2.2.1. Коэффициент преобразования ПАЭ - s, определяемый как отношение um - максимального значения импульсной переходной характеристики ПАЭ (далее - импульсная характеристика) к u1 - максимальному значению акустического сигнала (смещению частиц поверхности стандартного блока или контролируемого объекта) эталонного источника непосредственно под ПАЭ либо вблизи него, s = um/u1.
Коэффициент преобразования ПАЭ имеет размерность (В/м), un имеет размерность (В), u1 имеет размерность (м).
2.2.2.

- число выбросов импульсной характеристики положительной полярности, превышающее уровень 0,1
um. Измеряется числом выбросов. Типичная импульсная характеристика ПАЭ с обозначением основных измеряемых параметров приведет на рис. 1. Для упрощения записи индекс

в обозначении

рекомендуется опускать и использовать обозначение
nu.
Рис. 1. Типичная импульсная характеристика ПАЭ
2.2.3. Tо - период основных колебаний импульсной характеристики. Измеряется в секундах.
2.2.4. Eu - энергия импульсной характеристики, оценивается в джоулях. Энергия рассчитывается с использованием интеграла

,
где Z - импеданс цепи, в которой определяется энергия импульсной характеристики ПАЭ;
u - мгновенное значение импульсной характеристики ПАЭ.
Основные параметры ПАЭ должны быть приведены в паспорте ПАЭ
(приложение Б).
2.3. Технические характеристики преобразователей
акустической эмиссии
К основным техническим характеристикам ПАЭ относятся:
2.3.1. Вид (конструктивный) ПАЭ:
однополюсный или дифференциальный;
резонансный, широкополосный или полосовой;
совмещенный с предусилителем (передатчиком) или не совмещенный.
2.3.2. Габаритные размеры.
2.3.3. Масса (кг).
2.3.4. Диапазон рабочих температур (°C).
2.3.5. Длина кабеля (расстояние уверенного приема при телеметрии, м).
2.3.6. Физическая емкость ПАЭ (Ф).
2.3.7. Сопротивление изоляции (Ом).
2.3.8. Амплитудно-частотная характеристика (АЧХ).
2.3.9. Требования по надежности (безотказность, долговечность, сохраняемость). Гарантийный срок (лет).
2.3.10. Требования к условиям транспортирования и хранения. Основные технические характеристики должны быть приведены в паспорте на ПАЭ
(приложение Б).
3. КЛАССИФИКАЦИЯ ПРЕОБРАЗОВАТЕЛЕЙ АКУСТИЧЕСКОЙ ЭМИССИИ
И ТРЕБОВАНИЯ К ПАРАМЕТРАМ
Преобразователи АЭ классифицируются следующим образом.
3.1. По значению коэффициента преобразования ПАЭ разделяются на четыре класса.
3.1.1. Классы преобразователей АЭ:
ПАЭ первого класса - преобразователи, имеющие чувствительность менее 50·106 В/м.
ПАЭ второго класса - преобразователи, имеющие чувствительность в диапазоне (50 - 100)·106 В/м.
ПАЭ третьего класса - преобразователи, имеющие чувствительность в диапазоне (100 - 200)·106 В/м.
ПАЭ четвертого класса - преобразователи, имеющие чувствительность, превышающую 200·106 В/м.
3.1.2. Требования к коэффициенту преобразования ПАЭ и рекомендации по применению.
ПАЭ первого класса.
К ПАЭ первого класса относятся конденсаторные преобразователи и преобразователи на основе лазерных интерферометров. Указанные преобразователи рекомендуется использовать при калибровке эталонных и рабочих ПАЭ.
ПАЭ второго класса.
К ПАЭ второго класса относятся широкополосные преобразователи, использующие пьезоэлектрический активный элемент. Рекомендуется использовать при калибровке эталонных и рабочих ПАЭ.
ПАЭ третьего класса.
К ПАЭ третьего класса относятся полосовые и резонансные преобразователи, использующие пьезоэлектрические активные элементы. Рекомендуется использовать при лабораторных исследованиях. Допускается использовать при контроле промышленных объектов малых и средних размеров, когда расстояние между ПАЭ не превышает 0,5 - 1,0 м.
ПАЭ четвертого класса.
К ПАЭ четвертого класса относятся резонансные преобразователи, использующие пьезоэлектрические активные элементы. Рекомендуется использовать при контроле промышленных объектов.
3.2. По частотному диапазону ПАЭ подразделяются на следующие типы.
3.2.1. Типы преобразователей АЭ:
низкочастотные - рабочая частота до 50 кГц;
стандартные промышленные - 50 - 200 кГц;
специальные промышленные - 200 - 500 кГц;
высокочастотные - рабочая частота свыше 500 кГц.
3.2.2. Требования к частотному диапазону преобразователей АЭ и рекомендации по применению.
При контроле производственных объектов рекомендуется использовать преимущественно резонансные ПАЭ с пьезоэлектрическими активными элементами.
Низкочастотные преобразователи. Рекомендуется использовать при контроле протяженных объектов и объектов с высоким затуханием звука.
Стандартные промышленные преобразователи. Рекомендуется использовать при контроле промышленных объектов.
Специальные промышленные преобразователи. Рекомендуется использовать при контроле промышленных объектов малых размеров (не превышающих длиной 1 м).
Высокочастотные преобразователи. Рекомендуется использовать при контроле промышленных объектов малых размеров (не превышающих длиной 1 м) и в лабораторных исследованиях.
3.3. По полосе пропускания частот ПАЭ подразделяются на три вида (связанных с видом амплитудно-частотной характеристики).
3.3.1. Виды ПАЭ:
Резонансные ПАЭ. Полоса пропускания = 0,2Fр, где Fр - рабочая частота ПАЭ.
Полосовые ПАЭ. Полоса пропускания (0,8 - 0,2)Fр, где Fр - рабочая частота ПАЭ.
Широкополосные ПАЭ. Полоса пропускания более 0,8Fр, где Fр - рабочая частота ПАЭ.
Для полосовых и широкополосных преобразователей рабочая частота соотносится с верхней - Fв и нижней - Fн частотами полосы пропускания посредством выражения
и является среднегеометрической частотой ПАЭ.
4. УСЛОВИЯ ПРОВЕДЕНИЯ ИЗМЕРЕНИЙ
Измерения параметров ПАЭ проводят при следующих условиях:
4.1. Условия окружающей среды и электрического питания:
температура окружающего воздуха (20 +/- 5) °C;
относительная влажность воздуха (65 +/- 15)%;
атмосферное давление (100 +/- 4) кПа (750 +/- 30) мм рт. ст.;
напряжение питающей сети (220 +/- 4,4) В;
частота питающей сети (50 +/- 0,5) Гц.
4.2. Уровни вибраций, внешних электрических или магнитных полей должны находиться в пределах, регламентируемых документацией на аппаратуру, используемую при измерениях.
4.3. Время прогрева аппаратуры устанавливают в соответствии с техническим описанием на аппаратуру, используемую при измерениях параметров ПАЭ.
5. МЕТОДЫ ОПРЕДЕЛЕНИЯ ОСНОВНЫХ ПАРАМЕТРОВ
ПРЕОБРАЗОВАТЕЛЕЙ АКУСТИЧЕСКОЙ ЭМИССИИ
Определение основных параметров ПАЭ основано на регистрации импульсной характеристики ПАЭ, измерении и определении ее параметров: максимального значения импульсной характеристики - um, максимального значения нормального смещения частиц поверхности объекта, на который установлен ПАЭ, - u1, числа выбросов импульсной характеристики - n над заранее установленным уровнем, например - 0,1um (либо длительности импульсной характеристики - tu). Определение совокупности амплитудно- и фазово-частотной характеристик ПАЭ производится расчетным путем с использованием Фурье-преобразования импульсной характеристики ПАЭ. Допускается определение АЧХ другими методами, согласованными с Госстандартом России.
5.1. Методы абсолютных измерений
Методы абсолютных измерений используют для определения коэффициента преобразования ПАЭ, числа выбросов импульсной характеристики (длительности импульсной характеристики), длительности периода основных колебаний импульсной характеристики.
5.1.1. Определение коэффициента преобразования методом сличения.
При использовании данного метода необходимо проводить измерение абсолютных динамических нормальных смещений поверхности калибровочного блока, возбуждаемой импульсным источником дельта-импульса либо источником ступенчатого смещения. Допускается использовать гармонический сигнал по методикам, согласованным с Госстандартом России (например, использовать МИ 1786-87).
Измерение производят с использованием акустико-электронных образцовых средств измерений (образцовых преобразователей), коэффициент акустико-электронного преобразования которых известен. В качестве образцового преобразователя (ОП) используют конденсаторный или лазерный преобразователь либо преобразователь (пьезоэлектрический, специальной конструкции), не уступающий ему по параметрам в используемом диапазоне частот. Определение коэффициента преобразования ПАЭ производят путем сличения с коэффициентом преобразования образцового преобразователя.
Образцовый преобразователь должен иметь паспорт, в котором указан его коэффициент преобразования, измеренный в специализированной испытательной лаборатории, аккредитованной Госстандартом России, либо оцененный теоретическим (расчетным) методом.
Результаты калибровки выражают в единицах физических величин В/м.
5.1.1.1. При калибровке образцовый преобразователь и калибруемый ПАЭ размещают на одну и ту же поверхность блока на одинаковом расстоянии от источника и симметрично относительно него. Возбуждают в калибровочном блоке импульс смещения. Принимают калибруемым ПАЭ и образцовым преобразователем импульсный сигнал. Коэффициент преобразования
sk определяют, используя выражение
sk = sоuk/uо,
где sо - коэффициент преобразования образцового преобразователя;
uk - максимальное значение напряжения на выходе калибруемого ПАЭ;
uо - максимальное значение напряжения на выходе образцового преобразователя.
Допускается также размещение калибруемого и образцового преобразователей на поверхности блока, противоположной той, на которой размещен излучающий преобразователь (источник). В этом случае калибровка производится с использованием объемных волн. Результаты калибровки при воздействии объемных волн являются дополнительными сведениями и не заменяют результаты калибровки с использованием волн, распространяющихся вдоль поверхности.
5.1.1.2. По схеме, описанной в
п. 5.1.1.1, калибруют эталонные ПАЭ и рабочие ПАЭ, используемые при выполнении АЭ-контроля производственных объектов, макетов (моделей) производственных объектов и при испытаниях образцов материалов.
При калибровке рабочего ПАЭ используют эталонный ПАЭ, аналогичный по виду и типу калибруемому рабочему.
5.1.2. Измерение числа выбросов импульсной характеристики.
Число выбросов импульсной характеристики определяют с использованием зарегистрированной импульсной характеристики ПАЭ на экране цифрового осциллографа путем подсчета числа выбросов положительной полярности над уровнем 0,1um.
5.1.3. Измерение длительности импульсной характеристики. Длительность импульсной характеристики tu измеряют путем измерения промежутка времени между моментами пересечения уровня, равного 0,1um, на подъеме огибающей импульсной характеристики и на ее спаде. Измерение производится на экране цифрового запоминающего осциллографа. Результат представляется в секундах.
5.1.4. Измерение длительности периода основных колебаний.
Период основных колебаний Tо измеряют путем измерения на экране осциллографа интервала времени, через который повторяются мгновенные значения импульсной характеристики в области ее максимума. Для повышения точности длительность периода вычисляют по формуле
Tо = tu/nu.
Для резонансных ПАЭ период основных колебаний связан с резонансной частотой выражением
fо = 1/Tо.
5.2. Метод относительных измерений
Метод относительных измерений используют как в лабораторных, так и в полевых условиях. Относительные измерения в лабораторных условиях проводят с использованием калибровочных блоков, а в полевых условиях - как с использованием калибровочных блоков, так и с использованием натурных объектов. Порядок измерений аналогичен порядку по
п. 5.1.1.
Допускается проводить измерения параметров ПАЭ без использования калибровочных блоков, по схеме "лицом к лицу", когда калибруемый ПАЭ и эталонный пьезоэлектрический преобразователь акустически контактируют с излучающим пьезопреобразователем рабочими поверхностями.
В качестве регистрирующей аппаратуры используют цифровой запоминающий осциллограф. Допускается использование непосредственно прибора АЭ, который должен обеспечить измерение всех необходимых параметров - максимального значения импульса, числа выбросов nu через порог (0,1um), длительности импульсной характеристики tu.
6. СХЕМЫ ПРОВЕДЕНИЯ ЭКСПЕРИМЕНТАЛЬНЫХ ИССЛЕДОВАНИЙ
6.1. Рекомендуемые схемы проведения экспериментальных исследований, использующие калибровочный блок, приведены на рис. 2 и
3. На рис. 2 представлена схема, в которой стеклянный капилляр
4 помещен между концом нагружающего устройства
6 и рабочей поверхностью калибровочного блока
1. Нагружающее устройство может быть выполнено в виде винта либо приспособления, позволяющего плавно увеличивать нагрузку в диапазоне 1 - 50 Ньютон (Н).
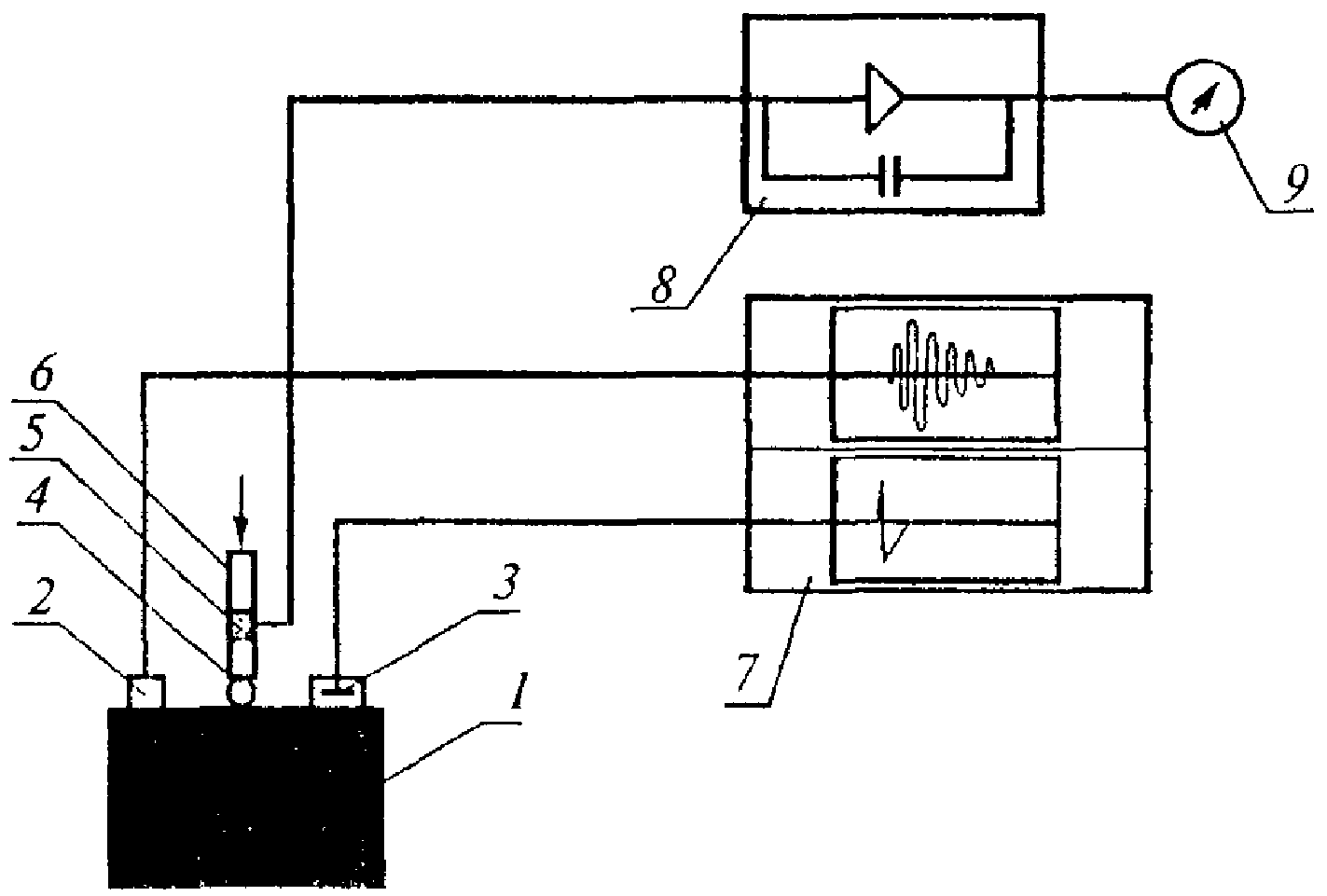
Рис. 2. Схема измерения 1:
1 - калибровочный блок; 2 - калибруемый ПАЭ; 3 - эталонный
преобразователь; 4 - капилляр; 5 - пьезопластина
для измерения усилия стержня; 6 - нагружающее устройство;
7 - цифровой осциллограф; 8 - усилитель заряда;
9 - измерительный прибор
Рис. 3. Схема измерения 2:
1 - калибровочный блок; 2 - калибруемый ПАЭ; 3 - эталонный
преобразователь; 4 - капилляр; 5 - пьезопластина
для измерения усилия стержня; 6 - нагружающее устройство;
7 - цифровой осциллограф; 8 - усилитель заряда;
9 - измерительный прибор
При изломе капилляра механическое возмущение в виде ступенчатой функции распространяется по поверхности блока. Время подъема функции не превышает 0,1 мкс. Величина силы измеряется с использованием пьезоэлемента 5, размещенного в нагружающем винте и предварительно откалиброванного. Измерение силы производится с использованием усилителя заряда 8, соединенного с измерительным прибором 9.
Образцовый преобразователь (конденсаторный, лазерный либо откалиброванный пьезоэлектрический) и калибруемый ПАЭ размещают симметрично относительно источника сигнала и на одинаковом расстоянии от него - 50 - 100 мм.
Электрические сигналы, поступающие от двух преобразователей, подаются на цифровой запоминающий двухканальный осциллограф и регистрируются им, после чего производят сравнение характеристик преобразователей и определение параметров калибруемого ПАЭ.
6.2. Схемы проведения измерений с участием эталонного и рабочего вместо калибровочного блока контролируемого объекта аналогичны схемам, приведенным на
рис. 2 и
3.
7. ТРЕБОВАНИЯ К ОСНОВНОМУ КАЛИБРОВОЧНОМУ БЛОКУ
Основной калибровочный блок должен быть изготовлен, как правило, из материала, соответствующего материалу контролируемого объекта либо близкого ему по акустическим свойствам. Блок не должен содержать дефектов, амплитуда эхо-сигнала от которых превышает 5% амплитуды донного сигнала при контроле стандартным ультразвуковым дефектоскопом на частоте 2,0 МГц +/- 0,5 МГц.
В случае если материал объекта контроля заранее неизвестен, в качестве материала блока может быть использована малолегированная конструкционная сталь типа Ст3.
Чистота поверхности блока должна быть не хуже Rz40. Блок должен быть изготовлен в виде параллелепипеда с плоскопараллельными рабочей и донной поверхностями. Рекомендуемые размеры блока 500 x 500 x 250 мм для ПАЭ, работающих в диапазоне частот выше 100 кГц.
Для калибровки ПАЭ с рабочей частотой менее 100 кГц может быть использован дополнительный блок, размеры которого должны быть увеличены таким образом, чтобы свести к минимуму влияние на измерение многократных отражений испытательного сигнала. Допускается применение калибровочных блоков других видов и размеров при обосновании возможности получения всех регламентируемых настоящим документом значений параметров и технических характеристик калибруемых ПАЭ.
Как основной, так и дополнительный калибровочный блок должен отвечать следующим требованиям:
первый отраженный от какой-либо из поверхностей блока импульс не должен поступать ранее того момента, когда огибающая импульсной характеристики достигнет уровня 0,1um;
либо амплитуда реверберации (максимальное значение многократных отражений) не должна превышать 0,1um.
Затухание ультразвука в материале блока должно быть не более 8 - 10 дБ/м либо таково, чтобы оператор мог наблюдать не менее 10 донных сигналов на частоте 2,0 МГц +/- 0,5 МГц. Допускается применение специальных блоков с пониженным отражением от нерабочих поверхностей.
8. ИСТОЧНИКИ ВОЗБУЖДЕНИЯ АКУСТИЧЕСКОГО СИГНАЛА
В качестве генератора упругих колебаний, вырабатывающего испытательный сигнал, следует использовать любой возбудитель механических импульсов, длительность которых не превышает 0,1 мкс, с уровнем вторичных колебаний, не превышающих 0,1umg, где umg - амплитуда импульса генератора либо ступенчатых импульсов с длительностью переднего фронта, не превышающей 0,1 мкс.
Источником возбуждения акустического сигнала в виде ступенчатой функции (функции Хэвисайда) может служить излом стеклянной капиллярной трубочки, изготовленной из боросиликатного стекла. Рекомендуется выбирать внешний диаметр трубочки в диапазоне 0,1 - 0,3 мм. Диаметр внутреннего канала должен быть равен примерно толщине стенки. Необходимо, чтобы сила, при которой происходит излом трубочки, находилась в диапазоне 1 - 20 Н.
В качестве источника сигнала используют также излом графитового стержня цангового карандаша (источник Су-Нильсена). При этом рекомендуется обеспечить оценку силы, при которой происходит излом стержня. Диаметр стержня выбирают в диапазоне 0,2 - 0,5 мм, твердость ТМ - 2Т (HB - 2H). В качестве материала стержня может быть использовано стекло при условии, что сила, при которой происходит излом стержня, лежит в диапазоне 1 - 20 Н.
Рекомендуется в том месте блока, где производится излом капилляра (стержня карандаша), приклеить салолом или цианакриловым клеем кусочек предметного стекла микроскопа для предохранения поверхности блока от повреждений. Размеры этого стекла должны составлять 0,08 x 1,5 x 1,5 мм.
Рекомендуется нагрузку от нагружающего стержня передавать на капилляр через стеклянный стержень диаметром 2 - 3 мм, расположенный горизонтально, ось которого перпендикулярна оси капилляра. Нагружающий винт должен содержать измерительный пьезоэлемент, который калибруется с использованием грузов.
В качестве источника акустического сигнала используют также широкополосный пьезоэлектрический преобразователь, применяемый в ультразвуковом контроле, в частности пьезопреобразователь с пьезоэлементом переменной толщины и (или) диаметра. В этом случае преобразователь возбуждается электрическим импульсом длительностью не более 0,1 мкс, вырабатываемым импульсным генератором.
9. РЕКОМЕНДАЦИИ ПО УСТАНОВКЕ ПРЕОБРАЗОВАТЕЛЕЙ АКУСТИЧЕСКОЙ
ЭМИССИИ НА КАЛИБРОВОЧНЫЙ БЛОК И КОНТРОЛИРУЕМЫЙ ОБЪЕКТ
9.1. Акустический контакт при использовании контактных ПАЭ обеспечивает передачу акустических волн из объекта в ПАЭ. Для обеспечения акустического контакта применяют соответствующие акустически прозрачные контактные среды.
При использовании жидкости контакт обеспечивается прижатием ПАЭ к объекту силовой нагрузкой. В качестве контактной среды используют воду, силиконовую смазку или любую другую жидкость, обеспечивающую передачу акустических волн и малое их затухание (не превышающее 6 дБ). Прижатие обеспечивается пружиной, дополнительным весом или магнитом. Следует избегать создания чрезмерного или слишком малого давления. Оптимальная величина силы прижатия составляет 1 - 20 Н.
9.2. Твердотельный контакт реализуется с использованием клея, обеспечивающего передачу акустических волн с низким их затуханием.
9.3. В качестве акустической связи в ряде случаев используют волноводы, представляющие собой механические соединительные детали (как правило, стержни, провода, полосы соответствующей формы), акустически связанные с объектом (сваркой, контактной средой или другим способом). В случае использования при контроле объектов волновода калибровку ПАЭ рекомендуют проводить вместе с волноводом.
9.4. При установке ПАЭ и обеспечении акустического контакта рекомендуется:
9.4.1. Производить выбор вида акустического контакта исходя из условий: температуры, доступности, химической совместимости с объектом, стабильности во времени, радиационной нагрузки, акустического согласования.
9.4.2. Подготавливать место установки ПАЭ так, чтобы избежать нарушения акустического контакта. Необходимо обеспечить шероховатость поверхности не хуже Rz40, учитывать кривизну поверхности.
9.4.3. Выбирать такую контактную среду, которая может обеспечить минимальные потери при передаче волн из объекта в ПАЭ. Должны быть учтены толщина и однородность покрытия объекта.
9.5. Установка и фиксация ПАЭ.
9.5.1. Эффективность контакта и установки ПАЭ на объект проверяют с использованием соответствующих средств (отклик на имитационный источник - ультразвуковой излучатель, источник Су-Нильсена).
9.5.2. Допускается применение волноводов в случаях, когда условия, в которых находится контролируемый объект, не позволяют размещать ПАЭ. Вносимое волноводом затухание должно быть сведено к минимуму путем выбора формы, длины, материала и метода присоединения волновода.
9.6. Следует обеспечить стабильность контакта с учетом влияния окружающей среды, механическую стабильность крепления. При необходимости следует обеспечить электрическую изоляцию между преобразователем и поверхностью контролируемого объекта.
Необходимо исключить применение контактной среды, вызывающей коррозию объекта контроля или ПАЭ (особенно при длительном контакте).
Должна быть исключена механическая нагрузка на установленный на контролируемый объект ПАЭ и соединительный кабель.
9.7. Проверка ПАЭ на объекте.
После установки ПАЭ на контролируемый объект и подсоединения к системе контроля проверяют его работоспособность, включая предусилитель, кабель, фильтр, основной усилитель. Определение коэффициента преобразования ПАЭ проводят в соответствии с
п. 5.2.
9.8. В отчетные материалы при проведении АЭ-контроля в части установки и проверки ПАЭ на объекте рекомендуется включить следующие данные:
9.8.1. Тип контактной среды.
9.8.2. Метод крепления ПАЭ (механический, магнитный и т.д.).
9.8.3. Метод подготовки и чистоту контактной поверхности.
9.8.4. Потери при прохождении сигналов через покрытия объекта, неровности поверхности и т.д.
9.8.5. При использовании волноводов их материал, геометрию и вносимые изменения параметров сигнала.
10. ПОРЯДОК ПРОВЕДЕНИЯ КАЛИБРОВКИ
ПРЕОБРАЗОВАТЕЛЕЙ АКУСТИЧЕСКОЙ ЭМИССИИ
10.1. Определение коэффициента электроакустического преобразования эталонного ПАЭ путем измерения амплитуды динамического смещения поверхности твердого тела и амплитуды импульсной характеристики производят органы (лаборатории), имеющие лицензию Госгортехнадзора России, с использованием образцовых средств измерений. Используются методы по
пп. 5.1 и
5.2.
10.2. Калибровку рабочих ПАЭ производят организации, имеющие лицензию Госгортехнадзора России, с использованием эталонных ПАЭ, откалиброванных в соответствии с
п. 10.1.
10.3. Определение основных параметров рабочих ПАЭ осуществляют владельцы ПАЭ с использованием метода относительных измерений
(п. 5.2) и эталонных ПАЭ, откалиброванных в соответствии с
п. 10.1.
10.4. Калибровку эталонных ПАЭ проводят один раз в год. Определение основных параметров рабочих ПАЭ проводят перед каждым контролем, но не реже одного раза в год.
Результаты калибровки ПАЭ оформляются в форме сертификата калибровки.
Обязательное
ПЕРЕЧЕНЬ ПАРАМЕТРОВ И ТЕХНИЧЕСКИХ ХАРАКТЕРИСТИК
ПРЕОБРАЗОВАТЕЛЕЙ АКУСТИЧЕСКОЙ ЭМИССИИ
1. Основные параметры ПАЭ
(приводимые изготовителем в паспорте ПАЭ)
1.1. Коэффициент преобразования s.
1.2. Число выбросов n в импульсной характеристике на уровне 10% от um.
1.3. Длительность периода основных колебаний Tо.
1.4. Энергия импульсной характеристики -

.
2. Общие параметры ПАЭ
2.1. Энергетические параметры импульсной характеристики (используются в ряде случаев вместо энергии, рассчитываемой по точной формуле
п. 1.4 приложения А).
2.1.1. Относительная энергия импульсной характеристики

.
2.1.2. Характеристическая энергия импульсной характеристики E = u2k, где k = e2/8b, здесь e - основание натуральных логарифмов, b - затухание импульсной характеристики ПАЭ.
2.1.3. Энергетический параметр, используемый в стандартах ASTM:

,
где

- огибающая импульсной характеристики.
2.1.4. Амплитудно-счетная энергия

.
2.2. Период собственных колебаний - Tо. Для повышения точности вычисляют по формуле
Tо = tu/nu,
для резонансных ПАЭ период собственных колебаний однозначно связан с резонансной частотой.
2.3. Резонансная частота (*): Fо = 1/Tо.
2.4. Добротность ПАЭ (*): Q = 1,37nu.
2.5. Полоса рабочих частот (*):

.
2.6. Электрический импеданс ПАЭ:

, где
f =
Fо для резонансных ПАЭ,
f = (
Fmax +
Fmin)/2 для полосового или широкополосного ПАЭ, где
Fmax,
Fmin - максимальная и минимальная частоты полосы пропускания ПАЭ.
2.7. Время нарастания импульсной характеристики (*): tн.
2.8. Время спада импульсной характеристики (*): tс.
2.9. Коэффициент затухания импульсной характеристики (*):

.
2.10. Среднеквадратичное значение собственных тепловых шумов на резонансной частоте в полосе частот

.
2.11. Среднеквадратичное значение собственных тепловых шумов в рабочей полосе частот.
Примечание. (*) - для резонансных ПАЭ.
3. Основные технические характеристики ПАЭ
(приводимые изготовителем в паспорте на ПАЭ)
3.1. Вид преобразователя (конструктивный): однополюсный или дифференциальный; резонансный, широкополосный или полосовой; совмещенный с предусилителем (передатчиком) или не совмещенный.
3.2. Амплитудно-частотная характеристика.
3.3. Масса.
3.4. Диапазон рабочих температур.
3.5. Длина кабеля, если кабель жестко связан с ПАЭ.
3.6. Физическая емкость ПАЭ.
3.7. Сопротивление изоляции.
3.8. Габаритные размеры.
4. Общие технические характеристики ПАЭ
4.1. Вид и размеры пьезоэлектрического элемента.
4.2. Материал защитной пластины и корпуса.
4.3. Защита от внешней окружающей среды, защита от вибраций, ударов в соответствии со стандартами. Взрыво- и пожарозащищенность.
4.4. Помехозащищенность.
4.5. Условия крепления к объекту.
4.6. Диаграмма направленности ПАЭ.
Обязательное
СОДЕРЖАНИЕ ПАСПОРТА ПРЕОБРАЗОВАТЕЛЯ
АКУСТИЧЕСКОЙ ЭМИССИИ (ПАЭ)
Паспорт ПАЭ должен включать следующие сведения:
обозначение модели;
серийный номер;
дату приемки;
наименование изготовителя;
вид преобразователя (конструктивный);
коэффициент преобразования преобразователя;
рабочую частоту преобразователя (для полосовых и широкополосных - центральная частота);
число выбросов импульсной характеристики nu;
период основных колебаний Tо (резонансная частота Fо);
энергию импульсной характеристики Eu;
амплитудно-частотную характеристику;
сведения о методе определения параметров;
размеры;
массу;
температурный диапазон;
условия крепления к объекту;
дату изготовления;
фамилию и подпись приемщика.
Дополнительные сведения (по требованию потребителя):
уровень собственных тепловых шумов ПАЭ;
вид и размеры чувствительного элемента;
материал защитной пластины и корпуса;
рекомендуемая контактная среда;
тип электрического разъема и кабель;
физическая емкость;
сопротивление изоляции.
Справочное
ПЕРЕЧЕНЬ ТИПОВ ИЗМЕРИТЕЛЬНОЙ АППАРАТУРЫ, ИСПОЛЬЗУЕМЫХ
ПРИ ОПРЕДЕЛЕНИИ ОСНОВНЫХ ПАРАМЕТРОВ ПАЭ
1. Генератор импульсов (типа Г5-54).
2. Генератор видеоимпульсов. В качестве генератора видеоимпульсов рекомендуется использовать импульсный дефектоскоп (например, типа УД2-12).
3. Цифровой осциллограф (типа С8-8).
4. Частотомер электронно-счетный (типа Ч3-35А).
5. Графопостроитель (типа Н-306).
6. Персональный компьютер с пакетом программ, обеспечивающим выполнение Фурье-преобразования.
7. Измеритель емкостей.
8. ПФАП - преобразователь-формирователь акустического поля (по МИ 1786-87).
Могут быть использованы приборы и средства измерении, не уступающие указанным по своим параметрам.
Справочное
НОРМАТИВНЫЕ ССЫЛКИ
В настоящем документе использованы ссылки на следующие нормативно-технические издания:
| | ИС МЕГАНОРМ: примечание. ГОСТ 23702-90 утратил силу на территории Российской Федерации с 01.07.2015 в связи с введением в действие ГОСТ Р 55808-2013 (Приказ Росстандарта от 22.11.2013 N 1692-ст). | |
1. ГОСТ 23702-90. Контроль неразрушающий. Преобразователи ультразвуковые. Методы испытаний.
2. ГОСТ 8.256-77. Нормирование и определение динамических характеристик аналоговых средств измерений.
3. ГОСТ 23222-88. Нормируемые метрологические и точностные характеристики.
| | ИС МЕГАНОРМ: примечание. В официальном тексте документа, видимо, допущена опечатка: ГОСТ 8.057-80 имеет название "Государственная система обеспечения единства измерений. Эталоны единиц физических величин. Основные положения". | |
| | ИС МЕГАНОРМ: примечание. В официальном тексте документа, видимо, допущена опечатка: ГОСТ 8.061-80 имеет название "Государственная система обеспечения единства измерений. Поверочные схемы. Содержание и построение". | |
| | ИС МЕГАНОРМ: примечание. В официальном тексте документа, видимо, допущена опечатка: ГОСТ 8.513-84 имеет название "Поверка средств измерений. Организация и порядок проведения". | |
9.
ГОСТ 8.395-80. Нормальные условия измерений при поверке. Общие требования.
10. ГОСТ 27655-88. Акустическая эмиссия. Термины, определения и обозначения.
11. ГОСТ 16465-70. Сигналы радиотехнические измерительные. Термины и определения.
12. Методические указания "ГСИ. Основные параметры приемных преобразователей акустической эмиссии. Методика выполнения измерений". МИ 1786-87.
13. Рекомендация "ГСИ. Государственная поверочная схема для средств измерений. Амплитуды ультразвукового смещения, колебательной скорости частиц поверхности твердого тела и коэффициентов электроакустического преобразования в диапазоне частот 0,001 - 50 МГц".
МИ 2030-89.
14. E 1106-86. Standard Method for PRIMERY CALIBRATION OF ACOUSTIC EMISSION SENSORS. ASTM.
15. E 976-84. Standard Guide for DETERMING THE REPRODUCIBILITY OF ACOUSTIC EMISSION SENSOR RESPONSE. ASTM.
16. E 650-85. Standard Guide for MOUNTING PIEZOELECTRIC ACOUSTIC EMISSION SENSORS. ASTM.
17. NFA 09-354 (85). Emission acoustique. Designation des capteurs piezoelectriques et caracteristiques techniques a fournier per le constructeor (AFNOR).
18. NFA 09-355 (85). Emission acoustique. Couplege des capteurs piezoelectriques (AFNOR).
19. EWGAE codes for Acoustic Emission: Code Y - Recommended Practice for Specification, Coupling and Verification of the Piezoelectric Trancducers Used in Acoustic Emission.
Справочное
ТЕРМИНЫ И ОПРЕДЕЛЕНИЯ
В настоящем документе применяются термины и определения, приведенные в таблице.
N п/п | Термин, условное обозначение | Определение |
1 | 2 | 3 |
1 | Преобразователь акустической эмиссии (ПАЭ) по ГОСТ 27655-88 | Устройство, в котором механический сигнал акустической эмиссии преобразуется в электрический сигнал. Примечание. В состав ПАЭ могут входить активный элемент, преобразующий акустический сигнал в электрический, конструктивные элементы, волновод, предусилитель, электронные схемы согласования |
2 | Импульсная характеристика u | Электрический сигнал на выходе ПАЭ, являющийся реакцией на воздействие акустического кратковременного импульса в виде дельта-функции |
3 | Коэффициент преобразования s | Отношение максимального значения электрического напряжения на выходе ПАЭ к максимальному значению смещения частиц среды на рабочей поверхности ПАЭ |
4 | Частотная характеристика (АЧХ, ФЧХ) | Фурье-преобразование импульсной характеристики ПАЭ |
5 | Технические характеристики | Технические данные, описывающие свойства ПАЭ, обеспечивающие выполнение их предназначения |
6 | Технические параметры | Технические данные в виде номинальных значений |
7 | Калибровка ПАЭ | Установление пригодности ПАЭ к применению и определение его основных параметров |
8 | Энергия импульсной характеристики | Энергия вычисляется с использованием выражения  , где Z - импеданс цепи, в которой определяется энергия, u - мгновенное значение импульсной характеристики |