




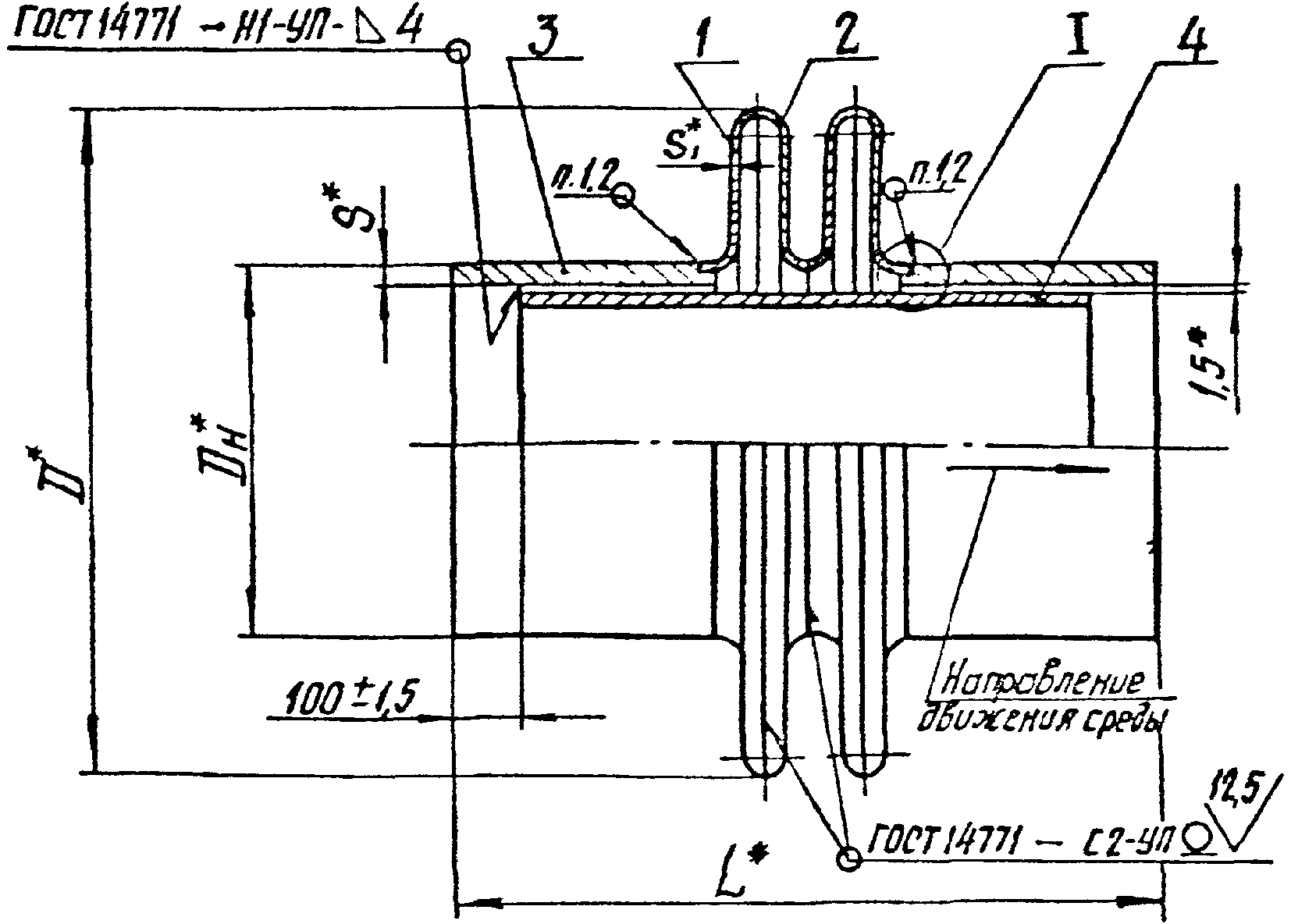
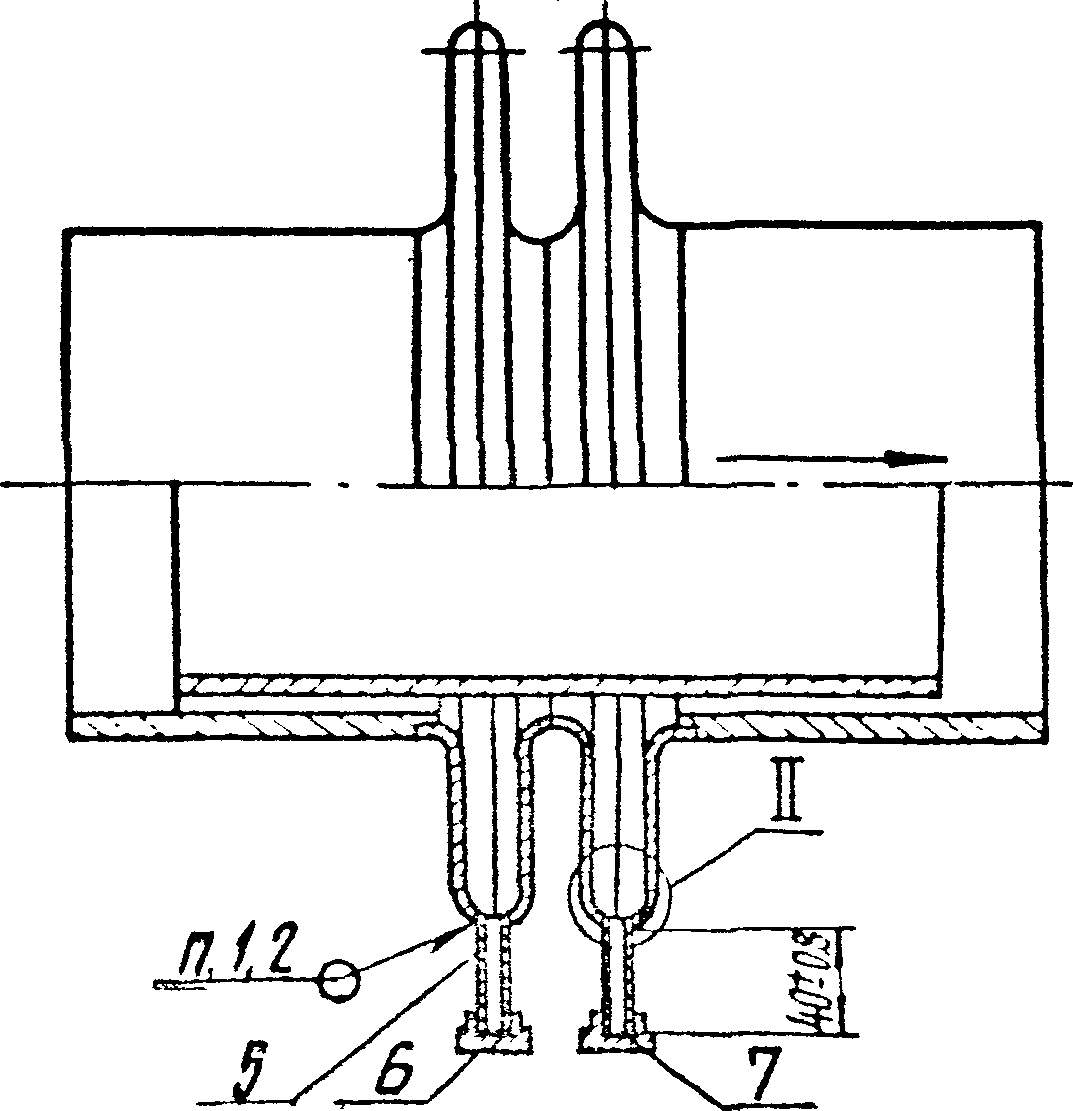
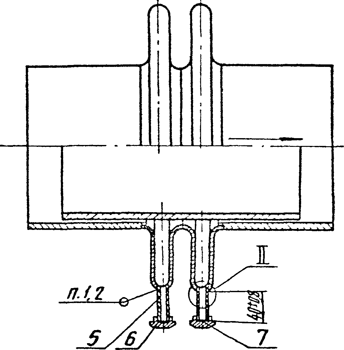
Обозначение компенсатора | Давление условное Pу, МПа (кгс/см2) | Проход условный, Dу | Dн | D | L | S | S1 | Техническая характеристика | Масса, кг | |||
Компенсирующая способность, | Жесткость линзы на сжатие, кН/см | Эффективная площадь, м2 | Исполнение 1 | Исполнение 2 | ||||||||
01 ОСТ 34-10-570 | 0,6 (6) | 100 | 108 | 259 | 428 | 4 | 2,5 | 10 | 12,85 | 0,025 | 7,9 | 8,1 |
02 | 125 | 133 | 284 | 14,60 | 0,033 | 9,9 | 10,0 | |||||
03 | 150 | 159 | 309 | 5 | 16,45 | 0,041 | 12,2 | 12,4 | ||||
04 | 200 | 219 | 369 | 7 | 20,70 | 0,065 | 18,5 | 18,8 | ||||
05 | 250 | 273 | 422 | 8 | 11 | 24,60 | 0,091 | 25,2 | 25,3 | |||
06 | 300 | 325 | 473 | 28,40 | 0,121 | 29,9 | 30,0 | |||||
07 | 350 | 377 | 525 | 9 | 32,15 | 0,155 | 38,6 | 38,7 | ||||
08 | 400 | 426 | 575 | 35,70 | 0,193 | 44,9 | 45,1 | |||||
09 | 450 | 478 | 627 | 7 | 39,50 | 0,235 | 43,5 | 43,6 | ||||
10 | 500 | 530 | 679 | 8 | 43,30 | 0,282 | 51,6 | 51,7 | ||||
11 | 600 | 630 | 779 | 50,60 | 0,385 | 62,2 | 62,4 | |||||
12 | 700 | 720 | 869 | 57,10 | 0,490 | 70,5 | 70,7 | |||||
13 | 800 | 820 | 967 | 9 | 64,40 | 0,623 | 86,1 | 86,3 | ||||
14 | 900 | 920 | 1067 | 10 | 71,70 | 0,771 | 103,3 | 103,5 | ||||
15 ОСТ 34-10-570 | 1000 | 1020 | 1167 | 528 | 79,00 | 0,934 | 145,4 | 145,6 | ||||
16 ОСТ 34-10-570 | 1200 | 1220 | 1368 | 11 | 3 | 165,00 | 1,308 | 191,4 | 191,6 | |||
17 | 1400 | 1420 | 1568 | 14 | 190,00 | 1,745 | 262,0 | 262,1 | ||||
18 | 1600 | 1620 | 1768 | 628 | 216,00 | 2,240 | 365,8 | 366,0 | ||||
19 | 1800 | 1820 | 1968 | 10 | 241,70 | 2,800 | 319,6 | 319,7 | ||||
20 | 2000 | 2040 | 2188 | 269,90 | 3,490 | 358,6 | 358,7 | |||||
21 | 2200 | 2240 | 2388 | 12 | 295,40 | 4,190 | 449,4 | 449,5 | ||||
22 | 1,0 (10) | 100 | 108 | 260 | 428 | 4 | 8,0 | 22,55 | 0,025 | 8,8 | 8,9 | |
23 | 125 | 133 | 285 | 25,65 | 0,033 | 10,7 | 10,9 | |||||
24 | 150 | 159 | 310 | 5 | 28,90 | 0,041 | 13,4 | 13,6 | ||||
25 | 200 | 219 | 370 | 7 | 36,40 | 0,065 | 20,2 | 20,4 | ||||
26 | 250 | 273 | 423 | 8 | 43,25 | 0,091 | 27,0 | 27,2 | ||||
27 | 300 | 325 | 474 | 49,90 | 0,121 | 31,7 | 31,9 | |||||
28 | 350 | 377 | 526 | 9 | 56,50 | 0,155 | 41,6 | 41,9 | ||||
29 | 400 | 426 | 576 | 62,70 | 0,193 | 46,6 | 46,7 | |||||
30 ОСТ 34-10-570 | 450 | 478 | 628 | 7 | 69,40 | 0,235 | 45,5 | 45,7 | ||||
31 ОСТ 34-10-570 | 500 | 530 | 680 | 8 | 76,00 | 0,282 | 55,2 | 55,4 | ||||
32 | 600 | 630 | 780 | 88,90 | 0,385 | 64,4 | 64,6 | |||||
33 | 1,0 (10) 1,6 (16) | 700 | 720 | 872 | 4 | 246,00 | 0,490 | 81,6 | 81,8 | |||
34 | 800 | 820 | 970 | 9 | 278,00 | 0,623 | 98,9 | 99,1 | ||||
35 | 900 | 920 | 1070 | 10 | 309,00 | 0,771 | 117,3 | 117,5 | ||||
36 | 1000 | 1020 | 1170 | 528 | 341,00 | 0,934 | 160,6 | 160,8 | ||||
37 | 1200 | 1220 | 1370 | 11 | 404,00 | 1,308 | 207,0 | 207,2 | ||||
38 | 1400 | 1420 | 1570 | 14 | 467,00 | 1,745 | 275,6 | 275,8 | ||||
39 | 1,6 (16) | 100 | 108 | 262 | 428 | 4 | 6 | 55,20 | 0,025 | 10,4 | 10,5 | |
40 | 125 | 133 | 287 | 62,75 | 0,033 | 12,5 | 12,7 | |||||
41 | 150 | 159 | 312 | 5 | 70,70 | 0,041 | 15,6 | 15,8 | ||||
42 | 200 | 219 | 372 | 7 | 89,20 | 0,065 | 22,9 | 23,0 | ||||
43 | 250 | 273 | 426 | 8 | 106,00 | 0,091 | 30,0 | 31,2 | ||||
44 | 300 | 325 | 476 | 122,20 | 0,121 | 35,1 | 35,2 | |||||
45 ОСТ 34-10-570 | 350 | 377 | 528 | 9 | 138,45 | 0,155 | 45,6 | 45,8 | ||||
46 ОСТ 34-10-570 | 400 | 426 | 578 | 7 | 154,00 | 0,193 | 52,5 | 52,7 | ||||
47 | 450 | 478 | 630 | 7 | 170,00 | 0,235 | 52,7 | 52,9 | ||||
48 | 500 | 530 | 682 | 8 | 186,00 | 0,282 | 61,2 | 61,4 | ||||
49 ОСТ 34-10-570 | 600 | 630 | 782 | 218,00 | 0,385 | 72,0 | 72,4 | |||||