Главная // Актуальные документы // ОДМ (Отраслевой дорожный методический документ)СПРАВКА
Источник публикации
М., 2019
Примечание к документу
Текст документа приведен в соответствии с публикацией на сайте http://rosavtodor.ru по состоянию на 17.01.2020.
Документ рекомендован к применению в части, не противоречащей требованиям технического
регламента Таможенного союза "Безопасность автомобильных дорог" (ТР ТС 014/2011) и действующим национальным стандартам Российской Федерации,
Распоряжением Росавтодора от 06.09.2018 N 3356-р (ред. от 07.06.2023).
Название документа
"ОДМ 218.3.099-2017. Отраслевой дорожный методический документ. Рекомендации по капитальному ремонту водопропускных труб методом гильзования металлическими гофрированными спиральновитыми трубами"
(издан на основании Распоряжения Росавтодора от 06.09.2018 N 3356-р)
"ОДМ 218.3.099-2017. Отраслевой дорожный методический документ. Рекомендации по капитальному ремонту водопропускных труб методом гильзования металлическими гофрированными спиральновитыми трубами"
(издан на основании Распоряжения Росавтодора от 06.09.2018 N 3356-р)
дорожного агентства
от 6 сентября 2018 г. N 3356-р
ОТРАСЛЕВОЙ ДОРОЖНЫЙ МЕТОДИЧЕСКИЙ ДОКУМЕНТ
РЕКОМЕНДАЦИИ
ПО КАПИТАЛЬНОМУ РЕМОНТУ ВОДОПРОПУСКНЫХ ТРУБ
МЕТОДОМ ГИЛЬЗОВАНИЯ МЕТАЛЛИЧЕСКИМИ ГОФРИРОВАННЫМИ
СПИРАЛЬНОВИТЫМИ ТРУБАМИ
ОДМ 218.3.099-2017
1 РАЗРАБОТАН Обществом с ограниченной ответственностью "ТУБОРУС" группы компаний "ТОЧИНВЕСТ" (ООО "ТУБОРУС").
2 ВНЕСЕН Управлением научно-технических исследований и информационного обеспечения Федерального дорожного агентства.
3 ИЗДАН на основании
распоряжения Федерального дорожного агентства от 06.09.2018 N 3356-р.
4 ИМЕЕТ РЕКОМЕНДАТЕЛЬНЫЙ ХАРАКТЕР.
5 ВВЕДЕН ВПЕРВЫЕ.
1.1 Настоящий отраслевой дорожный методический документ (далее - методический документ) распространяется на водопропускные трубы автомобильных дорог и содержит рекомендации по капитальному ремонту труб методом гильзования с использованием металлических гофрированных спиральновитых труб.
1.2 Данный методический документ содержит рекомендации по производству и контролю работ, а также применяемым материалам.
В настоящем методическом документе использованы нормативные ссылки на следующие документы:
Технический
регламент Таможенного союза "Безопасность автомобильных дорог" (ТР ТС 014/2011)
ГОСТ 12.4.011-89 Система стандартов безопасности труда. Средства защиты работающих. Общие требования и классификация
ГОСТ 8267-93 Щебень и гравий из плотных горных пород для строительных работ. Технические условия
ГОСТ 8269.0-97 Щебень и гравий из плотных горных пород и отходов промышленного производства для строительных работ. Методы физико-механических испытаний
ГОСТ 8269.1-97 Щебень и гравий из плотных горных пород и отходов промышленного производства для строительных работ. Методы химического анализа
| | ИС МЕГАНОРМ: примечание. В официальном тексте документа, видимо, допущена опечатка: ГОСТ 10060-2012 имеет название "Бетоны. Методы определения морозостойкости". | |
ГОСТ 10060-2012 Бетоны. Методы определения морозостойкости. Общие требования
ГОСТ 10180-2012 Бетоны. Методы определения прочности по контрольным образцам
| | ИС МЕГАНОРМ: примечание. В официальном тексте документа, видимо, допущена опечатка: ГОСТ 12730.1-78 имеет название "Бетоны. Методы определения плотности". | |
ГОСТ 17623-87 Бетоны. Радиоизотопный метод определения средней плотности
ГОСТ 22690-2015 Бетоны. Определение прочности механическими методами неразрушающего контроля
ГОСТ 23732-2011 Вода для бетонов и строительных растворов. Технические условия
ГОСТ 24211-2008 Добавки для бетонов и строительных растворов. Общие технические условия
ГОСТ 30108-94 Материалы и изделия строительные. Определение удельной эффективной активности естественных радионуклидов
ГОСТ 32755-2014 Дороги автомобильные общего пользования. Требования к проведению приемки в эксплуатацию выполненных работ
ГОСТ 32756-2014 Дороги автомобильные общего пользования. Требования к проведению промежуточной приемки выполненных работ
ГОСТ 32867-2014 Дороги автомобильные общего пользования. Организация строительства. Общие требования
ГОСТ 34180-2017 Прокат стальной тонколистовой холоднокатаный и холоднокатаный горячеоцинкованный с полимерным покрытием с непрерывных линий. Технические условия
EN 10025-1:2005 Горячекатанные изделия из нелегированных конструкционных сталей. Часть 1. Основные технические условия поставки
EN 10169-2012 Прокат стальной плоский с непрерывными органическими покрытиями. Технические условия поставки
СП 48.13330.2011 Организация строительства (актуализированная редакция СНиП 12-01-2004)
В настоящем методическом документе применены следующие термины с соответствующими определениями:
3.1 капитальный ремонт: Ремонт сооружения с возможной заменой конструктивных элементов для устранения физического износа, поддержания и улучшения эксплуатационных свойств без изменения функционального назначения и основных параметров.
3.2 гильзование: Восстановление несущей способности дефектной трубы путем установки внутри нее дополнительной трубы максимально возможного диаметра и заполнения образовавшихся пустот между трубами бетонной смесью.
3.3 спиральновитая металлическая гофрированная труба (СВМГТ): Труба определенной длины и размера отверстия, собранная из отдельных секций СВМГТ, скрепленных между собой бандажным соединением.
3.4 секция спиральновитой металлической гофрированной трубы: Изделие из оцинкованной или покрытой полимером листовой стали расчетной толщины, изготовленное методом гофрирования и спиральной навивки.
3.5 бандажное соединение: Соединение секций спиральновитой металлической гофрированной трубы путем стягивания при помощи болтового или шпилечного соединения концов одного или двух сформированных по форме трубы гофрированных или гладких листов (по принципу хомута).
3.6 прочностные характеристики спиральновитой металлической гофрированной трубы: Физико-механические показатели, характеризующие способность трубы при допустимых деформациях выдерживать постоянные и временные проектные нагрузки в течение периода эксплуатации.
3.7 несущая способность: Характеристика трубы, определяемая максимальным действием постоянных нагрузок и неблагоприятных сочетаний временных нагрузок, воздействие которых является безопасным для ее элементов при расчете по первому предельному состоянию.
3.8 гидравлические характеристики водопропускной трубы: Геометрические показатели, характеризующие способность водопропускной трубы обеспечивать пропускание водных потоков с проектной производительностью.
3.9 элементы конструкции бетонной и железобетонной водопропускных труб: Звено, оголовок, фундамент (если он предусмотрен), гидроизоляция, лоток.
3.10 технологическая карта: Технологический документ, содержащий описание операций технологического процесса, применяемого оборудования и инструмента.
4.1 Капитальный ремонт водопропускных труб автомобильных дорог должен проводиться в соответствии с проектом, требованиями технических регламентов и нормативных документов (
ТР ТС 014/2011, EN 10025-1:2005, EN 10169:2012,
СП 35.13330.2011,
СП 46.13330.2012,
СП 48.13330.2011, работ [
1 -
8]) для обеспечения долговременной защиты земляного полотна от негативного влияния пропускаемых через трубы расходов воды. Ремонту методом гильзования металлическими гофрированными спиральновитыми трубами (далее - метод гильзования с использованием СВМГТ) подвергаются трубы, сужение отверстия которых не повлияет на пропуск необходимого водного потока, не утратившие несущей способности и имеющие следующие дефекты:
- нарушение гидроизоляции;
- отклонение геометрического положения элементов трубы более чем на 3% от ее диаметра.
4.2 Метод гильзования с использованием СВМГТ позволяет:
- проводить ремонтные работы без остановки движения транспортных средств по автомобильной дороге (без устройства временных объездов);
- решить задачу ремонта водопропускных труб в стесненных условиях;
- сократить сроки ремонта (до двух рабочих дней);
- снизить стоимость ремонта;
- увеличить прочностные и эксплуатационные характеристики дефектной трубы;
- гарантировать срок эксплуатации до 50 лет согласно рекомендациям
[1];
- устранить протечки трубы;
- восстановить водопропускную способность дефектной трубы.
4.3 При подборе диаметра секций СВМГТ необходимо обеспечить минимальное сужение внутреннего диаметра аварийного сооружения.
5 Требования к материалам и изделиям
5.1 Для капитального ремонта водопропускных труб под автомобильными дорогами методом гильзования рекомендуется применять СВМГТ, имеющие, как правило, следующие параметры:
- внутренние диаметры (по впадинам волны гофра - наименьший диаметр) составляют от 0,5 до 3,4 м;
- основные типы гофра 68 x 13 мм, 125 x 26 мм, толщина листового проката от 2 до 3,5 мм;
- длина секций составляет, как правило, до 13,5 м и ограничена возможностями транспортного средства при перевозке и условиями монтажа;
- секции и бандажные соединения рекомендуется применять из углеродистой и низкоуглеродистой горячеоцинкованной стали с классом покрытия не ниже Ц600 (Z600) и классом по прочности не ниже 245 по
ГОСТ Р 52246-2016 или согласно EN 10025-1:2005, а также из аналогичного проката с дополнительным полимерным покрытием HDPE, нанесенным поверх слоя цинка, толщиной не менее 300 мкм по
ГОСТ 34180-2017 или EN 10169:2012.
5.2 Металлические гофрированные спиральновитые трубы должны удовлетворять требованиям рекомендаций
[1].
Примечание - Подбор конкретных типов труб выполняется в процессе проектирования капитального ремонта, с учетом внешних нагрузок, состояния дефектной трубы и других факторов.
5.3 Секции СВМГТ должны стыковаться друг с другом при помощи бандажных соединений, выступающих за наружный диаметр трубы не более чем на 200 мм.
5.4 Бандажи могут быть изготовлены из гофрированного металла со спиральным или кольцевым расположением гофр
[1]. Для труб диаметром менее 1 м допускается применение гладких и других бандажей.
5.5 Бетон для межтрубного пространства должен отвечать требованиям
ГОСТ 26633-2015, класс прочности на сжатие быть не ниже B25, марки бетона по морозостойкости и водонепроницаемости соответствовать требованиям
СП 35.13330.2011.
Для омоноличивания сборных конструкций следует применять бетон класса по прочности на сжатие не ниже принятого для стыкуемых элементов.
5.6 Бетонная смесь при укладке должна обладать подвижностью и иметь марку не ниже П4 по
ГОСТ 7473-2010.
5.7 В качестве крупного заполнителя рекомендуется использовать щебень из естественного камня или гравия, который должен отвечать требованиям
ГОСТ 8267-93. Применение крупных заполнителей из осадочных горных пород не допускается. Для приготовления бетонной смеси разрешается использование щебня и гравия фракции не более 10 мм. Зерновой состав каждой фракции должен соответствовать требованиям
ГОСТ 26633-2015.
5.8 Для бетонной смеси следует применять пески по
ГОСТ 8736-2014. Зерновой состав песка должен соответствовать требованиям
ГОСТ 26633-2015. Модуль крупности песка М
кр = 2 - 3, содержание в песке пылевидных, илистых и глинистых частиц не должно превышать 0,5%.
5.9 Вода для затворения бетонной смеси и приготовления химических добавок используется в соответствии с
ГОСТ 23732-2011.
5.10 Для приготовления бетонной смеси для заполнения пазух следует применять пластифицирующие, расширяющие, повышающие морозостойкость бетона добавки, которые должны соответствовать требованиям
ГОСТ 24211-2008 и
ГОСТ 26633-2015.
6 Организация и технология выполнения работ
6.1.1 Перед началом проектирования капитального ремонта методом гильзования с использованием СВМГТ необходимо провести оценку состояния водопропускной трубы, подлежащей ремонту. Оценка должна содержать следующие этапы:
- сбор информации, имеющейся в технической документации и документации на производство ремонтных работ;
- натурный осмотр;
- измерение геометрических размеров оголовков и поперечного сечения трубы, ее длины, а также величин дефектов и деформаций;
- уточнение состояния и характеристик грунта в затрубном пространстве;
- определение прочностных характеристик материала трубы (при необходимости);
- выполнение инженерно-геологических работ по исследованию насыпи и основания;
- проведение гидрологических расчетов с учетом сужения отверстия трубы.
К ремонтным работам разрешается приступать при наличии проектной и рабочей документации, разработанной в соответствии с требованиями
СП 35.13330.2011, и выполненного на ее основе проекта производства работ (ППР).
6.1.2 Перечень документации, входящей в состав проекта на капитальный ремонт, порядок ее разработки, согласования и утверждения определяются в соответствии с требованиями постановления
[2] и отраслевых нормативных документов.
6.1.4 Ориентировочный перечень машин, механизмов и оборудования, применяемых при капитальном ремонте методом гильзования с использованием СВМГТ, дан в
приложении А.
6.1.5 Работы необходимо выполнять в теплый период года при температурах от 0 °C до 40 °C. Особенности производства работ в зимний период должны быть дополнительно оговорены в ППР.
6.1.6 По завершении основных работ по капитальному ремонту на территории, занятой строительством, должны быть ликвидированы все временные сооружения и проведена предусмотренная проектом рекультивация (ликвидация вспомогательных сооружений, предназначенных для отвода воды; планировка и укрепление русла; укрепление откосов насыпи у оголовков труб; благоустройство территории).
6.2 Технология капитального ремонта водопропускных труб методом гильзования с использованием СВМГТ
6.2.1 Основные этапы работ должны включать:
- подготовительные работы;
- монтаж секций внутренней трубы общей длиной до 30 м, который рекомендуется выполнять согласно пункту
6.2.3; при длине трубы свыше 30 м - в соответствии с работой
[8] с использованием внутренних распорных бандажей
(рисунок 1) или иного способа стыковки секций. Установку секции в проектное положение осуществляют расклиниванием или с помощью распорных болтов
(рисунок 2); после затвердевания бетонной смеси внутренний бандаж допускается снять;
- омоноличивание межтрубного пространства;
- устройство лотка согласно рекомендациям
[1].
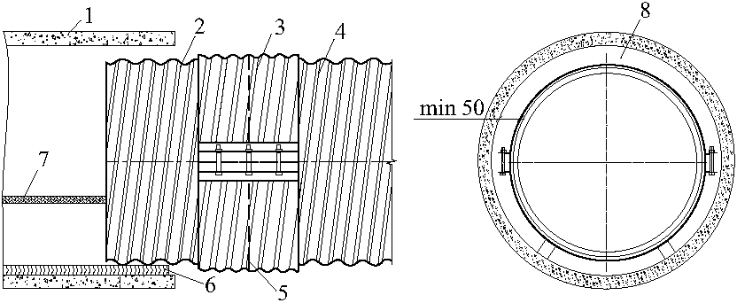
1 - стенка трубы; 2 - растягивающий болт;
3 - внутренний бандаж
Рисунок 1 - Стыковка секций трубы с помощью
внутреннего бандажа
1, 2 - соответственно уровни и фитинги для заливки
бетонной смеси; 3 - распорные (выравнивающие) болты;
4 - приваренный уголок с гайкой; 5 - межтрубное
пространство; 6 - секция; 7 - ремонтируемая труба;
8 - направляющие, закрепленные на секции или трубе
(размер дан в миллиметрах)
Рисунок 2 - Пример расположения секции
в ремонтируемой трубе
6.2.2 На этапе подготовительных работ должны быть выполнены следующие мероприятия:
- изоляция зоны работ от протекающей воды;
Примечание - Для защиты зоны работ от воды в соответствии с ППР могут устраиваться грунтовые дамбы с временным водохранилищем, водосборные котлованы перед входным оголовком, временные трубопроводы для отвода или перекачки воды за границы трубы.
- очистка или при необходимости промывка ремонтируемой трубы от мусора и грязи, удаление из нее воды, заделка трещин, открытых стыков и мест инфильтрации грунтовых вод;
Примечание - Конкретный перечень мест с дефектами и деформациями трубы, а также перечень выполняемых работ должен быть определен проектом.
- создание условий для беспрепятственного протаскивания секций внутренней трубы: устройство настила, направляющих, выравнивание дна трубы в соответствии с проектом.
6.2.3 Монтаж секций внутренней трубы выполняется в следующей технологической последовательности:
а) установка в ремонтируемой трубе направляющих для протаскивания секций СВМГТ (минимальная высота 50 мм) в соответствии с проектом относительно осевой и высотной разбивок. При необходимости защита покрытия геотекстилем. Придание проектного уклона трубе с помощью нивелира и клиньев. Изготовление направляющих из дерева, полимерных труб или металлопроката. Закрепление направляющих допускается как на ремонтируемой трубе, так и на секции СВМГТ с обеспечением свободного прохождения бетонной смеси через них. В случае ровной лотковой части трубы (при отсутствии выступов, препятствующих продвижению секции) направляющие допускается не устанавливать;
б) прокладка в существующей трубе троса для протаскивания секций СВМГТ с разрывной нагрузкой не менее общей массы ремонтных звеньев;
в) протяжка каната из натуральных или искусственных волокон с разрывной нагрузкой не менее 500 кг для последующего протаскивания шланга для бетонирования;
Примечания
1 Концы каната закрепляют (привязывают) у входного и выходного оголовков.
2 При монтаже секций необходимо следить, чтобы канат оставался в межтрубном пространстве и не был задавлен.
г) установка 1-й секции СВМГТ с помощью автокрана у входа существующей трубы
(рисунок 3);
д) закрепление на торце 1-й секции СВМГТ троса для протаскивания трубы с помощью струбцин или заранее подготовленных проушин;
е) присоединение к лебедке или иному буксировочному средству второго конца троса;
ж) протаскивание секции СВМГТ, оставив снаружи часть размером не менее 500 мм, для установки бандажа;
з) установка следующей секции СВМГТ с помощью автокрана;
и) соединение секций с помощью бандажа.
Остальные секции монтируют аналогично операциям ж) - и).
Допускается применение другого метода монтажа секций СВМГТ, если данное предусмотрено проектом на проведение ремонтных работ.
1 - существующая труба; 2, 4 - соответственно
1-я и 2-я секции СВМГТ; 3 - бандаж; 5 - стык секций;
6 - направляющая; 7 - трос; 8 - межтрубное пространство
(размер дан в миллиметрах)
Рисунок 3 - Установка секций СВМГТ
6.2.4 Омоноличивание межтрубного пространства рекомендуется выполнять следующим образом:
а) заложить кирпичами на цементном растворе оба края межтрубного пространства по периметру, при этом оставив в них по одному проему размером 100 x 100 мм для пропуска шланга подачи бетонной смеси;
Примечание - Заделка кирпичами межтрубного пространства необходима для предотвращения вытекания из него бетонной смеси. Допускается применение опалубки из досок или листового металла.
б) привязать конец каната к шлангу для протягивания его вдоль трубы в межтрубном пространстве при бетонировании;
в) подавать бетонную смесь по шлангу с помощью бетононасоса, начинать омоноличивание от края трубы;
г) осуществлять контроль заполнения бетонной смесью для труб диаметром:
- от 1 м и выше методом простукивания внутри трубы с помощью резинового молотка, а также сравнивая объем уложенной бетонной смеси с объемом по проекту,
- менее 1 м только сравнением объема уложенной бетонной смеси с объемом по проекту;
д) осуществлять омоноличивание межтрубного пространства по всей длине трубы одновременно с двух сторон относительно оси за три этапа по высоте:
- I этап - лотковой части,
- II этап - средней части,
- III этап - свода трубы.
6.2.5 Допускается выполнять омоноличивание межтрубного пространства подачи бетонной смеси:
- через прокол со стороны дорожного полотна;
- технологические отверстия в теле СВМГТ.
6.2.6 Перечень контролируемых видов работ, параметров и критерии их оценки приведены в пункте
7.3.3.
6.2.7 По окончании каждого этапа работ должны оформляться акты освидетельствования скрытых работ.
7 Контроль и оценка соответствия выполненных работ
7.1 Контроль выполнения работ
7.2.1 При входном контроле должны быть проверены:
- предъявленные поставщиком материалов и изделий документы об их качестве: сертификаты, декларации, паспорта качества и т.д.;
- соответствие поставленных материалов и изделий предъявленным документам, а показатели их свойств или характеристик - требованиям рабочей документации.
7.2.2 Конструкции, материалы и комплектующие изделия, поступающие без сопроводительных документов или с выявленным браком, не должны допускаться в производство.
7.2.3 Соответствие заводских элементов металлических гофрированных труб проектным размерам проверяют с помощью:
- шаблона, представляющего собой сегмент с дугой, очерченный по радиусу трубы;
- магнитного толщиномера для измерения толщины покрытия элементов;
- рулетки или другого инструмента для линейных замеров.
7.2.4 Считаются браком следующие дефекты цинкового покрытия металлических элементов - видимые трещины, забоины, крупная рябизна, темные пятна и места, не покрытые цинком. Не подлежат браковке элементы с наплывами цинка шириной до 100 мм, с мелкими крупинками цинка до 0,5 мм, незначительной рябизной и небольшой шероховатостью поверхности, имеющие светло-серые пятна.
Для труб с полимерным покрытием HDPE браком считаются повреждения покрытия на внутренней поверхности трубы. Наличие повреждений на внешней поверхности допускается.
В случае незначительного повреждения защитного покрытия, если ширина полосы повреждения не более 2 см и площадь повреждения составляет не более 2% общей площади поверхности секции, допускается выполнение ремонта покрытия на участковом складе или строительной площадке
[1].
7.2.5 Бетонная смесь, изготовленная в заводских условиях и доставленная в готовом виде на стройплощадку, должна удовлетворять требованиям
ГОСТ 7473-2010.
Каждая партия бетонной смеси сопровождается документом о качестве по форме, приведенной в
приложении Б.
Максимальная продолжительность транспортирования смеси не должна быть более времени сохраняемости ее свойств, указанных в договоре на поставку.
Бетонные смеси на месте укладки принимают по объему. Объем смеси, зафиксированный при погрузке, уменьшают на коэффициент уплотнения при ее транспортировании и уплотнении, устанавливаемый по согласованию изготовителя с потребителем. Рекомендуемые значения коэффициента уплотнения приведены в
пункте 5.1.4 ГОСТ 7473-2010.
Удобоукладываемость бетонной смеси для каждой партии оценивают не позже чем через 20 мин после ее доставки по осадке или расплыву конуса согласно
ГОСТ 10181-2014.
Пробы бетонной смеси отбирают в соответствии с требованиями
ГОСТ 10180-2012.
7.2.6 Песок, поступающий на стройплощадку, в соответствии с
ГОСТ 8736-2014 должен сопровождаться документом о его качестве, в котором указывают:
- наименование предприятия-изготовителя и его адрес;
- номер и дату выдачи документа;
- номер партии и количество песка;
- класс, модуль крупности, полный остаток на сите с сеткой N 063;
- содержание пылевидных и глинистых частиц, а также глины в комках;
- удельную эффективную активность естественных радионуклидов;
- содержание вредных компонентов и примесей.
Для контрольной проверки качества песка точечные пробы отбирают непосредственно из автомобилей-самосвалов. Для этого поверхность песка в автомобиле-самосвале выравнивают, в центре кузова выкапывают лунку глубиной от 0,2 до 0,4 м, из которой совком отбирают пробы, перемещая совок снизу вверх вдоль стенки лунки.
Испытания песка осуществляют в строительной лаборатории согласно
ГОСТ 8735-88, а удельную эффективную активность естественных радионуклидов - по
ГОСТ 30108-94.
7.2.7 Щебень или гравий должны соответствовать
ГОСТ 8267-93. Отбор проб для контрольной проверки качества выполняется аналогично отбору проб песка.
7.3 Операционный контроль
7.3.1 Операционный контроль качества выполнения работ должен проводиться постоянно по мере производства работ мастером или прорабом участка.
7.3.2 Результаты операционного контроля качества фиксируются в журнале производства работ
[3].
7.3.3 Перечень видов работ при капитальном ремонте водопропускной трубы методом гильзования с испрользованием СВМГТ, подлежащих контролю, методы и способы его проведения, а также перечень контролируемых параметров и критерии их оценки представлены в
таблице 1.
Таблица 1
Операционный контроль качества выполнения
капитального ремонта водопропускной трубы
методом гильзования с использованием СВМГТ
и омоноличивания межтрубного пространства
Наименование процесса, подлежащего контролю | Предмет контроля | Инструмент и способ контроля | Периодичность контроля | Лицо, ответственное за проведение контроля | Технические критерии оценки качества работ |
Монтаж трубы | Соосность с геодезической разбивкой | Геодезическая разбивка | При монтаже | Мастер | +/- 3% |
Уклон | Нивелир |
Омоноличивание межтрубного пространства | Плотность заполнения | Объем затраченной смеси | При заполнении | Мастер | Объем незаполненного пространства не более 1% |
Простукивание |
7.3.4 Контроль прочности бетона следует выполнять по результатам испытаний контрольных образцов, изготавливаемых на месте укладки смеси и хранящихся в условиях, идентичных твердению бетона в конструкции, или неразрушающими методами по
ГОСТ 18105-2010,
ГОСТ 22690-2015,
ГОСТ 17624-2012.
7.3.5 Освидетельствование скрытых работ оформляется актом. Форма акта приведена в приложение Ж стандарта
[4].
Освидетельствованию подлежат следующие работы:
- очистка трубы от грязи и мусора;
- заделка дефектных мест в трубе (каверн, трещин, раскрытых стыков);
- монтаж звеньев внутренней трубы;
- омоноличивание межтрубного пространства.
7.4 Оценка соответствия выполненных работ
7.4.1 Оценка соответствия выполненных работ и конструкций совместно с заказчиком производится:
- при промежуточной приемке этапов выполненных работ;
- на заключительном этапе при приемке законченных капитальным ремонтом объектов.
7.4.2 Оценка соответствия выполненных этапов работ должна осуществляться сразу после завершения очередного этапа и производиться комиссией в составе представителей:
- заказчика или технического надзора;
- подрядной строительной организации;
- проектной организации.
Приемочная комиссия проверяет соответствие законченной капитальным ремонтом водопропускной трубы проектной документации, наличие, полноту и правильность оформления исполнительной документации, а также оценивает объем и качество выполненных работ с составлением актов приемки работ.
Результаты оценки соответствия требованиям проектной документации следует оформлять в соответствии с
СП 48.13330.2011.
7.4.3 В состав исполнительной документации должны входить:
- акты освидетельствования геодезической разбивочной основы объекта капитального ремонта;
- акты разбивки осей объекта капитального ремонта на местности;
- акты освидетельствования скрытых работ;
- журнал производства работ с записями о соответствии выполненных в натуре работ рабочей документации, сделанными лицом, осуществляющим капитальный ремонт;
- журнал авторского надзора с записями о результатах проведенного авторского надзора, сделанными уполномоченным представителем проектной организации;
- исполнительные геодезические схемы;
- исполнительные схемы и профили сооружения с фактическими отметками и размерами;
- акты испытания и опробования технических устройств;
- результаты экспертиз, обследований, лабораторных и иных испытаний выполненных работ, проведенных в процессе строительного контроля;
- документы, подтверждающие проведение контроля качества применяемых строительных материалов и изделий.
7.4.4 По требованию заказчика может быть произведено вскрытие конструкций. В случае выявления несоответствия выполненных работ проектным решениям и требованиям нормативных документов работы подлежат переделке.
8 Требования к безопасному выполнению работ
8.1 При ремонтных работах должны соблюдаться правила по технике безопасности и противопожарной охране при производстве строительных работ, в том числе при работах на компрессорных, гидравлических и электрических установках согласно нормам [
5,
6].
8.2 Основные требования к организации строительной площадки и охране окружающей среды при устройстве водопропускных труб приведены в приложении Р стандарта
[4].
8.3 Работы по капитальному ремонту водопропускных труб следует осуществлять в соответствии с правилами безопасного выполнения работ, приведенными в
приложении В.
(рекомендуемое)
ПЕРЕЧЕНЬ МАШИН, МЕХАНИЗМОВ И ОБОРУДОВАНИЯ
ДЛЯ КАПИТАЛЬНОГО РЕМОНТА ВОДОПРОПУСКНЫХ ТРУБ
МЕТОДОМ ГИЛЬЗОВАНИЯ С ИСПОЛЬЗОВАНИЕМ СВМГТ
Таблица А.1
Перечень машин, механизмов и оборудования
для капитального ремонта водопропускных труб
методом гильзования с использованием СВМГТ
Наименование | Единица измерения | Количество |
Автокран грузоподъемностью 25 т | шт. | 1 |
Электростанция мощностью 6 кВт (в комплекте провод, лампы) | шт. | 1 |
Бетононасос в комплекте со шлангом | шт. | 1 |
Нивелир в комплекте с треногой и рейкой | шт. | 1 |
Рулетка длиной 20 м | шт. | 1 |
Метр складной | шт. | 2 |
Подстропник текстильный | шт. | 2 |
Лом | шт. | 2 |
Кувалда массой 3 кг | шт. | 1 |
Лестница инвентарная | шт. | 1 |
Лопата штыковая | шт. | 2 |
Лопата подборная | шт. | 2 |
Шнур | м | 100 |
Кельма каменщика | шт. | 2 |
Углошлифовальная машинка | шт. | 2 |
Рукавицы | пара | 100 |
Шпатель | шт. | 2 |
Инвентарный деревянный настил | м2 | 32 |
Инвентарный навес | м2 | 32 |
Молоток плотника | шт. | 2 |
Лебедка ручная в комплекте с цепным тросом | шт. | 2 |
Ведро оцинкованное вместимостью 12 л | шт. | 3 |
Тканевый трос | м | 60 |
Молоток резиновый | шт. | 1 |
Щетка волосяная | шт. | 3 |
(рекомендуемое)
ФОРМА ДОКУМЕНТА О КАЧЕСТВЕ БЕТОННОЙ СМЕСИ
ДОКУМЕНТ О КАЧЕСТВЕ БЕТОННОЙ СМЕСИ N _____________________________
__________________________________________________________________
__________________________________________________________________
Наименование организации-изготовителя ____________________________
__________________________________________________________________
__________________________________________________________________
Адрес, телефон, факс изготовителя ________________________________
__________________________________________________________________
__________________________________________________________________
Потребитель ______________________________________________________
__________________________________________________________________
__________________________________________________________________
Вид бетонной смеси и ее условное обозначение _____________________
__________________________________________________________________
__________________________________________________________________
Удобоукладываемость бетонной смеси
на заводе-изготовителе и на месте укладки, см (с) ________________
__________________________________________________________________
__________________________________________________________________
Номер состава бетонной смеси _____________________________________
__________________________________________________________________
__________________________________________________________________
Знак соответствия (в случае, когда бетонная смесь
сертифицирована на соответствие требованиям стандарта) ___________
__________________________________________________________________
__________________________________________________________________
Дата и время отправки бетонной смеси _____________________________
__________________________________________________________________
__________________________________________________________________
Класс (марка) бетона по прочности на сжатие в возрасте ___________
__________________________________________________________________
__________________________________________________________________
Другие показатели качества (при необходимости) ___________________
__________________________________________________________________
__________________________________________________________________
Коэффициент вариации прочности бетона, % _________________________
__________________________________________________________________
__________________________________________________________________
Требуемая прочность бетона, МПа (кгс/см2) ________________________
__________________________________________________________________
__________________________________________________________________
Проектная марка по средней плотности (для легкого бетона), кг/м3
__________________________________________________________________
__________________________________________________________________
Коэффициент вариации средней плотности, % ________________________
__________________________________________________________________
__________________________________________________________________
Наименование, масса (объем) добавки, кг (л) ______________________
__________________________________________________________________
__________________________________________________________________
Класс материалов по удельной эффективной активности
естественных радионуклидов и цифровое значение

, Бк/кг _______
__________________________________________________________________
__________________________________________________________________
Наибольшая крупность заполнителя, мм _____________________________
__________________________________________________________________
__________________________________________________________________
Выдан "____"_____________20____г.
Начальник цеха (мастер) ___________________________
(Ф.И.О.)
Начальник лаборатории ___________________________
(Ф.И.О.)
(обязательное)
ПРАВИЛА БЕЗОПАСНОГО ВЫПОЛНЕНИЯ РАБОТ
ПРИ КАПИТАЛЬНОМ РЕМОНТЕ ВОДОПРОПУСКНЫХ ТРУБ
В.1 Строительную площадку следует оборудовать ограждением, защитными предохранительными устройствами, сигнальными фонарями в соответствии с ППР. Освещенность стройплощадки и рабочих мест должна быть не менее 50 люкс.
В.2 До начала земляных работ в охранной зоне существующих инженерных коммуникаций необходимо вызвать на место работ представителей организаций, эксплуатирующих эти коммуникации, для оформления акта-допуска на производство работ.
В.3 Приобъектные площадки складирования должны быть обеспечены противопожарным инвентарем, первичными средствами пожаротушения в соответствии с требованиями постановления
[7].
Ответственность за пожарную охрану, своевременное выполнение противопожарных мероприятий и исправное содержание средств пожаротушения в целом несет начальник участка или ответственное лицо, назначенное приказом.
В.4 К работе с машинами и механизмами допускаются лица, достигшие 18-летнего возраста, прошедшие медицинское освидетельствование, ознакомленные с правилами и инструкциями по технике безопасности и сдавшие экзамены на знание этих правил.
В.5 Все рабочие, а также лица, осуществляющие технический надзор, должны быть обеспечены индивидуальными средствами защиты согласно
ГОСТ 12.4.011-89 (респираторами, касками, спецодеждой, обувью, очками и т.п.) и обязаны во время работы ими пользоваться. На рабочем месте должна находиться аптечка для оказания первой помощи.
В.6 Все технологическое, электрическое, монтажное оборудование и инструменты, работающие под напряжением свыше 36 В, должны быть заземлены.
| | Рекомендации по проектированию и строительству водопропускных сооружений из спиральновитых металлических гофрированных труб. Рекомендованы к применению распоряжением Федерального дорожного агенства от 15.05.2017 N 940-р |
| | Постановление Правительства Российской Федерации от 16 февраля 2008 г. N 87 "О составе разделов проектной документации и требованиях к их содержанию" |
| | Порядок ведения общего и (или) специального журнала учета выполнения работ при строительстве, реконструкции, капитальном ремонте объектов капитального строительства |
| | Автомобильные дороги. Устройство, реконструкция и капитальный ремонт водопропускных труб. Часть 1. Трубы бетонные и железобетонные. Устройство и реконструкция |
| | Безопасность труда в строительстве. Часть 1. Общие требования |
| | Безопасность труда в строительстве. Часть 2. Строительное производство |
| | Постановление Правительства Российской Федерации от 25 апреля 2012 г. N 390 "О противопожарном режиме" |
| | Автомобильные дороги. Устройство, реконструкция и капитальный ремонт водопропускных труб. Часть 4. Капитальный ремонт водопропускных труб |
Руководитель организации-разработчика
ООО "ТУБОРУС"
Директор
Н.А.Комаров