Главная // Актуальные документы // НормыСПРАВКА
Источник публикации
М.: Стройиздат, 1992
Примечание к документу
Документ действует до 31 декабря 2011 года (
Письмо Минрегиона России от 21.09.2010 N 33303-ИП/08.
Название документа
"Справочное пособие к СНиП 2.08.02-89. Общественные здания и сооружения. Проектирование предприятий бытового обслуживания населения"
(рекомендовано Минстроем РФ)
"Справочное пособие к СНиП 2.08.02-89. Общественные здания и сооружения. Проектирование предприятий бытового обслуживания населения"
(рекомендовано Минстроем РФ)
СПРАВОЧНОЕ ПОСОБИЕ К СНиП 2.08.02-89
ПРОЕКТИРОВАНИЕ ПРЕДПРИЯТИЙ БЫТОВОГО ОБСЛУЖИВАНИЯ НАСЕЛЕНИЯ
Группа П79
Рекомендовано к изданию секцией научно-технического совета Института общественных зданий Минстроя России (бывший ЦНИИЭП учебных зданий Госкомархитектуры).
Редактор Л.В. Павлова.
Является справочным пособием к
СНиП 2.08.02-89 "Общественные здания и сооружения". Изложены объемно-планировочные, конструктивные решения и требования к инженерному оборудованию при проектировании предприятий бытового обслуживания населения. Даны примеры расчета.
Для инженерно-технических работников проектных и строительных организаций.
Настоящее пособие по проектированию является дополнением к
СНиП 2.08.02-89 "Общественные здания и сооружения", в котором разъясняются отдельные положения этого документа и одновременно учитываются требования других нормативных документов, отражены прогрессивные направления развития отрасли и соответствующие директивные указания, способствующие повышению экономической эффективности и улучшению качества архитектурных, технологических и инженерных решений.
Пособие разработано на основе действующих технологических норм проектирования, а также с учетом действующих документов, необходимых при проектировании предприятий бытового обслуживания населения: "Основные технические направления проектирования предприятий бытового обслуживания населения на 1986 - 1995 годы", "Методические указания по составлению перспективных планов развития сети и размещения предприятий бытового обслуживания населения".
Пособие разработано ЦНИИЭП учебных зданий (инж. Н.Н. Пономарева), б.ЦНИИЭП торгово-бытовых зданий и комплексов (арх. З.Е. Архангельская, канд. арх. Г.З. Поташникова, инженеры Е.П. Никифорова, Н.С. Дурченко, Б.С. Городинский, а также МИИТ (канд. техн. наук К.М. Черемисов, инженеры А.А. Панютин, Ю.А. Суров) при участии Гипробытпрома (инженеры А.И. Комиссаренко, В.И. Давыдочкин), Академии коммунального хозяйства им. Памфилова (канд. техн. наук Б.Ф. Чигирев), КиевЗНИИЭП (канд. арх. О.С. Северина).
1.1. Пособие распространяется на проектирование предприятий бытового обслуживания населения: приемных и комплексных приемных пунктов, домов бытовых услуг, домов мод, ателье, мастерских, парикмахерских, павильонов, салонов, комплексных предприятий стирки белья и химической чистки одежды, а также бань и банно-оздоровительных комплексов.
1.2. Число предприятий бытового обслуживания населения и приемных пунктов вторичного сырья от населения характеризуется нормируемой площадью предприятия. Вместимость бань и банно-оздоровительных комплексов определяется по количеству мест в раздевальных, комплексных предприятий стирки белья и химической чистки одежды по количеству принимаемого белья в смену в килограммах.
1.3. Приемные и комплексные приемные пункты, комплексные и специализированные предприятия бытового обслуживания: дома бытовых услуг, дома моды, ателье, мастерские, парикмахерские, студии, залы, павильоны, салоны являются объектами общей системы обслуживания населения и размещаются в составе торговых и общественных центров, в комплексах бытового обслуживания, в отдельно стоящих, встроенных или пристроенных в общественных жилых зданиях; бани и банно-оздоровительные комплексы в отдельно стоящих зданиях, в одном здании с прачечными и химчистками с самообслуживанием и срочного исполнения заказов и в составе комплексов бытового обслуживания. Предприятия стирки белья и химической чистки одежды рекомендуется кооперировать в одном здании.
1.4. В сельских комплексных приемных пунктах и комплексных предприятиях бытового обслуживания (в том числе в домах бытовых услуг) рекомендуется предусматривать комнаты гостиничного типа для выездных мастеров и приемщиков.
1.5. Встроенные-пристроенные предприятия бытового обслуживания населения в жилых зданиях размещаются в соответствии со
СНиП 2.08.01-89.
1.6. Определение терминов приведено в
Прил. 1.
2. Требования к земельному участку
2.1. На земельном участке предприятий бытового обслуживания населения нормируемой площадью свыше 100 м2 предусматриваются зоны с разгрузочными площадками и для посетителей с площадками для отдыха, отдельно стоящих витрин, стоянки личного автотранспорта.
2.2. Ширина разгрузочной площадки должна быть не менее 2,5 м, а длина по расчету не менее 1,5 м.
2.3. Зону с разгрузочными площадками предприятий бытового обслуживания населения, размещаемых в жилых зданиях, рекомендуется располагать у торцевой несгораемой стены, где нет окон и входов в жилые помещения. Над разгрузочными площадками следует предусматривать навесы.
2.4. Приемные пункты вторичного сырья размещаются на расстоянии не менее 20 м от жилых и общественных зданий и не менее 50 м от зданий лечебно-профилактических, детских дошкольных учреждений и школ, изолируя их полосой зеленых насаждений с устройством подъездных путей для автотранспорта.
2.5. Склады ГСМ и химических растворителей следует размещать на территории хозяйственной зоны предприятия. Химические растворители следует хранить в бочках под навесом или в наземных резервуарах с устройством бассейна.
2.6. Пункт прачечной по приему, выдаче и прокату белья должен иметь возможность подъезда и открытую площадку для стоянки автомобиля, перевозящего белье. Дорога должна иметь усовершенствованное капитальное покрытие.
2.7. Выбор земельного участка прачечной принимать в соответствии со
СНиП 2.07.01-89.
2.8. Проектами предусматриваются открытые площадки и возможность подъезда грузового и легкового (личного) автомобильного транспорта к прачечной.
3. Объемно-планировочные требования
Приемные и комплексные приемные пункты, дома бытовых услуг, дома мод, ателье, мастерские, парикмахерские, комплексные предприятия стирки белья и химической чистки одежды.
3.1. Высота этажей зданий предприятий бытового обслуживания населения и приемных пунктов вторичного сырья от населения принимается, как правило, не менее 3,3 м. При обосновании, по требованиям технологии и размещения инженерного оборудования допускается принимать высоту этажа не менее 3,6 м.
Высота производственных помещений прачечной, химчистки с самообслуживанием и срочного выполнения заказов должна быть не менее 3,6 м, высоту других помещений допускается принимать равной высоте производственных помещений.
При размещении предприятий бытового обслуживания населения в первых или цокольных этажах жилых зданий допускается высота помещений до низа выступающих конструкций не менее 2,5 м, а в подвалах не менее 2,2 м.
3.2. В загрузочных, складских и производственных помещениях площадью более 10 м2 двери следует проектировать не менее 1,2 м, в производственных помещениях площадью до 10 м2 - не менее 0,9 м.
3.3. Грузовые лифты следует предусматривать в зданиях при двух и более этажах по требованиям технологии. Перед грузовыми лифтами следует предусматривать разгрузочные площадки: для лифтов грузоподъемностью 100 кг длина разгрузочной площадки должна быть не менее 1,7 м, для лифтов грузоподъемностью 500 кг и выше - не менее 2,2 м, не считая ширину примыкающих коридоров. Ширина разгрузочных площадок должна быть не менее ширины шахты лифта с учетом ограждающих конструкций.
3.4. Ширина коридоров в группах производственных помещений и кладовых должна быть не менее 1,5 м; в предприятиях, имеющих в своем составе мастерские по ремонту крупногабаритных бытовых машин и приборов нормируемой площадью 200 м2 и более, и предприятиях изготовления одежды нормируемой площадью 1400 м2 и более - не менее 1,8 м; в остальных группах помещений - не менее 1,2 м.
3.5. Удельные показатели площади основных групп помещений в расчете на 1 м2 нормируемой площади предприятий бытового обслуживания населения следует принимать по табл. 1, приемных пунктов - по
табл. 2.
Вид обслуживания и помещение | Удельные показатели площадки основных групп помещений в расчете на 1 м2 нормируемой площади, м2 |
для посетителей | производственная | кладовые и подсобные | служебно-бытовые |
Изготовление, ремонт одежды и трикотажных изделий | 0,1 | 0,55 | 0,15 | 0,2 |
Изготовление модельной одежды (экспериментальная лаборатория) | - | 0,7 | 0,15 | 0,15 |
Изготовление и ремонт головных уборов | 0,2 | 0,5 | 0,1 | 0,2 |
Ремонт бытовой радиоэлектронной аппаратуры | 0,1 - 100 ------------ 0,5 | 0,5 | 0,2 | 0,2 |
Ремонт часов, фотокиноаппаратуры, изделий из пластмасс, ювелирные и граверные работы | 0,3 | 0,35 | 0,15 | 0,2 |
Фотография | 0,3 | 0,6 | 0,05 | 0,05 |
Фотолаборатория | - | 0,6 | 0,2 | 0,2 |
| | ИС МЕГАНОРМ: примечание. Значение в последней графе дано в соответствии с официальным текстом документа. | |
|
Парикмахерские | 0,15 - 200 ------------- 0,1 | 0,5 | 0,15 | 0, |
Машинописные работы | 0,2 | 0,4 | 0,1 | 0,3 |
Переплетно-брошюровочные работы | 0,1 | 0,6 | 0,15 | 0,15 |
Прокат предметов домашнего обихода и культурно-бытового назначения | 0,25 | - | 0,7 | 0,05 |
Химическая чистка и стирка одежды и белья: | | | | |
срочная | 0,08 | 0,7 | 0,1 | 0,12 |
с самообслуживанием | 0,15 | 0,65 | 0,15 | 0,05 |
Студия звукозаписи | 0,2 | 0,55 | 0,1 | 0,15 |
Бюро обслуживания | 0,4 | 0,3 | 0,2 | 0,1 |
Сельский комплексный приемный пункт с помещениями выездных мастеров | 0,25 | 0,35 | 0,3 | 0,1 |
Прием заказов по видам обслуживания | Удельные показатели площади основных групп помещений в расчете на 1 м2 нормируемой площади, м2 |
для посетителей | кладовые и подсобные | служебно-бытовые |
Изготовление и ремонт одежды, трикотажных изделий и головных уборов | 0,45 | 0,5 | 0,05 |
Изготовление обуви и ремонт галантереи | 0,35 | 0,55 | 0,1 |
Ремонт бытовых машин и приборов, металлоизделий, бытовой радиоэлектронной аппаратуры, музыкальных инструментов | 0,25 | 0,7 | 0,05 |
Ремонт часов, фотокиноаппаратуры, изделий из пластмасс, граверные работы, обработка кинофотоматериалов | 0,7 | 0,15 | 0,15 |
Химическая чистка | 0,2 | 0,7 | 0,1 |
Стирка белья | 0,15 до 100 | 0,75 | 0,1 - 100 ----------- 0,05 |
Вторичное сырье | 0,25 - 70 ----------- 0,3 | 0,6 - 70 ---------- 0,55 | 0,15 |
Примечания. 1. В
табл. 1 и
2: над чертой дано значение площади основной группы помещений до указанной величины предприятия и приемного пункта, под чертой - увеличение на каждый последующий 1 м2 нормируемой площади свыше указанной.
2. Площадь для посетителей следует определять по расчету, но не менее 9 м2, производственных - не менее 6 м2.
3. При кооперировании более трех видов обслуживания суммарную нормируемую площадь предприятия следует уменьшать до 6%, в том числе суммарную площадь группы помещений для посетителей - на 15%.
3.6. Состав и площади следует принимать: демонстрационных залов согласно табл. 3, отделов для продажи полуфабрикатов -
табл. 4, залов для проведения семейных мероприятий -
табл. 5, бильярдных -
табл. 6.
Таблица 3
Помещения | Площадь на 1 место в демонстрационном зале не менее, м2 |
Вестибюль (с гардеробом и уборными) | 0,3 |
Демонстрационный зал | 1,3 |
Костюмерные | 0,4 |
Помещения для хранения и подготовки моделей | 0,2 |
Бытовые | 0,15 |
Итого | 2,35 |
Помещения | Площадь на 1 м2 нормируемой площади, м2, не менее |
Торговый зал | 0,6 |
Кладовая | 0,15 |
Подсобная | 0,15 |
Бытовые | 0,1 |
Помещения | Измеритель | Площадь, м2, не менее |
Вестибюль (с гардеробом и уборными), аванзал | 1 место в банкетном зале | 0,5 |
Банкетный зал (с площадью для танцев) | То же | 1,8 |
Кухня самообслуживания, моечная посуды | 1 место в банкетном зале | 0,4 - до 50 мест, 0,2 - на каждое последующее место |
Подсобная | " | 6 |
Комната администратора | 1 предприятие | 12 |
Комната музыкантов | То же | 6 |
Помещения | Площадь на игровой стол, м2 не менее |
Вестибюль (с гардеробом и уборной) | 15, на каждый последующий - 7 |
Игровой зал | 36, на каждый последующий - 28 |
Подсобные и кладовые | 6, на каждый последующий - 2 |
В демонстрационном зале для демонстрации моделей одежды предусматривается подиум шириной не менее 1,8 м и высотой 0,5 м. Длина и конфигурация подиума определяется габаритами помещения.
В костюмерных предусматриваются умывальники.
3.7. В залах мод следует проектировать стационарные демонстрационные залы вместимостью от 100 до 500 мест. Объем зала должен включать две основные функциональные зоны: зона демонстрации моделей, зона размещения зрителей. Для формы плана зала возможны следующие решения: прямоугольное, круглое, сложное. Круглый в плане зал обеспечивает оптимальные условия видимости для всех зрителей.
3.8. Демонстрационные залы должны быть оборудованы стационарными или сборно-разборными помостами для просмотра моделей, приподнятыми над уровнем пола на 500 - 800 мм.
3.9. Искусственное освещение демонстрационного зала должно позволить зрителям четко рассмотреть покрой и отделку туалета, фактуру, рисунок, цвет ткани.
Для демонстрации мод необходимо создать световую среду, подходящую характеру демонстрируемых туалетов - вечерних, зимних, летних, а также ансамблей одежды.
3.10. При демонстрационных залах необходимы помещения для демонстрантов одежды, оборудованные санузлами и душевыми, а также кладовая моделей.
Кладовую моделей и помещения демонстрантов одежды следует размещать в непосредственной связи с выходом на помост просмотра моделей.
3.11. Рекомендуется предусматривать такие помещения, как музей мод, отделы продажи изделий, демонстрационный и выставочный залы, парикмахерскую. При этом должны быть обеспечены обособленные входы и удобные подходы на участке к помещениям, имеющим различный режим работы.
3.12. Экспозиция музея мод должна строиться на сочетании уникальных экспонатов постоянного показа со сменными материалами, отражающими основные этапы истории костюма, национальные особенности и тенденции развития одежды. В состав экспозиции могут входить авторские образцы художественных изделий одежды, выполненные художниками-модельерами, а также отдельные предметы быта, соответствующие стилю демонстрируемой одежды. Минимальная экспозиция должна включать 25 - 30 экспонатов.
3.13. Помещения музея мод должны быть связаны с залом приема и выдачи заказов и экспериментальной лабораторией. Экспозиционную площадь музея следует определять из расчета не менее 4 м2 на каждую экспонируемую объемную модель.
3.14. Торговые функции домов мод должны быть сосредоточены в специальных отделах или магазинах по реализации населению высококачественных, авторских образцов одежды и ее полуфабрикатов, выпущенных для продажи небольшими сериями, а также украшений и различных дополнений к костюму, изделий смежных подотраслей.
В планировочном решении магазина должны быть выделены зоны примерки и оформления покупок с рабочими местами кассира и продавца, предусмотрены места продажи женской и мужской одежды, легкого платья, верхней одежды, дополнений и украшений.
3.15. В составе домов мод рекомендуется проектировать кафе.
3.16. Залы проведения семейных мероприятий с подсобными помещениями относятся к услугам проката и могут объединяться с пунктами проката предметов домашнего обихода и культурно-бытового назначения.
3.17. В IV климатическом районе допускается устройство летних помещений для посетителей (при входах в здание, на террасах, галереях, во внутренних двориках). При этом площади залов приема и выдачи заказов могут быть уменьшены на 20%. Допускается также предусматривать открытые (неотапливаемые) связи между отдельными помещениями.
3.18. В предприятиях бытового обслуживания населения нормируемой площадью 200 м2 и более, в предприятиях химической чистки одежды и стирки белья с самообслуживанием и в других предприятиях длительного пребывания посетителей следует предусматривать по одной уборной для мужчин и женщин.
3.19. Примерный состав группы, площадь производственных помещений по видам обслуживания приведены в
Прил. 2.
3.20. Состав вспомогательных помещений в зависимости от величины предприятия, градостроительных и региональных условий определяется заданием на проектирование.
Площади вспомогательных помещений принимаются по табл. 7.
Таблица 7
Помещения | Измеритель | Площадь, м2 |
Вестибюль | 1 предприятие | 36 - 1000 м2 нормируемой площади, свыше - 70 |
Выставочный зал (демонстрации образцов мебели, швейных, трикотажных изделий) | То же | До 50 |
Зал просмотра кинопленок | 1 зал | До 30 |
Помещения для проката: | | |
музыкальных инструментов | 1 инструмент | 12 |
швейных машин | 1 машинка | 7 |
пишущих машинок | То же | 4 |
белья (в приемных пунктах прачечных) | 1 предприятие | 6 |
кабина для обслуживания фотолюбителей | 1 кабина | 3 |
Лаборатория (для предприятий химической чистки одежды и стирки белья) | 1 предприятие | 6 - 200 м2 нормируемой площади, свыше - 12 |
Диспетчерская | 1 предприятие | 20 - 1000 м2 нормируемой площади, свыше - 40 |
Разгрузочная | 1 предприятие | 6 - на 500 м2 нормируемой площади, свыше - 12 |
Помещение для сменных мастеров | То же | 9 - на 500 м2 нормируемой площади, свыше - 18 |
Помещение выездных мастеров: | | |
по ремонту бытовых машин (в фотографиях) | 1 мастер | 3 |
по ремонту бытовой радиоэлектронной аппаратуры | То же | 3 |
Ремонтно-механическая мастерская: | | |
в домах быта, комплексных приемных пунктах, ателье и т.п. | 1 предприятие | 15 - на 1000 м2 нормируемой площади, свыше - 30 |
в предприятиях химической чистки одежды и стирки белья | То же | 12 - на 300 м2 нормируемой площади, свыше - 20 |
Радиоузел | То же | 9 |
Помещение пожарно-сторожевой охраны | 1 предприятие | 6 - на 1500 м2 нормируемой площади |
Комната общественных организаций | 1 предприятие | 12 - на 1500 м2 нормируемой площади и более |
Медицинская комната | То же | 12 - на 600 м2 нормируемой площади, свыше - 18 |
Красный уголок | " | 24 - на 1500 м2 нормируемой площади, свыше - 36 |
Предприятия общественного питания: | | |
буфет | " | По расчету от 2000 до 4000 м2 нормируемой площади |
столовая | 1 предприятие | По расчету свыше 4000 м2 нормируемой площади |
Кладовые уборочного инвентаря и мусора | " | 4 - на 1000 м2 нормируемой площади |
3.21. В составе группы служебно-бытовых помещений следует предусмотреть комнату персонала (отдыха и питания) из расчета 0,02 м2 на 1 м2 нормируемой площади в предприятиях нормируемой площадью до 2000 м2, служебные помещения (кабинеты) - из расчета 0,03 м2 на 1 м2 нормируемой площади в предприятиях нормируемой площадью до 1000 м2, на каждый последующий 1 м2 - 0,02.
3.22. Соотношение основных структурных элементов в различных типах предприятий бытового обслуживания населения определяется в зависимости от места и назначения предприятия в системе обслуживания, форм и методов обслуживания, принятой прогрессивной технологии производственных процессов. Обобщенная структурная модель предприятия бытового обслуживания предусматривает следующие помещения: производственные, подсобно-складские, помещения для посетителей, вспомогательные помещения (выставочные залы, залы просмотра кинопленок, помещения для проката музыкальных инструментов, пишущих машинок, диспетчерская, разгрузочная, служебно-бытовые помещения (конторские помещения, гардеробные, душевые, уборные, помещения для приема пищи и отдыха персонала и т.п.).
3.23. В залах для посетителей рекомендуется предусматривать рабочие места для экспресс-обслуживания населения: ремонт обуви, часов, мелкой бытовой техники. При этом следует изолировать шумные и пыльные производства.
3.24. В залах ожидания салонов-парикмахерских, фотографий, ателье изготовления одежды, прачечных самообслуживания, как правило, предусматриваются гардеробы для посетителей из расчета 3 крючка на 1 рабочее место в парикмахерских, 50 крючков - в фотографии, осуществляющей групповые съемки, 3 крючка на 1 рабочее место закройщика в ателье изготовления одежды и трикотажных изделий, 20 крючков на 100 кг белья в прачечных самообслуживания.
Допускается устройство гардеробов самообслуживания непосредственно в рабочих залах парикмахерских и прачечных самообслуживания. В залах ожидания ателье по изготовлению одежды и трикотажных изделий следует предусматривать примерочные кабины из расчета 1 кабина размером 1,7 x 2 м на 1 рабочее место закройщика в мастерских ремонта одежды, в отделениях химчистки и прачечной самообслуживания - 1 примерочная кабина размером 1,5 x 1,5 м на предприятие. В ателье изготовления обуви - 1 примерочная кабина размером 1,7 x 2 м на предприятие.
Площади гардеробов и примерочных кабин входят в нормируемую площадь для посетителей.
3.25. В фотографии, в зале ожидания следует выделять зону подготовки посетителей к съемке. При фотографии допускается предусматривать помещение площадью 3 м2 для обработки фотоматериалов самообслуживанием. Количество таких помещений определяется заданием на проектирование.
3.26. Группу производственных процессов по санитарной характеристике следует принимать согласно табл. 8.
Таблица 8
Помещение и виды услуг | Группа по санитарной характеристике производственных процессов |
1 | 2 |
Помещения для посетителей | |
Приемщики заказов фотографий, фоторабот, проката, пошив и ремонт одежды, трикотажных изделий, в пошив обуви, в ремонт бытовой техники и радиоэлектронной аппаратуры, бюро обслуживания, продавец полуфабрикатов, по выдаче готовых заказов после химической чистки и стирки | Iа |
Приемщики заказов на ремонт обуви, прием одежды в химчистку и стирку | Iб |
Фотография | |
Фотографы, лаборанты по обработке черно-белых и цветных негативов, печати, ретуши, изготовлению портретов под пленкой, контрольно-измерительной и экспериментальной лаборатории | Iа |
Мастера по керамике, на ручных и картонажных работах, кладовщики | Iб |
Рабочие по составлению растворов, регенерации серебра, лаборанты аналитической лаборатории | IIа |
Парикмахерская | |
Парикмахер, маникюрша, педикюрша, косметолог | Iа |
Пастижер | Iб |
Прокат | |
Кладовщики, приемщик, инструктор | Iа |
Изготовление и ремонт одежды, трикотажных изделий | |
Рабочий по пошиву и ремонту одежды, трикотажных изделий, головных уборов; закройщик, штопальщик, вязальщик на ручных машинах, котельщик | Iа |
Рабочий на мотельных операциях, на механизированных вязальных машинах, на раскройной ленточной машине, порщик, на скорняжных операциях | Iб |
Рабочий на влажно-тепловой обработке, по декатировке тканей, по плиссеровочно-гофрировочным операциям | IIа |
Изготовление и ремонт обуви, кожгалантереи | |
Закройщик, модельер, рабочий по заготовке деталей верха обуви, кожгалантереи без клеевых операций | Iа |
Рабочие по ремонту и пошиву всех видов обуви, по заготовке верха обуви, кожгалантереи с клеевыми операциями, колодочник, рабочий по разрубу и обработке деталей, по окраске обуви, по комплектовке и сортировке | Iб |
Ремонт бытовых машин и приборов, металлоизделий | |
Мастер по ремонту часов, ремонту и изготовлению ювелирных изделий | Iа |
Мастер по ремонту бытовых машин, металлоизделий | Iб |
Рабочий по сварке | IIб |
Рабочий по снятию краски | IIв |
Рабочий по плавке материалов ювелирных производств | IIа |
Рабочий по мойке узлов и деталей часов, машин, приборов, по окраске корпусов машин | IIб |
Ремонт радиоэлектронной радиоаппаратуры | |
Радиомеханик, радиомонтер, рекламатор метролог, сортировщик, кладовщик | Iа |
Химическая чистка, крашение одежды, стирка белья | |
Рабочий по сортировке, комплектовке готовых заказов | Iа |
Рабочий по первичной сортировке и комплектовке заказов, по обеспыливанию и чистке ковровых изделий, по обработке пухо-перовых изделий, по приготовлению красителей и моющих растворов, в насосной растворителей и в складских помещениях | Iб |
Рабочий по обслуживанию машин химчистки (аппаратчик), по пятновыведению | IIIб |
Рабочий по стирке и крашению в водных растворах, в том числе ковров, рабочий по отделке гардинно-тюлевых изделий на раме и прессах | IIв |
Рабочий по глажению одежды и изделий на прессах и манекенах, по сушке изделий в машинах и кулисных сушилках, по обработке изделий из натурального меха | IIа |
Вспомогательные помещения | |
Рабочий ремонтно-механической мастерской, дежурный слесарь, электрик, уборщицы, транспортные рабочие | Iб |
3.27. В производственных помещениях ориентировочную нормативную равномерно распределенную нагрузку от оборудования, людей, складируемых материалов по видам услуг принимать по табл. 9.
Таблица 9
Виды услуг | Ориентировочная нагрузка, кг/сут |
Ремонт и пошив швейных и трикотажных изделий | 300 - 400 |
Ремонт и пошив обуви | 300 - 500 |
Ремонт бытовых машин и приборов, бытовой радиоэлектронной аппаратуры | 300 - 400 |
Химическая чистка и крашение одежды и стирка белья | 300 - 500 |
Фотография, парикмахерская, прокат | 300 - 400 |
Склады готовой продукции (швейных и трикотажных изделий, обуви, принятых и готовых заказов предприятий химчистки) | 500 |
Склады материалов (тканей, кожи, запчастей к бытовой технике, фотоматериалов, химикатов, бумаги, белья в прачечных | 1200 |
Склады ремфонда и готовой продукции, радиоэлектронной бытовой техники, бытовых машин и приборов, предметов проката | 800 |
3.28. Нагрузки от технологического оборудования, людей, складируемых материалов необходимо определять с учетом предлагаемой проектом организации производств и расстановки оборудования. Ориентировочная нормативная равномерно распределенная нагрузка от оборудования, людей, складируемых материалов приведена в табл. 10.
Виды услуг и помещения | Ориентировочная нормативная нагрузка, Па |
Фотография | |
Съемочный зал, репродукционная, помещение резки, сборки фотоальбомов, сортировки, ретуши | 3000 |
Помещение обработки фотоматериалов, спецработ, мойки, окончательной обработки, составительная растворов, контрольно-измерительная и аналитическая лаборатория, картонажное отделение, экспедиция | 4000 |
Кладовая фотоматериалов, химикатов | 8000 |
Парикмахерская | |
Рабочие залы, кабинеты, подсобное помещение | 3000 |
Кладовые белья, парфюмерии | 8000 |
Прокат | |
Кладовые | 8000 |
Комнаты и помещения почасового проката | 2000 |
Мастерские "сделай сам" | 4000 |
Изготовление и ремонт одежды, трикотажных изделий | |
Закройные отделения пошива и ремонта, вязки на ручных машинах | 3000 |
Отделение вязки на механизированных машинах и влажно-тепловой обработки | 4000 |
Кладовые пряжи, принятых и готовых швейных и трикотажных изделий, участок запуска | 5000 |
Кладовая тканей | 12 000 |
Изготовление и ремонт обуви и кожгалантереи | |
Отделения закройно-заготовочное, срочного ремонта обуви и кожгалантереи | 4000 |
Участки запуска и комплектовки, отделения среднего и крупного ремонта обуви, пошива обуви, колодочная | 5000 |
Склады принятой и готовой продукции (обуви) | 5000 |
Склады материалов | 12 000 |
Ремонт бытовых машин и приборов, часов, металлоизделий | |
Отделения ремонта часов, малогабаритных бытовых машин и приборов, изготовления и ремонта ювелирных изделий | 4000 |
Отделения ремонта бытовых машин, металлоизделий, участки мойки узлов и деталей | 5000 |
Кладовые ремфонда, готовых изделий, запчастей и материалов | 12 000 |
Ремонт бытовой радиоэлектронной аппаратуры | |
Отделения ремонта РТА | 4000 |
Склады готовой и принятой аппаратуры, материалов | 8000 |
Химическая чистка одежды, стирка белья | |
Отделения обработки химической чистки и крашения одежды, ковровых и других изделий, стирки белья, влажно-тепловой обработки, сушки и глажения, приготовления моющих растворов и красителей | 5000 |
Кладовые принятых и готовых изделий | 5000 |
Склады материалов и химикатов | 8000 |
Склад растворителя в бочках | 12 000 |
Ремонтно-механическая мастерская, насосная, компрессорная | 5000 |
3.29. Состав групп производственных помещений и процессов изготовления, ремонта и обновления одежды следует принимать по табл. 11.
Таблица 11
Функциональное назначение помещения | Группы производственных процессов |
раскрой | изготовление и ремонт | скорняжные работы | утепление одежды | распорка | утюжка |
Верхняя одежда | + | + | + | + | - | + |
Легкое платье | + | - | - | - | - | - |
Меховые изделия | + | + | - | - | - | - |
Сангалантерея | + | + | - | - | - | - |
Драпировка | + | + | - | - | - | - |
Плиссе-гофре | + | + | - | - | - | - |
Ремонт одежды | - | + | - | - | + | + |
Количество работающих по группам производственных процессов определяется по принятой технологии изготовления видов одежды. Отделка изделий при ремонте одежды, как правило, осуществляется в общем производственном помещении.
3.30. Группы производственных участков (районные, швейные, окончательной отделки) допускается объединять по однородным видам одежды (верхняя мужская и женская одежда, легкое платье и сангалантерейные изделия и т.п.). Закройные и закройно-скорняжные отделения размещают между помещениями для посетителей и основными рабочими помещениями по изготовлению одежды.
3.31. Участок отделки изделий размещается смежно с отделениями по изготовлению верхней одежды.
Глубина производственных помещений по изготовлению одежды при одностороннем естественном освещении рекомендуется не более 10 м, при соблюдении норм естественной освещенности.
3.32. Изготовление и ремонт трикотажных изделий включает следующие группы производственных процессов:
закройные работы;
вязку трикотажного полотна на механизированных машинах и полуавтоматах;
вязку трикотажных изделий на ручных вязальных машинах;
пошив изделий;
ремонт изделий;
влажно-тепловую обработку трикотажного полотна и готовых изделий.
Вязку трикотажного полотна на механизированных машинах следует выделять в изолированное помещение с обеспечением нормативных уровней шума в помещении.
3.33. Изготовление обуви включает следующие группы производственных процессов:
закройные работы;
заготовка деталей верха обуви;
подбор колодок;
пошив обуви;
выборку изделий.
Вырубочное отделение предусматривается в крупных специализированных предприятиях по изготовлению обуви.
3.34. В ателье изготовления обуви нормируемой площадью до 300 м2 детали низа обуви поступают централизованно.
Ремонт обуви включает, как правило, участок срочного ремонта обуви в присутствии заказчика и приемный пункт обуви в ремонт.
Отделение среднего и крупного ремонта обуви предусматривается в случае отсутствия в городе или поселке специализированного предприятия по ремонту обуви.
Участок срочного ремонта обуви размещается в зале приема и выдачи заказов и организуется по принципу "каблучный бар".
3.35. Парикмахерские включают рабочие залы: мужской, женский, детский, участки мойки и окраски волос, кабинеты маникюра, педикюра, косметики, отделение пастижерных работ.
Величина и состав парикмахерской определяются заданием на проектирование.
В мужском зале мойка волос осуществляется у рабочих мест парикмахеров. В женском зале - у рабочих мест парикмахеров или в выделенном помещении для мойки и окраски волос.
Площадь для установки сушуаров для сушки волос входит в общую площадь рабочих залов. При устройстве специальных помещений для сушки волос площадь рабочего зала следует уменьшать на 2 м2 на 1 рабочее место парикмахера в рабочем зале.
Рабочее место маникюрши может размещаться в рабочем зале.
3.36. Подсобное помещение, как правило, размещается смежно с мужским и женским залами, на одной с ними отметке.
Допускается проектировать самостоятельные подсобные помещения при каждом рабочем зале, смежно с ними.
В парикмахерских нормируемой площадью 150 м2 и менее допускается объединять площади подсобного помещения и кладовых белья и парфюмерии.
3.37. Фотографии и фотолаборатории включают: съемочные залы групповой, детской и документальной съемок; помещения для обработки цветных и черно-белых негативных и позитивных фотоматериалов; помещение мойки, сушки и глянцевания отпечатков; помещения ретуши негативов и позитивов; помещение спецфоторабот (изображение на керамике, портреты под пленкой, фотосувениры); помещение репродуцирования.
Помещение проявки, сушки и глянцевания отпечатков размещается смежно с помещениями обработки черно-белых и цветных позитивов.
В группу кладовых и подсобных помещений фотографий входят кладовые фотоматериалов, химикатов и составительская растворов для фотографий нормируемой площадью.
3.38. В группу услуг проката входят: прокат предметов домашнего, культурного и спортивного назначения; комнаты почасового проката музыкальных инструментов, швейных и пишущих машинок и т.п.; мастерские "сделай сам" (столярная, слесарная, швейная, машинописная и т.п.); залы проведения семейных мероприятий с подсобными помещениями; залы оздоровительной гимнастики, тренеров; бильярдные; залы игровых автоматов.
3.39. В группу подсобно-складских помещений входят кладовые принятых и готовых заказов, материалов, помещения для подготовки и разборки заказов и т.п.
3.40. При организации пункта проката предметов домашнего обихода с выбором предметов по принципу "самообслуживания" зал для посетителей изолируется от залов других видов услуг. При этом частично площадь кладовых (до 50%) может быть добавлена к площади зала для посетителей.
3.41. Объемно-планировочное решение пункта прачечной при применении контейнерного способа транспортировки белья должно обеспечивать свободное перемещение контейнеров с автотранспорта в помещение хранения белья и обратно.
3.42. Состав и площади помещения приемных пунктов даны в табл. 12. Площадь помещений хранения белья в зависимости от планируемого графика вывозки белья может рассчитываться на 1 - 3-сменный запас. При контейнерной транспортировке белья предусматривается помещение для хранения контейнеров в приемном пункте. Площадь одного контейнера загрузочной массой 72 кг белья принимать 0,77 м2 (в плане 1,1 x 0,7 м), высота контейнера 1,75 м.
Таблица 12
Помещение | Норма площади на 100 кг принятого и выданного белья в смену, м2 |
Прием, сортировка и хранение грязного белья | 6 |
Подборка, хранение и выдача чистого белья | 5 |
Зал ожидания для посетителей: | |
прием белья | 2 |
выдача | 1,5 |
3.43. Технологическая часть проекта прачечной должна содержать исходные сведения по следующей номенклатуре: число обслуживаемых заказчиков (объемы), ассортимент белья (прямое, фасонное), последовательность обработки, годовой фонд времени и режим (сменность) работы, годовой расход моющих, отбеливающих, отделочных материалов (мыло, синтетические моющие средства, сода, отбеливатели, синька, крахмал и т.д.); нормативная численность рабочих и служащих.
3.44. Проектная производственная мощность прачечной устанавливается по пропускной способности его ведущего звена - стирального участка. Производственная мощность сушильно-гладильного участка должна соответствовать мощности стирального с тем, чтобы выстиранное белье в необходимом объеме было обработано на последующих стадиях технологического процесса.
3.45. Исходными показателями для расчета производственной мощности являются:
производительность установленного оборудования (паспортная) в смену;
эффективный фонд времени работы оборудования, определяемый с учетом числа выходных, праздничных дней в году, планируемых затрат рабочего времени на ремонт оборудования, числа смен.
3.46. При проектировании новых и реконструкции действующих прачечных следует руководствоваться действующими "
Правилами технической эксплуатации бань и прачечных", утвержденными Минжилкомхозом РСФСР.
3.47. На пунктах ширину проходов между сторонами стеллажей, ячеек, рядами контейнеров предусматривать 0,8 м.
3.48. Размещать приемный пункт в подвальных помещениях и совмещать входы в приемные пункты со входами в подъезды с жилыми квартирами не допускается. Входы должны оборудоваться тамбурами.
3.49. Защиту от атмосферных осадков партий белья, выгружаемых (загружаемых) в автотранспорт прачечной, следует обеспечивать устройством навеса в месте выгрузки (загрузки) белья.
3.50. Планировочные решения пунктов прачечной должны предусматривать изолированные друг от друга отделения приема грязного и выдачи чистого белья. Входы для сдачи грязного и получения чистого белья выполняются раздельными.
3.51. Для приема и выдачи белья оборудуются удобные для работы прилавки с окнами или кабины.
Помещения ожидания обставляются соответствующей мебелью и рекламно-информационными стендами.
3.52. Помещение приема, сортировки и хранения грязного белья при бесконтейнерном способе транспортировки оборудуется низкими стеллажами-решетками, поднятыми над уровнем пола на 150 мм, весами и приспособлениями для загрузки белья в мягкую тару (мешки). Зона хранения разделяется вертикальными решетками на отдельные отсеки (для белья населения, прокатного и т.п.).
3.53. Помещение подборки и хранения чистого белья оборудуется стеллажами, столами и т.п.
При хранении прокатного белья стеллажи разделяются по видам белья: постельное, столовое, специальное и др.
Рекомендуемая высота стеллажей 1800 - 2200 мм, ширина - в зависимости от размеров помещений, глубина стеллажей, стоящих у стен, - 500 - 600 мм, а находящихся на расстоянии от них, - 1000 - 1200 мм.
3.54. Наиболее распространенная производительность вновь строящихся прачечных самообслуживания - 125, 250 и 500 кг белья в смену. При размещении прачечных в существующих помещениях (прачечные, бани и т.д.) производительность определяется площадью помещений.
3.55. В прачечных предусматриваются следующие основные помещения (или выделяют площади): вестибюль; гардероб для посетителей; ожидальная-приемная для оформления заказов на пользование оборудованием; стиральное и сушильно-гладильное отделения; кладовая стиральных материалов; инструкторская; душевая; санузел и бытовые помещения обслуживающего персонала.
Кроме того, предусматриваются помещения для вентиляционных установок, электрощитовой, электрослесарной мастерской и другие вспомогательные и подсобные помещения (определяются заказчиком и размещением прачечной - отдельно расположенной или встроенной).
По требованию заказчика возможна установка платного душа для посетителей.
3.56. Возможно размещение прачечных самообслуживания с производством всех технологических операций - стирка с отжимом, сушка и глажение - в одном помещении суммарной площадью. Оборудование в этом случае размещается в соответствии с последовательностью обработки белья. Часть помещения может использоваться как ожидальная.
БАНИ И БАННО-ОЗДОРОВИТЕЛЬНЫЕ КОМПЛЕКСЫ
3.57. Площадь помещений бань и банно-оздоровительных комплексов приведена в табл. 13.
Таблица 13
Группы помещений бань и банно-оздоровительных комплексов | Площадь на 1 место, м2, по группам помещений |
вестибюль с гардеробной | зал для ожидания | раздевалки | мыльные | душевые (открытые) | душевые (закрытые кабины) | ванные (закрытые кабины) | парильные | бассейн |
Баня | 0,6 | 0,4 | 2 | 2,7 | 2,2 | - | - | 3 | - |
Плавательный бассейн | 0,6 | 0,4 | 2 | - | 2,2 | - | - | 3 | 4,5 зеркало воды, 7,5 с обходными дорожками |
Номера | 0,6 | 0,4 | 4 | 2,5 | - | - | - | 4 | 4 (на 1 номер) |
Ванно-душевой блок | 0,6 | 0,4 | - | - | - | 3,3 | 4,8 | - | - |
Оздоровительно-профилактическое помещение | 0,6 | 0,3 | - | - | 30 на помещение душевой | - | 9,2 (с учетом служебного коридора) | - | - |
Примечания. 1. При строительстве бань и банно-оздоровительных комплексов в союзных и автономных республиках допускается отступление от ВСН в части технологического состава и размера основных помещений с учетом климатических условий, национальных традиций.
2. На каждые 10 мест раздевальной бани следует принимать 7 мест в мыльной или душевой (при посеансном обслуживании 10 мест) и 3 места в парильной (при посеансном обслуживании 4 места).
3. Площадь помещений принимать не менее 6 м2.
4. Площадь одного помещения парильной не должна превышать 24 м2.
5. В раздевальных на 50 мест и более следует предусматривать место для оператора-мозолиста.
6. В площади раздевальной учтена площадь для размещения весов, умывальника (по одному на отделение), фена, ножного душа (по одному на 25 мест, но не менее одного на раздевальную), место для оператора-мозолиста (на 50 мест и более).
7. В площади мыльной учтена площадь для размещения водоразборной колонки, обмывочного душа в открытой кабине, места для банщика, места для инвалидов и посетителей с детьми (из расчета одна водоразборная колонка на 6 мест в мыльной, один обмывочный душ на 12 мест, но не менее одного на мыльную, по одному месту для посетителей с детьми и инвалидов на каждые 20 мест, но не менее одного на мыльную). В площади раздевальной номера учтена площадь для отдыха.
3.58. В отделениях бань до 25 мест рекомендуется объединять раздевальные с ожидальными.
3.59. В банях более чем на 20 мест допускается предусматривать дополнительную площадь для размещения микробассейна в мыльных из расчета 4 м2 на баню.
3.60. Купально-плавательный бассейн в банно-оздоровительном комплексе следует принимать, как правило, из расчета на каждые 10 мест бани 2 места.
3.61. Площадь водной поверхности купально-плавательного бассейна не должна превышать 300 м2, глубина от 0,8 до 1,5 м, форма ванной бассейна допускается произвольная.
3.62. При обособленном размещении бассейна и автономной эксплуатации его предусматривать раздевальные и обмывочные души из расчета 1 место в раздевальной на каждого посетителя и 1 душевая сетка на четырех посетителей. В составе детских отделений следует предусматривать плескательные бассейны произвольной формы площадью водной поверхности 10 м2, глубиной не более 0,25 м.
3.63. В банно-оздоровительных комплексах на 100 и более мест допускается проектировать оздоровительно-профилактическое отделение (на каждые 10 мест банно-оздоровительного комплекса одно место в оздоровительно-профилактическом отделении) в составе оздоровительных душей и ванн, массажных кабинетов (9 м2 на 1 кабинет), комнат отдыха (18 м2 на 1 комнату), кабин фотария, залов для занятий оздоровительной гимнастикой с душевыми и парильными по расчету.
3.64. В банях и банно-оздоровительных комплексах следует предусматривать помещения бытового обслуживания, питания, вспомогательные и подсобные помещения. Состав и площади помещений принимать по табл. 14.
Таблица 14
Помещение | Площадь на единицу измерителя, м2 |
до 50 мест | от 50 мест и более |
1 | 2 | 3 |
Бытовое обслуживание | | |
Парикмахерская (на 1 место предприятия) | 1 | 0,8 |
Мелкий ремонт одежды (на 1 предприятие) | 15 | 20 |
Прокат банно-купальных принадлежностей (на 1 предприятие) | 10 | 15 |
Общественное питание | | |
Буфет (на 1 предприятие) | 0,2 | - |
Кафе (на 1 предприятие) | - | 0,5 |
Вспомогательные и подсобные | | |
Кабинет директора (на 1 предприятие) | - | 12 |
Контора (на 1 предприятие) | 12 | 18 |
Медпункт (на 1 предприятие) | - | 12 |
Комната инструктора | - | 12 |
Комната обслуживающего персонала мыльные и душевые (на 1 отделение) | 6 | 6 |
Комната приема пищи персонала (на 1 предприятие) | 0,2 | 0,2 |
Кладовые для белья, кладовая для моечных принадлежностей, кладовая для уборочного инвентаря (на 1 предприятие) | 0,3 | 0,3 |
Слесарная мастерская (на 1 предприятие) | - | 12 |
Примечание. В банях и банно-оздоровительных комплексах на 50 мест и более следует предусматривать прачечные срочной стирки из расчета 1 - 1,5 кг сухого белья в смену на 1 место.
3.65. Бани на 20 мест и более должны иметь мужское и женское отделения. Вестибюли и гардеробы могут быть общими для мужского и женского отделений.
Бани менее 20 мест допускается проектировать с одним отделением для попеременного обслуживания мужчин и женщин.
В банях и банно-оздоровительных комплексах с числом мест от 50 до 200 в женских отделениях необходимо предусматривать места для посетителей с детьми, а в банях и банно-оздоровительных комплексах на 200 мест и более - детские отделения из расчета 5% вместимости. Входы, вестибюли и гардеробные детских отделений допускается объединять с общими вестибюлями и гардеробными. В составе детских отделений могут предусматриваться плескательные бассейны произвольной формы площадью водной поверхности 10 м2, глубиной не более 0,25 м.
В камерах следует принимать на каждые 2 места раздевальной по одному месту в мыльной (душевой) и парильной.
Устройство парильных в детских отделениях не допускается.
3.66. Уборные для посетителей следует предусматривать в раздевальных и в ожидальнях закрытых ванных и душевых кабин по 1 уборной на отделение.
Рекомендуется предусматривать при купально-плавательном бассейне парильные из расчета на каждые 10 мест в бассейне - 2 места в парильной.
3.67. Бани на 20 мест и более проектировать с учетом возможности использования их в качестве санитарных пропускников, для чего должны быть предусмотрены:
запасные двери между женским и мужским отделениями в мыльных и душевых;
в мыльных, в проходах между скамьями - специальные обмывочные души;
при выходе из мыльной и душевой в раздельную чистой половины санпропускника - душевые установки для дополнительного обмыва;
устройства для периодической дезинфекции помещений и оборудования;
на земельном участке - специальные площадки 0,06 га для бань на 50 и более мест и 0,1 га для бань свыше 50 мест;
в банях на 200 мест и более - стационарные дезинфекционные камеры. Состав помещений и оборудование дезинфекционных камер определяются специальным заданием. Помещения приема необработанной одежды должны быть смежными с соответствующими раздевальными.
3.68. Входы в мыльные, душевые и купально-плавательные бассейны должны предусматриваться через тамбуры.
3.69. Помещения с мокрым режимом следует располагать друг под другом, запрещается размещать их над помещениями, в которые недопустимо проникновение воды.
4. Конструкции и отделка помещений
с мокрым и влажным режимами работы
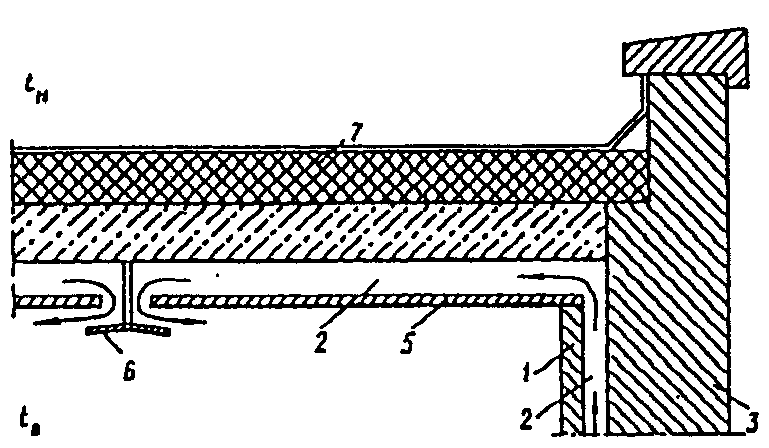
4.1. Ограждение конструкций зданий и помещений с мокрым и влажным режимами (парильные, мыльные, душевые и ванные помещения), раздевальные, помещения бассейнов, уборные должны быть из водостойких, невлагоемких и биостойких материалов без пустот и замкнутых воздушных прослоек или каналов. Допускается устройство вентилируемых воздушных прослоек и каналов, обеспечивающих осушающий режим в конструкциях (
рис. 1, Прил. 6).
4.2. Наружные ограждающие конструкции помещений с мокрым и влажным режимами должны иметь с внутренней стороны парогидроизоляцию из биостойких материалов.
Парогидроизоляционный слой следует размещать непосредственно на внутренней поверхности ограждения или в его толще, но не глубже плоскости, температура которой равна точке росы внутреннего воздуха (под прижимной стенкой, отделочным слоем и другими слоями). Им необходимо покрывать поверхности оконных проемов до наружной стороны их заполнений, а также внутренних стен и потолков на ширину, равную не менее 0,5 м.
4.3. Для защиты ограждающих конструкций от увлажнения эксплуатационной влагой рекомендуется применять воздушную парогидроизоляцию, представляющую собой воздушную прослойку, расположенную у внутренней поверхности изолируемого ограждения (со стороны помещения) и вентилируемую подогретым сухим воздухом принудительной системы вентиляции здания. Воздух в прослойку подается из нее с другой стороны непосредственно в помещение. Параметры воздушной парогидроизоляции определяются расчетом
(Прил. 6).
Воздушную парогидроизоляцию целесообразно устраивать как во всех типах (стены, бесчердачные крыши, чердачные перекрытия), так и отдельно в каждом типе ограждающих конструкций, строящихся и эксплуатируемых зданий.
В конструкциях с воздушной парогидроизоляцией в процессе эксплуатации создается осушающий режим, поэтому в них не требуется устраивать специальную традиционную (окрасочную, мастичную и оклеечную) парогидроизоляцию.
Воздушная парогидроизоляция позволяет возводить стены мокрорежимных помещений из эффективных теплоизоляционных материалов и силикатного кирпича.
Бесчердачные крыши с внутренним водостоком и воздушной парогидроизоляцией могут возводиться без вентилируемого воздушного подкровельного пространства.
Воздушная парогидроизоляция исключает образование конденсата на внутренних поверхностях ограждающих конструкций.
4.4. В зданиях с мокрорежимными помещениями следует предусматривать чердачную крышу с естественной вентиляцией чердака через специальные отверстия в карнизной части стен (под свесом кровли) и коньке (
рис. 2, Прил. 6). Допускается устраивать бесчердачную крышу с интенсивной естественной вентиляцией подкровельного пространства, предотвращающей конденсацию водяных паров на холодных поверхностях воздушной прослойки, или с воздушной парогидроизоляцией.
Для устранения обледенения наружных водоотводящих устройств площадь вентиляционных отверстий в чердачных и бесчердачных крышах следует определять расчетом по методике, изложенной в
Прил. 6.
4.5. Оконные проемы помещений с мокрым и влажным режимами рекомендуется располагать в стенах не ниже чем 1,2 м над уровнем пола и устраивать без подоконных досок. Необходимо обеспечить свободный сток конденсата с загрушины межрамного пространства и подоконника светопроемов в помещение.
4.6. Стекла в переплеты должны устанавливаться на водостойких замазках или специальных уплотняющих прокладках. Следует предусмотреть тщательную герметизацию притворов внутренних переплетов упругими прокладками из пенополиуретана или губчатой резины и других высококачественных материалов.
4.7. Между заполнением из стеклоблоков и стеной должны быть предусмотрены зазоры для погашения температурных напряжений в остеклении, заполняемые биостойкими упругими прокладками. С внутренней и наружной сторон их следует дополнительно заделать нетвердеющими герметизирующими мастиками.
4.8. С целью устранения интенсивной конденсации водяных паров на оконном заполнении целесообразно устраивать дополнительный слой остекления (переплет) и вентиляцию образовавшегося межрамного пространства воздухом из вентилируемой воздушной прослойки стены (см.
п. 4.2). Воздух из оконной прослойки рекомендуется выводить в помещение через отверстия в обвязке внутреннего переплета.
4.9. Заполнения оконных и дверных проемов в помещениях с мокрым и влажным режимами рекомендуется устраивать из водостойких и биостойких материалов. Допускается предусматривать оконные переплеты из антисептированной древесины хвойных пород, защищенных от увлажнения лакокрасочными и другими влагонепроницаемыми покрытиями.
5. Инженерное оборудование
Водоснабжение и канализация
5.1. В предприятиях бытового обслуживания населения качество воды должно удовлетворять требованиям государственного стандарта на питьевую воду.
5.2. В предприятиях бытового обслуживания населения системы бытового и производственного водоснабжения проектируются совмещенными, а при необходимости очистки сточных вод, умягчения воды для технологического процесса или подогрева ее до температуры выше 75 °C - раздельными.
Расход воды производственным оборудованием принимается по технологическим нормам.
5.3. В прачечных самообслуживания и срочной стирки белья нормируемой площадью 500 м2 (производительностью 500 кг в смену) допускается применять воду жесткостью до 7,2 мг-экв./л.
5.4. Для прачечных самообслуживания и срочной стирки белья до 500 кг в смену и бань до 200 мест предусматривается один ввод водопровода, для бань и банно-оздоровительных комплексов свыше 200 мест - два ввода.
5.5. В канализационных районах населенных пунктов необходимо предусматривать устройство локальных очистных сооружений. Метод и степень очистки сточных вод должны определяться в зависимости от местных условий.
Очистные сточные воды, сбрасываемые в водоемы, должны отвечать требованиям "Правил охраны поверхностных вод от загрязнения сточными водами".
5.6. В банях и банно-оздоровительных комплексах следует предусматривать две системы водопровода: хозяйственно-питьевую от наружных сетей; производственную - от запасных уравнительных баков.
К системе производственного водопровода следует присоединять водоразборные колонки и душевые сетки, устанавливаемые в мыльных. К системе хозяйственно-питьевого водопровода следует присоединять все остальные санитарные приборы, а также внутренние и наружные поливочные краны.
5.7. Запасные уравнительные баки холодной и горячей воды при водоснабжении от городского или поселкового водопровода должны быть рассчитаны на получасовой расход воды, а при водоснабжении из местных водоисточников - на часовой расход воды.
5.8. В купально-плавательных бассейнах рекомендуется предусматривать водообмен с рециркуляцией воды (многократное использование с очисткой, дезинфекцией и одновременным пополнением убыли свежей водой).
Для микробассейнов должны применяться проточные схемы водоснабжения с обязательной дезинфекцией воды.
Водообмен методом периодических наполнений и опорожнений не допускается.
5.9. Отвод сточных вод с полов помещений с мокрым режимом (в том числе с поверхностей обходных дорожек купально-плавательных бассейнов) следует предусматривать через трапы диаметром 50 и 100 мм. Трапы должны предусматриваться из расчета: один трап диаметром 50 мм на 1 - 2 душа; по одному трапу диаметром 100 мм - на 3 - 4 душа и на 10 - 12 мест в мыльной и парильной; при расположении трапов в лотках - по одному трапу диаметром 100 мм на 8 душей и на 2 ванны.
В тамбурах между раздевальными и мыльными или душевыми следует предусматривать трапы диаметром 50 мм. На проходах в мыльных устанавливать трапы не допускается.
Сток из ванн осуществляется непосредственно в лотки или трапы.
Теплоснабжение, отопление, вентиляция,
кондиционирование воздуха и электрооборудование
5.10. В предприятиях бытового обслуживания населения расчетную температуру воздуха и кратность воздухообмена в помещениях следует принимать в соответствии с табл. 15.
Таблица 15
Помещение | Расчетная температура воздуха в помещении (для холодного периода года) | Кратность воздухообмена, в/ч |
приток | вытяжка |
1 | 2 | 3 | 4 |
А. Производственные | | |
Изготовление и ремонт одежды, головных уборов, трикотажных изделий | 15 | По расчету |
Скорняжные работы, гофре и плиссе | 18 | 2 | 2 |
Изготовление, ремонт обуви и галантереи | 15 | 2 | 3 |
Химическая чистка одежды | | По расчету, но не менее: |
срочная | 16 | 13 | 15 |
самообслуживание | | | |
Техническое помещение для обезжиривающих машин | 16 | 4 | 15 |
Лаборатория | 18 | 2 | 3 |
Срочное выведение пятен | 16 | 8 | 10 |
Стирка белья самообслуживанием, срочная стирка белья | 15 | По расчету, но не менее: |
10 | 13 |
Ремонт металлоизделий, бытовых машин, часов, фотоаппаратуры, музыкальных инструментов, переплетные работы | 18 | 2 | 3 |
Ремонт бытовой радиоэлектронной аппаратуры | 18 | 4 | 5 |
Фотографии | 18 | 1 | 2 |
Обработка фотоматериалов: | | | |
черно-белых | 18 | 2 | 3 |
цветных | 18 | 8 | 10 |
Ремонт изделий из пластмасс, граверные работы | 18 | 1 | 2 |
Прокат предметов домашнего обихода и культурно-бытового назначения | 18 | 1 | 2 |
Парикмахерские с нормируемой площадью, м2: | | | |
до 50 | 18 | - | 1 |
до 100 | 18 | 1 | 2 |
100 и более | 18 | 2 | 3 |
Помещения для сушки волос | 18 | По расчету |
Студия звукозаписи (зал звукозаписи, аппаратная, кабинет перезаписи) | 18 | 2 | 2 |
Машинописное бюро | 18 | 3 | 3 |
Бюро обслуживания | 18 | 1 | 2 |
Демонстрационный зал | 18 | 2 | 2 |
(но не менее 20 м3/ч на 1 чел.) |
Костюмерная | 16 | - | 1,5 |
Биллиардная | 16 | 2 | 3 |
Зал для проведения семейных мероприятий | 16 | 3 | 3 |
(но не менее 20 м3/ч на 1 чел.) |
Б. Для посетителей | | | |
Залы ожидания и приемные | 18 | По балансу со смежными помещениями |
Помещения приема белья в стирку | 16 | 1 | 2 |
Помещение выдачи белья | 16 | 1 | 1 |
В. Кладовые | | | |
Кладовые для хранения принятых и готовых заказов, материалов | 15 | - | 0,5 |
Разгрузочные | 16 | 1 | - |
Примечания. 1. На предприятиях с нормируемой площадью до 200 м2 допускается предусматривать вытяжную вентиляцию с естественным побуждением, если отсутствуют вытяжные системы местных отсосов.
2. Приемные пункты прачечных, встроенных в жилые здания, допускается проектировать с естественной вытяжкой.
5.11. В производственных помещениях с избытком явного тепла следует предусматривать дежурное отопление, рассчитанное на температуру воздуха 10 °C.
5.12. В зданиях предприятий с нормируемой площадью 1000 м2 и более при расчетной температуре наружного воздуха для холодного периода года (расчетные параметры Б) минус 15 °C и ниже тамбуры входов для посетителей должны быть оборудованы воздушными или воздушно-тепловыми завесами.
5.13. Состав и количество вредных выделений, поступающих от технологического оборудования в воздух помещений, типы местных отсосов принимать согласно нормам технологического проектирования или в соответствии с технологической частью проекта.
5.14. При наличии в выбросах от местных отсосов паров перхлорэтилена, трихлорэтилена и других вредных газов в технологической части проекта следует предусматривать рекуперацию паров растворителей с помощью адсорберов на машинах, а также факельный выброс газовоздушной смеси в атмосферу.
5.15. В технические помещения для машин химической чистки следует предусматривать подачу приточного воздуха в количестве не менее четырехкратного объема помещения непосредственно в техническое помещение для машин химической чистки, остальной объем приточного воздуха - в помещение для посетителей или в прилегающее производственное помещение.
5.16. В помещениях срочной химической чистки и в помещениях для посетителей предприятия химической чистки с самообслуживанием удаление воздуха должно предусматриваться из верхней и нижней зон помещений в непосредственной близости от машин химической чистки.
5.17. Общеобменные системы приточной и вытяжной вентиляции производственных помещений и для посетителей допускается предусматривать общими при условии установки обратных клапанов в воздуховодах, обслуживающих помещения категории В.
5.18. В производственных помещениях домов быта нормируемой площадью 4000 м2 и более в IV климатической зоне следует предусматривать оптимальные условия воздушной среды.
5.19. Расчетную внутреннюю температуру и кратность воздухообмена в помещениях пунктов по приему вторичного сырья от населения следует принимать по табл. 16.
Таблица 16
Помещения | Расчетная внутренняя температура воздуха, °C | Кратность воздухообмена в 1 ч |
приток | вытяжка |
Приема вторичного сырья (торговый зал) | 16 | - | 1 |
Хранения вторичного сырья (сортировка по группам, упаковка, хранение) | 16 | - | 1 |
Кладовая стимулирующих товаров | 5 | - | 1 |
Для персонала | 18 | - | 1 |
Примечание. При отсутствии постоянных рабочих мест помещение для хранения вторичного сырья допускается не отапливать.
5.20. Вытяжную вентиляцию во всех помещениях пунктов по приему вторичного сырья от населения следует предусматривать с естественным побуждением.
5.21. При проектировании отопления помещений мыльных, парильных, ванных и душевых, ограждающие конструкции которых не являются наружными стенами, покрытиями или чердачными перекрытиями, следует проверять достаточность числа нагревательных приборов для теплого периода года.
5.22. Температуру воздуха для проектирования систем отопления, а также вентиляции для холодного периода года и кратность воздухообмена в помещениях бань следует принимать по табл. 17.
Помещения | Температура воздуха в помещениях, °C | Кратность воздухообмена в помещениях в 1 ч |
приток | вытяжка |
1 | 2 | 3 | 4 |
Вестибюль с гардеробными | 18 | 2 | - |
Зал для ожидания | 18 | 2 | 1 |
Раздевалки | 25 | 2,5 | 2 |
Мыльные | 30 | 8 | 9 |
Тамбуры между мыльной и раздевальной | 25 | 10 | - |
Душевые (с открытыми кабинами) | 25 | 10 | 11 |
Парильные | 40 | - | 1 |
Парильные сухого жара | 100 | - | 1 |
Ванные кабины (закрытые) | 25 | 6 | 7 |
Душевые кабины (закрытые) | 25 | 10 | 11 |
Помещения купально-плавательных бассейнов | 26 | По расчету |
Помещения оздоровительных душей | 26 | 10 | 11 |
Помещения оздоровительных ванн | 25 | 5 | 4 |
Массажные | 22 | 2 | 3 |
Фотарии | 20 | 3 | 4 |
Комнаты отдыха | 22 | 3 | 3 |
| | ИС МЕГАНОРМ: примечание. В официальном тексте документа, видимо, допущена опечатка: настоящий документ является Пособием к СНиП, а не ВСН. | |
|
Парикмахерские | 18 | |
Мастерские мелкого ремонта одежды | 16 | - | 1 |
Буфеты, кафе | 16 | 3 | 3 |
Кабинет врача | 20 | - | 1 |
Комнаты обслуживающего персонала | 18 | - | 1 |
Комната приема пищи | 18 | - | 1 |
Кладовые | 15 | - | 1 |
Уборные при раздевальнях | 20 | - | 50 м3 на каждый унитаз |
Коагуляционная | 10 | - | 2 |
Электролизная | 16 | 12 | 12 |
Помещения для запасных уравнительных баков для воды | 5 | - | 0,5 |
Насосно-фильтровальные | 16 | 2 | 3 |
Склады реагентов, хозяйственных химикатов и краски | 10 | - | 2 |
Примечания. 1. Для возмещения вытяжки из ванных и душевых кабин следует предусматривать поступление воздуха в них через раздевальные при кабинах. Для этого в верхней части перегородок, разделяющих ванные и душевые кабины, устанавливать жалюзийные решетки.
2. Требуемую температуру воздуха в парильных сухого жара следует достигать установкой электропечей.
5.23. В банях на 50 мест и более обогрев полов помещений раздевальных и обходных дорожек бассейнов обеспечивается регистрами из гладких труб, укладываемыми в конструкцию пола. Температуру поверхности пола и обходных дорожек следует принимать 31 °C.
5.24. Прокладка трубопроводов отопления и теплоснабжения выполняется открытой.
В помещениях с мокрым режимом трубопроводы в местах прохода через стены, перегородки и перекрытия должны быть заключены в гильзы с гидроизоляцией.
5.25. В банях на 200 мест и более, сооружаемых в районах с температурой наружного воздуха минус 15 °C (параметры Б) и ниже, в тамбурах входных дверей следует предусматривать устройство воздушно-тепловых завес.
5.26. Воздухообмены в помещениях купально-плавательных бассейнов и фотариев следует определять из условия удаления излишков явного тепла и влаги при расчетных параметрах наружного воздуха А.
5.27. Приточный воздух во все помещения подается в верхнюю зону, а в помещения купально-плавательных бассейнов - 1/3 в верхнюю зону и 2/3 в нижнюю зону.
5.28. Скорость движения воздуха в зонах пребывания моющихся следует принимать при проектировании не более:
0,15 м/с - в раздевальных, мыльных, душевых, закрытых душевых и ванных кабинах-фотариях;
0,2 м/с - в помещениях купально-плавательных бассейнов, оздоровительных душей и ванн;
0,5 м/с - в остальных помещениях.
5.29. При теплотехнических расчетах ограждающих конструкций следует принимать температуру в помещениях бань в соответствии с
табл. 17; относительную влажность воздуха в служебно-бытовых помещениях - 60; в помещениях раздевальных, ванных, купально-плавательных бассейнов - 70; в мыльных и душевых помещениях - 95; парильных - 85; сухо-воздушных парильных - 30.
5.30. Тип печи-каменки в банях и банно-оздоровительных комплексах определяется заданием на проектирование в соответствии с технико-экономическим обоснованием. Применение печей-каменок на газовом топливе допускается только при условии установки автоматических приборов по обеспечению безопасности горения и определения наличия тяги.
5.31. По степени обеспечения надежности электроснабжения комплекс электроприемников предприятий бытового обслуживания населения нормируемой площадью 1000 м2 и более, предприятий химической чистки и стирки белья нормируемой площадью 300 м2 и более, салонов-парикмахерских нормируемой площадью 200 м2 и более и бань на 50 мест и более относятся ко II категории. Электроприемники других предприятий бытового обслуживания населения относятся к III категории.
5.32. В предприятиях бытового обслуживания населения, прачечных, приемных пунктах вторичного сырья от населения, банях, банно-оздоровительных комплексах следует предусматривать радиотрансляционную сеть и телефонную связь.
5.33. В помещениях для посетителей, в производственных помещениях для изготовления и ремонта одежды, меховых и трикотажных изделий, головных уборов и в производственных помещениях химической чистки в осветительных установках следует применять лампы, обеспечивающие правильную цветопередачу. При необходимости устройства охранного освещения следует использовать светильники аварийного освещения.
5.34. Для отключения электроприемников, расположенных в кладовых для хранения принятых и готовых заказов и складских помещениях вне этих помещений, должен быть установлен общий аппарат управления, обеспечивающий полное обесточивание помещения по окончании работы (независимо от наличия таких аппаратов внутри этих помещений).
5.35. В ателье изготовления и ремонта одежды, обуви, трикотажных изделий нормируемой площадью 1000 м2 и более следует предусматривать оперативную связь. Дома быта, дома моды, ателье нормируемой площадью 3000 м2 и более оборудуются служебно-хозяйственной связью.
5.36. В прачечных и банях следует предусматривать заземление электрооборудования.
5.37. Вестибюли, коридоры, ожидальные, раздевальни, мыльные и душевые отделения оборудуются аварийным и эвакуационным освещением.
5.38. В банях кнопки управления аварийными системами вентиляции электролизной, общеобменной, хлораторной и грязной половины дезинфекционной камеры должны устанавливаться вне этих помещений.
5.39. На предприятиях бытового обслуживания, оборудованных автоматическими системами извещения о возникновении пожара или его тушения, необходимо предусматривать блокирование с ними систем вентиляции с механическим побуждением, кондиционирования воздуха и воздушного отопления для автоматического отключения последних при возникновении пожара.
На предприятиях, не оборудованных указанными автоматическими системами, следует предусматривать централизованное отключение систем вентиляции, кондиционирования и воздушного отопления.
5.40. Для помещений парных рекомендуется применять термостойкий двужильный с медными жилами провод. Для других помещений следует применять провода с алюминиевыми жилами с пластмассовой изоляцией.
5.41. В банях, где для получения сухого пара используется электрическая энергия, следует предусматривать выравнивание потенциала путем укладки в пол парильных помещений сетки, соединенной с глухозаземленной нейтралью источника питания.
5.42. В запасных уравнительных баках для холодной и горячей воды необходимо устанавливать указатели уровня воды со световой и звуковой сигнализацией в узел управления, размещенный в котельной или в помещениях с постоянным пребыванием дежурного персонала.
Дом бытовых услуг - комплексное многоотраслевое предприятие, представляющее населению на месте широкий ассортимент бытовых услуг, услуг избирательного характера и в срочном исполнении, осуществляет прием заказов и заявок на их выполнение предприятиями централизованного выполнения заказов, выполняет функции центра информации службы быта.
Дом моды - комплексное предприятие, осуществляющее моделирование одежды и предоставляющее населению услуги избирательного характера по изготовлению одежды, обуви, сопутствующих изделий.
Комплексный приемный пункт - комплексное предприятие, осуществляющее прием заказов и заявок на основной перечень массовых видов услуг, организует их выполнение предприятиями централизованного выполнения заказов и на дому у населения; выполняет мелкий ремонт, может включать парикмахерские пункты проката.
Предприятие непосредственного обслуживания населения по химической чистке одежды и стирке белья - осуществляет обработку вещей и стирку белья в срочном исполнении и с самообслуживанием.
Банно-оздоровительный комплекс - объединяет гигиенические, купальные, оздоровительно-профилактические функции и включает сопутствующие бытовые услуги (парикмахерские, прачечные, прокат), а также предприятия питания и отдыха.
Пункт по приему вторичного сырья от населения - осуществляет прием различных видов вторичного сырья от населения, временное его хранение, подготовку и передачу на перерабатывающие предприятия.
ПРИМЕРНЫЙ СОСТАВ ГРУПП И ПЛОЩАДЬ ПРОИЗВОДСТВЕННЫХ
ПОМЕЩЕНИЙ ПО ВИДАМ ОБСЛУЖИВАНИЯ
Виды услуг и помещения | Измеритель | Площадь, м2 |
1 | 2 | 3 |
Изготовление и ремонт одежды: | | |
отделение изготовления одежды | 1 рабочий | 6,8 |
отделение ремонта одежды, изготовление поясов, цветов, вышивки, участок распорки одежды | То же | 8 |
участок раскроя материалов, изготовления плиссе, гофре, утепляющих прокладок, скорняжных работ | " | 12 |
участок окончательной отделки изделий | 1 отделение | 15 - до 250 м2, свыше - 30 |
| | ИС МЕГАНОРМ: примечание. Название помещения дано в соответствии с официальным текстом документа. | |
|
экспериментальная лаборатория по изготовлению модельной | 1 художник, | 6 |
1 конструктор-лекальщик, | 12 |
1 технолог-нормировщик | 4 |
Изготовление и ремонт трикотажных изделий: | | |
отделение вязки на механизированных плоскофанговых машинах и полуавтоматах | 1 рабочий | 8 |
отделение вязки на ручных машинах | 1 рабочий | 6 |
раскройное отделение | 1 раскройщик | 12 |
отделение изготовления и ремонта | 1 рабочий | 6,8 |
участок влажно-тепловой обработки | 1 предприятие | 15 |
Изготовление и ремонт головных уборов: | | |
раскройно-скорняжное отделение | 1 рабочий | 8 |
отделение изготовления и ремонта | То же | 6 |
участок отпарки изделий | 1 предприятие | 8 |
Изготовление обуви: | | |
раскройное отделение | 1 раскройщик | 8 |
заготовочное отделение | 1 рабочий | 6 |
отделение изготовления обуви | То же | 8 |
колодочное отделение | 1 колодочник | 12 |
Ремонт обуви: | | |
отделение ремонта обуви | 1 рабочий | 8 |
участок срочного ремонта | То же | 15 |
Ремонт галантереи: | | |
отделение изготовления и ремонта | 1 рабочий | 6 |
Ремонт бытовых машин и приборов, металлоизделий: | | |
участок ремонта малогабаритных бытовых машин и приборов, металлоизделий | 1 рабочий | 6 |
участок ремонта крупногабаритных металлоизделий | 1 рабочий | 9 |
участок ремонта крупногабаритных бытовых машин и приборов | То же | 12 |
Ремонт бытовой радиоэлектронной аппаратуры | " | 10 |
Ремонт часов, фотокиноаппаратуры: | | |
участок ремонта часов, фотокиноаппаратуры | " | 4,5 |
помещение промывки часов, обработки изделий | 1 предприятие | 9 |
Фотография: | | |
зал документальной съемки | 1 предприятие | 18 |
зал групповой съемки в фотографиях нормируемой площадью до 100 м2 | 1 предприятие | 36 |
зал групповой съемки в фотографиях нормируемой площадью свыше 100 м2 | 1 предприятие | 60 |
зал для съемки детей в фотографиях нормируемой площадью 300 м2 и выше | То же | 36 |
помещения лаборатории | 1 лаборант | 10 |
Парикмахерская: | | |
мужской зал | 1 мастер | 6 |
отделение маникюра | То же | 6 |
женский зал | " | 8 |
отделение педикюра | 1 мастер | 8 |
косметический кабинет | То же | 12 |
участок мойки волос | 1 мойка | 1,5 |
Машинописные работы: | | |
рабочее помещение | 1 рабочий | 4 |
Переплетно-брошюровочные работы: | | |
рабочее помещение | 1 рабочий | 15 |
клееварка | 1 предприятие | 6 |
Примечание. Площадь производственных помещений определяется по количеству работающих (мастеров, рабочих и т.д.) в наибольшей смене.
ПРИМЕР РАСЧЕТА И СОСТАВ ПЛОЩАДЕЙ ПОМЕЩЕНИЙ ПРИЕМНОГО
ПУНКТА НА 5 РАБОЧИХ МЕСТ (НОРМИРУЕМОЙ ПЛОЩАДЬЮ 100 М2)
Вид обслуживания и помещение | Площадь групп помещений, м2 |
для посетителей | производственная | кладовая и подсобная | служебно-бытовая | итого |
Прием заказов на различные виды услуг <*> | 25 | - | 30 | - | 55 |
Ремонт одежды и дошив полуфабрикатов швейных изделий | - | 9 | - | - | 9 |
Мелкий и средний ремонт обуви | - | 8 | - | - | 8 |
Парикмахерская | - | 8 | - | - | 8 |
Ремонт бытовой радиоэлектронной аппаратуры | - | 10 | - | - | 10 |
Комната персонала, гардероб, уборная | - | - | - | 10 | 10 |
Итого | 25 | 35 | 30 | 10 | 100 |
--------------------------------
<*> Прием заказов производится на весь перечень бытовых услуг, предусматриваемый "Ассортиментным минимумом бытовых услуг для оказания в сельском комплексном приемном пункте".
ПРИМЕР РАСЧЕТА И СОСТАВ ПЛОЩАДЕЙ ПОМЕЩЕНИЙ
КОМПЛЕКСНОГО ПРИЕМНОГО ПУНКТА НА 35 РАБОЧИХ МЕСТ
(НОРМИРУЕМАЯ ПЛОЩАДЬ 1100 М2)
Вид обслуживания и помещение | Площадь групп помещений, м2 |
для посетителей | производственная | кладовые и подсобная | служебно-бытовая | вспомогательная | итого |
1 | 2 | 3 | 4 | 5 | 6 | 7 |
Прием заказов, ремонт и обновление одежды | 21 | 70 | 21 | - | - | 112 |
Прием заказов на изготовление и ремонт трикотажных изделий | 13 | - | 15 | - | - | 28 |
Прием заказов на изготовление и ремонт обуви | 15 | - | 24 | - | - | 39 |
Срочный ремонт обуви в зале приема и выдачи заказов | 11 | 27 | 8 | - | - | 46 |
Прием в ремонт часов и срочный ремонт в зале приема и выдачи заказов | 11 | - | 2 | - | - | 13 |
Прием и ремонт металлоизделий, бытовой техники и приборов | 8 | - | 17 | - | - | 25 |
Ремонт металлоизделий | 2,5 | 6 | 5 | - | - | 13,5 |
Прием заказов в химическую чистку и крашение | 20 | - | 70 | - | - | 90 |
Прокат предметов домашнего обихода и культурно-бытового назначения | 35 | - | 98 | - | - | 133 |
Парикмахерская: | | | | | | |
мужской зал | 23 | 48 | 24 | - | - | 124 |
женский зал | 23 |
маникюр | 6 |
Бюро обслуживания (прием заявок на выполнение широкого набора услуг предприятиями нейтрализованного выполнения заказов, специализированными предприятиями, услуг на дому у заказчика, информация) | 20 | 15 | 10 | - | - | 45 |
Разгрузочная | - | - | - | - | 6 | 6 |
Конторские помещения | - | - | - | 21 | - | 21 |
Комната персонала | - | - | - | 14 | - | 14 |
Гардеробы, уборные, душевые | - | - | - | 56,5 | - | 56,5 |
Итого | 179,5 | 196 | 293 | 91,5 | 6 | 766 |
Приемный пункт прачечной на 400 кг/см | 16 | - | 88 | 11 | - | 115 |
Зал для проведения семейных мероприятий на 50 мест | 100 | - | - | - | - | - |
Вестибюль с гардеробом и уборными, аванзал | 31 | - | - | - | - | 31 |
Банкетный зал | 90 | - | - | - | - | 90 |
Кухня-доготовочная самообслуживания, моечная | - | - | 30 | - | - | 30 |
Сервизная | - | - | 9 | - | - | 9 |
Подсобное помещение | - | - | - | 9 | - | 9 |
Комната администратора, прокат и реализация обрядовой атрибутики | - | - | - | 9 | - | 9 |
Помещение музыкантов | - | - | - | 6 | - | 6 |
Кладовая продуктов | - | - | 6 | - | - | 6 |
Итого | 121 | - | 45 | 24 | - | 190 |
Всего | 316,5 | 196 | 426 | 126,5 | 6 | 1071 |
ВОЗДУШНАЯ ПАРОГИДРОИЗОЛЯЦИЯ ОГРАЖДАЮЩИХ КОНСТРУКЦИЙ
Эффективность и устройство воздушной парогидроизоляции
Характерным для традиционных парогидроизоляционных покрытий (окрасочные, мастичные, обмазочные) является частые отказы и малая долговечность (теряют свои влагозащитные свойства в течение 3 - 12 лет). Своевременную замену многих из них осложняют необходимость удаления дорогостоящей отделки и прижимных стенок, прекращение эксплуатации помещения, невозможность контролировать техническое состояние покрытий из-за скрытого их расположения в конструкции.
| | ИС МЕГАНОРМ: примечание. В официальном тексте документа, видимо, допущена опечатка: пункт 54 отсутствует. Возможно, имеется в виду пункт 5.4. | |
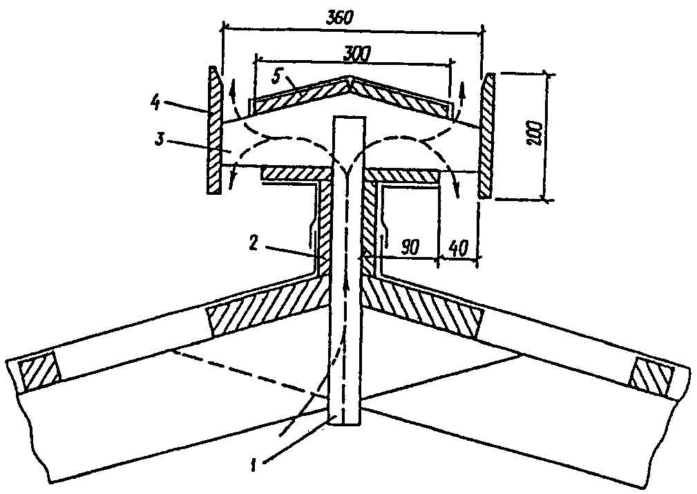
Воздушная парогидроизоляция (см.
п. 54), выполненная в виде воздушной прослойки, расположенной у внутренней поверхности ограждающей конструкции и вентилируемой теплым и сухим воздухом системы вентиляции (воздушного отопления) здания, является надежным барьером на пути перемещения влаги из помещения в ограждение
(рис. 1). Имея высокий дефицит влаги, воздух прослойки полностью ассимилирует то небольшое количество водяных паров, которое проникает через плотный малопаропроницаемый слой (экран), образующий прослойку, создает постоянный осушающий режим в ограждении, повышающий его теплозащитные свойства.
а)
б)
Рис. 1. Схемы устройства воздушной парогидроизоляции:
а - стены; б - бесчердачной крыши; 1 - экран; 2 - воздушная
вентилируемая прослойка стены; 3 - наружная стена;
4 - распределительный вентиляционный короб; 5 - подвесной
потолок (экран); 6 - отражатель воздушного потока;
7 - бесчердачная кровля
Соответствующим подогревом воздуха прослойки можно предотвратить неизбежное во многих случаях выпадение конденсата на внутренних поверхностях ограждающих конструкций с традиционной парогидроизоляцией при повышенном температурно-влажностном режиме помещений. Следовательно, будет устранен один из интенсивных источников увлажнения ограждений - постоянное мокрое состояние их поверхностей, стекание конденсата на пол, включая окапливание помещения с потолка. Теплые поверхности конструкций исключают радиационное охлаждение тела человека, что очень важно для таких помещений, как мыльные, душевые, раздевальни бань и т.п.
Воздух прослойки одновременно выполняет влагозащитные функции для ограждающих конструкций и используется для вентиляции и отопления помещений.
Применение воздушной парогидроизоляции открывает возможность широкому использованию эффективных теплоизоляционных материалов для возведения стен мокрорежимных помещений. Наличие с внутренней стороны таких ограждений сухого воздуха гарантирует их безотказное функционирование в течение всего заданного срока службы. Ограждающие конструкции с воздушной парогидроизоляцией позволяют размещать помещения с мокрым режимом непосредственно у наружных стен.
Внутреннюю вентилируемую воздушную прослойку целесообразно рассматривать как дополнительный элемент ограждающих конструкций помещений с мокрым и влажным режимами. Это позволит возводить все соответствующие конструкции здания из однотипных изделий и лишь в пределах микрорежимных помещений устраивать воздушную парогидроизоляцию. Возможно применение специальных панелей с каналами, расположенными у внутренней их поверхности, которые используются в здании для создания воздушной парогидроизоляции.
Толщина вентилируемой воздушной прослойки определяется расчетом в зависимости от заданного расхода воздуха и допускаемой скорости воздушного потока в ней. Минимальная ее величина должна быть не менее 30 мм.
Экран, образующий воздушную прослойку, следует выполнять из тонких железобетонных панелей или плит, кирпича и влагостойкого листового материала с герметизацией стыков между элементами. Под чердачными перекрытиями и бесчердачными крышами его рекомендуется проектировать в виде легкого подвесного потолка. Толщина экрана назначается конструктивно.
Вентиляционные распределительные короба для подачи воздуха в прослойку следует размещать вдоль стен под полом, на полу, под перекрытием или вертикально в углах помещений. Площадь поперечного сечения короба и приточных отверстий в нем назначается расчетом из условия обеспечения равномерного поступления воздуха в прослойку. В потолочную вентилируемую прослойку воздух может подаваться из прослойки стены.
Вентиляционные отверстия, предназначенные для вывода воздуха из прослойки в помещение, должны устраиваться в экранах для обеспечения предусмотренного расчетом расходом воздуха для воздухообмена в помещении.
Равномерное распределение воздушного потока по объему помещения может быть достигнуто при помощи потолочного перфорированного экрана, который целесообразно применять при малых скоростях воздуха (0,1 - 0,3 м/с) и относительно небольшой кратности воздухообмена.
Инженерная методика расчета теплотехнических параметров
ограждающих конструкций с воздушной парогидроизоляцией
Требуемое сопротивление теплопередаче наружной ограждающей конструкции с воздушной парогидроизоляцией

м2 x °C/Вт определяется по следующей формуле

, (1)
где

- требуемое сопротивление теплопередаче ограждающей конструкции; м2 x °C/Вт, определяемое по
СНиП II-3-79**;

- расчетные температуры соответственно внутреннего и наружного воздуха, °C;

- средняя температура воздуха вентилируемой прослойки, °C; принимается ориентировочно с последующей проверкой по
формуле (10).
Толщина теплоизоляционного слоя ограждения назначается с учетом требований
СНиП II-3-79**.
Предельно допустимая относительная влажность поступающего в вентилируемую прослойку воздуха,

, %, при которой не возникают конденсационные процессы в ограждающей конструкции, должна быть не более

, (2)
где

- предельно допустимая и максимальная упругость водяного пара воздуха, поступающего в прослойку, Па.

, (3)
где

- упругость водяного пара воздуха помещения, Па;

- максимальная упругость водяного пара воздуха вентилируемой прослойки, соответствующая наиболее низкой температуре

ее наружной поверхности, Па;
l - длина вентилируемой прослойки в направлении движения воздуха (от распределительного короба до приточного отверстия помещения), м;

; (4)

, (5)
где

- сопротивление паропроницанию соответственно экрана и ограждения (стены, покрытия, чердачного перекрытия), м2 x ч x Па/мг;
j - удельный расход воздуха прослойки шириной 1 м, кг/ч x м;

- удельная влагоемкость воздуха, мг/(кг x Па); допускается принимать

.
Температура наиболее холодного участка наружной поверхности воздушной прослойки (у приточного вентиляционного отверстия помещения)

, с:

, (6)
где

- коэффициент теплоотдачи наружной поверхности воздушной прослойки, Вт/(м2 x °C); принимается по табл. 1.
Таблица 1
Коэффициент теплоотдачи наружной поверхности
вентилируемой воздушной прослойки

, Вт/(м2 x °C)
v, м/с |  , мм |
30 | 50 | 100 |
0,2 | 5,3 | 4,7 | 4,5 |
0,4 | 6 | 5,6 | 5,3 |
0,6 | 7 | 6,5 | 6,2 |
0,8 | 8,2 | 7,6 | 7,1 |
1 | 9,1 | 8,5 | 7,8 |
1,2 | 10 | 9,5 | 8,7 |
1,4 | 11,1 | 10,5 | 9,4 |
1,6 | 11 | 11 | 10 |
1,8 | 12,7 | 11,4 | 10,2 |
2 | 12,9 | 12,3 | 11,2 |
2,5 | 15,5 | 14,3 | 12,7 |
3 | 17,1 | 15,7 | 14,1 |
Примечание. v - скорость воздуха в вентиляционной прослойке, м/с;

- толщина вентилируемой прослойки, мм.

; (7)

,
где

; (8)
e - основание натуральных логарифмов;

- принимается по табл. 2;
c - удельная теплоемкость, кДж/(кг x °C);
a - переводной коэффициент, a = 0,278.
Таблица 2
Величина экспоненты

в зависимости от Al
Al | e-Al |
0,1 | 0,905 |
0,11 | 0,896 |
0,12 | 0,887 |
0,13 | 0,878 |
0,14 | 0,869 |
0,16 | 0,852 |
0,17 | 0,844 |
0,18 | 0,835 |
0,19 | 0,827 |
0,2 | 0,819 |
0,25 | 0,779 |
0,3 | 0,741 |
0,35 | 0,705 |
0,4 | 0,67 |
0,35 | 0,0705 |
0,4 | 0,670 |
0,45 | 0,638 |
0,5 | 0,607 |
0,55 | 0,577 |
0,6 | 0,549 |
0,65 | 0,522 |
0,7 | 0,497 |
0,75 | 0,472 |
0,8 | 0,449 |
0,85 | 0,427 |
0,9 | 0,407 |
0,95 | 0,387 |
1 | 0,368 |
0,95 | 0,387 |
1 | 0,368 |
1,1 | 0,35 |
1,2 | 0,301 |
1,3 | 0,272 |
1,4 | 0,247 |
1,5 | 0,223 |
1,6 | 0,202 |
1,7 | 0,183 |
1,8 | 0,165 |
1,9 | 0,15 |
2 | 0,135 |
2,1 | 0,122 |
2,2 | 0,111 |
2,1 | 0,122 |
2,2 | 0,111 |
2,3 | 0,100 |
2,4 | 0,091 |
2,5 | 0,082 |
2,6 | 0,074 |
2,7 | 0,067 |
2,8 | 0,061 |
2,9 | 0,055 |
3 | 0,05 |
3,1 | 0,045 |
3,2 | 0,041 |
3,3 | 0,036 |
3,4 | 0,033 |
Температура наиболее холодного участка внутренней (обращенной в помещение) поверхности экрана

, °C:

, (9)
где

- коэффициент теплоотдачи внутренней поверхности экрана, Вт/(м2 x °C).
Средняя температура воздуха вентилируемой прослойки

, °C:

. (10)
Температура воздуха, подаваемого в вентилируемую прослойку:
1) с учетом компенсации теплопотерь через ограждение, с воздушной парогидроизоляцией

, °C:

; (11)
2) с учетом использования тепла воздуха для отопления помещения

, °C:

, (12)
где

- удельное количество тепла, которое должно поступать через экран в помещение для частичной или полной компенсации его теплопотерь, Вт/м2
<*>;
3) без компенсаций теплопотерь через ограждение с воздушной парогидроизоляцией (воздух используется только для вентиляции помещения)

, °C:

, (13)
где

- удельные теплопотери через ограждение с воздушной парогидроизоляцией, Вт/м2.
--------------------------------
<*>

не включает теплопотери через ограждение с воздушной парогидроизоляцией, так они учтены в
формуле (11).
Если из вентилируемой системы здания в воздушную прослойку ограждения подается воздух с температурой

, то количество тепла, отдаваемого экраном в помещение

, Вт/м2, определяется по следующей формуле

. (14)
При таком решении подачу тепла в помещение от системы центрального отопления следует уменьшить на

, Вт:

, (15)
где

- площадь ограждения с воздушной парогидроизоляцией, м2.
Высокие теплотехнические свойства ограждающих конструкций с воздушной парогидроизоляцией позволяют повысить их надежность (безотказность, долговечность и ремонтопригодность), создать более благоприятные санитарно-гигиенические условия в помещениях, сократить расходы на строительство и ремонт, улучшить эстетические качества зданий.
Расчеты показывают, что применение воздушной парогидроизоляции в ограждающих конструкциях вместо оклеечной парогидроизоляции снижает приведенные затраты более чем в 2 раза.
Пример расчета
Запроектировать воздушную парогидроизоляцию наружной торцевой стены бассейна. Стена выполнена из керамзитобетонных панелей толщиной

, офактуренных с двух сторон цементно-песчаным раствором толщиной

. Устраиваемый на относе у внутренней поверхности наружной стены экран - из асбестоцементных плит толщиной

. Объемная масса, кг/м3, керамзитобетона

, цементо-песчаного раствора

, асбестоцементных плит

. Высота стены h = 6 м.
Исходные данные
Расчетные параметры воздуха помещения: температура

, относительная влажность

; максимальная упругость водяного пара

; упругость водяного пара

.
То же, наружного воздуха: температура средней наиболее холодной пятидневки

; средняя наиболее холодных суток

; средняя за январь

; средняя наиболее холодного периода (для вентиляции расчетный параметр А)

; относительная влажность воздуха за январь

; упругость водяного пара воздуха за январь
(СНиП 2.01.01-82). Зона строительства - влажная (
прил. 1 СНиП II-3-79**).
Согласно
прил. 1 и
2 СНиП II-3-79** условия эксплуатации обычных (невентилируемых) ограждающих конструкций Б.
Для вентилируемых стен условия эксплуатации А.
Теплотехнические характеристики материалов:
керамзитобетон - коэффициент теплопроводности

,

(
прил. 3 СНиП II-3-79**); коэффициент теплоусвоения

,

(
прил. 3 СНиП II-3-79**); коэффициент паропроницаемости

(
прил. 3 СНиП II-3-79**);
цементно-песчаный раствор -

,

;

;

;

;
асбестоцементные плиты -

;

;

; n = 1 (
табл. 3 СНиП II-3-79**); m = 1,1; для невентилируемой стены

; для вентилируемой стены

;

(
табл. 6 СНиП II-3-79**);

(
табл. 2 СНиП II-3-79**);

;

;

;

.
Вентиляция зала бассейна общеобменная с механическим побуждением. Расчетный параметр наружного воздуха А.
Необходимый воздухообмен для удаления избыточной влаги из зала бассейна посредством общеобменной вентиляции

, м3/ч, составляет

= 10000 м3/ч.
Величина удельного воздушного потока на 1 м вентилируемой прослойки стены

.
Требуемое сопротивление теплопередаче наружной стены:

,
где

, принятого из условия, что стена бассейна средней тепловой инертности;

- коэффициент эффективности (
табл. 9а* СНиП II-3-79**).
Считаем, что

.
По
формуле (1) требуемое сопротивление теплопередаче наружной стены после устройства в ней воздушной парогидроизоляции:

.
Так как плотность воздуха при

, то

.
Принимаем толщину воздушной прослойки

.
Скорость воздуха в прослойке будет равна:

.
Для

и

по
табл. 1 находим величину коэффициента теплоотдачи поверхностей воздушной прослойки

.
Сопротивление теплопередаче экрана, устанавливаемого на относе у внутренней поверхности стены:

;

.
Фактическое сопротивление теплопередаче наружной стены после устройства в ней воздушной парогидроизоляции находим по формуле:

.

, следовательно, дополнительное утепление стены не требуется.
Температура воздуха, поступающего в вентилируемую прослойку по
формуле (11),
(8), в которой:
a = 0,279; c = 1,005 кДж/кг x °C;

; a x c = 0,28 Вт x ч /(кг x °C);

;

; Ah = 0,075 x 6 = 0,45.
Тогда:

.
Температура воздуха на выходе из вентилируемой прослойки стены по
формуле (7):

.
Средняя температура воздуха вентилируемой прослойки по
формуле (10):

.
Полученная расчетом средняя температура воздуха вентилируемой прослойки

отличается от предварительно принятой для расчета

на 1,5%, что допустимо.
Температура наиболее холодного участка внутренней (обращенной в помещение) поверхности экрана

, °C, по
формуле (9):

.
Температура наиболее холодного участка наружной поверхности воздушной прослойки (у приточного вентилируемого отверстия помещения)

, °C, по
формуле (6):

.
Максимальная упругость водяного пара воздуха вентилируемой прослойки при Y = h = 6,0 м для

,

.
Предельно допустимая упругость водяного пара воздуха, при которой в стене не возникают конденсационные процессы, определяется по
формулам (3) и
(4), в которых

;

;

;

.
Для

;

.
Предельно допустимая относительная влажность воздуха, поступающего в прослойку стены и не вызывающего выпадения конденсата на ее поверхность, составит:

.
ПРИМЕР РАСЧЕТА
ВОЗДУШНОЙ ПАРОГИДРОИЗОЛЯЦИИ НАРУЖНЫХ СТЕН
ЭКСПЛУАТИРУЕМЫХ ЗДАНИЙ С ПОМОЩЬЮ НОМОГРАММ
1. При расчете воздушной парогидроизоляции считаются заданными или принимаются конструктивно следующие параметры:
h - высота вентилируемой воздушной прослойки, м;

- толщина вентилируемой воздушной прослойки, м;

- удельный расход воздуха на 1 м длины прослойки, м3/ч;
температура

, °C, и упругость водяного пара

, кПа, воздуха, поступающего из распределительного короба вентиляционной системы в прослойку стены; если

неизвестно, то задается температура воздуха на выходе из прослойки

, °C, которая принимается равной температуре воздуха помещения

, °C;

- средняя температура воздуха вентилируемой прослойки, °C.
2. Расчет параметров воздушной парогидроизоляции производится по номограммам
рис. 2 -
4. Предварительно рассчитываются комплексы

:

;

;

;

,
где

- то же, что в методике. Рассчитываются удельный расход воздуха в прослойке

, кг/ч x м, скорость воздуха в прослойке v, м/с, и по
табл. 1 коэффициент теплоотдачи

, Вт/м2 x °C.
Рис. 2. Номограмма для нахождения температуры воздуха,
поступающего в вентилируемую прослойку стены

, °C
Рис. 3. Номограмма для нахождения температуры наружной
поверхности воздушной прослойки

, °C, и максимальной
упругости водяного пара воздуха

, кПа
Рис. 4. Номограмма для нахождения изменения
действительной упругости водяного пара
воздуха вентилируемой прослойки

, кПа
3. По номограмме
рис. 3 определяется температура

, с которой воздух поступает из вентилируемой прослойки в помещение.
4. Проверяется средняя температура воздуха в прослойке

, °C:

,
где A определяется из номограммы
рис. 2.
Полученная величина

должна отличаться от принятой ранее не более чем на 5%. При большем отклонении необходимо сделать пересчет, принимая за расчетную полученную величину

.
5. По номограмме
рис. 3 определяется температура наружной поверхности воздушной прослойки

, °C, и соответствующая этой температуре максимальная упругость водяного пара

, кПа.
6. По номограмме
рис. 4 определяется изменение упругости водяного пара воздуха вентилируемой прослойки

, кПа.
7. Определяется предельно допустимая упругость водяного пара воздуха, поступающего в прослойку

, кПа:

.
Если

, то возникает опасность конденсационного увлажнения холодных участков стены. Чтобы предотвратить это, необходимо повысить температуру подаваемого в прослойку воздуха или снизить его влажность.
ПРИМЕР
Запроектировать воздушную парогидроизоляцию для наружных стен плавательного бассейна в г. Архангельске. Наружные стены здания бассейна из керамзитобетонных панелей толщиной 380 мм, офактуренных с двух сторон цементно-песчаным раствором толщиной 20 мм. Устраиваемый на относе у внутренней поверхности стен экран - из асбестоцементных листов толщиной 20 мм.
Исходные данные:

;

;

;

;

;

;

;

; h = 9,0 м;

;

;

;

;

;

;

.
Расчет
По номограмме
рис. 2 
, A = 0,085.

.
Средняя температура воздушной прослойки

отличается от ранее принятой на 0,30%, что допустимо.

.
Так как

, то конденсация в воздушной прослойке не появится.
ВЕНТИЛЯЦИОННЫЙ МЕТОД СНИЖЕНИЯ ИНТЕНСИВНОСТИ
ОБЛЕДЕНЕНИЯ НАРУЖНЫХ ВОДООТВОДЯЩИХ УСТРОЙСТВ КРЫШ
Одним из существенных недостатков, снижающих эксплуатационные свойства крыш зданий, является обледенение их наружных водоотводящих устройств - желобов, свесов, водосточных труб. Скопление в них льда обусловливает неорганизованный водосток с крыши, сопровождающийся увлажнением и загрязнением фасадов, протекание кровель через сопряжения элементов, массовое разрушение водосточных труб, обрушение льда со свесов. Очистка крыш от снега и наледей требует значительных затрат труда и средств, часто приводит к повреждению кровли.
Основная причина обледенения: в чердачных и вентилируемых бесчердачных крышах - наличие теплого воздуха (свыше +2 °C) в подкровельном пространстве в слабоморозные дни (до -12 °C) вследствие недостаточной его естественной вентиляции, в бесчердачных невентилируемых крышах - из-за смещения нулевой изотермы к поверхности кровли со снежным покровом. В таких крышах к тому же, как правило, наблюдаются обильные конденсационные процессы на внутренней поверхности чердачных и в толще теплоизоляции бесчердачных крыш. Исследования показывают, что традиционное проветривание чердачных помещений через жалюзийные решетки слуховых окон и устройств в бесчердачных крышах вентиляционных каналов небольшого сечения представляют собой неэффективные решения из-за нерационального размещения (в одном уровне и в области примерно равных аэродинамических коэффициентов - в чердачных крышах) и малой площади вентиляционных отверстий. Отложение инея в небольших по размеру каналах и воздушных прослойках малой высоты превращает бесчердачную вентилируемую крышу в невентилируемую со всеми присущими ей недостатками, с дополнительным увлажнением теплоизоляции при таянии инея.
Чтобы исключить таяние снега на крыше при отрицательных температурах наружного воздуха и последующего замерзания талой воды на надкарнизных холодных участках кровли, необходимо обеспечить интенсивный естественный воздухообмен в ее подкровельном пространстве. Это может быть достигнуто рациональным размещением вентиляционных отверстий, площадь которых определяется расчетом.
Чердачные крыши
В чердачных крышах вентиляционные отверстия устраиваются в карнизной части стен непосредственно под свесом кровли и в коньке крыши (рис. 1). Примеры конструктивного решения вентиляционных отверстий даны на
рис. 2,
3.
а)
б)
Рис. 1. Схемы чердачных крыш с расположением
вентиляционных отверстий:
а - под свесом кровли и в коньке крыши;
б - в карнизной части стены и в коньке крыши;
1 - щелевидной формы; 2 - прямоугольной формы
Рис. 2. Примеры устройства в карнизных узлах
чердачных крыш вентиляционных отверстий:
1 - щелевидной формы; 2 - прямоугольной формы; 3 - решетка
а)
б)
Рис. 3. Примеры устройства оголовков над вентиляционным
отверстием в коньке чердачной крыши:
а - с деревянными несущими конструкциями; б - то же,
с железобетонными; 1 - стойки из брусков; 2 - обшивка
дощатая; 3 - кобылки; 4 - отражатель; 5 - кровля;
6 - основание под оголовок из бетонных камней;
7 - железобетонный оголовок из сборных элементов
Площадь вентиляционных отверстий, м2, в карнизной части стен (нижних) на 1 м их длины определяется по формуле

, (1)
где B - ширина здания, м;
h - расстояние по вертикали между центрами карнизных и коньковых продухов, м;
v - средняя минимальная скорость ветра за январь, но не менее 1 м/с;

- расчетная температура воздуха помещений зданий, °C;

- расчетная зимняя температура наружного воздуха для ограждения средней инертности, °C;

- среднее количество тепла, поступающее от суммарной солнечной радиации на горизонтальную поверхность, Вт/м2, в месяце, предшествующем первому месяцу со средней положительной температурой наружного воздуха; допускается принимать 0,33 от среднего суточного количества (
прил. 5 СНиП 2.01.01-82);
| | ИС МЕГАНОРМ: примечание. Обозначение дано в соответствии с официальным текстом документа. | |

- коэффициент поглощения тепла солнечной радиации наружной поверхности кровли;

- угол наклона скатов крыши к горизонту, град;

- отношение количества тепла, поступающего в чердачное помещение от n-го вида санитарно-технического оборудования

и через чердачное перекрытие

принимается по нижеприведенной таблице.
Санитарно-техническое оборудование | Значение An при расчетных температурах наружного воздуха, °C |
-5 | -15 | -25 | -35 | -45 |
Вентиляционные короба, шахты, камеры | 0,021 | 0,030 | 0,039 | 0,048 | 0,057 |
Дымоходы (газоходы) | 0,064 | 0,092 | 0,119 | 0,147 | 0,175 |
Трубопроводы верхней разводки центрального отопления и горячего водоснабжения | 0,015 | 0,021 | 0,028 | 0,034 | 0,040 |
При других значениях

и

данные таблицы следует пересчитать по следующим формулам:
для вентиляционных устройств и газоходов

; (2)
для трубопроводов

, (3)
где

и

- площади поверхностей n-го санитарно-технического оборудования и чердачного перекрытия, м2;

- длина трубопроводов центрального отопления и горячего водоснабжения, расположенных в чердачном помещении, м;

- температура теплоносителя в трубопроводах в последний месяц зимне-весеннего периода года со средней отрицательной температурой наружного воздуха, °C.
Площадь вентиляционных отверстий в коньке крыши (верхних), м2/м:

. (4)
Площадь вентиляционных отверстий в крыше может быть уменьшена при окраске кровли в светлые тона (при этом снижается тепловое воздействие солнечной радиации) и увеличении теплоизоляции горячих трубопроводов, размещенных в чердачных помещениях и чердачного перекрытия без перегрузки несущих конструкций.
Теплозащитные свойства чердачного перекрытия, теплоизоляции трубопроводов, размещенных в чердачном помещении, должны быть не ниже предусмотренных нормами.
Пример. Определить площадь вентиляционных отверстий в чердачной двускатной крыше жилого дома в г. Калинине. Длина здания 64 м, ширина 12,5 м; кровля из листовой стали окрашена масляной краской (суриком) в темно-красный цвет; угол наклона скатов крыши

. В чердачном помещении размещены вентиляционные короба и шахты, кирпичные дымовые трубы, трубопроводы верхней разводки центрального отопления с теплоносителем, имеющим температуру, равную 60 °C. Сопротивление теплопередаче чердачного перекрытия, стенок вентиляционных коробов и шахт, газоходов, тепловой изоляции трубопроводов верхней разводки соответствует нормативным значениям.
Площадь теплоотдающих поверхностей чердачного перекрытия

; вентиляционных коробов и шахт

; дымовых труб

; длина трубопроводов верхней разводки центрального отопления

.
| | ИС МЕГАНОРМ: примечание. В официальном тексте документа, видимо, допущена опечатка: таблица 8 в СНиП 2.08.01-89 отсутствует, возможно, имеется в виду таблица приложения 4. Таблица 1 в СНиП 2.01.01-82 отсутствует, возможно, имеется в виду таблица "Температура наружного воздуха". | |
B = 12,5 м;

; v = 6,2 м/с (
прил. 4 СНиП 2.01.01-82);

(
табл. 8 СНиП 2.08.01-89);

;

(
табл. 1 СНиП 2.01.01-82);

, считая перекрытие средней инерционности;

(
прил. 5 СНиП 2.01.01-82);

(
прил. 7 СНиП II-3-79**); cos 25° = 0,906;

;

;

.
Так как

;

и

> табличного

, необходимо произвести перерасчет коэффициентов по
формулам (2) и
(3):

;

;

;

.
Принимаем вентиляционные отверстия щелевидной формы, расположенные непосредственно под свесом кровли (над карнизом) и в коньке крыши.
Площадь вентиляционного отверстия под свесом кровли на 1 м длины здания по
формуле (1):

.
Так как отверстие щелевидное, то принимается его высота, равная 70 мм по всему периметру здания.
Площадь вентиляционных отверстий в коньке крыши по
формуле (4):

.
Принимаем щель шириной 40 мм по всей длине конька.
Бесчердачные крыши
В зданиях с наружным водостоком следует устраивать типовые бесчердачные крыши, имеющие сплошную вентилируемую воздушную прослойку.
Площадь приточно-вытяжных вентиляционных отверстий, м2 на 1 м длины здания, обеспечивающая требуемый воздухообмен в воздушной прослойке бесчердачной крыши для устранения таяния снега в морозный период, определяется по формуле:

, (5)
Д - показатель, учитывающий материал кровельной части крыши (над прослойкой); принимается равным: при железобетонном основании под несущей рулонный ковер Д = 0,43; то же, при керамзитобетонном Д = 0,23; то же, при шлакобетонном Д = 0,19; то же, при деревянном Д = 0,11.
Высота воздушной прослойки

, м, с учетом ее уменьшения опорными конструкциями равна

, (6)
где a - шаг опорных брусков, м;
b - ширина опорной конструкции, м.
Толщина вентилируемой прослойки покрытия, во избежание заполнения ее инеем, принимается не менее 0,05 м.
Пример. Определить площадь приточно-вытяжных отверстий вентилируемой воздушной прослойки бесчердачной крыши с наружным водостоком жилого дома в г. Омске.
Здание шириной 12,5 м. Крыша запроектирована со сплошной воздушной прослойкой. Рубероидная кровля наклеена по основанию из мелкоразмерных керамзитобетонных плит толщиной 0,05 м, уложенных на опорные керамзитобетонные брусья шириной 0,01 м, которые располагаются с шагом 0,8 м перпендикулярно коньку.
| | ИС МЕГАНОРМ: примечание. В официальном тексте документа, видимо, допущена опечатка: таблица 1 в СНиП 2.01.01-82 отсутствует. Возможно, имеется в виду таблица "Температура наружного воздуха". | |
Теплозащитные свойства крыши соответствуют требованиям норм. Значения параметров, входящих в
формулу (5): B = 12,5 м; v = 5,1 м/с (
прил. 4 СНиП 2.01.01-82);

(примечание 1 к табл. 10 СНиП II-Л.1-71**);

;

(
табл. 1 СНиП 2.01.01-82).
| | ИС МЕГАНОРМ: примечание. Формула дана в соответствии с официальным текстом документа. | |

;
Площадь поперечного сечения сплошной вентилируемой прослойки на 1 м длины здания по
формуле (5)

.
Высота воздушной прослойки по
формуле (6) при

; a = 0,8 м; b = 0,1 м будет равна:

.
Принимаем минимально допустимую толщину

. При устройстве в чердачных крышах специальных отверстий для вентиляции чердачного помещения, а в бесчердачных крышах - вентилируемой воздушной прослойки необходимо обеспечить требуемую нормами теплоизоляцию перекрытий и расположенным в чердачном помещении сантехническим устройствам (запорно-регулировочной арматуре съемными утепляющими коробами), а также герметизацию входных дверей и люков.
Практика эксплуатации зданий подтверждает высокую эффективность вентиляционного метода в борьбе с обледенением наружных водоотводящих устройств крыш. Одновременно естественное проветривание подкровельных пространств улучшает влажностное состояние конструкций.