Главная // Актуальные документы // МетодикаСПРАВКА
Источник публикации
М.: Стройиздат, 1982
Примечание к документу
Название документа
"Руководство по определению теплотехнических, светотехнических и звукоизоляционных показателей окон и световых фонарей зданий"
(рекомендовано к изданию решением научно-технического совета НИИСФ Госстроя СССР)
"Руководство по определению теплотехнических, светотехнических и звукоизоляционных показателей окон и световых фонарей зданий"
(рекомендовано к изданию решением научно-технического совета НИИСФ Госстроя СССР)
ПО ОПРЕДЕЛЕНИЮ ТЕПЛОТЕХНИЧЕСКИХ,
СВЕТОТЕХНИЧЕСКИХ И ЗВУКОИЗОЛЯЦИОННЫХ ПОКАЗАТЕЛЕЙ
ОКОН И СВЕТОВЫХ ФОНАРЕЙ ЗДАНИЙ
Рекомендовано к изданию решением научно-технического совета НИИСФ Госстроя СССР.
Руководство по определению теплотехнических, светотехнических и звукоизоляционных показателей окон и световых фонарей зданий / НИИСФ Госстроя СССР. - М.: Стройиздат, 1982. - 32 с.
Содержит методические указания по определению в лабораторных и натурных условиях сопротивления теплопередачи воздухопроницанию, водопроницанию, а также светотехнических характеристик и показателей звукоизоляции окон и фонарей зданий.
Для инженерно-технических работников проектных и научно-исследовательских организаций.
Табл. 11, ил. 13.
Освещение помещений - важная составная часть микроклимата зданий. Оптимальное освещение рабочих мест ведет к увеличению производительности труда и улучшению качества продукции. От системы освещения зависит и эксплуатационный режим зданий. Через световые фонари и окна происходит повышенный теплообмен между помещением и наружным воздухом. Теплопотери через окна достигают 60% и выше общих потерь тепла вертикальными ограждениями.
Основные требования к теплозащите, светопропусканию и звукоизоляции окон и световых фонарей изложены в главах
СНиП II-3-79 "Строительная теплотехника",
СНиП II-4-79 "Естественное и искусственное освещение",
ГОСТ 22906-78.
Чтобы правильно оценить конструкции окон и световых фонарей и соответствие их требованиям, изложенным в нормативных документах, необходимо знать их теплотехнические, светотехнические и звукоизоляционные качества, определенные по единой методике.
В Руководстве на основе обобщения опыта исследований, проводимых НИИ строительной физики, ЦНИИПромзданий, ЦНИИЭП жилища и других институтов, изложена методика лабораторных и натурных исследований теплотехнических, светотехнических и звукоизоляционных качеств окон и световых фонарей.
Руководство подготовлено научно-исследовательским институтом строительной физики Госстроя СССР (д-р техн. наук В.А. Дроздов, кандидаты техн. наук М.Д. Артемов, В.К. Савин, А.А. Климухин).
1.1. Настоящее Руководство распространяется на испытания окон и световых фонарей промышленных, жилых и общественных зданий на теплопередачу, воздухо- и водопроницаемость, светопропускание и звукоизоляцию <*> в лабораторных и натурных условиях.
--------------------------------
<*> Здесь и в дальнейшем изложении окна и световые фонари заменены термином "светопрозрачные ограждения".
1.2. Научно-исследовательские организации проводят в лабораторных и натурных условиях испытания светопрозрачных ограждений на теплопередачу, воздухо- и водопроницаемость, светопропускание и звукоизоляцию; лаборатории заводов-изготовителей испытывают в лабораторных условиях светопрозрачные ограждения на воздухо- и водопроницаемость. Лаборатории строительно-монтажных организаций проводят в натурных условиях испытания воздухо- и водопроницаемости.
1.3. В лабораторных условиях определяют теплотехнические качества (температурные поля и сопротивление теплопередаче), воздухо- и водопроницаемость и светопропускание конструкций при расчетных значениях основных климатических показателей: температуры наружного и внутреннего воздуха

,

; влажности внутреннего воздуха

; дождевании и скорости ветра v; ультрафиолетовом облучении с внешней стороны ограждения и перепаде давления

по обе стороны ограждения звукоизоляции - при воздействии шума в виде третьоктавных (или октавных) частотных полос.
1.4. В натурных условиях устанавливают фактические эксплуатационные показатели теплотехнических качеств, воздухо- и водопроницаемости и светопропускания конструкций при воздействии, кроме климатических показателей, перечисленных в
п. 1.3, солнечной радиации и загрязнения; показатели звукоизоляции - при воздействии шума транспортного потока. Ввиду различных сочетаний климатических воздействий лабораторные и натурные экспериментальные исследования не могут быть взаимозаменяемыми.
2. ТЕПЛОТЕХНИЧЕСКИЕ ИСПЫТАНИЯ
2.1. Теплотехнические испытания проводят с целью определения теплозащитных качеств ограждений, установления соответствия их требованиям норм и области применения. В процессе испытаний определяют:
температурные поля конструкций по характерным сечениям при фактических и расчетных условиях внешней и внутренней среды;
сопротивление теплопередаче остекления и переплета;
приведенное сопротивление теплопередаче конструкций.
2.2. Область применения светопрозрачных ограждений устанавливают по разности температуры внутреннего воздуха и средней температуры наиболее холодной пятидневки, °С (по
табл. 9 главы СНиП II-3-79).
Отрицательные температуры на внутренней поверхности светопрозрачных ограждений не допускаются, так как это приводит к выпадению конденсата, образованию инея или наледи, т.е. к потере основного свойства светопрозрачного ограждения - пропускать свет.
Кроме того, попеременное замораживание и оттаивание влаги резко снижает срок службы конструкций. С учетом сказанного необходимо соблюдать следующие условия:
приведенное сопротивление теплопередаче светопрозрачных ограждений должно быть больше требуемых значений по главе
СНиП II-3-79 
;
температуры на внутренних поверхностях остекления окон должны быть больше 0 °С

, а для помещений с повышенными требованиями температуры на внутренней поверхности остекления окон должны быть выше точки росы

;
температуры на внутренних поверхностях остекления зенитных фонарей должны быть выше точки росы

.
Лабораторные испытания в климатической камере <*>
--------------------------------
<*> Климатическая камера представляет собой изолированный от внешней среды объем, где с помощью системы машин и аппаратов создается искусственный климат.
2.3. Перед началом испытаний в проем климатической камеры устанавливают фрагмент ограждения (рис. 1). После монтажа испытываемого фрагмента ограждения камера делится на два отделения: холодное и теплое.
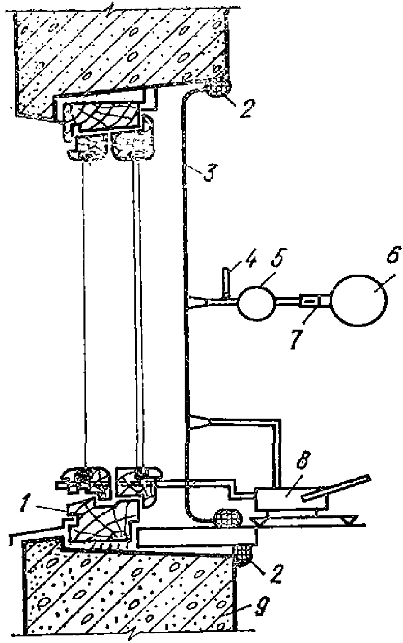
Рис. 1. Схема климатической камеры
1 - холодильная машина; 2 - испарители;
3 - холодная часть камеры; 4 - электропечь;
5 - образцы конструкций; 6 - теплая часть камеры;
7 - герметические и теплоизолированные двери
Конструкции стен и детали крепления светопрозрачного ограждения в стеновом проеме, как правило, задаются заказчиком и должны быть выполнены в соответствии с рабочими чертежами.
2.4. Устанавливаются термодатчики и приборы в соответствии с
рис. 2 -
4.

- места установки термопар на поверхности конструкций;

- места установки термопар в 10 см
от поверхности конструкций;

- места установки тепломеров на внутренней
поверхности конструкций
Рис. 2. Общий вид и сечения окон деревянных
со стеклопакетами с указанием мест расстановки
термопар и тепломеров

- места установки термопар на поверхности конструкций;

- места установки термопар в 10 см
от поверхности конструкций;

- места установки тепломеров на внутренней
поверхности конструкций
Рис. 3. Общий вид и сечения окон стальных со стеклопакетами
с указанием мест расстановки термопар и тепломеров

- места установки термопар на поверхности конструкций;

- места установки термопар в 10 см
от поверхности конструкций;

- места установки тепломеров на внутренней
поверхности конструкций
Рис. 4. Общий вид и сечения зенитных фонарей из оргстекла
с указанием мест расстановки термопар и тепломеров
1 - железобетонная плита; 2 - купола из стекла;
3 - кляммера; 4 - герметик; 5, 6 - резиновые прокладки;
7 - утеплитель; 8 - фартук из оцинкованной стали;
9 - сетка защитная; 10 - опорный контур
Для выявления характера распределения температуры по высоте теплого отделения климатической камеры

устанавливаются термопары по центру помещения, на полу (на высоте 10, 25, 75 и 150 см от пола) на расстоянии 10, 25, 50 см от потолка и на потолке. На высоте 150 см от пола рекомендуется измерять влажность внутреннего воздуха

. Кроме того, рекомендуется измерять температуру приборов отопления, а также разность давлений воздуха на наружной и внутренней поверхностях светопрозрачных ограждений

.
2.5. В холодном отделении климатической камеры создается с помощью холодильной установки расчетная температура воздуха

и с помощью вентиляторов - скорость ветра v или перепад давления

, соответствующие заданному климатическому району, в котором предполагается применять исследуемую конструкцию (главы
СНиП II-3-79, СНиП II-А.6-72). Регулирование температуры

в холодном отделении камеры производится изменением хладопроизводительности испарителя или отключением (включением) дополнительной теплообменной поверхности испарителей. В процессе испытаний рекомендуется назначать температурно-влажностные режимы испытаний светопрозрачных конструкций (см. табл. 1). Для испытания однослойных ограждений рекомендуется принимать температуру наружного воздуха -5; -10; -15 °С, двухслойных -15; -20; -25; -30 °С, трехслойных -25; -30; -40; -50 °С.
───────┬─────────────────┬────────────┬─────────────────┬──────────────────
Режим │ Температура │ Скорость │ Температура │ Относительная
│ наружного │ ветра, м/с │ внутреннего │ влажность
│ воздуха t , °С │ │ воздуха t , °С │ внутреннего
│ н │ │ в │ воздуха фи , %
│ │ │ │ в
───────┼─────────────────┼────────────┼─────────────────┼──────────────────
I │ -15 │ 5 │ 18 │ 50
II │ -20 │ 5 │ 18 │ 50
III │ -25 │ 5 │ 18 │ 50
IV │ -30 │ 5 │ 18 │ 40
| | ИС МЕГАНОРМ: примечание. Взамен ГОСТ 12.1.005-76 Постановлением Госстандарта СССР от с N 3388 с 1 января 1989 года введен в действие ГОСТ 12.1.005-88. | |
2.6. В теплом отделении климатической камеры создается и поддерживается с помощью электронагревательных приборов расчетная температура воздуха

и с помощью подогреваемых сосудов с водой влажность воздуха

, соответствующие назначению помещения, исходя из требований ГОСТ 12.1.005-76, санитарно-гигиенических норм
СН 245-71 и ведомственных норм. Нагревательные элементы и холодильные батареи должны иметь экраны для защиты конструкций от радиационного нагрева или охлаждения. Для создания заданного температурно-влажностного режима в теплом отделении камеры можно использовать установки для кондиционирования воздуха на базе кондиционера БК-1500.
2.7. В процессе испытаний не рекомендуется входить и выходить в теплое или холодное отделение камеры. Показания приборов записывают вручную, автоматически или полуавтоматически при помощи специальных дистанционных устройств.
2.8. Температуры, тепловые потоки, влажность воздуха, скорость ветра и перепад давления с момента установки в камере стационарного режима замеряются два раза в сутки: в 9 и в 18 ч в течение 5 дней.
Результаты замеров округляются: температура до 0,1 °С, тепловые потоки до 0,5 ккал/(м2·ч), перепад давлений до 0,2 мм вод. ст., влажность до 1% - и заносятся в
табл. 1 Прил. 1.
2.9. В натурных условиях испытывают светопрозрачные ограждения, ориентированные на С, СВ, СЗ, на фактические параметры климатических воздействий. Испытания проводят с 1 декабря по 30 марта при температуре наружного воздуха, близкой к расчетной <*>, но не выше

.
--------------------------------
<*> За расчетную температуру наружного воздуха принимается средняя температура наиболее холодной пятидневки
(СНиП II-3-79). За расчетную скорость ветра принимается максимальная из средних скоростей ветра за январь, повторяемость которых составляет 16% и более (СНиП II-А.6-72).
2.10. Установка термодатчиков и приборов производится согласно
п. 2.4 настоящего Руководства.
2.11. В процессе испытаний температуру внутреннего воздуха

следует поддерживать постоянной с помощью дополнительных электронагревательных приборов, снабженных терморегулятором, либо с помощью установок кондиционирования воздуха на базе кондиционера типа БК-1500.
2.12. Температура, тепловые потоки и перепад давления замеряются через каждые 3 ч круглосуточно в течение 10 дней. Влажность воздуха в помещении, скорость и направление ветра измеряются через каждые 6 ч в течение 10 дней. Скорость и направление ветра измеряются на расстоянии 1,5

(по диагонали) от угла здания.
Результаты замеров заносят в
табл. 2 Прил. 1.
2.13. При испытании светопрозрачных ограждений все двери в пределах квартиры или цеха должны быть закрыты. При многоэтажной плотной застройке скорость и направление ветра допускается принимать по данным местных метеостанций.
2.14. В лабораторных и натурных условиях измерение температуры воздуха на поверхностях или в толще конструкций производится с помощью медь-константановых или хромель-копелевых термопар (ГОСТ 3044-77). Крепление термопар к поверхностям, окрашенным известковой краской, рекомендуется производить с помощью клея 88 Н, к поверхностям, окрашенным масляной краской и пр., - с помощью пластилина или липкой ленты. В натурных условиях крепление термопар к стеклу рекомендуется только с помощью прозрачной липкой ленты.
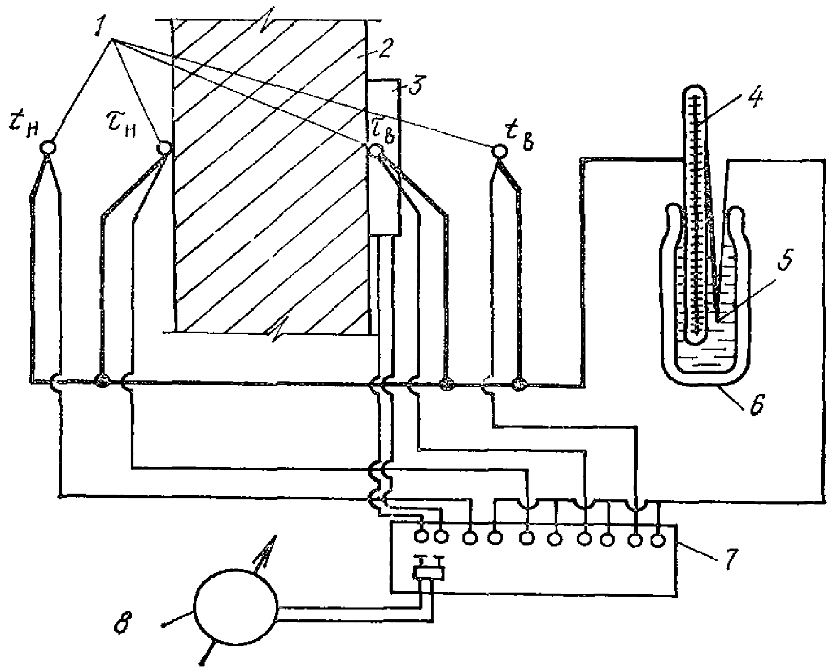
При периодической ручной записи термопары и тепломеры присоединяются через переключатель щеточный типа ПМТ к потенциометру ПП-63 (рис. 5). При непрерывной автоматической записи термопары и тепломеры присоединяются к многоточечному электронному самопишущему мосту типа ЭПП-09М3 (для хромель-копелевых термопар) или типа еКВТ12 (для медь-константановых термопар). Для контрольных замеров температур поверхностей рекомендуется использовать термометр ЭТП-М с ценой деления 0,1 °С. Рекомендуется дублировать замеры температуры воздуха в центре помещения на горизонте 1,5 м с помощью недельного термографа М-16.
Рис. 5. Схема установки термодатчиков
(термопар и тепломеров)
1 - рабочие спаи термопар; 2 - исследуемое ограждение;
3 - тепломер; 4 - контрольный жидкостный термометр;
5 - холодный спай термопар; 6 - термос;
7 - коммутационный щиток с переключателями;
8 - потенциометр ПП-63
2.15. Измерение тепловых потоков в лабораторных и натурных условиях производят с помощью тепломеров (например, тепломеров типа "Селен" Львовского завода биофизических приборов). Для замеров тепловых потоков через светопрозрачные ограждения в натурных условиях рекомендуется применять тепломеры на основе светопрозрачных материалов. Крепление тепломеров к конструкциям осуществляется с торцов с помощью пластилина толщиной 2 - 2,5 мм, к стеклу - с помощью липкой прозрачной ленты.
2.16. Влажность внутреннего воздуха измеряется с помощью аспирационного психрометра Ассмана. В центре комнаты на горизонте 1,5 м рекомендуется дублировать измерение влажности с помощью недельного гигрографа М-21.
2.17. Для измерения скорости ветра используют ручной чашечный анемометр М-13.
2.18. Перепад давления по обе стороны испытываемого образца измеряют с помощью микроманометра ММН.
2.19. Перечень необходимых приборов и оборудования для испытания на теплопередачу приведен в
Прил. 2.
Обработка результатов измерений
2.20. Обработку результатов лабораторных измерений следует начинать с вычерчивания графиков изменения температур по показаниям термопар в характерных сечениях конструкций остекления, переплета и мест примыкания переплета к стенам по каждому режиму испытаний (рис. 6). Затем производится оценка температурных полей светопрозрачного ограждения и выявления мест возможного выпадения конденсата.
Рис. 6. Графики температурных полей
на поверхностях деревянных окон со стеклопакетами
с указанием зон остекления и переплетов
1 - переплет; 2 - краевая зона остекления;
3 - средняя зона остекления
Выявляются участки концентрации температурных напряжений (наибольшие градиенты температур).
2.21. Обработку результатов натурных измерений следует начинать с вычерчивания графика изменения температуры наружного воздуха и скорости ветра в зависимости от времени (см. рис. 7).
Рис. 7. Графики изменения температуры наружного воздуха
и скорости ветра при исследовании
светопрозрачных ограждений
По графику изменения температуры наружного воздуха выбирают участки (режимы), в которых температура наружного воздуха не превышает 10% ее средних значений.
Для выбранных участков (режимов) рассчитывают среднюю скорость ветра, среднюю температуру внутреннего воздуха, среднюю относительную влажность внутреннего воздуха. Результаты вычислений заносят в
табл. 1.
2.22. По распределению температур на внутренней и наружной поверхностях остекления устанавливаются геометрические размеры средней и краевых зон остекления. Средней зоной остекления называется область, в которой температурный перепад

не изменяется (см.
рис. 6). Вычисляются средние значения температур и тепловых потоков на остеклении и переплете. Результаты вычислений заносят в табл. 2.
Таблица 2
───────────────┬───────────────────────┬───────────┬────────────┬──────────
Температурный │ Вид поверхности │Площадь, м2│ Средняя │ Средний
режим │ │ │температура,│ тепловой
│ │ │ °С │ поток,
│ │ ├─────┬──────┤ ккал/
│ │ │ t │ t │ /(ч·м2)
│ │ │ в │ н │
───────────────┼───────────────────────┼───────────┼─────┼──────┼──────────
t = -18,3 °С │Средняя зона остекления│ 1,68 │ 6,5│ -12 │ 100
н │Краевая зона остекления│ 0,48 │ 4 │ -11,5│ 104
│Переплет │ 0,15 │ -1 │ -10 │ 180
───────────────┼───────────────────────┼───────────┼─────┼──────┼──────────
t = -24,6 °С │Средняя зона остекления│ 1,68 │ 44 │ -17,6│ 122
н │Краевая зона остекления│ 0,48 │ 3,4│ -16,8│ 135
│Переплет │ 0,15 │ -4,4│ -15,1│ 215
2.23. Термическое сопротивление конструкции

по стеклу или переплету в исследуемом сечении определяется по формуле
где

,

- средняя за период наблюдения температура соответственно на внутренней и наружной поверхности ограждения, °С;
Q - средний за период наблюдений измеренный тепловой поток, ккал/(м2·ч).
2.24. Термическое сопротивление теплопередачи у наружной и внутренней поверхности переплета или остекления вычисляется соответственно по формулам:
2.25. Сопротивление теплопередаче светопрозрачной конструкции

, м2·ч·°С/ккал, определяется по формуле
2.26. Приведенное сопротивление теплопередаче светопрозрачной конструкции определяется по формуле
где

,

,

- площадь поверхности соответственно средней и краевой зон остекленения и переплета, м2;

,

,

- соответственно сопротивление теплопередаче средней зоны остекления, краевой зоны остекления и переплета, м2·ч·°С/ккал.
2.27. Найденное по формуле (5) приведенное сопротивление теплопередаче должно быть не менее требуемого сопротивления теплопередаче

, определенного по
табл. 9 главы СНиП II-3-79. Результаты расчетов заносятся в
табл. 3 Прил. 1 окончательной обработки.
3. ИСПЫТАНИЯ НА ВОЗДУХО- И ВОДОПРОНИЦАЕМОСТЬ
3.1. Целью испытаний светопрозрачных ограждений на воздухо- и водопроницаемость является определение их фактических качеств. В процессе испытаний определяют:
фактическое сопротивление воздухопроницанию

, м2·ч·(мм вод. ст.)

, и сопоставляют его с требуемым

по
СНиП II-3-79 
;
фактическую воздухопроницаемость

и сопоставляют ее с нормативной

по главе
СНиП II-3-79 (для определения расхода тепла на нагрев инфильтруемого воздуха);
протекание влаги в местах сопряжения различных элементов светопрозрачных ограждений.
Лабораторные испытания на установке "ALCO" <*>
--------------------------------
<*> Организации, не имеющие установку "ALCO", проводят лабораторные испытания с помощью установки, показанной на
рис. 9.
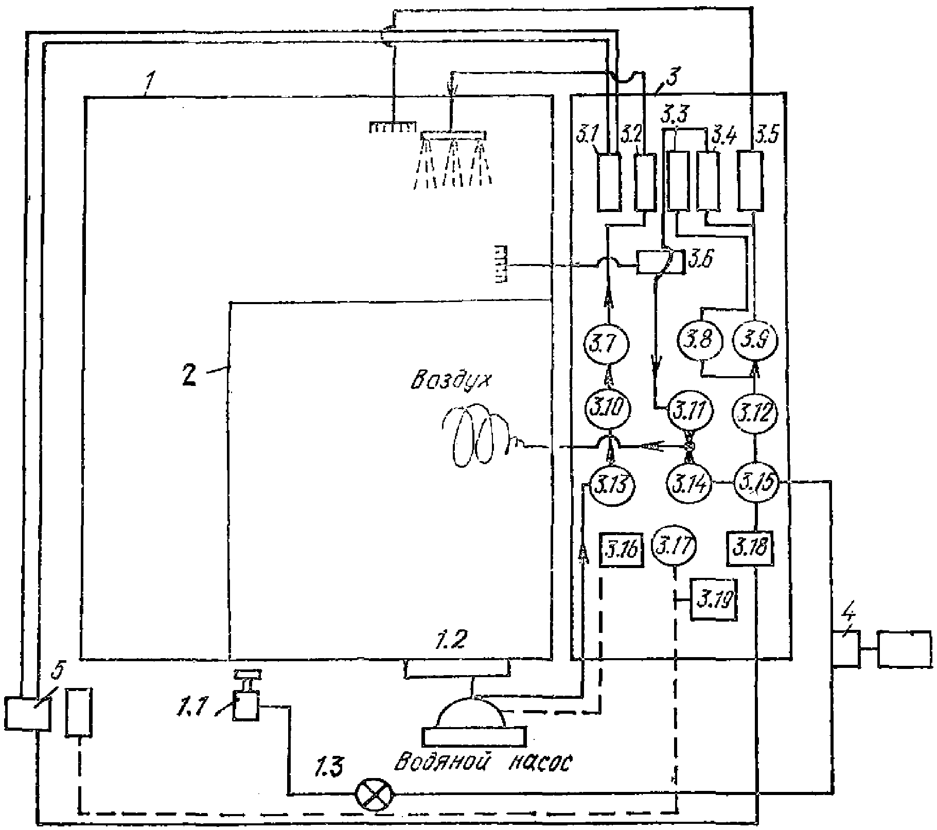
3.2. Перед началом испытаний устанавливается опытный образец светопрозрачного ограждения в проем комбинированной камеры размером 2,8 x 2,8 м (рис. 8).
Рис. 8. Принципиальная схема установки "ALCO"
1 - комбинированная камера; 2 - опытный образец;
3 - приборочный щит; 4 - компрессорная установка;
5 - центробежный вентилятор высокого давления
Рис. 9. Схема установки для испытания светопрозрачных
ограждений на воздухопроницаемость в лабораторных условиях
1 - оконная коробка; 2 - герметик; 3 - обойма;
4 - термометр; 5 - измеритель расхода воздуха с краном;
6 - источник разрежения (пылесос); 7 - шибер;
8 - микроманометр; 9 - стена
Если размер образца менее указанного, то размеры проема уменьшаем: по высоте - с помощью передвижной горизонтальной стенки камеры, по ширине - с помощью вертикальной складывающейся стенки камеры. Минимальные размеры образца должны составлять не менее 80 x 100 (H) см.
Образец закрепляется с помощью опорных штанг и передвижных домкратов 1.1, расположенных по периметру образца.
3.3. При помощи штепсельного разъема подается напряжение на приборный щит установки, включается компрессорная установка для поддержания давления в воздушной системе и через выключатели 1.3 подается воздушное давление на домкраты 1.1.
3.4. Проверяется герметичность камеры путем сжигания дымовой шашки в полости камеры.
Если пропуска дыма в местах сопряжения элементов не обнаружено, установка готова к проведению испытаний.
Испытания на воздухопроницаемость
3.5. Создаются перепады давления воздуха в камере

мм вод. ст. <*> с помощью воздушных запорных кранов 3.8, 3.9 и редукционного клапана 3.11 (см.
рис. 8).
--------------------------------
<*> Верхний предел перепада давления воздуха

должен соответствовать средней месячной скорости ветра v наиболее холодного месяца (по главе СНиП II-А.6-72) при заданной области применения конструкции исходя из следующей зависимости:
где

,

- расчетные температуры наружного и внутреннего воздуха, °С;

- высота здания от поверхности земли до верха карниза, м.
3.6. Измеряется перепад давления воздуха

до 10 мм вод. ст. при помощи наклонного воздушного манометра 3.6, а свыше 10 мм вод. ст. - при помощи лат. V-образного трубчатого манометра 3.5.
Одновременно измеряются показания термометра и расход воздуха N до 10 м3/ч с помощью измерителя расхода воздуха 3.4, а свыше 10 м3/ч - с помощью измерителя расхода воздуха 3.3. Результаты замеров заносятся в
табл. 4 Прил. 1.
Испытания на водопроницаемость
3.7. При помощи кулачкового выключателя насоса 3.16 и водоперекрывающего крана 3.7 устанавливается требуемый расход воды, 3,5 л/мин, по водомеру 3.3.
3.8. При помощи кулачкового выключателя 3.18, вентилятора высокого давления и компрессора создается избыточное давление

, равное верхнему пределу.
3.9. Определяется время наблюдения и устанавливаются места протекания влаги через элементы сопряжения конструкции. Результаты измерений заносятся в
табл. 5 Прил. 1.
3.10. Испытание окон или фрагментов светопрозрачных ограждений на воздухопроницаемость в натурных условиях заключается в создании герметичной полости с помощью полиэтиленовой пленки и липкой ленты (лейкопластыря) и в измерении перепада давления между наружным воздухом и полостью

и скорости воздуха v в отверстии заданного размера

(рис. 10).
Рис. 10. Рабочий момент испытания
воздухопроницаемости окна в натурных условиях
1 - испытываемый образец; 2 - липкая лента (лейкопластырь);
3 - полиэтиленовая пленка; 4 - крыльчатый анемометр;
5 - микроманометр; 6 - соединительные шланги
3.11. Рекомендуется замеры производить в течение трех суток через каждые 6 ч при различной скорости наружного воздуха, в том числе и максимальной. Результаты замеров заносят в
табл. 6 Прил. 1.
3.12. Установка "ALCO" для испытания воздухо- и водопроницаемости окон состоит из следующих основных узлов: комбинированной камеры (в которую помещается опытный образец), приборного щита, компрессорной установки и центробежного вентилятора высокого давления (см.
рис. 8).
3.13. Комбинированная камера представляет собой герметичную камеру с открытым проемом размером 2,8 x 2,8 м для установки опытного образца. Камера имеет подвижную в вертикальном направлении горизонтальную стенку и вертикальную складывающую стенку переменной длины, что позволяет испытывать образцы окон любых размеров в пределах размера проема. Изменение размеров по толщине образца осуществляется с помощью горизонтальных направляющих.
Для крепления опытного образца предусмотрены опорные штанги и передвижные домкраты 1.1. Передвижные домкраты связаны с воздушной системой установки с помощью полиэтиленовых трубопроводов через выключатели 1.3.
Дождевание опытных образцов осуществляется с помощью водяной системы, включающей в себя насос, емкость для воды 1.2, резиновые шланги и металлические трубы с форсунками для дождевания образцов.
3.14. Приборный щит представляет из себя панель, на которой размещены:
измерительная арматура, состоящая из: u-образного трубчатого манометра 3.1 для измерения дополнительного нагнетания в воздушной системе от 0 до 150 мм вод. ст.; водомера 3.2; измерителя расхода воздуха 3.3 от 10 до 100 м3/ч, измерителя расхода воздуха 3.4 от 0 до

; U-образного трубчатого манометра 3.5 от 10 до 250 мм вод. ст.; наклонного воздушного манометра 3.6 от 0 до 10 мм вод. ст.; водяного манометра 3.10 от 0 до 10 кг/см2; манометра для воздушной системы 3.12 от 0 до 10 кг/см2;
запорная и регулировочная арматура, состоящая из водоперекрывающего крана 3.7; воздушных запорных кранов 3.8 и 3.9 (соответственно к 3.3 и 3.4); редукционного клапана 3.11; маховика для дроссельного нагнетания воздушной системы 3.13; воздушного запорного крана для стравливания давления 3.14 и клапана для регулирования давления в воздушной системе 3.15;
электрооборудование, состоящее из: кулачкового выключателя для включения водяного насоса 3.16 и реле времени 3.17; реле времени 3.19 и кулачкового выключателя для включения вентилятора 3.18.
3.15. Компрессорная установка состоит из электродвигателя, воздушного компрессора и служит для создания и поддержания давления в воздушной системе.
3.16. Центробежный вентилятор высокого давления состоит из электродвигателя, центробежного вентилятора и служит для поддержания повышенного давления в воздушной системе. Взаимодействие систем установки дано на принципиальной схеме
рис. 8 и не требует дополнительных пояснений.
3.17. Установка для натурных испытаний опытных образцов на воздухопроницаемость состоит из камеры с полиэтиленовой пленкой, которая крепится к стене при помощи лейкопластыря. В пленке имеется отверстие площадью

(см.
рис. 10).
Скорость движения воздуха в отверстии измеряется крыльчатым анемометром типа АСО-3, перепад давления

в камере микроманометром, ммн.
Обработка результатов измерений
3.18. Воздухопроницаемость конструкций в лабораторных условиях на установке "ALCO" определяется по формуле
где

- фактическое значение воздухопроницаемости образца, кг/(м2·ч);
N - показания измерителя расхода воздуха, м3/ч;

- объемный вес воздуха, кг/м3, определяется в зависимости от средней температуры


- площадь образца по наружному обмеру коробок, м2.
3.19. Воздухопроницаемость конструкций в натурных условиях определяется по формуле
где

- площадь отверстия в пленке, м2;
v - скорость движения воздуха у отверстия в пленке, замеренная с помощью крыльчатого анемометра, м/с; остальные величины те же, что и в
формуле 6.
3.20. Сопротивление воздухопроницанию конструкций определяется из формулы
где

- фактическое значение сопротивления воздухопроницанию конструкций, м2·ч (мм вод. ст.)

;

- перепад давлений в мм вод. ст. (показания микроманометра);
n - показатель режима фильтрации окон.
Показатель режима фильтрации n определяют из графика

, построенного в логарифмических координатах, как отношение

к

в простых единицах, например в см. Если же точки графика

располагаются не по прямой, а по кривой, то эту кривую заменяют ломаной линией. Для отдельных участков такой линии значения n различны.
Показатель режима фильтрации окон зависит от качества изготовления окон, степени уплотнения притворов и других факторов. Среднее значение показателя режима фильтрации близко к 2/3. Поэтому при определении

и сравнении его с

фактическое значение сопротивления воздухопроницанию конструкции равно расчетному перепаду давления

(соответствующему заданной области применения конструкции) в степени 2/3, деленному на расход воздуха

(из эксперимента), соответствующий расчетному перепаду давления

.
Результаты расчетов заносятся в
табл. 4,
6 Прил. 1.
4. ИСПЫТАНИЯ НА СВЕТОПРОПУСКАНИЕ
4.1. Испытания светопрозрачных ограждений на светопропускание проводят с целью определения светотехнических качеств ограждений и установления соответствия их требованиям норм.
В процессе испытаний в лабораторных условиях на установке "Искусственный небосвод" (рис. 11) производится определение общего коэффициента светопропускания ограждения

с учетом фактического материала светопрозрачного заполнения, степени его загрязнения и конструкции переплета.
Рис. 11. Экспериментальная установка
"Искусственный небосвод" для исследования
светотехнических характеристик опытных образцов
1 - искусственный небосвод; 2 - светомерная камера;
3 - осветительные приборы искусственного небосвода;
4 - контрольный фотоэлемент; 5 - световой проем;
6 - испытуемый образец; 7 - защитный экран;
8 - основной фотоэлемент в светомерной камере;
9 - планшет для измерения в черной камере;
10 - фотоэлементы на планшете;
11 - измерительный прибор
При испытаниях в натурных условиях производят определение общего коэффициента светопропускания ограждения

с учетом фактического материала светопрозрачного заполнения, степени его загрязнения, конструкции переплета, несущих конструкций и солнцезащитных устройств.
Полученные в результате испытаний величины должны быть не менее нормируемых значений соответствующих общих коэффициентов светопропускания

по главе
СНиП II-4-79:
где

- коэффициент светопропускания материала;

- коэффициент, учитывающий потери света в переплетах светопроема;

- коэффициент, учитывающий потери света в несущих конструкциях (при боковом освещении

);

- коэффициент, учитывающий потери света в солнцезащитных устройствах;

- коэффициент, учитывающий потери света в защитной сетке, устанавливаемой под фонарями, принимаемый равным 0,9.
Значения коэффициентов

,

,

,

,

принимаются в соответствии с требованиями главы
СНиП II-4-79.
Лабораторные испытания на установке
"Искусственный небосвод"
4.2. Опытный образец светопрозрачного ограждения размером не более 2 x 2 м помещается в проем в полу искусственного небосвода (см.
рис. 11).
4.3. Замеры светопропускания проема, заполненного светопрозрачным ограждением

и без светопрозрачного ограждения

, производятся в 25 точках на полу светомерной камеры с помощью фотоэлементов и измерительного прибора.
4.4. Освещенность на полу под искусственным небосводом должна быть постоянной и контролируется наружным фотоэлементом. Результаты замеров заносятся в
табл. 7 Прил. 1.
4.5. Во избежание получения случайных результатов следует испытывать не менее трех образцов светопрозрачных ограждений от партии в 100 шт. или в пределах объекта исследований.
4.6. При устройстве окон или фонарей отдельных проемов испытанию подлежат не менее трех образцов светопрозрачного ограждения; в случае ленточных проемов по ширине или высоте испытанию подлежат не менее трех фрагментов светопрозрачного ограждения размером 3 x 3 м.
4.7. Замеры светопропускания производят в 25 точках по сетке из тонкой стальной проволоки с помощью двух фотоэлементов, расположенных соответственно с внутренней и наружной стороны ограждения. Наружный фотоэлемент располагают на наружной плоскости ограждения, внутренний - на расстоянии 1,5 м от плоскости ограждения в местах, соответствующих наружным точкам.
4.8. Боковые грани светомерной камеры размером 3 x 3 x 1,5 м с целью исключения влияния составляющей многократного отражения от пола, потолка и стен должны быть закрыты черной тканью или бумагой <*>.
--------------------------------
<*> Составляющая потока многократного отражения от откосов в случае устройства светопрозрачных ограждений в отдельных проемах кирпичных стен в данном случае учитывается.
4.9. Замеры светопропускания следует производить в пасмурные дни при диффузном наружном освещении. Результаты замеров заносятся в
табл. 8 Прил. 1.
4.10. В лабораторных условиях измерение светопропускания опытных образцов светопрозрачных ограждений производится с помощью установки "Искусственный небосвод" (см.
рис. 11).
4.11. Установка включает в себя: искусственный небосвод, светомерную камеру, испытываемый образец, внутренний и наружный фотоэлементы. Мультифлекс-гальванометр имеет чувствительность

А.
4.12. В натурных условиях измерение светопропускания опытных образцов светопрозрачных заполнений производится с помощью люксметра типа Ю-16 и двух фотоэлементов типа Ф-102. Комплект необходимых приборов и оборудования для испытания на светопропускание приведен в
Прил. 3.
Обработка результатов измерений
4.13. Общий коэффициент светопропускания ограждения в лабораторных условиях на установке "Искусственный небосвод" определяется по формуле
где

,

- показания прибора соответственно с опытным образцом и без него;
0,04 - коэффициент, соответствующий количеству точек измерения 25.
4.14. Общий коэффициент светопропускания ограждения в натурных условиях определяется по формуле
где

,

- показания прибора соответственно с наружной и внутренней стороны светопрозрачного ограждения.
5. ИСПЫТАНИЯ НА ЗВУКОИЗОЛЯЦИЮ
5.1. Целью испытаний светопрозрачного ограждения на звукоизоляцию является определение изоляции воздушного шума данным ограждением в третьоктавных полосах частот в диапазоне 100 - 5000 Гц (допускается определять изоляцию воздушного шума в октавных полосах частот в диапазоне 125 - 4000 Гц).
| | ИС МЕГАНОРМ: примечание. В официальном тексте документа, видимо, допущена опечатка: имеется в виду таблица 3, а не таблица 5. | |
Звукоизолирующая способность окон и балконных дверей в закрытом состоянии должна быть не ниже значений, указанных в табл. 5.
Таблица 3
───────┬────────────────────────────────────────────────────┬──────────────
N п.п.│ Конструктивная схема окна и его │ Индекс
│ основные характеристики │ звукоизоляции
│ │ окна I , дБ
│ │ и
───────┼────────────────────────────────────────────────────┼──────────────
1 │Со спаренными переплетами и двойным остеклением │
│ толщина остекления 3 + 3 мм, одинарное уплотнение │ 22
2 │ толщина остекления 6 + 4 мм, двойное уплотнение │ 25
3 │Со спаренными переплетами и тройным остеклением │ 25
│3 + 3 + 3 мм (стеклопакет + стекло), двойное │
│уплотнение │
4 │То же, с тройным остеклением 4 + 6 + 4 мм │ 28
5 │С раздельными переплетами и двойным остеклением: │
│ толщина остекления 3 + 3 мм, одинарное уплотнение │ 24
6 │ то же, с двойным уплотнением │ 26
7 │ толщина остекления 6 + 4 мм, двойное уплотнение │ 29
8 │С раздельными переплетами и тройным остеклением │ 30
│3 + 3 + 3 мм (стеклопакет + стекло), тройное │
│уплотнение │
9 │С тройными раздельно-спаренными переплетами, │ 32
│с остеклением 3 + 3 + 3 мм (дополнительный │
│переплет спарен с внутренним) │
Нормируемым параметром звукоизоляции окна является индекс звукоизоляции окна

в дБ, определяемый по методике, приведенной в
Прил. 5.
Лабораторные испытания в реверберационных
акустических камерах
| | ИС МЕГАНОРМ: примечание. Взамен ГОСТ 15116-79 с 1 июля 1987 года Постановлением Госстроя СССР от 11.09.1985 N 145 введен в действие ГОСТ 27296-87. | |
5.2. Измерения звукоизоляции светопрозрачного ограждения проводятся в реверберационных акустических камерах в соответствии с ГОСТ 15116-79. Испытываемая конструкция монтируется в проеме между двумя камерами. При этом светопрозрачное ограждение устанавливается в стене, собственная звукоизоляция которой не менее чем на 15 дБ выше предполагаемой звукоизоляции испытываемого ограждения.
В этом случае можно считать, что звук проникает только через испытываемое светопрозрачное ограждение.
5.3. Для измерения звукоизоляции ограждения в одной из камер - камере высокого уровня (КВУ) воспроизводится шум в виде третьоктавных (или октавных) частотных полос белого шума с помощью системы, состоящей из генератора напряжения шума, набора третьоктавных (или октавных) электрических фильтров, усилителя мощности и громкоговорителей.
Измерение уровней звукового давления производится с помощью измерительной системы, состоящей из измерительного микрофона, шумомера (или микрофонного усилителя), набора третьоктавных (или октавных) электрических фильтров и самописца уровня.
Калибровку аппаратуры следует проводить до и после измерений в соответствии с заводскими инструкциями по ее эксплуатации.
5.4. Для измерения микрофон последовательно устанавливают в пяти точках в камере высокого уровня КВУ и в пяти точках в камере низкого уровня КНУ (за испытываемым ограждением).
В камере низкого уровня измеряется время реверберации. Для этого в КНУ воспроизводится шум в тех же третьоктавных (или октавных) полосах частот и определяется спад уровней звукового давления при выключении источника шума. Время реверберации, представляющее собой время спада уровня звукового давления на 60 дБ, определяется по углу наклона кривой спада уровня звукового давления на ленте самописца.
Время реверберации в КНУ измеряется в трех точках - дважды в каждой.
5.5. Определяется эквивалентная площадь звукопоглощения A в КНУ для каждой третьоктавной (октавной) полосы частот по формуле
где V - объем КНУ, м3;
T - среднее время реверберации в КНУ, с.
Изоляция воздушного шума R, дБ, испытываемым светопрозрачным ограждением для каждой третьоктавной (октавной) полосы частот определяется по формуле
где

- среднеарифметический уровень звукового давления в КВУ, дБ;

- среднеарифметический уровень звукового давления в КНУ, дБ;
S - площадь испытываемого ограждения, м2.
Натурные испытания при шуме,
создаваемом транспортным потоком
5.6. Измерения в натурных условиях звукоизоляции светопрозрачных конструкций, являющихся элементами наружного ограждения здания, следует проводить в соответствии с требованиями ГОСТ 22906-78.
Для измерения в натурных условиях звукоизоляции окон, балконных дверей, витражей и других светопрозрачных конструкций наилучшим является метод с использованием шума транспортного потока, позволяющий непосредственно определить величину изоляции внешнего шума испытываемой конструкцией.
Измерения следует проводить в здании, расположенном параллельно под углом

не более 50° к прямолинейному участку улицы или дороги с транспортным потоком (рис. 12). Испытываемое ограждение следует выбирать по высоте здания таким образом, чтобы угол

между линией, соединяющей середину испытываемого ограждения с ближайшей к ней точкой дороги и горизонтальной плоскостью в зависимости от угла

, не превышал следующие значения:
0 ......................... 50
20 ......................... 47
30 ......................... 42
40 ......................... 33
45 ......................... 25
50 ......................... 0
Рис. 12. Расположение наружной ограждающей конструкции
здания, выбираемой для измерения звукоизоляции
1 - здание; 2 - выбранная наружная ограждающая
конструкция; 3 - улица или дорога
с транспортным потоком
Транспортный поток должен создавать шум с достаточно высокими уровнями, чтобы проникающий в помещение внешний шум превышал, по крайней мере, на 6 дБ акустические помехи.
Падающий на испытываемое ограждение шум не должен экранироваться балконами, лоджиями, солнцезащитными устройствами или другими выступающими элементами фасада.
5.7. Измерения должны проводиться двумя измерительными системами (аналогичными указанной в
п. 5.3) одновременно: снаружи в 2 м от испытываемого ограждения и в помещении за испытываемым ограждением. Снаружи микрофон устанавливается в одной точке на уровне середины испытываемого ограждения, внутри микрофон располагается последовательно в трех точках при площади помещения до 25 м2, и в шести точках при большей площади помещения.
Максимальное расстояние от точки измерения внутри помещения до наружного ограждения не должно превышать 6 м.
Время измерения уровней звукового давления в каждой точке и в каждой полосе частот выбирается в зависимости от интенсивности транспортного потока таким, чтобы по улице прошло не менее 20 транспортных единиц не менее чем на 1 мин.
5.8. В помещении измеряют время реверберации T и определяют эквивалентную площадь звукопоглощения A аналогично указанному в
пп. 5.4 и
5.5.
5.9. На основании записи уровней звукового давления на ленте самописца определяются эквивалентные уровни звукового давления снаружи

и в помещении

в каждой третьоктавной (или октавной) полосе частот по формуле
где n - количество отсчетов;

- уровень звукового давления, соответствующий каждому отсчету, дБ.
При этом значения уровней звукового давления

снаружи и внутри помещения считываются с ленты самописца через одинаковые интервалы времени так, чтобы считываемые значения соответствовали уровням, зафиксированным одновременно снаружи и внутри помещения.
Изоляция воздушного шума испытываемым ограждением определяется по формуле
где S - площадь испытываемого ограждения, м2 (если наружное ограждение включает несколько светопрозрачных конструкций, например несколько окон, S - суммарная площадь светопрозрачных ограждений).
Натурные измерения с шумом, создаваемым громкоговорителем
5.10. В тех случаях, когда звукоизоляцию светопрозрачного ограждения нельзя испытать при шуме транспортного потока (например, в здании, расположенном на внутриквартальной территории), измерения проводят в условиях шума, создаваемого громкоговорителем с помощью системы, аналогичной приведенной в
п. 5.3.
Громкоговоритель должен устанавливаться на поверхности земли таким образом, чтобы его ось была направлена в середину испытуемого ограждения под углом

к его поверхности (рис. 13). Расстояние между ограждением и громкоговорителем выбирается так, чтобы уровни звукового давления у внешней поверхности испытываемого ограждения изменялись не более 5 дБ, т.е. чтобы испытываемое ограждение относительно равномерно облучалось шумом.
Рис. 13. Схема установки громкоговорителя
1 - ограждение; 2 - громкоговоритель;
г - расстояние от громкоговорителя
до наружной ограждающей конструкции, м;

- угол между осью громкоговорителя
и перпендикуляром к плоскости наружной
ограждающей конструкции
5.11. Измерения уровней звукового давления проводятся в трех точках по диагонали испытываемого светопрозрачного ограждения на расстоянии 2 - 3 см от его поверхности и в помещении за испытываемым ограждением в трех точках при площади помещения до 25 м2 и в шести точках при большей площади помещения.
В помещении измеряется время реверберации T и определяется эквивалентная площадь звукопоглощения A в соответствии с
пп. 5.4 и
5.5.
5.12. Определяют поправку

, учитывающую влияние отраженного от ограждения звука на уровень звукового давления, измеряемый у наружной поверхности ограждения.
Для этого сначала измеряют уровни звукового давления в третьоктавных (или октавных) полосах частот, создаваемые громкоговорителем в 2 - 3 см от поверхности ограждения, затем - уровни звукового давления в тех же полосах частот, на том же расстоянии на оси громкоговорителя на свободной территории. Поправку

определяют для всех полос частот как разность уровней, измеренных у ограждения и на свободной территории.
5.13. Величина изоляции воздушного шума испытываемым светопрозрачным ограждением определяется в полосах частот по формуле
где

- средний уровень звукового давления у внешней поверхности ограждения, дБ;

- средний уровень звукового давления в помещении, дБ;

- поправка на отражение звука от ограждения, дБ;
S - площадь ограждения, м2;
A - эквивалентная площадь звукопоглощения в помещении, м2;

- угол между осью громкоговорителя и перпендикуляром к плоскости ограждения, град.
Перечень приборов и оборудования для испытания на звукоизоляцию приведен в
Прил. 4.
ПЕРЕЧЕНЬ
ТАБЛИЦ ДЛЯ ИЗМЕРЕНИЯ ЭКСПЛУАТАЦИОННЫХ ПОКАЗАТЕЛЕЙ
ОКОН И СВЕТОВЫХ ФОНАРЕЙ ЗДАНИЙ
Таблица 1
РЕЗУЛЬТАТЫ ПЕРВИЧНЫХ ЗАМЕРОВ ТЕМПЕРАТУР,
ТЕПЛОВЫХ ПОТОКОВ, ВЛАЖНОСТИ И СКОРОСТИ ВЕТРА
ПРИ ИСПЫТАНИИ КОНСТРУКЦИЙ НА ТЕПЛОПЕРЕДАЧУ
В КЛИМАТИЧЕСКОЙ КАМЕРЕ
Дата Наименование конструкции
───────────────────── ───────────────────
─────────────────────────┬──────┬──────────────────────────────────────────
Показатель │N дат-│ Время замеров
│чика ├────────────────────┬─────────────────────
│ │ 9.00 │ 18.00
│ ├─────────┬──────────┼─────────┬───────────
│ │Отсчет по│ Значение │Отсчет по│ Значение
│ │ прибору │показателя│ прибору │показателя
─────────────────────────┼──────┼─────────┼──────────┼─────────┼───────────
Температура, °С │ │ │ │ │
─────────────────────────┼──────┼─────────┼──────────┼─────────┼───────────
Тепловой поток, │ │ │ │ │
ккал/(м2·ч) │ │ │ │ │
─────────────┬───────────┼──────┼─────────┼──────────┼─────────┼───────────
Влажность, % │Внутренний │ │ │ │ │
│воздух │ │ │ │ │
├───────────┼──────┼─────────┼──────────┼─────────┼───────────
│Наружный │ │ │ │ │
│воздух │ │ │ │ │
─────────────┴───────────┼──────┼─────────┼──────────┼─────────┼───────────
Скорость ветра, м/с │ │ │ │ │
Замеры производил
──────────────────────
(подпись)
Таблица 2
РЕЗУЛЬТАТЫ ПЕРВИЧНЫХ ЗАМЕРОВ ПРИ ИСПЫТАНИИ
КОНСТРУКЦИЙ НА ТЕПЛОПЕРЕДАЧУ В НАТУРНЫХ УСЛОВИЯХ
Дата Наименование конструкции
───────────────────── ───────────────────
───────────────────┬────┬───────────────────────────────────────────────────────────────────────────────────────────────────────────────────────
Показатель │N │ Время замеров
│дат-├──────────────┬──────────────┬──────────────┬──────────────┬──────────────┬──────────────┬──────────────┬──────────────
│чика│ 3.00 │ 6.00 │ 9.00 │ 12.00 │ 15.00 │ 18.00 │ 21.00 │ 24.00
│ ├───────┬──────┼───────┬──────┼───────┬──────┼───────┬──────┼───────┬──────┼───────┬──────┼───────┬──────┼───────┬──────
│ │Отсчет │Значе-│Отсчет │Значе-│Отсчет │Значе-│Отсчет │Значе-│Отсчет │Значе-│Отсчет │Значе-│Отсчет │Значе-│Отсчет │Значе-
│ │по при-│ние │по при-│ние │по при-│ние │по при-│ние │по при-│ние │по при-│ние │по при-│ние │по при-│ние
│ │бору │пока- │бору │пока- │бору │пока- │бору │пока- │бору │пока- │бору │пока- │бору │пока- │бору │пока-
│ │ │зате- │ │зате- │ │зате- │ │зате- │ │зате- │ │зате- │ │зате- │ │зате-
│ │ │лей │ │лей │ │лей │ │лей │ │лей │ │лей │ │лей │ │лей
───────────────────┼────┼───────┼──────┼───────┼──────┼───────┼──────┼───────┼──────┼───────┼──────┼───────┼──────┼───────┼──────┼───────┼──────
Температура, °С │ │ │ │ │ │ │ │ │ │ │ │ │ │ │ │ │
───────────────────┼────┼───────┼──────┼───────┼──────┼───────┼──────┼───────┼──────┼───────┼──────┼───────┼──────┼───────┼──────┼───────┼──────
Тепловой поток, │ │ │ │ │ │ │ │ │ │ │ │ │ │ │ │ │
ккал/(м2·ч) │ │ │ │ │ │ │ │ │ │ │ │ │ │ │ │ │
───────────────────┼────┼───────┼──────┼───────┼──────┼───────┼──────┼───────┼──────┼───────┼──────┼───────┼──────┼───────┼──────┼───────┼──────
Влажность, % │ │ │ │ │ │ │ │ │ │ │ │ │ │ │ │ │
───────────────────┼────┼───────┼──────┼───────┼──────┼───────┼──────┼───────┼──────┼───────┼──────┼───────┼──────┼───────┼──────┼───────┼──────
Скорость ветра, м/с│ │ │ │ │ │ │ │ │ │ │ │ │ │ │ │ │
───────────────────┼────┼───────┼──────┼───────┼──────┼───────┼──────┼───────┼──────┼───────┼──────┼───────┼──────┼───────┼──────┼───────┼──────
Направление ветра │ │ │ │ │ │ │ │ │ │ │ │ │ │ │ │ │
Замеры производил
──────────────────────
(подпись)
Таблица 3
РЕЗУЛЬТАТЫ ТЕПЛОТЕХНИЧЕСКИХ ИСПЫТАНИЙ
СВЕТОПРОЗРАЧНОЙ ОГРАЖДАЮЩЕЙ КОНСТРУКЦИИ
НА ТЕПЛОПЕРЕДАЧУ
──────┬───────────────────────┬─────────────────────────────────┬────────────┬────────────
N │ Участок ограждения │ Среднее термическое │Среднее │Приведенное
режима│ │ сопротивление, м2·ч·°С/ккал │сопротивле- │сопротивле-
│ ├─────────┬───────────┬───────────┤ние │ние
│ │конструк-│ воздуха у │ воздуха у │теплопере- │теплопере-
│ │ции, R │внутренней │ наружной │даче, R , │ пр
│ │ к │поверхности│поверхности│ 0 │даче, R ,
│ │ │остекления,│остекления,│м2·ч·°С/ккал│ 0
│ │ │ R │ R │ │м2·ч·°С/ккал
│ │ │ в │ н │ │
──────┼───────────────────────┼─────────┼───────────┼───────────┼────────────┼────────────
I │Средняя зона остекления│ │ │ │ │
│Краевая зона остекления│ │ │ │ │
│Переплет │ │ │ │ │
──────┼───────────────────────┼─────────┼───────────┼───────────┼────────────┼────────────
II │Средняя зона остекления│ │ │ │ │
│Краевая зона остекления│ │ │ │ │
│Переплет │ │ │ │ │
──────┼───────────────────────┼─────────┼───────────┼───────────┼────────────┼────────────
III │Средняя зона остекления│ │ │ │ │
│Краевая зона остекления│ │ │ │ │
│Переплет │ │ │ │ │
──────┼───────────────────────┼─────────┼───────────┼───────────┼────────────┼────────────
IV │Средняя зона остекления│ │ │ │ │
│Краевая зона остекления│ │ │ │ │
│Переплет │ │ │ │ │
Таблица 4
РЕЗУЛЬТАТЫ ЛАБОРАТОРНЫХ ИСПЫТАНИЙ
ВОЗДУХОПРОНИЦАЕМОСТИ СВЕТОПРОЗРАЧНЫХ
ОГРАЖДЕНИЙ НА УСТАНОВКЕ "ALCO"
───────────┬───────┬────────────────┬─────────┬─────────────────┬──────────
Эскиз и │Площадь│ Параметры │ Перепад │Воздухопроница- │Сопро-
краткая │ F , м2│ внутреннего │ давления│емость конструк- │тивление
характе- │ 0 │ воздуха │Дельта p,│ций │воздухо-
ристика │ ├───────┬────────┤ мм вод. ├───────┬─────────┤проницанию
конструкции│ │t <*>,│гамма , │ ст. │Расход │Воздухо- │ ф
│ │ в │ в │ │воздуха│проница- │R , м2·ч x
│ │ °С │ кг/м3 │ │N, м3·ч│емость G,│ и
│ │ │ │ │ │кг/(м3·ч)│x (мм вод.
│ │ │ │ │ │ │ст.)/кг
───────────┼───────┼───────┼────────┼─────────┼───────┼─────────┼──────────
│ │ │ │ │ │ │
--------------------------------
<*> Температура внутреннего воздуха принимается равной полусумме температур, измеренных по обе стороны образца.
Таблица 5
РЕЗУЛЬТАТЫ ЛАБОРАТОРНЫХ ИСПЫТАНИЙ
ВОДОПРОНИЦАЕМОСТИ ОКОН НА УСТАНОВКЕ "ALCO"
─────────────────┬─────────┬─────────────┬─────────────┬───────────────────
Эскиз и краткая │ Площадь │ Режим │ Время │ Характер и места
характеристика │ окна │ испытаний: │ дождевания, │ протекания
конструкций │ F , м2 │ Дельта p, │ мин │
│ 0 │ мм вод. ст. │ │
│ │ G, л/мин │ │
─────────────────┼─────────┼─────────────┼─────────────┼───────────────────
│ │ │ │
Таблица 6
РЕЗУЛЬТАТЫ НАТУРНЫХ ИСПЫТАНИЙ
ВОЗДУХОПРОНИЦАЕМОСТИ ОКОН (ФОНАРЕЙ)
──────────────┬─────────────┬────────────┬───────────┬─────────────────────────┬─────────────┬─────────────────
Эскиз │ Площадь │ Скорость │ Перепад │ Параметры внутреннего │Воздухо- │Сопротивление
и краткая │ окна │ воздуха у │ давления │ воздуха <*> │проницаемость│воздухо-
характеристика│ (отверстие │отверстия V,│ Дельта p, ├───────┬────────┬────────┤G , кг/(м2·ч)│проницаемости
конструкций │ в пленке) │ м/с │мм вод. ст.│темпе- │объемный│ расход │ ф │ ф
│F (F ), м2│ │ │ратура │ вес │N, м3/ч │ │R , м2·ч x
│ 0 отв │ │ │t <*>,│ гамма ,│ │ │ и n
│ │ │ │ в │ в │ │ │x(мм вод.ст.) /кг
│ │ │ │°С │ кг/м3 │ │ │
──────────────┼─────────────┼────────────┼───────────┼───────┼────────┼────────┼─────────────┼─────────────────
│ │ │ │ │ │ │ │
Минимальное сопротивление воздухопроницанию
--------------------------------
<*> Температура внутреннего воздуха принимается равной полусумме температур, измеренных по обе стороны образца.
Таблица 7
РЕЗУЛЬТАТЫ ИСПЫТАНИЯ СВЕТОПРОПУСКАНИЯ
ОПЫТНЫХ ОБРАЗЦОВ В ЛАБОРАТОРНЫХ УСЛОВИЯХ
НА УСТАНОВКЕ "ИСКУССТВЕННЫЙ НЕБОСВОД"
Замеры производил
──────────────────────
(подпись)
Таблица 8
РЕЗУЛЬТАТЫ ИСПЫТАНИЯ СВЕТОПРОПУСКАНИЯ
СВЕТОПРОЗРАЧНОГО ОГРАЖДЕНИЯ В НАТУРНЫХ УСЛОВИЯХ
Замеры производил
──────────────────────
(подпись)
ПРИБОРОВ И ОБОРУДОВАНИЯ ДЛЯ ИСПЫТАНИЯ
СВЕТОПРОЗРАЧНЫХ ОГРАЖДЕНИЙ НА ТЕПЛОПЕРЕДАЧУ,
ВОЗДУХО- И ВОДОПРОНИЦАЕМОСТЬ
───────┬────────────────────────────────────────────────────┬──────────────
N п.п.│ Наименование │ Количество
───────┴────────────────────────────────────────────────────┴──────────────
А. Приборы и оборудование
1 │Переносной потенциометр ПП-63 │ 1
2 │Термопары медь-константановые в комплекте │ 200
│с переключателями щитовыми │
3 │Термос емкостью 0,5 л │ 1
4 │Психрометр аспирационный МВ-4М или М-34 │ 1
5 │Термограф недельный М-16Н │ 1
6 │Гигрограф недельный М-21Н │ 1
7 │Термоэлектроанемометр │ 1 комплект
8 │Анемометр крыльчатый │ 1
9 │Анемометр чашечный МС-13 │ 1
10 │Компас │ 1
11 │Секундомер С-1-2А │ 1
12 │Фотоаппарат │ 1
13 │Тепломеры чувствительностью 0,2 ккал/(м2·ч·мВ) │ 10
14 │Микроманометр ММН │ 1
15 │Шланги резиновые диаметром 20 мм │ 30 м
16 │Пленка полиэтиленовая │ 10 м2
17 │Тестер │ 1
Б. Материалы и инструменты
1 │Рулетка стальная длиной 10 м │ 1
2 │Молоток │ 1
3 │Плоскогубцы │ 1
4 │Паяльник на 220 В │ 1
5 │Шлямбур диаметром 10 - 15 мм │ 1
6 │Клей марки 88Н │ 0,5
7 │Пластилин │ 1 кг
8 │Фольга │ 2 м2
9 │Фотопленка │ 6
10 │Удлинительный провод с розеткой на 5 м │ 1
11 │Нормальный элемент │ 1
12 │Изолента │ 1
13 │Гвозди и шурупы разные │ 0,2 кг
14 │Шпагат │ 0,1 кг
15 │Чернила для самописцев │ 1 флакон
16 │Олово, канифоль │ 1 комплект
17 │Переносная электролампа на 220 В │ 1
18 │Переводные таблицы для температуры │ 1 комплект
│и графики для психрометра │
19 │Лента для термодатчиков и гигрографов │ 1 комплект
20 │Журнал измерений │ 1
21 │Лейкопластырь │ 20 м
22 │Отвертка, нож │ 1 комплект
В. Дополнительные приборы при автоматической записи
1 │Электронный потенциометр "ЭПП-09 М3) на 24 точки │ 6 или 12
│или КСП-4 на 12 точек, градуировка в мВ, предел │
│измерений от -2 до 2 мВ <*> │
2 │Электронный уравновешивающий ленточный самописец │ 6
│производства ГДР, типа сКВТ12, число точек 12, │
│градуировка, мВ, предел измерения 0 - 3 мВ │
│или -2 +2 мВ <*> │
3 │Электронный потенциометр КСП-4 на 12 точек, │ 2
│градуировка в мВ, предел измерения 0 - 10 мВ │
4 │Электронный уравновешивающий ленточный самописец │ 2
│ГДР типа сКВТ12, число точек 12, градуировка в мВ, │
│предел измерения -5 +5 мВ и 0 - 10 мВ │
--------------------------------
<*> Для хромель-копелевых термопар градуировка должна быть ХК, предел измерения от -50 до +50 °С.
ПРИБОРОВ И ОБОРУДОВАНИЯ ДЛЯ ИСПЫТАНИЯ
СВЕТОПРОЗРАЧНЫХ ОГРАЖДЕНИЙ НА СВЕТОПРОПУСКАНИЕ
───────┬────────────────────────────────────────────────────┬──────────────
N п.п.│ Наименование │ Количество
───────┼────────────────────────────────────────────────────┼──────────────
1 │Люксметры Ю-16 в комплекте с двумя │ 2
│фотоэлементами Ф-102 │
2 │Провод электрический с переключателем двухполюсным │ 200 м
3 │Часы с секундомером │ 2
4 │Рулетка длиной 10 м │ 1
5 │Фотоаппарат │ 1
6 │Журнал измерений │ 1
ПРИБОРОВ И ОБОРУДОВАНИЯ ДЛЯ ИСПЫТАНИЯ
СВЕТОПРОЗРАЧНЫХ ОГРАЖДЕНИЙ НА ЗВУКОИЗОЛЯЦИЮ
─────┬─────────────────────────────────────────┬──────────┬────────────────
N │ Наименование │Количество│ Примечание
п.п.│ │ │
─────┴─────────────────────────────────────────┴──────────┴────────────────
Измерительная система
1 │Микрофон измерительный конденсаторный │ 1 │При измерении в
│М-201 (МК-201) │ \ │натуральных
2 │Шумомер с полосовыми электрическими │ 1 } │условиях с
│фильтрами ИШВ-1 PSI 202, с полосовыми │ / │транспортным шу-
│фильтрами ТОА-III или ТОА-101 (ГДР) │ │мом количество
3 │Самописец уровня Н-110 (PSG 101, ГДР) │ 1 │удваивается
Система для воспроизведения шума
4 │Генератор напряжения шума Г2-12 (NRG-201)│ 1 │ -
5 │Полосовой электрический фильтр СИ-1 │ 1 │ -
│(ТОА-101 или ТОА-III, ГДР) │ │
6 │Усилитель мощности УЧ-27 или УМ-50 │ 1 │ -
│(LV 102, ГДР) │ │
7 │Громкоговоритель ГРД-25 или ГРД-50 │ 1 │ -
ОПРЕДЕЛЕНИЯ ИНДЕКСА ЗВУКОИЗОЛЯЦИИ НАРУЖНОЙ
ОГРАЖДАЮЩЕЙ КОНСТРУКЦИИ ЗДАНИЯ (ОКНА)
Индекс звукоизоляции наружной ограждающей конструкции здания (окна) определяется путем сравнения известной (измеренной или рассчитанной) частотной характеристики изоляции воздушного шума данной конструкцией с нормативной частотной характеристикой, имеющей следующие значения:
───────────────┬───┬───┬───┬───┬───┬────┬────┬────┬────┬────┬────┬────┬────
Средне- │100│125│160│200│250│315,│1250│1600│2000│2500│3200│4000│5000
геометрическая │ │ │ │ │ │400,│ │ │ │ │ │ │
частота │ │ │ │ │ │500,│ │ │ │ │ │ │
третьоктавной │ │ │ │ │ │630,│ │ │ │ │ │ │
полосы │ │ │ │ │ │800,│ │ │ │ │ │ │
частот, Гц │ │ │ │ │ │1000│ │ │ │ │ │ │
───────────────┼───┼───┼───┼───┼───┼────┼────┼────┼────┼────┼────┼────┼────
Изоляция │ 26│ 28│ 30│ 32│ 34│ 36 │ 35 │ 34 │ 33 │ 32 │ 31 │ 30 │ 29
воздушного │ │ │ │ │ │ │ │ │ │ │ │ │
шума, дБ │ │ │ │ │ │ │ │ │ │ │ │ │
Индекс звукоизоляции окна определяется из выражения

дБ.
Для вычисления поправки

необходимо на график с нормативной частотной характеристикой нанести частотную характеристику изоляции воздушного шума рассматриваемой конструкции и определить среднее неблагоприятное отклонение рассматриваемой частотной характеристики от нормативной. Неблагоприятными отклонениями следует считать отклонения вниз от нормативной частотной характеристики. Среднее неблагоприятное отклонение следует принимать равным 1/18 суммы неблагоприятных отклонений. Если среднее неблагоприятное отклонение максимально приближается к 2 дБ, но не превышает эту величину, поправка

.
Если среднее неблагоприятное отклонение превышает 2 дБ, нормативную частотную характеристику необходимо сместить вниз (на целое число децибел) так, чтобы среднее неблагоприятное отклонение не превышало указанную величину. В этом случае поправка

отрицательна и равна величине смещения нормативной частотной характеристики.
Если среднее неблагоприятное отклонение значительно меньше 2 дБ или неблагоприятные отклонения отсутствуют, нормативную частотную характеристику необходимо сместить вверх (на целое число децибел) так, чтобы среднее неблагоприятное отклонение максимально приближалось к 2 дБ, но не превышало бы эту величину.
В этом случае поправка

положительна и равна величине смещения нормативной частотной характеристики.