Главная // Актуальные документы // Методические указанияСПРАВКА
Источник публикации
М., ЦРИА "Морфлот", 1981. Сборник "Методические указания на определение вредных веществ в воздухе. Выпуски с 1 по 5".
Примечание к документу
Название документа
"Методические указания на хроматографическое определение окиси углерода в воздухе"
(утв. Минздравом СССР 18.04.1977 N 1640-77)
"Методические указания на хроматографическое определение окиси углерода в воздухе"
(утв. Минздравом СССР 18.04.1977 N 1640-77)
| | ИС МЕГАНОРМ: примечание. В официальном тексте документа, видимо, допущена опечатка: Методические указания имеют номер 1640-77, а не 1641-77. | |
Заместитель Главного государственного
санитарного врача СССР
А.И.ЗАИЧЕНКО
18 апреля 1977 г. N 1641-77
МЕТОДИЧЕСКИЕ УКАЗАНИЯ
НА ХРОМАТОГРАФИЧЕСКОЕ ОПРЕДЕЛЕНИЕ ОКИСИ УГЛЕРОДА В ВОЗДУХЕ
Методические указания подготовлены сотрудниками лаборатории санитарно-химических методов исследования Института гигиены труда и профзаболеваний АМН СССР.
Настоящие Методические указания распространяются на определение содержания вредных веществ в воздухе промышленных помещений при санитарном контроле и имеют ту же юридическую силу, что и Технические условия.
Редакционная коллегия: Г.С. Павловская и В.Г. Овечкин.
1. Определение основано на использовании газоадсорбционной хроматографии на приборе с детектором по теплопроводности. Отбор проб с предварительным концентрированием.
2. Предел обнаружения 0,5 мкг в анализируемом объеме воздуха.
3. Предел обнаружения в воздухе 5 мг/м3 (расчетная).
4. Органические вещества, присутствующие в воздухе, а также двуокись углерода определению не мешают.
5. Предельно допустимая концентрация окиси углерода в воздухе 20 мг/м3.
II. РЕАКТИВЫ И АППАРАТУРА
6. Применяемые реактивы и растворы.
Окись углерода газообразная в баллоне с редуктором или полученная экспериментальным путем.
Для получения окиси углерода пользуются колбой Вюрца со вставленной в горлышко капельной воронкой и присоединенной газоотводной трубкой, по которой полученная окись углерода направляется в кристаллизатор с водой, где ее собирают в сосуд.
В колбу Вюрца наливают около 40 мл концентрированной серной кислоты, а в капельную воронку 10 - 20 мл муравьиной кислоты. Далее колбу нагревают до 70 - 80 °C и затем по каплям вводят муравьиную кислоту. После удаления из колбы Вюрца воздуха выделяющуюся окись углерода собирают в цилиндр, пробирку или газометр, применяя способ вытеснения воды.
Газообразный гелий в баллоне с редуктором.
Жидкий азот в металлических сосудах Дьюара.
Молекулярные сита 5А зернением 0,25 - 0,5 мм.
Силикагель АСМ зернением 0,25 - 0,5 мм.
Серная кислота, ГОСТ 4204-66.
| | ИС МЕГАНОРМ: примечание. Взамен ГОСТ 5848-60 Постановлением Госстандарта СССР от 23.03.1973 N 658 с 1 июля 1974 года введен в действие ГОСТ 5848-73. | |
Муравьиная кислота, ГОСТ 5848-60, ч.д.а.
7. Применяемые посуда и приборы.
Хроматограф с детектором по теплопроводности.
Хроматографическая колонка из нержавеющей стали.
Форколонка (концентратор) из нержавеющей стали со штуцерами для присоединения к крану-дозатору хроматографа и штуцером для ввода пробы.
Сосуд Дьюара вместимостью 0,5 л.
Аспирационное устройство.
Трубчатая электропечь для десорбции.
Шкаф сушильный.
Муфельная печь.
Камера объемом 100 л с вентилятором или стеклянные бутыли вместимостью около 20 л.
Газометр.
Набор сит "Физприбор".
Стеклянный патрон длиной 6 см и диаметром 0,6 см.
Шприцы медицинские стеклянные вместимостью 1, 2, 5 мл.
Шприцы ветеринарные вместимостью 100 мл.
Секундомер.
Линейка или лупа измерительные.
Колба Вюрца вместимостью 150 мл.
Капельная воронка вместимостью 25 мл.
8. Отбор проб осуществляют в резиновые камеры или полиэтиленовые мешки объемом в несколько литров. Срок хранения проб не более суток.
9. Молекулярные сита 5А из стандартного набора дробят в ступке, отсеивают фракцию 0,25 - 0,5 мм, сушат 2 - 3 ч в сушильном шкафу при температуре 150°, прокаливают в муфельной печи в течение 4 - 5 ч при температуре 400 °C и затем охлаждают в эксикаторе. Заполнение хроматографической колонки и форколонки производят при легком и осторожном постукивании, поскольку молекулярные сита обладают невысокой прочностью и легко размельчаются.
Заполненные колонку и форколонку подсоединяют к газовой системе хроматографа и в течение 2 - 3 ч продувают газом-носителем при температуре 200 °C. После приведения колонки к рабочим условиям и выхода прибора на режим проводят определение. Для этого кран-дозатор переключают в положение, при котором газ-носитель поступает в хроматограф, минуя форколонку. Последнюю же, предварительно продутую газом-носителем, погружают в сосуд Дьюара с жидким азотом (все выходы форколонки на атмосферу должны быть закрыты). После того как форколонка охладится до температуры жидкого азота, в нее через специальный штуцер с самоуплотняющейся резиновой мембраной ветеринарным шприцем вводят 100 мл пробы воздуха, взятой из резиновой камеры или полиэтиленового мешка. При этом перед шприцем установлен стеклянный патрон, заполненный силикагелем АСМ. Патрон предназначен для поглощения паров воды с целью предотвращения их попадания на молекулярные сита, которые при соприкосновении с влагой дезактивируются.
По окончании дозирования пробы сосуд Дьюара убирают и форколонку в течение двух минут размораживают до комнатной температуры. При этом один из выходов крана-дозатора, связанный с атмосферой, открывают, давая возможность десорбирующемуся воздуху свободно выходить из форколонки. Затем форколонку помещают в нагретую трубчатую печь. Прогрев форколонки длится две минуты, причем выход крана-дозатора, связанный с атмосферой, заглушают лишь спустя минуту после начала нагрева.
После окончания термической десорбции кран-дозатор переключают в положение, соединяющее форколонку с хроматографической колонкой, в которую и поступает вымываемая газом-носителем десорбированная проба. Возвращение штока крана-дозатора в первоначальное положение осуществляют сразу же после появления пика воздуха на хроматограмме.
Размеры хроматографической колонки: длина - 100 см; диаметр - 0,4 см.
Размеры форколонки: длина - 30 см; диаметр - 0,3 см.
Температура колонки - 50 °C.
Температура десорбции - 200 °C.
Скорость потока газа-носителя - 40 мл/мин.
Ток накала нитей детектора - 300 мА.
Продолжительность анализа - 10 мин.
Количественный расчет содержания окиси углерода в воздухе проводят по методу абсолютной калибровки. Стандартные смеси окиси углерода готовят в стеклянных бутылях или камере. Для этого в камеру медицинским шприцем вводят известные количества чистой окиси углерода (например 1, 2, 5 мл и т.д.). Поскольку в камере имеется вентилятор, рассчитанная концентрация окиси углерода устанавливается уже через 1 - 2 мин. Отбор пробы осуществляется ветеринарным шприцем путем прокалывания резиновой трубки, один конец которой соединен с патрубком камеры, а другой - с электроаспиратором, протягивающим через эту трубку воздух камеры. Перед тем как создать в камере новую концентрацию окиси углерода, камеру открывают и тщательно проветривают под вытяжным шкафом.
Условия калибровки и анализа проб должны быть одинаковыми. На основе полученных данных строят графическую зависимость высоты пика окиси углерода от ее абсолютного количества в пробе.
Концентрацию окиси углерода в воздухе X в мг/м3 вычисляют по формуле:
где G - найденное количество окиси углерода, мкг;

- коэффициент пересчета;

- объем воздуха, взятый для анализа и приведенный к стандартным условиям по формуле (см.
Приложение), л.
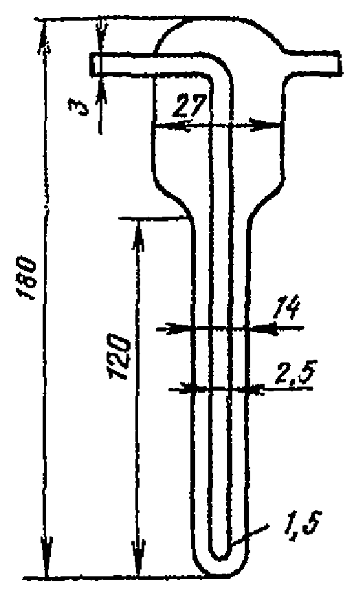
Рис. 1. Аллонж открытый (патрон для фильтра):
а - корпус; б - гайка; 1 - накатка
Рис. 2. Крышка закрытого аллонжа
Рис. 3. Поглотительный прибор с пористой пластинкой
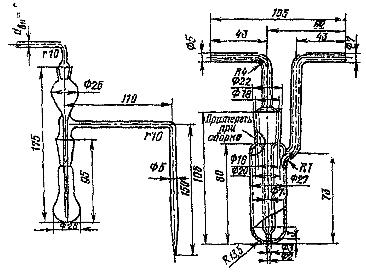
Рис. 4. Прибор для получения мышьяковистого водорода:
1 - пробирка с пришлифованной пробкой;
2 - делительная воронка; 3 - индикаторная трубка Бальской
Рис. 5. Трубка стеклянная гофрированная
Рис. 6. Поглотительный прибор Яворовской
Рис. 7. Схема отбора проб воздуха на тетраэтилсвинец
Рис. 8. Микроприбор для перегонки трихлорсилана
Рис. 9. Поглотительный прибор Зайцева
Рис. 10. Поглотительный прибор Рихтера
Рис. 11. Поглотительный прибор Петри
Рис. 12. Поглотительный прибор Полежаева
Рис. 13. Колба из тугоплавкого стекла
Рис. 14. Прибор для перегонки с водяным паром
Рис. 15. Прибор для дистилляции
Рис 16. Приборы для разрушения хлорорганических
ядохимикатов
Рис. 17. Установка для определения хлорорганических
инсектицидов:
1 - склянка Тищенко с серной кислотой;
2 - поглотитель с натронной известью;
3 - прибор для разрушения хлорорганических инсектицидов;
4 - термометр; 5 - парафиновая баня;
6 - электрическая плитка; 7 - пробирка-приемник
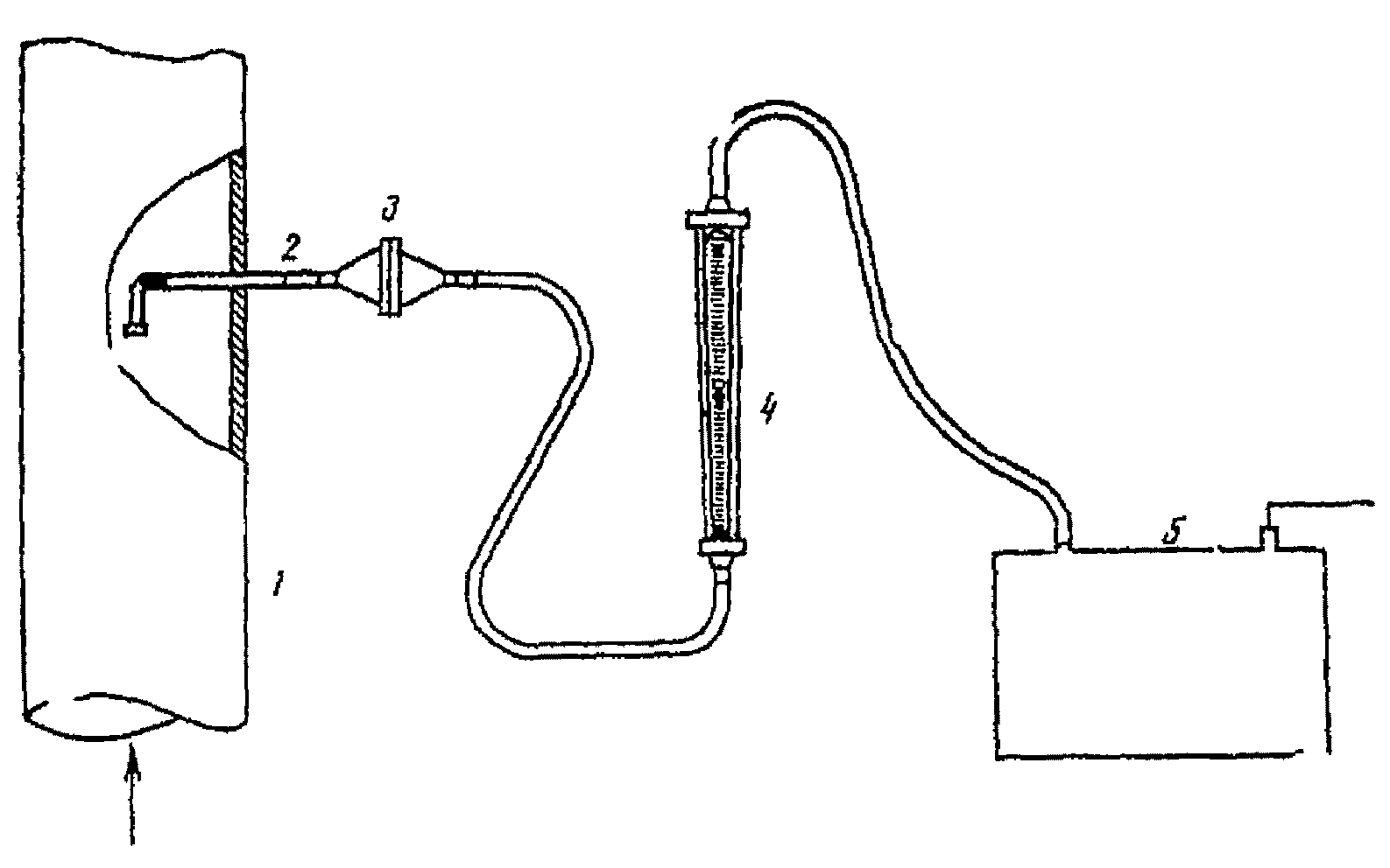
Рис. 18. Схема отбора проб пыли методом внешней фильтрации:
1 - воздуховод; 2 - пылеотборная трубка;
3 - аллонж с фильтром; 4 - ротаметр; 5 - аспиратор
Рис. 19. Схема отбора проб пыли методом внутренней
фильтрации:
1 - воздуховод; 2 - аллонж с фильтром;
3 - металлическая трубка; 4 - ротаметр; 5 - аспиратор
РАСЧЕТ КОНЦЕНТРАЦИИ ВРЕДНОГО ВЕЩЕСТВА В ВОЗДУХЕ
В соответствии с требованиями ГОСТ 12.1.005-76 объем воздуха, аспирированного при отборе проб, приводят к стандартным условиям: температуре 20 °C и барометрическому давлению 101,33 кПа (760 мм рт. ст.) по формуле:
где

- объем воздуха, измеренный при t °C и давлении 101,33 кПа.
Для упрощения расчетов пользуются коэффициентами K
(Приложение 3), вычисленными для температур в пределах от 6 до 40 °C и давлений от 97,33 до 104,0 кПа (730 - 780 мм рт. ст.).
В сборниках ТУ, некоторых МУ и во многих практических руководствах по санитарной химии в составе приложений имеются таблицы коэффициентов пересчета объема воздуха к нормальным условиям (0 °C и 101,33 кПа).
Численные значения коэффициентов в этих таблицах приведены с точностью до четвертого знака для температур от 5 до 40 °C с интервалом в 1° и давлений от 730 до 780 мм рт. ст. с интервалом в 2 мм рт. ст.
Однако нет практической надобности в столь многозначных и слишком подробных таблицах, так как максимальная погрешность четырехзначных коэффициентов составляет всего лишь +/- 0,006%. Согласно ГОСТ 12.1.005-76 погрешность измерения объема воздуха не должна превышать +/- 10%, поэтому точность коэффициентов пересчета на уровне +/- 1% следует считать вполне достаточной.
КОЭФФИЦИЕНТЫ K ДЛЯ ПРИВЕДЕНИЯ
ОБЪЕМА ВОЗДУХА К СТАНДАРТНЫМ УСЛОВИЯМ
t, °C | Давление P, кПа/мм рт. ст. |
97,33/730 | 98,66/740 | 100/750 | 101,33/760 | 102,7/770 | 104/780 |
6 | 1,009 | 1,023 | 1,036 | 1,050 | 1,064 | 1,078 |
8 | 1,002 | 1,015 | 1,029 | 1,043 | 1,560 | 1,070 |
10 | 0,994 | 1,008 | 1,022 | 1,035 | 1,049 | 1,063 |
12 | 0,987 | 1,001 | 1,015 | 1,028 | 1,042 | 1,055 |
14 | 0,981 | 0,994 | 1,007 | 1,021 | 1,034 | 1,048 |
16 | 0,974 | 0,987 | 1,001 | 1,014 | 1,027 | 1,040 |
18 | 0,967 | 0,980 | 0,994 | 1,007 | 1,020 | 1,033 |
20 | 0,961 | 0,974 | 0,987 | 1,000 | 1,013 | 1,026 |
22 | 0,954 | 0,967 | 0,980 | 0,993 | 1,006 | 1,019 |
24 | 0,948 | 0,961 | 0,974 | 0,987 | 1,000 | 1,012 |
26 | 0,941 | 0,954 | 0,967 | 0,980 | 0,993 | 1,006 |
28 | 0,935 | 0,948 | 0,961 | 0,973 | 0,986 | 0,999 |
30 | 0,929 | 0,942 | 0,954 | 0,967 | 0,980 | 0,992 |
32 | 0,923 | 0,935 | 0,948 | 0,961 | 0,973 | 0,986 |
34 | 0,917 | 0,929 | 0,942 | 0,954 | 0,967 | 0,979 |
36 | 0,911 | 0,923 | 0,936 | 0,948 | 0,961 | 0,973 |
38 | 0,905 | 0,917 | 0,930 | 0,942 | 0,955 | 0,967 |
40 | 0,899 | 0,911 | 0,924 | 0,936 | 0,948 | 0,961 |
Искомый коэффициент K, пользуясь упрощенной таблицей, находят в соответствии со следующей схемой:
где

- поправка на температуру;

- поправка на давление.
1. Численное значение давления P, путем исключения единиц, округляют до целого числа, кратного десяти

2. В графе P находят коэффициент, соответствующий заданной температуре. Если цифра °C нечетная, то выписывают значение коэффициента при температуре t + 1 (ближайшее снизу число) и увеличивают его третий знак на 3 единицы (т.е. прибавляют 0,003).
3. Поправку на

определяют по таблице пропорциональных частей, приведенной (снизу) основной таблицы.
Примеры. Требуется определить коэффициент K для следующих параметров окружающей среды:
N п/п | t °C | | | | | K |
1 | 18 | 750 | 750 + 0 | 0,994 + 0 | 0,000 | 0,994 |
| 5 | 788 | 780 + 8 | 1,078 + 0,003 | 0,010 | 1,091 |
| 23 | 743 | 740 + 3 | 0,961 + 0,003 | 0,004 | 0,968 |
| 29 | 732 | 730 + 2 | 0,929 + 0,003 | 0,003 | 0,935 |
| 22 | 781 | 780 + 1 | 1,019 + 0 | 0,001 | 1,020 |
В первом примере значение искомого коэффициента берется непосредственно из таблицы. В тех случаях, когда цифра t °C нечетна (
примеры 2,
3 и
4), выписывают

, соответствующий

и температуре (t + 1) °C, и прибавляют к нему 0,003.
Поправку на излишек единиц

определяют по вспомогательной таблице (их значения вписаны в графу

).
Величину коэффициента K определяют как сумму поправок на температуру и давление и

(графа K).
В
примере 5 ввиду четности цифры t °C поправка на температуру отсутствует.