Главная // Актуальные документы // Методические указанияСПРАВКА
Источник публикации
М.: Издательство стандартов, 1984
Примечание к документу
Документ
введен в действие с 01.01.1985.
Взамен ГОСТ 15806-70.
Название документа
"РД 50-434-83. Руководящий нормативный документ. Методические указания. Автоколлиматоры. Методы и средства поверки"
(утв. и введены в действие Постановлением Госстандарта СССР от 16.12.1983 N 6024)
"РД 50-434-83. Руководящий нормативный документ. Методические указания. Автоколлиматоры. Методы и средства поверки"
(утв. и введены в действие Постановлением Госстандарта СССР от 16.12.1983 N 6024)
Утверждены и введены в действие
Постановлением Государственного
комитета СССР по стандартам
от 16 декабря 1983 г. N 6024
РУКОВОДЯЩИЙ НОРМАТИВНЫЙ ДОКУМЕНТ
МЕТОДИЧЕСКИЕ УКАЗАНИЯ
АВТОКОЛЛИМАТОРЫ
МЕТОДЫ И СРЕДСТВА ПОВЕРКИ
РД 50-434-83
Взамен
ГОСТ 15806-70
Утверждены Постановлением Госстандарта от 16 декабря 1983 г. N 6024, срок введения установлен
с 1 января 1985 года
РАЗРАБОТАНЫ Государственным комитетом СССР по стандартам
ИСПОЛНИТЕЛИ
В.В. Копытов (руководитель темы), В.Д. Лизунов, Г.П. Боровикова
ВНЕСЕНЫ Государственным комитетом СССР по стандартам
Член Комитета Л.К. Исаев
УТВЕРЖДЕНЫ И ВВЕДЕНЫ В ДЕЙСТВИЕ Постановлением Государственного комитета СССР по стандартам от 16 декабря 1983 г. N 6024
Настоящие методические указания распространяются на визуальные автоколлиматоры по ГОСТ 11899-77, на фотоэлектрические автоколлиматоры типов АФ-2 и АФ-1Ц, а также на отечественные и импортные автоколлиматоры, имеющие аналогичные характеристики, и устанавливают методы и средства их первичной и периодической поверок.
1. ОПЕРАЦИИ И СРЕДСТВА ПОВЕРКИ
1.1. При проведении поверки автоколлиматоров должны быть выполнены операции и применены средства поверки, указанные в
табл. 1.
Наименование операции | Номер пункта методических указаний | Средства поверки и их нормативно-технические характеристики | Обязательность проведения операции при |
выпуске из производства и ремонта | эксплуатации и хранении |
Внешний осмотр | | | Да | Да |
|
|
| | ИС МЕГАНОРМ: примечание. ГОСТ 5072-79 утратил силу с 01.01.1991 (ИУС "Государственные стандарты", N 11, 1991). | |
|
Опробование | | Динамометр ДПУ-0,01-2-У2 по ГОСТ 13837-79 или гири общего назначения 5-го класса по ГОСТ 7328-82; секундомер по ГОСТ 5072-79 | Да | Да |
Определение параллакса изображения автоколлимационной марки и минутной шкалы (или биссектора) относительно фокальной плоскости объектива автоколлиматора | | Зрительная труба из комплекта ОСК с фокусным расстоянием объектива, равным 1600 мм и линейной шкалой с ценой деления 0,1 мм | Да | Нет |
Определение параллакса секундной шкалы относительно неподвижного индекса (кроме типа АФ-1Ц) | | - | Да | Да |
Проверка стабильности положения указателя микроамперметра и чувствительности фотоэлектрического устройства для автоколлиматора с фотоэлектрическим устройством | | - | Да | Да |
Проверка совпадения момента наведения при визуальном методе наблюдения и при применении фотоэлектрического устройства для автоколлиматора с фотоэлектрическим устройством | | - | Да | Да |
Проверка перпендикулярности зеркала и плоскостей выверочных площадок оправы и опорной плоскости | | Призма с углом 90° с погрешностью аттестации угла не более 15 "; угольник УП-1-100 по ГОСТ 3749-77 | Да | Да |
Определение среднего квадратического отклонения погрешности наведения и отсчитывания | | - | Да | Да |
Определение соответствия секундной шкалы наименьшему интервалу минутной шкалы (кроме типа АФ-1Ц) | | - | Да | Да |
Определение основной погрешности автоколлиматора при измерении в одной координатной плоскости | | Оптический линзовый компенсатор (справочное приложение 1) или экзаменатор мод. 130 (справочное приложение 2); концевые плоскопараллельные меры длины 3-го класса по ГОСТ 9038-73 и 5-го класса по ГОСТ 8.166-75, аттестованные в качестве мер 4-го разряда по ГОСТ 8.020-75 и ГОСТ 8.166-75, или интерференционный экзаменатор, аттестованный по ГОСТ 8.016-81 | Да | Да |
Определение основной погрешности автоколлиматора при измерении в двух координатных плоскостях | | Двухкоординатный оптический линзовый компенсатор (справочное приложение 1) | Да | Да |
1.2. Допускается применять другие средства поверки, прошедшие метрологическую аттестацию в органах государственной метрологической службы и удовлетворяющие по точности требованиям настоящих методических указаний.
2. УСЛОВИЯ ПОВЕРКИ И ПОДГОТОВКА К НЕЙ
2.1. При проведении поверки следует соблюдать следующие нормальные условия: температура окружающего воздуха (20 +/- 1) °C; влажность не более 80%.
2.2. Перед проведением поверки необходимо выполнить следующие подготовительные работы:
| | ИС МЕГАНОРМ: примечание. Взамен ГОСТ 10905-75 Постановлением Госстандарта СССР от 27.01.1986 N 189 с 01.01.1987 введен в действие ГОСТ 10905-86. | |
автоколлиматор и средства поверки помещают на плиту 1-го класса по ГОСТ 10905-75, установленную на фундаменте;
автоколлиматор до начала измерений следует выдержать на рабочем месте не менее 6 ч;
перед включением фотоэлектрический автоколлиматор необходимо заземлить;
электронный блок фотоэлектрического автоколлиматора перед началом работы прогревают в течение времени, указанного в паспорте.
При внешнем осмотре должно быть установлено:
отсутствие на наружных поверхностях автоколлиматора дефектов, влияющих на его эксплуатационные характеристики и ухудшающих внешний вид;
наличие четкой маркировки;
наличие равномерного освещения поля зрения;
отсутствие царапин и выколок на поверхностях оптических деталей.
3.2.1. Движение винтов компенсатора автоколлиматора должно быть плавным, без скачков и заеданий. Фиксация съемных элементов зажимными устройствами должна быть надежной.
3.2.2. Момент вращения маховичка компенсатора автоколлиматора должен быть не более 0,025 Н·м.
Момент вращения m, Н·м, маховичка компенсатора автоколлиматора определяют динамометром или при помощи гирь. Усилие P, Н, вычисляют по формуле

, (1)
где a - плечо, равное расстоянию от центра маховичка до точки приложения усилия P, м.
При приложении усилия, рассчитанного по
формуле (1), маховичок должен вращаться.
3.2.3. Для фотоэлектрического автоколлиматора с цифровым отсчетом следует выполнять следующие требования.
3.2.3.1. Время измерения угла, равного 5', в автоматическом режиме должно быть не более 15 с.
Проверку проводят при помощи зеркала и секундомера в следующей последовательности.
Установкой зеркала вводят автоколлимационное изображение в центр поля зрения при крайнем положении компенсатора автоколлиматора. Нажимают кнопки "АВТ" координат
X и
Y и сбрасывают на нуль показания цифрового отсчетного устройства. Нажимают кнопки "РУЧН". Нажатием кнопки

или

смещают линзу компенсатора автоколлиматора на 5
' по координате
X. Затем одновременно нажимают кнопку "АВТ" координаты
X и кнопку секундомера. Отсчитывают время возврата к нулю.
Аналогично проводят проверку по координате Y.
3.2.3.2. Нестабильность показаний автоколлиматора в автоматическом режиме за 4 ч работы не должна превышать 1".
Проверку проводят при помощи зеркала, установленного перпендикулярно оси объектива автоколлиматора. Включают кнопки "АВТ" на блоке автоматики и снимают отсчеты с интервалами, равными 30 мин.
3.2.4. Качество автоколлимационного изображения и освещенность поля зрения проверяют наблюдением в окуляр с установленным перед автоколлиматором зеркалом из комплекта автоколлиматора. Изображение автоколлимационной марки в поле зрения окуляра должно быть резким и ярким, без бликов, мешающих измерению. Контуры изображения автоколлимационной марки, штрихов шкал, биссектора и индекса должны быть прямыми и резкими, без дефектов, яркость всех штрихов должна быть одинаковая.
Рабочая часть поля зрения автоколлиматора должна быть равномерно освещена. Не допускается наличие точек, царапин, пузырей, мешающих наблюдению изображения автоколлимационной марки и шкал.
Допускается несколько пониженная контрастность и радужная окраска контура изображения автоколлимационной марки автоколлиматора типа АФ-1Ц, обусловленная работой автоколлиматора в инфракрасной области спектра.
Примечание. При наличии диагонального зеркала проверку проводят при одновременной установке плоского и диагонального зеркал.
3.2.5. Параллельность изображений штрихов автоколлимационной марки и штрихов минутной шкалы (или биссектора) определяют в следующей последовательности.
Получают изображение штрихов автоколлимационной марки от плоского зеркала, совмещают его по высоте с одним из штрихов минутной шкалы (или биссектора). Затем снимают последовательно два отсчета, совмещая верхний и нижний концы вертикального штриха автоколлимационной марки со штрихом минутной шкалы. Разность между двумя отсчетами не должна превышать цены деления секундной шкалы.
3.3. Параллакс изображения автоколлимационной марки и минутной шкалы (или биссектора) относительно фокальной плоскости объектива автоколлиматора определяют с помощью зрительной трубы в следующей последовательности.
Автоколлиматор устанавливают перед зрительной трубой, сфокусированной на бесконечность. При этом объектив автоколлиматора и объектив зрительной трубы обращены навстречу друг другу. Поворотами зрительной трубы и автоколлиматора добиваются совпадения направлений их визирных линий. В поле зрения зрительной трубы наблюдают изображение автоколлимационной марки. Перемещая окуляр зрительной трубы, добиваются резкого изображения автоколлимационной марки и снимают отсчет по линейной шкале и нониусу окуляра. Проводят пять измерений и определяют их среднее арифметическое значение.
Разность отсчетов

, мм, при установке окуляра зрительной трубы на бесконечность и на автоколлимационную марку автоколлиматора по абсолютному значению не должна превышать значения, рассчитанного по формуле

, (2)
где a = +/- 0,5 дптр (+/- 1 дптр или АФ-1Ц) - допускаемое значение параллакса; fок и fоб - фокусные расстояния окуляра и объектива автоколлиматора, соответственно, мм.
Параллакс минутной шкалы (или биссектора) относительно фокальной плоскости (кроме типа АФ-1Ц) определяют аналогично. При этом окуляр зрительной трубы фокусируют на изображение минутной шкалы (или биссектора).
Алгебраическая разность параллаксов автоколлимационной марки и шкалы не должна превышать значений, указанных выше.
3.4. Параллакс секундной шкалы относительно неподвижного индекса определяют по смещению изображения индекса относительно изображения штрихов шкалы при изменении положения глаза в плоскости выходного зрачка окуляра автоколлиматора. Это смещение не должно превышать ширины штриха.
3.5. Стабильность положения указателя микроамперметра проверяют, наблюдая за указателем микроамперметра при фиксированном положении зеркала диаметром не менее 20 мм относительно автоколлиматора. Размах колебаний указателя микроамперметра за 30 с не должен быть более одного деления его шкалы.
Чувствительность фотоэлектрического устройства определяют измерением отклонения стрелки микроамперметра при перемещении секундной шкалы относительно индекса на одно деление. Изображение автоколлимационной марки совмещают с одним из штрихов минутной шкалы (биссектора) по нулевому положению стрелки микроамперметра.
Затем перемещают секундную шкалу на одно деление и снимают отсчет по шкале микроамперметра. Отклонение стрелки микроамперметра при этом должно превышать значение неконтролируемых колебаний не менее чем в три раза.
Чувствительность автоколлиматора с цифровым отсчетом в ручном режиме при расстоянии между зеркалом и объективом автоколлиматора до 200 мм должно быть не менее трех делений микроамперметра при повороте зеркала на 0,2".
Нажимают кнопки "АВТ". Включают кнопки "РУЧН". Сбрасывают на нуль показания цифровых отсчетных устройств кнопками "Уст. 0".
Это положение является исходным. Смещают линзу компенсатора координаты
X кнопкой

на 0,2
" и отмечают отклонение стрелки индикатора координаты
X по отношению к исходному положению.
Аналогично проверяют чувствительность автоколлиматора по координате Y.
3.6. Совпадение момента наведения при визуальном методе наблюдения и при применении фотоэлектрического устройства проверяют в следующей последовательности.
Получают изображение автоколлимационной марки от зеркала. Компенсатором автоколлиматора трижды совмещают изображение автоколлимационной марки с неподвижным биссектором фотоэлектрическим устройством и визуально и каждый раз фиксируют отсчеты. Определяют их среднее значение. Разность между средними значениями отсчетов не должна превышать 1".
3.7. Перпендикулярность зеркала и плоскостей выверочных площадок оправы проверяют при помощи прямоугольной призмы.
Трубу автоколлиматора устанавливают так, чтобы зеркало перекрывало половину его входного отверстия. Установочными винтами автоколлиматора и поворотами зеркала вводят изображение автоколлимационной марки в поле зрения. Установив призму одной из рабочих граней на выверочную площадку зеркала, поворотами призмы вводят в поле зрения изображение автоколлимационной марки от другой рабочей грани призмы. Несовпадение по высоте изображений автоколлимационной марки, полученных от зеркала и от грани прямоугольной призмы (с учетом поправки на прямой угол призмы), не должен превышать 2'. Проверку проводят для обеих выверочных площадок оправы зеркала.
Перпендикулярность зеркала и опорной плоскости оправы проверяют при помощи угольника. Зеркало устанавливают опорной плоскостью на плиту и вводят изображение автоколлимационной марки в поле зрения. Затем вводят изображение автоколлимационной марки от грани угольника, установленного на ту же плиту. Несовпадение по высоте изображений автоколлимационной марки, полученных при отражении от зеркала и от грани угольника с учетом поправки на рабочий угол угольника, не должно превышать 1'.
3.8. Среднее квадратическое отклонение погрешности наведения и отсчитывания определяют в следующей последовательности.
Плоское зеркало из комплекта автоколлиматора устанавливают перед объективом автоколлиматора, наблюдают изображение автоколлимационной марки и совмещают его с неподвижным индексом с одного направления, фиксируя показания автоколлиматора.
Среднее квадратическое отклонение Sн, в угловых секундах, рассчитывают по формуле

, (3)
где
n - число наблюдений (
n >= 20);
xi - результат
i-го наблюдения, ...";

- среднее арифметическое значение, ...".
Аналогично определяют погрешность наведения и отсчитывания при работе с диагональным зеркалом. Плоское зеркало в этом случае устанавливают перед входным отверстием диагонального зеркала.
Среднее квадратическое отклонение с одного направления в этом случае не должно превышать значений, указанных в ГОСТ 11899-77, а для типов АФ-2, АК-0,25, АК-0,5, АК-1, АК-5, АК-30 - половины цены деления секундной шкалы.
Для автоколлиматоров с окулярными микрометрами на штрих минутной шкалы наводят с одной стороны с целью исключения мертвого хода винтовой пары.
Для автоколлиматора типа АФ-1Ц среднее квадратическое отклонение определяют как в ручном, так и в автоматическом режиме. В этом случае среднее квадратическое отклонение не должно превышать 0,5".
3.9. Соответствие секундной шкалы длине деления минутной шкалы проверяют как в одной, так и в двух координатах на пяти различных участках минутной шкалы путем пятикратного измерения наименьшего интервала минутной шкалы при помощи отсчетного устройства автоколлиматора и сравнения полученного результата с номинальным значением проверяемого наименьшего интервала минутной шкалы.
Полученное отклонение не должно превышать значений, указанных в ГОСТ 11899-77.
3.10. Основную погрешность автоколлиматора при измерении в одной координатной плоскости определяют с помощью или оптического линзового компенсатора, или экзаменатора.
Основная погрешность автоколлиматора при измерении в одной координатной плоскости не должна превышать значений, указанных в ГОСТ 11899-77 и в
табл. 2.
Тип автоколлиматора | Предел основной допускаемой погрешности |
в диапазоне измерения, равном 1', ..." | во всем диапазоне измерения, ..." |
АФ-2 | 0,5 | 1,5 |
АФ-1Ц (при диаметре зеркала не менее 15 мм) | 1,0 | 2,0 |
АК-0,25 | 0,5 | 3,8 |
АК-0,5 | 1,0 | 6,5 |
АК-1 | 2,0 | 8,2 |
АК-5 | 6,0 | 23,0 |
АК-30 | 20,0 | 20,0 |
Основную погрешность автоколлиматоров для типов, указанных в
табл. 2, определяют во всем диапазоне и не менее чем на пяти интервалах, равномерно расположенных слева и справа от середины диапазона, при этом погрешность не должна превышать

, (4)
где
a - цена деления секундной шкалы;

- проверяемый интервал, ...".
Погрешность секундной шкалы определяют у автоколлиматоров с оптическим микрометром во всем ее диапазоне, у автоколлиматоров с окулярными микрометрическими винтами в десяти точках на одном обороте.
Погрешность секундной шкалы не должна превышать цены деления.
Погрешность проверяемых наименьших интервалов секундной шкалы у автоколлиматоров с окулярными микрометрическими винтами не должна превышать одной трети цены деления.
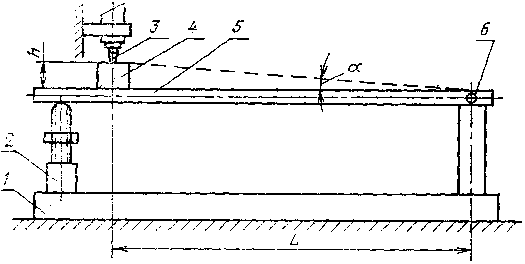
3.10.1. Основную погрешность автоколлиматора при помощи двухкоординатного оптического линзового компенсатора определяют по схеме, приведенной на
рисунке, в следующей последовательности.
Примечание. Значение угла

, рад., на который изменит свое направление пучок лучей при перемещении линзы, определяют по формуле

где
l - перемещение линзы в направлении, перпендикулярном ходу лучей, мм;
f - фокусное расстояние линзы, мм.
Совмещают визирную линию автоколлиматора 1 с оптической осью оптического линзового компенсатора 2 и 3. При этом направления движений линзы компенсатора автоколлиматора и линзы 3 оптического линзового компенсатора должны быть параллельными. Отклонение от параллельности не должно превышать двойной ширины штриха сетки автоколлиматора.
Для определения основной погрешности автоколлиматора в горизонтальной плоскости на микрометрическом винте горизонтального перемещения 4 устанавливают нуль. Установочными винтами автоколлиматора совмещают изображение автоколлимационной марки с нулевым делением минутной шкалы. Снимают отсчет по автоколлиматору.
Смещая линзу компенсатора через минутные интервалы согласно ГОСТ 11899-77 снимают отсчеты по автоколлиматору.
Основную погрешность

, в угловых секундах, вычисляют по формуле

, (5)
где (a2 - a1) - разность отсчетов по автоколлиматору, ...";
aд - действительное значение интервала, заданное оптическим линзовым компенсатором, ...".
Аналогично определяют основную погрешность в вертикальной плоскости.
3.10.2. Основную погрешность автоколлиматора с помощью экзаменатора определяют в следующей последовательности.
Автоколлиматор устанавливают так, чтобы его визирная линия была перпендикулярна плоскости зеркала, установленного на экзаменаторе. Угол наклона зеркала задают экзаменатором.
При заданных углах наклона экзаменатора снимают отсчеты по автоколлиматору. Основную погрешность автоколлиматора определяют по
формуле (5), где
aд - действительное значение интервала, соответствующее значению угла наклона экзаменатора ...
".
| | ИС МЕГАНОРМ: примечание. В официальном тексте документа, видимо, допущена опечатка: имеется в виду рисунок в п. 3.10.1. | |
3.11. Основную погрешность автоколлиматора определяют с помощью двухкоординатного оптического линзового компенсатора по схеме
рис. 4 в следующей последовательности.
Автоколлиматор и двухкоординатный оптический линзовый компенсатор с зеркалом устанавливают так, чтобы визирная линия автоколлиматора совместилась с визирной линией двухкоординатного оптического линзового компенсатора. При этом линза двухкоординатного оптического линзового компенсатора должна быть в среднем положении. В центре поля зрения автоколлиматора должно быть видно изображение автоколлимационной марки. Направления движения линзы компенсатора автоколлиматора и линзы двухкоординатного оптического линзового компенсатора должны быть параллельны. Отклонение от параллельности не должно превышать двойной ширины штриха сетки автоколлиматора. Вращением микрометрических винтов двухкоординатного оптического линзового компенсатора переводят линзу в крайнее положение по двум координатам. Установочными винтами автоколлиматора устанавливают изображение автоколлимационной марки на соответствующие крайние штрихи шкал. Снимают отсчеты с помощью отсчетных устройств.
Затем перемещают линзу в другое крайнее положение по двум координатам и снимают вторые отсчеты.
Основную погрешность автоколлиматора при измерении в двух координатных плоскостях

и

определяют по формулам

, (6)
где a'д и a"д - действительные значения интервалов, заданные двухкоординатным оптическим линзовым компенсатором, ...";
(a'2 - a'1) и (a"2 - a"1) - разности отсчетов по автоколлиматору, ...".
Основная погрешность автоколлиматора при измерении в двух координатных плоскостях не должна превышать предела, указанного в ГОСТ 11899-77, и для автоколлиматора типа АФ-1Ц (при диаметре зеркала не менее 15 мм) - не более 1,5" в минутном диапазоне измерений, и 3,0" - во всем диапазоне измерения.
3.12. Результаты поверки автоколлиматора заносят в протокол,
форма которого приведена в обязательном приложении 4.
4. ОФОРМЛЕНИЕ РЕЗУЛЬТАТОВ ПОВЕРКИ
4.1. Положительные результаты первичной поверки автоколлиматоров оформляют записью в паспорте.
4.2. Положительные результаты периодической поверки, проведенной органами государственной метрологической службы, оформляют выдачей свидетельства по форме, установленной Госстандартом.
4.3. Положительные результаты периодической поверки, проведенной ведомственной метрологической службой, оформляют в порядке, установленном этой службой.
4.4. При отрицательных результатах поверки автоколлиматор к выпуску в обращение и применению не допускают и выдают извещение о непригодности.
Справочное
Двухкоординатный оптический линзовый компенсатор:
1 - оптико-электронный преобразователь с блоком УЦП;
2 - зеркало в оправе; 3 - основание; 4 - микрометрический
винт; 5 - неподвижная отрицательная линза; 6 - каретка
с подвижной положительной линзой.
Цена деления отсчетного устройства 0,001 мм для оптикоэлектронных преобразователей, 0,005 мм для микрометрических винтов.
Диапазон измерения 0 - 6; 0 - 10; 0 - 20; 0 - 40; 0 - 120'.
Допускаемая погрешность аттестации оптического линзового компенсатора во всем диапазоне измерения:
0,5" - для АК-02У; АФ-2; 1,0" - для АК-0,5У, АФ-1Ц;
2,0" - для АК-1У; 30,0" - для АК-60.
Двухкоординатный оптический линзовый компенсатор аттестовывают с помощью образцового автоколлиматора.
Справочное
Схема экзаменатора (синусной линейки):
1 - плоское рабочее зеркало; 2 - вспомогательное зеркало;
3 - плита; 4 - основание
Сущность способа измерения углов на экзаменаторе (синусной линейке) заключается в том, что приращение угла

между плитой
3 и основанием
4 по линии разреза
NN, совпадающей с нормалью к поверхности плоского рабочего зеркала 1 м визирной линией автоколлиматора, связано с приращением угла между основанием и осевым сечением плиты

уравнением

, где

- угол между осевым сечением плиты и нормалью к поверхности плоского рабочего зеркала. Приращение угла между основанием и осевым сечением плиты

равно отношению приращения высоты
H к постоянной базовой длине экзаменатора
l.
Рекомендуемый угол

устанавливают с помощью теодолита и вспомогательного зеркала
2.
Проверку коэффициента 0,2 рекомендуется осуществлять при помощи двух автоколлиматоров, один из которых установлен в плоскости NN, а другой - в главной плоскости экзаменатора.
Погрешность измерения углов на экзаменаторе - не более 0,8".
Схема экзаменатора (тангенсной линейки):
1 - станина; 2 - микрометрический винт; 3 - измерительный
наконечник отсчетного устройства (нуль-индикатора);
4 - концевая мера; 5 - измерительная линейка; 6 - ось
вращения базовой линейки
Угол наклона измерительной линейки 5 экзаменатора определяют из следующей зависимости

,
где

- угол подъема измерительной линейки относительно горизонтального положения;
h - размер меры
4 или блока концевых мер;
L - базовая длина экзаменатора.
Основные параметры и размеры экзаменаторов должны соответствовать указанным в
таблице.
| Значение параметров экзаменатора разряда |
1 | 2 | 3 |
Базовая длина | 1500 мм | 1000 мм | 500 мм |
Цена деления | 0,1 - 0,5" | 1 - 4" | 5 - 20" |
Диапазон измерений | 0 - 20' | 0 - 30' | 0 - 120' |
Погрешность | 0,15 - 0,40" | 0,4 - 2,0" | 2 - 8" |
Справочное
Визирная линия зрительной системы автоколлиматора - линия, определяемая центром объектива и центром перекрестия (центральным штрихом минутной шкалы), находящегося в поле зрения окуляра автоколлиматора.
Визирная линия коллимационной системы автоколлиматора - линия, определяемая центром объектива и центром автоколлимационного перекрестия (биссектора).
Обязательное
ПРОТОКОЛ ПОВЕРКИ N ____________
автоколлиматора N __________________ типа (модели) ___________________,
изготовленного предприятием-изготовителем ___________________________,
принадлежащего, ____________________________________________________,
вновь изготовленного, после ремонта, находящегося в эксплуатации (нужное подчеркнуть).
Температура окружающей среды: | в начале измерений __________ °C; в конце измерений ___________ °C |
Относительная влажность _________________%
Время Tнач. ______________ Tкон. _____________
Скорость изменения температуры ___________ °C/ч
Номер пункта МУ | Проверяемый интервал | Допускаемые отклонения | Действительные отклонения | Примечание |
Поверитель ____________________ подпись | _________________________ Фамилия И.О. |
Дата поверки ___________________ |