Главная // Актуальные документы // Методические рекомендацииСПРАВКА
Источник публикации
М., 2015
Примечание к документу
Текст документа приведен в соответствии с публикацией на сайте http://rosavtodor.ru по состоянию на 04.03.2020.
Документ рекомендован к применению с 31.05.2013
Распоряжением Росавтодора от 31.05.2013 N 732-р.
Название документа
"ОДМ 218.2.029-2013. Отраслевой дорожный методический документ. Методические рекомендации по использованию комплекта среднего автодорожного разборного моста (САРМ) на автомобильных дорогах в ходе капитального ремонта и реконструкции искусственных сооружений"
(издан на основании Распоряжения Росавтодора от 31.05.2013 N 732-р)
"ОДМ 218.2.029-2013. Отраслевой дорожный методический документ. Методические рекомендации по использованию комплекта среднего автодорожного разборного моста (САРМ) на автомобильных дорогах в ходе капитального ремонта и реконструкции искусственных сооружений"
(издан на основании Распоряжения Росавтодора от 31.05.2013 N 732-р)
дорожного агентства
от 31 мая 2013 г. N 732-р
ОТРАСЛЕВОЙ ДОРОЖНЫЙ МЕТОДИЧЕСКИЙ ДОКУМЕНТ
МЕТОДИЧЕСКИЕ РЕКОМЕНДАЦИИ
ПО ИСПОЛЬЗОВАНИЮ КОМПЛЕКТА СРЕДНЕГО АВТОДОРОЖНОГО РАЗБОРНОГО
МОСТА (САРМ) НА АВТОМОБИЛЬНЫХ ДОРОГАХ В ХОДЕ КАПИТАЛЬНОГО
РЕМОНТА И РЕКОНСТРУКЦИИ ИСКУССТВЕННЫХ СООРУЖЕНИЙ
ОДМ 218.2.029-2013
1 РАЗРАБОТАН Закрытым акционерным обществом "Научно-исследовательский и проектный институт территориального развития и транспортной инфраструктуры" (ЗАО "НИПИ ТРТИ").
2 ВНЕСЕН Управлением эксплуатации и сохранности автомобильных дорог Федерального дорожного агентства.
3 ИЗДАН на основании
распоряжения Федерального дорожного агентства от 31.05.2013 N 732-р.
4 ИМЕЕТ РЕКОМЕНДАТЕЛЬНЫЙ ХАРАКТЕР.
5 ВВЕДЕН ВПЕРВЫЕ.
1.1 Настоящий отраслевой дорожный методический документ (далее - методический документ) разработан в соответствии с
пунктом 3 статьи 4 Федерального закона
[1] и является актом рекомендательного характера в дорожном хозяйстве.
1.2 Положения настоящего методического документа распространяются на проектирование и строительство временных мостов, путепроводов, эстакад (далее - мостов) из комплекта САРМ на автомобильных дорогах общего пользования для различных дорожно-климатических зон.
В настоящем методическом документе использованы нормативные ссылки на следующие документы:
ГОСТ 6713-91 Прокат низколегированный конструкционный для мостостроения. Технические условия
ГОСТ 26804-86 Ограждения дорожные металлические барьерного типа. Технические условия
ГОСТ Р 52748-2007 Дороги автомобильные общего пользования. Нормативные нагрузки, расчетные схемы нагружения и габариты приближения
ГОСТ Р 53627-2009 Покрытие полимерное тонкослойное проезжей части мостов. Технические условия
СП 48.13330.2011 Организация строительства (актуализированная редакция СНиП 12-01-2004)
СП 79.13330.2012 Мосты и трубы. Правила обследования и испытаний (актуализированная редакция СНиП 3.06.07-86)
В настоящем методическом документе применены следующие термины с соответствующими определениями:
3.1 автодорожный разборный мост: Специальное мостовое имущество многократного использования, предназначенное для строительства и восстановления искусственных сооружений на военно-автомобильных дорогах.
3.2 временный мост: Мост, предназначенный для ограниченного срока службы (до 5 лет).
4.1 Принятие Федерального
закона [2], ряда нормативных актов и отраслевых методических документов Министерства транспорта Российской Федерации и Федерального дорожного агентства (Росавтодора), требований Правительства Российской Федерации о повышении безопасности движения и снижении стоимости содержания и реконструкции автомобильных дорог вызвало необходимость научно обосновать и нормативно регламентировать порядок применения временных мостов при капитальном ремонте и реконструкции постоянных мостов на федеральных автомобильных дорогах.
4.2 Наиболее универсальным в применении, а соответственно и востребованным, стал САРМ. В условиях высвобождения имущества из Министерства обороны Российской Федерации в экономический комплекс страны универсальность САРМ позволяет использовать его как мостовые конструкции двойного назначения - в качестве временных искусственных сооружений на автомобильных дорогах общего пользования.
4.3 Закономерность этой тенденции определена рядом существенных факторов, основными из которых являются:
- наличие большого количества таких мостов на базах мобилизационного резерва и покупка их подрядными организациями при обновлении запасов;
- низкая стоимость строительно-монтажных работ (СМР) и короткие сроки монтажа (2 - 5 сут) при использовании комплектов САРМ в качестве временных мостов;
- простота сборки и многократная оборачиваемость конструкций САРМ.
4.4 Изначально САРМ разрабатывался как временный мост для использования на военно-автомобильных дорогах, поэтому его применение в качестве временного моста при капитальном ремонте и реконструкции постоянных мостов на федеральных автомобильных дорогах требует разработки методических документов, в которых необходимо определить конструктивные, технические (грузоподъемность, габариты и др.), технологические и организационные рекомендации по его использованию для таких условий. Применительно к данному положению в настоящем методическом документе рекомендованы конструктивные схемы подобных сооружений, рассмотрены особенности технологии их реализации.
5.1 Общая характеристика конструкций САРМ
5.1.1 Конструктивно штатный комплект САРМ позволяет собирать мосты с пролетами от 18,6 до 32,6 м (шаг изменения длины пролета 7 м) и габаритом проезжей части 4,2 и 7,2 м для пропуска автомобилей массой до 13 т (Н-13) и гусеничных транспортных средств массой до 60 т (НГ-60).
5.1.2 Комплект САРМ состоит из трех пролетных строений с ездой поверху с расчетным пролетом 32,6 м и габаритом проезда 7,2 м, двух промежуточных опор высотой 8,84 м, монтажного оборудования и приспособлений для транспортирования. Из комплекта может быть собрано шесть пролетных строений с расчетным пролетом 32,6 м и габаритом проезжей части 4,2 м. Техническая характеристика мостов, возводимых из одного комплекта САРМ, приведена в
таблице А.1 приложения А.
5.1.3 Вся материальная часть моста включает группы пролетных строений, опор, монтажного оборудования, приспособлений для транспортирования. Перечень основных элементов материальной части моста, входящих в состав групп, с указанием массы и габарита приведен в
таблице А.2 приложения А.
5.1.4 Из материальной части САРМ возводят однопролетные и многопролетные мосты как разрезной, так и неразрезной систем, под одно- и двухпутное движение, с промежуточными опорами, устанавливаемыми на основания, которые сооружаются из местных материалов.
5.1.5 Варианты типовых схем временных мостов из имущества САРМ представлены в
приложении Б, величины пролетов временных мостов - в
приложении В.
5.2 Конструкции пролетных строений
5.2.1 Пролетные строения двухпутного высоководного моста из комплекта САРМ в поперечном сечении состоят из двух лент блоков, установленных вплотную одна к другой и объединенных поперечными связями, горизонтальными и диагональными винтовыми стяжками. Каждая лента пролетного строения длиной 32,6 м состоит из двух концевых и трех средних секций, которые соединяются между собой штырями по проушинам нижнего пояса и отверстиям тяг верхнего пояса. Концевая секция отличается от средней меньшими размерами по длине и оформлением опорного конца
(рисунок 1).
а - концевая секция; б - средняя секция;
1 - ортотропная плита проезжей части; 2 - отверстия
для крепления монтажных тяг; 3 - отверстия для крепления
подкосов аванбека; 4 - домкратная балка; 5 - проушины
нижнего пояса; 6 - сплошной вертикальный лист;
7 - овальный вырез для тяги верхнего пояса
Рисунок 1 - Секции пролетного строения
5.2.2 Опорный конец секции выполнен в виде сплошных вертикальных листов с отверстиями для крепления монтажных тяг и подкосов аванбека. К вертикальным листам прикреплена домкратная балка.
5.2.3 Пролетные строения устанавливаются на шпальные клети береговых опор и опорные тележки промежуточных опор.
5.2.4 Ортотропная плита проезжей части является одновременно верхним поясом секций. К верхнему поясу через фасонки штырями крепятся консоли, которые в свою очередь закреплены с помощью штырей и подкосов. Сверху на консоли укладываются щиты проезжей части, тем самым образуя проезжую часть общей шириной 7,2 м
(рисунок 2).
а - продольная схема; б - поперечное сечение;
в - вид со стороны концевых секций;
1 - колесоотбой; 2 - секция перил; 3 - консоль секции;
4 - подкос консоли; 5 - щит настила
Рисунок 2 - Пролетное строение длиной 32,6 м
двухпутного моста из комплекта САРМ
5.3 Конструкции промежуточных и береговых опор, ледорезов
5.3.1 Промежуточные опоры представляют собой конструкцию башенного типа, собранную для запроектированного габарита 4,2 или 7,2 м, на свайном фундаменте или естественном основании. Сваи забиваются до расчетной нагрузки на глубину не менее 4 м от линии наибольшего размыва, возможного на период эксплуатации моста.
5.3.2 Нижний ригель является основанием опоры. Надстройка собирается из плоских, двухстоечных рам высотой 2 м, на связях которых устроены монтажные лестницы. Сверху на надстройку монтируется верхний ригель. Все одноименные элементы взаимозаменяемые, соединение их между собой осуществляется с помощью болтов. Максимальная высота металлической надстройки из комплекта САРМ (с учетом нижнего и верхнего ригелей) 8,84 м.
5.3.3 Береговая опора включает собственно опору - несущую часть, - на которую опирается пролетное строение, и конструкции, предназначенные для сопряжения моста с берегом.
5.3.4 Конструктивно возможно применение промежуточных и береговых опор индивидуального проектирования (в том числе под отличные от типовых габариты моста) с использованием различных местных строительных материалов (бетона, железобетона, металла и т.д.).
5.3.5 Для защиты опор моста от ледохода, как правило, применяют ледорезы на свайном основании. Верх конструкции располагается выше горизонта наивысшего уровня ледохода на 1 м.
6 Анализ соответствия применения САРМ в качестве временных мостов основным положениям современных нормативных документов
6.1 Проектирование новых и реконструируемых постоянных мостовых сооружений в настоящее время осуществляется на основании действующей нормативной документации -
СП 35.13330.2011 (СНиП 2.05.03-84*) и
ГОСТ Р 52748-2007. Указанные стандарты распространяются на проектирование сооружений на автомобильных дорогах общего пользования и устанавливают нормативные нагрузки, расчетные схемы нагружения и габариты приближений.
6.2 Данные нормы не распространяются на проектирование временных искусственных сооружений, срок службы которых предполагает менее 5 лет. Характеристики указанных сооружений при их проектировании назначаются индивидуально исходя из ряда требований (по габариту и расчетной нагрузке, условиям безопасного пропуска транспортных средств и пешеходов, необходимости организации регулярного автобусного движения, лимиту материальных ресурсов и др.) в соответствии с техническим заданием заказчика и по согласованию с органами ГИБДД, эксплуатирующими и другими заинтересованными организациями.
6.3 Мост САРМ запроектирован в соответствии с техническими условиями
[3], основные положения которых существенно отличаются от требований стандартов, приведенных в
подразделе 6.1. Ввиду возможности многократного повторного использования конструкций САРМ в качестве временных искусственных сооружений на автомобильных дорогах общего пользования рекомендуется вопросы их применения в указанных целях регламентировать, руководствуясь требованиями современных нормативных документов к проектированию постоянных мостовых сооружений. Применительно к данному положению в настоящем методическом документе рассмотрены возможности пропуска по таким сооружениям современных нагрузок.
6.4 Анализ конструктивно-технологических показателей САРМ, норм проектирования военных автодорожных разборных мостов позволяет сделать следующие выводы о соответствии конструкций САРМ требованиям современных нормативных документов:
- пролетные строения не обеспечивают пропуск современных нагрузок, предусмотренных
СП 35.13330.2011 (СНиП 2.05.03-84*) для автодорожных мостов;
- пролетные строения имеют недостаточный габарит для обеспечения безопасного пропуска двух полос движения;
- пролетные строения при отсутствии постоянной службы эксплуатации могут быть приведены в аварийное состояние несанкционированным удалением штырей, обеспечивающих их быструю сборку и демонтаж;
- металлическая проезжая часть на стыках пролетных строений не обеспечивает плавность движения транспортных средств;
- защитные и перильные ограждения на пролетных строениях не удовлетворяют требованиям
СП 35.13330.2011 (СНиП 2.05.03-84*) по безопасности движения транспортных средств и пешеходов;
- узлы соединения пролетных строений над береговыми и промежуточными опорами не защищают нижерасположенные элементы пролетных строений и опор от попадания воды и грязи;
- конструкция промежуточных опор (без дополнительных защитных мер) не позволяет воспринимать ледовую нагрузку в период ледохода.
Таблица 1
Конструктивно-технологические показатели
и возможности применения САРМ
Характеристики | Типовая конструкция САРМ | Нетиповая конструкция САРМ, имеющая в поперечном сечении | Примечание |
Однопутный | Двухпутный | три секции | четыре секции |
1 | 2 | 3 | 4 | 5 | 6 |
Предназначение моста | Временный | Временный | Временный | Временный | Временный на период строительства или реконструкции постоянного моста |
Длина моста, м | До 200 м из одного комплекта | До 100 м из одного комплекта | Использование индивидуальных проектов в зависимости от наличия конструкций | Срок службы моста не определяется |
Габарит моста, м | Г-4,2 | Г-7,2 | До Г-8 | До Г-10 | В зависимости от категории дороги |
Тротуары | Отсутствуют | Устраиваются шириной от 0,75 до 1 м с использованием дополнительных технических решений | В зависимости от габарита |
Расчетная нагрузка | Н-13, НГ-40 | Н-13, НГ-60 | Определяется дополнительным расчетным обоснованием | А11, НК-80 |
Проезжая часть | Типовая, с элементами противоскольжения, без дополнительного усиления и гидроизоляции | Мелкозернистый асфальтобетон на гидроизоляции либо использование индивидуальных технических решений с применением современных полимерных материалов | Устраиваются гидроизоляция, защитный слой из мелкозернистого асфальтобетона |
Колесоотбой или барьерное ограждение | Типовой колесоотбой высотой 250 мм | Типовой колесоотбой с нарощенным по высоте колесоотбоем индивидуального изготовления или металлическое барьерное ограждение типа 11МО1 (УТ) | |
Водоотвод | Не организован, осуществляется сбросом воды в зазоры между секциями | Организуется с использованием отдельных конструктивных решений в зависимости от особенностей устройства проезжей части с продольным уклоном пролетного строения и поперечным уклоном проезжей части, водоотводными лотками | Организуется |
Освещение | Не устраивается | Устраивается с использованием индивидуальных технологических решений | Устраивается |
Способ установки пролетного строения | Надвижка, крановая сборка | Надвижка, крановая сборка | Способ установки не определяется |
Опоры | Типовые с шагом изменения надстройки 2 м | Индивидуальные проекты | - |
6.5 Анализ сравнения конструктивно-технологических показателей и возможности применения САРМ в качестве временных искусственных сооружений на автомобильных дорогах общего пользования приведены в
таблице 1.
6.6 Выполненный анализ соответствия временных искусственных сооружений из комплекта САРМ требованиям нормативных документов по возможности пропуска по таким сооружениям современных нагрузок показал, что для возможного использования САРМ на автомобильных дорогах общего пользования необходимо разработать ряд технических решений, выполнить их конструктивную проработку и сделать расчетное обоснование.
7 Конструктивно-технические решения временных мостов из комплекта САРМ для автомобильных дорог общего пользования
7.1.1 В данном разделе методического документа рекомендовано три варианта технических решений (приложение Г
[4]), которые устраняют недостатки существующего комплекта САРМ по грузоподъемности, габаритам, долговечности, обеспечению безопасности и плавности движения и позволяют использовать его в качестве временных мостов на автомобильных дорогах общего пользования.
7.1.2 Мост из комплекта САРМ по первому предлагаемому варианту (
рисунки Г.1 -
Г.4 приложения Г) представляет собой балочный мост с несколькими пролетами разрезной или неразрезной системы с максимально возможным пролетом 25,6 м; габаритом Г-8+2x1,0 м. Расчетные нагрузки А11, НК-80. В соответствии с
требованиями [5] по мосту допускается организация автомобильного движения.
7.1.3 Поперечное сечение пролетного строения содержит три стандартные секции из комплекта элементов разборного моста САРМ, два удлиненных (до 1 м) консольных блока; имеет перильные и барьерные ограждения требуемой высоты, покрытие проезжей части и водоотводные лотки, подвешенные по концам консольных блоков. Крайние секции и консольные блоки установлены с поперечным уклоном относительно горизонтали под углом 1°
[4]. Все блоки в продольном и поперечном направлениях объединены штырями (см. таблицу А.2 приложения А,
марки 3 и
8).
7.1.4 Мост из комплекта САРМ по второму предлагаемому варианту (
рисунки Г.5,
Г.6 приложения Г) представляет собой балочный мост с несколькими пролетами разрезной или неразрезной системы с максимально возможным пролетом 25,6 м; габаритом Г-4,5+2x1,0 м. Расчетные нагрузки А11, НК-80. Продольная схема моста и конструкция нетиповых узлов аналогичны первому варианту моста.
7.1.5 Поперечное сечение пролетного строения содержит две стандартные секции из комплекта элементов разборного моста САРМ, два типовых консольных блока; имеет перильные и барьерные ограждения требуемой высоты, покрытие проезжей части и водоотводные лотки, подвешенные по концам консольных блоков. Секции пролетного строения и консольные блоки установлены с поперечным уклоном относительно горизонтали под углом 1°. Все блоки в продольном и поперечном направлениях объединены штырями (см. таблицу А.2 приложения А,
марки 3 и
8).
7.1.6 Мост из комплекта САРМ по третьему предлагаемому варианту (
рисунки Г.7 -
Г.12 приложения Г) представляет собой балочный мост с несколькими пролетами разрезной или неразрезной системы с максимально возможным пролетом 25,6 м; габаритом Г-4,2+2x0,75 м. Расчетные нагрузки А8, НГ-40. Данный вариант реализуется в случае его согласования с органами ГИБДД, так как не соответствует требованиям
ГОСТ Р 52748-2007 по минимально допустимому габариту (не менее 4,5 м). Мост необходимо размещать только на прямых участках в плане, при этом ширина полос безопасности уменьшается с 0,5 до 0,35 м, а ширина полосы движения составляет 3,5 м (что соответствует V категории). Имеет место при ограничениях в наличии конструктивных элементов САРМ и других материальных ресурсов.
7.1.7 Поперечное сечение пролетного строения содержит одну стандартную секцию из комплекта элементов разборного моста САРМ, четыре стандартных консольных блока, два индивидуальных подкоса, имеет перильные и барьерные ограждения требуемой высоты. Все элементы в продольном и поперечном направлениях объединены штырями (см. таблицу А.2 приложения А,
марки 3 и
8).
7.1.8 При проектировании временных искусственных сооружений за рабочий уровень воды (ледостава) рекомендуется принимать наивысший возможный в период производства работ сезонный уровень воды (ледостава), соответствующий расчетному расходу (уровню ледостава) с вероятностью превышения 5%.
7.1.9 При интенсивном движении транспортных средств для предохранения проезжей части от значительного износа, а также для борьбы со скользкостью ортотропной металлической плиты (особенно при выпадении осадков) для всех предлагаемых вариантов целесообразно укладывать по верху проезжей части САРМ настил из досок толщиной 20 мм. Как вариант рассматриваются:
- укладка слоя мелкозернистого (литого) асфальтобетона толщиной 50 мм по слою гидроизоляции (типа "Поликров Р200", "Тэпсан" и др.).
- нанесение полимерного износостойкого покрытия (например, типа "Полимаст"),
Мостовая гидроизоляция типа "Поликров Р200" - рулонный полимер, который применяется на мостах для гидроизоляционных работ по ортотропной металлической проезжей части автодорожных мостов, путепроводов, эстакад, сооружаемых и эксплуатируемых в любых климатических зонах Российской Федерации.
Дорожная одежда, в том числе асфальтобетон любой марки вплоть до литого, может укладываться непосредственно на гидроизоляцию.
Мастика "Полимаст" применяется в соответствии с
ГОСТ Р 53627-2009 в качестве эксплуатируемого универсального тонкослойного покрытия толщиной 5 - 20 мм, предназначенного для гидроизоляции и защиты при эксплуатации мостов с металлической проезжей частью. Толщина покрытия определяется интенсивностью нагрузки. Мастика "Полимаст" может наноситься как на проезжую часть моста на заводе - изготовителе САРМ, так и на стройплощадке. Упругоэластичные свойства такого тонкослойного покрытия препятствуют образованию наледи, тем самым повышая безопасность дорожного движения и удешевляя эксплуатацию покрытия в зимнее время года. Мастика "Полимаст" обладает стойкостью к деформациям настильного листа ортотропной плиты от действия подвижных динамических и вибрационных нагрузок, в то же время имеет высокие показатели прочности и износостойкости при коэффициенте сцепления, обеспечивающем безопасное движение транспортных средств по мостовым сооружениям.
Выбор того или иного способа зависит от необходимости защиты конструкций от попадания атмосферных осадков, экологических требований и ряда других факторов.
7.1.10 Использование предлагаемых вариантов технических решений позволяет строить временные мосты на автомобильных дорогах общего пользования из комплектов САРМ, высвобождаемых Министерством обороны Российской Федерации и базами хранения мобилизационного резерва, с обеспечением установленных
СП 35.13330.2011 (СНиП 2.05.03-84*) грузоподъемности пролетных строений и габарита проезжей части с тротуарами, безопасности проезда автомобилей и прохода пешеходов, условий для плавного проезда транспортных средств, защиты опор от проникновения на них атмосферных осадков.
7.2 Расчет грузоподъемности предлагаемых конструкций
7.2.1 Расчет грузоподъемности предлагаемых конструктивных схем автодорожных мостовых сооружений с использованием комплекта САРМ выполнен с учетом положений нормативных источников с введением в расчет предлагаемых геометрических параметров конструкций, фактической прочности строительных материалов, действующих постоянных нагрузок, уточненной расчетной схемы. Требования
СП 35.13330.2011 (СНиП 2.05.03-84*) использованы в части учета значений расчетных коэффициентов: полосности, надежности по нагрузке, динамических.
7.2.2 В расчетах приняты следующие коэффициенты:
· надежности по нагрузке:
- для тележки АК - 1,5,
- для равномерно распределенной нагрузки АК - 1,15,
- для нагрузки НК - 1,1,
- для ветровой нагрузки - 1,4,
- для нагрузки от собственного веса - 1,05;
· динамические:
- для тележки АК - 1,4,
- для равномерно распределенной нагрузки АК - 1,0,
- для нагрузки НК - 1,0.
7.2.3 В качестве главного усилия выбран изгибающий момент в наиболее нагруженных сечениях.
7.2.4 Выполненные расчетные обоснования подтверждают принятые классы нагрузки для предлагаемых вариантов временных мостов из комплекта САРМ. Пролетные строения, имеющие в поперечном сечении две (три) секции, с расчетным пролетом не более 25,6 м рекомендуется использовать в мостовых сооружениях, где класс требуемой нагрузки равен 11 и менее. Сооружения с одной секцией в поперечном сечении и расчетным пролетом не более 25,6 м рекомендуются, если класс требуемой нагрузки не более 8.
7.2.5 Анализ расчетов показывает, что пролетное строение моста из комплекта САРМ длиной 32,6 м не обеспечивает его несущей способности при нормативных нагрузках А11 и НК-80 ни по прочности, ни по прогибам и тем более не удовлетворяет требованиям современных нормативных документов при классе нагрузки К = 14.
8 Технологические решения по сборке временных мостов из комплекта САРМ
8.1.1 Высокие темпы сборки САРМ достигаются за счет заблаговременной заготовки элементов фундаментов из местных материалов, своевременного и организованного вывоза, сосредоточения табельных мостовых конструкций в район строительства моста, а также посредством организации СМР широким фронтом с использованием средств комплексной механизации при совмещении по времени различных мостостроительных операций.
8.1.2 Рассматривая вопрос применимости САРМ на автомобильных дорогах общего пользования в ходе капитального ремонта и реконструкции искусственных сооружений, необходимо разграничить возможности его применения в зависимости от ряда факторов:
- технической оснащенности мостостроительной организации;
- возможности применения комплекта отдельными элементами;
- строго фиксированной длины изменения пролетного строения на величину средних секций (7 м);
- опирания пролетных строений только концевыми секциями;
- достаточно большой строительной высоты конструкций пролетного строения;
- характера преодолеваемой преграды;
- типа промежуточных опор и конструкции узлов опирания пролетных строений;
- своевременного и организованного вывоза мостовых конструкций в район строительства моста;
- достаточной площади для складирования элементов конструкций и развертывания строительной (сборочной) площадки.
В соответствии с этим влияние указанных факторов и определяет способ ведения работ по строительству временного моста.
8.2 Особенности монтажа (установки) пролетных строений из комплекта САРМ
8.2.1 Монтаж (установка) пролетных строений из комплекта САРМ на опоры осуществляется различными способами:
- надвижкой в пролет (лебедками, тягачами) с противоположного берега;
- сборкой стреловыми кранами (кран сверху, снизу, на плавсредстве);
- подачей в пролет с помощью плавучих опор (плавсредств) с последующим опусканием;
- подачей в пролет с помощью плавучих опор (плавсредств) с последующим поперечным перемещением.
8.2.2 В соответствии с
таблицей 2 рекомендуется использовать следующие технологические решения по монтажу (установке) пролетных строений из комплекта САРМ на опоры
(приложение Д):
- типовую надвижку (одной-двух секций САРМ в поперечном сечении моста)
(рисунок Д.1);
- нетиповую надвижку (трех секции САРМ в поперечном сечении моста)
(рисунок Д.2);
- установку пролетных строений стреловым краном большой грузоподъемности на достаточном вылете стрелы
(рисунок Д.3).
8.2.3 Наиболее рациональным способом для САРМ является продольная надвижка, как наименее трудоемкая, технологически достаточно простая, многократно опробованная и в полной степени отвечающая всем предъявляемым требованиям.
8.2.4 Устройство промежуточных и береговых опор осуществляется в соответствии с проектом и может быть как типовое (фундаменты на забивных сваях или на естественном основании) с применением штатных надстроек опор, так и конструктивно индивидуальное, поэтому технологические особенности их сооружения в данном документе не рассматриваются.
Таблица 2
Предлагаемые технологические решения по монтажу (установке)
пролетных строений из комплекта САРМ на опоры
Конструкция | Длина расчетного пролета, м | Особенности сборки пролетных строений |
Одна-две секции САРМ в поперечном сечении моста (Г-4,2+2x0,75 м или Г-4,5+2x1,0 м) | 18,6 | Типовая надвижка. Установка стреловым краном большой грузоподъемности на достаточном вылете стрелы |
Одна-две секции САРМ в поперечном сечении моста (Г-4,2+2x0,75 м или Г-4,5+2x1,0 м) | 25,6 | То же |
Три секции САРМ в поперечном сечении моста (Г-8+2x1,0 м) | 18,6 | Нетиповая надвижка. Установка стреловым краном большой грузоподъемности на достаточном вылете стрелы по одной ленте |
Три секции САРМ в поперечном сечении моста (Г-8+2x1,0 м) | 25,6 | То же |
8.3 Организация строительства моста
8.3.1 Организация строительной площадки
8.3.1.1 Площадка планируется размером 45 x 20 м. В первую очередь выбирают места для площадок по сборке и складированию наиболее тяжелых и громоздких элементов и конструкций.
8.3.1.2 Складирование на площадках материалов, элементов и конструкций производится в порядке технологии их сборки и монтажа при наименьших затратах на погрузочно-разгрузочные работы. Необходимо создать запас монтажных элементов не менее чем на один-два дня работы по сборке временного моста.
8.3.1.3 Тяговые и тормозные лебедки устанавливаются по оси накаточного пути, а расчалочные - под углом к оси моста 25° - 30°. Тяговые лебедки располагают на противоположном берегу в 35 - 40 м за береговой опорой, тормозные лебедки - в 15 - 20 м от конца сборочной площадки на исходном берегу, а расчалочные - в районе береговых опор.
8.3.1.4 Лебедки устанавливаются на подкладки из брусьев или из бревен и закрепляются к анкерам (рисунок 3).
1 - строп анкерный; 2 - крюк анкерный; 3 - бревна анкера
Рисунок 3 - Закрепление лебедок к земляным анкерам
8.3.1.5 В качестве анкера используются бревна диаметром 22 - 30 см и длиной 2 - 2,5 м, врытые в землю в зависимости от плотности грунта на глубину 1,5 - 2 м. Лебедки крепятся к анкерам с помощью анкерного стропа, который петлей охватывает бревна, а коушами надевается на анкерные крюки лебедок.
8.3.1.6 Тяговые и тормозные лебедки необходимо устанавливать в одном уровне с нижними поясами пролетных строений либо с небольшим превышением.
8.3.1.7 Вместе с установкой тормозной и тяговой лебедок устанавливаются и полиспастные блоки. При возведении двухпутных мостов полиспастные блоки закрепляются к анкеру, устанавливаемому по оси моста между лебедками.
8.3.1.8 Оси установки сборочных тележек разбиваются согласно схеме, приведенной на рисунке 4. Верх катков тележек располагают в одной плоскости, а в высотном отношении увязывают с отметками верха катков опорных тележек.
1, 2 - соответственно сборочная и опорная тележки
Рисунок 4 - Схема установки сборочных тележек
8.3.2 Возведение опор и ледорезов
8.3.2.1 Работы по устройству оснований и фундаментов выполняют в соответствии с проектом организации строительства и проектом производства работ, составленными с учетом местных условий и требований
СП 48.13330.2011 (СНиП 12-01-2004).
8.3.2.2 Промежуточные опоры под пролетные строения из комплекта САРМ возводятся с использованием имеющейся в комплекте разборной металлической надстройки, устанавливаемой на свайное основание.
8.3.2.3 Работы по забивке свай выполняются согласно требованиям, изложенным в соответствующих инструкциях и технических правилах.
8.3.2.4 Сваи забивают согласно схеме расположения свай в опоре и в ледорезе после установки и закрепления парома в линию моста.
8.3.2.5 Укрупнение элементов металлической надстройки опор производится на берегу на специально отведенной для этой цели площадке.
При укрупнении элементов производят:
- сборку блоков опор;
- установку верхних ригелей;
- установку монтажных площадок;
- крепление консолей к нижнему ригелю при возведении опор под однопутный мост;
- установку блоков на нижний ригель.
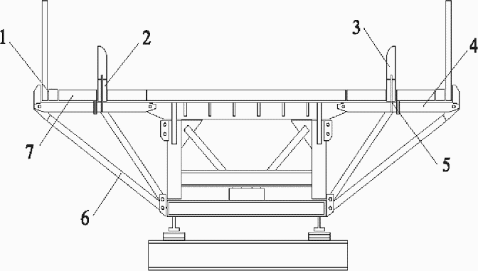
8.3.2.6 Укрупненные элементы опор с площадки подаются автомобилями к пристани, перегружаются на перевозной паром и отбуксировываются к основанию опоры. Установка металлической надстройки опор выполняется до начала надвижки пролетных строений или опережает надвижку на один-два пролета. Монтажная схема надстройки промежуточной опоры высотой 8,84 м под двухпутный мост приведена на рисунке 5.
Рисунок 5 - Монтажная схема надстройки промежуточной опоры
под двухпутный мост (цифры соответствуют маркам элементов,
8.3.2.7 Опора монтируется из нескольких рядов стоек. После установки блока с верхним ригелем краном подается опорная тележка, которая устанавливается по размеченным на ней и верхнем ригеле осям.
8.3.2.8 По окончании монтажа надстроек промежуточных опор производятся проверка и подтяжка всех болтов, работы по запасовке и креплению расчалочных тросов и подъем тяговых тросов на верх опор.
8.3.2.9 Верх опор для обеспечения их устойчивости при надвижке пролетных строений расчаливается с помощью тросов и лебедок, установленных на берегах. Расчалочные тросы крепятся к верхним ригелям опор сжимами, для чего в настиле верхнего ригеля по углам имеется по четыре отверстия.
8.3.3 Установка пролетных строений на опоры
8.3.3.1 Сборка пролетных строений производится на сборочной площадке исходного берега на установленные ранее сборочные тележки. Сборка осуществляется автомобильными кранами, которые устанавливаются неподвижно под каждую ленту пролетного строения. Монтажные элементы подаются на сборочную площадку для сборки непосредственно на автомобилях, транспортирующих комплект. В процессе сборки пролетные строения периодически выдвигаются в сторону препятствия. Выдвигание производится после установки каждой секции. Соединение секций между собой показано на рисунке 6.
1 - штыри главных ферм; 2 - тяга верхнего пояса;
3 - соединяемые секции
Рисунок 6 - Соединение секций пролетных строений между собой
8.3.3.2 Порядок сборки пролетного строения:
- установка концевой секции, крепление к ней аванбека;
- выдвигание аванбека на длину секции; установка средней секции и выдвигание;
- установка консолей и подкосов на концевой секции и монтаж следующей секции;
- сборка пролетных строений производится полным потоком, устанавливаются секции, крепятся консоли и подкосы; устанавливаются колесоотбои, щиты настила и секции перил. При сборке двухпутного моста сборка второй ленты пролетного строения производится с отставанием на одну-две секции.
8.3.3.3 Сборка двухпутного моста осуществляется двумя кранами, работающими самостоятельно. Порядок сборки аналогичен сборке однопутного моста, дополнительно выполняют работы по соединению пролетных строений в двухпутный мост с помощью горизонтальных и диагональных стяжек (рисунок 7).
1, 2 - соответственно горизонтальная и диагональная стяжки;
3 - верхний ригель; 4 - опорная тележка
Рисунок 7 - Поперечный разрез двухпутного моста
8.3.3.4 Соединение пролетных строений между собой по нижнему поясу осуществляется аналогично описанному выше, а по верхнему поясу - с помощью монтажных тяг (рисунок 8). Монтажные тяги устанавливаются между первым и вторым пролетом только на время надвижки.
1 - монтажная тяга; 2 - консоль концевой секции;
3 - подкос консоли; 4 - штырь главных ферм;
5 - опорная тележка; 6 - концевая секция
Рисунок 8 - Соединение пролетных строений
8.3.3.5 Продольная надвижка пролетных строений осуществляется тяговыми и тормозными лебедками (ручными и электрическими) с помощью лебедки автомобиля.
8.3.3.6 Надвижка пролетных строений на опоры производится в следующем порядке:
- собираются пролетные строения;
- закрепляются к петлям концевых секций пролетного строения и к анкерам на берегах полиспастные блоки, через которые перепускаются тросы тяговой и тормозной лебедок (при горизонтальной сборочной площадке тросы тяговой и тормозной лебедок перепускаются через однорольные блоки; при уклоне "в гору" трос тяговых лебедок перепускается через двухрольный блок в три или четыре нити, при уклоне "под гору" в полиспаст запасовывается трос тормозных лебедок);
- выбираются тросы тяговых и тормозных лебедок, выбиваются клинья из-под катков сборочных тележек, производится надвижка пролетных строений в пролет путем выбирания тросов тяговых лебедок и травления тросов тормозных лебедок;
- производится надвижка до совмещения осей опорных узлов пролетных строений с осями береговых опор, после чего заклиниваются катки опорных тележек и убираются тросы тяговых и тормозных лебедок;
- производятся поддомкрачивание концов пролетных строений, замена монтажных тяг, опускание и установка пролетных строений на опорные брусья только на береговых опорах;
- убираются сборочные тележки;
- устраиваются сопряжения моста с берегами и укладываются щиты настила на первом пролете.
8.3.3.7 Запасовка тросов производится согласно схеме, приведенной на рисунке 9.
1 - аванбек; 2 - тяговый трос; 3 - лебедка; 4 - анкер
с блоком; 5 - концевая секция первого пролета
Рисунок 9 - Схема запасовки тросов
8.3.3.8 Схема запасовки тяговых и тормозных тросов в каждом случае принимается в зависимости от конкретных условий. Закрепление концов тросов производится четырьмя сжимами, устанавливаемыми через 20 - 25 см друг от друга, либо у пролетного строения, либо у анкеров на берегу в зависимости от принятой схемы запасовки.
8.3.3.9 Подача тягового троса с противоположного берега осуществляется с помощью буксирного катера с последующим подъемом его на верх промежуточных опор.
8.3.3.10 При приемке пролетных строений на опоры следят за тем, чтобы аванбек своими поясами точно проходил по каткам опорной тележки и опирался на катки полностью после прохода его поясов на длину одного метра от оси опорной тележки. В том случае, если аванбек при достижении этого положения не будет опираться на катки, надвижка останавливается и производится его регулировка, которая осуществляется с помощью подкосов аванбека.
8.3.3.11 При контроле над проходом пролетных строений на опорах обращается внимание на то, чтобы не было заедания катков опорных тележек и смещения поясов пролетного строения в сторону направляющих роликов, которое вызывало бы сдвиг опорной тележки или подъем направляющих (противоугонных) роликов со своих гнезд.
8.3.3.12 По окончании надвижки производится поддомкрачивание концов пролетных строений. В первую очередь поддомкрачивание и установка пролетных строений на опорные брусья выполняется на береговой опоре исходного берега. Затем поднимаются пролетные строения для замены монтажных тяг и установки опорных брусьев на береговой опоре противоположного берега. Подъем конца пролетного строения при замене монтажных тяг производится на высоту 70 - 75 см.
8.3.3.13 Подъем конца пролетного строения двухпутного моста осуществляется двумя 30-тонными гидравлическими домкратами. Работы по подъему береговых концов пролетного строения ведутся в следующей последовательности:
- по оси секции заглубляются в грунт два бруса сечением 140 x 200 мм, длиной 1500 мм;
- на уложенные брусья под домкратную балку концевой секции устанавливаются домкраты и осуществляется подъем пролетного строения на полную величину хода поршней, производится частичная укладка первого ряда брусьев сечением 140 x 200 мм, длиной 3000 мм;
- под пролетное строение укладываются два бруса с расстоянием между ними 200 мм, при этом один брус укладывается по оси опорного узла и на него устанавливаются подкладки (16 x 200 x 400 мм) по две штуки в местах опирания нижних поясов;
- пролетное строение опускается, убираются домкраты и производится окончательная укладка брусьев первого ряда, еще два бруса укладываются вплотную друг к другу и на них устанавливаются домкраты;
- пролетное строение повторно поднимается, снимаются подкладки, укладываются брусья длиной 1500 мм под нижние пояса и на них устанавливаются еще по две подкладки;
- пролетное строение опускается, убирается домкрат, производится окончательная укладка второго ряда брусьев.
Процесс последовательно повторяется до тех пор, пока пролетное строение не будет поднято на требуемую высоту. Опускание пролетных строений производится в обратном порядке.
8.3.3.14 После замены монтажных тяг выполняют работы по установке переходных щитов и колесоотбойных вставок.
8.3.3.15 Для правильного распределения и использования сил и средств по времени разрабатываются график организации работ по строительству моста и схема монтажа моста.
График составляют с учетом ориентировочных норм на постройку мостов и времени на выполнение основных видов работ
(приложение Е).
Схема монтажа моста составляется на основании его принятой продольной схемы, наличия оборудования, принятых способов установки в пролет пролетных строений и возведения опор и является основным документом, по которому осуществляется строительство временного моста.
На схеме монтажа моста, кроме общепринятых положений, обязательно показывают:
- места установки шпальных клеток под сборочные тележки на площадке и их отметки, увязанные с отметками верха опор моста;
- места установки тяговой и тормозной лебедок;
- отметки низа пролетных строений или отметки катков опорных тележек на опорах;
- места установки сборочных тележек.
8.3.3.16 Демонтаж конструкций временного моста из комплекта САРМ производится в обратном порядке (путем сдвижки и разборки пролетных строений).
9 Организация хранения конструкций моста
9.1. До повторного использования хранение конструктивных элементов комплекта САРМ организуется в штабелях на открытых площадках в соответствии с положениями, приведенными в главе 6 технического описания
[6].
9.2 Для хранения одного комплекта подготавливается площадка размером примерно 20 x 30 м со следующими характеристиками:
- уклон местности - 2%;
- удаление грунтовых вод от поверхности - не менее 0,5 м;
- несущая способность грунта - не менее 2 кг/см2.
9.3 При поступлении конструкций моста после эксплуатации необходимо выполнить следующие мероприятия:
- проверить комплектность моста;
- проверить техническое состояние всех конструкций моста и исправность монтажного оборудования и механизмов, дефектные конструкции и неисправные механизмы изъять и отправить в ремонт;
- очистить конструкции от ржавчины и старой краски, загрунтовать и покрасить;
- восстановить маркировку конструкций и деталей;
- законсервировать болты, штыри и другие неокрашенные детали, уложить их в ящики;
- законсервировать монтажное оборудование;
- размотать тросы лебедок на всю длину, протереть, покрыть тонким слоем канатной мази, плотно намотать на барабаны лебедок и обернуть рубероидом;
- уложить имущество моста в штабеля на подготовленную площадку;
- подготовить документы об организации хранения комплекта моста и произвести соответствующие записи в паспорте моста.
9.4 Ориентировочные нормы расхода материалов на содержание комплекта моста САРМ при годовом техническом содержании (расход на 1 т конструкций моста) составляют:

нитроэмаль - 2,3 кг;

грунт ГФ-020 - 0,7 кг;

грунт - преобразователь ржавчины - 0,6 кг;

растворитель - 0,6 кг.
9.5 Ориентировочные нормы времени (трудозатраты) на содержание комплекта моста САРМ при этом составляют 3,5 чел.-ч на 1 т конструкций моста.
9.6 По необходимости выполняется текущий или капитальный ремонт САРМ. Текущий ремонт проводится силами мостовых организаций в полевых условиях, капитальный - на специализированных предприятиях по ремонту мостовых конструкций.
9.7 Текущий ремонт заключается в устранении неисправностей, выявленных в процессе эксплуатации или технического обслуживания. При текущем ремонте производится замена деталей из числа имеющихся в запасе комплекта САРМ (штырей, болтов, шайб, шплинтов), изготовление и замена неответственных элементов. В ходе текущего ремонта устраняют погнутости отдельных элементов, подваривают трещины листа проезжей части. Текущий ремонт при износе листа проезжей части ведут наваркой листовой стали толщиной 5 - 6 мм. Категорически запрещается постановка самодельных штырей главных ферм САРМ. В ходе текущего ремонта производится также замена тросов лебедок, ремонт их электрооборудования. По окончании ремонта необходимо восстановить окрасочное покрытие.
9.8 В ходе капитального ремонта производят ремонт или замену несущих элементов пролетного строения или опор (поясов, раскосов, стоек, подвесок, узловых фасонок, проушин стыковых узлов и т.д.) и проезжей части; изготавливают штыри; заменяют или изготавливают неисправное монтажное оборудование и приспособления; производят контрольную сборку моста, восстановление полной окраски и другие необходимые работы.
10 Организация диагностики, освидетельствования и оценки несущей способности конструкций из комплекта САРМ
Дорожно-технические средства (в частности комплекты САРМ), поступающие для реализации в экономический комплекс нашей страны, имеют, как правило, сверхустановленные сроки хранения либо ранее уже использовались в качестве временных мостов, собирались в ходе отработки вопросов боевой подготовки в войсках и спецформированиях. В связи с чем особую актуальность приобретают вопросы диагностики и освидетельствования конструкций САРМ еще на этапе приемки заказчиком (строительной организацией) на предмет пригодности для дальнейшего использования по предназначению.
10.2 Изучение технической документации
При выполнении обследований степень подробности рассмотрения технической документации применительно к конкретным объектам определяется руководителем работ исходя из задач, поставленных в программе работ. Основным документом, подлежащим изучению, является паспорт САРМ, в результате работы с которым устанавливаются:
- предприятие-изготовитель;
- заводской номер;
- год изготовления;
- результаты приемки воинской частью (базой хранения) с указанием комплектности;
- даты постановки на хранение (первичной и после использования по назначению);
- даты снятия с хранения (для проведения учений с войсками, спецформированиями, использования в качестве временных мостов и др.);
- даты проведения и объемы технического обслуживания, ремонта и др.
10.3 Проведение обследований и диагностики конструкций из комплекта САРМ
10.3.1 Работы по обследованию и диагностике комплекта САРМ осуществляются в соответствии с требованиями строительных норм
[7].
10.3.2 При обследовании комплекта САРМ наряду с выполнением общих требований следует установить:
- комплектность конструкций пролетного строения и надстроек опор (по маркам и количеству элементов), в комплектах штыревых соединений проверяют наличие приспособлений, предупреждающих их извлечение при прохождении нагрузки (запорных булавок);
- геометрические размеры характерных поперечных сечений несущих элементов и их соответствие данным, приведенным в техническом описании
[6] и настоящем методическом документе (см.
таблицу А.2 приложения А);
- общее техническое состояние конструктивных элементов моста (в том числе перечень стандартов на материалы, использованные в элементах моста; сведения о замене элементов, повреждениях, усилениях и др.);
- марки и физико-механические характеристики стали основных несущих элементов (минимальные значения предела текучести и временного сопротивления разрыву, относительное удлинение, ударную вязкость при температуре -20 °C для конструкций из углеродистой стали и температуре -40 °C для сварных конструкций из низколегированных сталей и т.п.);
- данные по авариям, связанным с повреждением несущих элементов, данные по усилениям этих элементов;
- дефекты, влияющие на грузоподъемность
(таблица 3) с представлением их в виде ведомости со схемами и фотографиями;
- данные по актам испытания материалов, заключения специализированных организаций по качеству сварных швов (при необходимости) и т.д.
Таблица 3
Дефекты, влияющие на грузоподъемность временного моста
из комплекта САРМ
Дефекты пролетного строения | Способ учета при определении грузоподъемности, ограничения в режиме эксплуатации |
Искажение контура поперечного сечения элемента на длине, превышающей наибольший размер сечения | Расчет действующих напряжений с учетом изменения геометрических характеристик сечения и дополнительных эксцентриситетов |
Местные вмятины и пробоины стенок, погнутости продольных и поперечных балок | Расчет несущей способности сечения с учетом ослабления |
Поражение коррозией несущего элемента или соединения | Расчет несущей способности с учетом ослаблений от коррозии основного металла, штырей, болтов |
Ослабление и повреждение сварных швов в соединениях | Расчет несущей способности соединений с учетом ослабления |
| | ИС МЕГАНОРМ: примечание. В официальном тексте документа, видимо, допущена опечатка: имеется в виду ГОСТ 6713-91, а не ГОСТ 67133-91. | |
|
Относительное удлинение и ударная вязкость стали при температуре ниже -20 °C не удовлетворяют требованиям ГОСТ 67133-91 | При отрицательных температурах на объекте вводится контролируемый режим эксплуатации с обеспечением нормативной ровности покрытия и тщательной очисткой от льда и снега, а при температуре наружного воздуха ниже -25 °C, кроме того, со снижением скорости движения до 10 км/ч |
10.3.3 При обследовании металлических конструкций из комплекта САРМ внешним осмотром выявляют наличие коррозии металла, а также дефекты и повреждения элементов, стыков и прикреплений (погнутости, вмятины, местные ослабления, трещины, разрывы, неплотности и др.). Внутренние дефекты сварных швов определяют с помощью неразрушающих методов обследования (ультразвуковой дефектоскопии, радиографических и акустических методов).
10.3.4 При наличии коррозии металла непосредственными замерами устанавливают степень ослабления сечения элементов. По ослаблениям определяют также скорость протекания процессов коррозии.
Выявляют конструктивные недостатки, способствующие интенсивной коррозии из-за застоя влаги и плохого проветривания ("мешки"; недостатки водоотвода; пазухи и щели, коррозия в которых приводит к распучиванию элементов, и др.).
10.3.5 Во всех конструкциях проверяют состояние их окраски; при этом выявляют количество и качество слоев краски, ее сцепление с металлом и состояние металла под ней. Отмечают дефекты в окраске металла (недостатки грунтовки, различные механические повреждения, трещины, пузыри, отлупы, шелушения, размягчения, потеки, пропуски и т.п.).
10.3.6 Трещины в конструкциях (особенно в сварных, для которых развитие трещин не ограничивается отдельными элементами сечения) представляют значительную опасность для сооружения. Поэтому при обследовании особое внимание обращают на обнаружение трещин, в случае их выявления выясняют причины образования, оценивают опасность для несущей способности, а также дают указания по срочной нейтрализации трещин (сверление отверстий по концам, перекрытие трещин накладками на высокопрочных болтах и т.п.).
10.3.7 Причинами образования трещин могут быть:
- концентрация напряжений;
- остаточные напряжения от сварки;
- усталостные явления;
- повышенная хладноломкость металла.
Эти причины могут сказываться самостоятельно, однако обычно имеет место влияние нескольких факторов.
10.3.8 Наиболее часто образование трещин происходит в местах концентрации напряжений. Поэтому при обследовании особое внимание обращают на такие места.
10.3.9 Концентрация напряжений в первую очередь образуется в местах с резким изменением сечения элементов (обрывов; неплавного изменения толщины и ширины; мест примыкания накладок, ребер и др.). Кроме того, концентрации напряжений могут способствовать необработанные концы сварных швов и различные их дефекты: непровары, несплавления по кромкам, подрезы кромок, наплывы, шлаковые включения, поры, прожоги, неразделанные кратеры.
10.3.10 Большое влияние на образование трещин оказывают остаточные напряжения сварки, которые в околошовной зоне могут достигать предела текучести стали. В связи с этим большое внимание уделяют местам, насыщенным сваркой (обваренным по контуру накладкам, узлам элементов и т.п.).
10.3.11 Для выявления усталостных трещин тщательно осматривают элементы, воспринимающие наибольшее количество циклов нагружения:
- места прикрепления знакопеременных раскосов и стоек к нижнему поясу главных ферм и к пространственному блоку проезжей части;
- места прикрепления распорок и полураспорок поперечных связей к нижним поясам главных ферм;
- стенки продольных балок и узлы прикрепления их к поперечным балкам, концевые поперечные связи;
- ортотропную плиту проезжей части.
10.4 Проведение испытаний конструкций из комплекта САРМ
10.4.1 Испытаниям подвергаются комплекты, ранее бывшие в эксплуатации, а также при наличии в конструктивных элементах САРМ неисправностей. Испытания конструкций моста допускается проводить только после выполнения обследований и с учетом полученных по ним данных (см.
подразделы 1.1,
3.1 СНиП 3.06.07-86) по разработанной программе, согласованной с заказчиком.
10.4.2 Объектом проведения испытаний являются несущие конструкции моста из комплекта САРМ до их установки. Для проведения испытаний выбираются элементы, имеющие значимые с точки зрения снижения грузоподъемности дефекты, выявленные на этапе обследования.
10.4.3 Цель проведения испытаний конструкций моста состоит в проверке и оценке возможности их эксплуатации под расчетными нагрузками.
10.4.4 По результатам обследования (при необходимости) разрабатывается программа, которая может быть откорректирована по согласованию со всеми заинтересованными сторонами.
В программе конкретизируются:
- вид и величина испытательной нагрузки, ее расположение при статических испытаниях;
- измеряемые параметры;
- расположение приборов и оборудования.
10.4.5 При статических испытания конструкций моста определяют:
- фибровые напряжения в середине пролета;
- прогибы в середине пролета.
11 Приемка в эксплуатацию временных мостов из комплекта САРМ
11.1.1 Приемка построенного моста в эксплуатацию заключается в осмотре и испытании его (при необходимости) в целях проверки качества выполненных работ, а также соответствия построенного временного моста проекту.
11.1.2 Приемка моста в эксплуатацию производится комиссией в составе председателя и двух - четырех членов. В состав комиссии назначаются представители организации, принимающей мост в эксплуатацию, организации, строившей мост, а также представители органов ГИБДД, проектной и других заинтересованных организаций (по местным условиям).
11.1.3 Испытаниям при приемке в эксплуатацию подвергаются мосты из комплекта САРМ после их усиления; в случаях уточнения расчетной грузоподъемности; оценки эффективности мер, предусматриваемых для обеспечения безопасного пропуска отдельных тяжелых нагрузок, а также в других обоснованных случаях. Испытания проводятся по решениям приемочных комиссий, по требованиям проектных и эксплуатационных организаций.
11.2 Организация проведения обследований и испытаний временных мостов из комплекта САРМ
11.2.1 Объектом проведения обследований и приемочных испытаний являются несущие конструкции моста из комплекта САРМ, предназначенного под автомобильное движение.
11.2.2 Цель проведения обследований и приемочных испытаний моста состоит в проверке соответствия конструкций проекту и оценке возможности их эксплуатации под эксплуатационными нагрузками.
Для достижения указанной цели решаются следующие задачи:
- обследования несущих конструкций моста;
- проведения приемочных статических и динамических испытаний.
11.2.3 Работы выполняются специализированной организацией в соответствии с
СП 79.13330.2012 (СНиП 3.06.07-86) и
рекомендациями [7]. При выполнении договора заказчик предоставляет исполнителю необходимую техническую документацию, обеспечивает безопасный доступ к конструкциям моста при обследованиях и испытаниях в соответствии с
подразделом 1.11 СНиП 3.06.07-86.
12 Организация эксплуатации временных мостов из комплекта САРМ
12.1 Особенности эксплуатации
12.1.1 Эксплуатация временного моста предусматривает его технически правильное использование и содержание, а также проведение мероприятий, направленных на удлинение срока службы и поддержание сооружения в постоянной готовности к пропуску движения транспортных средств.
12.1.2 Перед вводом в эксплуатацию мост тщательно осматривается. Осмотру подлежат все штыревые и болтовые соединения пролетных строений и опор. При этом проверяется правильность сопряжений, наличие и правильность постановки штырей, болтов, шайб, запорных булавок и достаточность затяжки болтов.
12.1.3 У подходов к мосту выставляют указатели грузоподъемности моста и допускаемой скорости движения транспортных средств, дистанции между автомобилями (при необходимости).
12.1.4 При эксплуатации временного моста организуют постоянный надзор, текущие и периодические осмотры. Состав и характер работ по каждому виду осмотров назначают в соответствии с действующими нормативно-техническими документами. Постоянный надзор и текущие осмотры проводят мостовые мастера, а периодические осмотры - комиссии, организуемые в установленном порядке. Комиссии организуются при дорожных управлениях, в состав которых включают представителей управления дорожной организации и эксплуатирующего подразделения, а также специалистов-мостовиков.
12.1.5 При проведении постоянного надзора основное внимание уделяется контролю за исправным состоянием несущих элементов. При наличии в элементах пробоин, трещин, погнутостей, разрывов и т.п., вызывающих значительные ослабления конструкции, производится выправление и усиление поврежденных частей. В конструкциях проверяют плотность соединений элементов, наличие запорных булавок, своевременно производят подтяжку талрепов горизонтальных и диагональных стяжек. Особое внимание обращается на дотяжку гаек стяжных болтов крепления нижних ригелей.
Постоянный надзор организуется, как правило, ежедневно.
12.1.6 При текущих и периодических осмотрах проверяют общее состояние сооружения и выявляют дефекты, требующие устранения. В необходимых случаях выполняют контрольно-инструментальные измерения. Результаты текущего и периодического осмотров являются основанием для планирования ремонтных работ, назначения мероприятий по подготовке сооружений к пропуску ледохода и паводка, организации длительных наблюдений за развитием отдельных дефектов, временного ограничения движения транспортных средств и определения необходимости проведения специальных осмотров (обследований).
Текущие осмотры временного моста из комплекта САРМ выполняются в следующие сроки:
- при положительных температурах - 1 раз в полугодие;
- при отрицательных температурах:
· до -20 °C - 1 раз в месяц,
· ниже -20 °C - ежедневно.
Периодические осмотры проводятся, как правило, после прохода паводковых вод и других стихийных бедствий. Такие осмотры выполняют также после ремонта конструкций.
12.1.7 Сооружения, у которых выявлены в результате осмотров неисправности, не допускающие дальнейшую их эксплуатацию (т.е. требующие исходя из условий безопасности полного запрещения движения транспортных средств или массового прохода пешеходов), следует считать аварийными. Неисправности, которые могут быть устранены в кратчайшие сроки (в течение одной или двух недель), не служат основанием для признания сооружения аварийным. Выявленные при осмотре повреждения, деформации и дефекты, угрожающие безопасности движения или снижающие прочность и грузоподъемность моста, устраняются немедленно.
12.2 Защита моста при пропуске ледохода и высоких вод
12.2.1 Для определения мероприятий по защите мостов при пропуске ледохода и высоких вод, расчета потребных сил и средств до начала ледохода проводится обследование местности, прилегающей к мостовому переходу.
12.2.2 При обследовании устанавливаются:
- техническое состояние моста и всех элементов мостового перехода;
- наличие гидротехнических сооружений и мостов, расположенных вверх и вниз по течению;
- места возможного образования заторов;
- наличие вмерзших в лед или оставленных на затопляемых берегах предметов, которые могут создать угрозу повреждения моста;
- места на реке, подлежащие расчистке от льда;
- характер ожидаемого ледохода и паводка (через метеорологическую службу);
- наличие необходимых материалов и плавучих средств.
Для выполнения этих задач производят следующие работы:
- осмотр моста и всех элементов мостового перехода, особенно ледорезов и опор;
- промер глубин вокруг опор и ледорезов (у опор - в четырех, у ледорезов - в трех точках);
- обследование русла и зоны затопления реки в пределах 15 - 20 км от моста вверх по течению и на 3 - 5 км вниз по течению.
12.2.3 Руководство организации, которой поручено содержание моста, на основании данных обследования составляет план мероприятий по защите моста от ледохода и паводка и определяет потребные силы и средства.
12.2.4 Русло реки вверх по течению до начала ледохода очищают от предметов, способствующих образованию заторов. При расчистке русла вырубка зарослей производится под мостом и на расстоянии не менее 30 м вверх и вниз по течению.
12.2.5 За 10 - 15 дней до начала подвижки льда производится предварительная разработка ледяного покрова.
12.2.6 При спокойном ледоходе ледяной покров ослабляют, разрабатывая борозды и раздробляя ледяной покров. Борозды прорубают вдоль реки перед каждой опорой длиной 50 - 100 м и шириной 1 - 1,5 м.
12.2.7 При интенсивном ледоходе устраиваются майны (рисунок 10) шириной 25 - 35 м в пределах 250 м ниже моста и 200 м выше моста.
Рисунок 10 - Схема устройства майн на реке
12.2.8 При наличии сил и средств следует дробить ледяной покров на протяжении 2 - 3 км выше моста, при этом допускаются размеры льдин не более величины пролетов моста в свету. Для безопасного пропуска льда под мостом большие льдины на подходах к мосту разбиваются на части.
12.2.9 Небольшие ледяные заторы ликвидируются ручным способом путем раскалывания льдин. Отдельные льдины направляют в отверстие моста баграми и пешнями, не давая им сталкиваться с опорами. Льдины, застрявшие между опорами, немедленно раскалываются.
12.2.10 Наблюдение за размывом дна реки, особенно у опор и ледорезов, ведется путем промеров глубин. Промеры глубин делают ежедневно, а при образовании заторов или в других случаях увеличения скорости течения - несколько раз в день.
12.2.11 При обнаружении подмыва опор, ледорезов и откосов насыпи подходов он немедленно ликвидируется путем заброски камнем, мешками с грунтом, фашинами с камнем и др. При катастрофических подъемах воды в реке, создающих угрозу затопления подходов или пролетных строений моста, вдоль бровки подходов отсыпают земляные валы или укладывают мешки с грунтом, а пролетные строения пригружают камнем и зачаливают тросами к сваям или анкерам на берегу.
12.2.12 После прохода ледохода и высоких вод мост детально осматривают и намечают мероприятия по устранению обнаруженных повреждений.
12.2.13 Для защиты металлической надстройки опор САРМ к моменту ледохода заканчивают работы по защитному ограждению. Защитное ограждение опор САРМ от ледохода осуществляется с помощью деревянных щитов, изготавливаемых на месте.
12.2.14 Конструкция щитов ограждения показана на
рисунке 11. Схема постановки щитов ограждения на опору приведена на
рисунке 12. Спецификация материалов на щиты ограждения указана в таблице 4.
Таблица 4
Спецификация материалов на щиты ограждения
Материал | Количество, шт. | Масса или объем |
1 шт. | Всего |
1 | 2 | 3 | 4 |
Брус 150 x 150 x 1910 мм | 2 | 0,043 м3 | 0,09 м3 |
Доска 120 x 50 x 2400 мм | 9 | 0,014 м3 | 0,13 м3 |
Болт l 200 i i с гайками и шайбами | 4 | 0,52 кг | 2,1 кг |
Гвозди l 150 i i | - | - | 0,71 кг |
Брус 100 x 100 x 1910 мм | 2 | 0,019 м3 | 0,04 м3 |
Доска 120 x 50 x 2650 мм | 9 | 0,016 м3 | 0,14 м3 |
Гвозди l 150 i i | - | - | 0,71 кг |
Брус 150 x 100 x 1910 мм | 2 | 0,029 м3 | 0,06 м3 |
Доска 120 x 50 x 1130 мм | 9 | 0,007 м3 | 0,06 м3 |
Болт l 200 i i с гайками и шайбами | 4 | 0,52 кг | 2,1 кг |
Гвозди l 150 i i | - | - | 0,71 кг |
Рисунок 11 - Щиты (а, б, в) ограждения опоры
Рисунок 12 - Схемы (а, б) постановки щитов ограждения
13 Меры безопасности при возведении и эксплуатации временных мостов из комплекта САРМ
| | ИС МЕГАНОРМ: примечание. В официальном тексте документа, видимо, допущена опечатка: пункт [10] в Библиографии отсутствует. | |
13.1.1 Безаварийная и безопасная работа с материальной частью САРМ обеспечивается при соблюдении всеми рабочими и инженерно-техническими работниками требований основных правил по мерам безопасности, изложенных в настоящем разделе и строительных нормах [
9, 10].
13.1.2 Принятая организация работ и применяемые способы их производства, соответствующие указанным правилам, в полной мере обеспечивают безопасность персонала, занятого на работах.
13.2 Меры безопасности при устройстве свайных оснований и сборке металлической надстройки опор
13.2.1 При работах по сборке и разборке наплавных средств
13.2.1.1 Разгрузку понтонных блоков с автомобилей на воду производят на глубине не менее 0,7 м. Дно реки в месте разгрузки обязательно проверяют на наличие крупных камней, свай, пней и других выступающих предметов.
13.2.1.2 При крутых, обрывистых и скользких берегах разгрузку понтонных блоков на воду осуществляют со страховкой автомобиля другим автомобилем с помощью буксирного троса. В случае разгрузки без страховки задние колеса автомобиля устанавливают от уреза воды на расстоянии не менее 4 м.
13.2.1.3 При сборке паромов не допускают ударов по обшивке понтонов острыми кромками прогонов и инструмента, а также ударов блоков друг о друга их острыми гранями.
13.2.1.4 При стыковании понтонов запрещается браться руками за элементы в местах их стыковки и нащупывать отверстия пальцами.
13.2.1.5 Категорически запрещается ходить по незакрепленным прогонам и другим элементам во время сборки.
13.2.1.6 При погрузке понтонного блока на автомобильную платформу запрещается кому-либо находиться на ней или на понтонном блоке, а также сзади погружаемого блока.
13.2.2 При монтаже и демонтаже сваебойных установок
13.2.2.1 Работы по монтажу и демонтажу сваебойных установок разрешается производить только в соответствии с утвержденной технологической инструкцией.
13.2.2.2 Запрещается подтаскивать молот к стреле с помощью каната и блока, расположенного на верху стрелы.
13.2.2.3 Во время выполнения работ наверху запрещается производить подъем молота. Не разрешается осуществлять подъем молота, когда его ударная часть не скреплена с поршневым блоком.
13.2.3 При работах на сваебойных установках по забивке свай
13.2.3.1 Сваебойные установки во время работы надежно закрепляют против угона. При любом перемещении сваебойной установки молот опускается в нижнее положение и фиксируется.
13.2.3.2 Во время работы молота не допускается смещение его с головы сваи, а также натяжение каната подвески молота. При подъеме или опускании свай и молота не допускается резких рывков и резких переключений лебедок с прямого хода на обратный.
13.2.3.3 Запрещается подтаскивать сваю к стреле с помощью каната и блока, расположенного на верху стрелы.
13.2.3.4 Во время перерыва в работе запрещается оставлять молот подвешенным на канате. Молот опускается и фиксируется.
13.2.3.5 Запрещается выполнять какие-либо работы по ремонту установки во время ее работы.
13.2.3.6 При обслуживании дизель-молота нельзя производить работы под поднятой и не опертой на подставку ударной частью.
13.2.4 При работах с электрифицированным инструментом на обстройке свайных оснований
13.2.4.1 К работе с переносным электрифицированным инструментом допускаются лишь лица, прошедшие специальный техминимум и обучение правилам техники безопасности, знающие меры защиты при работе с электротоком и приемы оказания первой помощи при поражениях им.
13.2.4.2 Присоединение электроинструмента к силовой установке или к электросети допускается только посредством штепселей. Корпуса электроинструмента проверяют на наличие заземления специальным электропроводом. Работа без заземления категорически запрещается.
13.2.4.3 Проверяется надежность изоляции рукояток инструмента и вводов питающих электропроводов. При обнаружении напряжения на корпусе работа электроинструмента немедленно прекращается.
13.2.4.4 Персонал, пользующийся электроинструментом, в обязательном порядке обеспечивается резиновыми перчатками и калошами.
13.2.4.5 При всех перерывах в работе, а также при перерывах подачи тока во время работы электроинструмент отключается и из него вынимают рабочие части. Переходы с подключенным электроинструментом запрещаются.
13.2.5 При буксировке парома с грузом
13.2.5.1 Погрузку и разгрузку конструкций, установку машин и механизмов на паром производят только после надежного закрепления парома к пристани или к свайному ростверку.
13.2.5.2 Автокран после погрузки на паром ставят на тормоз при включенной низшей передаче. Под ходовую часть необходимо подложить упорные брусья. Во время буксировки машинисту автокрана запрещается находиться в кабине. Запрещается устанавливать автокран, а также сваебойные установки со смещением поперек или к носу парома.
13.2.5.3 Движение парома от пристани начинают после окончательной установки конструкций или механизмов.
13.2.5.4 Во время буксировки парома катером запрещается кому-либо находиться у буксирного троса. Все работы, связанные с исправлением буксирного троса, должны производиться при достаточном его ослаблении.
13.2.5.5 При движении парома запрещается стоять на палубе близко к бортам, а также садиться на край парома и свешивать ноги за борт. При забрасывании якорей для крепления парома в линию моста следует следить за тем, чтобы никто не наступал на бухты якорных канатов.
13.2.5.6 Рабочие, обслуживающие паромы, в обязательном порядке обеспечиваются спасательными жилетами или поясами.
13.2.6 При работах по сборке металлической надстройки опор
13.2.6.1 Работы по укрупнению элементов опор производятся только на ровной, специально подготовленной площадке.
13.2.6.2 Расстроповка стоек опоры при укрупнении их в блоки допускается только после постановки диагональных связей и распорок. Монтаж опоры, начиная со второго блока, производят только в монтажных поясах.
13.2.6.3 Запрещается находиться на верху смонтированного блока в момент подачи последующего.
13.2.6.4 Рабочие поднимаются наверх для закрепления очередного блока опоры только после предварительной установки его с помощью оттяжек на ранее смонтированный блок.
13.2.6.5 Расстроповку блока следует производить только после надежного закрепления его монтажными болтами.
13.2.6.6 При работе на высоте инструмент и монтажные болты находятся только в рабочих сумках. Оставление инструмента и болтов на конструкциях запрещается.
13.2.6.7 Запрещается вести какие-либо работы внизу в момент монтажа блока опоры. Все занятые на монтаже обеспечиваются спецодеждой и предохранительными приспособлениями, без чего допуск их к работе запрещается.
13.2.6.8 Подъем и опускание стрелы крана допускается только при грузе, габариты которого не превышают половины длины, допускаемой для данного вылета стрелы, при этом опускание производится на тормозе.
13.2.6.9 Подтягивание крюка троса грузового полиспаста в предельное верхнее положение допускается только при наличии безусловной в этом необходимости.
13.3 Меры безопасности при сборке пролетных строений
13.3.1 Все операции с секциями обязательно производятся в два приема: вначале приподнимают секцию на высоту 20 - 30 см, проверяют правильность строповки и устойчивость крана; окончательный подъем разрешается производить только после указанной проверки.
13.3.2 Перед установкой секции необходимо очистить от грязи, снега, льда.
13.3.3 Строповку секций для их установки следует производить только за специальные строповочные крюки.
13.3.4 Для возможности управления и удержания от раскачивания к поднимаемой секции по углам прикрепляются оттяжки из прочного пенькового или тонкого стального каната.
13.3.5 При подъеме секций перемещение их в горизонтальном направлении производится на высоте не менее 0,5 м над другими предметами.
13.3.6 При подъеме секции все сигналы машинисту крана, а также стропальщикам на оттяжках подаются одним лицом, руководящим сборкой пролетных строений. Во время подъема секции руководитель сборки находится в таком месте, чтобы поднимаемый элемент, крановщик и стропальщики на оттяжках были в поле его зрения. В том случае, если это условие невыполнимо, назначают лиц для передачи команд руководителя сборки крановщику и стропальщикам.
13.3.7 Оставление поднятой секции на весу без уважительных причин не допускается.
13.3.8 Запрещается находиться на верху монтируемых секций пролетных строений до закрепления их штырями по нижнему поясу.
13.3.9 Запрещается находиться в торце смонтированной секции в момент подачи последующей.
13.3.10 Освобождение устанавливаемой секции от стропов допускается лишь после надежного ее закрепления.
13.4 Меры безопасности при работах по надвижке пролетных строений
13.4.1 При запасовке канатов
13.4.1.1 Канаты, применяемые для надвижки, обязательно проверяют на соответствие требованиям технических условий.
13.4.1.2 При работе с канатами и их перемещении принимают меры по недопущению образования петлеобразных заломов и других повреждений.
13.4.1.3 Применение канатов, имеющих завершенность (оборванные проволоки), не допускается.
13.4.1.4 Канаты и полиспастные блоки надежно закрепляют к пролетным строениям и анкерам.
13.4.1.5 Полиспастные блоки перед установкой проверяют и смазывают.
13.4.1.6 Оси блоков проверяют на предмет прочного и неподвижного закрепления в проушинах.
13.4.2 При работе на лебедках
13.4.2.1 При надвижке моста применяют электрические и ручные лебедки, которые имеют, как правило, зубчатую передачу. Каждая рабочая лебедка прочно заанкеривается.
13.4.2.2 Используются ручные лебедки с двойным тормозным устройством, состоящим из храпового и ленточного тормозов. Проверяют исправное состояние тормоза лебедок и выполняют их тщательную регулировку.
13.4.2.3 Электрические лебедки оборудуют электромагнитным тормозом, действующим при включении тока. Зубчатую передачу электрических лебедок закрывают кожухом, а корпус лебедки и мотора заземляют.
13.4.2.4 Канаты прочно закрепляют на барабане лебедки и укладывают правильными витками.
13.4.2.5 Смазка и чистка электрических лебедок допускается только при их остановке и условии принятия мер против непроизвольного включения.
13.4.2.6 Исключается самопроизвольное переключение или размыкание переключающих механизмов лебедок, служащих для изменения скорости надвижки, а также возможность переключения их под нагрузкой.
13.4.2.7 К работе на электролебедках допускаются лица, прошедшие проверку знаний по устройству и их эксплуатации, умеющие практически работать на них и имеющие удостоверение о прохождении курсового обучения по мерам безопасности.
13.4.3 В процессе надвижки пролетных строений
13.4.3.1 Включение лебедок для надвижки пролетных строений следует производить только по команде руководителя сборки.
13.4.3.2 Запрещается находиться в зоне натяжения каната тяговой лебедки и на выдвигаемой консоли пролетного строения.
13.4.3.3 Лица, наблюдающие за проходом пролетных строений по опорным тележкам, обязаны находиться на монтажных площадках. Подниматься на верхний ригель опоры в момент надвижки моста запрещается.
13.4.3.4 Регулировку аванбека при подходе его к каткам опорной тележки следующей опоры производить только после выключения лебедок и достаточного ослабления тягового каната.
13.4.2.5 По окончании работ по надвижке пролетных строений электрические лебедки обязательно обесточивают.
13.5 Меры безопасности при эксплуатации моста с использованием домкратов
13.5.1 При эксплуатации моста может возникнуть необходимость работы с домкратами, например, при ремонте или замене балансирных тележек или устранении перекосов и просадок опор.
13.5.2 Домкраты устанавливаются с поддомкратными и наддомкратными прокладками. Во избежание перекоса домкраты устанавливаются таким образом, чтобы их оси совпадали с направлением перемещения поднимаемого груза, а прокладки были перпендикулярны оси домкрата.
13.5.3 Подъем груза домкратами осуществляется на высоту, не превышающую допустимого ими хода.
13.5.4 При перестановке домкратов, а также при необходимости оставления поднятого пролетного строения его масса передается на устойчивую клетку с подклинкой.
ХАРАКТЕРИСТИКИ МАТЕРИАЛЬНОЙ ЧАСТИ КОМПЛЕКТА САРМ
Таблица А.1
Техническая характеристика мостов,
возводимых из одного комплекта САРМ
Наименование показателей | Величина показателей для моста |
однопутного | двухпутного |
Расчетная временная нагрузка: | | |
автомобильная | Н-13 | Н-13 |
гусеничная | НГ-40 | НГ-60 |
Общая длина моста, собираемого из одного комплекта, м | 200 | 100 |
Максимальный пролет моста, м | 32,6 | 32,6 |
Шаг изменения пролета моста, м | 7,0 | 7,0 |
Ширина проезжей части, м | 4,2 | 7,2 |
Строительная высота, м | 1,61 | 1,61 |
Максимальная высота надстройки промежуточной опоры, м | 8,84 | 8,84 |
Шаг изменения высоты опоры, м | 2,0 | 2,0 |
Длина опоры по верхнему ригелю, м | 3,5 | 7,0 |
Ширина опоры по верхнему ригелю, м | 2,2 | 2,2 |
Масса, т: | | |
пролетного строения моста длиной 32,6 м | 31,6 | 54,09 |
одной промежуточной опоры | 6,2 | 11,24 |
моста без монтажного оборудования | 240,55 | 240,55 |
Общая масса комплекта САРМ, т | 252,21 | 252,21 |
Примечание - Для перевозки каждого комплекта САРМ автомобильным транспортом требуется по 42 автомобиля КамАЗ-5410 с выделенными полуприцепами, железнодорожным транспортом - по 20 шт. платформ четырехосных при одноярусной погрузке и по 13 шт. - при двухъярусной погрузке.
Таблица А.2
Наименование элементов | Марка | Масса, кг | Габаритные размеры, мм |
Длина | Ширина | Высота | Диаметр |
1 | 2 | 3 | 4 | 5 | 6 | 7 |
Группа пролетных строений |
Секция: | | | | | | |
средняя | 1 | 4400 | 7300 | 3006 | 1608 | - |
концевая | 2 | 4250 | 6100 | 3006 | 1608 | - |
Штырь главных ферм | | 9,2 | 240 | - | - | 79 |
Тяга верхнего пояса | 4 | 34 | 600 | 210 | 40 | - |
Консоль секции: | | | | | | |
концевой | 5 | 30 | 951 | 170 | 170 | - |
средней | 6 | 27 | 951 | 170 | 170 | - |
Подкос консоли | 7 | 30 | 1512 | 230 | 90 | - |
Штырь консоли | | 0,8 | 170 | - | - | 29 |
Стяжка: | | | | | | |
горизонтальная | 9 | 8,0 | 565 - 685 | - | - | 57 |
диагональная | 10 | 10,0 | 940 - 1060 | - | - | 57 |
Щит настила | 11 | 300 | 3500 | 600 | 125 | - |
Колесоотбой | 12 | 90 | 3500 | 160 | 250 | - |
Болт колесоотбоя | 13 | 1,7 | 460 | - | - | 20 |
Секция перил | 14 | 57 | 3500 | 60 | 1270 | - |
Переходный щит настила | 17 | 77 | 1080 | 600 | 120 | - |
Колесоотбойная вставка | 18 | 40 | 1500 | 158 | 250 | - |
Монтажная тяга двух типов | 20 | 66 | 975 - 1000 | 240 | 126 | - |
Группа опор |
Нижний ригель | 31 | 605 | 3500 | 2400 | 420 | - |
Консоль нижнего ригеля | 32 | 65 | 1000 | 200 | 420 | - |
Стыковая накладка | 33 | 8 | 440 | 200 | 40 | - |
Стойка опоры | 34 | 280 | 2200 | 290 | 2000 | - |
Диагональ связей | 35 | 32 | 2640 | 106 | 90 | - |
Распорка | 36 | 12 | 2080 | 75 | 50 | - |
Верхний ригель | 37 | 1200 | 3500 | 2200 | 416 | - |
Балка монтажной площадки | 38 | 33 | 3400 | 80 | 80 | - |
Кронштейн монтажной площадки | 39 | 17 | 100 | 80 | 1200 | - |
Монтажная площадка | 40 | 120 | 3280 | 600 | 1140 | - |
Перильный уголок | 41 | 13 | 3270 | 50 | 160 | - |
Береговой лежень | 15 | 290 | 4532 | 600 | 264 | |
Группа монтажного оборудования |
Аванбек | 23 | 613 | 6120 | 2400 | 244 | - |
Подкос аванбека | 24 | 78 | 3070 - 3220 | - | - | 127 |
Шаблон нижнего пояса | 25 | 3 | 750 | 40 | 63 | - |
Тележка: | | | | | | |
сборочная | 26 | 183 | 2720 | 334 | 350 | - |
опорная | 27 | 520 | 2750 | 1112 | 445 | - |
Траверса крепления опорной тележки | 42 | 11 | 600 | 125 | 100 | - |
Болт траверсы | 43 | 1,25 | 325 | - | - | 20 |
Лебедка: | | | | | | |
унифицированная УЛ-5 грузоподъемностью 5 т | - | 1190 | 1035 | 1288 | 1718 | - |
ручная грузоподъемностью 1,5 т | - | 183 | 650 | 600 | 800 | - |
Блок: | | | | | | |
двухрольный (P = 10 т) | - | 87 | 450 | 200 | 1100 | - |
однорольный (P = 5 т) | - | 47 | 350 | 100 | 970 | - |
Домкрат гидравлический грузоподъемностью 30 т | - | 35 | - | - | 310 | 160 |
Стропы подъемные | - | - | - | - | - | - |
Инструмент | - | - | - | - | - | - |
Примечание - P - тяговое усилие.
ТИПОВЫЕ СХЕМЫ МОСТОВ ИЗ КОМПЛЕКТА САРМ
Рисунок Б.1 Типовые схемы (а, б, в, г) мостов
из комплекта САРМ
НАЗНАЧЕНИЕ ВЕЛИЧИНЫ ПРОЛЕТОВ ВРЕМЕННЫХ МОСТОВ
Таблица В.1
Характеристика интенсивности ледохода
Интенсивность ледохода | Размеры льдин по наименьшему измерению, м | Толщина льда, см | Продолжительность ледохода, дней | Возможность образования заторов |
Сильная | Более 20 | Более 60 | Более 3 | Частые заторы |
Средняя | 10 - 20 | 30 - 60 | 2 - 3 | Редкие заторы |
Слабая | До 10 | До 30 | До 2 | Не бывает |
Таблица В.2
Величины наименьших пролетов моста,
отвечающие условиям ледохода
Интенсивность ледохода | Скорость ледохода, м/с | Длина наименьших пролетов, м |
в главном русле | на поймах |
Сильная | Более 2 | 35 | 25 |
До 2 | 30 | 20 |
Средняя | Более 2 | 25 | 20 |
До 2 | 20 | 15 |
Слабая | Более 2 | 20 | 15 |
До 2 | 15 | 10 |
РЕКОМЕНДУЕМЫЕ СХЕМЫ МОСТОВ ИЗ КОМПЛЕКТА САРМ
1 - ледорез; 2 - гидроизоляция типа "Тэпсан";
3 - мелкозернистый асфальтобетон; 4 - монолитная диафрагма;
5 - буронабивной столб

Рисунок Г.1 - Поперечное сечение двухпутного моста
из комплекта САРМ под нагрузки А11, НК-80
n - количество пролетов моста
Рисунок Г.2 - Продольная схема двухпутного моста
из комплекта САРМ под нагрузки А11, НК-80
1 - водоотводной лоток; 2 - деревянный брус заполнения
тротуара; 3 - металлическое барьерное ограждение
типа 11МО1(УТ)
Рисунок Г.3 - Конструкция нетипового узла
Рисунок Г.4 - Общий вид и план свайного фундамента
1 - ледорез; 2 - гидроизоляция типа "Тэпсан";
3 - мелкозернистый асфальтобетон; 4 - монолитная диафрагма;
5 - буронабивной столб

Рисунок Г.5 - Поперечное сечение однопутного моста
из комплекта САРМ под нагрузки А11, НК-80
Рисунок Г.6 - Общий вид и план свайного фундамента
1 - железобетонная диафрагма; 2 - металлическая диафрагма
Рисунок Г.7 - Поперечное сечение однопутного моста
из комплекта САРМ под нагрузки А8, НГ-40
1 - деревянный брус заполнения тротуара; 2 - инвентарный
колесоотбой; 3 - индивидуальный колесоотбой; 4 - спаренная
инвентарная консоль; 5 - болт крепления колесоотбоя;
6 - индивидуальный подкос тротуарной консоли;
7 - инвентарный щит настила
Рисунок Г.8 - Конструкция однопутного моста
из комплекта САРМ под нагрузки А8, НГ-40
Рисунок Г.9 - Продольная схема однопутного моста
из комплекта САРМ под нагрузки А8, НГ-40
1 - резиновые опорные части; 2 - поперечные балки
металлического ригеля; 3 - продольные балки (коротыши)
металлического ригеля; 4 - железобетонная диафрагма;
5 - металлическая диафрагма;
6 - буронабивной столб

Рисунок Г.10 - Общий вид и план свайного фундамента
Рисунок Г.11 - Конструкция индивидуальных колесоотбоев
Рисунок Г.12 - Конструкция индивидуальных подкосов
тротуарной консоли
РЕКОМЕНДУЕМЫЕ ТЕХНОЛОГИЧЕСКИЕ СХЕМЫ
СБОРКИ МОСТОВ ИЗ КОМПЛЕКТА САРМ
1 - сборочная тележка; 2 - опорная тележка; 3 - аванбек;
4 - концевая секция первого пролета; 5 - подкос аванбека;
6 - средняя секция (цифры в кружках указывают
последовательность установки элементов)
Рисунок Д.1 - Схема сборки (а, б, в), поперечный разрез (г)
и вид сверху (д) пролетного строения однопутного моста
из комплекта САРМ
1 - сборочная тележка; 2 - опорная тележка; 3 - аванбек;
4 - концевая секция первого пролета; 5 - подкос аванбека;
6 - средняя секция (цифры в кружках указывают
последовательность установки элементов)
Рисунок Д.2 - Схема сборки (а, б, в), поперечный разрез (г)
и вид сверху (д) пролетного строения моста увеличенного
габарита из комплекта САРМ
Lmax - максимальный вылет стрелы
Рисунок Д.3 - Схема установки пролетного строения
стреловым краном большой грузоподъемности
ОРИЕНТИРОВОЧНЫЕ НОРМЫ ВРЕМЕНИ
НА СТРОИТЕЛЬСТВО МОСТОВ ИЗ КОМПЛЕКТА САРМ
Таблица Е.1
Ориентировочное время на установку пролетного строения моста
из комплекта САРМ
Способ монтажа пролетного строения | Количество секций в поперечном сечении САРМ | Габарит моста, м | Длина расчетного пролета, м | Количество одновременно монтируемых лент пролетного строения, шт. | Время установки лент пролетного строения, ч | Примечание |
Типовая надвижка | 1 | Г-4,2 | 32,6 | 1 | 4 | Мост, путепровод, эстакада |
2 | Г-7,2 | 32,6 | 2 | 6 |
1 | Г-4,2+2x0,75 | 18,6 | 1 | 3 |
1 | Г-4,2+2x0,75 | 25,6 | 1 | 4 |
Нетиповая надвижка | 3 | Г-8+2x1,0 | 18,6 | 3 | 6 | Мост |
3 | Г-8+2x1,0 | 25,6 | 3 | 8 |
Установка одним краном сверху | 1 | Г-4,2+2x0,75 | 18,6 | 1 | 1 - 2 | Мост |
1 | Г-4,2+2x0,75 | 25,6 | 1 | 2 - 3 |
3 | Г-8+2x1,0 | 18,6 | 1 | 2 - 3 |
3 | Г-8+2x1,0 | 25,6 | 1 | 3 - 4 |
Установка одним краном снизу | 1 | Г-4,2+2x0,75 | 18,6 | 1 | 1 | Путепровод, эстакада |
1 | Г-4,2+2x0,75 | 25,6 | 1 | 2 |
3 | Г-8+2x1,0 | 18,6 | 1 | 3 |
3 | Г-8+2x1,0 | 25,6 | 1 | 4 |
Примечания
1 При надвижке производится сборка трех пролетов моста с выдвижкой на первую русловую опору с исходного берега.
2 При монтаже краном осуществляется сборка одного пролета, монтаж с автомобиля (без учета времени на его подачу).
3 Полностью собранное пролетное строение монтируется только при установке с плавучей опоры.
4 Время на демонтаж конструкций увеличивается на 15%.
Таблица Е.2
Ориентировочные нормы времени и состав звеньев на выполнение
отдельных технологических операций при строительстве
временного моста из комплекта САРМ (длиной 200 м, Г-4,2)
Наименование работ | Ед. изм. | Объем работ | Время выполнения работ, ч | Состав звена |
Количество рабочих, чел. | Наименование механизмов | Количество, шт. |
1 | 2 | 3 | 4 | 5 | 6 | 7 |
Разбивка осей моста и опор, их закрепление на местности. Геодезический контроль | Ось моста/ ось опоры | 1/7 | 27 | 8 | Катер (лодка) | 1 |
Планировка сборочной площадки, устройство подъездов и въездов на мост, к пристани и другие работы | м2/м3 | 6000/1000 | 29 | 3 | Бульдозер | 2 |
Автогрейдер | 1 |
Сборка сваебойных установок, ввод их в линию моста и закрепление | шт. | 3 | 3 | 9 | Сваебойная установка | 3 |
Забивка свай на 1, 2 и 3-й русловых опорах | шт. | 48 | 6 | 9 | Сваебойная установка | 3 |
Забивка свай на 4 и 5-й русловых опорах | шт. | 32 | 6 | 6 | Сваебойная установка | 3 |
Устройство пристани и сборка паромов | шт. | 1/2 | 3 | 9 | Пристань, комплект | 1 |
Паром грузоподъемностью 25 т | 2 |
Подача элементов в линию моста | Элементы свайных оснований и надстройки | 9 | Паром грузоподъемностью 25 т | 2 |
Катер | 1 |
Установка и анкеровка лебедок | шт. | 6 | 12 | 9 | Автокран | 1 |
Установка сборочных тележек и клеток береговых опор | шт. | 12 | 9 | 17 | Автокран | 1 |
Обстройка 1, 2 и 3-й русловых опор | шт. | 3 | 5 | 9 | Электростанция инженерная | 2 |
Обстройка 4 и 5-й русловых опор | шт. | 2 | 5 | 9 | Электростанция инженерная | 2 |
Укрупнительная сборка элементов опор | шт. | 5 | 10 | 9 | Автокран | 1 |
Запасовка тяговых и тормозных тросов | пог. м | 1000 | 5 | 9 | Катер | 1 |
Сборка парома под кран и установка его в линию моста | шт. | 1 | 3 | 9 | Паром грузоподъемностью 40 т | 1 |
Катер | 2 |
Монтаж русловых опор | шт. | 5 | 10 | 9 | Паром грузоподъемностью 40 т | 1 |
Автокран | 2 |
Подъем тягового троса на опоры. Запасовка расчалочных тросов опор | пог. м | 450 | 8 | 9 | Катер | 1 |
Сборка трех пролетов моста с выдвижной на первую русловую опору с исходного берега | шт. | 3 | 4 | 17 | Автокран | 2 |
Сборка оставшихся трех пролетов моста | шт. | 3 | 4 | 17 | Автокран | 2 |
Надвижка моста по мере сборки | шт. | 6 | - | 9 | Электростанция силовая | 2 |
Установка концов пролетных строений на брусья. Замена монтажных тяг | шт. | 2 | 1 | 9 | - | - |
Устройство въездов на мост | шт. | 2 | 2 | 9 | Автокран | 2 |
Укладка переходных щитов и щитов настила на 1-м пролете | пог. м | 32 | 1 | 5 | Автокран | 1 |
| | Федеральный закон от 27 декабря 2002 г. N 184-ФЗ "О техническом регулировании" |
| | Федеральный закон от 8 ноября 2007 г. N 257-ФЗ "Об автомобильных дорогах и о дорожной деятельности в Российской Федерации и о внесении изменений в отдельные законодательные акты Российской Федерации" |
| | Технические условия проектирования военных автодорожных мостов и переправ, 1974 |
| | Саламахин П.М., Кухтин В.Н., Джанджгава А.Н. Адаптация конструкций пролетных строений САРМ под требования к мостам на автомобильных дорогах общего пользования. Науч.-техн. отчет МАДИ, 2005 |
| | Требования к автомобильным дорогам с регулярным автобусным сообщением, 1998 |
| | Техническое описание и инструкция по эксплуатации "Средний автодорожный разборный мост (САРМ)", 1982 |
| | Методические рекомендации по организации обследования и испытания мостовых сооружений на автомобильных дорогах |
[8] | | Безопасность труда в строительстве. Ч. I. Общие требования |
| | Безопасность труда в строительстве. Ч. II. Строительное производство |
|
Ключевые слова: автодорожный разборный мост, автомобильная дорога, временный мост, габарит моста, грузоподъемность, искусственные дорожные сооружения, капитальный ремонт, класс нагрузки, реконструкция, САРМ |
Руководитель
организации-разработчика
Закрытое акционерное общество
"Научно-исследовательский
и проектный институт
территориального развития
и инфраструктуры"
(ЗАО "НИПИ ТРТИ")
Генеральный директор
В.Н.МЯЧИН