Главная // Актуальные документы // ИнструкцияСПРАВКА
Источник публикации
М.: Стройиздат, 1979
Примечание к документу
Введен в действие с 1 января 1980 года.
Название документа
"СН 510-78. Строительные нормы. Инструкция по проектированию сетей водоснабжения и канализации для районов распространения вечномерзлых грунтов"
(утв. Постановлением Госстроя СССР от 11.12.1978 N 226)
"СН 510-78. Строительные нормы. Инструкция по проектированию сетей водоснабжения и канализации для районов распространения вечномерзлых грунтов"
(утв. Постановлением Госстроя СССР от 11.12.1978 N 226)
Постановлением Госстроя СССР
от 11 декабря 1978 г. N 226
СТРОИТЕЛЬНЫЕ НОРМЫ
ИНСТРУКЦИЯ
ПО ПРОЕКТИРОВАНИЮ СЕТЕЙ ВОДОСНАБЖЕНИЯ И КАНАЛИЗАЦИИ
ДЛЯ РАЙОНОВ РАСПРОСТРАНЕНИЯ ВЕЧНОМЕРЗЛЫХ ГРУНТОВ
СН 510-78
Срок введения в действие
1 января 1980 года
Внесена проектным и научно-исследовательским институтом Красноярский Промстройниипроект.
Утверждена Постановлением Государственного комитета СССР по делам строительства от 11 декабря 1978 г. N 226.
Инструкция по проектированию сетей водоснабжения и канализации для районов распространения вечномерзлых грунтов разработана Красноярским Промстройниипроектом Минтяжстроя СССР.
При разработке Инструкции использованы работы НИИ оснований и подземных сооружений им. Н.М. Герсеванова Госстроя СССР, Ленинградского инженерно-строительного института, Зонального научно-исследовательского и проектного института типового и экспериментального проектирования жилых и общественных зданий Госгражданстроя, ВНИИ Водгео Госстроя СССР, ЦНИИЭП инженерного оборудования Госгражданстроя.
Редакторы: инж. Б.В. Тамбовцев (Госстрой СССР), кандидаты техн. наук Ш.Ф. Акбулатов, А.В. Лютов, инж. Н.П. Данилова (Красноярский Промстройниипроект).
1.1. Требования настоящей Инструкции должны выполняться при проектировании наружных сетей водоснабжения и канализации, сооружаемых в районах распространения вечномерзлых грунтов, включая сейсмические районы (рис. 1) при строительстве по принципу I.
Рис. 1. Схематическая карта распространения
вечномерзлых грунтов и сейсмики
1.2. В зависимости от изменения физико-механических свойств мерзлых грунтов при оттаивании, температурных режимов трубопроводов и грунтов по трассе, а также температурного режима оснований зданий и сооружений, расположенных вблизи трубопроводов, надлежит принимать один из двух принципов использования вечномерзлых грунтов в качестве оснований:
принцип I - вечномерзлые грунты основания используются в мерзлом состоянии, сохраняемом в процессе строительства и в течение всего заданного периода эксплуатации;
принцип II - вечномерзлые грунты основания используются в оттаивающем и оттаявшем состоянии.
1.3. При проектировании сетей водопровода и канализации для районов распространения вечномерзлых грунтов необходимо исходить из условия обеспечения:
наименьшей трудоемкости строительства и эксплуатации сетей;
применения оборудования и материалов, наиболее высокой надежности действия и долговечности;
снижения веса оборудования и материалов;
незамерзаемости жидкостей, транспортируемых по трубопроводам, при отклонениях теплового режима от нормы и в случаях аварий;
организации четкого контроля за тепловыми режимами сетей.
1.4. При проектировании сетей водопровода и канализации надлежит учитывать:
тепловое воздействие трубопроводов на основания близлежащих зданий и сооружений;
опасность непосредственного теплового воздействия воды на мерзлые грунты при повреждениях трубопроводов;
изменение мерзлотно-грунтовых условий при освоении территории.
1.5. Мерзлотно-грунтовые условия участков строительства трубопроводов характеризуются:
распространением и залеганием вечномерзлых грунтов;
составом, сложением и строением грунтов;
мощностью сезонно-протаивающих и сезонно-промерзающих слоев грунта;
температурным режимом грунтов;
физико-механическими свойствами грунтов;
мерзлотными процессами (пучение, наледи, термокарст, трещинообразование);
наличием грунтовых вод.
1.6. Проектирование сетей по принципу I следует принимать, когда:
грунты характеризуются значительными осадками при оттаивании;
оттаивание грунтов вокруг трубопровода влияет на устойчивость расположенных вблизи зданий и сооружений, строящихся с сохранением основания в мерзлом состоянии.
1.7. Проектирование сетей по принципу II следует принимать, когда:
грунты характеризуются незначительными осадками на всю расчетную глубину оттаивания;
здания и сооружения по трассе трубопроводов расположены на значительном расстоянии от трубопроводов или строящихся с допущением оттаивания вечномерзлых грунтов в их основаниях.
2. НОРМЫ ВОДОПОТРЕБЛЕНИЯ И ВОДООТВЕДЕНИЯ
2.1. Нормы и коэффициенты неравномерности водопотребления следует принимать в соответствии с требованиями глав СНиП по проектированию наружных сетей и сооружений водоснабжения и по проектированию внутреннего водопровода и канализации зданий.
2.2. При ограниченном дебите источника водоснабжения расчетные расходы воды допускается снижать по согласованию с органами санитарно-эпидемиологической службы.
2.3. Расчетные расходы воды могут быть увеличены до 20% за счет сброса воды из водопровода в канализацию для предохранения сетей от замерзания. Целесообразность сбросов воды должна обосновываться технико-экономическим расчетом.
2.4. Нормы водоотведения бытовых сточных вод следует принимать в соответствии с требованиями глав СНиП по проектированию наружных сетей и сооружений канализации и по проектированию внутреннего водопровода и канализации зданий.
2.5. При определении общего коэффициента неравномерности притока бытовых сточных вод сбросы воды из системы водопровода не учитываются, однако сброс воды следует добавлять к расчетному расходу при проектировании насосных станций и очистных сооружений.
3. ПРИНЦИПЫ ТРАССИРОВКИ СЕТЕЙ
3.1. Проекты инженерных сетей и планировки населенных пунктов надлежит выполнять одновременно, взаимно увязывая их; при этом наиболее рационально применение совмещенной прокладки трубопроводов.
3.2. Способ прокладки трубопроводов следует выбирать в зависимости от мерзлотно-грунтовых, гидрогеологических и топографических условий строительства, а также от величины и плотности застройки населенного пункта и назначения трубопроводов.
3.3. Выбор способа прокладки сетей должен производиться с учетом:
способа предохранения трубопроводов от замерзания при расчетном тепловом режиме, при отклонении теплового режима от нормы и в случаях аварий;
мер по обеспечению устойчивости трубопроводов и близко расположенных зданий;
мер по увеличению надежности работы систем водоснабжения и канализации;
удобства эксплуатации.
3.4. Размещение сетей на плане следует предусматривать исходя из обеспечения:
максимального совмещения инженерных коммуникаций;
минимальной протяженности сетей;
блокировки зданий, позволяющей прокладывать сети на подвесках в проветриваемых подпольях;
сокращения числа подключений к сети водопровода за счет присоединения нескольких зданий к одному вводу водопровода, а также сокращения числа выпусков в канализацию.
3.5. Совмещение сетей различного назначения по одной трассе следует осуществлять путем прокладки их:
на общих лежневых и городковых опорах (рис. 2) или на свайных опорах
(рис. 3);
в тоннелях или каналах.
Рис. 2. Надземная прокладка трубопроводов
на общих лежневых опорах
Рис. 3. Надземная прокладка трубопроводов
на общих свайных опорах
3.6. Прокладку водопроводов и коллекторов вне населенных пунктов следует предусматривать вблизи дорог.
3.7. Трубопроводы следует прокладывать вдоль улиц в разделительных полосах между проезжими частями.
3.8. Расстояния в свету от подземных трубопроводов до фундаментов зданий и сооружений надлежит принимать в зависимости от результатов теплотехнических расчетов, но не менее 6 м при бесканальной прокладке трубопроводов.
3.9. Наземные инженерные сети при любых способах компенсации температурных деформаций трубопроводов (разрезные и упругие компенсаторы, прокладка "змейкой" и пр.) следует прокладывать возможно ближе к поверхности земли в слое снежного покрова.
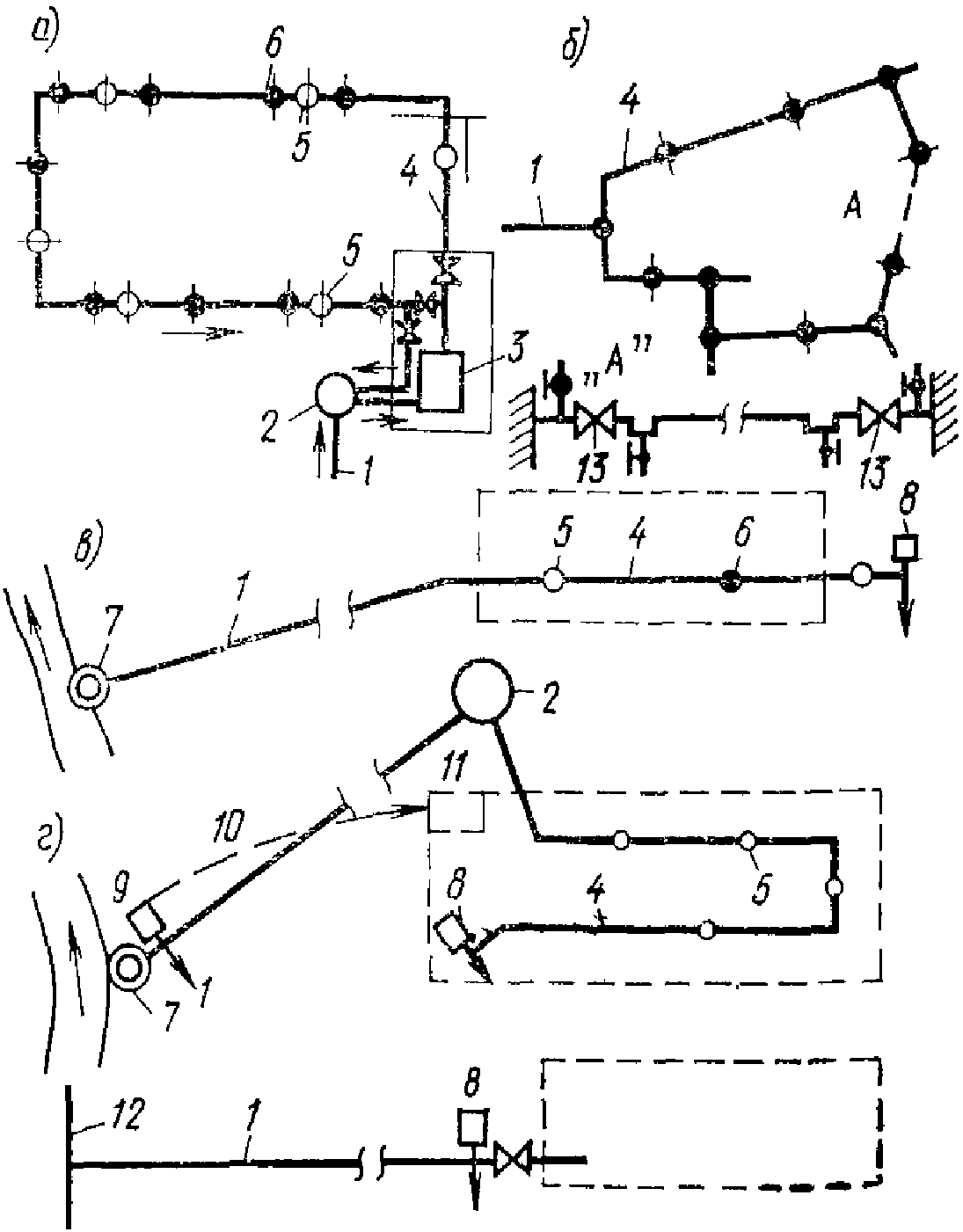
3.10. Схемы водоснабжения должны обеспечивать непрерывность движения транспортируемой воды на всех участках сети (рис. 4).
Рис. 4. Схемы водоснабжения
а - водопроводная кольцевая; б - тупиковая с сухой
резервирующей перемычкой; в, г - с автоматической защитой
от замерзания; 1 - водоотвод; 2 - резервуар; 3 - насосная
станция; 4 - распределительная сеть; 5 - колодец;
6 - водоразборная колонка; 7 - насосная станция
на водозаборе; 8 - автоматический выпуск;
9 - автоматический выпуск с телеустройством;
10 - передача сигнала; 11 - диспетчерский пункт;
12 - магистральный водоотвод; 13 - специальная
задвижка для сухих перемычек
При этом:
тупиковая схема должна предусматривать подключение крупных потребителей воды в концевых участках (особенно эффективна, когда концевые участки водопровода совпадают с начальными участками канализации), а также устройство сухих перемычек;
кольцевая схема должна состоять из минимального числа колец, вытянутых по направлению основного потока воды к крупному потребителю; кольца сети надлежит замыкать на циркуляционную насосную станцию, в необходимых случаях совмещенную с пунктом подогрева воды;
двухтрубные схемы следует проектировать по аналогии со схемами тепловых сетей.
Всеми схемами водоснабжения должна предусматриваться установка автоматических выпусков воды.
3.11. Рекомендуется централизованная система канализации, позволяющая осуществлять сбор и отвод стоков от возможно большего числа объектов.
4. СПОСОБЫ ПРОКЛАДКИ СЕТЕЙ
4.1. В зависимости от расположения трубопроводов относительно поверхности земли, их механического и теплового взаимодействия с грунтом надлежит принимать один или несколько способов прокладки (рис. 5):
подземную (в том числе в каналах), наземную, надземную на низких или высоких опорах.
Рис. 5. Способы прокладки трубопроводов
а - подземная; б - наземная; в - надземная
4.2. Инженерные сети за границей населенного пункта при надземной прокладке следует укладывать на промежуточных опорах различной конструкции (скользящие, катковые, подвесные).
4.3. Укладку опор всех видов (кроме свайных) следует предусматривать непосредственно на поверхность земли или на призмы из галечникового или гравийного грунтов, гравелистого или крупного песчаного грунта. Допускается применение местных супесчаных и суглинистых грунтов, которые перед укладкой в призмы надлежит оттаивать.
4.4. Высоту насыпных грунтовых призм надлежит определять на основании профилей трубопровода и поверхности земли. При составлении профилей следует стремиться к максимальному приближению трубопровода к поверхности земли, исключая срезку естественной поверхности.
4.5. Лежневые опоры (см.
рис. 2) должны выполняться из антисептированных деревянных брусьев или бревен.
4.6. Низкие свайные опоры следует применять на участках с грунтами, подверженными сильным сезонным пучениям, большим просадкам, способным нарушить устойчивость трубопроводов, а также на переходах через реки, ручьи, овраги.
Сваи надлежит принимать из железобетона или дерева и закладывать ниже слоя сезонного оттаивания грунта на глубину, определенную расчетом, но не менее чем на 1 м.
4.7. При прокладке трубопровода "змейкой" рекомендуется применять подвесные опоры, выполненные по схеме четырехгранной пирамиды (рис. 6).
Рис. 6. Металлодеревянная подвесная опора
4.8. На участках местности с уклоном до 10° следует применять надземную прокладку трубопроводов на скользяще-подвесных опорах.
4.9. Надземную прокладку трубопроводов на высоких опорах следует принимать на мачтах, эстакадах и по конструкциям промышленных зданий и сооружений на высоте, обеспечивающей проезд транспорта (рис. 7).
Рис. 7. Схемы надземных прокладок трубопроводов
по мачтам, эстакадам, оградам и строительным
конструкциям зданий
4.10. Надземная прокладка трубопроводов на высоких опорах в населенных пунктах не рекомендуется.
4.11. Подземная бесканальная прокладка водопроводных и канализационных трубопроводов допускается в непросадочных грунтах или грунтах I типа просадочности при оттаивании (рис. 8). При этом должна обеспечиваться герметичность стыков вне зависимости от изменения температурного режима мерзлых грунтов.
Рис. 8. Бесканальная прокладка низкотемпературных
трубопроводов
1 - граница талика в зимнее время; 2 - граница протаивания
в летнее время; 3 - глинобетон; 4 - замененный грунт
4.12. В пределах застройки населенного пункта допускается подземная бесканальная прокладка водопроводных труб диаметром до 300 мм в грунтах I типа просадочности при оттаивании. Вид прокладки труб диаметром более 300 мм определяется по результатам теплотехнического расчета.
4.13. Талик вокруг трубы в летнее время не должен влиять на устойчивость трубопровода и близлежащих зданий и сооружений, а в зимнее время должен предохранять транспортируемую жидкость от замерзания.
4.14. При защите водопроводных труб от замерзания автоматическими выпусками воды или греющим электрическим кабелем допускается их прокладка в слое сезонного промерзания грунта.
4.15. Тоннели или каналы для инженерных сетей, прокладываемых в вечномерзлых грунтах, могут быть одноярусными, двухъярусными и двухсекционными (рис. 9).
Рис. 9. Схемы проходных каналов
а - одноярусный; б - двухъярусный; в - двухсекционный;
1 - тепловые сети; 2 - водопровод; 3 - канализация;
4 - электрические кабели; 5 - технологические трубопроводы
Тип тоннеля или канала должен определяться в зависимости от результатов технико-экономического сравнения вариантов; при этом необходимо учитывать:
одноярусный наиболее экономичен;
двухъярусный с отдельным ярусом для канализационных труб облегчает прокладку канализационных труб с необходимым уклоном;
двухсекционный с вертикальной разделяющей стенкой экономичен при размещении в нем большого количества трубопроводов различного назначения;
подземный целесообразно применять в городах и поселках с компактной многоэтажной застройкой для совмещенной прокладки инженерных коммуникаций.
4.16. Прокладка сетей канализации в тоннеле или канале совместно с сетями водопровода допускается только по согласованию с органами санитарно-эпидемиологической службы.
4.17. В целях экономии и снижения теплового воздействия на грунты оснований зданий подземные тоннели или каналы следует прокладывать с минимальным заложением.
4.18. Просадочные при оттаивании грунты в основании тоннеля или канала следует заменять на расчетную величину оттаивания непросадочными грунтами (рис. 10).
Рис. 10. Конструкция канала на просадочных
при оттаивании грунтах
1 - замененный грунт; 2 - глинобетон; 3 - песчаная
подготовка; 4 - дренаж; 5 - дренажные отверстия;
6, 7 - железобетонные секции; 8 - обратная засыпка
Вместо замены грунта допускается протаивание и тщательное уплотнение грунтов основания.
4.19. Для трубопроводов, прокладываемых в тоннелях или каналах, следует предусматривать раздельную кольцевую теплоизоляцию.
4.20. Тоннели или каналы надлежит проектировать с уклоном не менее 0,002; при укладке в них канализационных трубопроводов уклон тоннелей или каналов определяется уклоном трубопроводов.
4.21. Уклон тоннелей или каналов должен обеспечивать выпуск аварийной воды в пониженные участки местности за чертой города или в систему канализации. При плоском рельефе местности для удаления аварийной воды допускается предусматривать насосные станции.
4.22. Для смыва и транспортирования по дну тоннеля или канала наносов, поступающих с поверхностными сточными водами, на водопроводной сети следует предусматривать установку через 150 - 200 м незамерзающих поливочных кранов.
4.23. Следует предусматривать вентиляцию подземных тоннелей и каналов. Рекомендуется принимать естественную систему вентиляции с использованием гравитационного и ветрового напоров; при этом число приточных и вытяжных шахт (рис. 11) должно быть минимальным.
Рис. 11. Схема вентиляции канала
1, 2 - верхний и нижний ярусы канала; 3 - входная
вентиляционная шахта; 4 - вытяжная вентиляционная шахта;
5 - отверстие для вентиляции
4.24. Необходимо предусматривать меры предохранения вентиляционных шахт от заносов и завалов снегом.
4.25. Принудительную вентиляцию тоннелей и каналов, расположенных в населенных пунктах, применять не рекомендуется, ее допускается применять для тоннелей и каналов, расположенных на территории промышленных предприятий и предназначенных для одновременной прокладки технологических трубопроводов с большими тепловыделениями.
4.26. Для приточных и вытяжных шахт должна предусматриваться установка регулирующих заслонок.
4.27. На водопроводах, прокладываемых в тоннелях или каналах, следует устанавливать самоуплотняющиеся компенсаторы.
4.28. Для исключения возможности протекания воды вдоль стенок тоннеля или канала следует предусматривать устройство поперечных глинобетонных перемычек, врезаемых в боковые стенки и дно траншей на 1 м; при этом применяемый глинобетон должен иметь следующий состав, %:
Жирная глина............................................... 30
Песок...................................................... 20
Щебень и галька............................................ 50
Вода в количестве, обеспечивающем консистенцию глинобетона, при которой осадка конуса равна нулю.
4.29. Под тоннелями и каналами следует предусматривать устройство основания из песчаной подготовки толщиной до 15 см, слоя глинобетона толщиной до 20 см или замененного и уплотненного слоя грунта, толщина которого определяется теплотехническим расчетом.
4.30. Устройство каналов допускается предусматривать на коротких участках трассы (пересечение улиц, дорог) с непросадочными при оттаивании грунтами или при замене просадочных грунтов непросадочными.
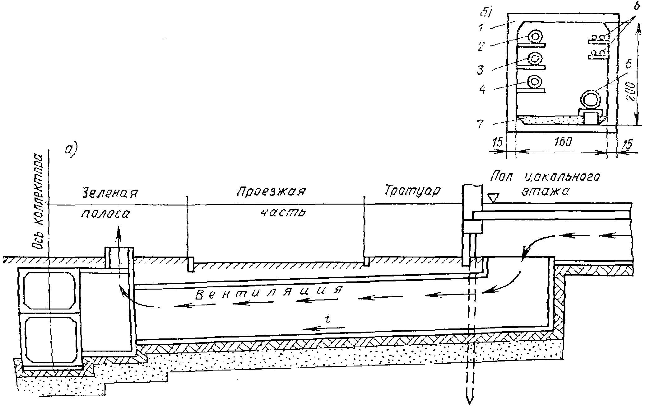
4.31. Для исключения возможного нарушения вечномерзлого состояния грунтов в основании зданий вводы водопровода и выпуски канализации следует прокладывать в подземных вентилируемых тоннелях или каналах (рис. 12,
13); при этом следует совмещать прокладку в тоннелях или каналах различных инженерных сетей. Допускается принимать надземную прокладку вводов водопровода.
Рис. 12. Проходной канал на вводе
а - схема вентиляции канала; б - сечение канала;
1 - железобетонные секции; 2, 3 - теплопровод;
4 - водопровод; 5 - канализация; 6 - электрические
кабели; 7 - набетонка
4.32. Естественную вентиляцию тоннелей или каналов на вводах следует принимать раздельно от вентиляции магистральных тоннелей или каналов. При этом движение воздуха надлежит принимать от здания к магистральному тоннелю или каналу.
4.33. На вводах уклон тоннелей или каналов, а также прокладываемых в них трубопроводов, должен приниматься от здания.
4.34. Число вводов и выпусков должно быть минимальным.
4.35. Диаметры вводов следует принимать не менее 50 мм.
4.36. Для защиты сетей от замерзания в конце ввода допускается предусматривать сброс воды в сеть внутренней канализации с разрывом струи и устройством гидравлического затвора на сети канализации.
Необходимость и величина сброса воды определяются теплотехническим расчетом.
4.37. Прокладываемые в проветриваемых подпольях сети водопровода и канализации надлежит подвешивать к перекрытию на металлических подвесках.
4.38. Для трубопроводов водопровода и канализации, подвешиваемых к перекрытию подполья, следует предусматривать кольцевую теплоизоляцию.
4.39. К одному вводу следует предусматривать присоединение возможно большего числа зданий.
4.40. На трубопроводах, прокладываемых в проветриваемых подпольях зданий, установка запорной и регулирующей арматуры, а также воздушных клапанов не допускается. Число сварных стыков и других соединений на трубопроводах должно быть минимальным.
4.41. Внеплощадочные канализационные коллекторы (самотечные и напорные), если позволяет рельеф местности и условия планировки, рекомендуется укладывать на лежневых, городковых или низких свайных опорах.
5. ПРОКЛАДКА ТРУБОПРОВОДОВ В СЕЙСМИЧЕСКИХ РАЙОНАХ
5.1. В сейсмических районах рекомендуется надземная прокладка трубопроводов.
5.2. При прокладке трубопроводов "змейкой" должны применяться подвесные, скользяще-подвесные и шаровые опоры (см.
рис. 6, 14,
15).
Рис. 14. Конструкция шаровой опоры
1 - шар; 2 - опорные полусферические чаши; 3 - лист;
4 - косынка; 5 - хомут; 6 - трубопровод; 7 - швеллер;
8 - бетонный массив; 9 - швеллеры, ограничивающие
перемещение трубопровода
Рис. 15. Прокладка трубопровода на шаровых
и скользящих опорах
| | ИС МЕГАНОРМ: примечание. Обозначение расстояния между углами зигзага по оси трассы дано в соответствии с официальным текстом документа. | |
Q - угол зигзага; 2L - расстояние между углами зигзага
по оси трассы;

- расстояние между промежуточными опорами
5.3. Подвесную прокладку трубопроводов "змейкой" следует предусматривать на четырехстоечных опорах (см.
рис. 6), при этом устройства неподвижных опор не требуется.
5.4. При прямолинейной надземной прокладке трубопроводов следует предусматривать применение компенсаторов с кольцевым самоуплотняющимся затвором или компенсаторов упругого типа (П-, Л-образные).
5.5. В населенных пунктах и на площадках промышленных предприятий рекомендуется совмещенная прокладка коммуникаций в каналах с подвеской труб (рис. 16), конструкция которой должна предусматривать регулировку высотного положения трубопроводов.
Рис. 16. Прокладка трубопроводов на подвесках в канале
1 - железобетонный канал; 2, 3 - подвески с устройством
для регулирования высотного положения;
4, 5, 6 - трубопроводы
5.6. Для районов вечномерзлых грунтов и при наличии сейсмичности прокладку надземных трубопроводов следует предусматривать возможно ближе к поверхности земли (15 - 30 см в свету).
5.7. Водоводы из двух и более ниток должны приниматься без переключений. В случае аварий на одной из ниток водовода увеличение расхода воды должно достигаться повышением напора на насосной станции.
5.8. Для повышения надежности водоснабжения в сейсмических районах по согласованию с органами санитарно-эпидемиологической службы необходимо предусматривать возможность соединения раздельных сетей хозяйственно-питьевого и производственного водопроводов, а также возможность подачи неочищенной обеззараженной воды в сеть хозяйственно-питьевого водопровода.
Примечание. Конструкция перемычки в этих случаях должна обеспечивать воздушный разрыв между сетями и исключать возможность обратного тока воды в сеть хозяйственно-питьевого водопровода.
6. ТЕПЛОВЫЕ РЕЖИМЫ ТРУБОПРОВОДОВ
Минимальная допустимая температура воды
в наиболее удаленных точках водопровода
6.1. При определении минимальной допустимой температуры воды в наиболее удаленных точках водопровода необходимо учитывать:
теплотехнические данные трубопровода (тепловые потери трубопровода, отнесенные к объему транспортируемой воды);
способ прокладки (подземная, наземная, надземная);
время остановки трубопровода, необходимое для устранения аварии;
величину неравномерности расхода воды;
величину погрешности измерения температуры воды;
стоимость тепла, идущего на подогрев воды;
условия эксплуатации (доступность участков водопровода для надзора и ликвидации повреждений, требования объекта к бесперебойности подачи воды и пр.).
6.2. Минимальная температура воды должна определяться теплотехническим расчетом, при этом допускается принимать колебание температуры в интервале от долей градуса до нескольких градусов (плюс 3 - 5 °C).
6.3. Температура воды в водопроводах с большими теплопотерями на единицу объема подаваемой воды и значительной неравномерностью расходов воды должна иметь большие значения минимальных температур.
6.4. Для водопроводов подземной прокладки следует принимать меньшие значения минимальных температур.
6.5. Минимальная температура воды в конце водопровода должна проверяться теплотехническим расчетом на время, необходимое для ликвидации повреждения или аварии на трубопроводе.
Оледенение внутренних стенок труб
6.6. При эксплуатации водопровода, проложенного над землей, образование льда на стенках трубопроводов не допускается.
6.7. В случаях аварий допускается образование льда на стенках трубопроводов водопровода при наличии на трубопроводах специальной арматуры, обеспечивающей их работу при льдообразовании.
Оптимальные тепловые режимы надземных водопроводов
6.8. Скорость движения воды в трубопроводе

, м/с
(рис. 17), при которой затраты средств на подачу воды и компенсацию тепловых потерь надземного трубопровода при электрическом подогреве воды имеют минимальную величину, определяется по формуле

, (1)
где

- площадь сечения трубопровода, м2;

;

,

- среднее из значений

и

;

- температура воды в начальной точке трубопровода, °C;

- температура воды в конечной точке трубопровода, °C;

- температура атмосферного воздуха (для канальной прокладки - температура воздуха в тоннеле или канале), °C;
R - термическое сопротивление изоляции, м x град/Вт;

,
A - удельное гидравлическое сопротивление трубопровода (при расходе воды, м3/с);
k - коэффициент, зависящий от принятых единиц, равный 0,00272;

- плотность воды, кг/м3;

- КПД насоса.
Рис. 17. Оптимальная скорость движения воды
в трубопроводах при надземной прокладке

6.9. Наиболее экономичная скорость движения воды в трубопроводе при компенсации затрат на тепловые потери с использованием других видов энергии определяется по формулам:

при

; (2)

при

, (3)
где

- стоимость единицы тепла при электрическом подогреве, руб.;

- стоимость единицы тепла при других видах подогрева (тепло котельных, ТЭЦ и др.), руб.
6.10. Изменение скорости движения воды

в трубопроводе при изменении термического сопротивления изоляции следует определять по зависимости

. (4)
6.11. Скорости движения воды

и

в двух водоводах, имеющих соответственно диаметры

и

, удельное сопротивление

и

, при прочих равных условиях определяются по формуле

. (5)
6.12. Скорость движения воды

и

в двух водоводах различных диаметров и термических сопротивлений изоляции следует определять по формуле

. (6)
6.13. Скорость

с увеличением диаметра трубопровода может изменяться в зависимости от величины термического сопротивления изоляции. В частном случае, когда

, скорости воды равны

.
6.14. При изменении диаметра трубопровода для сохранения прежней скорости движения воды необходимо термическое сопротивление изоляции изменить в отношении:

;

. (7)
6.15. Скорости движения воды

и

в двух водоводах, имеющих различную тепловую изоляцию, при различных перепадах температуры следует определять по формуле

. (8)
6.16. Минимальные удельные затраты электрической энергии на подачу воды и компенсацию тепловых потерь в течение года следует определять по формуле

, (9)
где n - число месяцев в году, для которых

;

- для месяцев, у которых

;

- значение

среднее за год;

(10)
при

.
7. ПРЕДОХРАНЕНИЕ ВОДОПРОВОДА И КАНАЛИЗАЦИИ ОТ ЗАМЕРЗАНИЯ
7.1. Проектами водоснабжения и канализации должны предусматриваться мероприятия по защите труб от замерзания.
7.2. Для предупреждения замерзания водопроводных труб необходимо:
обеспечивать непрерывное движение воды в трубопроводах;
принимать время остановки водопровода для ликвидации повреждений или аварий не более определенного теплотехническим расчетом;
снижать до минимума тепловые потери трубопроводов;
предусматривать подогрев воды или трубопроводов;
обеспечивать контроль за гидравлическими и тепловыми режимами водопровода;
применять оборудование, устойчивое против замерзания;
предусматривать оборудование водоводов системой автоматической защиты от замерзания.
7.3. Для предотвращения остановки движения воды в водоводах необходимо предусматривать:
бесперебойное электроснабжение насосной станции;
установку на площадке насосной станции резервной электростанции на жидком топливе или установку дополнительного агрегата с двигателем внутреннего сгорания, если имеется только одна ЛЭП;
установку в насосной станции не менее трех насосных агрегатов независимо от категории водопровода;
организацию непрерывного контроля за расходом воды в водоводах.
7.4. Снижение тепловых потерь трубопроводов при надземной прокладке следует обеспечивать за счет:
покрытия трубопроводов кольцевой теплоизоляцией;
прокладки трубопроводов у поверхности земли в слое снежного покрова;
принятия оптимальной величины скорости движения воды в трубопроводе;
исключения или сведения до минимума участков без тепловой изоляции с повышенными теплопотерями (фланцы, арматура, сальниковые компенсаторы, крепление трубопровода).
7.5. Снижение тепловых потерь в трубопроводах подземной канальной прокладки следует обеспечивать за счет покрытия труб кольцевой теплоизоляцией и регулирования работы естественной вентиляции.
7.6. В зависимости от местных условий следует предусматривать подогрев водопроводной воды:
путем добавления теплой воды из систем охлаждения технологического оборудования промышленных предприятий или ТЭЦ;
в котельных или бойлерных установках;
электрическими нагревателями;
теплотой гидродинамического трения, выделяемой в насосах и трубопроводах при повышенных скоростях движения воды.
7.7. Температуру подогрева воды следует определять на основании технико-экономических расчетов с учетом стоимости тепла и теплоизоляции.
7.8. При проектировании подогрева воды в котельных, бойлерных и других установках необходимо обеспечивать минимальный расход тепла, снижая среднюю температуру нагрева воды за счет ступенчатого подогрева.
7.9. Установки для подогрева воды должны быть оборудованы системами автоматики, поддерживающими заданный температурный режим воды в трубопроводах (с необходимым аварийным резервом).
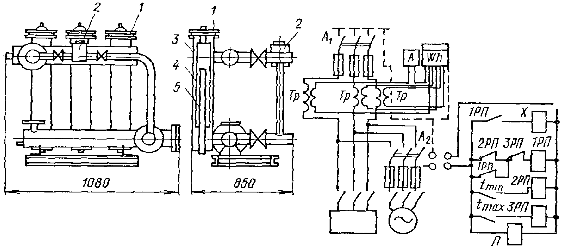
7.10. В специальных котельных для подогрева водопроводной воды надлежит устанавливать электрические электродные котлы низкого напряжения (рис. 18), применение которых обеспечивает простоту автоматики управления, снижение веса и уменьшение габаритов помещений котельных.
Рис. 18. Электродный котел
1 - грязевик; 2 - концентратор; 3 - корпус;
4 - электрод; 5 - нулевой электрод
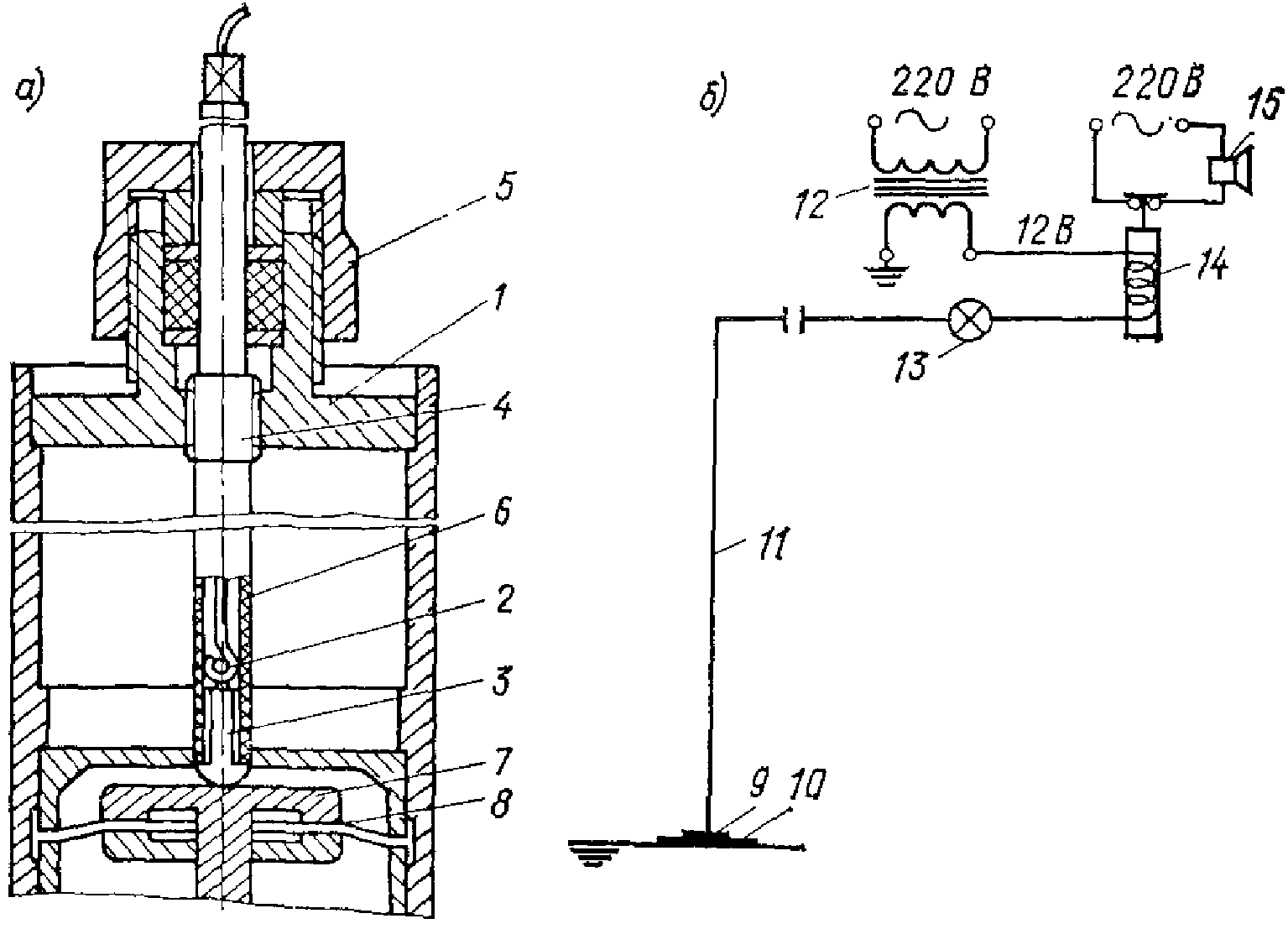
7.11. Сопровождающий греющий кабель (рис. 19) предотвращает возможность замерзания жидкости в трубопроводах, а также позволяет прогревать трубы перед пуском воды по трубопроводам в зимнее время. Для автоматической работы греющего кабеля следует предусматривать установку терморегулятора
(рис. 20).
Рис. 19. Схема оборудования водопровода греющим кабелем
1 - водопровод; 2 - питающая электросеть;
3 - греющий электрокабель; 4 - терморегулятор
Рис. 20. Конструкция терморегулятора
1 - камера, заполняемая рабочей жидкостью; 2 - рабочая
жидкость (вода); 3 - резиновая диафрагма (рабочая);
4 - резиновая диафрагма для крепления контакта;
5 - камера для размещения электроконтактов;
6 - подвижный контакт; 7 - неподвижный контакт;
8 - диэлектрический стакан; 9 - регулировочная втулка;
10 - возвратная пружина; 11 - резиновое уплотнительное
кольцо; 12 - втулка зажимная; 13 - двужильный
электропровод; 14 - патрубок; 15 - деталь крепления
подвижного контакта к диафрагме; 16 - уплотнительная
прокладка; 17 - завинчивающаяся пробка
7.12. Греющий кабель рекомендуется использовать при подземной бесканальной прокладке водопровода и канализации, а также на замыкающих перемычках водопровода в каналах, на участках, не совпадающих с трассировкой тепловых сетей, при диаметре труб до 300 мм.
7.13. Система подогрева должна обеспечивать расчетную температуру воды на концевых участках сети.
7.14. Укладку греющего кабеля следует предусматривать непосредственно по поверхности трубы. Для предохранения его от механических повреждений, а также для более эффективного использования тепла за счет повышения теплоотдачи к трубопроводу, рекомендуется сверху кабеля укладывать профильную антисептированную деревянную рейку.
7.15. Применение электроэнергии для подогрева жидкостей или трубопроводов должно обосновываться технико-экономическими расчетами.
7.16. Контроль за тепловыми режимами водопровода, а также управление этими режимами должны осуществляться централизованной диспетчерской службой, оснащенной необходимыми приборами для обеспечения наблюдения:
за температурой воды в характерных точках водопроводной системы;
за работой систем подогрева воды;
за расходами воды в системе водопровода и у потребителей.
В зимнее время данные о температуре воды, переданные на диспетчерский пункт приборами или дежурным персоналом по телефону, должны регистрироваться через каждые два часа.
7.17. При наступлении положительных температур воздуха тепловой контроль ведется в тех случаях, когда он необходим для технологических целей.
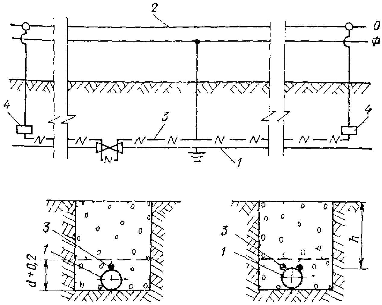
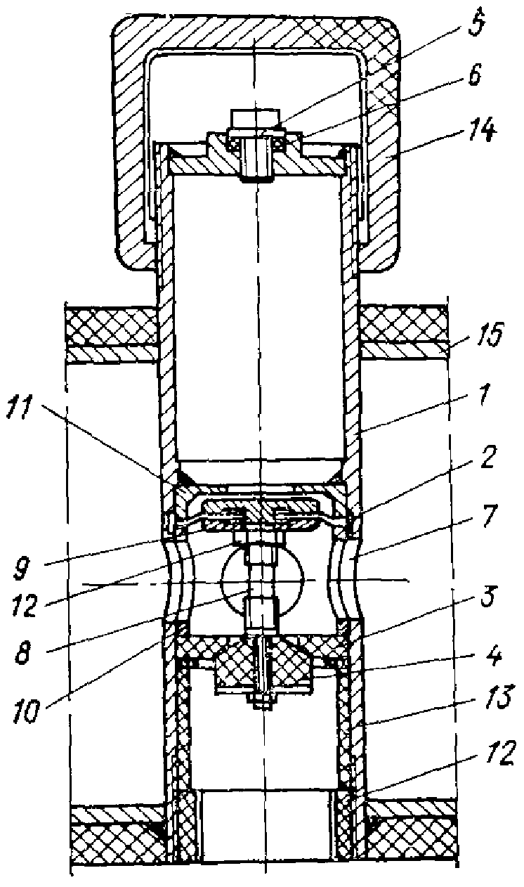
7.18. Водоводы и водопроводные сети надземной или канальной прокладки, имеющие большие тепловые потери или работающие с большой неравномерностью водопотребления, следует защищать от замерзания автоматическими выпусками воды (рис. 21).
Рис. 21. Автоматический выпуск воды
1 - корпус; 2 - диафрагма; 3 - седло; 4 - клапан;
5 - шайба; 6 - прокладка; 7 - отверстие; 8 - шток;
9 - диск; 10 - стакан; 11 - ограничитель; 12 - гайка;
13 - стакан; 14 - регулятор; 15 - труба
7.19. Автоматические выпуски обеспечивают работу системы:
при отсутствии электропитания;
за счет автоматического включения в работу при появлении угрозы замерзания водопровода, а также автоматического прекращения сброса воды при повышении ее температуры в водопроводе до нормы;
за счет наличия в регуляторе устройства, позволяющего задавать в интервале температур, близких к нулю (от 0,2 до 1,5 °C), определенную степень охлаждения воды в трубопроводе, при которой начинается ее сброс.
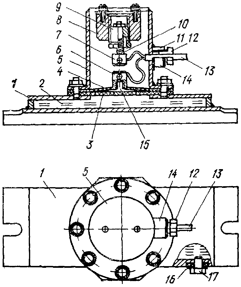
7.20. В наиболее характерных точках водопроводной системы следует предусматривать установку автоматических выпусков воды с телеустройством, сигнализирующим на диспетчерский пункт об отклонении теплового режима водопровода от нормы (рис. 22).
Рис. 22. Телеустройство автоматического выпуска воды
а - конструкция телеустройства; б - схема
телеустройства автоматического выпуска воды; 1 - выпуск;
2 - диэлектрический стержень; 3 - электропроводящий контакт;
4 - резьба; 5 - сальник; 6 - проводник; 7 - нижний контакт;
8 - медная фольга; 9 - головка контакта в верхней камере
автоматического выпуска; 10 - контакт на верхнем диске
диафрагмы; 11 - телефонный провод; 12 - трансформатор
220 x 12; 13 - лампа К-12 на 12 В; 14 - реле;
15 - звуковой сигнал
7.21. Автоматический выпуск воды с телеустройством следует применять также при автоматической работе водопроводных систем (автоматическое включение дополнительных средств подогрева воды или резервных насосных агрегатов).
8. ТРУБОПРОВОДЫ И ТРУБОПРОВОДНОЕ ОБОРУДОВАНИЕ
8.1. В соответствии с требованиями глав СНиП по проектированию наружных сетей и сооружений водоснабжения и канализации в районах распространения вечномерзлых грунтов:
для водоводов и сетей водопровода необходимо применять стальные и пластмассовые трубы; чугунные трубы допускается применять при подземной прокладке в проходных каналах. Применение железобетонных и асбестоцементных труб не допускается;
материал труб для напорных сетей канализации следует принимать как для труб водопроводных сетей;
для самотечных сетей канализации надлежит применять трубы полиэтиленовые и чугунные с резиновой уплотнительной манжетой.
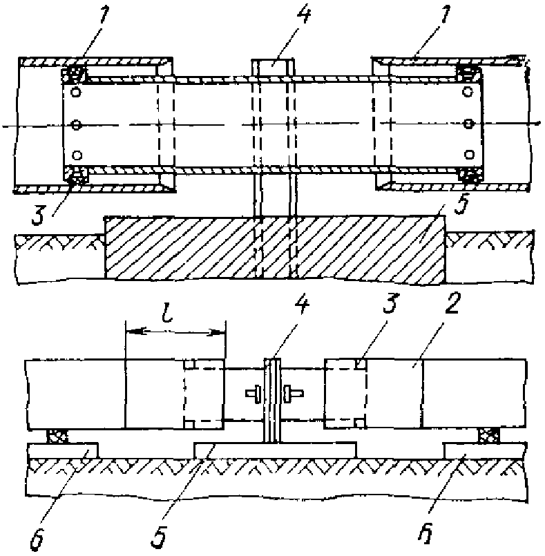
8.2. При наземной и канальной прокладке водопроводных сетей из стальных труб следует применять компенсаторы упругого (П-, Л-образные) и разрезного (самоуплотняющиеся) типов (рис. 23,
24,
25,
26).
Рис. 23. Самоуплотняющийся компенсатор для воды
1 - стакан; 2 - эластичное кольцо; 3 - обойма;
4 - полость под эластичным кольцом; 5 - патрубок
Рис. 24. Двусторонний самоуплотняющийся компенсатор
для воды
1 - стакан; 2 - патрубок; 3 - эластичное кольцо;
4 - неподвижная опора; 5 - основание неподвижной опоры;
6 - скользящая опора
Рис. 25. Двусторонний самоуплотняющийся компенсатор для воды
1 - стакан; 2 - патрубок; 3 - эластичное кольцо;
4 - неподвижная опора; 5 - основание неподвижной опоры;
6 - скользящая опора
Рис. 26. Самоуплотняющийся компенсатор для воды
с устройством против разрыва
Компенсаторы упругого типа надлежит принимать на напорных трубопроводах диаметром до 300 мм; при диаметре труб свыше 300 мм следует применять самоуплотняющиеся компенсаторы.
8.3. Компенсаторы разрезного типа следует применять при укладке трубопроводов всех диаметров в канале или тоннеле.
8.4. На трубопроводах водопровода следует предусматривать установку стальной незамерзающей арматуры, конструкция которой должна обеспечивать:
отказ от внешнего обогрева;
использование тепла воды, протекающей в трубопроводе, для восполнения тепловых потерь арматуры;
размещение затвора арматуры в потоке воды или близко к трубопроводу;
автоматический слив воды, находящейся выше затвора (за затвором по направлению движения воды), после каждого отключения арматуры;
сокращение площади поверхностей контакта частей арматуры с окружающим воздухом;
исключение замкнутых объектов в арматуре, удаленных от теплового потока, в которых возможно замерзание воды;
применение в затворах и сальниках принципа самоуплотнения.
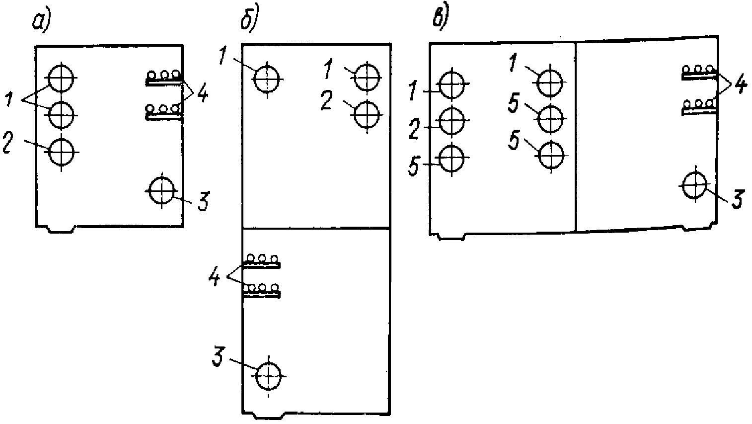
8.5. Примеры установки незамерзающего водопроводного оборудования
(рис. 27):
Пожарный гидрант
для сети наземной
прокладки ................ Устанавливается сверху трубы, расстояние
от верха трубы до клапана не более 50 мм
Пожарный гидрант
для подземной сети ....... Врезается в трубу сбоку, так чтобы корпус
гидранта на 0,5 диаметра трубы погружался
в трубопровод
Плунжерный кран .......... Устанавливается сбоку трубы, корпус крана
располагается горизонтально
Водоразборная колонка
с опорожнением стояка
в емкость ................ Устанавливается сверху трубы, емкость
погружается в трубопровод
Аэрационный клапан ....... Устанавливается сверху трубы, корпус
погружается в трубопровод на 70% своей
высоты
Выпуск ................... Врезается у дна трубы сбоку, ось шпинделя
составляет с горизонтальной плоскостью угол
от 10 до 15°
Задвижка для перемычек ... Устанавливается снизу трубы
Незамерзающая подставка
под манометр ............. Устанавливается сверху трубы, корпус
подставки погружается в трубопровод
Самоуплотняющийся
компенсатор .............. Эластичное кольцо устанавливается
за середину стакана компенсатора в сторону
его перехода
Вантуз ................... Устанавливается сверху трубы
Прибор для измерения
толщины льда
на внутренних
стенках труб ............ Корпус прибора устанавливается так, чтобы
его дно располагалось по оси трубопровода.
Измерительная трубка поднимается выше
тепловой изоляции
Уловитель с промывкой ... Ось решеток устанавливается горизонтально
и перпендикулярно оси трубопровода,
выпуск располагается снизу
Рис. 27. Установка незамерзающей арматуры на водопроводе
1 - пожарный гидрант для сети наземной прокладки;
2 - пожарный гидрант для подземной сети;
3 - плунжерный кран; 4 - водоразборная колонка;
5 - аэрационный клапан; 6 - выпуск; 7 - задвижка
для перемычек; 8 - незамерзающая подставка под манометр;
9 - прибор для измерения толщины льда на внутренних
стенках труб; 10 - самоуплотняющийся компенсатор;
11 - вантуз; 12 - уловитель с промывкой
8.6. Для увеличения времени остановки водовода и повышения надежности его работы следует применять арматуру, обеспечивающую работу трубопровода в ледовых режимах.
Примеры арматуры, работающей при оледенении трубопровода на 50% живого сечения трубы, показаны на рис. 28 и
29.
Рис. 28. Конструкция выпуска воды при оледенении
трубопровода на 50%
1 - трубопровод; 2 - корпус арматуры; 3 - клапан;
4 - шпиндель; 5 - ходовая гайка; 6 - нажимная гайка;
7 - уплотнение шпинделя; 8 - выпускной патрубок;
9 - теплоизоляция; 10 - лед
Рис. 29. Конструкция аэрационного клапана
при оледенении трубопровода на 50%
1 - трубопровод; 2 - корпус арматуры; 3 - клапан;
4 - уплотнение; 5 - шпиндель; 6 - нажимная гайка;
7 - теплоизоляция
8.7. Конструкцией арматуры, устанавливаемой на трубопроводах в ледовых режимах, должно предусматриваться:
размещение входных каналов и затвора в середине сечения трубопровода;
автоматический слив воды из корпуса после закрытия затвора;
расположение выходных каналов снизу трубопровода;
применение деталей, влияющих на тепловые потери арматуры, из материалов с низким коэффициентом теплопроводности или их теплоизоляцию.
9. КОЛОДЦЫ, УЗЛЫ ПЕРЕКЛЮЧЕНИЙ НА СЕТЯХ
9.1. При подземной прокладке водопроводных труб следует применять сборные железобетонные колодцы с водонепроницаемыми стенками и днищем. Конструкцией узлов сопряжения труб с колодцами должна предусматриваться возможность неравномерной осадки колодцев и трубопроводов.
9.2. При проектировании колодцев для пучинистых грунтов надлежит предусматривать меры, исключающие "выталкивание" колодцев из грунта: обратную засыпку непучинистыми грунтами, гидроизоляцию вокруг колодцев из глинобетона и отвод поверхностных вод.
9.3. Устройство открытых лотков в колодцах на сетях канализации не допускается; для прочистки труб следует предусматривать ревизии (рис. 30).
Рис. 30. Смотровой колодец на сети канализации,
оборудованный закрытой ревизией с клиновым
уплотнением крышки
1 - труба; 2 - ревизия; 3 - колодец; 4 - дно колодца
(бетон); 5 - эластичное уплотнение
9.4. На водоводах, состоящих из двух ниток, следует применять узлы переключения по перекрестной схеме (рис. 31).
Рис. 31. Узел переключений с перекрестными перемычками
9.5. Проектирование сооружений для условий вечномерзлых грунтов должно выполняться в соответствии с требованиями главы СНиП по проектированию оснований и фундаментов на вечномерзлых грунтах и главы СНиП по проектированию бетонных и железобетонных конструкций.
10. ПЕРЕХОДЫ ТРУБОПРОВОДОВ ЧЕРЕЗ ДОРОГИ, ВОДОТОКИ, ОВРАГИ
10.1. Переходы трубопроводов через улицы, железные и автомобильные дороги надлежит осуществлять в каналах или стальных футлярах; надземная прокладка трубопроводов на стойках или по эстакадам допускается в случаях, когда прокладка сети водопровода на данном участке трассы осуществляется на стойках или по эстакадам.
Переходы трубопроводов через водные преграды, овраги и другие препятствия следует предусматривать надземной прокладкой на стойках или по эстакадам (рис. 32).
Рис. 32. Переходы через водотоки
а - переход через реку на железобетонных опорах;
б - переход через реку на свайных опорах;
1 - опоры из железобетонных колец; 2 - подвесные опоры;
3 - свайные опоры; 4 - подвесные опоры
10.2. Бесканальная прокладка трубопроводов, а также устройство дюкеров не допускается.
10.3. На трубопроводах с обеих сторон переходов следует предусматривать колодцы, размещая в них вентиляционные шахты и водоприемные приямки.
10.4. Каналы на переходах через улицы и дороги следует принимать из железобетонных деталей заводского изготовления; применение дерева и кирпича не рекомендуется.
11.1. Величину термического сопротивления теплоизоляции, а также ее конструктивные решения (кольцевая, засыпная, ограждения каналов и пр.) следует выбирать на основании технико-экономических расчетов.
11.2. При выборе теплоизоляционных материалов следует учитывать:
условия эксплуатации трубопроводов в резко переменных температурно-влажностных режимах при прокладке их на открытом воздухе и в вентилируемых подземных каналах;
влияние ветра, дождя и снега при эксплуатации труб на открытом воздухе;
возможность механических повреждений трубопровода;
стоимость доставки материалов;
ограниченные сроки производства наружных строительных работ с мокрыми процессами.
11.3. При наземной прокладке трубопроводов в земляных валиках в качестве теплоизоляции надлежит использовать местный или привозной грунт, а также подстилающие засыпки из горелых пород, мхов или торфов.
11.4. При надземной прокладке трубопроводов в каналах следует применять кольцевую теплоизоляцию.
11.5. При бесканальной прокладке труб следует применять тепловую изоляцию из водонепоглощающих пеноматериалов с замкнуто-ячеистой структурой.
11.6. В качестве теплоизоляции трубопроводов надлежит применять высокоэффективные изоляционные материалы на базе стекловолокна и пенопластов, а также пенобетонные и диатомовые сегменты.
11.7. При изоляции трубопроводов минеральной ватой следует предусматривать устройство прочного и влагонепроницаемого защитного слоя.
11.8. Для трубопроводов, транспортирующих жидкости с температурой не выше 95 °C, в качестве теплоизоляции рекомендуется использовать антисептированную деревянную рейку.
11.9. Для защиты кольцевой теплоизоляции необходимо применять алюминиевый лист, асбестоцементную штукатурку по проволочной сетке или рулонные изоляционные материалы.
Применение толя, а также мешковины и других тканей с масляной покраской не допускается.
11.10. При надземной прокладке трубопроводов рекомендуется применять дополнительную защиту изоляции деревянной рейкой, покрытой битумом.
11.11. Древесные опилки, торф, мох и другие органические материалы допускается применять для трубопроводов со сроком эксплуатации 1 - 2 года, прокладываемых на низких опорах в деревянных коробах.
12. ТЕПЛОТЕХНИЧЕСКИЕ РАСЧЕТЫ
12.1. Особенностями проектирования сетей водоснабжения и канализации в районах распространения вечномерзлых грунтов, определяющими их технологические и конструктивные решения, являются отрицательная в течение длительного периода года температура окружающей среды (воздуха, грунта) и резкое изменение физико-механических свойств большинства грунтов при их оттаивании.
12.2. Номенклатуру мерзлых грунтов надлежит принимать в соответствии с номенклатурой, приведенной в главе СНиП по проектированию оснований и фундаментов на вечномерзлых грунтах.
12.3. Основными характеристиками температурного режима грунта являются среднегодовая температура, глубина сезонного промерзания и оттаивания, а также минимальная температура грунта на глубине заложения трубопровода.
12.4. Среднегодовую температуру грунта

в естественных условиях следует принимать по данным разовых измерений, проведенных на глубинах, указанных в табл. 1.
Таблица 1
─────────────────────────────────────┬─────────────────────────────────────
Время измерения температуры грунта │ Глубина, на которой производится
│ измерение температуры грунта, м,
│при его среднегодовой температуре, °C
├───────────┬────────────┬────────────
│ От 0 до │ниже минус 2│ниже минус 4
│ минус 2 │ до минус 4 │
─────────────────────────────────────┼───────────┼────────────┼────────────
С середины лета до момента полного │ 3,5 - 4 │ 5 - 6 │ 7 - 8
промерзания сезонно-талого слоя │ │ │
грунта │ │ │
С момента полного промерзания │ 5 - 6 │ 7 - 8 │ 9 - 10
сезонно-талого слоя грунта │ │ │
до середины лета │ │ │
Примечание. В песчаных и скальных грунтах глубины, на которых производят измерение температур, следует увеличивать на 1 - 2 м.
12.5. Глубина сезонного оттаивания грунта

должна приниматься наибольшей из ежегодных максимальных глубин за срок наблюдений не менее 10 лет:
в пределах застройки - по данным наблюдений на осушенной площадке без растительного и торфяного покрова, очищаемой весной от снега;
вне населенных пунктов - на площадке с естественными условиями.
При отсутствии указанных данных глубину сезонного оттаивания грунта

следует определять теплотехническим расчетом в соответствии с
п. 12.17.
12.6. Глубина сезонного промерзания грунта

должна приниматься равной средней из ежегодных максимальных глубин по данным наблюдений за срок не менее 10 лет:
в пределах застройки - по данным наблюдений на осушенной площадке без растительного и торфяного покрова, очищаемой зимой от снега;
вне населенных пунктов - на площадке с естественными условиями.
При отсутствии указанных данных глубину сезонного промерзания грунта

следует определять теплотехническим расчетом, в соответствии с
п. 12.16.
12.7. Минимальную температуру грунта

в расчетах следует принимать равной минимальной среднемесячной температуре грунта на глубине заложения трубопровода (считая от поверхности грунта до оси трубы или середины канала), определяемой по данным наблюдений за срок не менее 10 лет.
При отсутствии данных расчетную температуру грунта

надлежит определять теплотехническим расчетом в соответствии с
п. 12.15.
12.8. При проектировании сетей водопровода и канализации в зависимости от физико-механических и мерзлотных свойств грунтов следует учитывать возможную осадку трубопроводов при оттаивании грунтов; при этом давление трубопроводов на грунт допускается не учитывать.
Основные положения теплотехнических расчетов
12.9. Теплотехническими расчетами определяется температурный режим сетей водопровода и канализации, а также окружающих их грунтов.
12.10. Теплотехнические расчеты следует производить для принятого гидравлического режима работы трубопроводов.
12.11. Принятые в теплотехнических расчетах основные обозначения и определения приведены в
Прил. 1. Примеры теплотехнических расчетов даны в
Прил. 2.
Температурный режим грунтов
12.12. Температурный режим грунтов характеризуется их среднегодовой температурой

, минимальной среднемесячной температурой грунта на глубине заложения трубопровода

и глубиной сезонного промерзания и оттаивания грунтов

и

, принимаемых в соответствии с указаниями, приведенными в
пп. 12.4 -
12.7.
12.13. При определении значений температурного режима грунтов

,

,

и

теплотехническими расчетами следует учитывать возможные изменения теплофизических свойств грунтов, их влажности и условий теплообмена на поверхности, которые произойдут в результате освоения территории.
12.14. В теплотехнических расчетах суммарную влажность грунта

для площадок, где сохраняется естественный покров и природный режим грунтовых вод, следует принимать равной естественной; для площадок, где предусматривается вертикальная планировка, осуществление мероприятий по регулированию поверхностного стока или по понижению уровня надмерзлотных вод и другие меры по инженерной подготовке территории, приводящие к уменьшению влажности грунтов, величина

принимается равной для:
песков

;
супесей

;
суглинков

,
где

- влажность на границе раскатывания в долях единицы;

- влажность на границе текучести в долях единицы;

- максимальная молекулярная влагоемкость грунта в долях единицы.
12.15. Минимальную температуру грунта

следует определять по формуле

, (11)
где A - определяется по графику
рис. 33 в зависимости от

;

- отрицательная сумма градусо-часов за зимний период года (минимальная за срок наблюдений 10 лет);

- продолжительность периода года с отрицательными среднемесячными температурами воздуха (зимний период), ч.
Рис. 33. Номограмма для определения значения A
Значение B находится по номограмме
рис. 34 по параметрам

и

:

,

. (12)
Рис. 34. Номограмма для определения значения B
Величина коэффициентов теплопроводности

и объемной теплоемкости

мерзлого грунта принимается для значений влажности и объемной массы грунта в естественных условиях. Для территории застройки значение S принимается равным нулю, т.е. значение B находится по номограмме
рис. 34 при

. При определении значения

для участков вне населенных пунктов толщина снежного покрова при вычислении значения S по
формуле (68) принимается равной минимальной среднезимней за срок наблюдений 10 лет.
12.16. Глубину сезонного промерзания грунта

, м, надлежит определять по формуле

, (13)
где

- средняя температура воздуха, °C, за период с отрицательными среднемесячными температурами воздуха - среднезимняя температура воздуха (принимается со знаком плюс);

- продолжительность периода с отрицательными среднемесячными температурами воздуха (зимний период), ч.
За расчетную среднезимнюю температуру воздуха следует принимать минимальную среднезимнюю температуру за срок наблюдений 10 лет.
Определение теплоты замерзания грунта q надлежит производить по
формуле (69) при значении

.
При вычислении глубины промерзания грунта для участка на территории застройки снежный покров не учитывается, т.е. в
формуле (68), по которой вычисляется значение S, принимается

. Величины коэффициентов теплопроводности

и теплоемкости

грунта и теплота замерзания грунта q определяются для значений влажности грунта на застроенной территории. Значения влажности грунта на этой территории следует принимать согласно указаниям, приведенным в
п. 12.14.
При вычислении глубины промерзания грунта для участков, расположенных вне населенных пунктов, толщина снежного покрова принимается равной минимальной среднезимней за срок наблюдений 10 лет. Величины коэффициентов теплопроводности

и объемной теплоемкости

грунта и теплота замерзания грунта q определяются для влажности грунта в естественных условиях, если не предусматриваются мероприятия по осушению грунта по трассе трубопровода; в случае осушения грунтов вдоль трассы значения указанных величин принимаются как для участков в пределах населенных пунктов.
12.17. Глубину сезонного оттаивания грунта

, м, надлежит определять по формуле

, (14)

(15)

- средняя температура воздуха за период положительных температур, °C;

- продолжительность периода с положительными температурами воздуха, ч,

; (16)

, (17)
где

- средняя температура воздуха за зимний период, °C;

- продолжительность зимнего периода, мес.
Значения

и

следует принимать по табл. 1 главы СНиП по строительной климатологии и геофизике, причем для климатических подрайонов 1Б и 1Г значения

и

принимаются с коэффициентом 0,9.
Коэффициент

определяется по номограмме
рис. 35 в зависимости от

, где

- термическое сопротивление снежного покрова;

- толщина снега;

- коэффициент теплопроводности снега
(табл. 3).
Рис. 35. Номограмма для определения
вспомогательных величин

,

,

Если глубина сезонного оттаивания определяется для участков, с поверхности которых снег сдувается или счищается, значение коэффициента

принимается равным 1.
Значение коэффициента

в
формуле (17) определяется по номограмме
рис. 35 в зависимости от продолжительности зимнего периода

, мес, и величины коэффициента

.
Значение коэффициента

предварительно находится по графику
рис. 35 по величине средней годовой температуры грунта

.
Теплота таяния льда в грунте q вычисляется по
формуле (69) при значении

, определенной для

.
Величины коэффициентов теплопроводности и объемные теплоемкости грунта принимаются по
табл. 4 для значений влажности, указанных в
п. 12.14.
12.18. В зависимости от условий эксплуатации и диаметра водопровода возможны следующие случаи его работы:
образование ледяной корки на внутренних стенках труб не допускается;
образование ледяной корки на внутренних стенках труб допускается.
12.19. Если образование ледяной корки на внутренних стенках трубопровода не допускается, то расчетом надлежит определять или начальную температуру воды

, или толщину теплоизоляции

при заданной начальной температуре воды.
Температура воды в начале расчетного участка трубопровода (сети или водовода)

и толщина теплоизоляции

связаны соотношением

, (18)
где

- минимальная среднесуточная температура наружного воздуха, °C;
e - экспонент (показательная функция). Значения приведены в
Прил. 3;

; (19)

; (20)

, (21)

- коэффициент теплоотдачи от воды к внутренним стенкам трубы, Вт/(м2 x °C), определяемый по формуле

, (22)

- коэффициент теплоотдачи от поверхности трубопровода к наружному воздуху, Вт/(м2 x °C), определяемый в зависимости от наружного радиуса (с изоляцией) и скорости ветра

, (23)
v - скорость ветра, м/с.
Значения

,

и

определяются по графикам рис. 36,
37.
Рис. 36. График для определения величины

Рис. 37. График для определения величины

Толщина теплоизоляции

при заданной температуре воды в начале расчетного участка трубопровода определяется подбором из
формулы (18).
Выбор наиболее целесообразного сочетания начальной температуры воды и толщины теплоизоляции определяется теплотехническим и технико-экономическим расчетами.
12.20. При заданной температуре воды в конце расчетного участка трубопровода и толщине теплоизоляции

температура воды в начале расчетного участка

должна быть не менее

, (24)
12.21. При заданной температуре воды в начале

и конце

расчетного участка трубопровода требуемую толщину теплоизоляции

надлежит определять подбором из формулы

. (25)
12.22. Если на внутренней поверхности трубопровода допускается образование ледяной корки (в периоды резкого похолодания), то толщина ледяной корки

определяется по формуле

, (26)
откуда

,
где

- коэффициент теплопроводности льда, Вт/(м x °C);

- продолжительность расчетного периода с температурой воздуха самого холодного месяца, ч;

- температура воздуха в расчетный период

, °C.
Значения

и

принимаются по таблице Справочника по климату СССР Госкомгидромета ("Число дней со средней суточной температурой в различных пределах"), при этом величина

по абсолютной величине должна быть наибольшей.
Трубопроводы в тоннелях или каналах
12.23. В случае когда трубопроводы укладываются в тоннеле или канале, расчетом надлежит определять:
глубину оттаивания грунта в основании тоннеля или канала в летнее время;
температуру воздуха в тоннеле или канале в зимнее время, необходимую для промораживания слоя грунта, оттаявшего под каналом за летний период;
расход воздуха для вентилирования тоннеля или канала в летнее и зимнее время;
толщину теплоизоляции труб;
изменение температуры теплоносителя по длине трубопровода, уложенного в тоннеле или канале.
12.24. Устойчивость вентилируемого тоннеля или канала и уложенных в нем трубопроводов при наличии льдонасыщенных грунтов в основании обеспечивается при соотношении

, (27)
где

- глубина оттаивания грунта в летнее время в основании тоннеля или канала, равная толщине слоя замененного грунта или предварительно оттаянного и уплотненного, м;

- глубина промерзания грунта основания тоннеля или канала в зимнее время, м.
12.25. Расчет глубины оттаивания и промерзания грунта надлежит производить по средним температурам воздуха за летний и зимний периоды.
12.26. Глубину оттаивания грунта в основании вентилируемого тоннеля или канала следует определять по формуле

, (28)
где

- коэффициент, определяемый по графику
рис. 38 в зависимости от параметра J:

; (29)

, (30)
где

- толщина стенки тоннеля или канала, м;

- коэффициент теплопроводности стенки тоннеля или канала, Вт/(м x °C);
b - ширина тоннеля или канала, м;

- среднелетняя температура наружного воздуха, °C;

- продолжительность периода года с положительной среднесуточной температурой, ч.
Рис. 38. График для определения коэффициента

12.27. Расход воздуха на вентилирование в расчете на 1 м тоннеля или канала в летний период

, кг/ч, следует определять по формуле

, (31)
где

- теплоемкость воздуха, кДж/(кг x °C);

- температура теплоносителя в прямой трубе теплопровода, °C;

- температура теплоносителя в обратной трубе теплопровода, °C;
U - внутренний периметр тоннеля или канала.
Коэффициент теплопередачи K определяется по формулам для прямой трубы

; (32)
для обратной трубы

, (33)
где

и

- наружные радиусы прямой и обратной труб теплопровода, м;

- коэффициент теплоотдачи от поверхности теплоизоляции труб теплопровода к воздуху в тоннеле или канале, Вт/(м2 x °C).
Если в тоннеле или канале кроме теплопровода укладываются другие трубопроводы (водопровод, канализация и пр.), то расход воздуха на вентилирование определяется только исходя из теплопотерь теплопровода.
12.28. Средняя температура воздуха в тоннеле или канале за период года с отрицательной температурой воздуха определяется по формуле

, (34)

- продолжительность периода года с отрицательной среднемесячной температурой воздуха (зимний период), ч.
12.29. Расход воздуха на вентилирование в расчете на 1 м в тоннеле или канале в зимний период

, кг/ч, следует определять по формуле

, (35)
где

- среднезимняя температура наружного воздуха, °C;

; (36)

- расстояние от поверхности земли до верха канала, м.
12.30. Толщину теплоизоляции труб в тоннеле или канале

надлежит определять предварительно по величине допустимых среднегодовых теплопотерь по формуле

, (37)
где

- температура теплоносителя в трубе, °C;

- допустимая среднегодовая величина теплопотерь, Вт/м.
12.31. Перепад температуры теплоносителя

в самый холодный месяц следует рассчитывать по формуле

. (38)
12.32. Если перепад температуры теплоносителя в трубах в самый холодный месяц окажется больше допустимого, то окончательная толщина теплоизоляции определяется по формуле

, (39)
где

.
12.33. Тепловой расчет вводов в здания, принятых к прокладке в тоннеле или канале, производится так же, как и для магистральных тоннелей или каналов.
12.34. Размеры зоны оттаивания грунтов вокруг тоннелей или каналов определяются для положительной средней годовой температуры воздуха в канале.
12.35. Предельная глубина оттаивания грунтов под тоннелями или каналами определяется по формуле

. (40)
Предварительно вычисляется значение

:

. (41)
В расчетах принимается эквивалентное значение радиуса тоннеля или канала, вычисляемое по формуле

, (42)
где U - внутренний периметр тоннеля или канала; значение m вычисляется по формуле

. (43)
По значениям

и m по номограмме (рис. 39) находится значение коэффициента

.
Рис. 39. Номограмма для определения коэффициента

12.36. Глубина оттаивания грунта под тоннелем или каналом за время

следует определять по формуле для значений


. (44)
Коэффициент

находится по номограммам
рис. 40 по значениям

, m и параметру J, вычисляемому по формуле

. (45)
Рис. 40. Номограмма для определения коэффициента

Глубина оттаивания для промежуточных значений

и m определяется по интерполяции.
12.37. Предельное оттаивание грунта

в горизонтальном направлении (от оси трубопровода) при

надлежит определять по формуле

, (46)
12.38. Оттаивание грунта в горизонтальном направлении

при

за время

следует определять по формуле

, (47)
Рис. 41. Номограмма для определения коэффициента

12.39. При заданной глубине оттаивания грунта под серединой тоннеля или канала

среднегодовую допустимую температуру воздуха в тоннеле или канале

в зависимости от значения

(48)
надлежит определять по формулам:
при


, (49)
при


. (50)
Предварительно следует задаваться приближенным значением среднегодовой допустимой температуры воздуха в тоннеле или канале

и определять значение

по
формуле (48), после чего определять значение m по
формуле (43) и значение

, равное:

. (51)
При

по значениям

,

и m по номограмме
рис. 40 находится значение J. По
формуле (49) вычисляется значение

. В случае расхождения предварительно заданного значения

и вычисленного по
формуле (49) более чем на 5° расчет повторяется.
При

по значениям

и m по номограмме
рис. 39 находится значение

. При расхождении предварительно заданного значения

и вычисленного по
формуле (50) более чем на 2° расчет повторяется.
12.40. При заданной величине оттаивания грунта от оси тоннеля или канала в горизонтальном направлении

определение допустимой среднегодовой температуры воздуха в канале

следует производить способом, аналогичным изложенному в
п. 12.39.
По заданному оттаиванию грунта в сторону от тоннеля или канала

находится значение

по формуле

, (52)
после чего задается приближенное значение

и по
формуле (48) вычисляется значение

.
При

по значениям

,

и m по номограмме
рис. 41 находится значение J и по
формуле (49) вычисляется значение

.
При расхождении значений

(предварительно заданного и полученного расчетом) более чем на 5° расчет повторяется при полученном расчетом значении

.
При

вычисляется

(53) и по значению

и m по номограмме
рис. 39 находится значение

, по которому по
формуле (50) определяется значение

.
12.41. Температуру воды в конце

и в начале

расчетного участка трубопровода (сети или водовода), если не учитывается нагрев за счет трения воды о стенки трубопровода, следует определять по формулам:

; (54)

; (55)

, (56)
где

- коэффициент, зависящий от степени заполнения трубопровода (для напорных трубопроводов

); для самотечных трубопроводов, работающих неполным сечением, определяется по
табл. 2;
K - коэффициент теплопередачи, Вт/(м x °C), определяемый по формулам:
для трубопроводов без теплоизоляции

, (57)
где

- определяется по графику
рис. 42 в зависимости от отношения

;
для трубопроводов с теплоизоляцией

, (58)
где

- термическое сопротивление теплоизоляции трубопровода, м x °C/Вт.
────────────┬──────────────────────────────────────────────────────────────
Температура │ Значение коэффициента ню в зависимости от материала
t , °C │ и степени заполнения канализационной трубы, %
г ├──────────────────────────────┬───────────────────────────────
│ Сталь, чугун │ бетон, железобетон
├──────────┬─────────┬─────────┼──────────┬──────────┬─────────
│ 10 │ 30 │ 100 │ 10 │ 30 │ 100
────────────┼──────────┼─────────┼─────────┼──────────┼──────────┼─────────
0 │ 0,8 │ 0,95 │ 1 │ 0,7 │ 0,8 │ 1
-2 │ 0,75 │ 0,85 │ 1 │ 0,65 │ 0,75 │ 1
-4 │ 0,7 │ 0,8 │ 1 │ 0,6 │ 0,7 │ 1
-6 │ 0,66 │ 0,77 │ 1 │ 0,55 │ 0,66 │ 1
Рис. 42. Номограмма для определения
вспомогательной величины

12.42. При подогреве трубопровода электрическим кабелем, уложенным вдоль трубопровода, не рекомендуется полностью срабатывать талую зону грунта, окружающего трубопровод, даже во время аварий. За минимальную толщину слоя грунта сверху трубы принимается слой, равный по величине радиусу трубопровода (рис. 43).
Рис. 43. Схема для расчета талика вокруг трубопровода
1 - поверхность грунта; 2 - трубопровод;
3 - нулевая изотерма; 4 - талик
12.43. Температуру воды в трубопроводе, °C, необходимую для образования над верхней образующей трубы талика толщиной

, надлежит определять по формуле

, (59)
где

- наружный диаметр трубопровода, м.
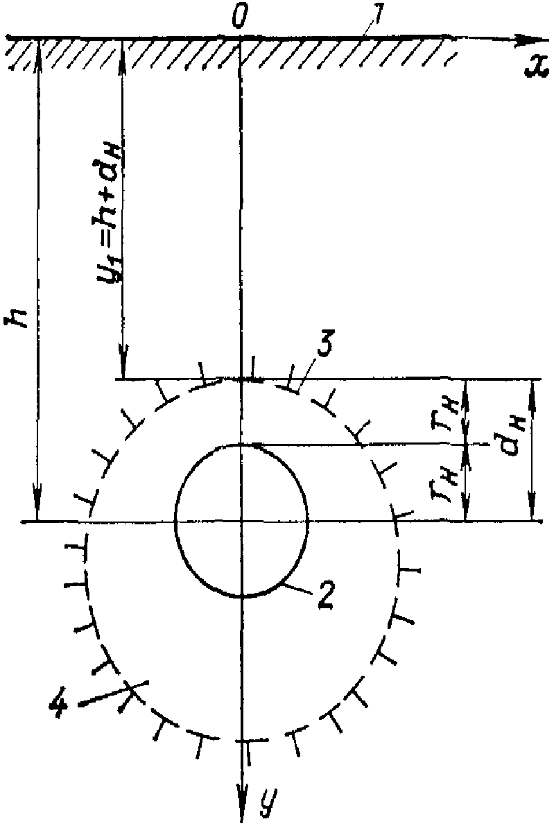
12.44. Уравнение нулевой изотермы вокруг неизолированного трубопровода выражается зависимостью

, (60)
где Q - тепловые потери трубопровода при подземной прокладке, Вт/м;

- приведенный коэффициент теплопроводности грунта Вт/(м x °C);

, (61)
где

- расстояние от поверхности земли до верха талика, м,
рис. 43;
x, y - координаты нулевой изотермы.
При x = 0,


. (62)
12.45. Тепловые потери трубопровода, для случая x = 0;

равны, Вт/м,

. (63)
12.46. Теплопроизводительность системы попутного электроподогрева

, Вт, надлежит определять исходя из расчетного дефицита тепла с учетом непроизводительных затрат, а при движении воды также с учетом увеличения теплосодержания воды:

, (64)
где

- коэффициент, учитывающий непроизводительные затраты тепла, выделяемого греющим кабелем;

- коэффициент, учитывающий отклонение фактических тепловых потерь от расчетных за счет изменения мерзлотно-грунтовых условий по трассе, отметок заложения трубопровода, неравномерности уплотнения грунта при обратной засыпке.
Для нескальных грунтов следует принимать:

;

.
12.47. Необходимую минимальную температуру греющего кабеля следует определять по формуле

, (65)
где

- диаметр электрического кабеля, м;

- коэффициент теплопередачи кабеля в окружающую среду, Вт/(м2 x °C).
12.48. При заданном напряжении силу тока J надлежит определять по формуле

, (66)
где v - напряжение, подаваемое на греющий кабель, В;

- длина кабеля, м.
12.49. Требуемое сопротивление греющего кабеля

, Ом/км, следует определять по формуле

, (67)
где

- температурный коэффициент электрического сопротивления греющего кабеля.
12.50. Расчетом следует определять глубину оттаивания грунта под водоводами и разводящими сетями по
формулам (40),
(41),
(44),
(45) и оттаивание грунта в горизонтальном направлении от оси трубопровода по
формулам (46),
(47).
12.51. Канализационные коллекторы и канализационные выпуски из зданий рассчитываются так же, как водоводы, разводящие сети и вводы системы водоснабжения.
ОСНОВНЫЕ ОБОЗНАЧЕНИЯ И ОПРЕДЕЛЕНИЯ,
ПРИНЯТЫЕ В ТЕПЛОТЕХНИЧЕСКИХ РАСЧЕТАХ
r - внутренний радиус трубы, м;

- наружный радиус трубы, м;
h - глубина заложения трубы (от поверхности грунта до ее оси), м;
l - длина расчетного участка трубопровода, м;

- глубина оттаивания грунта, м;

- глубина промерзания грунта, м;

- толщина снежного покрова, м;

- радиус трубы с изоляцией, м;

- толщина теплоизоляции, м;
S - толщина слоя грунта, термическое сопротивление которого равно термическому сопротивлению изоляции, снега и т.п.; при наличии одновременно снега и теплоизоляции толщина слоя грунта S определяется по формуле

, (68)

- коэффициент теплопроводности грунта в талом состоянии, Вт/(м x °C), определяемый по
табл. 4;

- коэффициент теплопроводности грунта в мерзлом состоянии, Вт/(м x °C), определяемый по
табл. 4;

- коэффициент теплопроводности снега, Вт/(м x °C), определяемый по
табл. 3;

- коэффициент теплопроводности теплоизоляции, Вт/(м x °C);

- вспомогательная величина для вычисления термического сопротивления трубы, уложенной в грунт, определяемая по номограмме
рис. 42;

- термическое сопротивление кольцевой теплоизоляции трубопровода, м x °C/Вт;
v - скорость движения воздуха, м/с;

- скорость движения воды, м/с;

- коэффициент теплоемкости талого грунта, кДж/(м3 x °C), определяемый по
табл. 4;

- коэффициент теплоемкости мерзлого грунта, кДж/(м3 x °C), определяемый по
табл. 4;
t - температура жидкости, °C;

- температура жидкости в начале расчетного участка трубопровода, °C;

- температура жидкости в конце расчетного участка трубопровода, °C;

- температура воздуха, °C;

- расчетная температура грунта на глубине заложения трубопровода, °C;

- среднегодовая температура грунта, °C;
q - теплота замерзания воды или таяния льда в 1 м3 грунта, кДж/м3, равная:

, (69)
Q - тепловые потери, Вт/м;

- удельная теплота плавления льда или замерзания воды, кДж/кг (336 кДж/кг);

- объемный вес скелета мерзлого грунта, кгс/м3;

- объемный вес мерзлого грунта, кгс/м3;

- суммарная весовая влажность грунта в долях единицы;

- весовое содержание незамерзшей воды в долях единицы; определяется по формуле

, (70)

- коэффициент, принимаемый по
табл. 5 в зависимости от вида грунта, числа пластичности

и температуры мерзлого грунта;

- влажность на границе раскатывания, доли единицы;
C - удельная теплоемкость теплоносителя, кДж/(кг x °C);
G - весовой расход теплоносителя, кг/ч;

- коэффициент, зависящий от степени заполнения трубопровода;

- время, ч.
Таблица 3
Значение коэффициента

──────────────────────────────────────────┬───────────────────────
Населенные пункты │ лямбда
│ с
──────────────────────────────────────────┼───────────────────────
Сковородино │ 0,20
Игарка │ 0,26
Воркута │ 0,29
Якутск │ 0,15
Анадырь │ 0,32
Тикси │ 0,32
Таблица 4
Коэффициент теплопроводности грунта, Вт/(м x °C)
───────┬───────┬───────────────┬───────────────┬───────────────┬─────────────
Объем- │Суммар-│ Пески │ Супеси │ Суглинки - │Объемная
ный вес│ная │ │ │ глины │теплоемкость,
гамма ,│влаж- │ │ │ │Дж/(м3 x °C)
0 │ность ├───────┬───────┼───────┬───────┼───────┬───────┼──────┬──────
т/м3 │грунта,│лямбда │лямбда │лямбда │лямбда │лямбда │лямбда │ C │ C
│доли │ т│ м│ т│ м│ т│ м│ т │ м
│ед., w │ │ │ │ │ │ │ │
│ с│ │ │ │ │ │ │ │
───────┼───────┼───────┼───────┼───────┼───────┼───────┼───────┼──────┼──────
1 │ 2 │ 3 │ 4 │ 5 │ 6 │ 7 │ 8 │ 9 │ 10
───────┼───────┼───────┼───────┼───────┼───────┼───────┼───────┼──────┼──────
1,2 │ 0,05 │ 0,46 │ 0,60 │ - │ - │ - │ - │ 1197 │ 1092
1,2 │ 0,10 │ 0,72 │ 0,92 │ 0,44 │ 0,52 │ - │ - │ 1344 │ 1134
1,4 │ 0,05 │ 0,66 │ 0,80 │ - │ - │ - │ - │ 1386 │ 1260
1,4 │ 0,10 │ 1,01 │ 1,25 │ 0,60 │ 0,80 │ 0,51 │ 0,79 │ 1554 │ 1323
1,4 │ 0,15 │ 1,16 │ 1,45 │ 0,82 │ 1,02 │ 0,65 │ 0,97 │ 1722 │ 1386
1,4 │ 0,20 │ - │ - │ 0,97 │ 1,22 │ 0,75 │ 1,09 │ 1890 │ 1449
1,4 │ 0,25 │ - │ - │ 1,07 │ 1,35 │ 0,83 │ 1,16 │ 2058 │ 1512
1,6 │ 0,05 │ 0,87 │ 1,06 │ - │ - │ - │ - │ 1596 │ 1428
1,6 │ 0,10 │ 1,22 │ 1,57 │ - │ - │ - │ - │ 1806 │ 1512
1,6 │ 0,15 │ 1,45 │ 1,86 │ 1,08 │ 1,28 │ 0,83 │ 1,14 │ 1974 │ 1554
1,6 │ 0,20 │ 1,58 │ 2,01 │ 1,22 │ 1,50 │ 1,02 │ 1,30 │ 2184 │ 1659
1,6 │ 0,25 │ 1,64 │ 2,11 │ 1,35 │ 1,67 │ 1,11 │ 1,44 │ 2373 │ 1722
1,6 │ 0,30 │ - │ 2,24 │ 1,39 │ 1,80 │ 1,16 │ 1,51 │ 2562 │ 1806
1,6 │ 0,35 │ - │ - │ 1,51 │ 1,91 │ 1,22 │ 1,57 │ 2730 │ 1869
1,6 │ 0,40 │ - │ - │ - │ 2,00 │ 1,28 │ 1,64 │ 2940 │ 1953
1,6 │ 0,60 │ - │ - │ - │ - │ - │ 1,74 │ - │ 2100
1,8 │ 0,10 │ 1,51 │ 1,86 │ - │ - │ - │ - │ 2016 │ 1680
1,8 │ 0,15 │ 1,80 │ 2,20 │ 1,38 │ 1,52 │ 1,16 │ 1,43 │ 2226 │ 1764
1,8 │ 0,20 │ 1,91 │ 2,44 │ 1,55 │ 1,76 │ 1,30 │ 1,60 │ 2436 │ 1848
1,8 │ 0,25 │ 2,03 │ 2,59 │ 1,66 │ 1,97 │ 1,44 │ 1,77 │ 2688 │ 1932
1,8 │ 0,30 │ - │ 2,69 │ 1,72 │ 2,11 │ 1,48 │ 1,87 │ 2898 │ 2016
1,8 │ 0,35 │ - │ - │ 1,75 │ 2,24 │ 1,54 │ 1,93 │ 3108 │ 2100
1,8 │ 0,40 │ - │ - │ - │ 2,32 │ 1,62 │ 2,00 │ 3339 │ 2184
1,8 │ 0,60 │ - │ - │ - │ - │ - │ 2,09 │ - │ 2352
2,0 │ 0,15 │ 2,04 │ 2,55 │ 1,62 │ 1,74 │ - │ - │ 2478 │ 1974
2,0 │ 0,20 │ 2,32 │ 2,81 │ 1,81 │ 2,03 │ 1,44 │ - │ 2478 │ 2058
2,0 │ 0,25 │ 2,62 │ 3,16 │ 2,01 │ 2,24 │ 1,57 │ 1,91 │ 2961 │ 2142
2,0 │ 0,30 │ - │ - │ 2,09 │ 2,44 │ 1,67 │ 2,03 │ 3234 │ 2226
2,0 │ 0,35 │ - │ - │ - │ - │ 1,77 │ 2,16 │ 3444 │ 2331
Таблица 5
Значение

───────────┬────────────────────┬──────────────────────────────────────────
Грунт │ Число │ Температура грунтов, °C
│ пластичности ├───────────┬───────────┬─────────┬────────
│ │ минус 0,3 │ минус 0,5 │ минус 1 │ минус 2
───────────┼────────────────────┼───────────┼───────────┼─────────┼────────
Пески │ w <= 1 │ 0 │ 0 │ 0 │ 0
│ п │ │ │ │
│ │ │ │ │
Супеси │ 1 < w <= 2 │ 0 │ 0 │ 0 │ 0
│ п │ │ │ │
│ │ │ │ │
│ 2 < w <= 7 │ 0,6 │ 0,5 │ 0,4 │ 0,35
│ п │ │ │ │
│ │ │ │ │
Суглинки │ 7 < w <= 13 │ 0,7 │ 0,65 │ 0,6 │ 0,50
│ п │ │ │ │
│ │ │ │ │
│ 13 < w <= 17 │ 1 │ 0,75 │ 0,65 │ 0,55
│ п │ │ │ │
│ │ │ │ │
Глины │ w <= 17 │ 1 │ 0,95 │ 0,9 │ 0,65
│ п │ │ │ │
В расчетах необходимо привести в соответствие единицы измерения всех величин, входящих в формулы, для чего единицы измерения объемной теплоемкости

,

, удельной теплоемкости C, удельной теплоты плавления льда

, теплоты таяния льда в 1 м3 грунта q должны быть переведены соответственно в Вт x ч/(м3 x °C), Вт x ч/(кг x °C), Вт x ч/кг, Вт x ч/м3, что достигается делением их на 3,6.
ПРИМЕРЫ ТЕПЛОТЕХНИЧЕСКИХ РАСЧЕТОВ
Пример 1. Определить среднегодовую температуру грунта, глубину сезонного оттаивания

и расчетную температуру грунта

в районе Игарки для участка за пределами застройки. Глубина заложения трубопровода h = 1,5 м. Грунт - суглинок суммарной влажностью

, пределом раскатывания

, числом пластичности

, с объемным весом

. Среднегодовая температура грунта минус 2 °C.
Согласно данным главы СНиП по строительной климатологии и геофизике основные климатические показатели для данного района следующие:
продолжительность зимнего периода

;
продолжительность летнего периода

;
сумма отрицательных градусо-часов температуры воздуха
сумма положительных градусо-часов температуры воздуха

;
среднезимняя температура воздуха

;
среднелетняя температура воздуха

;
среднезимняя толщина снежного покрова

(по данным местной метеостанции).
Значения теплофизических характеристик грунта определяются по
табл. 4. При

и

получаем:

;

;

;

.
Коэффициент теплопроводности снега

(по
табл. 3).
Приводим единицы измерения величин

,

в соответствии с единицами измерения других величин, входящих в формулы:

;

.
Задаваясь значением среднегодовой температуры грунта в данном районе

, по
формуле (70) определяется расчетное количество незамерзшей воды в грунте

. Величина удельной теплоты таяния льда в грунте q вычисляется по
формуле (69):

.

;

;

.
Находятся коэффициенты

(по номограмме
рис. 33 при

и B = 0,28 (по номограмме
рис. 34 при

и

). Подставляя эти значения коэффициентов A и B в
формулу (11), получаем

.
Глубина сезонного оттаивания грунта рассчитывается по
формуле (14). Предварительно по
формулам (15),
(16) вычисляются значения

,

,

и значение комплекса


;

;

;

.
По значению

по графику (см.
рис. 35) определяется коэффициент

и коэффициент

(при

). По значениям

и

по номограмме (см.
рис. 35) находится коэффициент

.

.
Искомая глубина сезонного протаивания грунта

вычисляется по
формуле (14)

.
Пример 2. Определить температуру воды в начале напорного водовода, если образование ледяной корки в трубе не допускается. Радиус стальной трубы водовода r = 0,25 м. Длина водовода l = 20000 м. Расход воды G = 1000000 кг/ч. Теплоизоляция трубы - стеклянный войлок толщиной

; коэффициент его теплопроводности

. Минимальная среднесуточная температура воздуха

. Скорость ветра v = 0,6 м/с. Скорость воды при заданном расходе

.

.

.

.

.

.
Температура воды в начале водовода должна быть не менее рассчитанной по
формуле (18):

.
Пример 3. Определить расход воздуха, необходимый для вентилирования канала при сохранении грунтов основания в мерзлом состоянии.
В железобетонном канале с внутренним сечением 1 x 1 м проложены прямая и обратная трубы теплопровода радиусами

. Трубы изолированы шлаковатой слоем

и

. Толщина стенки канала 0,1 м. Глубина заложения до верха канала 0,5 м. Температура теплоносителя

и

. Расход теплоносителя G = 100000 кг/ч, его теплоемкость C = 4,2 кДж/(кг x °C), теплоемкость воздуха

.
Климатические условия: среднелетняя температура воздуха

; среднезимняя температура воздуха

; среднезимняя высота снежного покрова

.
Продолжительность летнего периода

, продолжительность зимнего периода

.
Теплофизические свойства грунтов и материалов:

;

;

;

;

;
q = 100800 кДж/м3;

.
Предварительно приведем единицы измерения величин C,

в соответствие с единицами измерения других величин, входящих в формулы:

;

;

.

;

.

.
По графику
рис. 38 по значению J = 1,2 находим величину

.
Глубина летнего оттаивания грунтов под каналом по
формуле (28) равна:

.
Далее определяются величины

и

.

;

.
Расход воздуха, кг/ч, для вентиляции 1 м канала в летний период по
формуле (31) равен

.
Для промерзания грунтов под каналом зимой достаточно поддерживать в канале температуру,
формула (34)

.
Определим расход воздуха для вентилирования 1 м канала в зимний период по
формуле (35)

.
Пример 4. Требуется определить допустимую среднегодовую температуру воздуха в канале

при заданном оттаивании грунта через

в сторону от канала

. Внутреннее сечение канала 0,6 x 1,2 м; глубина его заложения (до середины канала) h = 1,3 м. Коэффициенты теплопроводности грунта:

,

; теплота таяния грунта q = 15000 Вт x ч/м3.
Среднегодовая температура вечномерзлого грунта

.

;

;

.
Задаемся значением

.

.
По значениям m = 2,3;

и

по номограмме (см.
рис. 41) находим J = 0,18 x 1000.

.
Расхождения между заданным и полученным значением

менее 5°. Поэтому окончательно можно принять

.
Пример 5. Требуется определить температуру воды в конце напорного стального водовода радиусом r = 0,05 м, длиной l = 3000 м и расходом воды G = 30000 кг/ч. Глубина заложения водовода h = 0,7 м. Температура поступающей в водовод воды равна

.
Грунт - суглинок объемным весом

, суммарной влажностью

. Минимальная температура грунта на глубине заложения водовода

.
Предварительно по
табл. 4 определяются коэффициенты теплопроводности грунта в мерзлом состоянии. Они соответственно равны:

,

.
По
формуле (57) определяется величина коэффициента теплопередачи.
Предварительно по графику
рис. 42 для

находим значение

.
Тогда

.
По
формуле (54) вычисляется температура воды в конце водовода.

.

.
Пример 6. Требуется определить температуру воды в водоводе, необходимую для образования вокруг трубопровода талого слоя, толщина которого над верхней образующей трубы равна радиусу трубопровода, необходимую теплопроизводительность греющего кабеля, уложенного вдоль стального водовода.
Радиус трубы r = 0,1 м, длина водовода l = 1700 м, глубина заложения h = 1,2 м. Температура грунта

. Коэффициент теплопроводности грунта

. Коэффициент, учитывающий непроизводительные затраты тепла, выделяемого греющим кабелем, и неоднородность грунтовых условий, K = 1,25.
Температуру воды в водоводе, необходимую для образования над трубой талика толщиной

, определим по
формуле (59):

.
Тепловые потери водовода во время аварии найдем по
формуле (63):

.
Необходимая теплопроизводительность греющего кабеля определяется по
формуле (64):

.
На всю длину трубопровода
58,8 x 1700 = 99960 Вт = 99,96 кВт.
ЗНАЧЕНИЯ ЭКСПОНЕНЦИАЛЬНЫХ ФУНКЦИЙ
───────────────┬──────────────────────┬────────────────────
│ x │ -x
x │ e │ e
───────────────┼──────────────────────┼────────────────────
0,00 │ 1,000 │ 1,000
01 │ 1,010 │ 0,990
02 │ 1,020 │ 0,980
03 │ 1,031 │ 0,970
04 │ 1,041 │ 0,961
0,05 │ 1,051 │ 0,951
06 │ 1,062 │ 0,942
07 │ 1,073 │ 0,932
08 │ 1,083 │ 0,923
09 │ 1,094 │ 0,914
0,10 │ 1,105 │ 0,905
11 │ 1,116 │ 0,896
12 │ 1,128 │ 0,887
13 │ 1,139 │ 0,878
14 │ 1,150 │ 0,869
0,15 │ 1,162 │ 0,861
16 │ 1,174 │ 0,852
17 │ 1,185 │ 0,844
18 │ 1,197 │ 0,835
19 │ 1,209 │ 0,827
0,20 │ 1,221 │ 0,819
21 │ 1,234 │ 0,811
22 │ 1,246 │ 0,803
23 │ 1,259 │ 0,795
24 │ 1,271 │ 0,787
0,25 │ 1,284 │ 0,779
26 │ 1,297 │ 0,771
27 │ 1,310 │ 0,763
28 │ 1,321 │ 0,756
29 │ 1,336 │ 0,748
0,30 │ 1,350 │ 0,741
31 │ 1,363 │ 0,733
32 │ 1,377 │ 0,726
33 │ 1,391 │ 0,719
34 │ 1,405 │ 0,712
0,35 │ 1,419 │ 0,705
36 │ 1,433 │ 0,698
37 │ 1,448 │ 0,691
38 │ 1,462 │ 0,684
39 │ 1,477 │ 0,677
0,40 │ 1,492 │ 0,670
41 │ 1,507 │ 0,664
42 │ 1,522 │ 0,657
43 │ 1,537 │ 0,651
44 │ 1,553 │ 0,644
0,45 │ 1,568 │ 0,638
46 │ 1,584 │ 0,631
47 │ 1,600 │ 0,625
48 │ 1,616 │ 0,619
49 │ 1,632 │ 0,613
0,50 │ 1,649 │ 0,607
51 │ 1,665 │ 0,601
52 │ 1,682 │ 0,595
53 │ 1,699 │ 0,589
54 │ 1,716 │ 0,583
0,55 │ 1,773 │ 0,577
56 │ 1,751 │ 0,571
57 │ 1,768 │ 0,566
58 │ 1,786 │ 0,560
59 │ 1,804 │ 0,554
0,60 │ 1,822 │ 0,549
61 │ 1,840 │ 0,543
62 │ 1,859 │ 0,538
63 │ 1,878 │ 0,533
64 │ 1,897 │ 0,527
0,65 │ 1,916 │ 0,522
66 │ 1,935 │ 0,517
67 │ 1,954 │ 0,512
68 │ 1,974 │ 0,507
69 │ 1,994 │ 0,502
0,70 │ 2,014 │ 0,497
71 │ 2,034 │ 0,492
72 │ 2,054 │ 0,487
73 │ 2,075 │ 0,482
74 │ 2,096 │ 0,477
0,75 │ 2,117 │ 0,472
76 │ 2,138 │ 0,468
77 │ 2,160 │ 0,463
78 │ 2,182 │ 0,458
79 │ 2,203 │ 0,454
0,80 │ 2,226 │ 0,449
81 │ 2,248 │ 0,445
82 │ 2,271 │ 0,440
83 │ 2,293 │ 0,436
84 │ 2,316 │ 0,432
0,85 │ 2,340 │ 0,427
86 │ 2,363 │ 0,423
87 │ 2,387 │ 0,419
88 │ 2,411 │ 0,415
89 │ 2,435 │ 0,411
0,90 │ 2,460 │ 0,407
91 │ 2,484 │ 0,403
92 │ 2,509 │ 0,399
93 │ 2,535 │ 0,395
94 │ 2,560 │ 0,391
0,95 │ 2,586 │ 0,387
96 │ 2,612 │ 0,383
97 │ 2,638 │ 0,379
98 │ 2,665 │ 0,375
99 │ 2,691 │ 0,372
1,00 │ 2,718 │ 0,368
01 │ 2,746 │ 0,364
02 │ 2,773 │ 0,361
03 │ 2,801 │ 0,357
04 │ 2,829 │ 0,354
1,05 │ 2,858 │ 0,350
06 │ 2,886 │ 0,347
07 │ 2,915 │ 0,343
08 │ 2,945 │ 0,340
09 │ 2,974 │ 0,336
1,10 │ 3,004 │ 0,333
11 │ 3,034 │ 0,330
12 │ 3,065 │ 0,326
13 │ 3,096 │ 0,323
14 │ 3,127 │ 0,320
1,15 │ 3,158 │ 0,317
16 │ 3,190 │ 0,314
17 │ 3,222 │ 0,310
18 │ 3,254 │ 0,307
19 │ 3,287 │ 0,304
1,20 │ 3,320 │ 0,301
21 │ 3,354 │ 0,298
22 │ 3,387 │ 0,295
23 │ 3,421 │ 0,292
24 │ 3,456 │ 0,289
1,25 │ 3,490 │ 0,287
26 │ 3,525 │ 0,284
27 │ 3,561 │ 0,281
28 │ 3,597 │ 0,279
29 │ 3,633 │ 0,275
1,30 │ 3,669 │ 0,273
31 │ 3,706 │ 0,270
32 │ 3,743 │ 0,267
33 │ 3,781 │ 0,265
34 │ 3,819 │ 0,262
1,35 │ 3,857 │ 0,259
36 │ 3,896 │ 0,257
37 │ 3,935 │ 0,254
38 │ 3,975 │ 0,252
39 │ 4,015 │ 0,249
1,40 │ 4,055 │ 0,247
41 │ 4,096 │ 0,244
42 │ 4,137 │ 0,242
43 │ 4,179 │ 0,239
44 │ 4,221 │ 0,237
1,45 │ 4,263 │ 0,235
46 │ 4,306 │ 0,232
47 │ 4,349 │ 0,230
48 │ 4,393 │ 0,228
49 │ 4,437 │ 0,225
1,50 │ 4,482 │ 0,223
51 │ 4,527 │ 0,221
52 │ 4,572 │ 0,219
53 │ 4,618 │ 0,217
54 │ 4,665 │ 0,214
1,55 │ 4,712 │ 0,212
56 │ 4,759 │ 0,210
57 │ 4,807 │ 0,208
58 │ 4,855 │ 0,206
59 │ 4,904 │ 0,204
1,60 │ 4,953 │ 0,202
61 │ 5,003 │ 0,200
62 │ 5,053 │ 0,198
63 │ 5,104 │ 0,196
64 │ 5,155 │ 0,194
1,65 │ 5,207 │ 0,192
66 │ 5,259 │ 0,190
67 │ 5,312 │ 0,188
68 │ 5,366 │ 0,186
69 │ 5,420 │ 0,185
1,70 │ 5,474 │ 0,183
71 │ 5,529 │ 0,181
72 │ 5,585 │ 0,179
73 │ 5,641 │ 0,177
74 │ 5,697 │ 0,176
1,75 │ 5,755 │ 0,174
76 │ 5,812 │ 0,172
77 │ 5,871 │ 0,170
78 │ 5,930 │ 0,169
79 │ 5,990 │ 0,167
1,80 │ 6,050 │ 0,165
81 │ 6,110 │ 0,164
82 │ 6,172 │ 0,162
83 │ 6,234 │ 0,160
84 │ 6,297 │ 0,159
1,85 │ 6,360 │ 0,157
86 │ 6,424 │ 0,156
87 │ 6,488 │ 0,154
88 │ 6,554 │ 0,153
89 │ 6,619 │ 0,151
1,90 │ 6,686 │ 0,150
91 │ 6,753 │ 0,148
92 │ 6,821 │ 0,147
93 │ 6,890 │ 0,145
94 │ 6,959 │ 0,144
1,95 │ 7,029 │ 0,142
96 │ 7,099 │ 0,141
97 │ 7,171 │ 0,140
98 │ 7,243 │ 0,138
99 │ 7,316 │ 0,137
2,00 │ 7,389 │ 0,135
01 │ 7,463 │ 0,134
02 │ 7,538 │ 0,133
03 │ 7,614 │ 0,131
04 │ 7,691 │ 0,130
2,05 │ 7,768 │ 0,129
06 │ 7,846 │ 0,128
07 │ 7,925 │ 0,126
08 │ 8,005 │ 0,125
09 │ 8,085 │ 0,124
2,10 │ 8,166 │ 0,123
11 │ 8,248 │ 0,121
12 │ 8,331 │ 0,120
13 │ 8,415 │ 0,119
14 │ 8,499 │ 0,118
2,15 │ 8,585 │ 0,117
16 │ 8,671 │ 0,115
17 │ 8,758 │ 0,114
18 │ 8,846 │ 0,113
19 │ 8,935 │ 0,112
2,20 │ 9,025 │ 0,111
21 │ 9,116 │ 0,110
22 │ 9,207 │ 0,109
23 │ 9,300 │ 0,108
24 │ 9,393 │ 0,107
2,25 │ 9,488 │ 0,105
26 │ 9,583 │ 0,104
27 │ 9,679 │ 0,103
28 │ 9,777 │ 0,102
29 │ 9,875 │ 0,101
2,30 │ 9,974 │ 0,100
31 │ 10,07 │ 0,099
32 │ 10,18 │ 0,0983
33 │ 10,28 │ 0,0973
34 │ 10,38 │ 0,0963
2,35 │ 10,49 │ 0,0954
36 │ 10,59 │ 0,0944
37 │ 10,70 │ 0,0935
38 │ 10,81 │ 0,0926
39 │ 10,92 │ 0,0916
2,40 │ 11,02 │ 0,0907
41 │ 11,13 │ 0,0898
42 │ 11,25 │ 0,0889
43 │ 11,36 │ 0,0880
44 │ 11,47 │ 0,0872
2,45 │ 11,59 │ 0,0863
46 │ 11,71 │ 0,0854
47 │ 11,82 │ 0,0846
48 │ 11,94 │ 0,0837
49 │ 12,06 │ 0,0829
2,50 │ 12,18 │ 0,0821
51 │ 12,31 │ 0,0813
52 │ 12,43 │ 0,0805
53 │ 12,55 │ 0,0797
54 │ 12,68 │ 0,0789
2,55 │ 12,81 │ 0,0781
56 │ 12,94 │ 0,0773
57 │ 13,07 │ 0,0765
58 │ 13,20 │ 0,0758
59 │ 13,33 │ 0,0750
2,60 │ 13,46 │ 0,0743
61 │ 13,60 │ 0,0735
62 │ 13,74 │ 0,0728
63 │ 13,87 │ 0,0721
64 │ 14,01 │ 0,0714
2,65 │ 14,15 │ 0,0707
66 │ 14,30 │ 0,0700
67 │ 14,44 │ 0,0693
68 │ 14,59 │ 0,0686
69 │ 14,73 │ 0,0679
2,70 │ 14,88 │ 0,0672
71 │ 15,03 │ 0,0665
72 │ 15,18 │ 0,0659
73 │ 15,33 │ 0,0652
74 │ 15,49 │ 0,0646
2,75 │ 15,64 │ 0,0639
76 │ 15,80 │ 0,0633
77 │ 15,96 │ 0,0627
78 │ 16,12 │ 0,0620
79 │ 16,28 │ 0,0614
2,80 │ 16,45 │ 0,0608
81 │ 16,61 │ 0,0602
82 │ 16,78 │ 0,0596
83 │ 16,95 │ 0,0590
84 │ 17,12 │ 0,0584
2,85 │ 17,29 │ 0,0578
86 │ 17,46 │ 0,0573
87 │ 17,64 │ 0,0567
88 │ 17,81 │ 0,0561
89 │ 17,99 │ 0,0556
2,90 │ 18,17 │ 0,0550
91 │ 18,36 │ 0,0545
92 │ 18,54 │ 0,0539
93 │ 18,73 │ 0,0534
94 │ 18,92 │ 0,0529
2,95 │ 19,11 │ 0,0523
96 │ 19,30 │ 0,0518
97 │ 19,49 │ 0,0513
98 │ 19,69 │ 0,0508
99 │ 19,89 │ 0,0503
3,00 │ 20,09 │ 0,0498
01 │ 20,29 │ 0,0493
02 │ 20,49 │ 0,0488
03 │ 20,70 │ 0,0483
04 │ 20,91 │ 0,0478
3,05 │ 21,12 │ 0,0474
06 │ 21,33 │ 0,0469
07 │ 21,54 │ 0,0464
08 │ 21,76 │ 0,0460
09 │ 21,98 │ 0,0455
3,10 │ 22,20 │ 0,0451
11 │ 22,42 │ 0,0446
12 │ 22,65 │ 0,0442
13 │ 22,87 │ 0,0437
14 │ 23,10 │ 0,0433
3,15 │ 23,34 │ 0,0429
16 │ 23,57 │ 0,0424
17 │ 23,81 │ 0,0420
18 │ 24,05 │ 0,0416
19 │ 24,29 │ 0,0412
3,20 │ 24,53 │ 0,0408
21 │ 24,78 │ 0,0404
22 │ 25,03 │ 0,0400
23 │ 25,28 │ 0,0396
24 │ 25,53 │ 0,0392
3,25 │ 25,79 │ 0,0388
26 │ 26,05 │ 0,0384
27 │ 26,31 │ 0,0380
28 │ 26,58 │ 0,0376
29 │ 26,84 │ 0,0373
3,30 │ 27,11 │ 0,0369
31 │ 27,39 │ 0,0365
32 │ 27,66 │ 0,0362
33 │ 27,94 │ 0,0358
34 │ 28,22 │ 0,0354
3,35 │ 28,50 │ 0,0351
36 │ 28,79 │ 0,0347
37 │ 29,08 │ 0,0344
38 │ 29,37 │ 0,0341
39 │ 29,67 │ 0,0337
3,40 │ 29,96 │ 0,0334
41 │ 30,27 │ 0,0330
42 │ 30,57 │ 0,0327
43 │ 30,88 │ 0,0324
44 │ 31,19 │ 0,0321
3,45 │ 31,50 │ 0,0318
46 │ 31,82 │ 0,0314
47 │ 32,14 │ 0,0311
48 │ 32,46 │ 0,0308
49 │ 32,79 │ 0,0305
3,50 │ 33,12 │ 0,0302
51 │ 33,45 │ 0,0299
52 │ 33,78 │ 0,0296
53 │ 34,12 │ 0,0293
54 │ 34,47 │ 0,0290
3,55 │ 34,81 │ 0,0287
56 │ 35,16 │ 0,0284
57 │ 35,52 │ 0,0282
58 │ 35,87 │ 0,0279
59 │ 36,23 │ 0,0276
3,60 │ 36,60 │ 0,0273
61 │ 36,97 │ 0,0271
62 │ 37,34 │ 0,0268
63 │ 37,71 │ 0,0265
64 │ 38,09 │ 0,0263
3,65 │ 38,48 │ 0,0260
66 │ 38,86 │ 0,0257
67 │ 39,25 │ 0,0255
68 │ 39,65 │ 0,0252
69 │ 40,05 │ 0,0250
3,70 │ 40,45 │ 0,0247
71 │ 40,85 │ 0,0245
72 │ 41,26 │ 0,0242
73 │ 41,68 │ 0,0240
74 │ 42,10 │ 0,0238
3,75 │ 42,52 │ 0,0235
76 │ 42,95 │ 0,0233
77 │ 43,38 │ 0,0231
78 │ 43,82 │ 0,0228
79 │ 44,26 │ 0,0226
3,80 │ 44,70 │ 0,0224
81 │ 45,15 │ 0,0222
82 │ 45,60 │ 0,0219
83 │ 46,06 │ 0,0217
84 │ 46,53 │ 0,0215
3,85 │ 46,99 │ 0,0213
86 │ 47,47 │ 0,0211
87 │ 47,94 │ 0,0209
88 │ 48,42 │ 0,0207
89 │ 48,91 │ 0,0205
3,90 │ 49,40 │ 0,0202
91 │ 49,90 │ 0,0200
92 │ 50,40 │ 0,0198
93 │ 50,91 │ 0,0196
94 │ 51,42 │ 0,0195
95 │ 51,94 │ 0,0193
96 │ 52,46 │ 0,0191
97 │ 52,99 │ 0,0189
98 │ 53,52 │ 0,0187
99 │ 54,06 │ 0,0185
4,00 │ 54,60 │ 0,0183
4,1 │ 60,34 │ 0,0166
4,2 │ 66,69 │ 0,0150
4,3 │ 75,70 │ 0,0136
4,4 │ 81,45 │ 0,0123
4,5 │ 90,02 │ 0,0111
4,6 │ 99,48 │ 0,0101
4,7 │ 110,0 │ 0,00910
4,8 │ 121,5 │ 0,00823
4,9 │ 134,3 │ 0,00745
5,0 │ 148,4 │ 0,00674
5,1 │ 164,0 │ 0,00610
5,2 │ 181,3 │ 0,00552
5,3 │ 200,3 │ 0,00499
5,4 │ 221,4 │ 0,00452
5,5 │ 244,7 │ 0,00409
5,6 │ 270,4 │ 0,00370
5,7 │ 298,9 │ 0,00335
5,8 │ 330,3 │ 0,00303
5,9 │ 365,0 │ 0,00274
6,0 │ 403,4 │ 0,00248
6,1 │ 445,9 │ 0,00224
6,2 │ 492,8 │ 0,00203
6,3 │ 544,8 │ 0,00184
6,4 │ 601,9 │ 0,00166
6,5 │ 665,1 │ 0,00150
6,6 │ 735,1 │ 0,00136
6,7 │ 812,4 │ 0,00123
6,8 │ 897,9 │ 0,00111
6,9 │ 992,3 │ 0,00101
7,0 │ 1097 │ 0,000912
7,1 │ 1212 │ 0,000825
7,2 │ 1339 │ 0,000747
7,3 │ 1480 │ 0,000677
7,4 │ 1636 │ 0,000611
7,5 │ 1808 │ 0,000553
7,6 │ 1998 │ 0,000500
7,7 │ 2208 │ 0,000453
7,8 │ 2441 │ 0,000410
7,9 │ 2697 │ 0,000371
8,0 │ 2981 │ 0,000335
8,1 │ 3295 │ 0,000304
8,2 │ 3641 │ 0,000275
8,3 │ 4024 │ 0,000249
8,4 │ 4447 │ 0,000225
8,5 │ 4915 │ 0,000203
8,6 │ 5432 │ 0,000181
8,7 │ 6003 │ 0,000167
8,8 │ 6634 │ 0,000151
8,9 │ 7332 │ 0,000136
9,0 │ 8103 │ 0,000123
9,1 │ 8955 │ 0,000112
9,2 │ 9897 │ 0,000101
9,3 │ 10938 │ 0,000091
9,4 │ 12088 │ 0,000083
9,5 │ 13360 │ 0,000075
9,6 │ 14765 │ 0,000068
9,7 │ 16318 │ 0,000061
9,8 │ 18034 │ 0,000055
9,9 │ 19930 │ 0,000050
10,0 │ 22026 │ 0,000045