Главная // Актуальные документы // ГОСТ (Государственный стандарт)СПРАВКА
Источник публикации
М.: Стандартинформ, 2010
Примечание к документу
С 1 июля 2003 года до вступления в силу технических регламентов акты федеральных органов исполнительной власти в сфере технического регулирования носят рекомендательный характер и подлежат обязательному исполнению только в части, соответствующей целям, указанным в
пункте 1 статьи 46 Федерального закона от 27.12.2002 N 184-ФЗ.
Документ
введен в действие с 1 января 1977 года.
Взамен ГОСТ 8952-59.
Название документа
"ГОСТ 8952-75. Межгосударственный стандарт. Соединительные части из ковкого чугуна с цилиндрической резьбой для трубопроводов. Кресты переходные. Основные размеры"
(введен в действие Постановлением Госстандарта СССР от 14.11.1975 N 2901)
(ред. от 01.03.1983)
"ГОСТ 8952-75. Межгосударственный стандарт. Соединительные части из ковкого чугуна с цилиндрической резьбой для трубопроводов. Кресты переходные. Основные размеры"
(введен в действие Постановлением Госстандарта СССР от 14.11.1975 N 2901)
(ред. от 01.03.1983)
Введен в действие
Постановлением Государственного
комитета стандартов
Совета Министров СССР
от 14 ноября 1975 г. N 2901
МЕЖГОСУДАРСТВЕННЫЙ СТАНДАРТ
СОЕДИНИТЕЛЬНЫЕ ЧАСТИ ИЗ КОВКОГО ЧУГУНА
С ЦИЛИНДРИЧЕСКОЙ РЕЗЬБОЙ ДЛЯ ТРУБОПРОВОДОВ.
КРЕСТЫ ПЕРЕХОДНЫЕ
ОСНОВНЫЕ РАЗМЕРЫ
Ductile iron fittings with parallel thread for pipelines.
Transition four-way junction pieces. Basic dimensions
ГОСТ 8952-75
| | Список изменяющих документов (в ред. Изменения N 1, утв. в сентябре 1980 г., Изменения N 2, утв. в марте 1983 г.) | |
Взамен
ГОСТ 8952-59
Постановлением Государственного комитета стандартов Совета Министров СССР от 14.11.75 N 2901 дата введения установлена
1 января 1977 года
Ограничение срока действия снято по протоколу N 2-92 Межгосударственного совета по стандартизации, метрологии и сертификации (ИУС 2-93)
Издание (сентябрь 2010 г.) с Изменениями N 1, 2, утвержденными в сентябре 1980 г. и марте 1983 г. (ИУС 11-80, 7-83).
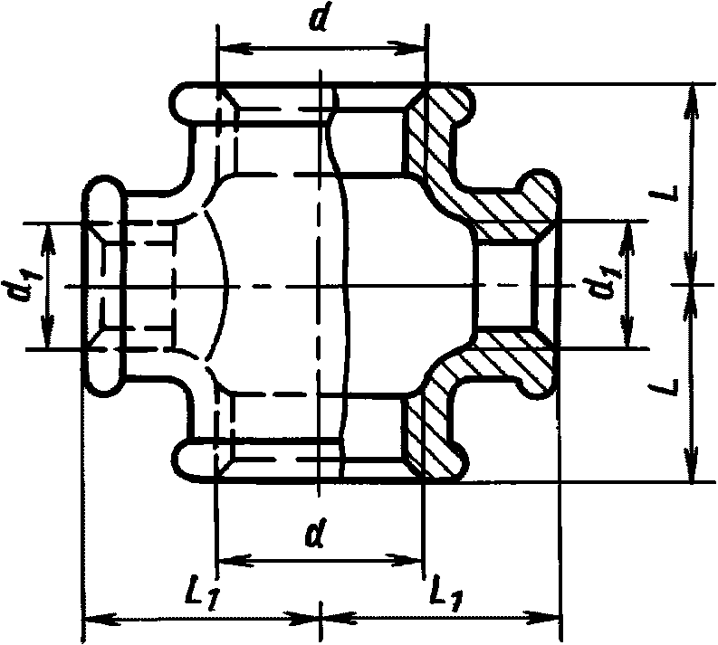
1. Основные размеры крестов должны соответствовать указанным на
чертеже и в
таблице.
Стандарт полностью соответствует СТ СЭВ 3301-81.
Примечание. Чертеж не определяет конструкцию креста.
Размеры в мм
Условный проход  | Резьба | L | L1 | Масса без покрытия, кг, не более <*> |
d | d1 | |
1 | 2 |
15 x 10 | G 1/2 - B | G 3/8 - B | 26 | 26 | 0,137 | 0,152 |
20 x 10 | G 3/4 - B | G 3/8 - B | 28 | 28 | 0,182 | 0,189 |
20 x 15 | G 3/4 - B | G 1/2 - B | 30 | 31 | 0,212 | 0,214 |
25 x 10 | G 1 - B | G 3/8 - B | 30 | 32 | 0,248 | 0,256 |
25 x 15 | G 1 - B | G 1/2 - B | 32 | 34 | 0,284 | 0,294 |
25 x 20 | G 1 - B | G 3/4 - B | 35 | 36 | 0,329 | 0,341 |
32 x 15 | G 1 1/4 - B | G 1/2 - B | 34 | 36 | 0,382 | 0,365 |
32 x 20 | G 1 1/4 - B | G 3/4 - B | 36 | 41 | 0,428 | 0,413 |
32 x 25 | G 1 1/4 - B | G 1 - B | 40 | 42 | 0,492 | 0,503 |
40 x 20 | G 1 1/2 - B | G 3/4 - B | 38 | 44 | 0,543 | 0,467 |
40 x 25 | G 1 1/2 - B | G 1 - B | 42 | 46 | 0,619 | 0,533 |
40 x 32 | G 1 1/2 - B | G 1 1/4 - B | 46 | 48 | 0,709 | 0,612 |
50 x 25 | G 2 - B | G 1 - B | 44 | 52 | 0,859 | 0,762 |
50 x 32 | G 2 - B | G 1 1/4 - B | 48 | 54 | 0,964 | 0,857 |
50 x 40 | G 2 - B | G 1 1/2 - B | 52 | 55 | 1,055 | 0,939 |
(65 x 32) | G 2 1/2 - B | G 1 1/4 - B | 52 | 62 | 1,218 | 1,086 |
(65 x 40) | G 2 1/2 - B | G 1 1/2 - B | 55 | 63 | 1,303 | 1,162 |
(65 x 50) | G 2 1/2 - B | G 2 - B | 61 | 66 | 1,509 | 1,351 |
(80 x 40) | G 3 - B | G 1 1/2 - B | 58 | 71 | 1,600 | 1,433 |
(80 x 50) | G 3 - B | G 2 - B | 64 | 73 | 1,807 | 1,624 |
(80 x 65) | G 3 - B | G 2 1/2 - B | 72 | 76 | 2,079 | 1,872 |
(100 x 65) | G 4 - B | G 2 1/2 - B | 78 | 89 | 3,379 | 2,950 |
(100 x 80) | G 4 - B | G 3 - B | 84 | 92 | 3,736 | 3,282 |
--------------------------------
Примечания:
1. Кресты с Dу, указанными в таблице в скобках, применять не рекомендуется.
2. Масса оцинкованных соединительных частей не должна превышать массу неоцинкованных более чем на 5%.
Примеры условных обозначений
Переходного креста без покрытия с
Dу 25 мм на

20 мм:
Крест 25 x 20 ГОСТ 8952-75
То же, с цинковым покрытием:
Крест Ц-25 x 20 ГОСТ 8952-75
(Измененная редакция, Изм. N 1, 2).
2. Конструктивные размеры и технические требования - по
ГОСТ 8944-75.