Главная // Актуальные документы // ГОСТ (Государственный стандарт)СПРАВКА
Источник публикации
М.: Стандартинформ, 2010
Примечание к документу
С 1 июля 2003 года до вступления в силу технических регламентов акты федеральных органов исполнительной власти в сфере технического регулирования носят рекомендательный характер и подлежат обязательному исполнению только в части, соответствующей целям, указанным в
пункте 1 статьи 46 Федерального закона от 27.12.2002 N 184-ФЗ.
Документ
введен в действие с 1 января 1977 года.
Взамен ГОСТ 8948-59.
Название документа
"ГОСТ 8948-75. Межгосударственный стандарт. Соединительные части из ковкого чугуна с цилиндрической резьбой для трубопроводов. Тройники прямые. Основные размеры"
(введен в действие Постановлением Госстандарта СССР от 14.11.1975 N 2901)
(ред. от 01.03.1983)
"ГОСТ 8948-75. Межгосударственный стандарт. Соединительные части из ковкого чугуна с цилиндрической резьбой для трубопроводов. Тройники прямые. Основные размеры"
(введен в действие Постановлением Госстандарта СССР от 14.11.1975 N 2901)
(ред. от 01.03.1983)
Введен в действие
Постановлением Государственного
комитета стандартов
Совета Министров СССР
от 14 ноября 1975 г. N 2901
МЕЖГОСУДАРСТВЕННЫЙ СТАНДАРТ
СОЕДИНИТЕЛЬНЫЕ ЧАСТИ ИЗ КОВКОГО ЧУГУНА
С ЦИЛИНДРИЧЕСКОЙ РЕЗЬБОЙ ДЛЯ ТРУБОПРОВОДОВ.
ТРОЙНИКИ ПРЯМЫЕ
ОСНОВНЫЕ РАЗМЕРЫ
Ductile iron and steel fittings with parallel thread
for pipelines. Straight tees. Basic dimensions
ГОСТ 8948-75
| | Список изменяющих документов (в ред. Изменения N 1, утв. в сентябре 1980 г., Изменения N 2, утв. в марте 1983 г.) | |
Взамен
ГОСТ 8948-59
Постановлением Государственного комитета стандартов Совета Министров СССР от 14.11.75 N 2901 дата введения установлена
1 января 1977 года
Ограничение срока действия снято по протоколу N 2-92 Межгосударственного совета по стандартизации, метрологии и сертификации (ИУС 2-93)
Издание (сентябрь 2010 г.) с Изменениями N 1, 2, утвержденными в сентябре 1980 г., марте 1983 г. (ИУС 11-80, 7-83).
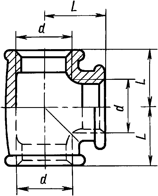
1. Основные размеры тройников должны соответствовать указанным на
чертеже и в
таблице.
Стандарт полностью соответствует СТ СЭВ 3300-81.
Примечание. Чертеж не определяет конструкцию тройника.
Размеры в мм
| Резьба d | L | Масса без покрытия, кг, не более <*> |
|
1 | 2 |
8 | G 1/4 - B | 21 | 0,064 | 0,063 |
10 | G 3/8 - B | 25 | 0,085 | 0,092 |
15 | G 1/2 - B | 28 | 0,133 | 0,143 |
20 | G 3/4 - B | 33 | 0,206 | 0,210 |
25 | G 1 - B | 38 | 0,318 | 0,330 |
32 | G 1 1/4 - B | 45 | 0,490 | 0,475 |
40 | G 1 1/2 - B | 50 | 0,673 | 0,594 |
50 | G 2 - B | 58 | 1,088 | 0,962 |
(65) | G 2 1/2 - B | 69 | 1,524 | 1,422 |
(80) | G 3 - B | 78 | 2,013 | 1,850 |
(100) | G 4 - B | 96 | 3,980 | 3,460 |
--------------------------------
Примечания:
1. Масса оцинкованных соединительных частей не должна превышать массу неоцинкованных более чем на 5%.
2. Тройники с Dу, указанными в таблице в скобках, применять не рекомендуется.
Примеры условных обозначений
Прямого тройника без покрытия с Dу 40 мм:
Тройник 40 ГОСТ 8948-75
То же, с цинковым покрытием:
Тройник Ц-40 ГОСТ 8948-75
(Измененная редакция, Изм. N 1, 2).
2. Конструктивные размеры и технические требования - по
ГОСТ 8944-75.