Главная // Актуальные документы // ГОСТ (Государственный стандарт)СПРАВКА
Источник публикации
М.: Издательство стандартов, 1981
Примечание к документу
С 1 июля 2003 года до вступления в силу технических регламентов акты федеральных органов исполнительной власти в сфере технического регулирования носят рекомендательный характер и подлежат обязательному исполнению только в части, соответствующей целям, указанным в
пункте 1 статьи 46 Федерального закона от 27.12.2002 N 184-ФЗ.
Ограничение срока действия снято по Протоколу N 4-93 Межгосударственного Совета по стандартизации, метрологии и сертификации ("ИУС", N 4, 1994).
Введен в действие с 1 января 1982 года.
Название документа
"ГОСТ 24632-81. Материалы полимерные. Метод определения дымообразования"
(введен в действие Постановлением Госстандарта СССР от 10.03.1981 N 1247)
"ГОСТ 24632-81. Материалы полимерные. Метод определения дымообразования"
(введен в действие Постановлением Госстандарта СССР от 10.03.1981 N 1247)
Введен в действие
Постановлением Госстандарта СССР
от 10 марта 1981 г. N 1247
ГОСУДАРСТВЕННЫЙ СТАНДАРТ СОЮЗА ССР
МАТЕРИАЛЫ ПОЛИМЕРНЫЕ
МЕТОД ОПРЕДЕЛЕНИЯ ДЫМООБРАЗОВАНИЯ
Materials polimer.
Method for determination of smoke development
ГОСТ 24632-81
Постановлением Государственного комитета СССР по стандартам от 10 марта 1981 г. N 1247 срок действия установлен с 1 января 1982 г. до 1 января 1987 г.
Настоящий стандарт распространяется на полимерные материалы и устанавливает метод сравнительной и количественной оценки дымообразования в двух режимах: пламенного горения и тления.
Сущность метода состоит в измерении интенсивности светового потока, проходящего через задымленное пространство в испытательной камере при термическом разложении образца, и вычислении удельной оптической плотности дыма в зависимости от времени испытания, скорости дымообразования, индекса непрозрачности, массовой оптической плотности дыма.
В режиме пламенного горения на образец воздействует тепловое излучение печи и пламя газовой горелки, в режиме тления - только тепловое излучение печи.
Метод не применим для оценки пожароопасности полимерных материалов.
1.1. Для испытания применяют образцы в форме квадрата со стороной 75 мм.
1.2. Толщина образца должна соответствовать толщине материала. При толщине материала более 15 мм толщина образца должна быть (15 +/- 0,5) мм.
Рекомендуется из пленочных материалов изготавливать образцы толщиной (0,10 +/- 0,05) мм, из листовых материалов - (3,0 +/- 0,2) мм.
1.3. Для каждого режима испытания должно быть не менее трех образцов.
2. АППАРАТУРА И МАТЕРИАЛЫ
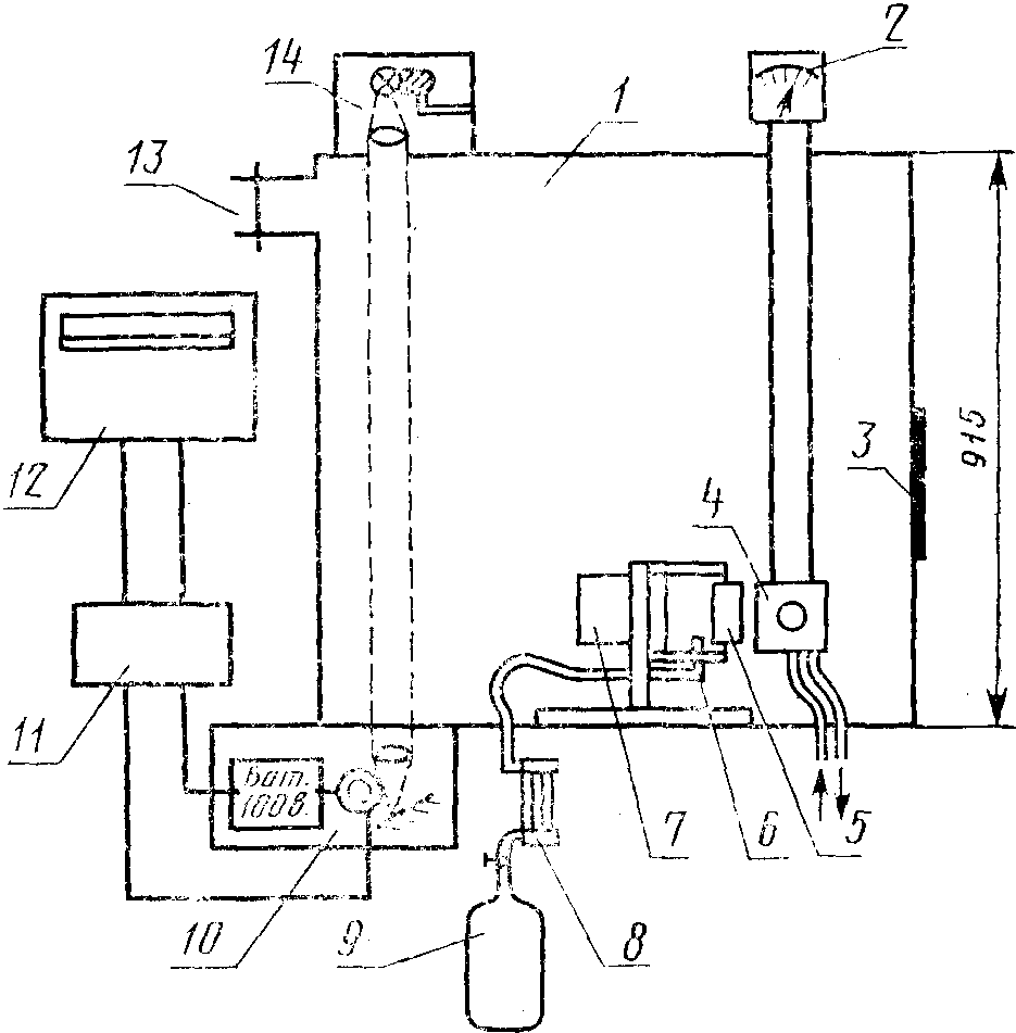
2.1. Для испытания используют установку (см.
черт. 1) в которую входят:
камера дымовая герметичная 1 размером (915 x 915 x 610) мм, внутрь которой из-за термического разложения образца выделяется дым, имеющая предохранительную панель 3 для сброса давления, смотровое стекло, вентиляционный канал 13, окно для прохождения светового потока;
печь излучающая 7, обеспечивающая равномерный по всей экспонируемой поверхности образца тепловой поток плотностью до 4,0 Вт/см2. Мощность нагревателя печи - не более 800 Вт;
держатель образца 5 из нержавеющей стали толщиной 0,5 мм;
горелка шестифакельная 6, представляющая собой трубку из нержавеющей стали диаметром (2,0 - 2,5) мм. Конструкция держателя и горелки, а также их взаимное расположение приведены на
черт. 2;
ротаметр 8 типа РС-3А для контроля расхода газа в горелке; баллон 9 с бытовым газом для горелки;
система фотометрическая для измерения интенсивности светового потока, состоящая из источника света 14 (лампа накаливания типа К12-30), приемника светового потока 10 (фотоэлемент типа Ф-3) со спектральной чувствительностью, близкой к спектральной чувствительности человеческого глаза, усилителя постоянного тока 11 с пределами от

до

А, самопишущего потенциометра (12) типа КСП-4 и системы, формирующей световой поток на фотоэлемент. Фотометрическая система должна обеспечивать измерение светового потока, интенсивностью 0,01% от начального с погрешностью +/- 3%;
радиометр 4 с милливольтметром 2 для измерения теплового потока излучающей печи, обеспечивающей измерение с погрешностью +/- 15%.
1 - корпус держателя образца; 2 - образец;
3 - прижимная пластина из асбоцементной плиты
толщиной 10 мм; 4 - горелка; 5 - опорные стержни;
6 - пружина из фосфористой бронзы толщиной 0,8 мм;
7 - штырь из стальной проволоки диаметром 3 мм
| | ИС МЕГАНОРМ: примечание. Взамен ГОСТ 5542-78 Постановлением Госстандарта СССР от 16.04.1987 N 36 с 1 января 1988 года введен в действие ГОСТ 5542-87. | |
| | ИС МЕГАНОРМ: примечание. Взамен ГОСТ 20448-80 Постановлением Госстандарта СССР от 29.12.90 N 3605 с 1 января 1992 года введен в действие ГОСТ 20448-90. | |
2.2. Газы природные топливные для коммунально-бытового назначения по ГОСТ 5542-78 или газы углеводородные сжиженные топливные для коммунально-бытового потребления по ГОСТ 20448-80.
3. ПОДГОТОВКА К ИСПЫТАНИЮ
3.1. Образцы закрывают алюминиевой фольгой толщиной 0,05 мм так, чтобы оставалась открытой только экспонируемая поверхность размером (65 x 65) мм.
Образцы из легкоплавящихся материалов и пленок пришивают по всей экспонируемой поверхности (размер стежка 1 см) к обертке из алюминиевой фольги медной проволокой диаметром не более 0,3 мм.
| | ИС МЕГАНОРМ: примечание. ГОСТ 12423-66 утратил силу с 1 января 2015 года в связи с введением в действие ГОСТ 12423-2013 (Приказ Росстандарта от 22.11.2013 N 1069-ст). | |
3.2. Образцы перед испытанием кондиционируют по ГОСТ 12423-66 при температуре (23 +/- 2) °C и относительной влажности (50 +/- 5)% не менее 24 ч, если в нормативно-технической документации на материал нет иных указаний.
4.1. Образец взвешивают с погрешностью не более 0,1 г и устанавливают в держатель, плотно прижав его к кромкам держателя с помощью прижимной пластины, пружины и штыря.
4.2. Излучающую печь выводят на рабочий режим, обеспечивающий плотность теплового потока 2,5 Вт/см2.
Допускается проводить испытания при других плотностях теплового потока, но не более 4,0 Вт/см2. Плотность теплового потока устанавливают с помощью радиометра. После установления заданной плотности теплового потока печи радиометр сдвигают в сторону, освобождая место для образца.
4.3. Включают фотометрическую систему, которая должна быть проверена и отрегулирована.
4.4. При испытании в режиме пламенного горения горелку поджигают, устанавливают расход газа 3,0 см3/с по ротаметру и поворачивают ее в рабочее положение. В режиме тления горелка не работает.
4.5. Держатель с образцом устанавливают на расстоянии 45 мм против излучающего отверстия печи и одновременно, нажатием кнопки "начало отсчета времени" на диаграмме самописца отмечают начало испытаний.
4.6. Испытания заканчивают, когда дымообразование достигнет максимума, что соответствует минимуму светопропускания. После этого включают вентиляцию, открывают дверь камеры и вентилируют камеру до очищения от дыма. Затем вынимают держатель с образцом, освобождают остатки образца и помещают их на 3 ч в эксикатор, после чего взвешивают с погрешностью не более 0,1 г.
4.7. Плотность теплового потока печи контролируют радиометром непосредственно перед началом каждого испытания.
5.1. Удельную оптическую плотность дыма (

) вычисляют по формуле

,
где V - объем камеры, равный 0,51 м3;
S - экспонируемая поверхность образца, равная

;
L - длина светового пути, равная 0,915 м;

; I - величины, соответствующие интенсивности светового потока в начальный момент и в процессе испытания (соответственно).
5.1.1. Максимальную удельную оптическую плотность дыма

, удельную оптическую плотность дыма за 2 - 4-минутный период испытания (

) вычисляют по формуле

,
где

- величина, соответствующая минимальной интенсивности светового потока в течение испытания;

,

- величины, соответствующие ослаблению интенсивности светового потока за 2 - 4-минутный период испытания.
5.2. Время (

), соответствующее достижению

, определяют из графика зависимости

, который строят в соответствии с формулой по
п. 5.1 на основании измеренной величины интенсивности светового потока в процессе испытания.
5.3. Максимальная скорость дымообразования определяется наибольшим значением тангенса наклона касательной к линии

на участке максимального приращения удельной оптической плотности дыма в минуту.
5.4. Среднюю скорость дымообразования (

) вычисляют по формуле

,
где

;

;

;

;

- время достижения соответствующих значений

;

;

;

;

, которые определяют графически из зависимости

.
5.5. Индекс прозрачности дыма (

) вычисляют по формуле

.
5.6. Массовую оптическую плотность дыма (

) вычисляют по формуле

,
где m - потеря массы образца в граммах, вычисляемая по формуле

,
где

- масса образца до испытания, г;

- масса образца после испытания, г.
5.7. Запись результатов испытаний оформляют протоколом, в котором указывают:
наименование и марку материала, толщину и прочие сведения о материале;
наименование предприятия, поставившего материал;
условия кондиционирования;
режим испытания - тление, пламенное горение;
плотность теплового потока;
показатели дымообразования;
число образцов, взятых для испытания;
дату испытания, фамилию лица, проводившего испытание;
обозначение настоящего стандарта.