Главная // Актуальные документы // ГОСТ (Государственный стандарт)СПРАВКА
Источник публикации
М.: Издательство стандартов, 1984
Примечание к документу
Документ включен в
Перечень документов в области стандартизации, в результате применения которых на добровольной основе обеспечивается соблюдение требований Федерального
закона от 30.12.2009 N 384-ФЗ "Технический регламент о безопасности зданий и сооружений" (
Приказ Росстандарта от 02.04.2020 N 687).
Документ включен в
Перечень документов в области стандартизации, в результате применения которых на добровольной основе обеспечивается соблюдение требований Федерального
закона от 30.12.2009 N 384-ФЗ "Технический регламент о безопасности зданий и сооружений" (
Приказ Росстандарта от 17.04.2019 N 831).
Документ включен в
Перечень документов в области стандартизации, в результате применения которых на добровольной основе обеспечивается соблюдение требований Федерального
закона от 30.12.2009 N 384-ФЗ "Технический регламент о безопасности зданий и сооружений" (
Приказ Росстандарта от 30.03.2015 N 365).
Документ включен в
Перечень национальных стандартов, в результате применения которых на добровольной основе обеспечивается соблюдение требований Федерального
закона от 30.12.2009 N 384-ФЗ "Технический регламент о безопасности зданий и сооружений" (
Приказ Ростехрегулирования от 01.06.2010 N 2079).
С 1 июля 2003 года до вступления в силу технических регламентов акты федеральных органов исполнительной власти в сфере технического регулирования носят рекомендательный характер и подлежат обязательному исполнению только в части, соответствующей целям, указанным в
пункте 1 статьи 46 Федерального закона от 27.12.2002 г. N 184-ФЗ.
Документ
введен в действие с 1 января 1984 года.
Название документа
"ГОСТ 21.402-83. Государственный стандарт Союза ССР. Антикоррозионная защита технологических аппаратов, газоходов и трубопроводов. Рабочие чертежи"
(утв. Постановлением Госстроя СССР от 13.06.1983 N 117)
"ГОСТ 21.402-83. Государственный стандарт Союза ССР. Антикоррозионная защита технологических аппаратов, газоходов и трубопроводов. Рабочие чертежи"
(утв. Постановлением Госстроя СССР от 13.06.1983 N 117)
Утвержден и введен в действие
Постановлением Госстроя СССР
от 13 июня 1983 г. N 117
ГОСУДАРСТВЕННЫЙ СТАНДАРТ СОЮЗА ССР
СИСТЕМА ПРОЕКТНОЙ ДОКУМЕНТАЦИИ ДЛЯ СТРОИТЕЛЬСТВА
АНТИКОРРОЗИОННАЯ ЗАЩИТА ТЕХНОЛОГИЧЕСКИХ АППАРАТОВ,
ГАЗОХОДОВ И ТРУБОПРОВОДОВ
РАБОЧИЕ ЧЕРТЕЖИ
System of building design documents.
Anticorrosive protection of technological apparatus,
gas pipes and pipelines. Working drawings
ГОСТ 21.402-83
ОКП 0021
Постановлением Государственного комитета СССР по делам строительства от 13 июня 1983 г. N 117 срок введения установлен
с 1 января 1984 года
РАЗРАБОТАН Институтом "Проектхимзащита" Министерства монтажных и специальных строительных работ СССР
ИСПОЛНИТЕЛИ
А.С. Горина (руководитель темы), В.Д. Любановский, В.Э. Радзевич, В.А. Соколов
ВНЕСЕН Министерством монтажных и специальных строительных работ СССР
Член Коллегии В.М. Орлов
УТВЕРЖДЕН И ВВЕДЕН В ДЕЙСТВИЕ Постановлением Государственного комитета СССР по делам строительства от 13 июня 1983 г. N 117
Настоящий стандарт устанавливает состав и правила выполнения рабочих чертежей антикоррозионной защиты технологических аппаратов, газоходов и трубопроводов (основной комплект рабочих чертежей марки АЗО) всех отраслей промышленности и народного хозяйства.
Стандарт не распространяется на рабочие чертежи антикоррозионной защиты технологических аппаратов, газоходов и трубопроводов с антикоррозионными покрытиями, выполненными на предприятиях-изготовителях.
Если в качестве защитного покрытия предусматривают применение лакокрасочных или мастичных материалов, то в рабочих чертежах приводят только указания по антикоррозионной защите, которые составляют по форме 1. Пример заполнения таблицы указаний по антикоррозионной защите приведен в справочном
приложении 1.
Форма 1
Указания по антикоррозионной защите
1.1. Рабочие чертежи антикоррозионной защиты технологических аппаратов, газоходов и трубопроводов (далее - рабочие чертежи антикоррозионной защиты) выполняют в соответствии с требованиями настоящего стандарта, других стандартов системы проектной документации для строительства и норм проектирования антикоррозионной защиты.
1.2. В состав основного комплекта рабочих чертежей марки АЗО включают:
общие данные по рабочим чертежам;
рабочие чертежи антикоррозионной защиты;
ведомость объемов антикоррозионных работ по объектам защиты;
ведомость изделий, изготавливаемых по специальному заказу.
2. ОБЩИЕ ДАННЫЕ ПО РАБОЧИМ ЧЕРТЕЖАМ
2.1. В состав общих данных по рабочим чертежам основного комплекта марки АЗО в дополнение к
ГОСТ 21.102-79 включают ведомость технологических аппаратов, газоходов и трубопроводов, подлежащих антикоррозионной защите (форма 2) и рекомендации по выбору химически стойких материалов.
Форма 2
Ведомость технологических аппаратов, газоходов
и трубопроводов, подлежащих антикоррозионной защите
В графах ведомости указывают:
в графе "Наименование объекта защиты" - наименование аппаратов, газоходов и трубопроводов, подлежащих антикоррозионной защите;
в графе "Габаритные размеры" - габаритные размеры аппаратов, газоходов и трубопроводов.
3. РАБОЧИЕ ЧЕРТЕЖИ АНТИКОРРОЗИОННОЙ ЗАЩИТЫ
3.1. Состав основного комплекта рабочих чертежей антикоррозионной защиты в зависимости от видов антикоррозионных покрытий приведен в справочном
приложении 3. Состав основного комплекта рабочих чертежей может уточняться в зависимости от типов защитных покрытий.
разрезы аппаратов - 1:10 - 1:100;
планы и разрезы газоходов и трубопроводов - 1:20 - 1:100;
сечения и узлы антикоррозионной защиты аппаратов, газоходов и трубопроводов - 1:2 - 1:20.
3.3. На чертеже разреза аппарата
(черт. 1) указывают:
габаритные размеры аппарата с учетом толщины защитных покрытий;
толщину защитных покрытий, металлических стенок и днища аппарата;
обозначения и диаметры штуцеров с учетом толщины защитных покрытий;
ссылки на узлы.
Внутренние устройства аппарата, газоходов, трубопроводов, разработка которых не входит в основной комплект рабочих чертежей марки АЗО, изображают штрихпунктирной линией с двумя точками.
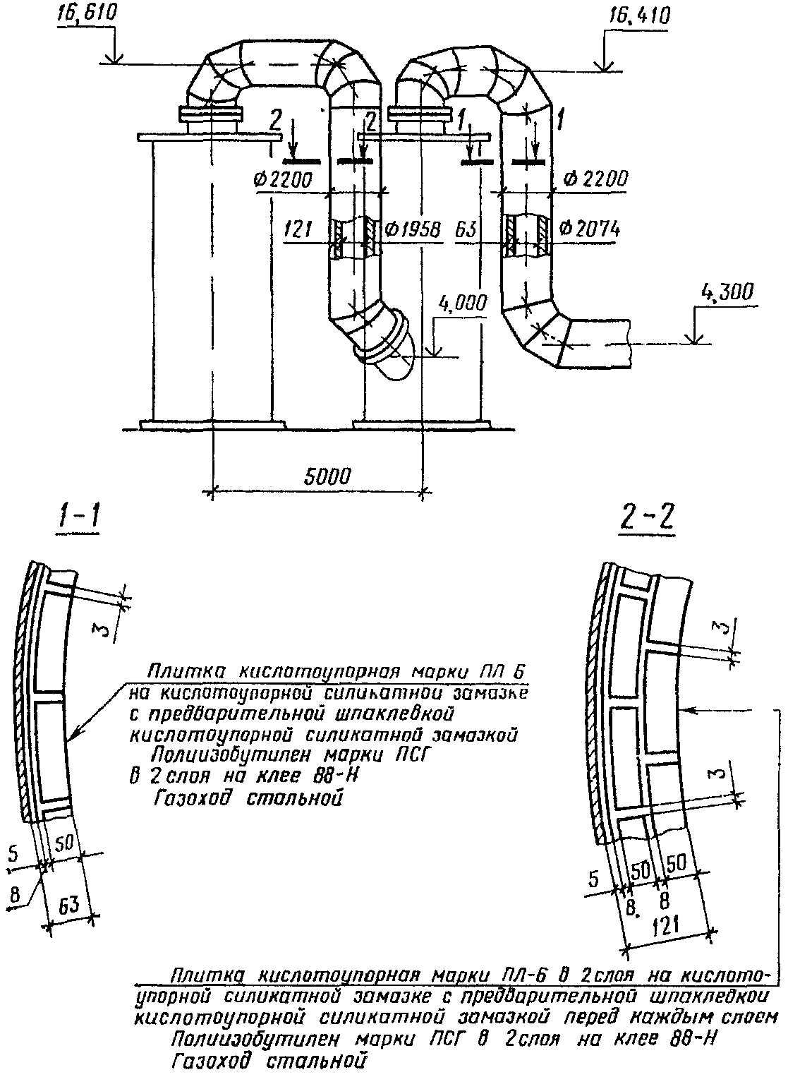
3.4. На чертежах планов и разрезов (видов) газоходов и трубопроводов
(черт. 2) указывают:
отметки и привязки газоходов и трубопроводов к строительным конструкциям или аппарату;
внутренние диаметры газоходов и трубопроводов с учетом толщины защитных покрытий;
толщину защитных покрытий и металлических стенок газоходов и трубопроводов.
Если антикоррозионная защита газоходов и трубопроводов выполняется до монтажа или требует термической обработки (вулканизации или полимеризации покрытия), то на чертежах планов и разрезов проставляют габаритные размеры царг или отдельных участков газоходов или трубопроводов, подлежащих антикоррозионной защите или термической обработке до их монтажа.
3.5. Чертежи узлов на характерные элементы антикоррозионной защиты
(черт. 1) выполняют в объеме, необходимом для производства антикоррозионных работ.
3.6. На чертежах разреза аппарата, планах (разрезах, видах) газоходов и трубопроводов также приводят:
сечения (черт.
1 и
2), характеризующие антикоррозионную защиту;
таблицу штуцеров;
данные об условиях эксплуатации;
технические требования.
Таблицу штуцеров составляют по форме 3.
Форма 3
Таблица штуцеров
Размеры в мм
Данные об условиях эксплуатации технологических аппарата, газоходов и трубопроводов приводят в таблицах по формам 4 и 5. Пример заполнения таблицы условий эксплуатации аппарата приведен в справочном
приложении 5, газоходов и трубопроводов - в справочном
приложении 6.
Форма 4
Условия эксплуатации технологического аппарата
Форма 5
Условия эксплуатации технологических газоходов
и трубопроводов
В технических требованиях приводят ссылку, на основании каких нормативных документов и технологических инструкций производят работы по антикоррозионной защите, а также дают указания по выполнению антикоррозионных работ, необходимости последующей термической обработки покрытия, монтажу внутренних устройств, контролю качества покрытия, монтажу и хранению аппаратов с защитными покрытиями, выполненными до монтажа, технике безопасности и противопожарным мероприятиям и другие указания, не вошедшие в состав общих данных.
При футеровочном и комбинированном футеровочном защитных покрытиях в технических требованиях указывают массу антикоррозионной защиты.
4. ВЕДОМОСТЬ ОБЪЕМОВ АНТИКОРРОЗИОННЫХ РАБОТ
ПО ОБЪЕКТАМ ЗАЩИТЫ
4.1. Ведомость объемов антикоррозионных работ по объектам защиты выполняют по форме 6.
Форма 6
Ведомость объемов антикоррозионных работ
по объектам защиты
--------------------------------
<*> В графе указывают номер позиции, наименование объекта защиты, габаритные размеры, число в штуках; число граф зависит от числа наименований объектов защиты.
В графах ведомости указывают:
в графе "Наименование" - наименование работ. Работы приводят в зависимости от очередности их выполнения, начиная с подготовки поверхности под защитные покрытия;
в графе "Объемы работ, м2" - номера позиций, наименования, габаритные размеры и число объектов защиты.
Число граф зависит от числа наименований объектов защиты.
5. ВЕДОМОСТЬ ИЗДЕЛИЙ, ИЗГОТАВЛИВАЕМЫХ ПО СПЕЦИАЛЬНОМУ ЗАКАЗУ
5.1. Ведомость изделий, изготавливаемых по специальному заказу, выполняют по форме 7.
Форма 7
Ведомость изделий, изготавливаемых по специальному заказу
В графах ведомости указывают:
в графе "Позиция" - позицию изделия по сборочному чертежу;
в графе "Обозначение, предприятие-изготовитель" - номер изделия по каталогу изделий и название предприятия-изготовителя;
в графе "Наименование, марка" - полное наименование изделия и его марку.
Справочное
ПРИМЕР ЗАПОЛНЕНИЯ ТАБЛИЦЫ УКАЗАНИЙ
ПО АНТИКОРРОЗИОННОЙ ЗАЩИТЕ
Справочное
ПРИМЕР ЗАПОЛНЕНИЯ ВЕДОМОСТИ ТЕХНОЛОГИЧЕСКИХ АППАРАТОВ,
ГАЗОХОДОВ И ТРУБОПРОВОДОВ, ПОДЛЕЖАЩИХ
АНТИКОРРОЗИОННОЙ ЗАЩИТЕ
Наименование объекта защиты | Габаритные размеры, мм |
Абсорбер моногидратный |  , Н 14760 |
Бак отработанного раствора | 3700 х 4200 х 2000 |
Сборник |  , L 4600 |
Газоход от 1-й промывной башни ко 2-й промывной башне |  , L 19000 |
Трубопровод от 1-й промывной башни к сборнику |  , L 5500 |
Справочное
СОСТАВ ОСНОВНОГО КОМПЛЕКТА РАБОЧИХ ЧЕРТЕЖЕЙ
АНТИКОРРОЗИОННОЙ ЗАЩИТЫ В ЗАВИСИМОСТИ ОТ ВИДОВ
АНТИКОРРОЗИОННЫХ ПОКРЫТИЙ
Наименование | Вид антикоррозионного покрытия |
Лакокрасочное, мастичное | Пленочное, металлизационное и металлизационно-лакокрасочное | Оклеечное, футеровочное, комбинированное футеровочное покрытие стандартными штучными материалами или кислотоупорным бетоном, гомогенное освинцевание или обкладка свинцом и другими цветными металлами | Футеровочное, комбинированное футеровочное покрытие нестандартными штучными материалами |
Общие данные по рабочим чертежам | + | + | + | + |
Указания по антикоррозионной защите | + | - | - | - |
Чертежи разрезов аппаратов | - | + | + | + |
Чертежи планов и разрезов (видов) газоходов или трубопроводов | - | + | + | + |
Чертежи узлов антикоррозионной защиты | - | - | + | + |
Чертежи деталей, изготавливаемых по специальным заказам | - | - | - | + |
Ведомость объемов антикоррозионных работ по объектам защиты | + | + | + | + |
Ведомость деталей, изготавливаемых по специальным заказам | - | - | - | + |
Примечание. Знак "+" означает наличие документа в комплекте, знак "-" - его отсутствие.
Справочное
ПРИМЕР ЗАПОЛНЕНИЯ ТАБЛИЦЫ ШТУЦЕРОВ
Размеры в мм
Обозначение | Назначение | Число, шт. | Dу металла штуцера | вкладыша | Толщина футеровки |
А | Вход газа | 1 | 1800 | | 283 |
Б | Выход газа | 1 | 800 | | 5 |
В | Выход кислоты | 1 | 219 | 190/150 | |
Г | Вход кислоты | 2 | 125 | 104/80 | |
Д | Вход кислоты | 1 | 250 | 240/200 | |
Е1; Е2 | Люки | 2 | 800 | | 70 |
Справочное
ПРИМЕР ЗАПОЛНЕНИЯ ТАБЛИЦЫ УСЛОВИЙ ЭКСПЛУАТАЦИИ
ТЕХНОЛОГИЧЕСКОГО АППАРАТА
Наименование аппарата и его назначение | Башня сушильная для сушки газа |
Химический состав среды, концентрация, %; г/л; мг/м3 и др. | Газ, содержащий SO3, 100 мг/м3 Орошение - H2SO4 95% |
Разрежение, мм вод. ст. | 55 |
Температура среды, °С | H2SO4 - на входе 40 °С; на выходе 45 °С; газ - на входе 350 °С; на выходе 40 °С |
Коэффициент заполнения | 0,2 |
Удельный вес среды, Н/м3 | 1,83·104 |
Место установки | Вне здания |
Наличие теплоизоляции | Отсутствует |
Особые условия эксплуатации | Работает непрерывно 350 дней в году |
Справочное
ПРИМЕР ЗАПОЛНЕНИЯ ТАБЛИЦЫ УСЛОВИЙ ЭКСПЛУАТАЦИИ
ТЕХНОЛОГИЧЕСКИХ ГАЗОХОДОВ И ТРУБОПРОВОДОВ
Справочное
ПРИМЕР ЗАПОЛНЕНИЯ ВЕДОМОСТИ ОБЪЕМОВ
АНТИКОРРОЗИОННЫХ РАБОТ ПО ОБЪЕКТАМ ЗАЩИТЫ
Справочное
ПРИМЕР ЗАПОЛНЕНИЯ ВЕДОМОСТИ ИЗДЕЛИЙ,
ИЗГОТАВЛИВАЕМЫХ ПО СПЕЦИАЛЬНОМУ ЗАКАЗУ