Главная // Актуальные документы // ГОСТ (Государственный стандарт)СПРАВКА
Источник публикации
М.: Издательство стандартов, 1987
Примечание к документу
С 1 июля 2003 года до вступления в силу технических регламентов акты федеральных органов исполнительной власти в сфере технического регулирования носят рекомендательный характер и подлежат обязательному исполнению только в части, соответствующей целям, указанным в
пункте 1 статьи 46 Федерального закона от 27.12.2002 N 184-ФЗ.
Документ
введен в действие с 1 июля 1973 года.
Взамен МН 1243-60.
Название документа
"ГОСТ 18069-72*. Государственный стандарт Союза ССР. Втулки зажимные с сухарем для инструмента с цилиндрическим хвостовиком. Конструкция и размеры"
(введен в действие Постановлением Госстандарта СССР от 28.07.1972 N 1519)
(ред. от 01.03.1981)
"ГОСТ 18069-72*. Государственный стандарт Союза ССР. Втулки зажимные с сухарем для инструмента с цилиндрическим хвостовиком. Конструкция и размеры"
(введен в действие Постановлением Госстандарта СССР от 28.07.1972 N 1519)
(ред. от 01.03.1981)
Введен в действие
Постановлением
Государственного комитета
стандартов Совета Министров СССР
от 28 июля 1972 г. N 1519
ГОСУДАРСТВЕННЫЙ СТАНДАРТ СОЮЗА ССР
ВТУЛКИ ЗАЖИМНЫЕ С СУХАРЕМ ДЛЯ ИНСТРУМЕНТА
С ЦИЛИНДРИЧЕСКИМ ХВОСТОВИКОМ
КОНСТРУКЦИЯ И РАЗМЕРЫ
Clamping bushings with a slider for tools
with a cylindrical shank. Design and dimensions
ГОСТ 18069-72*
| | Список изменяющих документов | |
6107-0410
Взамен MH 1243-60
Постановлением Государственного комитета стандартов Совета Министров СССР от 28 июля 1972 г. N 1519 срок введения установлен
с 1 июля 1973 года
Проверен в 1980 г.
Переиздание (февраль 1987 г.) с
Изменением N 1, утвержденным в марте 1981 г. (ИУС 5-81).
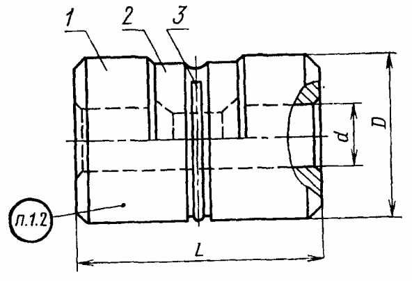
1. КОНСТРУКЦИЯ И РАЗМЕРЫ ВТУЛОК
1.1. Конструкция и размеры втулок должны соответствовать указанным на черт. 1 и в
табл. 1.
Размеры для справок.
Черт. 1
Размеры в мм
Обозначения втулок | Применяемость | D | d | L | |
6107-0411 | | 12 | От 2 до 7 | 20 | 0,018 |
6107-0412 | | 15 | От 3 до 9 | 24 | 0,032 |
Св. 9 до 10 | 0,020 |
6107-0413 | | 18 | От 3 до 11 | 26 | 0,041 |
Св. 11 до 12 | 0,032 |
6107-0414 | | 25 | От 3 до 18 | 36 | 0,137 |
Св. 18 до 20 | 0,066 |
6107-0415 | | 32 | От 6 до 20 | 55 | 0,340 |
Продолжение табл. 1
Обозначения втулок | Дет. 1. Корпус. Кол. 1 | Дет. 2. Сухарь. Кол. 1 | Дет. 3. Кольцо пружинное. Кол. 1 |
Обозначения |
6107-0411 | 6107-0411/001 | 6107-0411/002 | 6107-0411/003 |
6107-0412 | 6107-0412/001 | 6107-0412/002 | 6107-0412/003 |
- |
6107-0413 | 6107-0413/001 | 6107-0413/002 | 6107-0413/003 |
- |
6107-0414 | 6107-0414/001 | 6107-0414/002 | 6107-0414/003 |
- |
6107-0415 | 6107-0415/001 | 6107-0415/002 | 6107-0415/003 |
--------------------------------
<*> Масса подсчитана при наименьшем внутреннем диаметре втулки d.
Пример условного обозначения втулки размерами D = 12 мм, d = 2,4 мм:
Втулка 6107-0411 2,4 ГОСТ 18069-72
(Измененная редакция, Изм. N 1).
1.2. Маркировать: обозначение втулки, фактический размер d и товарный знак предприятия-изготовителя.
2. КОНСТРУКЦИЯ И РАЗМЕРЫ КОРПУСОВ (ДЕТАЛЬ 1)
2.1. Конструкция и размеры корпусов должны соответствовать указанным на черт. 2 и в
табл. 2 и
3.
Черт. 2
мм
d | c |
До 6 | 0,3 |
Св. 6 до 10 | 0,6 |
Св. 10 до 18 | 1,0 |
Св. 18 | 1,6 |
Размеры в мм
Обозначения корпусов | D | | L | | l | | b | r | |
6107-0411/001 | 12 | От 2 до 7 | 20 | 10,0 | 10,0 | 8 | 1,0 | 0,50 | 0,015 |
6107-0412/001 | 15 | От 3 до 9 | 24 | 13,0 | 12,0 | 10 | 0,027 |
Св. 9 до 10 | - | - | - | 0,017 |
6107-0413/001 | 18 | От 3 до 11 | 26 | 15,6 | 13,0 | 1,2 | 0,60 | 0,032 |
Св. 11 до 12 | - | - | - | 0,027 |
6107-0414/001 | 25 | От 3 до 18 | 36 | 22,5 | 18,0 | 14 | 1,2 | 0,60 | 0,113 |
Св. 18 до 20 | - | - | - | 0,054 |
6107-0415/001 | 32 | От 6 до 20 | 55 | 29,0 | 27,5 | 23 | 1,5 | 0,75 | 0,275 |
--------------------------------
<*> Фактический размер отверстия указывается при заказе.
<**> Масса подсчитана при наименьшем внутреннем диаметре втулки d.
Пример условного обозначения корпуса размерами D = 12 мм, d = 2 мм:
Корпус 6107-0411/001 2 ГОСТ 18069-72
(Измененная редакция, Изм. N 1).
| | ИС МЕГАНОРМ: примечание. Постановлением Госстандарта России от 09.02.2001 N 64-ст с 1 сентября 2001 года введен в действие ГОСТ 1435-99. | |
2.2. Материал - сталь марки У7 по ГОСТ 1435-74.
2.3. Остальные технические требования - по ГОСТ 17166-71.
3. КОНСТРУКЦИЯ И РАЗМЕРЫ СУХАРЕЙ (ДЕТАЛЬ 2)
3.1. Конструкция и размеры сухарей должны соответствовать указанным на черт. 3 и в
табл. 4.
Черт. 3
Размеры в мм
Обозначения сухарей | D (поле допуска h11) | | l | | b | h | c | r | |
6107-0411/002 | 12 | От 2 до 7 | 7 | 10,0 | 1,2 | 5,5 | 2 | 0,6 | 0,0025 |
6107-0412/002 | 15 | От 3 до 9 | 9 | 13,0 | 7,0 | 0,0055 |
Св. 9 до 11 | - | - | - | 0,0040 |
6107-0413/002 | 18 | От 3 до 11 | 15,6 | 1,6 | 8,5 | 0,8 | 0,0085 |
Св. 11 до 12 | - | - | - | 0,0055 |
6107-0414/002 | 25 | От 3 до 18 | 13 | 22,5 | 1,6 | 11,8 | 3 | 0,8 | 0,0240 |
Св. 18 до 20 | - | - | - | 0,0120 |
6107-0415/002 | 32 | От 6 до 20 | 22 | 29,0 | 1,8 | 15,0 | 5 | 0,9 | 0,0650 |
--------------------------------
<*> Фактический размер отверстия указывается при заказе.
<**> Масса подсчитана при наименьшем внутреннем диаметре втулки d.
Пример условного обозначения сухаря размерами D = 12 мм, d = 2 мм:
Сухарь 6107-0411/002 2 ГОСТ 18069-72
(Измененная редакция, Изм. N 1).
| | ИС МЕГАНОРМ: примечание. Постановлением Госстандарта России от 09.02.2001 N 64-ст с 1 сентября 2001 года введен в действие ГОСТ 1435-99. | |
3.2. Материал - сталь марки У7 по ГОСТ 1435-74.
3.3. Твердость -

.
3.4. (Исключен, Изм. N 1).
4. КОНСТРУКЦИЯ И РАЗМЕРЫ ПРУЖИННЫХ КОЛЕЦ (ДЕТАЛЬ 3)
4.1. Конструкция и размеры колец должны соответствовать указанным на черт. 4 и в
табл. 5.
Черт. 4
Размеры в мм
Обозначения колец | d | D (поле допуска H14) | Длина развернутого кольца (поле допуска h14) | Масса 100 шт., кг,  |
6107-0411/003 | 0,63 | 8 | 27 | 0,007 |
6107-0412/003 | 10 | 34 | 0,009 |
6107-0413/003 | 1,00 | 12 | 41 | 0,026 |
6107-0414/003 | 18 | 59 | 0,037 |
6107-0415/003 | 1,20 | 23 | 76 | 0,070 |
Пример условного обозначения кольца размерами d = 0,63 мм; D = 8 мм:
Кольцо 6107-0411/003 ГОСТ 18069-72
(Измененная редакция, Изм. N 1).
| | ИС МЕГАНОРМ: примечание. Постановлением Госстандарта России от 09.02.2001 N 64-ст с 1 сентября 2001 года введен в действие ГОСТ 1435-99. | |
4.2. Материал - проволока II и III
ГОСТ 9389-75 из углеродистой стали группы 4 по ГОСТ 1435-74.
4.3. Покрытие - Хим. Окс. прм (обозначение покрытия - по
ГОСТ 9.306-85).