Главная // Актуальные документы // ГОСТ (Государственный стандарт)
СПРАВКА
Источник публикации
М.: Издательство стандартов, 1982
Примечание к документу
С 1 июля 2003 года до вступления в силу технических регламентов акты федеральных органов исполнительной власти в сфере технического регулирования носят рекомендательный характер и подлежат обязательному исполнению только в части, соответствующей целям, указанным в пункте 1 статьи 46 Федерального закона от 27.12.2002 г. N 184-ФЗ.

Введен в действие с 1 января 1971 года.

Взамен МН 5748-65.
Название документа
"ГОСТ 15936-70*. Втулки переходные быстросменные жесткие для метчиков. Конструкция и размеры"
(введен Постановлением Госстандарта СССР от 07.05.1970 N 632)
(ред. от 01.03.1981)


"ГОСТ 15936-70*. Втулки переходные быстросменные жесткие для метчиков. Конструкция и размеры"
(введен Постановлением Госстандарта СССР от 07.05.1970 N 632)
(ред. от 01.03.1981)


Содержание


Утвержден и введен в действие
Постановлением Госстандарта СССР
от 7 мая 1970 г. N 632
ГОСУДАРСТВЕННЫЙ СТАНДАРТ СОЮЗА ССР
ВТУЛКИ ПЕРЕХОДНЫЕ БЫСТРОСМЕННЫЕ ЖЕСТКИЕ ДЛЯ МЕТЧИКОВ
КОНСТРУКЦИЯ И РАЗМЕРЫ
Quick-changing stiff adapters for taps.
Design and dimensions
ГОСТ 15936-70
Список изменяющих документов
(в ред. Изменения N 1, утв. в марте 1974 г.,
Изменения N 2, утв. в марте 1981 г.)
Группа Г27
Взамен МН 5748-65
Дата введения
с 1 января 1971 года
* Переиздание (июнь 1981 г.) с Изменениями N 1, N 2, утвержденными в марте 1974 г., в марте 1981 г. (ИУС 3-1974 г., ИУС 5-1981 г.).
Настоящий стандарт распространяется на переходные быстросменные жесткие втулки, применяемые в патронах для быстросменного инструмента по ГОСТ 14077-78, при нарезании резьб машинно-ручными метчиками.
1. КОНСТРУКЦИЯ И РАЗМЕРЫ ВТУЛОК
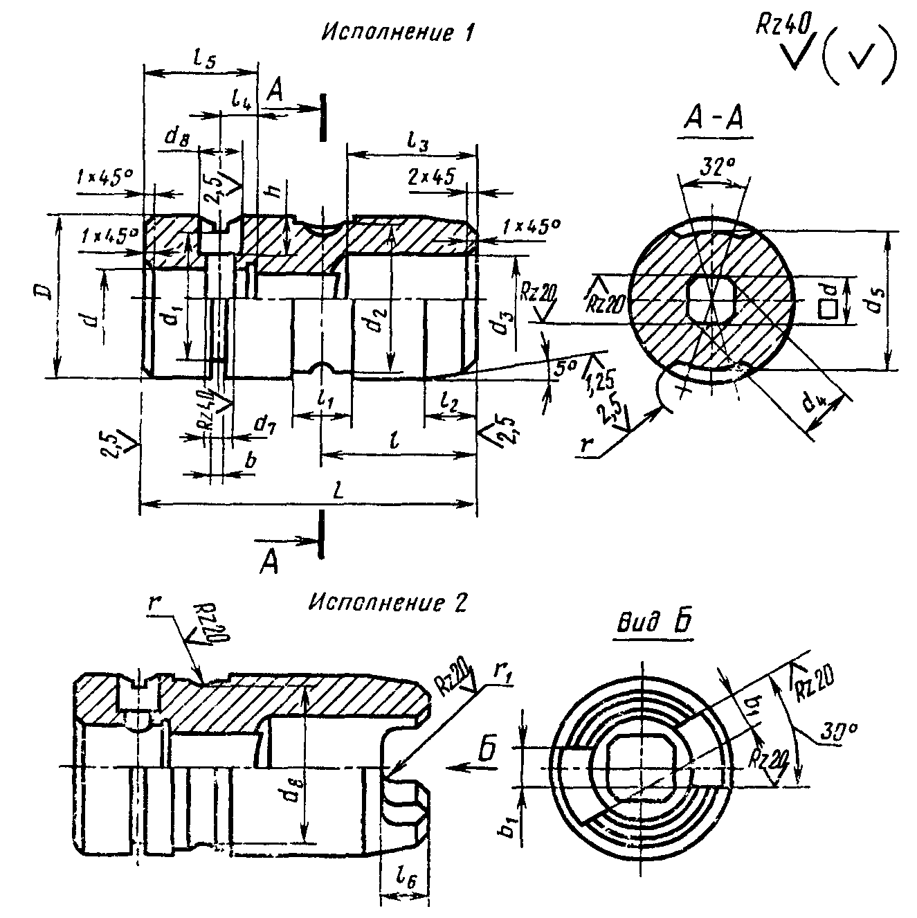
1.1. Конструкция и размеры втулок должны соответствовать указанным на черт. 1 и в табл. 1.
Черт. 1
-------------------------------
<*> Размер для справок.
Таблица 1
Размеры в мм
─────────────┬─────────┬───────┬──────┬──────┬──────┬──────┬──────
Обозначение │Применя- │Испол- │ D │ d │ а │ L │ L
втулок │емость │нение │ │ │ │ │ 1
─────────────┼─────────┼───────┼──────┼──────┼──────┼──────┼──────
6143-0101 │ │1 │24 │5,0 │4,0 │58 │14
─────────────┼─────────┤ │ ├──────┼──────┤ │
0102 │ │ │ │5,6 │4,5 │ │
─────────────┼─────────┤ │ ├──────┼──────┤ ├──────
0103 │ │ │ │6,3 │5,0 │ │15
─────────────┼─────────┤ │ ├──────┼──────┤ │
0104 │ │ │ │7,1 │5,6 │ │
─────────────┼─────────┤ │ ├──────┼──────┤ │
6143-0105 │ │ │ │8,0 │6,3 │ │
─────────────┼─────────┤ ├──────┼──────┼──────┼──────┼──────
6143-0106 │ │ │24 │9,0 │7,1 │58 │16
─────────────┼─────────┤ │ ├──────┼──────┤ │
0107 │ │ │ │10,0 │8,0 │ │
─────────────┼─────────┤ │ ├──────┼──────┤ ├──────
0108 │ │ │ │11,2 │9,0 │ │15
─────────────┼─────────┤ ├──────┼──────┼──────┼──────┼──────
0109 │ │ │32 │10,0 │8,0 │70 │16
─────────────┼─────────┤ │ ├──────┼──────┤ ├──────
0110 │ │ │ │11,2 │9,0 │ │15
─────────────┼─────────┤ │ ├──────┼──────┤ ├──────
0111 │ │ │ │12,5 │10,0 │ │17
─────────────┼─────────┤ │ ├──────┼──────┤ ├──────
0112 │ │ │ │14,0 │11,2 │ │16
─────────────┼─────────┤ │ ├──────┼──────┤ │
0113 │ │ │ │16,0 │12,5 │ │
─────────────┼─────────┤ │ ├──────┼──────┤ ├──────
0114 │ │ │ │18,0 │14,0 │ │17
─────────────┼─────────┼───────┼──────┼──────┼──────┼──────┼──────
0115 │ │2 │42 │14,0 │11,2 │104 │16
─────────────┼─────────┤ │ ├──────┼──────┤ │
0116 │ │ │ │16,0 │12,5 │ │
─────────────┼─────────┤ │ ├──────┼──────┤ ├──────
0117 │ │ │ │18,0 │14,0 │ │17
─────────────┼─────────┤ │ ├──────┼──────┤ ├──────
0118 │ │ │ │20,0 │16,0 │ │19
─────────────┼─────────┤ │ ├──────┼──────┤ ├──────
0119 │ │ │ │22,4 │18,0 │ │18
─────────────┼─────────┤ ├──────┼──────┼──────┼──────┼──────
0120 │ │ │55 │18,0 │14,0 │108 │17
─────────────┼─────────┤ │ ├──────┼──────┤ ├──────
0121 │ │ │ │20,0 │16,0 │ │19
─────────────┼─────────┤ │ ├──────┼──────┤ ├──────
0122 │ │ │ │22,4 │18,0 │ │18
─────────────┼─────────┤ │ ├──────┼──────┤ │
0123 │ │ │ │25,0 │20,0 │ │
─────────────┼─────────┤ │ ├──────┼──────┤ │
0124 │ │ │ │28,0 │22,4 │ │
─────────────┼─────────┤ │ ├──────┼──────┤ │
6143-0125 │ │ │ │31,5 │25,0 │ │
Продолжение табл. 1
Размеры в мм
─────────────┬───────┬─────────────┬─────────────┬────────────────
Обозначение │Масса, │ Дет. 1 │ Дет. 2 │ Дет. 3. Кольцо
втулок │ кг │ Корпус │ Стопор │ пружинное
│ ├─────────────┴─────────────┴────────────────
│ │ Количество
│ ├─────────────┬─────────────┬────────────────
│ │ 1 │ 1 │ 1
│ ├─────────────┴─────────────┴────────────────
│ │ Обозначение деталей
─────────────┼───────┼─────────────┬─────────────┬────────────────
6143-0101 │0,172 │6143-0101/01 │6143-0101/002│6143-0101/003
─────────────┼───────┼─────────────┼─────────────┤
0102 │0,171 │ 0102/001 │ 0102/002│
─────────────┼───────┼─────────────┼─────────────┤
0103 │0,170 │ 0103/001 │ 0103/002│
─────────────┼───────┼─────────────┼─────────────┤
0104 │0,168 │ 0104/001 │ 0104/002│
─────────────┼───────┼─────────────┼─────────────┤
0105 │0,167 │ 0105/001 │ 0105/002│
─────────────┼───────┼─────────────┼─────────────┤
0106 │0,162 │ 0106/001 │ 0106/002│
─────────────┼───────┼─────────────┼─────────────┤
0107 │0,157 │ 0107/001 │ 0107/002│
─────────────┼───────┼─────────────┼─────────────┤
0108 │0,146 │ 0108/001 │ 0108/002│
─────────────┼───────┼─────────────┼─────────────┼────────────────
0109 │0,355 │ 0109/001 │ 0109/002│ 0109/003
─────────────┼───────┼─────────────┼─────────────┤
0110 │0,350 │ 0110/001 │ 0110/002│
─────────────┼───────┼─────────────┼─────────────┼────────────────
0111 │0,346 │ 0111/001 │ 0111/002│ 0111/003
─────────────┼───────┼─────────────┼─────────────┤
0112 │0,336 │ 0112/001 │ 0112/002│
─────────────┼───────┼─────────────┼─────────────┤
0113 │0,313 │ 0113/001 │ 0113/002│
─────────────┼───────┼─────────────┼─────────────┤
0114 │0,287 │ 0114/001 │ 0114/002│
─────────────┼───────┼─────────────┼─────────────┼────────────────
0115 │0,955 │ 0115/001 │ 0115/002│ 0115/003
─────────────┼───────┼─────────────┼─────────────┤
0116 │0,940 │ 0116/001 │ 0116/002│
─────────────┼───────┼─────────────┼─────────────┤
0117 │0,862 │ 0117/001 │ 0117/002│
─────────────┼───────┼─────────────┼─────────────┤
0118 │0,841 │ 0118/001 │ 0118/002│
─────────────┼───────┼─────────────┼─────────────┤
0119 │0,770 │ 0119/001 │ 0119/002│
─────────────┼───────┼─────────────┼─────────────┼────────────────
0120 │1,674 │ 0120/001 │ 0120/002│6143-0120/003
─────────────┼───────┼─────────────┼─────────────┤
0121 │1,651 │ 0121/001 │ 0121/002│
─────────────┼───────┼─────────────┼─────────────┤
0122 │1,631 │ 0122/001 │ 0122/002│
─────────────┼───────┼─────────────┼─────────────┤
0123 │1,412 │ 0123/001 │ 0123/002│
─────────────┼───────┼─────────────┼─────────────┤
0124 │1,385 │ 0124/001 │ 0124/002│
─────────────┼───────┼─────────────┼─────────────┤
6143-0125 │1,320 │6143-0125/001│6143-0125/002│
Пример условного обозначения втулки D = 24 мм, d = 5 мм:
Втулка 6143-0101 ГОСТ 15936-70
(Измененная редакция, Изм. N 2).
1.2. Маркировать: обозначение и товарный знак предприятия-изготовителя.
2. КОНСТРУКЦИЯ И РАЗМЕРЫ КОРПУСОВ (деталь 1)
2.1. Конструкция и размеры корпусов втулок должны соответствовать указанным на черт. 2 и в табл. 2.
Черт. 2
(Измененная редакция, Изм. N 1, N 2).
Таблица 2
Размеры в мм
─────────────┬──────┬──┬───────┬───────┬───┬──────┬──────┬──┬──────┬──────┬───┬──────┬──┬──┬──┬──┬──┬──┬──┬──────┬───┬──┬───┬──┬─────
Обозначение │Испол-│D │d = d │а │L │d │d │d │d │d │d │d │l │l │l │l │l │l │l │h │b │b │r │r │Мас-
корпусов │нение │ │ 4 │(пред. │ │ 1 │ 2 │ 3│ 5 │ 6 │ 7 │ 3 │ │ 1│ 2│ 3│ 4│ 5│ 6│(пред.│ │ 1│ │ 1│са,кг
│ │ │(пред. │откл. │ │(пред.│(пред.│ │(пред.│(пред.│ │(пред.│ │ │ │ │ │ │ │откл. │ │ │ │ │
│ │ │откл. d│по В12)│ │откл. │откл. │ │откл. │откл. │ │откл. │ │ │ │ │ │ │ │по │ │ │ │ │
│ │ │по Н8 │ │ │по │по │ │по │по Н8)│ │по │ │ │ │ │ │ │ │Н12) │ │ │ │ │
│ │ │и d, по│ │ │h11) │h12) │ │h12) │ │ │h11) │ │ │ │ │ │ │ │ │ │ │ │ │
│ │ │Н14) │ │ │ │ │ │ │ │ │ │ │ │ │ │ │ │ │ │ │ │ │ │
─────────────┼──────┼──┼───────┼───────┼───┼──────┼──────┼──┼──────┼──────┼───┼──────┼──┼──┼──┼──┼──┼──┼──┼──────┼───┼──┼───┼──┼─────
6143-0101/001│1 │24│5,0 │4,0 │58 │20,0 │23,5 │10│18,9 │5 │3,5│- │25│12│6 │30│6 │20│- │8,0 │1,6│- │4,2│- │0,170
─────────────┤ │ ├───────┼───────┤ │ │ │ │ │ │ │ │ │ │ │ │ │ │ ├──────┤ │ │ │ ├─────
0102/001│ │ │5,6 │4,5 │ │ │ │ │ │ │ │ │ │ │ │ │ │ │ │7,5 │ │ │ │ │0,169
─────────────┤ │ ├───────┼───────┤ │ │ │ │ │ │ │ │ │ │ ├──┼──┼──┤ ├──────┤ │ │ │ ├─────
0103/001│ │ │6,3 │5,0 │ │ │ │ │ │ │ │ │ │ │ │28│7 │22│ │7,0 │ │ │ │ │0,168
─────────────┤ │ ├───────┼───────┤ │ │ │ │ │ │ │ │ │ │ │ │ │ │ │ │ │ │ │ ├─────
0104/001│ │ │7,1 │5,6 │ │ │ │ │ │ │ │ │ │ │ │ │ │ │ │ │ │ │ │ │0,166
─────────────┤ │ ├───────┼───────┤ │ │ │ │ │ │ │ │ │ │ ├──┤ ├──┤ ├──────┤ │ │ │ ├─────
0105/001│ │ │8,0 │6,3 │ │ │ │ │ │ │ │ │ │ │ │25│ │23│ │6,5 │ │ │ │ │0,165
─────────────┤ │ ├───────┼───────┤ │ │ │ │ │ │ │ │ │ │ │ │ │ │ ├──────┤ │ │ │ ├─────
0106/001│ │ │9,0 │7,1 │ │ │ │ │ │ │ │ │ │ │ │ │ │ │ │6,0 │ │ │ │ │0,161
─────────────┤ │ ├───────┼───────┤ │ │ ├──┤ │ │ │ │ │ │ ├──┤ │ │ ├──────┤ │ │ │ ├─────
0107/001│ │ │10,0 │8,0 │ │ │ │13│ │ │ │ │ │ │ │20│ │ │ │5,5 │ │ │ │ │0,156
─────────────┤ │ ├───────┼───────┤ │ │ │ │ │ │ │ │ │ │ │ │ ├──┤ ├──────┤ │ │ │ ├─────
0108/001│ │ │11,2 │9,0 │ │ │ │ │ │ │ │ │ │ │ │ │ │20│ │5,0 │ │ │ │ │0,145
─────────────┤ ├──┼───────┼───────┼───┼──────┼──────┼──┼──────┤ │ │ ├──┤ ├──┼──┤ ├──┤ ├──────┤ │ │ │ ├─────
0109/001│ │32│10,0 │8,0 │70 │28,0 │31,5 │16│27,9 │ │ │ │32│ │10│35│ │23│ │9,5 │ │ │ │ │0,353
─────────────┤ │ ├───────┼───────┤ │ │ │ │ │ │ │ │ │ │ │ │ ├──┤ ├──────┤ │ │ │ ├─────
0110/001│ │ │11,2 │9,0 │ │ │ │ │ │ │ │ │ │ │ │ │ │20│ │9,0 │ │ │ │ │0,348
─────────────┤ │ ├───────┼───────┤ ├──────┤ │ │ ├──────┼───┤ │ │ │ ├──┤ ├──┤ ├──────┼───┤ │ │ ├─────
0111/001│ │ │12,5 │10,0 │ │26,0 │ │ │ │8 │6,5│ │ │ │ │30│ │24│ │8,0 │2,0│ │ │ │0,341
─────────────┤ │ ├───────┼───────┤ │ │ │ │ │ │ │ │ │ │ │ ├──┤ │ ├──────┤ │ │ │ ├─────
0112/001│ │ │14,0 │11,2 │ │ │ │ │ │ │ │ │ │ │ │ │8 │ │ │7,5 │ │ │ │ │0,332
─────────────┤ │ ├───────┼───────┤ │ │ ├──┤ │ │ │ │ │ │ │ │ │ │ ├──────┤ │ │ │ ├─────
0113/001│ │ │16,0 │12,5 │ │ │ │18│ │ │ │ │ │ │ │ │ │ │ │6,5 │ │ │ │ │0,309
─────────────┤ │ ├───────┼───────┤ │ │ ├──┤ │ │ │ │ │ │ ├──┤ │ │ ├──────┤ │ │ │ ├─────
0114/001│ │ │18,0 │14,0 │ │ │ │20│ │ │ │ │ │ │ │25│ │ │ │5,5 │ │ │ │ │0,283
─────────────┼──────┼──┼───────┼───────┼───┼──────┼──────┼──┼──────┤ │ ├──────┼──┼──┼──┼──┤ │ ├──┼──────┤ ├──┼───┼──┼─────
0115/001│2 │42│14,0 │11,2 │104│36,5 │41,5 │18│- │ │ │35,9 │65│15│18│60│ │ │13│12,0 │ │10│5,2│5 │0,948
─────────────┤ │ ├───────┼───────┤ │ │ │ │ │ │ │ │ │ │ │ │ │ │ ├──────┤ │ │ │ ├─────
0116/001│ │ │16,0 │12,5 │ │ │ │ │ │ │ │ │ │ │ │ │ │ │ │11,0 │ │ │ │ │0,932
─────────────┤ │ ├───────┼───────┤ │ │ ├──┤ │ │ │ │ │ │ │ │ │ │ ├──────┤ │ │ │ ├─────
0117/001│ │ │18,0 │14,0 │ │ │ │22│ │ │ │ │ │ │ │ │ │ │ │10,0 │ │ │ │ │0,855
─────────────┤ │ ├───────┼───────┤ │ │ │ │ │ │ │ │ │ │ │ │ │ │ ├──────┤ │ │ │ ├─────
0118/001│ │ │20,0 │16,0 │ │ │ │ │ │ │ │ │ │ │ │ │ │ │ │9,0 │ │ │ │ │0,835
─────────────┤ │ ├───────┼───────┤ │ │ ├──┤ │ │ │ │ │ │ ├──┼──┼──┤ ├──────┤ │ │ │ ├─────
0119/001│ │ │22,4 │18,0 │ │ │ │25│ │ │ │ │ │ │ │55│10│28│ │8,0 │ │ │ │ │0,764
─────────────┤ ├──┼───────┼───────┼───┼──────┼──────┤ │ │ │ ├──────┼──┤ │ ├──┼──┼──┼──┼──────┤ ├──┤ ├──┼─────
0120/001│ │55│18,0 │14,0 │108│50,0 │54,5 │ │ │ │ │49,9 │70│ │ │60│8 │24│14│16,5 │ │12│ │6 │1,665
─────────────┤ │ ├───────┼───────┤ │ │ │ │ │ │ │ │ │ │ │ │ │ │ ├──────┤ │ │ │ ├─────
0121/001│ │ │20,0 │16,0 │ │ │ │ │ │ │ │ │ │ │ │ │ │ │ │15,5 │ │ │ │ │1,642
─────────────┤ │ ├───────┼───────┤ │ │ │ │ │ │ │ │ │ │ ├──┼──┼──┤ ├──────┤ │ │ │ ├─────
0122/001│ │ │22,4 │18,0 │ │ │ │ │ │ │ │ │ │ │ │55│10│28│ │14,5 │ │ │ │ │1,622
─────────────┤ │ ├───────┼───────┤ │ │ ├──┤ ├──────┼───┤ │ │ │ │ │ │ │ ├──────┤ │ │ │ ├─────
0123/001│ │ │25,0 │20,0 │ │ │ │34│ │10 │7,5│ │ │ │ │ │ │ │ │13,0 │ │ │ │ │1,400
─────────────┤ │ ├───────┼───────┤ │ │ │ │ │ │ │ │ │ │ ├──┤ │ │ ├──────┤ │ │ │ ├─────
0124/001│ │ │28,0 │22,4 │ │ │ │ │ │ │ │ │ │ │ │50│ │ │ │11,5 │ │ │ │ │1,374
─────────────┤ │ ├───────┼───────┤ │ │ │ │ │ │ │ │ │ │ │ ├──┼──┤ ├──────┤ │ │ │ ├─────
6143-0125/001│ │ │31,5 │25,0 │ │ │ │ │ │ │ │ │ │ │ │ │12│30│ │10,0 │ │ │ │ │1,310
(Измененная редакция, Изм. N 1, N 2).
2.2. Материал - сталь марки 20Х по ГОСТ 4543-71.
2.3. Цементировать на глубину 0,8 - 1,2 мм.
(Измененная редакция, Изм. N 1).
2.4 - 2.7. (Исключены, Изм. N 1).
2.8. Поле допуска угла - 13-я степень точности.
(Измененная редакция, Изм. N 2).
2.9. Канавки для выхода шлифовального круга - по ГОСТ 8820-69.
2.10, 2.11. (Исключены, Изм. N 1).
2.12. Остальные технические требования - по ГОСТ 17166-71.
(Введен дополнительно, Изм. N 1).
3. КОНСТРУКЦИЯ И РАЗМЕРЫ СТОПОРОВ (деталь 2)
3.1. Конструкция и размеры стопоров должны соответствовать указанным на черт. 3 и в табл. 3.
Черт. 3
Таблица 3
Размеры в мм
─────────────┬────────┬───────┬───┬────┬───────┬───┬──┬──┬────────
Обозначение │D (пред.│ L │ d │ l │ l │ b │r │r │ Масса
стопоров │откл. │(пред. │ │ │ 1 │ │ │ 1│100 шт.,
│по f9) │откл. │ │ │(пред. │ │ │ │ кг
│ │по H11)│ │ │откл. │ │ │ │ ~=
│ │ │ │ │по h11)│ │ │ │
─────────────┼────────┼───────┼───┼────┼───────┼───┼──┼──┼────────
6143-0101/002│5 │9,25 │3,5│2,25│8,25 │1,6│3 │12│0,115
─────────────┤ ├───────┤ ├────┼───────┤ │ │ ├────────
0102/002│ │9,0 │ │2,50│8,00 │ │ │ │0,105
─────────────┤ ├───────┤ ├────┼───────┤ │ │ ├────────
0103/002│ │8,75 │ │2,75│7,75 │ │ │ │0,103
─────────────┤ ├───────┤ ├────┼───────┤ │ │ ├────────
0104/002│ │8,50 │ │2,50│7,50 │ │ │ │0,095
─────────────┤ ├───────┤ │ ├───────┤ │ │ ├────────
0105/002│ │8,00 │ │ │7,00 │ │ │ │0,090
─────────────┤ ├───────┤ │ ├───────┤ │ │ ├────────
0106/002│ │7,50 │ │ │6,50 │ │ │ │0,085
─────────────┤ ├───────┤ │ ├───────┤ │ │ ├────────
0107/002│ │7,00 │ │ │6,00 │ │ │ │0,075
─────────────┤ ├───────┤ │ ├───────┤ │ │ ├────────
0108/002│ │6,50 │ │ │5,50 │ │ │ │0,065
─────────────┤ ├───────┤ │ ├───────┤ │ ├──┼────────
0109/002│ │11,00 │ │ │10,00 │ │ │16│0,136
─────────────┤ ├───────┤ │ ├───────┤ │ │ ├────────
0110/002│ │10,50 │ │ │9,60 │ │ │ │0,125
─────────────┼────────┼───────┼───┼────┼───────┼───┼──┤ ├────────
0111/002│8 │10,00 │6,5│3,00│8,10 │2,2│5 │ │0,333
─────────────┤ ├───────┤ │ ├───────┤ │ │ ├────────
0112/002│ │9,50 │ │ │7,60 │ │ │ │0,310
─────────────┤ ├───────┤ │ ├───────┤ │ │ ├────────
0113/002│ │8,50 │ │ │6,60 │ │ │ │0,270
─────────────┤ ├───────┤ │ ├───────┤ │ │ ├────────
0114/002│ │7,50 │ │ │5,60 │ │ │ │0,231
─────────────┤ ├───────┤ ├────┼───────┤ │ ├──┼────────
0115/002│ │14,50 │ │3,50│12,80 │ │ │20│0,498
─────────────┤ ├───────┤ │ ├───────┤ │ │ ├────────
0116/002│ │13,50 │ │ │11,80 │ │ │ │0,467
─────────────┤ ├───────┤ │ ├───────┤ │ │ ├────────
0117/002│ │12,50 │ │ │10,80 │ │ │ │0,427
─────────────┤ ├───────┤ │ ├───────┤ │ │ ├────────
0118/002│ │11,50 │ │ │9,80 │ │ │ │0,387
─────────────┤ ├───────┤ │ ├───────┤ │ │ ├────────
0119/002│ │10,50 │ │ │8,80 │ │ │ │0,347
─────────────┤ ├───────┤ │ ├───────┤ │ ├──┼────────
0120/002│ │19,00 │ │ │17,40 │ │ │30│0,679
─────────────┤ ├───────┤ │ ├───────┤ │ │ ├────────
0121/002│ │18,00 │ │ │16,40 │ │ │ │0,639
─────────────┤ ├───────┤ │ ├───────┤ │ │ ├────────
0122/002│ │17,00 │ │ │15,40 │ │ │ │0,599
─────────────┼────────┼───────┼───┼────┼───────┤ │ │ ├────────
0123/002│10 │16,00 │7,5│4,00│14,25 │ │ │ │0,850
─────────────┤ ├───────┤ │ ├───────┤ │ │ ├────────
0124/022│ │14,50 │ │ │12,75 │ │ │ │0,790
─────────────┤ ├───────┤ ├────┼───────┤ │ │ ├────────
6143-0125/002│ │12,50 │ │3,50│10,75 │ │ │ │0,692
(Измененная редакция, Изм. N 2).
3.2. Материал - сталь марки У8 по ГОСТ 1435-74.
3.3. Твердость - HRC 50-55.
3.4, 3.5. (Исключены, Изм. N 1).
3.6. Покрытие Хим. Окс. прм по ГОСТ 9.073-77.
(Измененная редакция, Изм. N 2).
4. КОНСТРУКЦИЯ И РАЗМЕРЫ ПРУЖИННЫХ КОЛЕЦ
(деталь 3)
4.1. Конструкция и размеры колец должны соответствовать указанным на черт. 4 и в табл. 4.
Черт. 4
Таблица 4
Размеры в мм
──────────────────┬──────┬─────────┬────────────────────┬─────────
Обозначение колец │ d │D (пред. │ Длина развернутого │ Масса
│ │откл. по │кольца (пред. откл. │ 100 шт.,
│ │ Н14) │ по h14) │ кг ~=
──────────────────┼──────┼─────────┼────────────────────┼─────────
6143-0101/003 │1,2 │18 │66 │0,06
──────────────────┤ ├─────────┼────────────────────┼─────────
0109/003 │ │26 │90 │0,08
──────────────────┼──────┼─────────┼────────────────────┼─────────
0111/003 │1,8 │24 │87 │0,17
──────────────────┤ ├─────────┼────────────────────┼─────────
0115/003 │ │33 │120 │0,24
──────────────────┤ ├─────────┼────────────────────┼─────────
6143-0120/003 │ │45 │160 │0,32
(Измененная редакция, Изм. N 2).
4.2. Материал - проволока II по ГОСТ 9389-75 из углеродистой стали группы поставки 4 - по ГОСТ 1435-74.
4.3. (Исключен, Изм. N 1).
4.4. Покрытие Хим. Окс. прм по ГОСТ 9.073-77.
(Измененная редакция, Изм. N 2).