Главная // Актуальные документы // ГОСТ (Государственный стандарт)СПРАВКА
Источник публикации
М.: Издательство стандартов, 1988
Примечание к документу
С 1 июля 2003 года до вступления в силу технических регламентов акты федеральных органов исполнительной власти в сфере технического регулирования носят рекомендательный характер и подлежат обязательному исполнению только в части, соответствующей целям, указанным в
пункте 1 статьи 46 Федерального закона от 27.12.2002 N 184-ФЗ.
Документ
введен в действие с 1 июля 1975 года.
Взамен ГОСТ 13964-68.
Название документа
"ГОСТ 13964-74*. Государственный стандарт Союза ССР. Тройники проходные для соединений трубопроводов по наружному конусу. Конструкция и размеры"
(введен в действие Постановлением Госстандарта СССР от 10.09.1974 N 2124)
(ред. от 01.12.1980)
"ГОСТ 13964-74*. Государственный стандарт Союза ССР. Тройники проходные для соединений трубопроводов по наружному конусу. Конструкция и размеры"
(введен в действие Постановлением Госстандарта СССР от 10.09.1974 N 2124)
(ред. от 01.12.1980)
Введен в действие
Постановлением Государственного
комитета стандартов
Совета Министров СССР
от 10 сентября 1974 г. N 2124
ГОСУДАРСТВЕННЫЙ СТАНДАРТ СОЮЗА ССР
ТРОЙНИКИ ПРОХОДНЫЕ ДЛЯ СОЕДИНЕНИЙ ТРУБОПРОВОДОВ
ПО НАРУЖНОМУ КОНУСУ
КОНСТРУКЦИЯ И РАЗМЕРЫ
Union tees for tube connections on external cone.
Construction and dimensions
ГОСТ 13964-74*
| | Список изменяющих документов (в ред. Изменения N 1, утв. в декабре 1980 г.) | |
Взамен
ГОСТ 13964-68
Постановлением Государственного комитета стандартов Совета Министров СССР от 10 сентября 1974 г. N 2124 срок введения установлен
с 1 июля 1975 года
Проверен в 1985 г.
Переиздание (январь 1988 г.) с Изменением N 1, утвержденным в декабре 1980 г. (ИУС 3-81).
Несоблюдение стандарта преследуется по закону
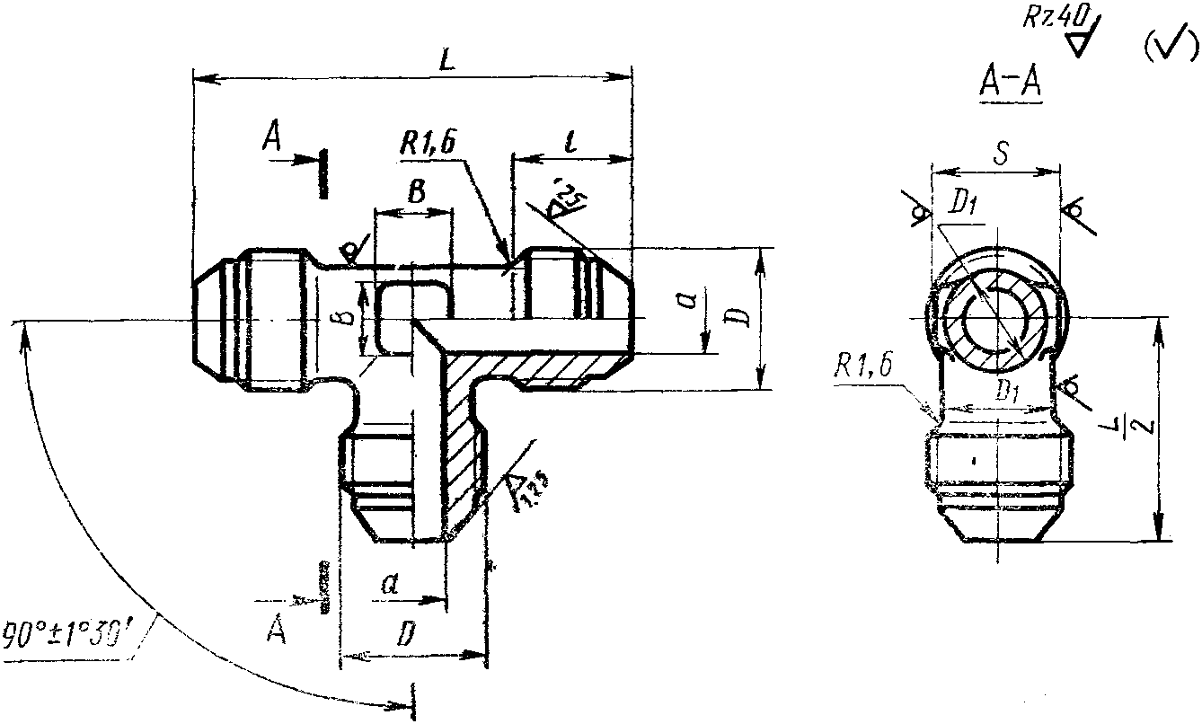
1. Конструкция и размеры проходных тройников должны соответствовать указанным на чертеже и в
таблице.
Размеры в мм
| Применяемость | d | D | D1 | S | l | L | B | Масса 100 шт., кг |
Пред. откл. +/- 0,3 | Алюминиевый сплав | Сталь | Бронза |
3 | | 1,7 | М8 x 1 | 6 | 7 | 11 | 38 | 5 | - | - | 1,17 |
4 | | 2,7 | М10 x 1 | 8 | 10 | 12 | 42 | 6 | - | 2,01 | 1,93 |
6 | | 3,7 | М12 x 1 | 10 | 12 | 13 | 46 | 1,13 | 3,21 | 3,08 |
8 | | 5,5 | М14 x 1 | 12 | 14 | 48 | 7 | 1,70 | 4,82 | 4,63 |
10 | | 7,5 | М16 x 1 | 14 | 17 | 14 | 52 | 9 | 2,17 | 6,17 | 5,91 |
12 | | 9,5 | М20 x 1,5 | 16 | 19 | 17 | 62 | 10 | 3,34 | 9,48 | 9,10 |
14 | | 11,5 | М22 x 1,5 | 18 | 22 | 66 | 13 | 4,21 | 11,95 | 11,45 |
16 | | 13,5 | М24 x 1,5 | 20 | 18 | 70 | 15 | 5,25 | 14,90 | 14,30 |
18 | | 15,5 | М27 x 1,5 | 22 | 24 | 74 | 17 | 6,87 | 19,50 | 18,71 |
20 | | 17,0 | М30 x 2 | 24 | 27 | 19 | 78 | 18 | 8,96 | 25,45 | 24,40 |
22 | | 19,0 | М33 x 2 | 27 | 22 | 86 | 21 | 9,61 | 27,30 | - |
25 | | 22,0 | 28 | 30 | 88 | 22 | 11,81 | 33,50 |
28 | | 25,0 | М39 x 2 | 34 | 36 | 23 | 98 | 28 | 14,31 | 40,70 |
30 | | 27,0 | 15,20 | 43,20 |
32 | | 28,0 | М42 x 2 | 38 | 41 | 104 | 30 | 16,95 | 48,20 |
34 | | 30,0 | М45 x 2 | 24 | 20,56 | 58,20 |
36 | | 32,0 | М48 x 2 | 43 | 46 | 25 | 110 | 23,98 | 67,80 |
38 | | 34,0 | 25,56 | 72,40 |
Пример условного обозначения проходного тройника к трубопроводу Dн = 12 мм из алюминиевого сплава:
Тройник проходной 12-31А ГОСТ 13964-74
То же, из стали марки 45:
Тройник проходной 12-22А ГОСТ 13964-74
То же, из стали марки 12Х18Н9Т:
Тройник проходной 12-13А ГОСТ 13964-74
То же, из стали марки 13Х11Н2В2МФ:
Тройник проходной 12-11А ГОСТ 13964-74
То же, из бронзы:
Тройник проходной 12-41А ГОСТ 13964-74
То же, для изделий общего применения:
Тройник проходной 12-31 ГОСТ 13964-74
Тройник проходной 12-22 ГОСТ 13964-74
Тройник проходной 12-13 ГОСТ 13964-74
Тройник проходной 12-11 ГОСТ 13964-74
Тройник проходной 12-41 ГОСТ 13964-74
(Измененная редакция, Изм. N 1).
3. Маркировать и клеймить - по ГОСТ 13977-74.
4. Технические условия - по ГОСТ 13977-74.