Термин | Определение | |
ОБЩИЕ ПОНЯТИЯ | ||
Штамп | Технологическая оснастка, посредством которой заготовка приобретает форму и (или) размеры, соответствующие поверхности или контуру рабочих элементов штампа | |
Нижняя часть штампа | Часть штампа, прикрепляемая к нижнему рабочему органу кузнечно-прессовой машины (см. приложение 1, черт. 1) <*> | |
-------------------------------- <*> На чертежах в основной части стандарта и в приложении 1 номер позиции соответствует номеру термина. | ||
Верхняя часть штампа | Часть штампа, прикрепляемая к верхнему рабочему органу кузнечно-прессовой машины (см. приложение 1, черт. 1) | |
Открытый штамп | Штамп, в котором предусмотрено образование штамповочного облоя | |
Закрытый штамп | Штамп, в котором не предусмотрено образования штамповочного облоя | |
ВИДЫ ШТАМПОВ ПО ТЕХНОЛОГИЧЕСКОМУ ПРИЗНАКУ | ||
Штамп простого действия | Штамп для выполнения одной или нескольких одноименных технологических операций на одной позиции за один ход подвижной части штампа (см. приложение 1, черт. 2) | |
Штамп совмещенного действия | Штамп для выполнения разноименных технологических операций или технологических переходов на одной позиции за один ход подвижной части штампа (см. приложение 1, черт. 4) | |
Штамп последовательного действия | Штамп для выполнения нескольких технологических операций или технологических переходов на нескольких позициях за соответствующее число ходов подвижной части штампа (см. приложение 1, черт. 3) | |
ВИДЫ ШТАМПОВ ПО УНИВЕРСАЛЬНОСТИ ПРИМЕНЕНИЯ | ||
Специальный штамп Ндп. Специализированный штамп | Штамп для изготовления только заданных изделий | |
Универсальный штамп | Штамп для изготовления различных изделий (см. приложение 1, черт. 5) | |
ВИДЫ ШТАМПОВ ПО ОСОБЕННОСТЯМ СБОРКИ | ||
Неразборный штамп | Штамп, собираемый из узлов и деталей, используемых только в данном штампе | |
Штамп со сменными рабочими элементами | Штамп, в котором предусмотрена замена пуансона и матрицы (см. приложение 1, черт. 6) | |
Штамп со сменным пакетом | См. приложение 1, черт. 7 | |
Штамп со сменным сборным пакетом | ||
Сборный штамп | Штамп, собираемый из узлов и деталей, многократно используемых в различных штампах | |
УЗЛЫ И ДЕТАЛИ ШТАМПОВ | ||
Рабочий элемент штампа | Основная деталь или узел штампа, выполняющая разделительные или формоизменяющие операции | |
Блок штампа Блок | Узел штампа для крепления пакета штампа и (или) совмещения рабочих элементов при штамповке ![]() | |
Универсальный блок штампа Универсальный блок | Блок штампа, предназначенный для эксплуатации со сменными пакетами штампа | |
Блок штампа с диагональным расположением направляющих узлов Ндп. Блок штампа с угловым расположением направляющих узлов | ![]() | |
Блок штампа с осевым расположением направляющих узлов Ндп. Блок штампа с симметричным расположением направляющих узлов | ![]() | |
Блок штампа с задним расположением направляющих узлов | ![]() | |
Блок штампа с четырьмя направляющими узлами | ![]() | |
Направляющий узел штампа Направляющий узел | Узел штампа для совмещения частей штампа при их перемещении относительно друг друга | |
Цилиндрический направляющий узел штампа | Направляющий узел штампа, имеющий цилиндрическую направляющую поверхность | |
Цилиндрический направляющий узел скольжения штампа Направляющий узел скольжения | ![]() | |
Цилиндрический направляющий узел качения штампа Направляющий узел качения | ![]() | |
Плоский направляющий узел штампа | Направляющий узел штампа, имеющий одну или несколько плоских направляющих поверхностей ![]() | |
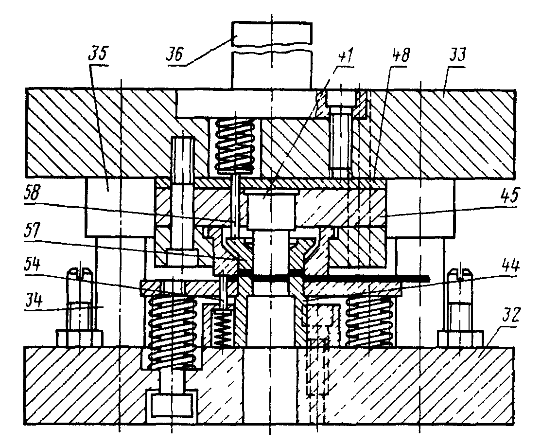
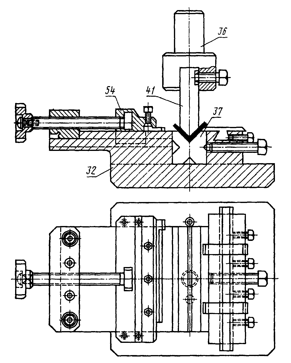
Клин штампа Клин | Деталь штампа для изменения направления действия усилия | |
Ползушка штампа Ползушка | Деталь штампа, воспринимающая усилие клина и передающая его другим деталям штампа | |
Пакет штампа Пакет | Узел для фиксации и (или) крепления рабочих элементов штампа, закрепляемый в блоке штампа ![]() ![]() | |
Пакет штампа со сменными рабочими элементами | ||
Нижняя плита штампа Нижняя плита | См. чертеж к термину 17 | |
Верхняя плита штампа Верхняя плита | См. чертеж к термину 17 | |
Направляющая колонка штампа Направляющая колонка | Деталь цилиндрического направляющего узла штампа, имеющая наружную направляющую поверхность (см. чертеж к термину 25) | |
Направляющая втулка штампа Втулка | Деталь цилиндрического направляющего узла штампа, имеющая внутреннюю направляющую поверхность (см. чертеж к термину 25) | |
Хвостовик штампа Хвостовик | Деталь штампа для центрирования и (или) крепления верхней части штампа к ползуну пресса ![]() | |
Матрица штампа Матрица | Рабочий элемент штампа, охватывающий материал и (или) являющийся неподвижным (см. чертеж к термину 30) | |
Секция матрицы штампа Секция матрицы | Часть матрицы штампа, образующая в сочетании с другими секциями рабочий контур матрицы (см. чертеж к термину 39) | |
Секционная матрица штампа Секционная матрица | ![]() | |
Вставка штампа Вставка | Сменная часть рабочего элемента штампа (см. чертеж к термину 39) | |
Пуансон штампа Пуансон Ндп. Копир Шаблон Прошивник | ||
Секция пуансона штампа Секция пуансона | Часть пуансона штампа, образующая в сочетании с другими секциями пуансона рабочий контур пуансона (см. чертеж к термину 43) | |
Секционный пуансон штампа Секционный пуансон | ![]() | |
Пуансон-матрица штампа Пуансон-матрица | Рабочий элемент штампа, имеющий признаки пуансона и матрицы штампа (см. приложение 1 черт. 4) | |
Пуансонодержатель штампа Пуансонодержатель | Деталь штампа для центрирования и крепления пуансона и (или) пуансон-матрицы штампа (см. чертеж к термину 30) | |
Матрицедержатель штампа Матрицедержатель | Деталь штампа для центрирования и крепления матрицы штампа ![]() | |
Обойма штампа Обойма | Деталь штампа для взаимной фиксации секций матрицы, пуансона или пуансон-матрицы (см. чертеж к термину 43) | |
Подкладная плитка штампа Плитка | Деталь штампа для предохранения верхней и нижней плит штампа от деформации (см. чертеж к термину 30) | |
Направляющая планка штампа Планка | Деталь штампа для направления заготовки в штампе ![]() | |
Шаговый нож штампа Нож | Пуансон штампа, обеспечивающий точность подачи заготовок в виде полосы или ленты ![]() | |
Опорная планка штампа Опорная планка Ндп. Лоток | Деталь штампа, предохраняющая полосу или ленту от изгиба при подаче ее в рабочую зону штампа ![]() | |
Трафарет штампа Трафарет | Деталь штампа для ориентации штучных заготовок в штампе по контуру ![]() | |
Фиксатор штампа Фиксатор Ндп. Ловитель | Деталь штампа для центрирования по отверстиям заготовки в штампе ![]() | |
Упор штампа Упор | Деталь штампа для ограничения подачи заготовки в штампе (см. чертеж к термину 53) | |
Прижим штампа Прижим | Деталь штампа для прижатия штампуемой заготовки к рабочим поверхностям и (или) базам ![]() | |
Съемник штампа Съемник | Деталь штампа для съема изделия или отхода с пуансона или пуансон-матрицы штампа (см. чертеж к термину 30) | |
Выталкиватель штампа Выталкиватель | Деталь штампа для выталкивания изделия или отхода из полости матрицы или пуансон-матрицы штампа (см. приложение 1, черт. 4) | |
Толкатель штампа Толкатель | Деталь штампа для передачи усилия исполнительному механизму штампа (см. приложение 1, черт. 4) | |
Траверса штампа Траверса | Деталь штампа для распределения и передачи усилия толкателям штампа ![]() | |
Буфер штампа Буфер | Упругий элемент или узел штампа с упругим элементом, обеспечивающий необходимое усилие для прижима и (или) выталкивания штампуемой детали или заготовки ![]() | |
Противоотжим штампа Противоотжим | Деталь штампа для предохранения другой детали или части штампа от смещения или изгиба ![]() | |
Ограничитель штампа Ограничитель | Деталь штампа для ограничения хода подвижной части штампа ![]() | |
Отлипатель штампа Отлипатель | Деталь или узел штампа для исключения прилипания штампованных деталей или отхода ![]() | |
Сбрасыватель штампа Сбрасыватель Ндп. Выбрасыватель | Деталь или узел штампа для удаления штампованной детали или заготовки и (или) отхода из зоны штамповки | |
Перетяжное ребро Ндп. Тормозное ребро Тормозной порог | Деталь штампа для создания усилия торможения листовой заготовки при втягивании ее в матрицу штампа при вытяжке ![]() | |
Перетяжной порог штампа Перетяжной порог | Выступающая часть или отдельный элемент матрицы штампа, расположенные на ее вытяжной кромке и предназначенные для усиления торможения листовой заготовки при втягивании ее в матрицу при вытяжке | |
Блок | |
Блок универсальный | |
Блок штампа | |
Блок штампа с диагональным расположением направляющих узлов | |
Блок штампа с задним расположением направляющих узлов | |
Блок штампа с осевым расположением направляющих узлов | |
Блок штампа с симметричным расположением направляющих узлов | |
Блок штампа с угловым расположением направляющих узлов | |
Блок штампа с четырьмя направляющими узлами | |
Блок штампа универсальный | |
Буфер | |
Буфер штампа | |
Вставка | |
Вставка штампа | |
Втулка | |
Втулка штампа направляющая | |
Выбрасыватель | |
Выталкиватель | |
Выталкиватель штампа | |
Клин | |
Клин штампа | |
Колонка направляющая | |
Колонка штампа направляющая | |
Копир | |
Ловитель | |
Лоток | |
Матрица | |
Матрица штампа | |
Матрица штампа секционная | |
Матрицедержатель | |
Матрицедержатель штампа | |
Нож | |
Нож штампа шаговый | |
Обойма | |
Обойма штампа | |
Ограничитель | |
Ограничитель штампа | |
Отлипатель | |
Отлипатель штампа | |
Пакет | |
Пакет штампа | |
Пакет штампа со сменными рабочими элементами | |
Планка | |
Планка опорная | |
Планка штампа направляющая | |
Планка штампа опорная | |
Плита верхняя | |
Плита нижняя | |
Плита штампа верхняя | |
Плита штампа нижняя | |
Плитка | |
Плитка штампа подкладная | |
Ползушка | |
Ползушка штампа | |
Порог перетяжной | |
Порог тормозной | |
Порог штампа перетяжной | |
Прижим | |
Прижим штампа | |
Противоотжим | |
Противоотжим штампа | |
Прошивник | |
Пуансон | |
Пуансон штампа | |
Пуансон штампа секционный | |
Пуансонодержатель | |
Пуансонодержатель штампа | |
Пуансон-матрица | |
Пуансон-матрица штампа | |
Пуансон секционный | |
Ребро перетяжное | |
Ребро тормозное | |
Сбрасыватель | |
Сбрасыватель штампа | |
Секция матрицы | |
Секция матрицы штампа | |
Секция пуансона | |
Секция пуансона штампа | |
Съемник | |
Съемник штампа | |
Толкатель | |
Толкатель штампа | |
Траверса | |
Траверса штампа | |
Трафарет | |
Трафарет штампа | |
Узел качения направляющий | |
Узел качения штампа направляющий цилиндрический | |
Узел направляющий | |
Узел скольжения направляющий | |
Узел скольжения штампа направляющий цилиндрический | |
Узел штампа направляющий | |
Узел штампа направляющий плоский | |
Узел штампа направляющий цилиндрический | |
Упор | |
Упор штампа | |
Фиксатор | |
Фиксатор штампа | |
Хвостовик | |
Хвостовик штампа | |
Часть штампа верхняя | |
Часть штампа нижняя | |
Шаблон | |
Штамп | |
Штамп закрытый | |
Штамп неразборный | |
Штамп открытый | |
Штамп последовательного действия | |
Штамп простого действия | |
Штамп сборный | |
Штамп совмещенного действия | |
Штамп со сменным пакетом | |
Штамп со сменным сборным пакетом | |
Штамп со сменными рабочими элементами | |
Штамп специальный | |
Штамп специализированный | |
Штамп универсальный | |
Элемент рабочий | |
Элемент штампа рабочий |







По особенностям сборки | Универсальные | Специальные | ||
Простого действия | Последовательного действия | Совмещенного действия | ||
Сборный | Универсальнопереналаживаемый штамп для отрезки | Штамп простого действия для обрезки | Штамп для изготовления детали 243.01 | Штамп совмещенного действия для изготовления шайбы |
Неразборный | Универсальнопереналаживаемый штамп для отрезки | Штамп для первой вырубки | Штамп последовательного действия для пробивки и вырубки | Штамп для объемной штамповки |
Со сменными рабочими элементами | Универсальнопереналаживаемый штамп для гибки уголков | Штамп простого действия для пробивки отверстий | Штамп последовательного действия для листовой штамповки | Штамп совмещенного действия для изготовления прокладки |
Со сменным пакетом | Универсальнопереналаживаемый штамп для пробивки и вырубки | Штамп простого действия для высадки | Штамп для пробивки и отрезки | Штамп со сменным пакетом |
Со сменным сборным пакетом | Универсальнопереналаживаемый штамп для гибки полок | Штамп простого действия | Штамп последовательного действия | Штамп совмещенного действия для изготовления прокладки |
Термин | Определение |
Штамповочный ручей | Часть рабочего элемента штампа, непосредственно выполняющая разделение или формоизменение заготовки |
Штамповочный облой | Заранее предусмотренный технологический избыток металла, вытесненный за пределы штамповочного ручья |
Облойная канавка штампа | Часть рабочего элемента штампа для размещения облоя |
Штамповочный заусенец | Образовавшаяся на детали в результате штамповки заранее не предусмотренная кромка |