Главная // Актуальные документы // ГОСТ (Государственный стандарт)
СПРАВКА
Источник публикации
М.: Издательство стандартов, 1991
Примечание к документу
С 1 июля 2003 года до вступления в силу технических регламентов акты федеральных органов исполнительной власти в сфере технического регулирования носят рекомендательный характер и подлежат обязательному исполнению только в части, соответствующей целям, указанным в пункте 1 статьи 46 Федерального закона от 27.12.2002 N 184-ФЗ.

Документ введен в действие с 1 января 1992 года.
Название документа
"ГОСТ 28780-90. Государственный стандарт Союза ССР. Клеи полимерные. Термины и определения"
(утв. Постановлением Госстандарта СССР от 12.12.1990 N 3119)

"ГОСТ 28780-90. Государственный стандарт Союза ССР. Клеи полимерные. Термины и определения"
(утв. Постановлением Госстандарта СССР от 12.12.1990 N 3119)


Содержание


Утвержден и введен в действие
Постановлением Госстандарта СССР
от 12 декабря 1990 г. N 3119
ГОСУДАРСТВЕННЫЙ СТАНДАРТ СОЮЗА ССР
КЛЕИ ПОЛИМЕРНЫЕ
ТЕРМИНЫ И ОПРЕДЕЛЕНИЯ
Synthetic adhesives. Terms and definitions
ГОСТ 28780-90
Группа Л00
ОКСТУ 2201
Дата введения
1 января 1992 года
ИНФОРМАЦИОННЫЕ ДАННЫЕ
1. Разработан и внесен Министерством химической и нефтехимической промышленности СССР, НПО "Полимерклей".
Разработчики: С.С. Геворкян, Г.Б. Степанян, канд. техн. наук (руководитель темы), С.Б. Киракосян (руководитель темы), Р.З. Алексанян, канд. хим. наук, С.С. Никогосян.
2. Утвержден и введен в действие Постановлением Государственного комитета СССР по управлению качеством продукции и стандартам от 12.12.1990 N 3119.
3. Срок первой проверки 1997 г.
4. Стандарт соответствует международному стандарту ИСО 472-88 в части полимерных клеев.
5. Введен впервые.
Настоящий стандарт устанавливает термины и определения понятий, относящихся к полимерным клеям.
Термины, установленные настоящим стандартом, обязательны для применения во всех видах документации и литературы, входящих в сферу работ по стандартизации или использующих результаты этих работ.
1. Стандартизованные термины с определениями приведены в табл. 1.
2. Для каждого понятия установлен один стандартизованный термин. Применение терминов-синонимов стандартизованного термина не допускается. Недопустимые к применению термины-синонимы приведены в табл. 1 в качестве справочных и обозначены пометой "Ндп".
2.1. Для отдельных стандартизованных терминов в табл. 1 приведены в качестве справочных краткие формы, которые разрешается применять в случаях, исключающих возможность их различного толкования.
2.2. Приведенные определения можно при необходимости изменять, вводя в них производные признаки, раскрывая значения используемых в них терминов, указывая объекты, входящие в объем определяемого понятия. Изменения не должны нарушать объем и содержание понятий, определенных в данном стандарте.
2.3. В случаях, когда в термине содержатся все необходимые и достаточные признаки понятия, определение не приведено, и в графе "Определение" поставлен прочерк.
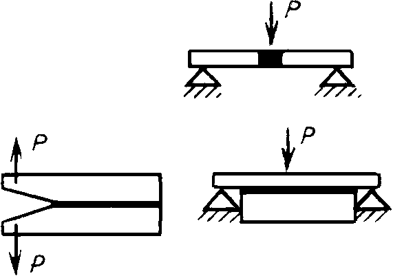
2.4. В табл. 1 к терминам 50, 51, 52, 53 и 54 приведены иллюстрации.
2.5. В табл. 1 в качестве справочных приведены иноязычные эквиваленты для ряда стандартизованных терминов на немецком (D), английском (E) и французском (F) языках.
3. Алфавитные указатели содержащихся в стандарте на русском языке и их иноязычных эквивалентов приведены в табл. 2 - 5.
4. Термины и определения общетехнических понятий, необходимые для понимания стандарта, приведены в справочном Приложении.
5. Стандартизованные термины набраны полужирным шрифтом, их краткая форма - светлым, а недопустимые синонимы - курсивом.
Таблица 1
Термин
Определение
ОБЩИЕ ПОНЯТИЯ
1. Полимерный клей
Клей
D. Leim
E. Adhesive
F. Adhesif
Полимер или полимер с различными ингредиентами, способный соединять материалы посредством адгезии и когезии
2. Склеиваемый материал
Ндп. Субстрат
D. 
E. Adherend
F. Substrat
Материал, который соединяется с другим материалом склеиванием
3. Поверхность склеивания
D. 
E. Bond line
Поверхность раздела между клеем и склеиваемым материалом
4. Обработка поверхности перед склеиванием
D. 
E. Surface preparation
Подготовка поверхности перед склеиванием, производимая физическими, химическими и механическими методами
5. Подложка для нанесения клея
Подложка
E. Substrate
F. Support
Составная часть изделия, служащая для нанесения клея
6. Клеевой слой
D. Klebschiecht
E. Adhesive layer
Клей, нанесенный на подложку
7. Клеевой подслой
D. Haftvermittler
E. Primer
F. Primaire
Клеевое покрытие, образованное на поверхности подложек, предшествующее нанесению клеевого слоя перед склеиванием, для повышения адгезии
8. Клеевое соединение
Ндп. Клеенное соединение
E. Adhesive joint, assembly,
bonding joint
Соединение частей изделия склеиванием
9. Клеевой шов
D. Klebfuge
E. Glue line
F. Joint de colle
Клеевой слой между поверхностями склеенных материалов
10. Прочность клеевого соединения
Прочность
D. Festigkeit
E. Bond strength
F. 
Разрушающее напряжение, определяемое приложенным усилием, приведенным к геометрическим размерам клеевого шва
11. Упаковка клея
E. Packing
Составляющие части клея, поставляемые отдельно и смешиваемые перед применением
12. Жизнеспособность клея
Жизнеспособность
Ндп. Срок хранения
D. Torfzeit
E. Working life, pot life
F. Vie on pot
Время, в течение которого клей, полученный смешением отдельных упаковок непосредственно перед применением, пригоден для нанесения и склеивания с заданными качественными показателями
13. Срок хранения клея
Срок хранения
D. 
E. Shelf life
F. Delai de conservation
Время, в течение которого клей или его отдельные упаковки сохраняет заданные качественные показатели
14. Время открытой выдержки клея
D. Wartezeit offen
E. Open time
F. Temps ouvert
Интервал времени от нанесения клея до соединения склеиваемых поверхностей в условиях окружающей среды
15. Массовая доля нелетучих веществ в клее
D. Feststoffgehalt
E. Solids content
Содержание нелетучих веществ, определенное после нагревания клея до постоянной массы
16. Время схватывания клея
D. Abbindezeit
E. Setting time
F. Temps de prise
Минимальное время, в течение которого образуется клеевое соединение
17. Отверждение клея
Отверждение
E. Cure
F. Durcissement
Изменение физико-химических свойств клея в клеевом соединении путем химической реакции полимеризации или поликонденсации под воздействием давления, тепла, облучения, химических добавок, направленное на достижение заданной прочности
18. Температура отверждения клея
E. Cure temperature
-
19. Время отверждения клея
E. Cure time
-
20. Затвердевание клея
Затвердевание
D. Abbindung
E. Setting
F. Prise de l'adhesif
Изменение агрегатного состояния клея переходом из жидкого в твердое под действием физических факторов, направленное на достижение заданной прочности
21. Температура затвердевания клея
E. Setting temperature
F. de durcisement
-
22. Время затвердевания клея
D. Abbindezeit
E. Setting time
-
23. Усадка клеевого шва
Усадка
E. Shrinkage
F. Retrait
Уменьшение объема клея после отверждения или затвердевания
24. Непроклей
E. Starved joint
Дефект клеевого шва, при котором недостаточное количество клея или его неравномерное нанесение не обеспечивает заданной прочности склеивания
25. Сушка клеевого слоя
D. Trocknen
E. Drying
F. 
Удаление летучих веществ из клеевого слоя при нагреве перед склеиванием
26. Температура сушки клеевого слоя
E. Drying temperature
F. de 
-
27. Время сушки клеевого слоя
E. Drying time
F. Temps de 
-
28. Компонент клея
D. Komponenten
E. Component
F. Composant
Исходное вещество для получения клея
29. Основа клея
F. de base
Полимеры или их смеси, придающие клею основные физико-химические свойства
ВИДЫ ПОЛИМЕРНЫХ КЛЕЕВ
30. Термопластичный клей
E. Thermoplastic adhesive
Клей, способный неоднократно размягчаться при нагревании и затвердевающий при охлаждении
31. Клей-расплав
D. Schmelzklebstoff
E. Hot-melt adhesive
Термопластичный клей, который переходит при нагревании в вязко-текучее состояние и обеспечивает склеивание при затвердевании путем охлаждения
32. Термореактивный клей
E. Thermosetting adhesive
Клей, способный необратимо подвергаться отверждению
33. Клей холодного отверждения
E. Cold-setting adhesive
F. Adhesif durcissable ambiante ( froid)
Клей, который отверждается без нагревания
34. Клей горячего отверждения
E. Hot-setting adhesive
F. durcissant chaud
Клей, который отверждается при нагревании
35. Контактный клей
D. Kontaktklebstoff
E. Contact adhesive
F. de contact
Клей, который образует клеевое соединение без длительного приложения давления
36. Липкий клей
D. Haftkleben
E. Pressure-sensitive adhesive
Клей, обладающий постоянной липкостью и мгновенно склеивающий при приложении давления
37. Липкая лента
E. Tape
Лента с нанесенным на нее липким клеем
38. Анаэробный клей
E. Anaerobic adhesive
F.  
Клей, который отверждается в отсутствие кислорода
39. Дисперсионный клей
D. Dispersionsklebstoff
E. Dispersion adhesive
F. en dispersion
Клей в виде диспергированных полимеров в жидкости
Примечание. Если дисперсионной средой является вода, то клей называется вододисперсионным.
40. Растворный клей
D. 
E. Solvent adhesive
F. liquide
Клей в виде раствора полимеров в летучей жидкости
Примечание. Если в качестве жидкости применяется вода, то клей называется водорастворимым.
41. Клей, активируемый растворителем
D. 
E. Solvent-activated adhesive
Клей, приобретающий способность склеивать перед использованием путем смачивания его поверхности растворителем
Примечание. В тех случаях, когда смачивание производится водой, клей называется водоактивируемым.
42. Термоактивируемый клей
E. Heat activated adhesive
Клей, приобретающий способность склеивать при нагревании
43. Капсулированный клей
E. Encapsulated adhesive
F.  
Клей, отдельные компоненты которого заключены в предохранительную оболочку во избежание преждевременного отверждения
44. Пленочный клей
D. Klebstoff-film
E. Film adhesive
F. en film
Отверждающийся клей в виде пленки
45. Вспенивающийся клей
E. Foaming adhesive
F. expansible
Клей, при применении обеспечивающий увеличение объема клеевого шва
46. Одноупаковочный клей
Ндп. Однокомпонентный клей
E. One-packed adhesive
F. monocomposant
-
47. Двухупаковочный клей
Ндп. Двухкомпонентный клей
E. Two-packed adhesive
F. deux composants
Клей, поставляемый двумя отдельными частями, которые смешиваются непосредственно перед употреблением
Примечание. При поставке клея более чем в двух частях, клей называется соответственно по количеству упаковок.
48. Клей-герметик
E. Gap-felling adhesive
Клей для герметизации швов и зазоров
49. Порошкообразный клей
E. Powder adhesive
F. en poudre
Сухой клей в виде измельченной смеси исходных компонентов
ВИДЫ ПРОЧНОСТИ КЛЕЕВЫХ СОЕДИНЕНИЙ
50. Прочность клеевого соединения при расслаивании
Прочность при расслаивании
E. Cleavage strength
F. au pelage
Разрушающая нагрузка клеевого соединения наложенных гибких подложек при приложении с одного конца растягивающего усилия перпендикулярно к плоскости подложек и приведенного к ширине клеевого шва
51. Прочность клеевого соединения при отслаивании
Прочность при отслаивании
E. Peel strength
F. au pelage
Разрушающая нагрузка клеевого соединения наложенных гибкой и жесткой подложек при приложении усилия под углом от 90° до 180° к продольной оси жесткой подложки и приведенная к ширине клеевого шва
52. Прочность клеевого соединения при сдвиге
Прочность при сдвиге
E. Longitudinal shear strength
F. au cisaillement
longitudinal
Разрушающее напряжение клеевого соединения внахлест при приложении усилия под углом 180° к плоскости клеевого шва и приведенное к площади
Примечание. Термин распространяется на клеевые соединения встык при кручении.
53. Прочность клеевого соединения при равномерном отрыве
Прочность при отрыве
E. Tensile uniform strength
F. la traction uniforme perpendiculaire
Разрушающее напряжение клеевого соединения встык при приложении растягивающего усилия перпендикулярно к плоскости клеевого шва и приведенное к его площади
54. Прочность клеевого соединения при неравномерном отрыве
Прочность при неравномерном отрыве
E. Tensile uneven strength
F. la traction non-uniforme perpendiculaire
Разрушающая нагрузка клеевого соединения встык при приложении изгибающего усилия по плоскости клеевого шва и приведенное к его ширине
АЛФАВИТНЫЙ УКАЗАТЕЛЬ ТЕРМИНОВ НА РУССКОМ ЯЗЫКЕ
Таблица 2
Термин
Номер термина
Время затвердевания клея
Время отверждения клея
Время сушки клеевого слоя
Время схватывания клея
Время открытой выдержки клея
Доля нелетучих веществ в клее массовая
Жизнеспособность
Жизнеспособность клея
Затвердевание
Затвердевание клея
Клей
Клей анаэробный
Клей, активируемый растворителем
Клей вспенивающийся
Клей горячего отверждения
Клей-герметик
Клей двухкомпонентный
Клей двухупаковочный
Клей дисперсионный
Клей контактный
Клей капсулированный
Клей липкий
Клей однокомпонентный
Клей одноупаковочный
Клей полимерный
Клей порошкообразный
Клей пленочный
Клей-расплав
Клей растворный
Клей термоактивируемый
Клей термопластичный
Клей термореактивный
Клей холодного отверждения
Компонент клея
Лента липкая
Материал склеиваемый
Непроклей
Обработка поверхности перед склеиванием
Основа клея
Отверждение
Отверждение клея
Поверхность склеивания
Подложка
Подложка для нанесения клея
Подслой клеевой
Прочность
Прочность клеевого соединения
Прочность при отрыве
Прочность клеевого соединения при равномерном отрыве
Прочность клеевого соединения при неравномерном отрыве
Прочность при неравномерном отрыве
Прочность клеевого соединения при расслаивании
Прочность при расслаивании
Прочность клеевого соединения при отслаивании
Прочность при отслаивании
Прочность клеевого соединения при сдвиге
Прочность при сдвиге
Слой клеевой
Соединение клеевое
Соединение клеенное
Срок хранения
Срок хранения клея
Субстрат
Сушка клеевого слоя
Температура затвердевания клея
Температура отверждения клея
Температура сушки клеевого слоя
Упаковка клея
Усадка
Усадка клеевого шва
Шов клеевой
АЛФАВИТНЫЙ УКАЗАТЕЛЬ ТЕРМИНОВ НА НЕМЕЦКОМ ЯЗЫКЕ
Таблица 3
Термин
Номер термина
Abbindezeit
Abbindung
Dispersionsklebstoff
Festigkeit
Festoffgehalt
Haftkleben
Haftvermittler
Klebfuge
Klebschiecht
Klebstoff-film
Komponenten
Kontaktklebstoff
Lagerbestandigkeit
Leim
Schmelzklebstoff
Torfzeit
Trocknen
Wartezeit offen
АЛФАВИТНЫЙ УКАЗАТЕЛЬ ТЕРМИНОВ НА АНГЛИЙСКОМ ЯЗЫКЕ
Таблица 4
Термин
Номер термина
Adherend
Adhesive
Adhesive joint
Adhesive layer
Anaerobic adhesive
Assembly
Bond line
Bond strength
Bonding joint
Cleavage strength
Cold-setting adhesive
Component
Contact adhesive
Cure
Cure temperature
Cure time
Dispersion adhesive
Drying
Drying temperature
Drying time
Encapsulated adhesive
Film adhesive
Foaming adhesive
Gap-felling adhesive
Glue line
Heat activated adhesive
Hot-melt adhesive
Hot-setting adhesive
Longitudinal shear strength
One-packed adhesive
Open time
Packing
Peel-strength
Pot life
Powder adhesive
Pressure-sensitive adhesive
Primer
Setting
Setting temperature
Setting time
Shelf life
Shrinkage
Solids content
Solvent-activated adhesive
Solvent adhesive
Starved joint
Substrate
Surface preparation
Tape
Tensile uneven strength
Tensile uniform strength
Thermoplastic adhesive
Thermosetting adhesive
Two-packed adhesive
Working life
АЛФАВИТНЫЙ УКАЗАТЕЛЬ ТЕРМИНОВ НА ФРАНЦУЗСКОМ ЯЗЫКЕ
Таблица 5
Термин
Номер термина
deux composants
anaerobic
de contact
durcissable ambiante ( froid)
durcissant chaud
 
en dispersion
en film
en poudre
expansible
liquide
monocomposant
Assemblage
Composant
de conservation
Durcissement
Joint de colle
de base
Primaire
Prise de 
la traction non-uniform perpendiculaire
la traction uniform perpendiculaire
au cisaillement longitudinal
au pelage
Retrait
Substrat
Support
de durcissement
de 
Temps de prise
Temps de 
Temps ouvert
Vie en pot
Приложение
Справочное
ТЕРМИНЫ И ОПРЕДЕЛЕНИЯ ОБЩЕТЕХНИЧЕСКИХ ПОНЯТИЙ,
ПРИМЕНЯЕМЫХ В СТАНДАРТЕ
Термин
Определение
1. Адгезия
Поверхностное явление, приводящее к сцеплению между приведенными в соприкосновение разнородными материалами под действием физико-химических сил
2. Когезия
Сцепление молекул внутри материала под действием сил притяжения
3. Слипание
Нежелательное склеивание материалов
4. Ингредиент клея
Составная часть клея, которая вводится для придания ему требуемых свойств и облегчения переработки
Примечание. Основными группами ингредиентов являются:
растворители,
отвердители,
наполнители,
пластификаторы,
стабилизаторы,
замедлители,
ускорители отверждения,
агенты липкости.
5. Соединения встык
Соединение, получаемое путем закрепления двух поверхностей, которые перпендикулярны основной поверхности соединяемых материалов
6. Соединение внахлест
Соединение, получаемое путем частичного наложения одного материала на другой и закрепления участка наложения
7. Антиадгезионный материал
Материал, который препятствует слипанию