Главная // Актуальные документы // ГОСТ (Государственный стандарт)СПРАВКА
Источник публикации
В данном виде документ опубликован не был.
Первоначальный текст документа опубликован в издании
М.: Издательство стандартов, 1985
Информацию о публикации документов, создающих данную редакцию, см. в справке к этим документам.
Примечание к документу
С 1 июля 2003 года до вступления в силу технических регламентов акты федеральных органов исполнительной власти в сфере технического регулирования носят рекомендательный характер и подлежат обязательному исполнению только в части, соответствующей целям, указанным в
пункте 1 статьи 46 Федерального закона от 27.12.2002 N 184-ФЗ.
Ограничение срока действия снято по Протоколу N 7-95 Межгосударственного Совета по стандартизации, метрологии и сертификации ("ИУС", N 11, 1995).
Изменение N 1, утв. Постановлением Госстандарта СССР от 26.06.1990 N 1848, введено в действие с 1 января 1991 года.
Название документа
"ГОСТ 26239.9-84. Государственный стандарт Союза ССР. Трихлорсилан. Метод определения хлористого метила, хлористого этила, бутана, изобутана, хлористого метилена, хлороформа, четыреххлористого углерода, метилдихлорсилана, метилтрихлорсилана, хлорметилметилсилана"
(утв. Постановлением Госстандарта СССР от 13.07.1984 N 2491)
(ред. от 26.06.1990)
"ГОСТ 26239.9-84. Государственный стандарт Союза ССР. Трихлорсилан. Метод определения хлористого метила, хлористого этила, бутана, изобутана, хлористого метилена, хлороформа, четыреххлористого углерода, метилдихлорсилана, метилтрихлорсилана, хлорметилметилсилана"
(утв. Постановлением Госстандарта СССР от 13.07.1984 N 2491)
(ред. от 26.06.1990)
Утвержден и введен в действие
Постановлением Госстандарта СССР
от 13 июля 1984 г. N 2491
ГОСУДАРСТВЕННЫЙ СТАНДАРТ СОЮЗА ССР
ТРИХЛОРСИЛАН
МЕТОД ОПРЕДЕЛЕНИЯ ХЛОРИСТОГО МЕТИЛА, ХЛОРИСТОГО ЭТИЛА,
БУТАНА, ИЗОБУТАНА, ХЛОРИСТОГО МЕТИЛЕНА, ХЛОРОФОРМА,
ЧЕТЫРЕХХЛОРИСТОГО УГЛЕРОДА, МЕТИЛДИХЛОРСИЛАНА,
МЕТИЛТРИХЛОРСИЛАНА, ХЛОРМЕТИЛМЕТИЛСИЛАНА
Trichlorsilane. Method of methyl chloride,
ethyl chloride, butane, isobutane, methylene,
chloroform, carbon tetrachloride, methyltrichlorsilane,
chlormethylmethylsilane determination
ГОСТ 26239.9-84
| | Список изменяющих документов Госстандарта СССР от 26.06.1990 N 1848) | |
Срок действия
с 1 января 1986 года
до 1 января 1991 года
Настоящий стандарт устанавливает газохроматографический метод определения компонентов в трихлорсилане в следующих интервалах значений массовых долей
-6
хлористого метила от 3 х 10 до 1%
-6
бутана от 1 х 10 до 1%
-6
изобутана от 1 х 10 до 1%
-6
хлористого этила от 2 х 10 до 1%
-5
хлористого метилена от 1 х 10 до 1%
-5
хлороформа от 1 х 10 до 1%
-4
четыреххлористого углерода от 2 х 10 до 1%
-5
метилдихлорсилана от 4 х 10 до 1%
-6
хлорметилметилсилана от 5 х 10 до 1%
-5
метилтрихлорсилана от 2 х 10 до 1%.
Метод основан на разделении компонентов смеси при их движении в потоке газа-носителя вдоль сорбента с последующей регистрацией хроматограммы с помощью пламенно-ионизационного детектора.
Массовую долю компонентов рассчитывают по площадям пиков на хроматограмме.
1.2. Высота h хроматографического пика должна быть измерена с погрешностью не более 1 мм, а ширина на половине высоты d - с погрешностью не более 0,5 мм.
2. АППАРАТУРА, МАТЕРИАЛЫ И РЕАКТИВЫ
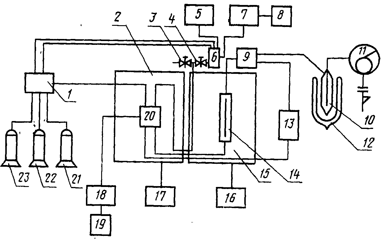
Хроматограф "Цвет-102" с детектором по теплопроводности, ионизационно-пламенным детектором, с системой осушки газа-носителя 13, вакуумной системой напуска 9, криогенной ловушкой 10, вакуумным насосом 11 и кранами из стекла и фторопласта 3, 4 (черт. 1).
Блок-схема хроматографической установки
1 - блок подготовки хроматографический БПХ-1; 2 - термостат
детектора по теплопроводности; 3, 4 - краны из стекла и
фторопласта; 5 - блок питания ионизационно-пламенного
детектора БПД-19; 6 - ионизационно-пламенный детектор;
7 - измеритель малых токов ИМТ-05; 8, 19 - автоматические
потенциометры КСП-4; 9 - вакуумная система напуска;
10 - криогенная ловушка; 11 - вакуумный насос;
12 - сосуд Дьюара; 13 - система осушки газа-носителя;
14 - хроматографическая колонка; 15 - термостат
хроматографической колонки; 16 - регулятор температуры
термостата хроматографической колонки РТ-09; 17 - регулятор
температуры термостата детектора по теплопроводности РТ-17;
18 - блок питания детектора по теплопроводности БПК-20;
20 - детектор по теплопроводности; 21 - аргоновый баллон
с редуктором; 22 - водородный баллон с редуктором;
23 - воздушный баллон с редуктором (детали 1, 2, 5, 6 - 8,
15 - 20 образуют хроматограф "Цвет-102").
Хроматограф выполнен из отдельных блоков, конструктивно не связанных между собой. Функциональные связи хроматографа приведены на черт. 1.
Регуляторами температуры термостатов хроматографической колонки и детектора по теплопроводности РТ-09 и РТ-17 16, 17 (черт. 1) осуществляется установка и автоматическая стабилизация необходимой температуры в термостатах. Диапазон рабочих температур регуляторов разбит на четыре поддиапазона: 0 - 100, 100 - 200, 200 - 300, 300 - 400 °С, чему соответствуют четыре положения переключателя на передней панели блоков, обозначенные 0, 100, 200, 300 соответственно. На передней панели блоков расположен потенциометр с лимбом, который служит для точной установки заданной температуры в пределах каждого поддиапазона и имеет шкалу от 0 до 100 °С. Заданная температура определяется суммированием положений переключателя и шкалы на лимбе потенциометра. Для включения блоков необходимо перевести кнопки с маркировкой "сеть" и "нагреватель", расположенные на передней панели блоков, в положение "включено" (положение "включено" - кнопка утоплена, положение "выключено" - кнопка отжата).
Блоком питания ионизационно-пламенного детектора БПД-19 5 (
черт. 1) осуществляется питание ионизационно-пламенного детектора 6 (
черт. 1), контроль температуры в термостатах и испарителе, установка и автоматическая стабилизация температуры испарителя.
Установку температуры испарителя производят потенциометром с лимбом, расположенным на передней панели блока. Блок включается кнопками с маркировкой "сеть" и "питание детекторов".
Измеритель малых токов ИМТ-05 7 (
черт. 1) используется для усиления сигналов ионизационно-пламенного детектора 6 (
черт. 1) и выдачи сигналов на автоматический потенциометр КСП-4 8 (
черт. 1). Измеритель малых токов ИМТ-05 включается кнопками "сеть" и "компенсация", расположенными на передней панели блока. При измерениях на уровне больших фоновых токов перед подачей сигнала (вводом пробы) необходимо ручкой "компенсация" скомпенсировать фоновый ток.
Блоком питания детектора по теплопроводности БПК-20 18 (
черт. 1) осуществляется питание детектора по теплопроводности 20 (
черт. 1), устанавливаются пределы измерения сигнала детектора и выдается сигнал на автоматический потенциометр КСП-4 19 (
черт. 1). Включают блок питания детектора по теплопроводности, убедившись в наличии расхода газа-носителя через детектор, кнопкой "сеть". При этом ручки установки тока "грубо" и "плавно", расположенные на передней панели блока, должны быть в крайнем левом положении. После включения блока устанавливают ручками "установка тока" ток питания детектора. Пределы измерения устанавливают с помощью переключателя с маркировкой "множитель шкалы".
Соединение блоков между собой и термостатами производят с помощью кабелей, имеющихся в комплекте запасных частей и принадлежностей (ЗИП) хроматографа.
Перед монтажом газовой части хроматографической установки готовят краны из стекла и фторопласта (черт. 2), криогенную ловушку (
черт. 3), байпасную систему вакуумной системы напуска (
черт. 4), систему осушки газа-носителя (
черт. 5), хроматографическую колонку (
черт. 6), а также готовят сорбент и заполняют им хроматографическую колонку.
Кран из стекла и фторопласта
а - шток; б - головка; в - втулка; г - контргайка;
д - тело крана; е - сборочный чертеж (детали а, б, в, г -
фторопласт-4, деталь д - молибденовое стекло)
Черт. 2
Криогенная ловушка (молибденовое стекло)
Вакуумная система напуска
1 - ампула с анализируемым образцом; 2 - вакуумметр;
3 - переход ковар-стекло; 4 - ампула с образцом сравнения;
5, 6, 7, 8, 10 - краны из стекла и фторопласта;
9 - дозирующий объем (детали 6, 7, 8, 10 составляют
байпасную систему)
Система осушки газа-носителя
1, 2, 3 - краны из стекла и фторопласта; 4 - ловушка
(молибденовое стекло); 5 - восстановленная окись меди
(гранулированная); 6 - фильтр из ткани Петрянова
Хроматографическая колонка (молибденовое стекло)
Для приготовления сорбента в стеклянный стакан наливают 100 см3 хлористого метилена и растворяют в нем 3 г полиметилсилоксанового каучука SE-30 (или Е-301). Затем в раствор всыпают 20 г хроматона N-AW с размерами зерен от 0,200 до 0,250 мм. Для удаления из полученной смеси растворителя в стакан направляют слабый поток воздуха (25 - 50 см3/мин) и периодически перемешивают стеклянной палочкой. Готовый сорбент должен обладать хорошей сыпучестью и не иметь запаха растворителя.
Перед тем как заполнять хроматографическую колонку сорбентом, в один из концов колонки вставляют пробку из стекловаты. Для предотвращения выдувания пробки и сорбента из колонки во время набивки и в дальнейшей эксплуатации с помощью горелки для стендовой пайки стекла сужают трубку - делают перетяжку. Этот конец колонки подсоединяют к вакуумному насосу, а в другой через воронку насыпают сорбент. Набивают колонку, по возможности, плотнее. После заполнения колонки пробки из стекловаты вставляют и во второй конец колонки.
Монтаж газовой части хроматографической установки начинают с блока подготовки хроматографического БПХ-1 1 (
черт. 1), с помощью которого осуществляется установка, регулирование и стабилизация расходов газа-носителя (аргона), водорода и воздуха. Для этого баллон с аргоном соединяют с входом 13 <*> блока, баллон с воздухом - с входом 15 <*> и баллон с водородом - с входом 9 <*>. Выходы 1 <*> водорода и 3 <*> воздуха соединяют с входом рабочей ячейки ионизационно-пламенного детектора, а газ-носитель (аргон) с выхода 6 <*> блока - с первой камерой детектора по теплопроводности. Соединения делают полиэтиленовыми трубками, имеющимися в ЗИП хроматографа.
-----------------------------------
<*> Номера соответствуют маркировке на задней панели блока БПХ-1.
Газовую часть хроматографической установки от системы осушки до ионизационно-пламенного детектора изготовляют цельнопаяной, применяя трубки из молибденового стекла и краны из стекла и фторопласта (
черт. 1 и
4). При этом конец хроматографической колонки с перетяжкой делают выходом, вакуумметр 2 (
черт. 4) присоединяют к вакуумной системе напуска с помощью перехода ковар-стекло 3 (
черт. 4).
Соединение детектора по теплопроводности со стеклянными трубками осуществляют с помощью переходов металл-стекло, имеющихся в ЗИП хроматографа.
Вакуумную систему напуска (
черт. 4) соединяют вакуумными шлангами с вакуумным насосом. Для предотвращения попадания паров трихлорсилана в вакуумный насос между насосом и системой напуска ставят криогенную ловушку 10 (
черт. 1), охлаждаемую жидким азотом.
После того, как смонтирована газовая часть хроматографической установки, устанавливают расходы газов, которые должны быть: газ-носитель (аргон) - (35 +/- 2) см
3/мин, водород - 30 см
3/мин, воздух - (300 +/- 20) см
3/мин. Для этого на входе блока БПХ-1 с помощью редукторов на баллонах устанавливают давление аргона, водорода, воздуха 0,5; 0,14; 0,25 МПа (5; 1,4; 2,5 кгс/см
2) соответственно. Необходимые расходы аргона, водорода и воздуха устанавливают ручками, расположенными на передней панели блока. Измерение расходов газов проводят с помощью мыльно-пенного расходомера. Мыльно-пенный расходомер собирают из деталей и принадлежностей, комплект которых (бюретка, держатели, кронштейны, трубки и др.) имеется в ЗИП термостата хроматографической колонки. Расходомер крепят на левой стороне термостата и заливают в него мыльный раствор. При измерении расхода водорода и воздуха расходомер подключают к газовым линиям непосредственно перед ячейкой ионизационно-пламенного детектора, при измерении расхода аргона - к крану 3 (
черт. 1). При этом должны быть открыты краны 1 и 2 системы осушки (
черт. 5), кран 7 вакуумной системы напуска (
черт. 4) и кран 3 (
черт. 1). Кран 3 системы осушки (
черт. 5), краны 6, 8 вакуумной системы напуска (
черт. 4) и кран 4 (
черт. 1) должны быть закрыты.
При определении расхода газа регистрируют время t, мин, за которое мыльная пленка вытесняется газом на определенный объем V, см3. Расход газа V, см3/мин, вычисляют по формуле

. (1)
(в ред.
Изменения N 1, утв. Постановлением Госстандарта СССР от 26.06.1990 N 1848)
Вакуумметр образцовый по ГОСТ 6521-72.
Вакуумный насос ВН-461 М или аналогичный.
Весы аналитические.
Переносная горелка для стендовой пайки стекла.
Секундомер по ГОСТ 5072-79.
Редуктор газовый баллонный ДКП-1-65, 2 шт.
Редуктор газовый баллонный ДВП-1-65.
Сосуд Дьюара.
(в ред.
Изменения N 1, утв. Постановлением Госстандарта СССР от 26.06.1990 N 1848)
Ампулы из молибденового стекла с кранами из стекла и фторопласта вместимостью 50 - 100 см3 (черт. 7).
Ампула с краном из стекла и фторопласта
(молибденовое стекло)
А - боковой отвод крана
(в ред.
Изменения N 1, утв. Постановлением Госстандарта СССР от 26.06.1990 N 1848)
Углерод четыреххлористый.
(в ред.
Изменения N 1, утв. Постановлением Госстандарта СССР от 26.06.1990 N 1848)
| | ИС МЕГАНОРМ: примечание. Взамен ГОСТ 20015-74 Постановлением Госстандарта СССР от 22.12.1988 N 4454 с 1 января 1991 года введен в действие ГОСТ 20015-88. | |
Хлороформ по ГОСТ 20015-74.
Этил хлористый по ГОСТ 2769-78, марки А.
Бутан, х.ч.
Изобутан, х.ч.
Метил хлористый с массовой долей основного компонента не менее 99%.
Метилдихлорсилан с массовой долей основного компонента не менее 99%.
Метилтрихлорсилан с массовой долей основного компонента не менее 99%.
Хлорметилметилсилан с массовой долей основного компонента не менее 99%.
Трихлорсилан с массовой долей основного компонента не менее 99,999%.
Трихлорсилан с массовой долей метилена хлористого не более

%.
3.1. Определение части пробы для анализа
Отбор части пробы для анализа проводят в ампулу из молибденового стекла с краном из стекла и фторопласта (
черт. 7), имеющую объем 50 - 100 см
3. Для этого ампулу вакуумируют до остаточного давления 10 Па (

мм рт. ст.). Затем к боковому отводу А крана ампулы (см.
черт. 7) припаивают трубку из молибденового стекла. Свободный конец трубки погружают в емкость с трихлорсиланом и открывают кран ампулы. При этом проба засасывается в вакуумированную ампулу. После этого кран закрывают и трихлорсилан, оставшийся в боковом отводе крана, удаляют вакуумированием.
Ампулу с пробой припаивают к вакуумной системе напуска в вертикальном положении краном вниз.
3.2. Приготовление образца сравнения
Образец сравнения готовят в ампуле из молибденового стекла с краном из стекла и фторопласта смешиванием трихлорсилана, содержащего не более

% хлористого метилена, с хлористым метиленом.
С этой целью ампулу откачивают вакуумным насосом до остаточного давления 10 Па (

мм рт. ст.) и закрывают кран ампулы. Ампулу отсоединяют от насоса и на аналитических весах определяют ее массу (

, г). В боковой отвод крана (A,
черт. 7) заливают около 0,5 см
3 хлористого метилена и кратковременным приоткрыванием крана вводят его в ампулу в количестве 0,02 - 0,05 см
3 (избегать попадания в ампулу воздуха).
Хлористый метилен, оставшийся в боковом отводе крана, сливают и удаляют вакуумированием. Взвешивают ампулу с введенным в нее хлористым метиленом (

, г).
Метилен хлористый в ампуле замораживают жидким азотом. Боковой отвод крана ампулы опускают в емкость с трихлорсиланом. Кран открывают и заполняют трихлорсиланом ампулу. Кран закрывают и трихлорсилан из бокового отвода удаляют вакуумированием. Ампулу со смесью взвешивают (М, г). Массовую долю хлористого метилена в смеси (

) в процентах вычисляют по формуле

. (2)
Ампулу с образцом сравнения припаивают к вакуумной системе напуска (
черт. 4) в вертикальном положении краном вниз. Образец сравнения годен неограниченное время (до полного израсходования).
3.3. Регенерация системы осушки газа-носителя
Для регенерации систему осушки газа-носителя краном 3 (
черт. 5) подсоединяют к вакуумному насосу и погружают в сосуд с теплой водой (50 - 60 °С). Кран 3 открывают и систему вакуумируют до остаточного давления 10 Па (

мм рт. ст.). После этого кран 3 закрывают, вынимают систему из воды и отсоединяют от вакуумного насоса. Регенерацию системы осушки газа-носителя проводят в начале каждой рабочей смены.
3.4. Порядок включения хроматографической установки
Прежде чем включить блоки прибора, систему осушки газа-носителя помещают в пары жидкого азота, налитого в сосуд Дьюара, и устанавливают потоки аргона, водорода и воздуха. Для этого открывают баллоны и редукторами на входе блока БПХ-1 (
черт. 1) устанавливают давления, указанные в
п. 2. Затем открывают последовательно краны 1 и 2 системы осушки (
черт. 5), кран 7 вакуумной системы напуска (
черт. 4) и кран 4 (
черт. 1). Краны 5, 6, 8, 10 вакуумной системы напуска (
черт. 4), кран 3 (
черт. 1) должны быть закрыты.
Включают блоки прибора в следующей последовательности: регуляторы температур термостатов РТ-09 и РТ-17 17 и 16 (
черт. 1) (температура в термостате детектора должна быть 150 °С), блок питания ионизационно-пламенного детектора БПД-19 5 (
черт. 1), измеритель малых токов ИМТ-05 7 (
черт. 1), блок питания детектора по теплопроводности БПК-20 18 (
черт. 1) (ток моста детектора должен быть 100 мА) и автоматические потенциометры КСП-4 (8 и 19 на
черт. 1).
После того, как блоки включены, зажигают пламя в ионизационно-пламенном детекторе. Зажигание пламени осуществляют нажатием кнопки "зажигание пламени", расположенной на боковой стенке термостата колонок. О зажигании пламени свидетельствует легкий хлопок в детекторе. Убедиться в наличии пламени можно по запотеванию зеркальца или полированного металлического предмета, поднесенного к выходному штуцеру детектора.
Затем устанавливают криогенную ловушку 10 (
черт. 1) и включают вакуумный насос 11 (
черт. 1).
3.5. Регенерация хроматографической колонки
Для новой хроматографической колонки перед проведением анализа проводится специальная подготовка. С этой целью устанавливают потоки аргона и воздуха в соответствии с
п. 3.4 (система осушки должна быть отрегенерирована по
п. 3.3), но кран 4 (
черт. 1) оставляют закрытым. Включают регуляторы температур термостата детектора 17 (
черт. 1) и термостата хроматографической колонки 16 (черт. 1). При этом температуру в термостате детектора устанавливают равной (150 +/- 1) °С, а в термостате хроматографической колонки (200 +/- 1) °С. В этих условиях хроматографическую колонку выдерживают в течение 4 - 5 ч. Затем закрывают кран 3 (
черт. 1), снижают температуру в термостате хроматографической колонки до (120 +/- 1) °С и продувают колонку аргоном в течение 7 - 8 ч.
4.1. После подготовки установки в соответствии с
пп. 3.3 и
3.5 хроматографическую установку выводят на следующий рабочий режим:
температура термостата хроматографической
колонки . . . . . . . . . . . . . . . . . . . . .(27 +/- 1) °С
температура термостата детектора
по теплопроводности . . . . . . . . . . . . . . .(150 +/- 1) °С
температура испарителя . . . . . . . . . . . (50 +/- 1) °С
ток питания детектора по теплопроводности . .(100 +/- 10) мА
расход газа-носителя (аргона) . . . . . . . .(35 +/- 2) см3/мин
расход водорода . . . . . . . . . . . . . . .(30 +/- 2) см3/мин
расход воздуха . . . . . . . . . . . . . . . (300 +/- 20) см3/мин
скорость протяжки ленты автоматических
потенциометров . . . . . . . . . . . . . . . . . 600 мм/ч.
4.2. Для ввода навески открывают краны 5 и 10 (
черт. 4). После достижения в вакуумной системе давления 10 Па (

мм рт. ст.) кран 5 (
черт. 4) закрывают. Приоткрыванием крана на ампуле с анализируемым образцом 1 (
черт. 4) в системе напуска по вакуумметру 2 (
черт. 4) устанавливают давление 50000 Па (375 мм рт. ст.). Закрывают кран 10 (
черт. 4), отсекающий дозирующий объем. Открывают кран 8 (
черт. 4), затем одновременно закрывают кран 7 и открывают кран 6 (
черт. 4) и сразу же включают секундомер. После этих действий аналитическая навеска оказывается введенной в хроматографическую колонку и начинается регистрация хроматограммы. Ниже под словами "регистрация хроматограммы", если не сделано специальной оговорки, понимается одновременная регистрация хроматограммы на автоматическом потенциометре 8 (
черт. 1), подключенном к ионизационно-пламенному детектору и на автоматическом потенциометре 19 (
черт. 1), подключенном к детектору по теплопроводности.
В процессе регистрации хроматограммы на ней фиксируют фактическое время удерживания (время от момента ввода аналитической навески в хроматографическую колонку до момента выхода максимума соответствующего хроматографического пика) и показатель шкалы потенциометра ИМТ-05, при котором этот пик записан на хроматограмме.
4.3. Регистрация каждого пика на хроматограмме должна быть проведена в таком положении переключателя потенциометра ИМТ-05 7 (
черт. 1), которое обеспечивает запись пика в оптимальном интервале шкалы автоматического потенциометра КСП-4.
С этой целью первую навеску используют для записи предварительной хроматограммы. При этой записи для каждого хроматографического пика подбирают такое положение переключателя потенциометра ИМТ-05, при котором высота хроматографического пика составляет от 40 до 100% шкалы автоматического потенциометра КСП-4.
4.4. В связи с тем, что попадание большого количества трихлорсилана в ионизационно-пламенный детектор ухудшает стабильность его работы, основную часть полосы трихлорсилана следует отводить мимо ионизационно-пламенного детектора, переключая краны 3 и 4 (
черт. 1). Время выхода трихлорсилана - момент переключения кранов - определяют с помощью детектора по теплопроводности и автоматического потенциометра 19 (
черт. 1). Краны переключают, когда на автоматическом потенциометре 19 (
черт. 1) начинает записываться пик, соответствующий трихлорсилану. После того, как этот автоматический потенциометр оканчивает запись пика трихлорсилана, краны 3 и 4 (
черт. 1) переключают в обратную сторону.
4.5. После записи предварительной хроматограммы краны возвращают в положения, указанные в
п. 3.4, и, повторяя операции, изложенные в
п. 4.2, вводят еще одну навеску пробы и регистрируют хроматограмму. Затем последовательно вводят еще две навески пробы и для каждой регистрируют хроматограмму. Три хроматограммы, зарегистрированные после предварительной, используют, как указано ниже, для получения первого, второго и третьего результатов параллельных определений - массовой доли каждого из определяемых компонентов в пробе.
4.6. Затем регистрируют хроматограммы образца сравнения. С этой целью краны возвращают в положения, указанные в
п. 3.4, и открывают краны 5 и 10 (
черт. 4). Ввод материала образца сравнения в хроматографическую колонку и регистрацию хроматограммы образца сравнения осуществляют аналогично вводу аналитической навески анализируемой пробы и регистрации его хроматограммы (
пп. 4.2;
4.3;
4.4), но в этом случае после того, как давление в вакуумной системе напуска достигает 10 Па (

мм рт. ст.) и закрыт кран 5 (
черт. 4), приоткрывают кран на ампуле с образцом сравнения 4 (
черт. 4). При этом давление в вакуумной системе напуска должно быть установлено 50000 Па (375 мм рт. ст.).
Получают сначала предварительную хроматограмму образца сравнения, как указано в
п. 4.3, а потом еще три хроматограммы.
Три хроматограммы образца сравнения, зарегистрированные после предварительной, используют при обработке результатов, как указано в п. 5.2.
4.7. Для идентификации (установление вещества, дающего каждый пик) необходимо знать время удерживания кислорода. Для этой цели регистрируется хроматограмма пробы воздуха.
При этом краны хроматографической установки возвращают в положения, приведенные в
п. 3.4, открывают краны 5 и 10 (
черт. 4). После достижения в вакуумной системе напуска давления 10 Па (

мм рт. ст.) кран 5 (
черт. 4) закрывают, снимают с бокового отвода А крана 5 (
черт. 4) вакуумный шланг, ведущий к вакуумному насосу, и, открыв кран 5 (черт. 4), в вакуумную систему напуска вводят воздух. Кран 5 (
черт. 4) закрывают, надевают на него вакуумный шланг. Затем закрывают кран 10 (
черт. 4), навеску воздуха согласно
п. 4.2 вводят в хроматографическую колонку и регистрируют хроматограмму. Фиксируется только пик, соответствующий кислороду.
5.1. Идентификацию хроматографических пиков проводят сравнением относительных времен удерживания, полученных экспериментально, с табличными значениями (
табл. 1). Экспериментальное значение относительного времени удерживания (

) для каждого из определяемых компонентов вычисляют по формуле

, (3)
где t - время удерживания компонента, найденное по хроматограмме, полученной с ионизационно-пламенным детектором, с;

- время удерживания трихлорсилана, найденное по хроматограмме, полученной с детектором по теплопроводности, с;

- время удерживания кислорода, найденное по хроматограмме, полученной с ионизационно-пламенным детектором, с;

- время удерживания кислорода, найденное по хроматограмме, полученной с детектором по теплопроводности, с.
Вещество | Относительное время удерживания |
Хлористый метил | 0,21 +/- 0,01 |
Изобутан | 0,27 +/- 0,01 |
Бутан | 0,39 +/- 0,01 |
Хлористый этил | 0,55 +/- 0,01 |
Хлорметилметилсилан | 0,85 +/- 0,01 |
Трихлорсилан | 1,00 +/- 0,02 |
Метилдихлорсилан | 1,21 +/- 0,02 |
Хлористый метилен | 1,33 +/- 0,03 |
Метилтрихлорсилан | 2,78 +/- 0,05 |
Хлороформ | 3,71 +/- 0,05 |
Четыреххлористый углерод | 5,0 +/- 0,1 |
5.2. Массовую долю i-го компонента (

) в пробе в процентах (каждый из трех результатов параллельных определений) вычисляют по формуле

, (4)
где

- коэффициент относительной чувствительности для i-го компонента (табл. 2), безразмерная величина;

- площадь хроматографического пика i-го компонента на хроматограмме, мм
2, найденная по одной из трех хроматограмм, полученных с ионизационно-пламенным детектором;
здесь

- высота (мм) этого хроматографического пика;

- ширина (мм) этого пика на половине его высоты;

- площадь хроматографического пика (мм
2) хлористого метилена в образце сравнения, вычисленная как среднее арифметическое трех значений

, найденных по трем хроматограммам образца сравнения, полученных с ионизационно-пламенным детектором;
здесь

- высота (мм);

- ширина на половине высоты (мм) хроматографического пика метилена хлористого, измеренные для одной из трех хроматограмм;

- массовая доля метилена хлористого в образце сравнения (
п. 3.2) в процентах;
| | ИС МЕГАНОРМ: примечание. В официальном тексте документа, видимо, допущена опечатка: п. 4.8 отсутствует. | |

,

- показатели шкалы потенциометра ИМТ-05 (например, 100 для шкалы

А) для i-го компонента (п. 4.8) и метилена хлористого (
п. 4.6) соответственно, безразмерные величины.
Таблица 2
Значения коэффициентов относительной чувствительности (КОЧ)
Вещество | КОЧ |
Хлористый метил | 0,71 |
Изобутан | 9,5 |
Бутан | 9,2 |
Хлористый этил | 4,5 |
Хлорметилметилсилан | 2,0 |
Метилдихлорсилан | 0,73 |
Хлористый метилен | 1,0 |
Метилтрихлорсилан | 0,48 |
Хлороформ | 0,57 |
Четыреххлористый углерод | 0,34 |
Результат анализа

в процентах вычисляют как среднее арифметическое трех результатов параллельных определений

. (5)
5.3. Разность наибольшего и наименьшего из трех результатов параллельных определений с доверительной вероятностью Р = 0,95 не должна превышать значений абсолютных допускаемых расхождений, приведенных в табл. 3.
Определяемый компонент | Массовая доля компонента, % | Абсолютное допускаемое расхождение, % |
Хлористый метил | 3·10-6 5·10-6 8·10-6 1·10-5 5·10-5 1·10-4 1·10-3 1·10-2 1·10-1 1 | 1,9·10-6 2,7·10-6 3,6·10-6 4,0·10-6 1,3·10-5 2,3·10-5 2,1·10-4 2,1·10-3 2,1·10-2 2,1·10-1 |
Изобутан | 1·10-6 2·10-6 5·10-6 7·10-6 1·10-5 5·10-5 1·10-4 1·10-3 1·10-2 1·10-1 1 | 6,7·10-7 1,2·10-6 2,2·10-6 2,5·10-6 2,8·10-6 1,3·10-5 2,4·10-5 2,4·10-4 2,4·10-3 2,4·10-2 2,4·10-1 |
Бутан | 1·10-6 2·10-6 5·10-6 7·10-6 1·10-5 5·10-5 1·10-4 1·10-3 1·10-2 1·10-1 1 | 6,7·10-7 1,2·10-6 2,2·10-6 2,5·10-6 2,8·10-6 1,3·10-5 2,4·10-5 2,4·10-4 2,4·10-3 2,4·10-2 2,4·10-1 |
Хлористый этил | 2·10-6 5·10-6 8·10-6 1·10-5 5·10-5 1·10-4 5·10-4 1·10-3 1·10-2 1·10-1 1 | 1,3·10-6 2,7·10-6 3,8·10-6 4,1·10-6 1,5·10-5 2,5·10-5 1,2·10-4 2,4·10-4 2,4·10-3 2,4·10-2 2,4·10-1 |
Хлористый метилен | 1·10-5 2·10-5 5·10-5 1·10-4 5·10-4 1·10-3 1·10-2 1·10-1 1 | 6,7·10-6 1,2·10-5 2,3·10-5 2,7·10-5 8,8·10-5 1,7·10-4 1,7·10-3 1,7·10-2 1,7·10-1 |
Хлорметилметилсилан | 5·10-6 8·10-6 1·10-5 5·10-5 1·10-4 5·10-4 1·10-3 1·10-2 1·10-1 1 | 3,3·10-6 4,1·10-6 4,2·10-6 1,6·10-5 2,8·10-5 1,3·10-4 2,2·10-4 2,2·10-3 1,2·10-2 2,2·10-1 |
Метилдихлорсилан | 4·10-5 5·10-5 8·10-5 1·10-4 5·10-4 1·10-3 1·10-2 1·10-1 1 | 3·10-5 3,2·10-5 3,2·10-5 3,3·10-5 1,2·10-4 1,9·10-4 1,9·10-3 1,9·10-2 1,9·10-1 |
Метилтрихлорсилан | 2·10-5 5·10-5 1·10-4 5·10-4 1·10-3 1·10-2 1·10-1 1 | 1,3·10-5 2,7·10-5 2,9·10-5 1,2·10-4 1,9·10-4 1,9·10-3 1,9·10-2 1,9·10-1 |
Хлороформ | 1·10-5 2·10-5 5·10-5 1·10-4 5·10-4 1·10-3 1·10-2 1·10-1 1 | 6,7·10-6 1,2·10-5 2,3·10-5 2,8·10-5 1,1·10-4 1,9·10-4 1,9·10-3 1,9·10-2 1,9·10-1 |
Четыреххлористый углерод | 2·10-4 5·10-4 1·10-3 5·10-3 1·10-2 1·10-1 1 | 1,3·10-4 2,7·10-4 2,9·10-4 1,2·10-3 2,1·10-3 2,1·10-2 2,1·10-1 |
5.4. Проверку правильности анализа осуществляют, анализируя синтетический образец с известной массовой долей определяемого компонента. Синтетический образец готовят аналогично образцу сравнения (
п. 3.2) смешиванием с трихлорсиланом одного или нескольких из перечисленных веществ: хлористый метил, бутан, изобутан, хлористый этил, метилен хлористый, хлороформ, четыреххлористый углерод, метилдихлорсилан, метилтрихлорсилан, хлорметилметилсилан.
Анализ считают правильным, если удовлетворяется условие

, (6)
где

- массовая доля i-го компонента в синтетическом образце, известная по процедуре его приготовления, %;

- экспериментально найденное значение массовой доли i-го компонента (результат анализа), %;

- абсолютное допускаемое расхождение результатов трех параллельных определений, взятое по
табл. 3 для массовой доли определяемого i-го компонента, равной

, %.
5.5. В случае попадания трихлорсилана в ионизационно-пламенный детектор или после 30 - 40 анализов этот детектор отключают, разбирают и промывают ватным тампоном, смоченным этиловым спиртом. После промывания детектора проводят проверку правильности работы установки.
Для контроля правильности работы установки анализируют образец сравнения, определяя в нем, как в пробе, массовую долю хлористого метилена (
пп. 4.2 -
4.6;
5.2). При этом в расчетную формулу
(4) подставляют численные значения

и

, полученные для этого образца сравнения ранее, когда не было оснований считать, что установка работает неправильно, значения

и

согласно
п. 5.2, где i-тый компонент пробы - хлористый метилен, и значение

, поясненное ниже. Установка работает правильно, если

, (7)
где

- экспериментально найденное значение массовой доли хлористого метилена в образце сравнения (результат анализа), %;

- массовая доля хлористого метилена в том же образце сравнения, известная по процедуре приготовления, %;

- допускаемое расхождение результатов трех параллельных определений (см.
табл. 3) для массовой доли хлористого метилена, равной

, %.