Главная // Актуальные документы // ГОСТ (Государственный стандарт)
СПРАВКА
Источник публикации
М.: Издательство стандартов, 1991
Примечание к документу
С 1 июля 2003 года до вступления в силу технических регламентов акты федеральных органов исполнительной власти в сфере технического регулирования носят рекомендательный характер и подлежат обязательному исполнению только в части, соответствующей целям, указанным в пункте 1 статьи 46 Федерального закона от 27.12.2002 г. N 184-ФЗ.

Введен в действие с 1 июля 1993 года.

Взамен ГОСТ 25394-82.
Название документа
"ГОСТ 25394-90 (СТ СЭВ 677-77). Пластины твердосплавные напаиваемые типа 50. Конструкция и размеры"
(утв. Постановлением Госстандарта СССР от 31.10.1990 N 2760)

"ГОСТ 25394-90 (СТ СЭВ 677-77). Пластины твердосплавные напаиваемые типа 50. Конструкция и размеры"
(утв. Постановлением Госстандарта СССР от 31.10.1990 N 2760)


Содержание


Утвержден и введен в действие
Постановлением Госстандарта СССР
от 31 октября 1990 г. N 2760
ГОСУДАРСТВЕННЫЙ СТАНДАРТ СОЮЗА ССР
ПЛАСТИНЫ ТВЕРДОСПЛАВНЫЕ НАПАИВАЕМЫЕ ТИПА 50
КОНСТРУКЦИЯ И РАЗМЕРЫ
Hard metal brazed tips, type 50. Design and dimensions
ГОСТ 25394-90
(CT СЭВ 677-77)
Группа В56
ОКП 19 6000
Дата введения
1 июля 1993 года
ИНФОРМАЦИОННЫЕ ДАННЫЕ
1. Разработан и внесен Министерством металлургии СССР.
Разработчики: Ю.А. Абрамов, канд. техн. наук; А.И. Скрипник, канд. техн. наук; Э.Ф. Эйхманс, канд. техн. наук; Е.Г. Степанов; Н.И. Литвинюк; Л.В. Мытарева.
2. Утвержден и введен в действие Постановлением Государственного комитета по управлению качеством продукции и стандартам от 31.10.1990 N 2760.
3. Срок проверки - 1999 г., периодичность проверки - 10 лет.
4. Взамен ГОСТ 25394-82.
5. Стандарт полностью соответствует СТ СЭВ 677-77.
6. Ссылочные нормативно-технические документы
───────────────────────────────────────────┬─────────────────────
Обозначение НТД, на который дана ссылка │ Номер пункта
───────────────────────────────────────────┼─────────────────────
ГОСТ 2209-90 │5
ГОСТ 25393-903
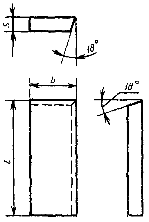
1. Настоящий стандарт распространяется на пластины для Т-образных фрез.
2. Конструкция и размеры пластин должны соответствовать указанным на чертеже и в табл. 1.
Исполнение 1
для обработки нижней части паза
--------------------------------
<*> Размер для пресс-форм.
Исполнение 2
для обработки верхней части паза
Таблица 1
Размеры в мм
───────────────┬────┬────┬────┬────┬───────────────┬──────────────
Обозначение │ l │ b │ s │ с │Дополнительное │Применение по
пластин │ │ │ │ │ применение │специальному
───────┬───────┤ │ │ │ │ │ заказу
Испол- │Испол- │ │ │ │ │ │
нение 1│нение 2│ │ │ │ │ │
───────┼───────┼────┼────┼────┼────┼───────────────┼──────────────
50191 │50202 │7,0 │5,0 │2,0 │- │N 2, N 4, N 8, │N 9, N 13
│ │ │ │ │ │N 10, N 11, │
│ │ │ │ │ │N 12 │
───────┼───────┼────┤ │ │ ├───────────────┼──────────────
50211 │50222 │9,0 │ │ │ │N 2, N 4, N 8, │N 9, N 13
│ │ │ │ │ │N 10, N 11, │
│ │ │ │ │ │N 12 │
───────┼───────┼────┼────┼────┤ ├───────────────┼──────────────
50231 │50242 │12,0│6,0 │2,5 │ │N 2, N 4, N 8, │N 9, N 13
│ │ │ │ │ │N 10, N 11, │
│ │ │ │ │ │N 12 │
───────┼───────┼────┼────┼────┼────┼───────────────┼──────────────
50251 │50262 │15,0│7,0 │3,0 │2,5 │N 2, N 4, N 8, │N 9, N 13
│ │ │ │ │ │N 10, N 11, │
│ │ │ │ │ │N 12 │
───────┼───────┼────┼────┼────┤ ├───────────────┼──────────────
50271 │50282 │18,0│8,0 │3,5 │ │N 2, N 4, N 8, │N 9, N 13
│ │ │ │ │ │N 10, N 11, │
│ │ │ │ │ │N 12 │
───────┼───────┼────┼────┤ │ ├───────────────┼──────────────
50291 │50302 │24,0│9,0 │ │ │N 2, N 4, N 8, │N 9, N 13
│ │ │ │ │ │N 10, N 11, │
│ │ │ │ │ │N 12 │
───────┼───────┼────┼────┼────┼────┼───────────────┼──────────────
50311 │50322 │28,0│10,0│4,0 │4,0 │N 2, N 4, N 8, │N 9, N 13
│ │ │ │ │ │N 10, N 11, │
│ │ │ │ │ │N 12 │
───────┼───────┼────┼────┼────┼────┼───────────────┼──────────────
50331 │50342 │32,0│12,0│4,5 │6,0 │N 2, N 4, N 8, │N 9, N 13
│ │ │ │ │ │N 10, N 11, │
│ │ │ │ │ │N 12 │
───────┼───────┼────┼────┼────┤ ├───────────────┼──────────────
50351 │50362 │36,0│14,0│5,0 │ │N 2, N 4, N 8, │N 9, N 13
│ │ │ │ │ │N 10, N 11, │
│ │ │ │ │ │N 12 │
3. Условное обозначение пластин - по ГОСТ 25393.
4. Ориентировочная масса пластин указана в справочном Приложении.
5. Технические требования - по ГОСТ 2209.
6. Применяемые марки сплавов: N 2 - Т15К6; N 4 - Т5К10; N 8 - ВК6-М; ВК6-ОМ; N 9 - ВК6; N 10 - ВК8; N 11 - ВК10-ХОМ; N 12 - ТТ20К9; N 13 - Т8К7.
Приложение
Справочное
Таблица 2
Ориентировочная масса пластин
─────────┬───────────────────────────────────────────────────────
Обозна- │ Ориентировочная масса пластин в г из твердого сплава
чение │ марок
пластин ├──────┬───────┬────────┬──────┬─────────┬──────┬───────
│Т15К6 │ Т5К10 │ВК6-ОМ, │ ВК8 │ВК10-ХОМ │ТТ20К9│ Т8К7
│ │ │ ВК6-М, │ │ │ │
│ │ │ ВК6 │ │ │ │
─────────┼──────┼───────┼────────┼──────┼─────────┼──────┼───────
50191 │0,79 │0,89 │1,04 │1,02 │1,03 │0,87 │0,91
─────────┼──────┼───────┼────────┼──────┼─────────┼──────┼───────
50211 │1,02 │1,15 │1,33 │1,31 │1,32 │1,12 │1,17
─────────┼──────┼───────┼────────┼──────┼─────────┼──────┼───────
50231 │2,04 │2,29 │2,66 │2,62 │2,64 │2,25 │2,34
─────────┼──────┼───────┼────────┼──────┼─────────┼──────┼───────
50251 │3,47 │3,90 │4,52 │4,46 │4,49 │3,82 │3,99
─────────┼──────┼───────┼────────┼──────┼─────────┼──────┼───────
50271 │5,05 │5,68 │6,59 │6,50 │6,55 │5,57 │5,81
─────────┼──────┼───────┼────────┼──────┼─────────┼──────┼───────
50291 │7,71 │8,66 │10,00 │9,92 │9,99 │8,49 │8,87
─────────┼──────┼───────┼────────┼──────┼─────────┼──────┼───────
50311 │11,10 │12,52 │14,50 │15,30 │14,40 │12,30 │12,80
─────────┼──────┼───────┼────────┼──────┼─────────┼──────┼───────
50331 │17,00 │19,10 │22,20 │21,90 │22,05 │17,80 │19,60
─────────┼──────┼───────┼────────┼──────┼─────────┼──────┼───────
50351 │25,30 │28,40 │33,00 │32,50 │32,73 │27,80 │29,10
─────────┼──────┼───────┼────────┼──────┼─────────┼──────┼───────
50202 │0,79 │0,89 │1,04 │1,02 │1,03 │0,87 │0,91
─────────┼──────┼───────┼────────┼──────┼─────────┼──────┼───────
50222 │1,02 │1,15 │1,33 │1,31 │1,32 │1,12 │1,17
─────────┼──────┼───────┼────────┼──────┼─────────┼──────┼───────
50242 │2,04 │2,29 │2,66 │2,62 │2,64 │2,25 │2,34
─────────┼──────┼───────┼────────┼──────┼─────────┼──────┼───────
50262 │3,57 │4,02 │4,66 │4,60 │4,63 │3,94 │4,11
─────────┼──────┼───────┼────────┼──────┼─────────┼──────┼───────
50282 │5,18 │5,82 │6,75 │6,66 │6,70 │5,70 │5,95
─────────┼──────┼───────┼────────┼──────┼─────────┼──────┼───────
50302 │7,83 │8,80 │10,20 │10,10 │10,17 │8,63 │9,01
─────────┼──────┼───────┼────────┼──────┼─────────┼──────┼───────
50322 │11,60 │13,02 │15,10 │14,90 │15,00 │12,80 │13,30
─────────┼──────┼───────┼────────┼──────┼─────────┼──────┼───────
50342 │18,00 │20,20 │23,40 │23,10 │23,26 │19,80 │20,70
─────────┼──────┼───────┼────────┼──────┼─────────┼──────┼───────
50362 │26,30 │29,50 │34,30 │33,80 │34,04 │29,00 │30,20