Главная // Актуальные документы // ГОСТ (Государственный стандарт)СПРАВКА
Источник публикации
М.: Стандартинформ, 2005
Примечание к документу
С 1 июля 2003 года до вступления в силу технических регламентов акты федеральных органов исполнительной власти в сфере технического регулирования носят рекомендательный характер и подлежат обязательному исполнению только в части, соответствующей целям, указанным в
пункте 1 статьи 46 Федерального закона от 27.12.2002 N 184-ФЗ.
Документ
введен в действие с 1 января 1987 года.
Взамен ГОСТ 19797-80.
Название документа
"ГОСТ 19797-85. Межгосударственный стандарт. Изоляторы керамические опорные на напряжение свыше 1000 В для работы в помещении. Типы, основные параметры и размеры"
(утв. и введен в действие Постановлением Госстандарта СССР от 28.10.1985 N 3455)
(ред. от 01.09.1990)
"ГОСТ 19797-85. Межгосударственный стандарт. Изоляторы керамические опорные на напряжение свыше 1000 В для работы в помещении. Типы, основные параметры и размеры"
(утв. и введен в действие Постановлением Госстандарта СССР от 28.10.1985 N 3455)
(ред. от 01.09.1990)
Утвержден и введен в действие
Постановлением Государственного
комитета СССР по стандартам
от 28 октября 1985 г. N 3455
МЕЖГОСУДАРСТВЕННЫЙ СТАНДАРТ
ИЗОЛЯТОРЫ КЕРАМИЧЕСКИЕ ОПОРНЫЕ НА НАПРЯЖЕНИЕ
СВЫШЕ 1000 В ДЛЯ РАБОТЫ В ПОМЕЩЕНИИ
ТИПЫ, ОСНОВНЫЕ ПАРАМЕТРЫ И РАЗМЕРЫ
Base ceramic indoor insulators for systems
with nominal voltage over 1000 V. Types, basic
parameters and dimensions
ГОСТ 19797-85
| | Список изменяющих документов (в ред. Изменения N 1, утв. в январе 1989 г., Изменения N 2, утв. в сентябре 1990 г.) | |
Дата введения
1 января 1987 года
ИНФОРМАЦИОННЫЕ ДАННЫЕ
1. РАЗРАБОТАН И ВНЕСЕН Министерством электротехнической промышленности
2. УТВЕРЖДЕН И ВВЕДЕН В ДЕЙСТВИЕ Постановлением Государственного комитета СССР по стандартам от 28.10.85 N 3455
3. Стандарт полностью соответствует СТ СЭВ 5021-85, международному стандарту МЭК 273-79
4. ВЗАМЕН ГОСТ 19797-80
5. ССЫЛОЧНЫЕ НОРМАТИВНО-ТЕХНИЧЕСКИЕ ДОКУМЕНТЫ
Обозначение НТД, на который дана ссылка | Номер раздела |
ГОСТ 9984-85 | |
| |
6. Ограничение срока действия снято по протоколу N 7-95 Межгосударственного совета по стандартизации, метрологии и сертификации (ИУС 11-95)
7. ИЗДАНИЕ с Изменениями N 1, 2, утвержденными в январе 1989 г., сентябре 1990 г. (ИУС 4-89, 12-90); Поправкой (ИУС 1-95)
1. Настоящий стандарт распространяется на опорные керамические армированные изоляторы климатического исполнения У, УХЛ, Т категории размещения 2, 3 по
ГОСТ 15150, предназначенные для изоляции и крепления токоведущих частей в электрических аппаратах и распределительных устройствах.
Настоящий стандарт устанавливает типы, основные параметры и размеры изоляторов, изготовленных для нужд народного хозяйства и экспорта.
Изоляторы должны соответствовать требованиям ГОСТ 9984
<*>.
--------------------------------
| | ИС МЕГАНОРМ: примечание. Взамен ГОСТ Р 52034-2003 Приказом Ростехрегулирования от 18.12.2008 N 585-ст с 1 января 2010 года введен в действие ГОСТ Р 52034-2008. | |
<*> На территории Российской Федерации действует ГОСТ Р 52034-2003.
Стандарт полностью соответствует СТ СЭВ 5021-85.
(Измененная редакция, Изм. N 1, 2).
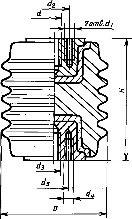
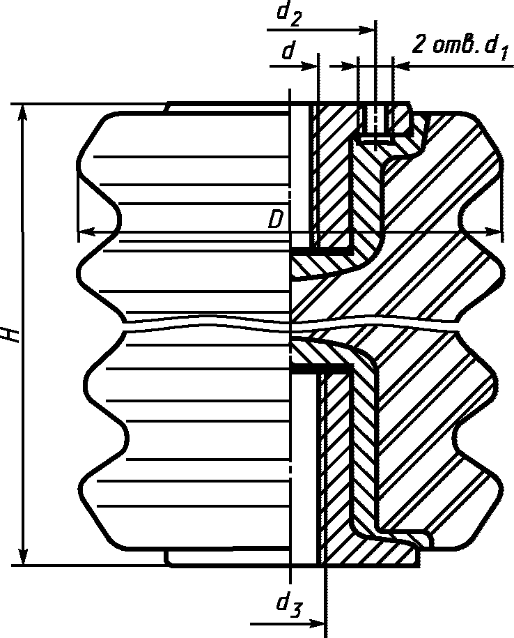
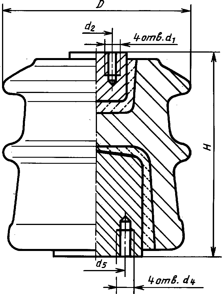
2. Типы, основные параметры, размеры и коды ОКП изоляторов должны соответствовать указанным на
черт. 1 -
3,
5,
6,
8 -
19 и в
таблице.
В условном обозначении вновь разрабатываемых типов изоляторов, основные параметры и размеры которых указаны на
черт. 1 и в
таблице, буквы и цифры означают:
И - изолятор;
4, 8, 16, 25 - минимальная разрушающая сила на изгиб (разрыв), кН;
80, 125, 170, 195 - испытательное напряжение грозового импульса, кВ;
УХЛ - климатическое исполнение;
3 - категория размещения.
Пример условного обозначения при заказе изолятора опорного армированного керамического с минимальной разрушающей силой на изгиб (разрыв) 4 кН, испытательным напряжением грозового импульса 80 кВ, климатического исполнения УХЛ, категории размещения 3:
И4-80 УХЛ3 ГОСТ 19797-85
В условном обозначении изоляторов, основные параметры и размеры которых указаны на
черт. 2 -
15 и в
таблице, буквы и цифры означают:
И - изолятор;
О - опорный;
Р - ребристый;
6, 10, 20, 35 - номинальное напряжение;
3,75; 7,50; 20,00; 30,00 - минимальная разрушающая сила на изгиб (разрыв), кН;
I, II, III - вариант исполнения;
У, УХЛ, Т - климатическое исполнение;
2, 3 - категория размещения.
Пример условного обозначения при заказе изолятора опорного армированного керамического на номинальное напряжение 10 кВ с минимальной разрушающей силой на изгиб (разрыв) 3,75 кН, климатического исполнения У, категории размещения 3:
ИО-10-3,75 У3 ГОСТ 19797-85
--------------------------------
<*> Черт. 4.
(Исключен, Поправка).
--------------------------------
<*> Черт. 7.
(Исключен, Поправка).
Черт. 9
Черт. 10
Черт. 11
Черт. 12
Черт. 13
Черт. 14
Черт. 16
Черт. 17
Черт. 18
Размеры в мм
Условное обозначение типа изолятора | Номер чертежа | Код ОКП | Номинальное напряжение, кВ | Наибольшее допустимое напряжение, кВ | Испытательное напряжение грозового импульса, кВ | Минимальная разрушающая сила на изгиб, кН | Высота изолятора, H | Номинальное значение максимального диаметра изолятора D | Установочные размеры | Масса, кг, не более |
P0 | P50 | Номин. | Пред. откл. | Верхняя арматура | Нижняя арматура |
d | d1 | d2 | d6 | d3 | d4 | d5 | d7 |
Номин. | Пред. откл. | Номин. | Пред. откл. |
И4-80 УХЛ3 | 1 | 34 9341 0082 | 10 | 12,0 | 80 | 4,00 | 2,90 | 130 | +/- 1 | 75 | М12 | М6 | 36 | +/- 0,5 | 60 | М16 | - | - | - | 70 | 1,40 |
И8-80 УХЛ3 | 34 9341 0083 | 8,00 | 5,80 | 100 | М16 | М10 | 46 | 70 | 95 | 2,20 |
И16-80 УХЛ3 | | 16,00 | 11,60 | 125 | 66 | 95 | М20 | 115 | |
И25-80 УХЛ3 | | 25,00 | 18,00 | 160 | 115 | 140 | |
И4-125 УХЛ3 | 34 9341 0084 | 20 | 24,0 (25,0) | 125 | 4,00 | 3,20 | 210 | 85 | М12 | М6 | 36 | 60 | М16 | 80 | 2,50 |
И8-125 УХЛ3 | 34 9341 0085 | 8,00 | 6,45 | 125 | М16 | М10 | 46 | 70 | М20 | 115 | 5,40 |
И16-125 УХЛ3 | | 16,00 | 13,00 | 140 | 66 | 95 | 130 | |
И25-125 УХЛ3 | 34 9341 0088 | 25,00 | 20,00 | 170 | 115 | М24 | 150 | 13,50 |
И4-170 УХЛ3 | | 30 | 36,0 | 170 | 4,00 | 3,40 | 300 | 105 | М12 | М6 | 36 | 60 | М16 | 100 | |
И8-170 УХЛ3 | | 8,00 | 6,85 | 130 | М16 | М10 | 46 | 70 | М24 | 120 | |
И4-195 УХЛ3 | 34 9341 0086 | 35 | 40,5 | 195 | 4,00 | 3,50 | 355 | 115 | М12 | М6 | 36 | 60 | М16 | 100 | 7,00 |
И8-195 УХЛ3 | 34 9341 0087 | 8,00 | 7,00 | 145 | М16 | М10 | 46 | 70 | М24 | 120 | 11,50 |
И4-60 УХЛ, Т2 | 16 | 34 9341 0098 | 6 | 7,2 | 60 | 4,00 | 2,70 | 95 | 90 | М12 | М6 | 36 | - | М16 | - | 1,20 |
| 5 | 34 9341 0099 | 8,70 | +/- 2 | 85 | - | М8 | 18 | М12 |
И4-80 УХЛ, Т2 | 16 | 34 9341 0101 | 10 | 12,0 | 80 | 2,90 | 130 | +/- 1 | 105 | М12 | М6 | 36 | М16 | 2,20 |
И4-80 I УХЛ, Т2 | 5 | 34 9341 0102 | 120 | +/- 2 | - | М8 | 18 | М12 | 2,10 |
И4-80 II УХЛ, Т2 | 17 | 34 9341 0109 | 96 | 1,70 |
И8-80 УХЛ, Т2 | 16 | 34 9341 0103 | 8,00 | 5,80 | 130 | +/- 1 | 110 | М16 | М10 | 46 | М16 | 2,75 |
И8-80 I УХЛ, Т2 | 5 | 34 9341 0104 | 124 | +/- 2 | - | 23 |
И16-80 УХЛ, Т2 | 16 | 34 9341 0105 | 16,00 | 11,60 | 130 | +/- 1 | 125 | М16 | М12 | 66 | М20 | М12 | 40 | +/- 0,5 | 4,00 |
И16-80 I УХЛ, Т2 | 18 | 34 9341 0106 | +/- 2 | 140 | - | 25 | - | 5,40 |
И8-125 УХЛ, Т2 | 16 | 34 9341 0107 | 20 | 24,0 (25,0) | 125 | 8,00 | 6,45 | 210 | +/- 1 | 130 | М16 | М10 | 46 | М20 | - | - | - | 6,60 |
И8-125 I УХЛ, Т2 | 19 | 34 9341 0108 | +/- 2 | М24 | - | - | - | М24 | 6,20 |
| 2 | 34 9341 0005 | 6 | 7,2 | 60 | 3,75 | - | 100 | 77 | М10 | М12 | 1,10 |
| 3 | 34 9341 0065 | - | М8 | 18 | +/- 0,5 | 1,20 |
ИОР-6-3,75 УХЛ, Т2 | 5 | 34 9341 0052 | 84 |
| 2 | 34 9341 0010 | 10 | 12,0 | 80 | 120 | 82 | М10 | - | - | - | 1,50 |
| 3 | 34 9341 0066 | - | М8 | 18 | +/- 0,5 |
ИОР-10-7,50 II УХЛ, Т2 | 5 | 34 9341 0080 | 7,50 | 112 | М10 | 23 | М16 | 3,00 |
ИОР-10-7,50 III УХЛ, Т2 <*4> | 6 | 34 9341 0028 | 115 | М16 | М8 | 30 | М8 | 30 | +/-0,5 | 3,40 |
ИОР-10-20,00 УХЛ, Т2 | 8 | 34 9341 0032 | 20,00 | 134 | 170 | - | М12 | 25 | - | М12 | 40 | 7,20 |
ИОР-10-30,00 УХЛ, Т2 | 9 | 34 9341 0033 | 30,00 | 150 | 200 | 11,00 |
| 3 | 34 9341 0017 | 20 | 24,0 (25,0) | 125 | 3,75 | 210 | 110 | М10 | 23 | М12 | - | - | - | 4,90 |
| 10 | 34 9341 0048 | 146 | 6,00 |
ИОР-20-7,50 У, Т3 | 11 | 34 9341 0036 | 7,50 | 160 | 160 | М24 | - | - | - | М24 | 6,90 |
ИО-20-30,00 У3 | 12 | 34 9341 0019 | 30,00 | 206 | 186 | - | М12 | 40 | +/- 0,5 | - | М16 | 65 | +/- 0,5 | 13,80 |
ИОР-20-30,00 УХЛ, Т2 | 13 | 34 9341 0049 | 206 | 15,90 |
| 14 | 34 9341 0022 | 35 | 40,5 | 195 | 3,75 | 372 | 110 | М10 | 23 | М16 | - | - | - | 7,70 |
| 15 | 34 9341 0042 | 148 | 12,50 |
ИО-35-7,50 У3 | 14 | 34 9341 0024 | 7,50 | 140 | 11,00 |
ИОР-35-7,50 УХЛ, Т2 | 15 | 34 9341 0043 | 148 | 12,00 |
--------------------------------
<*> Допускается вариант отверстий
d1 = М6 по согласованию между изготовителем и потребителем.
<**> Изолятор допускается армировать системой "болт-болт" или "болт-вставка" (диаметр М8, М10).
<***> Допускается изготавливать изолятор высотой (100 +/- 2) мм.
<*4> Допускается изготавливать изолятор с глубиной нарезки резьбы центральных отверстий 28 мм.
Примечания:
1. P0 - минимальная разрушающая сила на изгиб, кН, прикладываемая к верхней поверхности изолятора;
P50 - минимальная разрушающая сила на изгиб, кН, прикладываемая на расстоянии 50 мм над верхней поверхностью изолятора.
2. Глубина нарезки резьбы должна быть не менее:
- для чугунной арматуры - 1,5d;
- для алюминиевой арматуры - 2,0d.
(Измененная редакция, Изм. N 1, 2; Поправка).