Главная // Актуальные документы // ГОСТ (Государственный стандарт)СПРАВКА
Источник публикации
М.: Издательство стандартов, 1990
Примечание к документу
С 1 июля 2003 года до вступления в силу технических регламентов акты федеральных органов исполнительной власти в сфере технического регулирования носят рекомендательный характер и подлежат обязательному исполнению только в части, соответствующей целям, указанным в
пункте 1 статьи 46 Федерального закона от 27.12.2002 N 184-ФЗ.
Текст документа приведен с учетом
поправки, опубликованной в "ИУС", N 8, 1991.
Документ
введен в действие с 1 января 1992 года.
Название документа
"ГОСТ 13623-90. Государственный стандарт Союза ССР. Профили прессованные прямоугольные равнополочного швеллерного сечения из алюминиевых и магниевых сплавов. Сортамент"
(утв. и введен в действие Постановлением Госстандарта СССР от 29.12.1990 N 3689)
"ГОСТ 13623-90. Государственный стандарт Союза ССР. Профили прессованные прямоугольные равнополочного швеллерного сечения из алюминиевых и магниевых сплавов. Сортамент"
(утв. и введен в действие Постановлением Госстандарта СССР от 29.12.1990 N 3689)
Утвержден и введен в действие
Постановлением Государственного
комитета СССР по управлению
качеством продукции и стандартам
от 29 декабря 1990 г. N 3689
ГОСУДАРСТВЕННЫЙ СТАНДАРТ СОЮЗА ССР
ПРОФИЛИ ПРЕССОВАННЫЕ ПРЯМОУГОЛЬНЫЕ РАВНОПОЛОЧНОГО
ШВЕЛЛЕРНОГО СЕЧЕНИЯ ИЗ АЛЮМИНИЕВЫХ И МАГНИЕВЫХ СПЛАВОВ
СОРТАМЕНТ
Extruded rectangular equishelf channel-section shapes
of aluminium and magnesium alloys.
Dimensions
ГОСТ 13623-90
Дата введения
1 января 1992 года
1. Разработан и внесен Министерством авиационной промышленности СССР.
Разработчики: Г.С. Макаров, В.Ф. Николаев, Е.В. Маркова.
2. Утвержден и введен в действие Постановлением Государственного комитета СССР по управлению качеством продукции и стандартам от 29.12.90 N 3689.
4. Ссылочные нормативно-технические документы
─────────────────────────────────────┬─────────────────────────────────────
Обозначение НТД, на который │ Номер пункта
дана ссылка │
─────────────────────────────────────┼─────────────────────────────────────
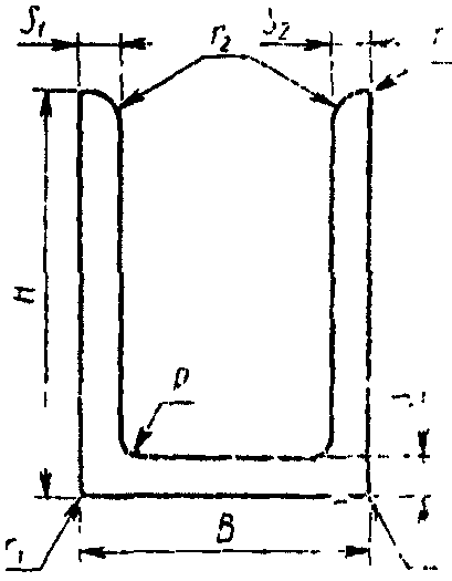
Настоящий стандарт устанавливает сортамент прессованных прямоугольных профилей швеллерного сечения из алюминия, алюминиевых и магниевых сплавов, изготавливаемых методом горячего прессования.
1. Номера профилей и их размеры должны соответствовать приведенным на чертеже и в табл. 1.
Таблица 1
──────┬──────────────────────────────────────┬───────┬───────┬───────────────
Номер │ Размеры, мм │Площадь│Диаметр│ Теоретическая
профи-│ │сече- │описан-│ масса 1 м, кг
ля ├────┬─────┬─────┬─────┬─────┬────┬────┤ния, │ной ок-├───────┬───────
│ H │ B │ S │ S │ S │ R │ r │см2 │ружнос-│Алюми- │Магни-
│ │ │ │ 1 │ 2 │ │ 1 │ │ти, мм │ниевый │евый
│ │ │ │ │ │ │ │ │ │сплав │сплав
──────┼────┼─────┼─────┼─────┼─────┼────┼────┼───────┼───────┼───────┼───────
440001│3 │20 │ 2,5 │ 2 │ 5 │ - │ - │ 0,535│ 20,224│ 0,152│ 0,096
440002│3 │62 │ 1,2 │ 1,2 │ 1,2 │1,5 │ 2,7│ 0,766│ 62,073│ 0,218│ 0,138
440534│3 │31 │ 1,5 │ 1,5 │ 1,5 │1,5 │ 3 │ 0,481│ 31,145│ 0,137│ 0,087
440535│3 │32 │ 1,5 │ 1,5 │ 1,5 │1 │ 0,5│ 0,528│ 32,140│ 0,151│ 0,095
440005│4 │20 │ 2 │ 7 │ 7 │ - │ - │ 0,680│ 20,396│ 0,194│ 0,122
440006│4 │39 │ 2 │ 1,5 │ 1,5 │ - │ 0,5│ 0,839│ 39,205│ 0,239│ 0,151
440007│4 │43 │ 2,5 │ 2 │ 2 │1 │ - │ 1,139│ 43,186│ 0,325│ 0,205
440008│4,5 │15 │ 1,2 │ 1,2 │ 1,2 │0,5 │ 0,2│ 0,260│ 15,660│ 0,074│ 0,047
440538│5 │23,9 │ 1,2 │ 1,2 │ 1,2 │0,5 │ - │ 0,379│ 24,417│ 0,108│ 0,068
440009│5 │24,9 │ 1,2 │ 1,2 │ 1,2 │0,5 │ - │ 0,391│ 25,397│ 0,111│ 0,070
440010│5 │25 │ 1,5 │ 1,5 │ 1,5 │2 │ - │ 0,497│ 25,495│ 0,142│ 0,089
440011│5 │60 │ 2,5 │10 │10 │3 │ 2 │ 2,021│ 60,208│ 0,576│ 0,364
440537│5 │13 │ 1 │ 1 │ 1 │0,5 │ - │ 0,211│ 13,928│ 0,060│ 0,038
440540│4 │29,4 │ 1,2 │ 1,2 │ 1,2 │0,5 │ 1 │ 0,441│ 29,822│ 0,126│ 0,079
440539│5 │27 │ 2 │ 2 │ 2 │ - │ 1 │ 0,656│ 27,459│ 0,187│ 0,118
440536│5 │48 │ 2 │13 │13 │1 │ - │ 1,744│ 48,260│ 0,497│ 0,314
440013│6 │12 │ 2 │ 2 │ 2 │0,5 │ - │ 0,401│ 13,416│ 0,114│ 0,072
440014│6 │16,5 │ 1,5 │ 1,2 │ 1,2 │0,5 │ - │ 0,357│ 17,557│ 0,102│ 0,064
440015│6 │18 │ 2 │ 2 │ 2 │ - │ 2 │ 0,503│ 18,974│ 0,143│ 0,091
440016│6 │20 │ 2 │ 2 │ 2 │1 │ 1 │ 0,560│ 20,881│ 0,160│ 0,101
440018│6 │25 │ 1 │ 1 │ 1 │2 │ 0,2│ 0,367│ 25,710│ 0,105│ 0,066
440021│6 │70 │ 3 │ 2 │ 2 │ - │ - │ 2,220│ 70,257│ 0,633│ 0,400
440542│6 │30 │ 1,5 │ 1,5 │ 1,5 │2 │ - │ 0,602│ 30,594│ 0,172│ 0,108
440543│6,5 │36 │ 4 │ 7 │ 7 │1,5 │ 1,5│ 1,800│ 36,582│ 0,513│ 0,323
440022│7 │20 │ 3 │ 4 │ 4 │ - │ - │ 0,920│ 21,190│ 0,262│ 0,166
440023│7 │25,4 │ 1,2 │ 1,2 │ 1,2 │1,5 │ 1,5│ 0,444│ 26,347│ 0,127│ 0,080
440024│7 │34,4 │ 1,2 │ 1,2 │ 1,2 │1,5 │ 1,5│ 0,552│ 35,105│ 0,157│ 0,099
440544│7 │70 │ 4 │ 6 │ 6 │1 │ 1 │ 3,160│ 70,349│ 0,901│ 0,569
440027│8 │14 │ 6 │ 4 │ 4 │2 │ 1 │ 1,013│ 16,125│ 0,289│ 0,182
440028│8 │29 │ 4 │ 4 │ 4 │1 │ 2 │ 1,467│ 30,083│ 0,418│ 0,264
440029│8 │40 │ 2 │ 2 │ 2 │2 │ 0,5│ 1,056│ 40,792│ 0,301│ 0,190
440547│8 │28 │ 3 │ 3 │ 3 │1 │ 0,5│ 1,143│ 29,120│ 0,326│ 0,206
440545│8 │20 │ 3,3 │ 3 │10 │ - │ - │ 1,271│ 21,541│ 0,362│ 0,229
440548│8 │32 │ 4 │ 5 │ 5 │0,5 │ 0,5│ 1,680│ 32,985│ 0,479│ 0,302
440550│8 │80 │ 3 │ 3 │ 3 │0,5 │ 0,5│ 2,700│ 80,399│ 0,770│ 0,486
440549│8 │45 │ 3 │ 3 │ 3 │0,5 │ 0,5│ 1,650│ 45,706│ 0,470│ 0,297
440030│8,5 │8,5 │ 2,5 │ 2 │ 2 │ - │ - │ 0,452│ 12,021│ 0,129│ 0,081
440031│9 │11,5 │ 1,5 │ 1,5 │ 1,5 │1,5 │ 0,5│ 0,406│ 14,603│ 0,116│ 0,073
440032│9 │16 │ 2 │ 2 │ 2 │ - │ - │ 0,600│ 18,358│ 0,171│ 0,108
440033│9 │28 │ 1,5 │ 1,5 │ 1,5 │3 │ - │ 0,684│ 29,411│ 0,195│ 0,123
440034│9 │30 │ 1,5 │ 1,5 │ 1,5 │2 │ 0,7│ 0,690│ 31,321│ 0,197│ 0,124
440035│9 │30 │ 3,5 │10 │10 │0,5 │ 0,5│ 2,150│ 31,321│ 0,613│ 0,387
440036│9 │54 │ 4 │17 │17 │2 │ 0,5│ 3,876│ 54,745│ 1,105│ 0,698
440037│9,5 │22 │ 1,6 │ 1,6 │ 1,6 │1,6 │ - │ 0,616│ 23,964│ 0,175│ 0,111
440551│9,5 │16 │ 1,5 │ 1,5 │ 1,5 │ - │ - │ 0,480│ 18,608│ 0,137│ 0,086
440038│10 │8 │ 1,5 │ 1,5 │ 1,5 │1 │ 2 │ 0,362│ 12,806│ 0,103│ 0,065
440039│10 │15 │ 1 │ 1 │ 1 │0,5 │ - │ 0,331│ 18,028│ 0,094│ 0,060
440040│10 │20 │ 2 │ 2 │ 2 │0,5 │ 0,5│ 0,720│ 22,361│ 0,205│ 0,130
440041│10 │20 │ 6,5 │ 5 │ 5 │0,5 │ 0,5│ 1,650│ 22,361│ 0,470│ 0,297
440042│10 │22,7 │ 5 │ 5,2 │ 8 │2 │ 0,5│ 1,811│ 24,805│ 0,516│ 0,326
440043│10 │25,5 │ 1,5 │ 1,5 │ 1,5 │2 │ 3,5│ 0,602│ 27,391│ 0,172│ 0,108
440044│10 │27 │ 5 │ 6 │ 8 │2 │ 0,5│ 2,066│ 28,792│ 0,589│ 0,372
440046│10 │50 │ 2,5 │ 2,5 │ 2,5 │0,5 │ 0,5│ 1,625│ 50,990│ 0,463│ 0,293
440048│10 │58 │ 3 │10,5 │10,5 │0,5 │ 0,5│ 3,210│ 58,856│ 0,915│ 0,578
440049│10 │60 │ 4 │ 4 │ 4 │ - │ - │ 2,880│ 60,828│ 0,821│ 0,518
440050│10 │68 │ 3 │10 │10 │0,5 │ 0,5│ 3,440│ 68,731│ 0,980│ 0,619
440051│10 │80 │ 3 │ 3 │ 3 │1,5 │ 0,5│ 2,829│ 80,623│ 0,806│ 0,509
440052│10 │100 │ 3 │ 3 │ 3 │1,5 │ 0,5│ 3,429│100,499│ 0,977│ 0,617
440554│10 │35 │ 1,5 │ 1,5 │ 1,5 │2 │ - │ 0,797│ 36,401│ 0,227│ 0,143
440557│10 │50 │ 1,5 │ 1,5 │ 1,5 │2 │ - │ 1,022│ 50,990│ 0,291│ 0,184
440552│10 │11 │ 0,8 │ 0,8 │ 0,8 │1 │ - │ 0,239│ 14,866│ 0,068│ 0,043
440054│10,5│154 │ 6,3 │15 │29 │0,5 │ 0,5│ 11,550│154,358│ 3,292│ 2,079
440056│11,5│12,3 │ 2 │ 2 │ 2 │1 │ 3 │ 0,592│ 16,839│ 0,169│ 0,106
440057│12 │11 │ 2 │ 2 │ 2 │0,5 │ 0,5│ 0,620│ 16,279│ 0,177│ 0,112
440058│12 │19 │ 3 │ 4 │ 4 │2 │ 0,5│ 1,306│ 22,472│ 0,372│ 0,235
440060│12 │27 │ 2 │ 2 │ 2 │0,3 │ 0,3│ 0,940│ 29,547│ 0,268│ 0,169
440061│12 │63 │ 3 │ 6,5 │ 6,5 │1 │ 1 │ 3,060│ 64,133│ 0,872│ 0,551
440556│12 │44 │ 2 │ 2 │ 2 │0,5 │ 1 │ 1,277│ 45,607│ 0,364│ 0,230
440062│12,5│13 │ 1 │ 1 │ 1 │1 │ - │ 0,364│ 18,035│ 0,104│ 0,066
440063│13 │13 │ 1,6 │ 1,6 │ 1,6 │0,4 │ - │ 0,573│ 18,385│ 0,163│ 0,103
440065│13 │15 │ 1,6 │ 1,6 │ 1,6 │0,5 │ - │ 0,606│ 19,849│ 0,173│ 0,109
440067│13 │20 │ 7 │ 4 │ 4 │0,5 │ 0,5│ 1,880│ 23,854│ 0,536│ 0,338
440068│13 │25 │ 2,4 │ 2,4 │ 2,4 │2,4 │ - │ 1,134│ 28,178│ 0,323│ 0,204
440558│13 │112 │11,8 │27 │27 │0,5 │ 1 │ 13,861│112,752│ 3,950│ 2,495
440069│14 │6 │ 3 │ 1,5 │ 1,5 │0,5 │ 1 │ 0,507│ 15,232│ 0,144│ 0,091
440070│14 │18 │ 2 │ 2 │ 2 │ - │ - │ 0,840│ 22,804│ 0,239│ 0,151
440071│14 │20 │ 4 │ 2 │ 2 │2 │ - │ 1,217│ 24,413│ 0,347│ 0,219
440073│15 │9 │ 1,5 │ 1,3 │ 1,3 │ - │ - │ 0,486│ 17,493│ 0,139│ 0,087
440074│15 │15 │ 1,5 │ 1,5 │ 1,5 │0,5 │ - │ 0,631│ 21,213│ 0,180│ 0,114
440075│15 │15 │ 1,5 │ 1,5 │ 1,5 │2 │ 0,5│ 0,646│ 21,213│ 0,184│ 0,116
440076│15 │20 │ 1,5 │ 1,5 │ 1,5 │2 │ - │ 0,722│ 25,000│ 0,206│ 0,130
440077│15 │20 │ 2 │ 2 │ 2 │2 │ 0,5│ 0,936│ 25,000│ 0,267│ 0,168
440079│15 │25 │ 1,5 │ 1,5 │ 1,5 │2 │ - │ 0,797│ 29,155│ 0,227│ 0,143
440080│15 │28 │ 5 │ 5 │ 5 │3 │ 0,5│ 2,438│ 31,765│ 0,695│ 0,439
440081│15 │30 │ 1,5 │ 1,5 │ 1,5 │2 │ - │ 0,872│ 33,541│ 0,249│ 0,157
440082│15 │32 │ 3 │ 3 │ 3 │2 │ 0,5│ 1,696│ 35,341│ 0,483│ 0,305
440085│15 │52 │10 │10 │10 │ - │ - │ 6,200│ 54,120│ 1,767│ 1,116
440086│15 │80 │ 3 │ 6 │ 6 │1 │ 1 │ 3,840│ 81,394│ 1,094│ 0,691
440088│15 │85 │ 5 │10 │10 │3 │ 0,5│ 6,288│ 86,313│ 1,792│ 1,132
440089│15 │169 │ 4 │ 4 │ 4 │2 │ - │ 7,657│169,664│ 2,182│ 1,378
440563│15 │30 │ 8 │ 8 │ 8 │2 │ 0,5│ 3,536│ 33,541│ 1,008│ 0,636
440559│15 │15 │ 1,5 │ 1,5 │ 1,5 │1 │ - │ 0,634│ 21,213│ 0,181│ 0,114
440561│15 │25 │ 4 │ 2 │ 2 │1 │ - │ 1,444│ 29,155│ 0,412│ 0,260
440562│15 │42 │ 5 │ 4 │ 4 │4 │ 1 │ 2,964│ 44,598│ 0,845│ 0,534
440564│15,6│21 │ 2 │ 2 │ 2 │1 │ - │ 0,968│ 26,160│ 0,276│ 0,174
440091│16 │18 │ 1 │ 1 │ 1 │1,5 │ - │ 0,490│ 24,083│ 0,140│ 0,088
440092│16 │26 │ 4 │ 4 │ 4 │ - │ - │ 2,000│ 30,529│ 0,570│ 0,360
440094│16 │37 │ 6 │ 8 │ 8 │ - │ - │ 3,820│ 40,311│ 1,089│ 0,688
440095│16 │152 │ 3,5 │ 3,5 │ 3,5 │2,0 │ - │ 6,212│152,840│ 1,770│ 1,118
440096│17 │13 │ 2 │ 2 │ 2 │1 │ 0,5│ 0,863│ 21,401│ 0,246│ 0,155
440097│17 │15 │ 2,5 │ 2,5 │ 2,5 │3 │ 0,5│ 1,138│ 22,672│ 0,324│ 0,205
440098│17 │20 │ 3 │ 3 │ 3 │2 │ 1 │ 1,453│ 26,249│ 0,414│ 0,262
440099│17 │20 │ 4 │ 4 │ 4 │1 │ 2 │ 1,827│ 26,249│ 0,521│ 0,329
440100│17,5│8,0 │ 3 │ 1,7 │ 1,7 │0,5 │ 0,5│ 0,733│ 19,242│ 0,209│ 0,132
440102│17,5│23 │ 3 │ 7 │ 7 │2 │ 2 │ 2,720│ 28,901│ 0,775│ 0,490
440103│17,5│32 │ 2,4 │ 2,4 │ 2,4 │2,4 │ - │ 1,518│ 36,473│ 0,432│ 0,273
440104│18 │15 │ 3 │ 3 │ 3 │ - │ - │ 1,350│ 23,431│ 0,385│ 0,243
440105│18 │16 │ 2 │ 2 │ 2 │ - │ - │ 0,960│ 24,083│ 0,274│ 0,173
440106│18 │25 │ 1 │ 1 │ 1 │2 │ 1 │ 0,603│ 30,806│ 0,172│ 0,106
440108│18 │30 │ 1,5 │ 1,5 │ 1,5 │2,0 │ - │ 0,962│ 34,986│ 0,274│ 0,173
440109│18 │36 │ 2,5 │ 2,5 │ 2,5 │0,5 │ 0,5│ 1,675│ 40,249│ 0,477│ 0,301
440110│18 │37 │ 1,5 │ 1,5 │ 1,5 │2 │ - │ 1,067│ 41,146│ 0,304│ 0,192
440112│18 │40 │ 2 │ 2 │ 2 │2 │ - │ 1,457│ 43,863│ 0,415│ 0,262
440113│18 │40 │ 2,5 │ 2,5 │ 2,5 │2,5 │ - │ 1,802│ 43,863│ 0,514│ 0,324
440114│18 │40 │ 3 │ 3 │ 3 │3 │ 0,5│ 2,138│ 43,863│ 0,609│ 0,385
440115│18 │60 │ 1,5 │ 1,5 │ 1,5 │1 │ 1 │ 1,395│ 62,642│ 0,398│ 0,251
440116│18 │60 │ 2 │ 2 │ 2 │2 │ - │ 1,857│ 62,642│ 0,529│ 0,334
440566│18 │33 │ 1,2 │ 1,2 │ 1,2 │2 │ - │ 0,816│ 37,590│ 0,233│ 0,147
440565│18 │15 │ 8 │ 5 │ 5 │1 │ 1 │ 2,200│ 23,431│ 0,627│ 0,396
440567│18 │138 │ 5 │ 3 │ 3 │4 │ - │ 7,749│139,169│ 2,208│ 1,395
440792│18 │35 │ 6 │ 5 │ 5 │5 │ 0,5│ 3,406│ 39,357│ 0,971│ 0,613
440118│19 │13 │11 │ 1,5 │ 1,5 │ - │ 3 │ 1,631│ 23,022│ 0,465│ 0,294
440119│19 │26 │ 3,5 │ 3,5 │ 3,5 │3 │ - │ 2,034│ 32,202│ 0,580│ 0,366
440120│19 │28 │ 4 │ 4 │ 4 │3 │ - │ 2,359│ 33,838│ 0,672│ 0,425
440570│19 │150 │ 4 │ 4 │ 4 │ - │ - │ 7,200│151,199│ 2,052│ 1,296
440568│19 │14 │ 9 │ 2 │ 2 │ - │ - │ 1,660│ 23,601│ 0,473│ 0,299
440569│19 │54 │ 1,5 │ 2 │ 2 │1 │ 0,5│ 1,513│ 57,245│ 0,431│ 0,272
440122│20 │20 │ 5 │ 5 │ 5 │0,5 │ - │ 2,501│ 28,284│ 0,713│ 0,450
440124│20 │24 │ 4 │ 4 │ 4 │4 │ 2 │ 2,292│ 31,241│ 0,653│ 0,412
440125│20 │25 │ 1,5 │ 1,5 │ 1,5 │2 │ - │ 0,947│ 32,016│ 0,270│ 0,170
440126│20 │25 │ 2,5 │ 2,5 │ 2,5 │2,5 │ - │ 1,527│ 32,016│ 0,435│ 0,275
440127│20 │29 │ 4 │ 4 │ 4 │1 │ 2 │ 2,427│ 35,228│ 0,692│ 0,437
440128│20 │30 │ 2 │ 2 │ 2 │2 │ - │ 1,337│ 36,056│ 0,381│ 0,241
440129│20 │30 │ 4 │ 4 │ 4 │1 │ 2 │ 2,467│ 36,056│ 0,703│ 0,444
440130│20 │35 │ 2,5 │ 2,5 │ 2,5 │2,5 │ - │ 1,777│ 40,311│ 0,506│ 0,320
440132│20 │35 │ 2 │ 2,5 │ 2,5 │3 │ - │ 1,659│ 41,183│ 0,473│ 0,299
440134│20 │50 │ 4 │ 4 │ 4 │4 │ 0,5│ 3,348│ 53,852│ 0,954│ 0,603
440135│20 │60 │ 2 │ 2 │ 2 │3 │ - │ 1,959│ 63,246│ 0,558│ 0,353
440136│20 │71 │ 2 │ 2 │ 2 │4 │ - │ 2,209│ 73,763│ 0,629│ 0,398
440137│20 │72 │ 5 │ 5,5 │ 5,5 │1 │ - │ 5,254│ 74,726│ 1,497│ 0,946
440138│20 │80 │ 2 │ 2,5 │ 2,5 │3 │ - │ 2,539│ 82,462│ 0,724│ 0,457
440140│20 │94 │10 │18 │18 │1 │ 1 │ 13,000│ 96,104│ 3,705│ 2,340
440142│20 │100 │ 2,5 │ 2,5 │ 2,5 │5 │ 0,5│ 3,481│101,980│ 0,992│ 0,627
440575│20 │42 │ 5 │ 5 │ 5 │4 │ 1 │ 3,664│ 46,519│ 1,044│ 0,660
440571│20 │19,3 │ 2 │ 2 │ 2 │2 │ - │ 1,123│ 27,794│ 0,320│ 0,202
442060│20 │130 │ 8 │10 │10 │ - │ - │ 12,800│131,529│ 3,648│ 2,304
440574│20 │40 │ 6 │ 5 │ 5 │4 │ - │ 3,869│ 44,721│ 1,103│ 0,696
440572│20 │40 │ 1,5 │ 2 │ 2 │3 │ - │ 1,379│ 44,721│ 0,393│ 0,248
440578│20 │87 │ 5 │ 5 │10 │3 │ - │ 6,639│ 89,269│ 1,892│ 1,195
440143│20,2│68 │ 2,5 │ 2,5 │ 2,5 │2 │ 0,5│ 2,601│ 70,937│ 0,741│ 0,468
440144│20,5│58 │ 3 │ 4 │ 4 │1 │ 1 │ 3,140│ 61,516│ 0,895│ 0,565
440145│21 │68 │ 2,5 │ 2 │ 2 │4 │ - │ 2,509│ 71,169│ 0,715│ 0,452
440146│22 │16,5 │14 │ 3,5 │ 3,5 │ - │ 1,7│ 2,858│ 27,500│ 0,814│ 0,514
440148│22 │20 │ 2 │ 2,5 │ 2,5 │0,5 │ 0,5│ 1,400│ 29,732│ 0,399│ 0,252
440150│22 │30 │ 6 │ 6 │ 6 │3 │ - │ 3,759│ 37,202│ 1,071│ 0,677
440151│22 │35 │ 6,5 │ 2,5 │ 2,5 │3 │ - │ 3,089│ 41,340│ 0,880│ 0,556
440152│22 │37 │ 3 │ 3 │ 3 │1 │ - │ 2,254│ 43,046│ 0,642│ 0,406
440154│22 │70 │ 2 │ 2,5 │ 2,5 │1,5 │ 0,5│ 2,409│ 73,376│ 0,686│ 0,434
440157│22,5│17,5 │ 2 │ 1,6 │ 1,6 │2 │ 0,5│ 1,022│ 28,504│ 0,291│ 0,184
440580│22 │28 │ 4 │ 4 │ 4 │1 │ 2 │ 2,547│ 35,609│ 0,726│ 0,458
440158│23 │43 │ 6 │ 6 │ 6 │3 │ - │ 4,659│ 48,765│ 1,328│ 0,839
440159│23 │45 │ 1,5 │ 1,5 │ 1,5 │2 │ 0,3│ 1,337│ 50,537│ 0,381│ 0,241
440162│23 │121 │ 5 │ 4 │ 4 │0,5 │ 0,5│ 7,490│123,167│ 2,135│ 1,348
440163│23 │117 │ 8 │10 │10 │ - │ - │ 12,360│119,239│ 3,523│ 2,225
440581│23 │52 │13 │10,15│10,15│1 │ 0,5│ 8,793│ 56,859│ 2,506│ 1,583
440582│23 │46 │ 3 │ 5 │ 5 │2,5 │ - │ 3,407│ 51,430│ 0,971│ 0,613
440583│23 │50 │ 2 │ 4 │ 4 │4 │ - │ 2,749│ 55,036│ 0,783│ 0,495
440165│24 │19 │ 6 │ 5 │ 5 │ - │ - │ 2,940│ 30,610│ 0,838│ 0,529
440166│24 │46 │ 6 │ 8 │10 │2 │ 0,5│ 6,016│ 51,884│ 1,715│ 1,083
440168│24 │53 │ 6 │ 7 │ 7 │3 │ 2 │ 5,721│ 58,181│ 1,631│ 1,030
440169│24 │65,2 │ 4 │ 5,1 │ 5,1 │3 │ 0,5│ 4,686│ 69,477│ 1,335│ 0,843
440170│24 │70 │ 2 │ 2,5 │ 2,5 │3 │ 1 │ 2,534│ 74,000│ 0,722│ 0,456
440171│24 │112 │ 8 │10 │10 │ - │ - │ 12,160│114,543│ 3,466│ 2,189
440172│24,5│49 │ 3 │ 3 │ 3 │3 │ - │ 2,799│ 54,784│ 0,798│ 0,504
440173│25 │20 │10 │ 5 │ 5 │ - │ - │ 3,500│ 32,016│ 0,998│ 0,630
440174│25 │23 │ 3 │ 1,8 │ 1,8 │3 │ 0,5│ 1,520│ 33,971│ 0,433│ 0,274
440175│25 │23 │ 5 │ 4 │ 4 │2,5 │ - │ 2,777│ 33,971│ 0,791│ 0,500
440176│25 │25 │ 2,5 │ 2,5 │ 2,5 │2 │ - │ 1,767│ 35,355│ 0,504│ 0,318
440177│25 │25 │ 3 │ 3 │ 3 │2 │ - │ 2,087│ 35,355│ 0,595│ 0,376
440178│25 │25 │ 5 │ 5 │ 5 │0,5 │ 0,5│ 3,250│ 35,355│ 0,926│ 0,585
440179│25 │27 │ 6 │ 3 │ 3 │3 │ 1 │ 2,794│ 36,797│ 0,796│ 0,503
440180│25 │32 │ 1,8 │ 1,8 │ 1,8 │2,5 │ - │ 1,438│ 40,608│ 0,410│ 0,259
440181│25 │32 │ 2,5 │ 2,5 │ 2,5 │2,5 │ - │ 1,952│ 40,608│ 0,556│ 0,351
440184│25 │40 │ 2 │ 2 │ 2 │2 │ - │ 1,737│ 47,170│ 0,495│ 0,313
440185│25 │40 │ 3 │ 3 │ 3 │3 │ - │ 2,559│ 47,170│ 0,729│ 0,461
440186│25 │40 │ 4 │ 4 │ 4 │2 │ 1 │ 3,293│ 47,170│ 0,938│ 0,593
440188│25 │41 │ 2,5 │ 2,5 │ 2,5 │3 │ - │ 2,189│ 48,021│ 0,624│ 0,394
440190│25 │43 │ 2,5 │ 2,5 │ 2,5 │2,5 │ - │ 2,227│ 49,739│ 0,635│ 0,401
440191│25 │44 │ 3,7 │ 3,7 │ 3,7 │2,5 │ - │ 3,231│ 50,606│ 0,921│ 0,582
440192│25 │45 │ 2 │ 4 │ 3 │3 │ - │ 2,549│ 51,478│ 0,726│ 0,459
440193│25 │45 │ 3 │ 3 │ 3 │4 │ - │ 2,739│ 51,478│ 0,781│ 0,493
440195│25 │46 │ 5 │ 5 │ 5 │2,5 │ 0,5│ 4,326│ 52,355│ 1,233│ 0,779
440196│25 │55 │ 5 │ 5 │ 5 │5 │ 0,5│ 4,856│ 60,415│ 1,384│ 0,874
440199│25 │60 │ 2 │ 2 │ 2 │2 │ - │ 2,137│ 65,000│ 0,609│ 0,385
440201│25 │60 │ 4 │ 4 │ 4 │4 │ - │ 4,149│ 65,000│ 1,182│ 0,747
440202│25 │60 │ 4 │ 4 │ 4 │ - │ - │ 4,080│ 65,000│ 1,163│ 0,734
440203│25 │60 │10 │15 │15 │2 │ 0,5│ 10,516│ 65,000│ 2,997│ 1,893
440205│25 │70 │ 2 │ 4 │ 4 │3 │ - │ 3,279│ 74,330│ 0,934│ 0,590
440206│25 │70 │ 3 │ 3 │ 3 │3 │ - │ 3,459│ 74,330│ 0,986│ 0,623
440207│25 │70 │ 5 │ 5 │ 5 │5 │ 0,5│ 5,606│ 74,330│ 1,598│ 1,009
440208│25 │85 │ 3 │ 1,5 │ 1,5 │2 │ - │ 3,227│ 88,600│ 0,920│ 0,581
440209│25 │110 │ 7 │ 4 │ 4 │4 │ 0,5│ 9,208│112,805│ 2,624│ 1,657
440210│25 │125 │ 5 │10 │10 │5 │ 0,5│ 10,356│127,475│ 2,952│ 1,864
440211│25 │135 │ 2,2 │ 3 │ 3 │3 │ - │ 4,337│137,295│ 1,247│ 0,788
440212│25 │185 │ 2,8 │ 4 │ 4 │3 │ 0,5│ 6,994│186,682│ 1,993│ 1,259
440213│25 │145 │ 2,2 │ 3,5 │ 3,5 │3 │ - │ 4,825│147,139│ 1,375│ 0,868
440587│25 │29 │ 3 │ 3 │ 3 │3 │ 0,5│ 2,228│ 38,288│ 0,635│ 0,401
440586│25 │25 │ 2 │ 2 │ 2 │1,5 │ 1 │ 1,425│ 35,355│ 0,406│ 0,257
440590│25 │145 │ 3 │ 3 │ 3 │3 │ 0,5│ 5,708│147,139│ 1,627│ 1,027
440588│25 │36 │ 4 │ 4 │ 4 │2 │ 0,5│ 3,136│ 43,829│ 0,894│ 0,564
440591│25 │164,5│ 2,5 │ 4,5 │ 4,5 │2,5 │ - │ 6,164│166,389│ 1,757│ 1,110
440589│25 │60 │ 5 │ 3 │ 3 │1 │ 0,5│ 4,097│ 65,000│ 1,168│ 0,737
442055│25 │200 │ 3 │ 3 │ 3 │ - │ 0,5│ 7,319│201,556│ 2,086│ 1,317
440214│25,2│98,4 │ 3,2 │ 3,2 │ 3,2 │4,8 │ - │ 4,656│101,56 │ 1,327│ 0,838
440215│25,5│34 │ 3,8 │ 5,5 │ 5,5 │2 │ 4 │ 3,627│ 42,500│ 1,034│ 0,653
440216│25,5│50,8 │ 3,2 │ 3,2 │ 3,2 │4 │ 0,5│ 3,120│ 56,841│ 0,889│ 0,562
440217│26 │22 │ 5 │ 3 │ 3 │3 │ - │ 2,399│ 34,059│ 0,684│ 0,432
440218│26 │40 │ 8 │ 4 │ 4 │4 │ - │ 4,709│ 47,707│ 1,342│ 0,848
440219│26 │44 │ 7 │ 8 │ 8 │2,5 │ 1 │ 6,143│ 51,108│ 1,751│ 1,106
440220│26 │70 │ 3,2 │ 3,2 │ 3,2 │2 │ - │ 3,716│ 74,673│ 1,059│ 0,669
440593│26 │48,5 │ 3,8 │ 6 │ 9 │3 │ 0,5│ 5,211│ 55,030│ 1,485│ 0,938
440594│26 │121 │ 3,2 │ 4,5 │ 4,5 │5 │ - │ 6,031│123,762│ 1,719│ 1,086
440223│26,5│65 │11 │18 │18 │ - │ 8 │ 12,455│ 70,194│ 3,550│ 2,242
440224│27 │22 │ 3 │ 2 │ 2 │3 │ - │ 1,659│ 34,828│ 0,473│ 0,299
442062│27 │40 │ 4 │ 4 │ 4 │3 │ 1 │ 3,480│ 48,000│ 0,992│ 0,626
440225│27 │55 │ 5 │ 7,5 │ 7,5 │5 │ 0,5│ 6,156│ 61,270│ 1,755│ 1,108
440226│27 │69,5 │ 2 │ 3 │ 7 │3 │ - │ 3,929│ 74,560│ 1,120│ 0,707
440596│27 │80 │ 6 │ 7,5 │ 7,5 │6 │ 0,5│ 8,103│ 84,433│ 2,309│ 1,459
440227│28 │21 │ 4 │ 4 │ 4 │5 │ - │ 2,867│ 35,000│ 0,817│ 0,516
440228│28 │29 │ 2 │ 2 │ 2 │0,5 │ 2,5│ 1,594│ 40,311│ 0,454│ 0,287
440229│28 │45 │ 4 │ 4 │ 4 │2 │ 0,5│ 3,736│ 53,000│ 1,065│ 0,672
440231│28 │50 │ 6 │ 4 │ 4 │6 │ - │ 4,915│ 57,306│ 1,401│ 0,885
440233│28 │60 │ 4 │ 4 │ 4 │5 │ 0,5│ 4,426│ 66,212│ 1,261│ 0,797
440234│28 │70 │ 2,5 │ 5 │ 5 │3 │ 1 │ 4,334│ 75,392│ 1,235│ 0,780
440235│28,5│70 │ 2,5 │ 4 │ 4 │4 │ 0,5│ 3,898│ 75,579│ 1,111│ 0,702
440597│28 │43 │ 2,7 │ 5 │ 5 │2,5 │ - │ 3,718│ 51,313│ 1,060│ 0,669
440599│28 │56,5 │ 2,7 │ 6 │ 4,5 │2,5 │ - │ 4,209│ 63,058│ 1,200│ 0,758
440598│28 │52 │12 │ 8,3 │ 8,3 │1 │ 0,5│ 8,899│ 59,059│ 2,536│ 1,602
440600│28,5│90 │17,5 │18 │18 │3 │ 0,5│ 19,748│ 94,405│ 5,628│ 3,555
440236│29 │62 │ 4 │ 7 │ 7 │4 │ 0,5│ 6,048│ 68,447│ 1,724│ 1,089
440237│29 │73 │ 8 │12 │12 │4 │ - │ 10,949│ 78,549│ 3,120│ 1,971
440239│30 │27 │ 4 │ 4 │ 4 │2 │ - │ 3,177│ 40,361│ 0,905│ 0,572
440240│30 │32 │25 │ 5 │ 5 │5 │ - │ 8,607│ 43,863│ 2,453│ 1,549
440241│30 │35 │ 2 │ 2 │ 2 │2 │ - │ 1,837│ 46,098│ 0,524│ 0,331
440244│30 │40 │ 8 │ 2 │ 2 │3 │ - │ 4,119│ 50,000│ 1,174│ 0,741
440245│30 │45 │ 3 │ 3 │ 3 │4 │ - │ 3,039│ 54,083│ 0,866│ 0,547
440246│30 │48 │13 │ 3 │ 3 │2 │ - │ 7,277│ 56,604│ 2,074│ 1,310
440247│30 │50 │ 2 │ 2 │ 2 │4 │ 0,5│ 2,188│ 58,310│ 0,623│ 0,394
440248│30 │50 │ 3 │ 3 │ 3 │3 │ 0,5│ 3,158│ 58,310│ 0,900│ 0,568
440249│30 │50 │ 3 │ 3 │ 3 │4 │ 0,5│ 3,188│ 58,310│ 0,908│ 0,574
440250│30 │50 │ 3,5 │ 3,5 │ 3,5 │4 │ 0,5│ 3,673│ 58,310│ 1,047│ 0,661
440251│30 │50 │ 4 │ 4 │ 4 │4 │ 3 │ 4,080│ 58,310│ 1,163│ 0,734
440252│30 │50 │ 6 │ 7,5 │ 7,5 │2 │ 0,5│ 6,616│ 58,310│ 1,886│ 1,191
440253│30 │55 │ 3 │ 3 │ 3 │3 │ - │ 3,309│ 62,650│ 0,943│ 0,596
440254│30 │58 │ 8 │18 │18 │5 │ - │ 12,667│ 65,299│ 3,610│ 2,280
440255│30 │60 │ 2,5 │ 3 │ 3 │3 │ 0,5│ 3,188│ 67,082│ 0,908│ 0,574
440256│30 │60 │ 7 │ 5 │ 5 │4 │ - │ 6,569│ 67,082│ 1,872│ 1,182
440257│30 │65 │ 2,5 │ 4 │ 6 │3 │ - │ 4,414│ 71,589│ 1,258│ 0,794
440259│30 │70 │ 3 │ 3 │ 3 │4 │ 0,5│ 3,788│ 76,158│ 1,079│ 0,682
440260│30 │70 │ 3 │ 3,5 │ 3,5 │3 │ 0,5│ 4,028│ 76,158│ 1,148│ 0,725
440261│30 │70 │ 4 │ 4 │ 4 │4 │ 0,5│ 4,948│ 76,158│ 1,410│ 0,891
440262│30 │70 │ 5 │ 5 │ 5 │5 │ - │ 6,107│ 76,158│ 1,741│ 1,099
440263│30 │80 │ 4,5 │ 4,5 │ 4,5 │5 │ - │ 6,002│ 85,440│ 1,711│ 1,080
440265│30 │83 │ 8 │18 │18 │5 │ - │ 14,667│ 88,255│ 4,180│ 2,640
440266│30 │85 │ 5 │ 7 │ 7 │6 │ 2 │ 7,887│ 90,139│ 2,248│ 1,420
440267│30 │95 │ 3 │ 3 │ 3 │3 │ 0,5│ 4,508│ 99,624│ 1,285│ 0,811
440269│30 │116 │ 3 │ 3 │ 3 │3 │ - │ 5,139│119,817│ 1,465│ 0,925
440270│30 │130 │19 │16 │16 │5 │ - │ 28,327│133,417│ 8,073│ 5,099
440271│30 │150 │ 7 │ 7 │ 7 │10 │ - │ 14,149│152,971│ 4,033│ 2,547
440272│30 │180 │ 5 │ 5 │ 5 │5 │ - │ 11,607│182,483│ 3,308│ 2,089
440251│30 │50 │ 4 │ 4 │ 4 │4 │ - │ 4,149│ 58,310│ 1,182│ 0,747
440606│30 │70 │ 2 │ 2 │ 2 │4 │ 1 │ 2,584│ 76,158│ 0,737│ 0,465
440601│30 │22 │ 5 │ 4 │ 4 │1,5 │ 0,5│ 3,109│ 37,202│ 0,886│ 0,560
440604│30 │34 │ 5 │ 4,5 │ 4,5 │3 │ 6 │ 3,834│ 45,343│ 1,093│ 0,690
440605│30 │35 │28 │ 5 │ 5 │ - │ 2 │ 9,983│ 46,098│ 2,845│ 1,797
440602│30 │25 │ 2,5 │ 2 │ 2 │1,5 │ 0,5│ 1,734│ 39,051│ 0,494│ 0,312
440273│31 │51 │10 │10 │10 │4 │ 1 │ 9,364│ 59,682│ 2,669│ 1,686
440275│32 │17 │ 4,5 │ 2,5 │ 2,5 │3 │ - │ 2,179│ 36,235│ 0,621│ 0,392
440277│32 │40 │ 3 │ 3 │ 3 │3 │ - │ 2,979│ 51,225│ 0,849│ 0,536
440279│32 │72 │ 3 │ 4 │ 5 │4 │ - │ 4,839│ 78,791│ 1,379│ 0,871
440280│32 │87 │ 3 │ 3 │ 4 │4 │ - │ 4,709│ 92,698│ 1,342│ 0,848
440608│32 │22 │ 4 │ 4 │ 4 │2 │ - │ 3,137│ 38,833│ 0,894│ 0,565
440611│32 │150 │10 │28 │38 │5 │ - │ 29,627│153,375│ 8,444│ 5,333
440610│32 │75 │ 3 │ 7 │ 8 │5 │ 0,5│ 6,706│ 81,541│ 1,911│ 1,207
440609│32 │50 │15 │ 6 │ 6 │3 │ 0,5│ 9,578│ 59,363│ 2,730│ 1,724
440282│33 │50 │ 7 │ 7 │ 7 │3 │ - │ 7,179│ 59,908│ 2,046│ 1,292
440283│33 │69,8 │ 2,4 │ 2,4 │ 2,4 │3,2 │ - │ 3,188│ 77,208│ 0,909│ 0,574
440284│33 │76 │ 2,5 │ 2,5 │ 2,5 │5 │ - │ 3,532│ 82,855│ 1,007│ 0,636
440612│33 │104 │ 3 │ 6 │ 6 │4 │ - │ 6,789│109,110│ 1,935│ 1,222
440286│34 │118 │ 4 │ 5,5 │ 5,5 │3 │ 0,5│ 8,058│122,801│ 2,296│ 1,450
440287│34 │118 │ 4 │ 6,5 │ 6,5 │8 │ 0,5│ 8,894│122,801│ 2,535│ 1,601
440289│35 │47 │ 6 │ 3 │ 3 │4 │ - │ 4,629│ 58,600│ 1,319│ 0,833
440290│35 │60 │ 3 │ 5 │ 5 │5 │ 0,5│ 5,106│ 69,462│ 1,455│ 0,919
440291│35 │60 │ 4 │ 4 │ 4 │4 │ 0,5│ 4,948│ 69,462│ 1,410│ 0,891
440292│35 │60 │10 │10 │10 │5 │ 3 │ 11,069│ 69,462│ 3,155│ 1,992
440294│35 │75 │ 3,5 │ 3,5 │ 3,5 │6,0 │ 1 │ 4,980│ 82,765│ 1,419│ 0,896
440295│35 │75 │ 4 │ 4 │ 4 │6 │10 │ 5,205│ 82,765│ 1,484│ 0,937
440296│35 │75 │ 5,5 │ 5,5 │ 5,5 │6 │11,5│ 6,957│ 82,765│ 1,983│ 1,252
440298│35 │75 │10 │10 │10 │8 │ 1 │ 12,770│ 85,765│ 3,640│ 2,299
440300│35 │80 │ 4,5 │ 4,5 │ 4,5 │5 │ 0,5│ 6,451│ 87,321│ 1,839│ 1,161
440301│35 │80 │ 5 │ 2,5 │ 2,5 │5 │ - │ 5,607│ 87,321│ 1,598│ 1,009
440303│35 │100 │ 3 │ 3 │ 4 │3 │ - │ 5,279│105,948│ 1,504│ 0,950
440614│35 │65 │ 2,5 │ 2,5 │ 2,5 │5 │ - │ 3,357│ 73,824│ 0,957│ 0,604
440615│35 │70 │ 6 │16 │ 8 │5 │ - │ 11,267│ 78,262│ 3,211│ 2,028
440613│35 │32 │ 2,5 │ 3,5 │ 3,5 │3 │ - │ 3,114│ 47,424│ 0,887│ 0,560
440306│36 │56 │12 │16 │16 │5 │ - │ 14,507│ 66,573│ 4,135│ 1,611
440304│36 │44 │10 │11 │11 │5 │ 1 │ 10,223│ 56,851│ 2,914│ 1,840
440308│36 │68 │ 5 │ 5,5 │ 6 │3 │ - │ 7,004│ 76,942│ 1,996│ 1,261
440309│36 │70 │ 8 │16 │16 │5 │ - │ 14,667│ 78,715│ 4,180│ 2,640
440310│36 │80 │ 9 │ 5 │ 5 │5 │ 1 │ 10,003│ 87,727│ 2,851│ 1,801
440312│36 │82 │28 │27 │27 │5 │ 3 │ 27,349│ 89,554│ 7,794│ 4,923
440313│36 │83 │15 │11 │11 │3 │ - │ 17,109│ 90,471│ 4,876│ 3,080
440314│36 │90 │21 │25 │25 │5 │ 3 │ 26,469│ 96,933│ 7,544│ 4,764
440316│36 │103 │13 │11 │11 │7 │ - │ 18,660│109,110│ 5,318│ 3,359
440318│37 │22 │ 3 │ 2 │ 2 │3 │ - │ 2,059│ 43,046│ 0,587│ 0,371
440319│37 │74 │ 9 │ 7 │ 7 │6 │ 0,5│ 10,733│ 82,735│ 3,059│ 1,932
440616│37 │131 │ 5 │ 5 │ 5 │5 │ 1 │ 9,853│136,125│ 2,808│ 1,774
440320│38 │118 │ 8 │ 6,5 │ 6,5 │8 │ 0,5│ 13,614│123,968│ 3,880│ 2,450
440321│38 │153 │17 │12 │73 │3 │ 3 │ 43,860│157,648│ 12,500│ 7,895
440617│38 │39,8 │ 3 │ 2,5 │ 4 │5 │ 0,5│ 3,575│ 55,028│ 1,019│ 0,644
440322│38,3│63 │ 4,8 │ 4,8 │ 4,8 │3,5 │ - │ 6,293│ 73,728│ 1,793│ 1,133
440619│39 │40 │ 6 │12,5 │12,5 │4 │ - │ 10,719│ 55,866│ 3,055│ 1,929
440323│40 │16 │ 5 │ 3 │ 3 │0,5 │ 0,5│ 2,900│ 43,081│ 0,826│ 0,522
440324│40 │30 │28 │10 │10 │ - │ - │ 10,800│ 50,000│ 3,078│ 1,944
440326│40 │39 │ 4 │ 4 │ 4 │5 │ - │ 4,547│ 55,866│ 1,296│ 0,819
440327│40 │45 │ 3 │ 3 │ 3 │4 │ - │ 3,639│ 60,208│ 1,037│ 0,655
440329│40 │50 │ 8 │ 5 │ 5 │3 │ 0,5│ 7,238│ 64,031│ 2,063│ 1,303
440330│40 │50 │14 │ 4 │ 4 │4 │ 0,5│ 9,148│ 64,031│ 2,607│ 1,647
440331│40 │56 │ 6 │ 5 │ 5 │5 │ - │ 6,867│ 68,819│ 1,957│ 1,236
440332│40 │70 │ 5 │ 5 │ 5 │5 │ 3 │ 7,069│ 80,623│ 2,015│ 1,272
440333│40 │75 │ 5 │ 5 │ 5 │3 │ - │ 7,289│ 85,000│ 2,077│ 1,312
440335│40 │80 │ 4 │ 4 │ 4 │4 │ 0,5│ 6,148│ 89,443│ 1,752│ 1,107
440336│40 │80 │ 6 │14 │14 │3 │ - │ 14,359│ 89,443│ 4,092│ 2,585
440339│40 │92 │ 4 │ 4 │ 4 │ - │ - │ 6,560│100,319│ 1,870│ 1,181
440340│40 │100 │ 4,5 │ 4,5 │ 4,5 │4 │ - │ 7,764│107,703│ 2,213│ 1,397
440341│40 │120 │ 3 │ 4 │ 4 │2 │ - │ 6,577│126,491│ 1,874│ 1,184
440343│40 │128 │23 │43 │43 │5 │ 3 │ 44,129│134,104│ 12,577│ 7,943
440344│40 │175 │ 8 │ 8 │ 8 │12 │20 │ 18,021│179,513│ 5,136│ 3,244
440345│40 │200 │ 4,5 │ 4,5 │ 4,5 │8 │ 3 │ 12,431│203,961│ 3,543│ 2,238
440622│40 │75 │ 5 │ 3 │ 3 │4 │ - │ 5,919│ 85,000│ 1,687│ 1,065
440620│40 │30 │ 4 │ 2 │ 2 │1 │ 1 │ 2,640│ 50,000│ 0,752│ 0,475
440621│40 │68,8 │ 3,5 │ 3,5 │ 3,5 │3 │ 0,5│ 5,001│ 79,583│ 1,452│ 0,900
442065│40 │130 │ 4 │ 4 │ 4 │4 │ 0,5│ 8,148│136,015│ 2,322│ 1,467
440346│41 │32 │ 8 │ 3 │ 3 │2,5 │ 1 │ 4,563│ 52,010│ 1,300│ 0,821
440348│41 │72 │ 3 │10 │10 │3 │ - │ 9,799│ 82,855│ 2,793│ 1,764
440349│41 │150 │10 │20 │20 │2 │ - │ 27,417│155,502│ 7,814│ 4,935
440350│41 │270 │10 │35 │30 │6 │ 1 │ 47,300│273,095│ 13,481│ 8,514
440624│41 │94 │16 │17 │17 │5 │ 3 │ 23,609│102,552│ 6,728│ 4,250
440626│42 │32 │10 │ 3 │ 3 │1 │ - │ 5,124│ 52,802│ 1,460│ 0,922
440351│42 │32 │ 5 │ 5 │ 8 │5 │ 0,5│ 6,516│ 52,802│ 1,857│ 1,173
440354│42 │65 │ 6,5 │ 8 │ 8 │5 │ 0,5│ 10,011│ 77,389│ 2,853│ 1,802
440355│42 │66 │ 8 │18 │18 │5 │ 1 │ 17,623│ 78,230│ 5,023│ 3,172
440627│42 │88 │10 │10 │10 │5 │ 0,5│ 15,306│ 97,509│ 4,362│ 2,755
440356│43 │60 │18 │13 │13 │5 │ 0,5│ 17,406│ 73,817│ 4,961│ 3,133
440628│43 │122 │10 │27 │27 │20 │ 2 │ 31,720│129,356│ 9,040│ 5,710
440629│44 │145 │12 │32 │32 │20 │ 2 │ 39,580│151,529│ 11,280│ 7,124
440357│45 │46 │ 6 │ 4 │ 4 │5 │ - │ 5,987│ 64,351│ 1,706│ 1,078
440359│45 │75 │ 5 │ 5 │ 5 │5 │ - │ 7,857│ 87,464│ 2,239│ 1,414
440360│45 │75 │ 5 │ 5 │ 5 │6 │ 0,5│ 7,903│ 87,464│ 2,252│ 1,423
440361│45 │100 │ 4,5 │ 4,5 │ 4,5 │8 │12,5│ 7,749│109,659│ 2,208│ 1,395
440362│45 │100 │ 6 │ 6 │ 6 │8 │14 │ 10,113│109,659│ 2,882│ 1,820
440632│45 │63 │18 │22,5 │22,5 │3 │ 3 │ 23,490│ 77,421│ 6,695│ 4,228
440630│45 │32 │ 2,5 │ 4 │ 4 │2,5 │ - │ 4,227│ 55,218│ 1,205│ 0,761
440633│45 │97 │ 5 │ 6 │ 6 │3 │ 3 │ 9,650│106,930│ 2,750│ 1,737
440631│45 │42 │ 3 │ 4 │ 4 │3 │ - │ 4,659│ 61,555│ 1,328│ 0,839
440634│45 │135 │25 │45 │20 │2 │ 0,5│ 46,766│142,302│ 13,328│ 8,418
440365│46 │29 │ 8 │ 2,5 │ 2,5 │3 │ 0,5│ 4,258│ 54,378│ 1,213│ 0,766
440366│46 │110 │ 9 │18 │18 │4 │ - │ 23,289│119,231│ 6,637│ 4,192
440368│47 │140 │12 │ 4 │ 4 │4 │ - │ 19,669│147,679│ 5,606│ 3,540
440369│47 │155 │15 │26 │26 │5 │ 3 │ 39,959│161,969│ 11,388│ 7,193
440370│48 │56 │ 5 │ 3 │ 3 │5 │ 1 │ 5,483│ 73,756│ 1,563│ 0,987
440371│48 │57 │ 8 │ 7,5 │ 7,5 │5 │ 0,5│ 10,666│ 74,518│ 3,040│ 1,920
440372│48 │108 │10 │12 │12 │6 │ - │ 20,075│118,186│ 5,721│ 3,613
440635│48 │126 │15 │23 │23 │3 │ 3 │ 34,080│134,833│ 9,713│ 6,134
440373│50 │14 │20 │ 2 │ 2 │ - │ - │ 4,000│ 51,923│ 1,140│ 0,720
440375│50 │38 │ 5 │ 4 │ 4 │6 │ - │ 5,655│ 62,801│ 1,612│ 1,018
440376│50 │38 │ 5 │ 5 │ 5 │6 │ - │ 6,555│ 62,801│ 1,868│ 1,180
440377│50 │40 │ 7 │ 4 │ 4 │3 │ - │ 6,279│ 64,031│ 1,789│ 1,130
440378│50 │70 │ 7 │ 7 │ 7 │5 │ 0,5│ 11,026│ 86,023│ 3,142│ 1,985
440379│50 │76 │12 │16 │16 │5 │ - │ 21,387│ 90,973│ 6,095│ 3,850
440380│50 │82 │ 7 │ 6 │ 6 │3 │ - │ 10,939│ 96,042│ 3,118│ 1,969
440382│50 │96 │ 6 │ 6 │ 6 │5 │ 1 │ 11,143│108,240│ 3,176│ 2,006
440383│50 │100 │ 5 │ 5 │ 5 │5 │ - │ 9,607│111,803│ 2,738│ 1,729
440384│50 │100 │ 5 │ 5 │ 5 │8 │13 │ 9,049│111,803│ 2,579│ 1,629
440385│50 │106 │13 │10 │10 │10 │ 0,5│ 21,608│117,201│ 6,158│ 3,889
440387│50 │107 │ 8 │15 │15 │5 │ - │ 21,267│118,106│ 6,061│ 3,828
440388│50 │115 │ 5 │ 5 │ 5 │5 │ 0,5│ 10,356│125,399│ 2,952│ 1,864
440390│50 │125 │80 │10 │10 │5 │ - │ 94,107│134,629│ 26,821│ 16,939
440391│50 │148 │14 │18 │18 │6 │ - │ 33,835│156,218│ 9,643│ 6,090
440392│50 │150 │ 4,6 │ 4,6 │ 4,6 │8 │ - │ 11,352│158,114│ 3,235│ 2,043
440393│50 │150 │ 5 │ 5 │ 5 │5 │10 │ 11,678│158,114│ 3,328│ 2,102
440395│50 │160 │10 │41 │41 │5 │ - │ 48,907│167,631│ 13,939│ 8,803
440396│50 │170 │ 4,6 │ 5,6 │ 5,6 │10 │ - │ 13,334│177,200│ 3,800│ 2,400
442001│50 │124 │15 │15 │15 │3 │ 3 │ 29,100│133,701│ 8,293│ 5,238
440640│50 │100 │ 4 │ 7 │ 7 │3 │ - │ 10,479│111,803│ 2,986│ 1,886
442005│50 │175 │10 │35 │35 │10 │ 2 │ 45,912│182,003│ 13,085│ 8,264
440637│50 │72 │ 5 │13,5 │13,5 │5 │ - │ 15,857│ 87,658│ 4,519│ 2,854
440642│50 │120 │ 4 │14 │14 │6 │ 1 │ 17,830│130,000│ 5,082│ 3,209
442002│50 │140 │10 │25 │25 │10 │ - │ 34,429│148,661│ 9,812│ 6,197
440397│50,5│460 │ 9,5 │12,5 │12,5 │40 │ - │ 60,818│462,764│ 17,333│ 10,947
440398│51 │112 │11 │16 │16 │5 │ 2 │ 25,210│123,065│ 7,185│ 4,538
440399│51 │168 │12 │42 │42 │5 │ - │ 53,027│175,570│ 15,113│ 9,545
442009│51 │100 │ 4 │ 5 │ 5 │3 │ 3 │ 8,700│112,254│ 2,479│ 1,566
440400│52 │60 │12 │ 7,5 │10,5 │5 │ 0,5│ 14,506│ 79,398│ 4,134│ 2,611
440401│52 │86 │ 9 │ 8 │ 8 │3 │ 3 │ 14,620│100,499│ 4,167│ 2,632
440402│52 │110 │15 │12 │12 │10 │ 0,5│ 25,808│121,672│ 7,355│ 4,645
440403│52,5│225 │12,5 │12,5 │12,5 │20 │32,5│ 35,308│231,044│ 10,063│ 6,355
440404│53 │88 │15 │ 4 │ 4 │5 │ - │ 16,347│102,728│ 4,659│ 2,943
440405│54 │25 │ 3,2 │ 3 │ 3 │3 │ 0,5│ 3,886│ 59,506│ 1,107│ 0,699
440406│54 │138 │ 4 │19 │21 │5 │ 0,5│ 25,626│148,189│ 7,303│ 4,613
442010│54 │194 │26 │35 │35 │5 │ 3 │ 70,109│201,375│ 19,981│ 12,620
442011│54 │240 │26 │35 │35 │5 │ 3 │ 82,069│246,000│ 23,390│ 14,772
440408│55 │32 │10 │ 2 │ 2 │3 │ 3 │ 5,000│ 63,632│ 1,425│ 0,900
440409│55 │60 │ 2,5 │ 4 │ 4 │3 │ - │ 5,739│ 81,394│ 1,636│ 1,033
440410│55 │75 │ 5 │ 5 │ 5 │6 │11 │ 8,385│ 93,005│ 2,390│ 1,509
440411│55 │80 │22 │ 7 │ 7 │3 │ 0,5│ 22,258│ 97,082│ 6,343│ 4,006
440412│55 │125 │ 6,5 │ 6,5 │ 6,5 │5,5 │12 │ 13,942│136,565│ 3,973│ 2,510
440413│55 │125 │ 6,5 │ 6,5 │ 6,5 │6 │ 1 │ 14,580│136,565│ 4,155│ 2,624
440414│55 │125 │ 6,5 │ 6,5 │ 6,5 │14 │ 1 │ 15,267│136,565│ 4,351│ 2,748
440416│55 │125 │ 8 │ 8 │ 8 │10 │18 │ 16,558│136,565│ 4,719│ 2,981
440417│55 │138 │ 4 │22 │22 │5 │ 0,5│ 28,066│148,556│ 7,999│ 5,052
440419│55 │150 │ 7 │ 7 │ 7 │10 │17 │ 16,409│159,765│ 4,676│ 2,954
440420│55 │230 │ 5 │ 5 │ 5 │3 │ - │ 16,539│236,485│ 4,714│ 2,977
442014│55 │70 │15 │20 │20 │10 │ - │ 26,929│ 89,022│ 7,675│ 4,847
442015│55 │78 │17 │22,5 │22,5 │2 │15 │ 29,463│ 95,441│ 8,397│ 5,303
442012│55 │34 │ 5,5 │ 6 │ 6 │3 │ 3 │ 7,810│ 64,661│ 2,226│ 1,406
442013│55 │70 │15 │20 │20 │5 │ 1 │ 26,603│ 89,022│ 7,582│ 4,789
442018│55 │120 │13 │30 │30 │4 │ 4 │ 40,800│132,004│ 11,628│ 7,344
442019│55 │122 │12 │28 │28 │20 │ 2 │ 40,420│133,825│ 11,520│ 7,276
442021│56 │181 │38 │33 │66 │3 │ 3 │ 86,600│189,465│ 24,681│ 15,588
440421│57 │39 │11,5 │ 4 │ 4 │3 │ - │ 8,164│ 69,065│ 2,327│ 1,469
440422│57 │140 │ 5,2 │ 7 │ 7 │10,4│ - │ 14,996│151,159│ 4,274│ 2,699
440423│58 │27 │23 │ 5 │ 5 │ - │ - │ 9,710│ 63,977│ 2,767│ 1,748
442022│59 │73 │10 │21 │21 │3 │ 1 │ 27,914│ 93,862│ 7,956│ 5,025
440424│60 │26 │ 5 │ 3 │ 3 │5 │ 0,5│ 4,706│ 65,391│ 1,341│ 0,847
440425│60 │90 │ 8 │10 │10 │5 │ 0,5│ 17,705│108,167│ 5,046│ 3,187
440426│60 │98 │ 6 │15 │15 │6 │ - │ 22,235│114,909│ 6,337│ 4,002
440428│60 │120 │ 6 │11 │11 │7 │ - │ 19,290│134,164│ 5,498│ 3,472
440429│60 │120 │ 7 │10 │10 │7 │ 0,5│ 19,209│134,164│ 5,475│ 3,458
440430│60 │122 │14 │18 │18 │6 │ - │ 33,795│135,956│ 9,631│ 6,083
440431│60 │140 │ 7 │10,5 │10,5 │10,5│ - │ 21,403│152,315│ 6,100│ 3,853
440432│60 │150 │ 7 │ 7 │ 7 │10 │ 0,5│ 18,348│161,555│ 5,229│ 3,303
440433│60 │200 │ 6 │ 6 │ 6 │5 │ - │ 18,587│208,806│ 5,297│ 3,346
440435│60 │220 │ 4,6 │ 6,6 │ 6,6 │8,0 │ - │ 17,708│228,035│ 5,047│ 3,187
440436│60 │220 │ 5,6 │ 6,6 │ 6,6 │12 │ - │ 20,119│228,035│ 5,734│ 3,621
440437│60 │240 │ 6 │12 │12 │1 │ 0,5│ 27,363│247,386│ 7,799│ 4,925
440438│64 │70 │10 │16 │16 │5 │ - │ 24,387│ 94,847│ 6,950│ 4,390
442024│60 │110 │ 6 │ 7,5 │ 7,5 │5 │ 1 │ 14,803│125,300│ 4,219│ 2,665
442025│60 │120 │ 8 │ 8 │ 8 │4 │ 0,5│ 17,988│134,164│ 5,126│ 3,238
442028│61 │116 │12 │13 │13 │3 │ 0,5│ 26,698│131,061│ 7,609│ 4,806
442029│62 │55 │ 6 │12,5 │12,5 │2,5 │ - │ 17,327│ 82,879│ 4,938│ 3,119
442030│62 │70 │ 6 │18 │18 │4 │ - │ 24,429│ 93,509│ 6,962│ 4,397
442031│62 │120 │22 │26 │26 │5 │ 0,5│ 47,306│135,070│ 13,482│ 8,515
440439│65 │27 │ 4 │ 4 │ 4 │2 │ - │ 5,977│ 70,385│ 1,703│ 1,076
440440│65 │150 │ 7 │ 7 │ 7 │10 │17 │ 17,809│163,478│ 5,075│ 3,206
440441│65 │150 │10,5 │ 7 │ 7 │5 │ 1 │ 23,483│163,478│ 6,693│ 4,227
440442│65 │150 │15 │15 │15 │19 │34 │ 34,087│163,478│ 9,715│ 6,136
440443│65 │160 │ 6 │ 8 │ 8 │12 │ 0,7│ 19,656│172,699│ 5,602│ 3,538
442033│65 │135 │12 │ 7 │ 7 │5 │ 5 │ 23,620│149,833│ 6,732│ 4,252
442032│65 │90 │20 │15 │15 │0,5 │ 0,5│ 31,500│111,018│ 8,977│ 5,670
442034│67 │106 │23 │33 │33 │3 │ 1 │ 53,454│125,399│ 15,234│ 9,622
440444│68 │150 │ 4,5 │ 5 │ 5 │5 │ 0,5│ 13,206│164,694│ 3,764│ 2,377
440445│70 │26 │10 │ 2 │ 2 │4 │ 1 │ 5,064│ 74,673│ 1,443│ 0,912
440447│70 │100 │12 │ 8 │16 │5 │ 0,5│ 26,026│122,066│ 7,417│ 4,685
440449│70 │150 │ 4 │ 4 │ 4 │10 │ - │ 11,709│165,529│ 3,337│ 2,108
440450│70 │150 │ 5 │ 5 │ 5 │3 │ 2 │ 14,021│165,529│ 3,996│ 2,524
440451│70 │150 │ 7 │ 7 │ 7 │10 │17 │ 18,509│165,529│ 5,275│ 3,332
440453│70 │170 │15 │45 │45 │10 │ 2 │ 75,412│183,848│ 21,492│ 13,574
440454│70 │175 │ 8 │ 8 │ 8 │18 │ 1 │ 25,306│188,481│ 7,212│ 4,555
440455│70 │198 │10 │10 │10 │10 │ 1 │ 32,225│210,010│ 9,184│ 5,800
440456│70 │220 │ 5 │ 8,5 │ 8,5 │10 │ - │ 22,479│230,868│ 6,407│ 4,046
442036│70 │300 │ 7 │14 │14 │2 │ 1 │ 38,653│308,058│ 11,016│ 6,958
442035│70 │240 │ 7 │ 8 │ 8 │2 │ 1 │ 26,893│250,000│ 7,664│ 4,841
442037│70 │350 │ 7 │22 │22 │2 │ 1 │ 52,233│356,931│ 14,886│ 9,402
440457│72 │60 │20 │ 5 │ 5 │5 │ - │ 17,307│ 93,723│ 4,933│ 3,115
440459│74 │84 │10 │ 9,5 │ 9,5 │4 │ - │ 20,629│111,946│ 5,879│ 3,713
442038│72 │270 │52 │80 │80 │5 │ - │172,507│279,435│ 49,165│ 31,051
440460│75 │44 │ 4 │ 3 │ 3 │2 │ - │ 6,037│ 86,954│ 1,721│ 1,087
440461│75 │75 │ 4 │ 4 │ 4 │6 │10 │ 8,405│106,066│ 2,396│ 1,513
440462│75 │75 │ 6 │ 6 │ 6 │6 │12 │ 12,316│106,066│ 3,510│ 2,217
440463│75 │80 │ 5 │ 5 │ 5 │5 │ 0,5│ 11,106│109,659│ 3,165│ 1,999
440464│75 │106 │20 │20 │20 │10 │10 │ 46,200│129,850│ 12,312│ 7,776
440465│75 │220 │15 │15 │15 │12 │ 1,0│ 51,614│232,433│ 14,710│ 9,290
440467│75 │300 │ 6 │15 │15 │1 │ 0,5│ 38,703│309,233│ 11,030│ 6,967
442040│76 │57,5 │ 7 │ 7 │ 7 │5 │ 0,5│ 13,791│ 95,301│ 3,931│ 2,482
442041│78 │230 │41 │20 │75 │5 │ 5 │129,450│242,866│ 36,893│ 23,301
440468│80 │70 │ 5 │ 3,2 │ 3,2 │3 │ - │ 8,339│106,301│ 2,377│ 1,501
440469│80 │80 │ 6 │ 6 │ 6 │5 │ - │ 13,787│113,137│ 3,929│ 2,482
440471│80 │125 │ 8 │10 │10 │5 │ - │ 24,507│148,408│ 6,985│ 4,411
440472│80 │140 │ 8 │ 8 │ 8 │5 │ 0,5│ 22,826│161,245│ 6,505│ 4,109
440474│80 │150 │ 7 │ 7 │ 7 │5 │ - │ 20,827│170,000│ 5,936│ 3,749
440475│80 │150 │15 │15 │15 │12 │27 │ 39,489│170,000│ 11,254│ 7,108
440476│80 │160 │ 8 │ 8 │ 8 │5 │ 0,5│ 24,426│178,885│ 6,961│ 4,397
440478│80 │175 │ 8 │ 8 │ 8 │8 │16 │ 25,794│192,419│ 7,351│ 4,643
440479│80 │175 │ 8 │ 8 │ 8 │12 │20 │ 24,421│192,419│ 6,960│ 4,396
440481│80 │200 │ 6 │ 8 │ 8 │10,5│ - │ 24,313│215,407│ 6,929│ 4,376
440482│80 │220 │ 8 │ 8 │ 8 │5 │ 0,5│ 29,226│234,094│ 8,329│ 5,261
440483│80 │220 │ 8 │10 │10 │5 │ 0,5│ 32,106│234,094│ 9,150│ 5,779
440484│80 │270 │60 │80 │80 │5 │ - │194,107│281,603│ 55,321│ 34,939
440485│80 │300 │ 8 │ 8 │ 8 │22 │ 5 │ 37,490│310,483│ 10,685│ 6,748
440487│80 │300 │14 │14 │14 │8 │ 2 │ 60,738│310,483│ 17,310│ 10,933
440488│80 │350 │ 8 │18 │18 │1 │ 0,5│ 53,923│359,026│ 15,368│ 9,706
442042│80 │40 │18 │10 │10 │5 │ 5 │ 19,600│ 89,443│ 5,586│ 3,528
440489│83 │290 │42 │90 │90 │5 │ 2 │195,690│301,644│ 55,772│ 35,224
440490│88 │31 │ 5 │ 2,5 │ 2,5 │4 │ 0,5│ 5,768│ 93,301│ 1,644│ 1,038
442043│88 │51 │16 │10 │10 │1 │ 1 │ 22,560│101,710│ 6,430│ 4,061
440491│90 │120 │12 │12 │12 │5 │17 │ 31,987│150,000│ 9,116│ 5,758
440492│90 │200 │ 6 │ 8 │ 8 │5 │ - │ 25,547│219,317│ 7,281│ 4,599
440493│90 │200 │10 │10 │10 │10 │ 2 │ 36,412│219,317│ 10,377│ 6,554
440494│90 │200 │10 │10 │10 │10 │20 │ 34,712│219,317│ 9,893│ 6,248
440495│90 │200 │12 │12 │12 │14 │26 │ 40,660│219,317│ 11,588│ 7,319
440496│90 │200 │12 │12 │12 │16 │28 │ 40,454│219,317│ 11,529│ 7,282
440497│90 │200 │14 │14 │14 │14 │28 │ 46,756│219,317│ 13,325│ 8,416
440498│90 │255 │40 │67,5 │67,5 │5 │ 5 │169,500│270,416│ 48,307│ 30,510
442044│93 │35 │ 7 │ 4 │ 4 │5 │ 0,5│ 9,436│ 99,368│ 2,689│ 1,699
440499│95 │28 │ 6,5 │ 3,5 │ 3,5 │4 │ 0,5│ 8,083│ 99,040│ 2,304│ 1,455
440500│100 │100 │ 5 │ 5 │ 5 │8 │13 │ 14,049│141,421│ 4,004│ 2,529
440501│100 │100 │ 7 │ 7 │ 7 │8 │15 │ 19,329│141,421│ 5,509│ 3,479
440502│100 │100 │12 │12 │12 │5 │ 0,5│ 33,226│141,421│ 9,469│ 5,981
440503│100 │250 │15 │20 │20 │8 │ - │ 71,775│269,258│ 20,456│ 12,919
440504│100 │300 │10 │12 │12 │10 │ - │ 52,029│316,228│ 14,828│ 9,365
440506│100 │300 │14 │14 │14 │14 │ 2 │ 66,904│316,228│ 19,068│ 12,043
440507│100 │300 │20 │20 │20 │10 │ 2 │ 92,412│316,228│ 26,337│ 16,634
442045│100 │320 │10 │10 │10 │10 │ 1,5│ 50,420│335,261│ 14,370│ 9,076
440510│105 │200 │15 │ 8 │ 8 │10 │ 0,5│ 44,828│225,887│ 12,776│ 8,069
440511│105 │225 │10 │10 │10 │14 │24 │ 39,869│248,294│ 11,363│ 7,176
440513│105 │225 │12,5 │12,5 │12,5 │16 │28,5│ 48,862│248,294│ 13,926│ 8,795
440514│105 │225 │17,5 │17,5 │17,5 │20,5│38 │ 65,606│248,294│ 18,698│ 11,809
440515│105 │250 │12,5 │12,5 │12,5 │15 │27,5│ 52,095│271,155│ 14,847│ 9,377
440516│106 │256 │19 │21 │21 │8 │ 1 │ 85,450│277,078│ 24,353│ 15,381
442046│106 │140 │16 │16 │16 │5 │ 5 │ 51,200│175,602│ 14,592│ 9,216
440517│110 │350 │16 │16 │16 │10 │ 2 │ 86,492│366,879│ 24,650│ 15,569
442047│110 │102 │ 8 │ 5 │ 5 │3 │ - │ 18,399│150,013│ 5,244│ 3,312
440518│115 │250 │12,5 │12,5 │12,5 │16 │28,5│ 54,487│275,182│ 15,529│ 9,808
440519│115 │250 │20 │20 │20 │16 │36 │ 83,536│275,182│ 23,808│ 15,036
440520│116 │316 │29 │31 │31 │8 │ 1 │145,850│336,618│ 41,567│ 26,253
440521│120 │120 │30 │20 │20 │6 │ - │ 72,155│169,706│ 20,564│ 12,988
440522│120 │275 │12,5 │12,5 │12,5 │16 │28,5│ 58,862│300,042│ 16,776│ 10,595
440643│120 │92 │20 │14 │14 │10 │30 │ 42,966│151,208│ 12,245│ 7,734
440523│125 │125 │ 7,5 │ 7,5 │ 7,5 │10 │17,5│ 26,115│176,777│ 7,443│ 4,701
440524│150 │150 │ 8 │ 8 │ 8 │10 │18 │ 33,758│212,132│ 9,621│ 6,077
442049│151 │111 │ 8 │ 8 │ 8 │4 │ 5 │ 31,721│187,409│ 9,041│ 5,710
440525│153 │358 │118 │35 │35 │5 │ 5 │446,940│389,324│127,378│ 80,449
440526│175 │175 │ 9,5 │ 9,5 │ 9,5 │12 │21,5│ 46,704│247,487│ 13,311│ 8,407
440527│180 │630 │165 │55 │90 │5 │ 5 │107,200│655,210│302,456│191,025
442050│180 │136 │38 │30 │30 │10 │ 5 │137,202│225,601│ 39,103│ 24,696
440528│185 │150 │15 │ 8 │ 8 │10 │ 0,5│ 50,128│238,170│ 14,287│ 9,023
440529│200 │200 │11,5 │11,5 │11,5 │14 │25,5│ 64,405│282,843│ 18,355│ 11,593
440530│200 │200 │13,5 │13,5 │13,5 │16 │29,5│ 74,718│282,843│ 21,295│ 13,449
440531│225 │225 │14,5 │14,5 │14,5 │16 │30,5│ 90,776│318,198│ 25,871│ 16,340
440532│250 │250 │15 │15 │15 │16 │31 │104,974│353,553│ 29,918│ 18,895
440533│275 │275 │15 │16 │15 │16 │31 │116,224│388,909│ 33,124│ 20,920
Примечания:
1. Радиусы притупления острых кромок

должны соответствовать требованиям
ГОСТ 8617.
2. Значения радиусов скругления (R) и радиусов притупления острых кромок

, не приведенные в таблице, должны соответствовать требованиям
ГОСТ 8617.
2. Теоретическая масса 1 м профиля из алюминиевых сплавов вычислена по номинальным размерам при плотности 2,85 г/см3, что соответствует плотности алюминиевого сплава марки В95.
Теоретическая масса 1 м профиля из магниевых сплавов вычислена по номинальным размерам при плотности 1,90 г/см3, что соответствует плотности магниевого сплава марки МА14.
3. Переводные коэффициенты для вычисления приближенной теоретической массы 1 м профиля из алюминиевых и магниевых сплавов приведены в Приложении 1.
4. Соответствие номеров профилей ранее действующим обозначениям приведено в
Приложении 2.
Справочное
1. Переводные коэффициенты для вычисления приближенной теоретической массы 1 м профиля из алюминия и алюминиевых сплавов.
Алюминий всех марок - 0,950
Сплавы марок - АМц - 0,958
АМцС - 0,958
АМг2 - 0,940
АМг3 - 0,937
АМг5 - 0,930
АМг6 - 0,926
1561 - 0,930
Д1 - 0,982
Д16 - 0,976
Д16ч - 0,976
Д19ч - 0,968
Д20 - 0,996
АВ - 0,947
К48-2пч - 0,972
К48-2 - 0,972
АД31 - 0,950
АД31Е - 0,950
АД33 - 0,951
АД35 - 0,954
1915 - 0,972
1920 - 0,954
1925 - 0,972
1935 - 0,977
1985ч - 0,948
М40 - 0,965
ВАД1 - 0,968
ВД17 - 0,965
АВД1-1 - 0,982
1980 - 0,968
ВД1 - 0,982
1161 - 0,971
1163 - 0,975
В93 - 0,992
АК4 - 0,970
АК6 - 0,962
АК4-1 - 0,982
АК4-1ч - 0,982
АКМ - 0,970
В96Цпч - 1,001
2. Переводные коэффициенты для вычисления приближенной теоретической массы 1 м профиля из магниевых сплавов.
Сплавы марок МА1 - 0,978
МА2 - 0,989
МА2-1 - 0,990
МА2-1пч - 0,990
МА8 - 0,989
МА12 - 0,989
Справочное
Таблица 2
────────┬────────────────────┬─────────────────────────────────────────────
Номер │Обозначение профиля │ Обозначение профиля
профиля│ по каталогу 1966 г.│ по чертежам
────────┼────────────────────┼─────────────────────────────────────────────
440001 │ П 496 │ПС 891-1
440002 │ П 300-2 │НП 518-1
440005 │ - │АПР 272
440006 │ П 300-3 │ПС 885-354
440007 │ П 300-5 │ПС 885-365
440008 │ П 300-7 │ПК 12340
440009 │ - │ПК 16329, ПК 16783
440010 │ П 300-9 │ПК 14092
440011 │ П 300-11 │Б 26
440013 │ - │ПК 14497
440014 │ П 300-4 │ПП 11-51, ПС 7-41
440015 │ П 300-6 │ПС 7-23
440016 │ - │ПК 8002, КП 87, ПС 885-710
440018 │ П 300-17 │ПК 14093
440021 │ - │ПК 16274
440022 │ - │ПК 14653
440023 │ П 300-21 │ПК 4118, ПС 950-1
440024 │ П 300-23 │ПК 4119, ПС 950-2
440027 │ П 300-10 │АПР 142
440028 │ П 300-25 │ПК 12506
440029 │ П 300-12 │НП 664-1
440030 │ П 300-14 │ПВ 834
440031 │ - │ПК 16784
440032 │ - │ПС 885-835
440033 │ П 300-16 │ПК 601-10, ПС 7-12
440034 │ П 300-18 │НП 580-1
440035 │ П 300-27 │ПК 13323-2
440036 │ П 300-29 │НП 832-1
440037 │ П 300-20 │ПП 11-7
440038 │ П 300-31 │ПК 0574
440039 │ П 300-22 │ПВ 304
440040 │ П 300-33 │ПВ 339, ПК 4196
440041 │ П 300-24 │ПК 0074
440042 │ П 300-35 │НП 859-2
440043 │ П 300-26 │С 326, С 2136, ПК 1991
440044 │ П 300-37 │НП 859-1
440046 │ П 300-28 │ПВ 901, ПК 885-399
440048 │ - │ПК 14773
440049 │ П 300-41 │ПВ 126
440050 │ - │ПК 14767
440051 │ П 300-43 │ПК 9555
440052 │ П 300-45 │ПК 9556
440054 │ - │ПК 15647
440056 │ П 300-30 │ПК 601-134
440057 │ П 300-49 │НП 886-1
440058 │ П 300-34 │ПР 106-18
440060 │ - │ПК 14635
440061 │ - │ПК 13881
440062 │ П 300-32 │АПР 156, ПВ 1805
440063 │ П 300-36 │ПВ 414-1, ПК 601-38, ПП 11-43
440065 │ П 300-38 │ПВ 305
440067 │ П 300-55 │ПК 13323-1
440068 │ П 300-42 │ПК 601-47, ПП 11-12
440069 │ П 300-44 │ПВ 1309, НП 642-1, ПК 9833-1
440070 │ П 300-46 │ПВ 1199, ПС 885-629, ПС 885-271
440071 │ - │ПС 885-269
440073 │ - │ПВ 1527
440074 │ П 300-48 │НП 1392-1, ПП 11-87, ПС 885-402
440075 │ - │НП 987-1
440076 │ П 300-50 │ПК 601-140, ПК 601-140А, ПС 885-264
440077 │ П 300-57 │НП 988-1
440079 │ П 300-52 │ПР 106-1
440080 │ П 300-54 │ПК 0307
440081 │ П 300-56 │ПР 106-3, НП 975-1, С 71
440082 │ П 300-61 │НП 845-1
440085 │ - │ПК 14273
140086 │ - │ПК 13880
440088 │ П 300-63 │ПК 11614
440089 │ - │ПС 885-591
440091 │ П 300-62 │ПС 7-45
440092 │ - │ПВ 1381-1
440094 │ П 300-64 │ПС 7-87
440095 │ П 300-66 │АПР 51, НП 148-1, ПС 7-8, ПВ 428
440096 │ П 300-68 │ПК 0016
440097 │ П 300-70 │ПК 602-6, НП 609-1, ПС 885-360
440098 │ П 300-74 │ПВ 197, ПС 7-46, ПВ 414-3
440099 │ П 300-72 │ПК 601-24, ПС 7-33
440100 │ П 300-76 │НП 294-8, ПП 11-48, ПС 7-6
440102 │ - │ПК 11672-1
440103 │ П 300-80 │С 996, ПК 601-48, ПП 11-13
440104 │ П 300-82 │ПВ 327
440105 │ - │ПК 17447
440106 │ - │ПК 16330
440108 │ П 300-86 │ПР 106-4, ПР 106-4А
440109 │ П 300-88 │ПК 0462
440110 │ П 300-89 │ПК 12413, ПС 7-96
440112 │ П 300-90 │ПР 106-5, ПР 106-5А
440113 │ П 300-92 │ПР 106-6
440114 │ П 300-94 │ПР 106-7
440115 │ - │С 1416-2
440116 │ П 300-96 │ПС 7-86
440118 │ П 300-99 │ПК 13384
440119 │ П 300-98 │НП 540-1
440120 │ П 300-100 │ПС 7-63
440122 │ П 300-102 │ПП 11-86
440124 │ П 300-103 │ПК 0569
440125 │ - │ПК 14264, ПК 19933
440126 │ П 300-104 │ПР 106-2, ПР 106-2А
440127 │ П 300-106 │АПР 175, ПК 601-11, ПВ 546, ПС 7-13
440128 │ П 300-108 │ПР 106-20, ПР 106-20А
440129 │ П 300-110 │ПВ 196, ПС 7-53
440130 │ П 300-112 │ПВ 905, ПР 106-33, ПС 7-20
440132 │ - │ПК 17900
440134 │ П 300-114 │ПР 106-9, НП 232-1
440135 │ П 300-115 │ПК 601-143
440136 │ П 300-116 │С 12
440137 │ П 300-118 │ПС 7-40
440138 │ П 300-120 │НП 412-1
440140 │ - │ПС 885-608
440142 │ П 300-121 │ПС 7-111
440143 │ - │ПК 12434
440144 │ П 300-122 │С 527, С 1216-2, ПК 17245, НП 1846, НП 1480
440145 │ - │ПК 17245
440146 │ П 300-124 │АПР 19А
440148 │ П 300-126 │НП 467-4
440150 │ П 300-128 │ПК 601-60, ПП 11-58
440151 │ - │С 1692
440152 │ П 300-130 │ПК 601-17, ПС 7-26
440154 │ П 300-132 │ПВ 727, 885-65
440157 │ П 300-136 │ПВ 1434, ПК 601-39, ПП 11-44, ПС 885-497
440158 │ - │ПК 17993
440159 │ - │НП 1470-1, ПК 14226
440162 │ П 300-140 │НП 441-2
440163 │ - │ПК 01167-3
440165 │ - │С 1666
440166 │ П 300-141 │ПК 12644
440168 │ П 300-144 │С 187, ПВ 1587
440169 │ П 300-146 │С 228, С 2291
440170 │ - │С 1416-3, ПК 8033
440171 │ - │ПК 01167-1
440172 │ П 300-148 │ПС 7-88
440173 │ - │ПК 15451
440174 │ П 300-150 │ПК 601-9, НП 294-1, ПП 11-31, ПС 7-11
440175 │ П 300-152 │НП 552-1
440176 │ П 300-158 │НП 1562, ПС 7-55
440177 │ П 300-154 │ПК 601-67, ПП 11-62, ПС 7-107
440178 │ П 300-156 │ПР 106-30, ПС 7-22
440179 │ - │ПС 7-47
440180 │ П 300-162 │ПР 106-31, ПР 106-31А, ПС 7-18
440181 │ П 300-164 │ПР 106-32А, ПС 7-10, ПР 106-32
440184 │ П 300-166 │ПР 106-21, ПР 106-21А
440185 │ П 300-168 │ПР 106-8, ПР 106-8А
440186 │ П 300-169 │ПК 8391, ПК 13231, С 1216-2
440188 │ П 300-172 │ПК 601-49, П 11-14
440190 │ П 300-174 │НП 1499, ПС 7-62
440191 │ П 300-176 │АПР 46, ПК 601-2, ПС 7-2, ПВ 425, НП 115-1
440192 │ П 300-177 │ПК 12892
440193 │ П 300-178 │ПС 7-31
440195 │ П 300-180 │ПР 106-36, ПС 7-19
440196 │ П 300-182 │ПР 106-19
440199 │ - │ПК 15183
440201 │ П 300-188 │ПР 106-12А, ПР 106-12
440202 │ П 300-190 │ПВ 820
440203 │ П 300-191 │НП 852-1
440205 │ - │ПК 17701
440206 │ П 300-192 │ПР 106-14, ПР 106-14А
440207 │ П 300-194 │С 10, ПС 7-28, НП 232-2
440208 │ - │ПВ 1387
440209 │ П 300-196 │ПВ 328, ПС 7-7
440210 │ П 300-198 │ПК 601-75, ПП 11-64, ПС 7-85
440211 │ П 300-200 │ПВ 1513, ПС 7-35, ПК 601-26
440212 │ - │ПС 512-1А
440213 │ П 300-202 │ПК 601-23
440214 │ П 300-204 │ПК 601-57, ПП 11-23, ПВ 658
440215 │ - │ПК 12570
440216 │ П 300-206 │ПК 601-42, ПП 11-48, ПС 7-51
440217 │ П 300-208 │ПК 11217
440218 │ П 300-210 │ПК 601-44, ПП 11-50
440219 │ П 300-211 │ПК 12025
440220 │ П 300-212 │ПВ 427, ПК 601-5, НП 117-1, АПР 9, ПС 7-5
440222 │ - │ПК 14993
440223 │ - │ПК 18057
440224 │ П 300-216 │ПС 7-39
440225 │ П 300-218 │ПВ 1152, ПК 601-20, ПП 11-42, ПС 7-29
440226 │ - │ПК 16038
440227 │ П 300-220 │ПК 601-66, ПП 11-66
440228 │ - │ПК 15798
440229 │ П 300-221 │НП 846-1
440231 │ П 300-222 │ПВ 1312, ПК 601-53, ПП 11-18, ПВ 906
440233 │ - │С 1083, ПК 16867
440234 │ П 300-226 │ПК 601-118
440235 │ - │ПК 14607
440236 │ П 300-228 │ПП 11-61
440237 │ П 300-229 │ПК 11693
440239 │ - │ПК 14644
440240 │ - │С 1009
440241 │ П 300-230 │С 496, ПП 11-5, ПК 601-45, ПС 7-108, ПВ 414-2
440244 │ П 300-234 │ПС 7-67
440245 │ П 300-236 │ПК 601-81
440246 │ П 300-237 │ПВ 1270
440247 │ П 300-238 │ПР 106-22, ПК 601-61, ПП 11-53
440248 │ П 300-242 │ПК 601-54А, ПП 11-19, ПК 601-54
440249 │ П 300-240 │ПР 106-23, ПК 601-62, ПП 11-52
440250 │ П 300-244 │ПР 106-24
440251 │ П 300-246 │С 329, ПК 12662, ПК 13119, ПР 106-10,
│ │ПР 106-10А
440252 │ П 300-248 │ПК 601-48
440253 │ П 300-250 │ПР 106-11, ПР 106-11А
440254 │ - │ПК 14800
440255 │ П 300-252 │ПВ 1152, ПП 11-42, ПК 601-20, ПС 7-29,
│ │ПК 601-83, ПВ 1995
440256 │ П 300-254 │С 772, ПК 601-55, ПП 11-20, ПС 7-65, ПВ 1111
440257 │ П 300-256 │С 585-1
440259 │ П 300-259 │ПК 601-150
440260 │ П 300-260 │ПП 11-82, ПС 7-59, НП 1917
440261 │ П 300-262 │ПР 106-15
440262 │ П 300-264 │ПВ 1493, ПК 601-50, ПП 11-15
440263 │ П 300-266 │ПК 601-74, ПП 11-65
440265 │ - │ПК 14801
440266 │ П 300-268 │ПК 601-25, НП 272-1, ПС 7-34
440267 │ П 300-269 │ПС 12625
440269 │ П 300-271 │ПК 601-59А
440270 │ - │С 1449
440271 │ П 300-272 │ПК 0160-3
440272 │ - │ПК 17951
440273 │ П 300-273 │С 1366, ПС 7-98
440275 │ - │С 1168
440277 │ П 300-276 │ПР 106-34, ПР 106-34А, ПС 7-17
440279 │ - │ПК 18151
440280 │ - │ПК 17190
440282 │ П 300-282 │ПК 11167
440283 │ П 300-284 │ПП 11-21
440284 │ П 300-286 │ПК 601-88
440286 │ - │С 1058
440287 │ П 300-290 │ПК 601-59, ПП 11-57, ПК 601-59Б
440289 │ П 300-292 │ПК 601-52, ПП 11-17, ПС 7-109
440290 │ П 300-294 │ПК 606-1
440291 │ П 300-296 │С 249, ПК 601-63, ПП 11-11, ПС 7-110, ПВ 1553
440292 │ П 300-298 │ПК 0019
440294 │ - │ПК 0665
440295 │ П 300-299 │ПК 0736-1, ПК 01000
440296 │ П 300-300 │ПК 0736-2, БК 24, ПК 0127
440298 │ П 300-303 │ПК 0544
440300 │ П 300-306 │ПР 106-38, ПС 7-9
440301 │ П 300-307 │ПК 0816
440303 │ - │С 1532
440304 │ П 300-309 │ПС 7-103
440306 │ - │ПК 14809
440308 │ - │ПК 14130
440309 │ - │ПК 14802
440310 │ П 300-313 │ПС 7-99
440312 │ П 300-317 │ПК 11762
440313 │ - │С 1399-1
440314 │ П 300-319 │ПК 11761
440316 │ - │С 1399-2
440318 │ П 300-310 │ПВ 794, ПК 601-18, ПС 7-27
440319 │ - │ПК 14113
440320 │ П 300-314 │ПК 601-16, НП 294-5, ПП 11-34, ПС 7-25
440321 │ - │ПК 15568
440322 │ П 300-316 │АПР 10, ПК 601-4, ПП 11-59, ПС 7-4, НП 116-1
440323 │ П 300-318 │ПС 7-84
440324 │ П 300-320 │ПВ 751
440326 │ П 300-324 │ПК 11448
440327 │ П 300-326 │ПР 106-35, ПС 7-16, ПР 106-35А
440329 │ П 300-330 │С 1363, НП 953-1
440330 │ - │ПК 17281, ПС 7-66
440331 │ П 300-332 │С 409
440332 │ П 300-334 │ПР 106-16, ПК 601-147, ПС 7-92
440333 │ П 300-335 │АПР 76
440335 │ П 300-338 │ПР 106-17
440336 │ П 300-340 │ПВ 287
440339 │ П 300-342 │ПВ 845
440340 │ П 300-343 │ПК 601-149
440341 │ П 300-344 │ПВ 335, ПК 0973
440343 │ П 300-347 │НП 770-1
440344 │ П 300-346 │ПК 0160-2
440345 │ П 300-348 │Ш 71
440346 │ П 300-350 │НП 577-1
440348 │ - │С 1488
440349 │ - │ПК 18059
440350 │ - │ПК 17504
440351 │ П 300-352 │ПК 606, ПП 11-46
440354 │ П 300-358 │ПВ 469, ПК 601-13, НП 294-6, ПП 11-37,
│ │ПС 7-15
440355 │ - │ПК 14282
440356 │ П 300-360 │С 1410, ПК 601-71, ПП 11-63
440357 │ П 300-362 │ПК 617-2
440359 │ П 300-366 │ПР 106-37, ПС 7-21, ПР 106-37А
440360 │ - │ПК 0040
440361 │ П 300-368 │БК 23, ПК 0018
440362 │ П 300-370 │ПК 601-99, БК 21, ПК 0023
440365 │ П 300-376 │ПП 11-45
440366 │ - │ПК 18040
440368 │ П 300-378 │ПС 7-42
440369 │ - │ПК 16522
440370 │ П 300-380 │С 1244, ПК 0725, НП 341-1, ПС 7-37, ПК 0125
440371 │ П 300-382 │ПВ 273, ПК 601-3, НП 294-7, ПП 11-40, ПС 7-3
440372 │ - │ПК 17857
440373 │ П 300-384 │ПС 885-284
440375 │ П 300-388 │ПК 601-70, ПП 11-67
440376 │ П 300-390 │ПВ 965, ПК 601-29
440377 │ П 300-392 │ПК 601-76
440378 │ - │ПК 16030
440379 │ - │ПК 14808
140380 │ П 300-394 │ПК 601-21, ПС 7-30, ПВ 598, ПК 601-21А
440382 │ П 300-396 │НП 1459-1, НП 467-2
440383 │ П 300-398 │ПВ 772, ПК 601-58, ПП 11-24, ПС 7-114,
│ │ПВ 439, ПК 0496
140384 │ П 300-400 │ПК 0042
440385 │ П 300-402 │ПК 601-107
440387 │ П 300-406 │НП 1936, ПС 7-60
440388 │ П 300-407 │НП 1025-1
440390 │ П 300-408 │ПВ 487
440391 │ - │ПК 17859
440392 │ П 300-410 │ПК 601-121
440393 │ П 300-412 │ПК 0443-1
440395 │ П 300-414 │ПС 7-61
440396 │ П 300-416 │ПК 601-122
440397 │ - │ПК 16510
440398 │ П 300-418 │ПК 601-110
440399 │ П 300-420 │ПК 601-109
440400 │ П 300-422 │С 625, ПК 601-77, ПП 11-70
440401 │ П 300-424 │Ш 78, ПК 601-103Б, ПК 601-103, ПВ 752, ПВ 249
440403 │ П 300-428 │ПК 0160-1
440404 │ П 300-430 │С 246
440405 │ П 300-432 │НП 467-3
440406 │ П 300-434 │ПК 0528
440408 │ П 300-436 │ПС 748
440409 │ - │ПК 15512А
440410 │ П 300-438 │ПК 0492
440411 │ - │ПК 16656
440412 │ П 300-440 │БК 12
440413 │ П 300-444 │ПП 11-77, НП 1384-1
440414 │ П 300-442 │ПВ 483, ПС 7-58, ПВ 1211
440416 │ П 300-445 │ПК 0736-6
440417 │ П 300-446 │ПК 0592, ПС 7-91
440419 │ П 300-449 │ПК 0560
440420 │ П 300-451 │АПР 73
440421 │ П 300-450 │ПК 725
440422 │ П 300-453 │ПВ 1255
440423 │ П 300-452 │ПВ 1458, ПП 11-47
440424 │ П 300-455 │ПК 13070, ПС 885-379
440425 │ - │ПК 16029
440426 │ П 300-454 │ПС 7-49
440428 │ П 300-458 │ПВ 586, НП 1245-1, ПВ 1056
440429 │ П 300-459 │ПК 12347
440430 │ - │ПК 17858
440431 │ П 300-460 │ПВ 389-1
440432 │ П 300-462 │ПК 0476
440433 │ П 300-464 │ПВ 270
440435 │ П 300-466 │ПК 601-124
440436 │ П 300-468 │ПК 601-123
440437 │ - │ПК 14790
440438 │ - │ПК 14805
440439 │ - │ПК 14645
440440 │ П 300-470 │НП 1301-1, ПК 13562, ПК 601-98, БК 11
440441 │ П 300-472 │НП 658-1
440442 │ - │ПК 01153, ПК 17146
440443 │ П 300-474 │ПК 0198
440444 │ П 300-476 │ПП 11-75
440445 │ П 300-478 │ПП 11-54
440447 │ П 300-482 │ПС 572
440449 │ П 300-484 │ПВ 606, ПС 7-76
440450 │ - │ПК 13948
440451 │ П 300-486 │ПК 0113
440453 │ П 300-490 │ПК 732, ПС 7-73
440454 │ П 300-492 │БК 12146, ПС 7-57
440455 │ П 300-494 │ПВ 384-1
440456 │ П 300-496 │ПК 601-138
440457 │ П 300-498 │НП 1527, ПС 7-54
440459 │ П 300-502 │НП 509-1
440460 │ П 300-504 │С 606, ПК 601-142А, ПК 601-142
440461 │ П 300-505 │П 300-505
440462 │ П 300-507 │П 300-507
440463 │ П 300-506 │ПК 601-148, ПС 7-93
440464 │ - │ПК 14815
440465 │ П 300-508 │ПВ 384-2, НП 1302-1, С 2203
440467 │ - │ПК 14791
440468 │ - │С 622
440469 │ П 300-512 │ПВ 268, ПВ 1956
440471 │ П 300-516 │ПВ 1393, ПК 601-27, ПС 7-36, ПК 0623
440472 │ П 300-518 │ПК 601-112
440474 │ П 300-520 │ПВ 596
440475 │ - │ПВ 1571
440476 │ П 300-522 │ПК 601-116
440478 │ П 300-526 │БК 10
440479 │ П 300-528 │ПК 9359-3, НП 1277-1
440481 │ П 300-532 │ПВ 389-4
440482 │ П 300-534 │ПК 601-120
440483 │ П 300-536 │ПК 601-119
440484 │ - │ПК 1555
440485 │ П 300-540 │ПК 0369, ПС 7-90
440487 │ - │ПК 13949
440488 │ - │ПК 14792
440489 │ - │ПК 16126
440490 │ П 300-542 │ПК 601-1А, НП 249-3, ПП 11-25, ПС 7-1
440491 │ П 300-544 │ПК 0443
440492 │ П 300-546 │ПК 0082
440493 │ П 300-548 │ПП 11-78
440494 │ - │БК 17
440495 │ П 300-550 │ПК 0004, ПС 7-74
440496 │ - │БК 20, ПП 11-79, НП 1307-1, П 300-551
440497 │ П 300-552 │ПК 0043
440498 │ П 300-553 │ПК 0535-2
440499 │ П 300-554 │ПК 0726, НП 294-4, ПП 11-33, ПС 7-14
440500 │ П 300-555 │П 300-555
440501 │ П 300-557 │П 300-557
440502 │ П 300-556 │ПК 0477
440503 │ П 300-558 │ПВ 568
440504 │ П 300-560 │ПК 601-128
440506 │ П 300-564 │ПС 7-80
440507 │ П 300-566 │ПК 0512
440510 │ - │ПВ 1298
440511 │ П 300-568 │ПК 0160-4
440513 │ П 300-570 │ПК 601-97, БК 25
440514 │ П 300-572 │ПК 0128, ПС 7-79
440515 │ П 300-575 │ПК 0516
440516 │ - │ПК 14579
440517 │ П 300-574 │ПК 601-114
440518 │ П 300-577 │ПК 0160-5, БК 9, ПК 601-92, ПК 0736-13
440519 │ П 300-578 │ПК 601-93
440520 │ - │ПК 145791
440521 │ П 300-580 │ПС 7-43
440522 │ П 300-581 │ПК 0736-14
440523 │ П 300-583 │П 300-583
440524 │ П 300-585 │П 300-585
440525 │ - │ПК 16683
440526 │ П 300-587 │П 300-587
440527 │ - │ПК 15458
440528 │ - │ПВ 1299
440529 │ П 300-589 │П 300-589
440530 │ П 300-591 │П 300-591
440531 │ П 300-593 │П 300-593
440532 │ П 300-595 │П 300-595
440533 │ П 300-597 │П 300-597
440534 │ - │ПК 19007
440535 │ │ПК 18625
440536 │ │ПК 19727
440537 │ │ПС 1047Д, ЦЛ 2501, ПК 18195
440538 │ │ПС 1098Д
440539 │ │ПК 8218
440540 │ │ЦЛ 2326-15, ПК 17832
440542 │ │ЭА 41089, ПК 19171
440543 │ │ПК 2167
440544 │ │ПВ 1667
440545 │ │ПК 2665
440547 │ │НП 1981
440548 │ │НП 1965
440549 │ │БК 214
440550 │ │БК 215
440551 │ │ПС 885-1040
440552 │ │ПК 18408, ИЛ 2326-18
440554 │ │П 17548-1, ИЛ 2326-9
440556 │ │БК 274
440557 │ │ПК 17548-2, ИЛ 2326-10, С 1779-2
440558 │ │ПК 4216
440559 │ │С 1932
440561 │ │ПК 01322
440562 │ │ПК 18432
440563 │ │НП 1968
440564 │ │КП 371
440565 │ │ПК 18689
440566 │ │ПК 17720
440567 │ │ПК 18299
440568 │ │ПК 18507
440569 │ │ПК 18584
440570 │ │ПК 2956
440571 │ │ПК 17719
440574 │ │С 1878
440575 │ │ПК 18433
440578 │ │ПК 8784
440580 │ │НП 1978
440581 │ │БК 486
440582 │ │ПК 8761
440583 │ │ПК 8782
440586 │ │ПК 8847
440587 │ │ПК 19207
440588 │ │ПК 19900
440589 │ │ПК 19612
440590 │ │НП 1733
440591 │ │ПК 01316
440593 │ │ПК 4671
440594 │ │ПК 2656
440596 │ │ПК 0901120
440597 │ │ПК 2548, ПК 4389
440598 │ │БК 387
440599 │ │ПК 2549
440600 │ │ПК 8349
440601 │ │ПК 4590
440602 │ │ПК 17791
440604 │ │ПК 8030
440605 │ │ПВ 2005
440606 │ │ПК 18991
440608 │ │ПК 17137
440609 │ │ПК 4702
440610 │ │ПК 2793
440611 │ │ПК 17892
440612 │ │ПК 4638
440613 │ │ПК 2286
440614 │ │ПК 2528
440615 │ │ПК 19446
440616 │ │ПК 4299
140617 │ │ПК 18936
440619 │ │ПК 2664
440620 │ │ПК 18438
440621 │ │ПК 18796
440622 │ │ПК 2308
440624 │ │ПК 19195
440627 │ │ПК 2178
440626 │ │С 1805
440628 │ │ПК 4548
440629 │ │НП 1924
440630 │ │ПВ 2007
440631 │ │ПК 2285
440632 │ │ПК 8675
440633 │ │БК 91
440634 │ │НП 1705
440635 │ │ПК 4865
440637 │ │ПК 8593
440640 │ │ПК 2400
440642 │ │ПК 19220
440643 │ │ПК 19455
442001 │ │ПК 4868
442002 │ │С 2309
442005 │ │С 1845-1
442009 │ │ПК 18447-1
442010 │ │ПК 2149
442011 │ │ПК 2150
442012 │ │ПК 19929
442013 │ │НП 298
442014 │ │ПК 7005
442015 │ │ПК 19662
442018 │ │ПК 18626
442019 │ │НП 1925
442021 │ │ПК 18280
442022 │ │ПК 19194
442024 │ │БК 286
442025 │ │ПК 18516
442028 │ │ПК 8367
442029 │ │ПК 19639
442030 │ │ПК 19638
442031 │ │ПК 8297
442032 │ │ПК 19756
442033 │ │ПК 19912
442034 │ │ПК 19199
442035 │ │ПК 2016
442036 │ │ПК 2017
442037 │ │ПК 2018
442038 │ │ПК 16481, ПВ 16009
442040 │ │БК 144
442041 │ │ПК 2907
442042 │ │ПК 19579
442043 │ │ПК 18064
442044 │ │ПК 18426
442045 │ │НП 1053-1
442046 │ │ПК 4596
442047 │ │ПВ 1631
442049 │ │ПК 4832
442050 │ │ПК 2183
442055 │ │СПА 2308
442060 │ │Ш 178
442062 │ │ПК 4504
442065 │ │НП 1045-2