Главная // Актуальные документы // ГОСТ (Государственный стандарт)СПРАВКА
Источник публикации
М.: ИПК Издательство стандартов, 2004
Примечание к документу
С 1 июля 2003 года до вступления в силу технических регламентов акты федеральных органов исполнительной власти в сфере технического регулирования носят рекомендательный характер и подлежат обязательному исполнению только в части, соответствующей целям, указанным в
пункте 1 статьи 46 Федерального закона от 27.12.2002 N 184-ФЗ.
Документ
введен в действие с 1 января 1992 года.
Название документа
"ГОСТ 28941.21-91. Межгосударственный стандарт. Соединения трубопроводов с развальцовкой трубы. Тройники проходные. Конструкция"
(утв. и введен в действие Постановлением Госстандарта СССР от 21.03.1991 N 304)
"ГОСТ 28941.21-91. Межгосударственный стандарт. Соединения трубопроводов с развальцовкой трубы. Тройники проходные. Конструкция"
(утв. и введен в действие Постановлением Госстандарта СССР от 21.03.1991 N 304)
Утвержден и введен в действие
Постановлением Государственного
Комитета СССР по управлению
качеством продукции и стандартам
от 21 марта 1991 г. N 304
МЕЖГОСУДАРСТВЕННЫЙ СТАНДАРТ
СОЕДИНЕНИЯ ТРУБОПРОВОДОВ С РАЗВАЛЬЦОВКОЙ ТРУБЫ
ТРОЙНИКИ ПРОХОДНЫЕ
КОНСТРУКЦИЯ
Flare fittings. Reducing branch tees. Construction
ГОСТ 28941.21-91
ОКП 41 9361
Дата введения
1 января 1992 года
ИНФОРМАЦИОННЫЕ ДАННЫЕ
1. РАЗРАБОТАН И ВНЕСЕН Государственным Комитетом СССР по управлению качеством продукции и стандартам
РАЗРАБОТЧИКИ
Б.В. Максимовский; Г.В. Поляков, канд. техн. наук;
Ю.А. Решников; С.А. Михайлова
2. УТВЕРЖДЕН И ВВЕДЕН В ДЕЙСТВИЕ Постановлением Государственного Комитета СССР по управлению качеством продукции и стандартам от 21.03.91 N 304
3. ВВЕДЕН ВПЕРВЫЕ
4. ССЫЛОЧНЫЕ НОРМАТИВНО-ТЕХНИЧЕСКИЕ ДОКУМЕНТЫ
Обозначение НТД, на который дана ссылка | Номер пункта |
| | ИС МЕГАНОРМ: примечание. Взамен ГОСТ 15763-91 Приказом Ростехрегулирования от 19.06.2008 N 122-ст с 1 января 2009 года введен в действие ГОСТ 15763-2005. | |
|
ГОСТ 15763-91 | |
| 1 |
5. ПЕРЕИЗДАНИЕ. Ноябрь 2004 г.
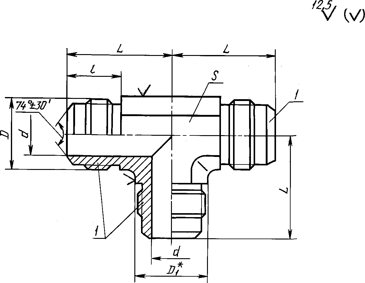
Настоящий стандарт распространяется на проходные тройники для соединений трубопроводов с развальцовкой трубы с углом конуса 74°.
Требования пп. 1,
3 являются обязательными, другие - рекомендуемыми.
1. Конструкция и размеры проходных тройников должны соответствовать указанным на чертеже и в
таблице.
--------------------------------
<*> Размер для справок.
1 - присоединительный конец корпусной детали
Примечание. Шероховатость поверхности S не нормируется.
Размеры, мм
| | (Dу) | d | D | D1 | S | L | l | Масса 1000 шт., кг |
+/- 0,3 |
2 | 4 | 3 | 2,7 | М10 x 1 | 9,2 | 8 | 23 | 13 | 24,5 |
6 | 4 | 4,0 | М12 x 1,5 | 13,8 | 12 | 14 | 48,1 |
8 | 6 | 5,5 | М14 x 1,5 | 26 | 15 | 53,1 |
10 | 8 | 7,5 | М16 x 1,5 | 16,2 | 14 | 29 | 17 | 72,1 |
12 | 10 | 9,5 | М18 x 1,5 | 19,6 | 17 | 32 | 110,9 |
(14) | 12 | 11,0 | М22 x 1,5 | 21,9 | 19 | 34 | 19 | 165,8 |
15 |
18 | 15 | 14,0 | М27 x 2 | 27,7 | 24 | 39 | 22 | 288,7 |
22 | 20 | 18,0 | М30 x 2 | 31,2 | 27 | 45 | 23 | 353,8 |
28 | 25 | 24,0 | М36 x 2 | 41,6 | 36 | 50 | 24 | 496,3 |
(34) | 32 | 30,0 | М45 x 2 | 47,3 | 41 | 58 | 27 | 762,8 |
35 |
42 | 40 | 36,0 | М52 x 2 | 57,7 | 50 | 62 | 1400,0 |
--------------------------------
<*>
Dн - наружный диаметр трубы;
DN (
Dу) - условный проход (номинальный размер).
Примечания:
1. Значения, приведенные в скобках, непредпочтительны.
2. Масса указана для справок.
Пример условного обозначения тройника группы 2 с Dн = 10 мм:
Тройник 2-10-ГОСТ 28941.21-91
| | ИС МЕГАНОРМ: примечание. Взамен ГОСТ 15763-91 Приказом Ростехрегулирования от 19.06.2008 N 122-ст с 1 января 2009 года введен в действие ГОСТ 15763-2005. | |
2. Значение номинального (условного) давления для проходных тройников группы 2 - по ГОСТ 15763 (приложение 3).
3. Технические требования, приемка и методы испытаний - по ГОСТ 15763.