Главная // Актуальные документы // ГОСТ (Государственный стандарт)СПРАВКА
Источник публикации
М.: ИПК Издательство стандартов, 2003
Примечание к документу
С 01.07.2003 до вступления в силу технических регламентов акты федеральных органов исполнительной власти в сфере технического регулирования носят рекомендательный характер и подлежат обязательному исполнению только в части, соответствующей целям, указанным в
п. 1 ст. 46 Федерального закона от 27.12.2002 N 184-ФЗ.
Документ
введен в действие с 01.01.1982.
Название документа
"ГОСТ 24903-81. Межгосударственный стандарт. Порошковые изделия. Метод определения масла"
(утв. и введен в действие Постановлением Госстандарта СССР от 11.08.1981 N 3768)
(ред. от 27.08.1991)
"ГОСТ 24903-81. Межгосударственный стандарт. Порошковые изделия. Метод определения масла"
(утв. и введен в действие Постановлением Госстандарта СССР от 11.08.1981 N 3768)
(ред. от 27.08.1991)
Утвержден и введен в действие
Постановлением Государственного
комитета СССР по стандартам
от 11 августа 1981 г. N 3768
МЕЖГОСУДАРСТВЕННЫЙ СТАНДАРТ
ПОРОШКОВЫЕ ИЗДЕЛИЯ
МЕТОД ОПРЕДЕЛЕНИЯ МАСЛА
Powder articles. Method of determination of oil
ГОСТ 24903-81
| | Список изменяющих документов Госстандарта СССР от 24.06.1986 N 1680, Госстандарта СССР от 27.08.1991 N 1394) | |
Дата введения
1 января 1982 года
1. РАЗРАБОТАН И ВНЕСЕН Академией наук УССР
2. УТВЕРЖДЕН И ВВЕДЕН В ДЕЙСТВИЕ Постановлением Государственного комитета СССР по стандартам от 11.08.81 N 3768
3. ВВЕДЕН ВПЕРВЫЕ
4. ССЫЛОЧНЫЕ НОРМАТИВНО-ТЕХНИЧЕСКИЕ ДОКУМЕНТЫ
Обозначение НТД, на который дана ссылка | Номер пункта, раздела |
| |
| |
| |
5. Ограничение срока действия снято Постановлением Госстандарта СССР от 27.08.91 N 1394
6. ИЗДАНИЕ (ноябрь 2003 г.) с Изменениями N 1, 2, утвержденными в июне 1986 г., августе 1991 г. (ИУС 9-86, 11-91)
Настоящий стандарт устанавливает метод определения содержания масла при массовой доле более 0,5% в пропитанных порошковых изделиях.
Метод основан на растворении масла в пробе с последующей экстракцией и определением разницы массы пробы до и после испытания.
Стандарт полностью соответствует СТ СЭВ 2292-80.
(Измененная редакция, Изм. N 2).
1. ОТБОР И ПРИГОТОВЛЕНИЕ ПРОБЫ
Пробу отбирают методом случайного отбора или методом наибольшей объективности по
ГОСТ 18321.
Масса пробы для испытания должна составлять от 10 до 200 г. При массе изделия менее 10 г пробу образуют из нескольких изделий, общая масса которых должна быть более 10 г. При массе изделия более 200 г его дробят на части. Любую из частей массой от 10 до 200 г берут для испытания.
Весы лабораторные с наибольшим пределом взвешивания 200 г, с погрешностью взвешивания не более 0,001 г.
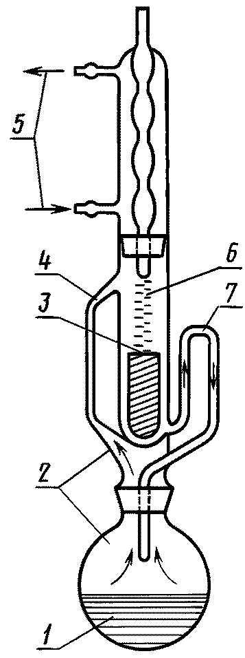
Аппарат Сокслета объемом не менее 0,25 дм3 (см. чертеж) или другие устройства, обеспечивающие надежную экстракцию масла.
Углерод четыреххлористый по
ГОСТ 4.
(Измененная редакция, Изм. N 1, 2).
1 - растворитель; 2 - восходящий пар; 3 - экстракционная
гильза с веществом; 4 - паровая труба; 5 - охлаждающая вода;
6 - конденсированный растворитель; 7 - раствор
3.1. Пробу взвешивают с погрешностью не более 0,001 г. Проводят экстракцию масла из пробы в аппарате Сокслета в течение не менее 3 ч. В качестве растворителя применяют четыреххлористый углерод или другие растворители.
Пробу сушат при температуре на 10 - 20 °С выше температуры кипения растворителя.
(Измененная редакция, Изм. N 1).
3.2. Повторяют попеременно экстракцию и сушку до постоянной массы пробы. Массу считают постоянной, если ее значение после очередной операции экстракции уменьшается не более чем на 0,05%.
(Измененная редакция, Изм. N 2).
4.1. Массовую долю масла (
Cm) в пробе в процентах вычисляют с округлением до 0,01% по формуле

.
Объемную долю масла (Cv) в пробе в процентах вычисляют с округлением до 0,1% по формуле

.
Объемную долю открытых пор, насыщенных маслом, в процентах (Cp) вычисляют с округлением до 0,1% по формуле

,
где m1 - масса пробы до экстракции, г;
m2 - масса пробы после экстракции, г;

- плотность масла, г/см
3;
V - объем пробы, см3;
Vp - объем открытых пор, см3.
4.2. При контроле изделий число определений должно быть оговорено в нормативно-технической документации на изделие.
4.3. Среднеарифметическое результатов параллельных определений принимают за окончательный результат.