Главная // Актуальные документы // ГОСТ (Государственный стандарт)
СПРАВКА
Источник публикации
М.: Издательство стандартов, 1994
Примечание к документу
Документ включен в Перечень документов в области стандартизации, в результате применения которых на добровольной основе обеспечивается соблюдение требований Федерального закона от 30.12.2009 N 384-ФЗ "Технический регламент о безопасности зданий и сооружений" (Приказ Росстандарта от 02.04.2020 N 687).

Документ включен в Перечень документов в области стандартизации, в результате применения которых на добровольной основе обеспечивается соблюдение требований Федерального закона от 30.12.2009 N 384-ФЗ "Технический регламент о безопасности зданий и сооружений" (Приказ Росстандарта от 17.04.2019 N 831).

Документ включен в Перечень документов в области стандартизации, в результате применения которых на добровольной основе обеспечивается соблюдение требований Федерального закона от 30.12.2009 N 384-ФЗ "Технический регламент о безопасности зданий и сооружений" (Приказ Росстандарта от 30.03.2015 N 365).

Документ включен в Перечень национальных стандартов, в результате применения которых на добровольной основе обеспечивается соблюдение требований Федерального закона от 30.12.2009 N 384-ФЗ "Технический регламент о безопасности зданий и сооружений" (Приказ Ростехрегулирования от 01.06.2010 N 2079).

С 1 июля 2003 года до вступления в силу технических регламентов акты федеральных органов исполнительной власти в сфере технического регулирования носят рекомендательный характер и подлежат обязательному исполнению только в части, соответствующей целям, указанным в пункте 1 статьи 46 Федерального закона от 27.12.2002 N 184-ФЗ.

Введен в действие с 1 июля 1994 года.
Название документа
"ГОСТ 21.405-93. Система проектной документации для строительства. Правила выполнения рабочей документации тепловой изоляции оборудования и трубопроводов"
(принят МНТКС 10.11.1993)

"ГОСТ 21.405-93. Система проектной документации для строительства. Правила выполнения рабочей документации тепловой изоляции оборудования и трубопроводов"
(принят МНТКС 10.11.1993)


Содержание


Принят
Постановлением МНТКС
10 ноября 1993 г.
МЕЖГОСУДАРСТВЕННЫЙ СТАНДАРТ
СИСТЕМА ПРОЕКТНОЙ ДОКУМЕНТАЦИИ ДЛЯ СТРОИТЕЛЬСТВА
ПРАВИЛА ВЫПОЛНЕНИЯ РАБОЧЕЙ ДОКУМЕНТАЦИИ ТЕПЛОВОЙ ИЗОЛЯЦИИ
ОБОРУДОВАНИЯ И ТРУБОПРОВОДОВ
System of building design documents.
Rules of carrying out of working documents of heat
insulation of equipment and pipelines
ГОСТ 21.405-93
Группа Ж01
ОКСТУ 0021
Введен впервые
Дата введения в действие
1 июля 1994 года
Разработан Научно-исследовательским и проектным институтом "Теплопроект", Государственным проектным, конструкторским и научно-исследовательским институтом "Сантех-НИИпроект" и Центральным научно-исследовательским и проектно-экспериментальным институтом по методологии, организации, экономике и автоматизации проектирования (ЦНИИпроект).
Внесен Госстроем России.
За принятие стандарта проголосовали:
─────────────────────────────┬────────────────────────────────────
Наименование государства │Наименование органа государственного
│ управления строительством
─────────────────────────────┼────────────────────────────────────
Азербайджанская Республика │Госстрой Азербайджанской Республики
Республика Армения │Госупрархитектура Республики Армения
Республика Беларусь │Госстрой Республики Беларусь
Республика Казахстан │Минстрой Республики Казахстан
Кыргызская Республика │Госстрой Кыргызской Республики
Российская Федерация │Госстрой России
Республика Таджикистан │Госстрой Республики Таджикистан
Украина │Минстрой архитектуры Украины
1. ОБЛАСТЬ ПРИМЕНЕНИЯ
Настоящий стандарт устанавливает состав и правила оформления рабочей документации тепловой изоляции наружной поверхности трубопроводов и оборудования зданий и сооружений различного назначения.
2. НОРМАТИВНЫЕ ССЫЛКИ
В настоящем стандарте использованы ссылки на следующие стандарты:
ГОСТ 21.101-93. СПДС. Основные требования к рабочей документации
ИС МЕГАНОРМ: примечание.
Взамен ГОСТ 21.109-80, ГОСТ 21.110-82 Постановлением Минстроя России от 05.06.1995 N 18-55 введен в действие с 1 июня 1995 года ГОСТ 21.110-95.
ГОСТ 21.109-80. СПДС. Ведомости потребности в материалах
ГОСТ 21.110-82. СПДС. Спецификация оборудования
ГОСТ 21.111-84. СПДС. Ведомости объемов строительных и монтажных работ
ГОСТ 17314-81. Устройства для крепления тепловой изоляции стальных сосудов и аппаратов. Конструкция и размеры. Технические требования.
3. ОБЩИЕ ПОЛОЖЕНИЯ
3.1. Рабочую документацию тепловой изоляции оборудования и трубопроводов выполняют в соответствии с требованиями настоящего стандарта, ГОСТ 21.101 и других взаимосвязанных стандартов Системы проектной документации для строительства.
3.2. В состав рабочей документации тепловой изоляции включают:
- рабочие чертежи, предназначенные для производства монтажных работ (основной комплект рабочих чертежей марки ТИ);
- ведомость техномонтажную в соответствии с разделом 6;
- спецификацию оборудования по ГОСТ 21.110;
- ведомость потребности в материалах по ГОСТ 21.109 <*>;
--------------------------------
<*> Выполняют при наличии указаний в договоре на выполнение проектных работ.
- ведомости объемов строительных и монтажных работ по ГОСТ 21.111 <*>;
- эскизные чертежи общих видов нетиповых теплоизоляционных конструкций, изделий, устройств (далее - эскизные чертежи общих видов нетиповых изделий), предназначенные для разработки конструкторской документации.
3.3. В состав основного комплекта рабочих чертежей марки ТИ включают:
- общие данные по рабочим чертежам;
- чертежи (виды, планы, разрезы) тепловой изоляции.
3.4. Позиционные обозначения (марки) оборудования (установок, блоков), систем, трубопроводов, арматуры и других элементов принимают по соответствующим рабочим чертежам (технологическим, тепломеханическим, санитарно-техническим и др.), на основании которых разрабатывают чертежи тепловой изоляции.
3.5. При незначительном объеме работ по тепловой изоляции трубопроводов и применении типовых решений допускается не выполнять основной комплект рабочих чертежей марки ТИ.
В этом случае соответствующие указания о выполнении работ, составе теплоизоляционных конструкций и техномонтажную ведомость (при необходимости) приводят на листе общих данных основного комплекта, содержащего рабочие чертежи трубопроводов, подлежащих изоляции.
4. ОБЩИЕ ДАННЫЕ ПО РАБОЧИМ ЧЕРТЕЖАМ
4.1. Общие данные по рабочим чертежам марки ТИ выполняют по ГОСТ 21.101.
4.2. В общих указаниях, кроме сведений, предусмотренных ГОСТ 21.101, приводят:
- расчетную температуру окружающего воздуха;
- результаты теплотехнических расчетов (при необходимости);
- коэффициенты уплотнения теплоизоляционных материалов;
- требования к изготовлению и монтажу тепловой изоляции оборудования и трубопроводов (допускается приводить на соответствующих чертежах тепловой изоляции);
- назначение изоляции для отдельных видов оборудования и трубопроводов, а также сведения по расположению тепловой изоляции в соответствии с 6.2, перечисление ж.
Примеры
1. Тепловая изоляция трубопроводов с температурой веществ от плюс 50 до плюс 240 °С предусмотрена с целью соблюдения норм плотности теплового потока.
2. Тепловая изоляция воздуховодов с температурой от плюс 5 до минус 20 °С, расположенных в помещении, предусмотрена с целью предотвращения конденсации влаги на поверхности теплоизоляционной конструкции.
5. ЧЕРТЕЖИ ТЕПЛОВОЙ ИЗОЛЯЦИИ
5.1. На чертежах тепловой изоляции (видах, планах и разрезах) наносят и указывают:
- координационные оси здания (сооружения) <*>;
--------------------------------
<*> Указывают при необходимости.
- изолируемое оборудование (установки, блоки), трубопроводы, воздуховоды, газоходы, а также строительные конструкции <*>;
- отметки чистых полов этажей (площадок), уровней основных элементов оборудования <*>;
- размерные привязки оборудования (установок, блоков), трубопроводов, воздуховодов, газоходов, опор к координационным осям здания (сооружения) <*>;
- габаритные размеры оборудования;
- наружные размеры сечения трубопроводов и их элементов;
- толщину теплоизоляционного слоя в конструкции (при двух и более теплоизоляционных слоях указывают толщину каждого слоя);
- размерные привязки элементов крепления тепловой изоляции к элементам оборудования, трубопроводов, если они не определены требованиями ГОСТ 17314. При необходимости размерную привязку элементов крепления выполняют на отдельном чертеже;
- слои тепловой изоляции (тепло- и пароизоляционный, покровный) и их крепления с привязкой к элементам теплоизоляционной конструкции;
- позиционные обозначения элементов теплоизоляционных конструкций на полке линии-выноски;
- позиционные обозначения (марки) оборудования (установок, блоков), систем, трубопроводов, воздуховодов, газоходов.
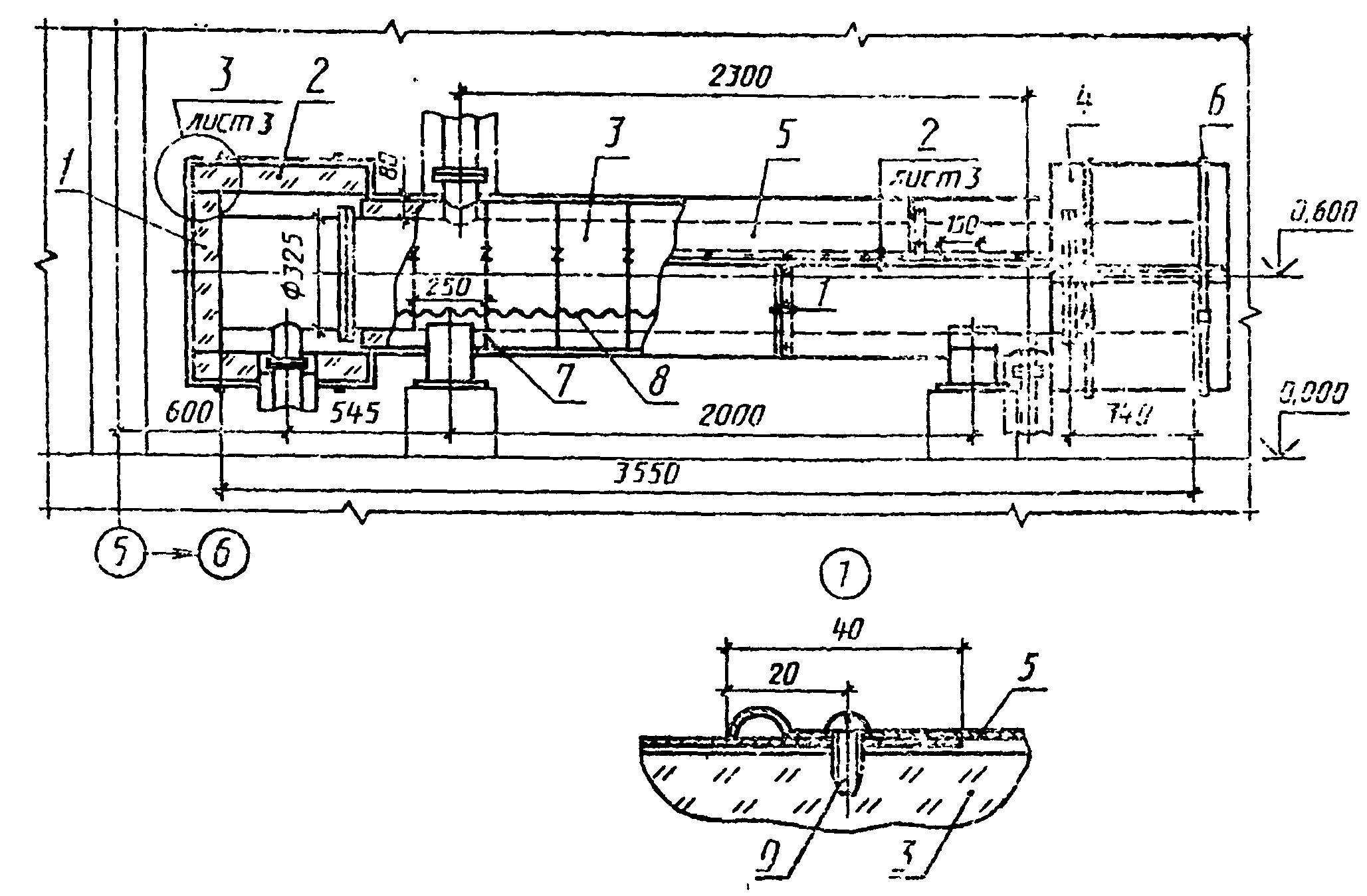
Пример выполнения чертежа тепловой изоляции приведен в Приложении А.
5.2. На видах, планах и разрезах теплоизоляционные конструкции, изделия, устройства изображают упрощенно сплошной толстой основной линией.
Оборудование (установки, блоки), трубопроводы, воздуховоды, газоходы и строительные конструкции на видах, планах и разрезах изображают сплошной тонкой линией.
Элементы крепления составных частей теплоизоляционной конструкции или их соединения между собой изображают, как правило, на узлах видов, планов или разрезов.
5.3. К каждому чертежу тепловой изоляции оборудования (установки, блока), трубопровода, воздуховода, газохода и других элементов составляют спецификацию по форме 7 или 8 ГОСТ 21.101.
5.4. Элементы теплоизоляционной конструкции записывают в спецификацию в следующей последовательности:
- изделия теплоизоляционные;
- материалы теплоизоляционные, пароизоляционные, покровного слоя;
- изделия крепежные.
5.5. В спецификации указывают:
- в графах "Кол." и "Масса ед., кг" - объем и массу теплоизоляционного материала (для уплотняющегося материала - объем и массу указывают с учетом уплотнения);
- в графе "Примечание" - единицы измерения и другие необходимые данные.
6. ВЕДОМОСТЬ ТЕХНОМОНТАЖНАЯ
6.1. Ведомость техномонтажную (ВТ) выполняют по форме 1, Приложение Б.
6.2. В графах ВТ указывают:
а) в графе "Марка, поз." - обозначение изолируемого оборудования (установки, блока), системы, трубопровода, элемента трубопровода, арматуры, фланцевого соединения согласно 3.4;
б) в графе "Наименование":
- для оборудования - наименование, тип, марку (для оборудования сложной конфигурации - площадь поверхности, подлежащей изоляции);
- для трубопровода, воздуховода, газохода - наименование, начальную и конечную точки трубопровода, воздуховода, газохода или их участков, подлежащих изоляции;
- для арматуры - тип, диаметр условного прохода;
в) в графе "Размеры: наружный диаметр или сечение, мм":
- для оборудования, трубопровода, воздуховода, газохода цилиндрической формы - наружный диаметр;
- для оборудования, воздуховода, газохода прямоугольного сечения - наружные размеры сечения;
г) в графе "Размеры: длина, высота, м" - длину (высоту) подлежащих изоляции участков горизонтального или вертикального оборудования, трубопровода, воздуховода, газохода.
Для оборудования сложной конфигурации, арматуры, фланцевых соединений графу "Размеры" не заполняют;
д) в графе "Кол." - количество изолируемых элементов трубопровода, оборудования, арматуры и т.п.;
е) в графе "Температура вещества, °С" - температуру теплоносителя. Для обогреваемых трубопроводов и оборудования указывают также температуру теплоносителя трубопровода-спутника;
ж) в графе "Назначение и расположение" - назначение теплоизоляционной конструкции и расположение изолируемых оборудования, трубопровода, воздуховода, газохода в соответствии с заданием на проектирование. Для оборудования и трубопроводов (воздуховодов, газоходов), размещенных в одинаковых условиях, расположение не указывают. В этом случае сведения по расположению тепловой изоляции помещают в общих указаниях, входящих в состав общих данных по рабочим чертежам марки ТИ. Перечень обозначений, применяемых в техномонтажной ведомости для заполнения графы "Назначение и расположение", приведен в Приложении В;
и) в графе "Наименование (обозначение)" - наименование или обозначение теплоизоляционной конструкции в соответствии с документацией на конструкцию. Допускается приводить наименование материала слоев тепловой изоляции;
к) в графе "Толщина слоя, мм, теплоизоляционного" - толщину каждого слоя из разнородных теплоизоляционных материалов или толщину индустриальной теплоизоляционной конструкции; для уплотняющихся материалов - толщину после уплотнения. Допускается указывать общую толщину слоев из однородных теплоизоляционных материалов;
л) в графе "Толщина слоя, мм, покровного" - толщину металлического покровного слоя. Для неметаллических покровных слоев графу не заполняют;
м) в графе "Поверхность, м2" - расчетную наружную поверхность покровного слоя;
н) в графе "Объем теплоизоляционного слоя, м3" - объем теплоизоляционных слоев по каждому слою в отдельности;
п) в графе "Обозначение документа" - обозначение документа на теплоизоляционную конструкцию;
р) в графе "Примечание" - дополнительные сведения.
6.3. ВТ выполняют, как правило, отдельным документом с присвоением самостоятельного обозначения, состоящего из обозначения основного комплекта рабочих чертежей и (через точку) шифра ВТ, например, 2345-11-ТИ.ВТ.
При выполнении ВТ отдельным документом первым листом является титульный лист. Титульный лист выполняют по форме 2, Приложение Г.
Допускается титульный лист не выполнять. В этом случае на первом листе ВТ наносят основную надпись по форме 3 ГОСТ 21.101.
7. СПЕЦИФИКАЦИЯ ОБОРУДОВАНИЯ
7.1. В спецификацию оборудования (СО) конструкции изделия и материалы записывают по группам в следующей последовательности:
- конструкции (изделия) теплоизоляционные;
- материалы теплоизоляционные;
- материалы пароизоляционные;
- материалы покровного слоя;
- другие материалы.
Изделия крепежные (болты, гайки, шайбы, прокладки) в СО не включают.
7.2. В графе "Наименование" перед наименованиями конструкций, изделий и материалов, включенных в СО, указывают порядковый номер их записи в СО. Графу "Поз." не заполняют.
7.3. В СО принимают следующие единицы измерений:
- конструкции (изделия) - шт.;
- материалы теплоизоляционные - м3;
- материалы пароизоляционные и покровного слоя - м2;
- другие материалы - кг.
8. ЭСКИЗНЫЕ ЧЕРТЕЖИ ОБЩИХ ВИДОВ НЕТИПОВЫХ ИЗДЕЛИЙ
8.1. Эскизные чертежи выполняют в объеме задания, необходимого для разработки конструкторской документации.
8.2. Эскизный чертеж должен содержать:
- изображения изделия (виды, разрезы, сечения), технические требования и надписи, необходимые для понимания устройства изделия;
- наименования составных частей изделия;
- размеры и другие наносимые на изображения данные.
8.3. Изображения нетипового изделия выполняют с максимальными упрощениями.
8.4. Наименования составных частей нетипового изделия на эскизном чертеже указывают на полках линий-выносок.
8.5. В технических требованиях приводят:
- требования к разрабатываемому изделию и применяемым материалам;
- требования к изготовлению, монтажу и окраске;
- особые требования к изделию, например кислотостойкость.
8.6. Эскизному чертежу присваивают самостоятельное обозначение, состоящее из обозначения основного комплекта рабочих чертежей по ГОСТ 21.101, через точку шифра Н и порядкового номера эскизного чертежа.
Пример. 2345-11-ТИ.Н1; 2345-11-ТИ.Н2.
Приложение А
(справочное)
ПРИМЕР ВЫПОЛНЕНИЯ ЧЕРТЕЖА ТЕПЛОВОЙ ИЗОЛЯЦИИ
Приложение Б
(обязательное)
Форма 1
Ведомость техномонтажная
-/--┌──────────────────────────────────────────────┬────────┐--\-
8│ │ Изолируемые оборудование, трубопровод │ │ 8│
-/--├──────┬──────────┬───────────────┬────┬───────┼──────┬─┤--\-
│ │Марка,│Наименова-│ Размеры │Кол.│Темпе- │Назна-│ │ 8│
│ │ поз. │ние ├────────┬──────┤ │ратура │чение │ │--\-
32│ │ │ │наружный│длина,│ │вещест-│и рас-│ │ │
│ │ │ │диаметр │высо- │ │ва, °С │поло- │ \ │
│ │ │ │ или │та, м │ │ │жение │ /24│
│ │ │ │сечение,│ │ │ │ │ \ │
│ │ │ │ мм │ │ │ │ │ │ │
-/--├──────┼──────────┼────────┼──────┼────┼───────┼──────┼─┤--\-
8│ │ │ │ │ │ │ │ │ │
-/--├──────┼──────────┼────────┼──────┼────┼───────┼──────┼─┤
│ │ │ │ │ │ │ │ │
└──────┴─────\/\──┴────────┴──────┴────┴───────┴──────┴─┘
│ 20 │ 70 │ 25 │ 15 │ 10 │ 15 │ 15 │
/------/----------/--------/------/----/-------/------/
Окончание формы 1
-/--┌───────────────────────────────────────────────────────────┐--\-
8│ │ Теплоизоляционная конструкция │ 8│
-/--├─┬─────────────┬────────────┬───────┬──────┬─────────┬─────┤--\-
│ │ │Наименование │ Толщина │Поверх-│Объем │Обозначе-│При- │ 8│
│ │ │(обозначение)│ слоя, мм │ность, │тепло-│ние доку-│меча-│ │
│ \ │ ├──────┬─────┤м2 │изоля-│мента │ние │--\-
32│ / │ │тепло-│по- │ │цион- │ │ │ │
│ \ │ │изоля-│кров-│ │ного │ │ │24│
│ │ │ │цион- │ного │ │слоя, │ │ │ │
│ │ │ │ного │ │ │м3 │ │ │ │
-/--├─┼─────────────┼──────┼─────┼───────┼──────┼─────────┼─────┤--\-
8│ │ │ │ │ │ │ │ │ │
-/--├─┼─────────────┼──────┼─────┼───────┼──────┼─────────┼─────┤
└─┴────────\/\──┴──────┴─────┴───────┴──\/\─┴─────────┴─────┘
│ 75 │ 15 │ 15 │ 20 │ 20 │ 60 │ 10 │
/-------------/------/-----/-------/------/---------/-----/
Приложение В
(обязательное)
ПЕРЕЧЕНЬ
ОБОЗНАЧЕНИЙ, ПРИМЕНЯЕМЫХ, В ТЕХНОМОНТАЖНОЙ ВЕДОМОСТИ
ПРИ ЗАПОЛНЕНИИ ГРАФЫ "НАЗНАЧЕНИЕ И РАСПОЛОЖЕНИЕ"
────────────────────────────────────────────────────┬─────────────
Наименование │ Обозначение
────────────────────────────────────────────────────┼─────────────
Назначение │
Соблюдение норм плотности теплового потока │СН
Соблюдение требований безопасности │ТБ
Сохранение заданной температуры │СТ
Предотвращение конденсации влаги на поверхности │ПК
изоляции или внутренней поверхности изолируемого │
оборудования или трубопровода │
Предотвращение замерзания или увеличения вязкости │З
вещества │
Расположение │
На открытом воздухе │О
В помещении │П
В тоннеле │Т
В канале │К
В техническом подполье │ТП
Приложение Г
(обязательное)
Форма 2
Титульный лист
-/-----/───────────────────────────────────────────────────────────┐
│ │ 5│ │
│ │ /---┌─────────────────────────────────────────────────────┐ │
│ │ │ Наименование министерства (ведомства), в систему │ │
│ │ │которого входит организация, составившая документ <*>│ │
│ │ │ │ │
│ │ │ │ │
│ │ │ Наименование организации, составившей документ │ │
│ │ │ │ │
│ │ ├─────────────────────────────────────────────────────┤ │
│ │ │ │ │
│ │ │ ┌─────────────────────────────────────┐ │ │
│ │ │ │ Наименование предприятия, │ │ │
│ │ │ │ здания (сооружения) │ │ │
│ │ │ └─────────────────────────────────────┘ │ │
│ │ 20 │ │5│
│ /-------/ /-/-
│ │ │ │ │
│ │ │ ВЕДОМОСТЬ ТЕХНОМОНТАЖНАЯ │ │
297│ │ │ │ │
│ │ │ │ │
│ │ │ ┌─────────────────────────────────┐ │ │
│ │ │ │ Обозначение техномонтажной │ │ │
│ │ ┌─────┤ │ ведомости │ │ │
│ │ │До- │ └─────────────────────────────────┘ │ │
│ │ │пол- │ │ │
│ │ │ни- │ │ │
│ │ │тель-│ ┌─────────────────────────────────────────────────┐ │ │
│ │ │ные │ │ │ │ │
│ │ │графы│ │Главный инженер проекта _________ ______________ │ │ │
│ │ │по │ │ (подпись) (фамилия) │ │ │
│ │ │ГОСТ │ └─────────────────────────────────────────────────┘ │ │
│ │ │21. │ │ │
│ │ │101 │ │ │
│ │ │ │ │ │
│ │ │ │ │ │
│ │ │ │ ┌──────────────────┐ │ │
│ │ │ │ │ Год издания │ │ │
│ │ │ │ └──────────────────┘ │ │
│ │ │ │ │ │
│ │ │ │ │ │
│ │ --/---└─────────────────────────────────────────────────────┘ │
│ │ 5│ │
-/-├───/───────────────────────────────────────────────────────────┤
│ 210 │
/---------------------------------------------------------------/
--------------------------------
<*> Допускается не указывать наименование министерства (ведомства).