Главная // Актуальные документы // ГОСТ (Государственный стандарт)СПРАВКА
Источник публикации
М.: Издательство стандартов, 1991
Примечание к документу
С 1 июля 2003 года до вступления в силу технических регламентов акты федеральных органов исполнительной власти в сфере технического регулирования носят рекомендательный характер и подлежат обязательному исполнению только в части, соответствующей целям, указанным в
пункте 1 статьи 46 Федерального закона от 27.12.2002 N 184-ФЗ.
Текст документа приведен с учетом
поправки, опубликованной в "ИУС", N 4, 2005.
Введен в действие с 1 января 1992 года.
Взамен ГОСТ 13738-80.
Название документа
"ГОСТ 13738-91. Профили прессованные прямоугольные неравнополочного уголкового сечения из алюминиевых и магниевых сплавов. Сортамент"
(утв. Постановлением Госстандарта СССР от 03.04.1991 N 418)
"ГОСТ 13738-91. Профили прессованные прямоугольные неравнополочного уголкового сечения из алюминиевых и магниевых сплавов. Сортамент"
(утв. Постановлением Госстандарта СССР от 03.04.1991 N 418)
Утвержден и введен в действие
Постановлением Госстандарта СССР
от 3 апреля 1991 г. N 418
ГОСУДАРСТВЕННЫЙ СТАНДАРТ СОЮЗА ССР
ПРОФИЛИ ПРЕССОВАННЫЕ ПРЯМОУГОЛЬНЫЕ
НЕРАВНОПОЛОЧНОГО УГОЛКОВОГО СЕЧЕНИЯ
ИЗ АЛЮМИНИЕВЫХ И МАГНИЕВЫХ СПЛАВОВ
СОРТАМЕНТ
Extruded rectangular unequishelf
angle-section shapes of aluminium
and magnesium alloys. Dimensions
ГОСТ 13738-91
Дата введения
1 января 1992 года
1. Разработан и внесен Министерством авиационной промышленности СССР.
Разработчики: Г.С. Макаров, В.Ф. Николаев, В.К. Николаев.
2. Утвержден и введен в действие Постановлением Государственного комитета СССР по управлению качеством продукции и стандартам от 03.04.1991 N 418.
3. Взамен ГОСТ 13738-80.
4. Периодичность проверки стандарта - 10 лет.
5. Ссылочные нормативно-технические документы
─────────────────────────────────────────┬────────────────────────
Обозначение НТД, на который дана ссылка │ Номер пункта
─────────────────────────────────────────┼────────────────────────
Настоящий стандарт устанавливает сортамент прессованных прямоугольных профилей неравнополочного уголкового сечения из алюминия, алюминиевых и магниевых сплавов, изготовляемых методом горячего прессования. Требования стандарта являются обязательными.
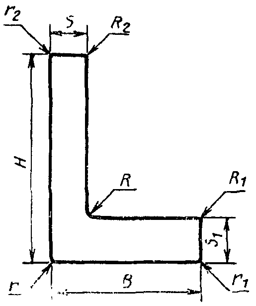
1. Номера профилей и их размеры должны соответствовать приведенным на чертеже и в
табл. 1.
────────┬──────────────────────────────────────────┬────────┬────┬───────────────
Номер │ Размеры, мм │Площадь │Диа-│Теоретическая
профиля │ │сечения,│метр│масса 1 м, кг
├───────┬──────┬────┬──────┬────┬─────┬────┤см2 │опи-├───────┬───────
│ Н │ В │ S │ S │ R │ R │ R │ │сан-│алюми- │магни-
│ │ │ │ 1 │ │ 1 │ 2 │ │ной │ниевый │евый
│ │ │ │ │ │ │ │ │ок- │сплав │сплав
│ │ │ │ │ │ │ │ │руж-│ │
│ │ │ │ │ │ │ │ │нос-│ │
│ │ │ │ │ │ │ │ │ти, │ │
│ │ │ │ │ │ │ │ │мм │ │
────────┼───────┼──────┼────┼──────┼────┼─────┼────┼────────┼────┼───────┼───────
410502 │9,5 │9,0 │3,0 │3,0 │- │- │- │0,465 │13 │0,133 │0,084
412097 │10,0 │6,5 │3,5 │5,0 │0,5 │- │- │0,501 │12 │0,143 │0,090
410504 │12,0 │6,0 │1,0 │1,0 │1,5 │- │- │0,175 │13 │0,050 │0,031
410505 │12,0 │8,0 │1,0 │1,0 │1,5 │- │- │0,195 │14 │0,056 │0,035
410506 │12,0 │10,0 │1,0 │5,5 │- │- │0,5 │0,615 │16 │0,175 │0,111
411830 │13,0 │9,0 │4,0 │3,0 │3,0 │1,0 │1,0 │0,685 │16 │0,195 │0,123
410508 │13,0 │12,0 │1,0 │1,5 │1,5 │0,7 │0,5 │0,298 │18 │0,085 │0,054
412098 │14,0 │10,15 │2,0 │3,0 │0,8 │0,8 │0,8 │0,523 │17 │0,149 │0,094
410509 │14,0 │13,0 │1,0 │1,0 │1,5 │- │- │0,265 │19 │0,075 │0,048
411831 │15,0 │8,0 │3,0 │3,0 │2,0 │1,5 │1,5 │0,599 │17 │0,171 │0,108
410511 │15,0 │10,0 │3,0 │3,0 │3,0 │2,0 │2,0 │0,662 │18 │0,189 │0,119
410513 │15,0 │13,0 │1,0 │1,5 │1,5 │0,7 │0,5 │0,333 │20 │0,095 │0,060
410515 │15,9 │12,7 │3,2 │3,2 │- │- │- │0,813 │20 │0,232 │0,146
410517 │16,0 │13,0 │1,6 │1,6 │1,6 │0,8 │0,8 │0,441 │21 │0,126 │0,079
410518 │16,0 │15,0 │3,0 │3,5 │3,0 │- │- │0,919 │22 │0,262 │0,165
410519 │16,0 │15,6 │4,0 │3,5 │2,0 │0,5 │0,5 │1,054 │22 │0,300 │0,190
410521 │18,0 │10,0 │1,2 │1,2 │3,0 │- │- │0,340 │21 │0,097 │0,061
410522 │18,0 │10,0 │1,5 │1,5 │3,0 │- │- │0,417 │21 │0,119 │0,075
410523 │18,0 │12,0 │1,5 │1,5 │2,0 │0,7 │0,7 │0,434 │22 │0,124 │0,078
410524 │18,0 │16,0 │1,5 │1,0 │2,0 │0,5 │0,5 │0,423 │24 │0,120 │0,076
410525 │18,0 │16,0 │1,5 │1,0 │2,0 │1,0 │1,5 │0,417 │24 │0,119 │0,075
410526 │20,0 │5,0 │2,0 │2,5 │- │- │- │0,475 │21 │0,135 │0,086
410527 │20,0 │6,0 │1,0 │1,0 │1,5 │- │- │0,254 │21 │0,073 │0,046
410530 │20,0 │6,0 │3,0 │3,0 │- │- │- │0,690 │21 │0,197 │0,124
410532 │20,0 │8,0 │1,2 │1,2 │2,0 │- │- │0,330 │22 │0,094 │0,059
410533 │20,0 │8,0 │1,5 │1,5 │2,0 │- │- │0,406 │22 │0,116 │0,073
410535 │20,0 │8,0 │2,0 │2,0 │0,5 │- │- │0,521 │22 │0,148 │0,094
412100 │20,0 │9,0 │2,0 │2,0 │1,0 │- │- │0,542 │22 │0,155 │0,098
410536 │20,0 │10,0 │1,5 │1,5 │2,0 │0,7 │0,7 │0,434 │23 │0,124 │0,078
410540 │20,0 │12,0 │4,0 │5,0 │- │- │- │1,200 │23 │0,342 │0,216
410542 │20,0 │14,0 │2,0 │2,5 │2,5 │- │- │0,713 │25 │0,203 │0,128
410543 │20,0 │15,0 │1,0 │1,0 │2,0 │0,5 │0,5 │0,348 │25 │0,099 │0,063
410544 │20,0 │15,0 │1,0 │1,5 │2,0 │- │0,5 │0,418 │25 │0,119 │0,075
410545 │20,0 │15,0 │1,5 │1,2 │2,0 │0,6 │0,7 │0,469 │25 │0,134 │0,084
412101 │20,0 │15,0 │1,5 │1,5 │0,5 │- │- │0,503 │25 │0,143 │0,091
410547 │20,0 │15,0 │1,5 │1,5 │2,0 │0,7 │0,7 │0,509 │25 │0,145 │0,092
410548 │20,0 │15,0 │1,5 │2,0 │2,0 │1,0 │0,7 │0,575 │25 │0,164 │0,104
410549 │20,0 │15,0 │2,0 │1,5 │2,0 │0,7 │1,0 │0,600 │25 │0,171 │0,108
410550 │20,0 │15,0 │3,0 │3,0 │3,0 │1,5 │1,5 │0,970 │25 │0,276 │0,175
410553 │20,0 │18,0 │1,0 │1,0 │2,0 │0,5 │0,5 │0,378 │27 │0,108 │0,068
410555 │20,0 │18,0 │2,0 │2,0 │2,0 │1,0 │1,0 │0,724 │27 │0,206 │0,130
410556 │20,0 │18,0 │2,5 │1,5 │2,5 │1,0 │1,0 │0,742 │27 │0,211 │0,133
410557 │20,0 │18,0 │3,0 │2,5 │3,0 │1,2 │1,5 │0,986 │27 │0,281 │0,178
410558 │20,0 │18,0 │3,0 │4,0 │4,0 │2,0 │2,0 │1,217 │27 │0,347 │0,219
410559 │20,0 │18,5 │1,5 │3,0 │3,0 │- │- │0,829 │27 │0,236 │0,149
412018 │21,0 │8,0 │4,0 │3,0 │1,0 │- │- │0,962 │23 │0,274 │0,173
410561 │21,0 │8,5 │2,0 │2,0 │1,0 │- │- │0,552 │23 │0,157 │0,099
410562 │21,0 │18,0 │1,5 │2,5 │2,5 │0,3 │0,3 │0,741 │28 │0,211 │0,133
410563 │21,0 │18,0 │3,0 │3,0 │3,0 │1,5 │1,5 │1,090 │28 │0,311 │0,186
411832 │22,0 │10,0 │2,2 │2,0 │0,2 │- │- │0,600 │24 │0,171 │0,108
410566 │22,0 │14,0 │9,0 │5,0 │0,5 │0,5 │0,5 │2,229 │26 │0,635 │0,401
411833 │22,0 │16,0 │1,5 │2,5 │2,5 │- │- │0,706 │27 │0,201 │0,127
410569 │22,0 │20,0 │1,5 │1,5 │2,0 │0,7 │0,7 │0,614 │30 │0,175 │0,111
410570 │22,0 │20,0 │3,0 │3,0 │4,0 │2,0 │2,0 │1,187 │30 │0,338 │0,214
410571 │22,0 │20,6 │2,4 │2,4 │1,5 │2,4 │2,4 │0,945 │30 │0,269 │0,170
410572 │22,0 │21,0 │1,5 │1,5 │2,0 │0,7 │0,7 │0,629 │31 │0,179 │0,113
410574 │23,0 │15,0 │3,0 │3,0 │0,5 │1,5 │1,5 │1,041 │28 │0,297 │0,187
410575 │23,0 │18,0 │1,5 │1,5 │2,0 │- │- │0,601 │29 │0,171 │0,108
410834 │23,0 │18,0 │3,0 │3,0 │4,0 │1,0 │1,0 │1,170 │29 │0,333 │0,211
410576 │23,0 │20,0 │2,5 │2,5 │2,0 │1,2 │1,2 │1,015 │31 │0,289 │0,183
410577 │23,0 │21,0 │3,0 │1,5 │4,0 │- │- │0,994 │31 │0,283 │0,179
410579 │24,0 │19,0 │2,0 │5,0 │2,0 │- │- │1,339 │31 │0,381 │0,241
410581 │24,5 │22,0 │2,5 │2,5 │2,5 │- │- │1,113 │33 │0,317 │0,200
410582 │25,0 │10,0 │1,2 │1,2 │1,0 │- │- │0,408 │27 │0,116 │0,073
412023 │25,0 │10,0 │1,5 │1,5 │2,0 │- │- │0,511 │27 │0,146 │0,092
410583 │25,0 │10,0 │3,0 │4,0 │4,0 │- │- │1,064 │27 │0,303 │0,192
410584 │25,0 │11,0 │2,0 │2,5 │2,5 │1,2 │1,0 │0,733 │27 │0,209 │0,132
411835 │25,0 │12,0 │4,0 │12,0 │- │0,5 │0,5 │1,959 │28 │0,558 │0,353
410586 │25,0 │13,0 │3,0 │2,5 │3,0 │- │1,2 │1,016 │28 │0,290 │0,183
410587 │25,0 │15,0 │1,0 │1,5 │2,0 │0,7 │0,5 │0,467 │29 │0,133 │0,084
410588 │25,0 │15,0 │1,3 │1,5 │2,5 │0,7 │0,6 │0,542 │29 │0,154 │0,098
410589 │25,0 │15,0 │1,5 │1,0 │2,0 │0,5 │0,7 │0,517 │29 │0,147 │0,093
410590 │25,0 │15,0 │1,5 │1,5 │2,5 │0,7 │0,7 │0,589 │29 │0,168 │0,106
410591 │25,0 │16,0 │2,5 │2,5 │2,0 │- │- │0,971 │30 │0,277 │0,175
410592 │25,0 │18,0 │1,5 │1,5 │2,0 │0,5 │0,5 │0,630 │31 │0,180 │0,113
410594 │25,0 │18,0 │2,0 │1,5 │2,0 │0,7 │1,0 │0,745 │31 │0,212 │0,134
410596 │25,0 │18,0 │2,5 │2,0 │2,5 │1,0 │1,2 │0,943 │31 │0,269 │0,170
410597 │25,0 │18,0 │3,0 │2,5 │3,0 │1,2 │1,5 │1,136 │31 │0,324 │0,205
411836 │25,0 │18,0 │5,0 │5,0 │0,5 │0,5 │0,5 │1,899 │31 │0,541 │0,342
410598 │25,0 │19,0 │1,8 │1,8 │1,6 │0,9 │0,9 │0,762 │32 │0,217 │0,137
410599 │25,0 │19,0 │2,4 │2,4 │3,2 │1,2 │1,2 │1,014 │32 │0,289 │0,183
410600 │25,0 │20,0 │1,2 │1,2 │2,0 │0,5 │0,5 │0,533 │32 │0,152 │0,096
410601 │25,0 │20,0 │1,5 │1,5 │2,0 │- │- │0,661 │32 │0,188 │0,119
410602 │25,0 │20,0 │1,5 │2,5 │2,5 │1,2 │0,7 │0,846 │32 │0,241 │0,152
410603 │25,0 │20,0 │2,0 │2,0 │2,0 │1,0 │1,0 │0,864 │32 │0,246 │0,156
410604 │25,0 │20,0 │2,0 │2,5 │2,5 │1,2 │1,0 │0,958 │32 │0,273 │0,172
410605 │25,0 │20,0 │2,0 │5,0 │2,0 │2,5 │1,0 │1,393 │32 │0,397 │0,251
410606 │25,0 │20,0 │2,5 │2,5 │2,0 │- │- │1,071 │32 │0,305 │0,193
410607 │25,0 │20,0 │2,5 │3,0 │3,0 │1,5 │1,2 │1,161 │32 │0,331 │0,209
410608 │25,0 │20,0 │5,0 │3,0 │4,0 │1,0 │1,0 │1,730 │32 │0,493 │0,311
410609 │25,0 │22,0 │1,0 │1,0 │2,0 │0,5 │0,5 │0,468 │33 │0,133 │0,084
410610 │25,0 │22,0 │2,0 │2,0 │2,0 │1,0 │1,0 │0,904 │33 │0,258 │0,168
410612 │25,0 │23,0 │3,0 │2,5 │3,0 │1,2 │1,5 │1,261 │34 │0,359 │0,227
411837 │25,0 │24,0 │1,8 │2,5 │1,5 │- │- │1,010 │35 │0,288 │0,182
410614 │25,5 │22,0 │2,5 │2,5 │2,5 │- │- │1,138 │34 │0,324 │0,205
412025 │26,0 │4,0 │1,2 │1,2 │1,0 │- │- │0,348 │26 │0,099 │0,063
410615 │26,0 │4,0 │1,2 │1,5 │1,0 │- │- │0,356 │26 │0,102 │0,064
411838 │26,0 │18,0 │8,0 │4,0 │0,5 │0,5 │0,5 │2,479 │32 │0,707 │0,446
411839 │26,1 │16,0 │3,0 │5,5 │1,0 │0,5 │0,5 │1,499 │31 │0,427 │0,270
411840 │27,0 │18,0 │1,8 │2,5 │2,5 │0,5 │0,5 │0,903 │33 │0,257 │0,163
411841 │27,0 │20,О │2,0 │4,0 │3,0 │- │- │1,279 │34 │0,365 │0,230
410618 │27,0 │20,0 │3,0 │3,0 │3,0 │- │- │1,339 │34 │0,382 │0,241
410619 │27,0 │22,0 │4,0 │4,0 │3,0 │2,0 │2,0 │1,802 │35 │0,514 │0,324
410620 │27,0 │25,0 │3,2 │1,8 │2,0 │- │- │1,265 │37 │0,361 │0,228
410621 │27,0 │25,0 │3,0 │5,0 │4,0 │1,0 │1,0 │1,940 │37 │0,553 │0,349
411842 │28,0 │5,6 │2,0 │20,0 │- │0,8 │- │1,279 │29 │0,364 │0,230
410624 │28,0 │8,0 │2,0 │2,0 │0,5 │- │- │0,681 │29 │0,194 │0,122
411843 │28,0 │18,0 │2,0 │2,0 │0,5 │0,5 │0,5 │0,879 │33 │0,251 │0,158
411844 │28,0 │20,0 │2,0 │2,0 │- │0,5 │0,5 │0,919 │35 │0,262 │0,165
411845 │28,0 │25,0 │1,8 │3,0 │3,0 │0,5 │0,5 │1,218 │38 │0,347 │0,219
410626 │28,0 │25,0 │5,0 │2,5 │3,0 │- │2,5 │1,906 │38 │0,543 │0,343
410627 │28,0 │25,0 │5,5 │4,5 │4,0 │0,5 │0,5 │2,451 │38 │0,698 │0,441
410631 │30,0 │8,0 │2,0 │2,0 │0,5 │- │- │0,721 │31 │0,205 │0,130
410633 │30,0 │12,0 │6,0 │4,0 │- │- │- │2,040 │33 │0,581 │0,367
410634 │30,0 │15,0 │1,5 │1,5 │1,5 │0,7 │0,7 │0,655 │34 │0,187 │0,118
410635 │30,0 │15,0 │1,5 │1,5 │2,0 │- │- │0,661 │34 │0,188 │0,119
410636 │30,0 │15,0 │3,0 │3,0 │2,0 │1,5 │1,5 │1,259 │34 │0,359 │0,227
410637 │30,0 │16,0 │1,5 │1,5 │1,5 │0,7 │0,7 │0,670 │34 │0,191 │0,121
410638 │30,0 │16,0 │5,5 │5,0 │1,0 │- │4,0 │2,143 │34 │0,611 │0,386
411846 │30,0 │16,0 │6,0 │5,0 │5,0 │0,5 │0,5 │2,353 │34 │0,670 │0,423
410639 │30,0 │18,0 │2,0 │1,5 │2,0 │0,7 │1,0 │0,845 │35 │0,241 │0,152
410640 │30,0 │18,0 │3,0 │2,5 │3,0 │1,2 │1,5 │1,286 │35 │0,367 │0,232
411847 │30,0 │18,0 │8,0 │4,0 │2,0 │0,5 │0,5 │2,808 │35 │0,800 │0,505
410641 │30,0 │20,0 │1,5 │1,5 │1,5 │0,7 │0,7 │0,730 │36 │0,208 │0,131
410642 │30,0 │20,0 │1,5 │1,5 │2,0 │- │- │0,736 │36 │0,210 │0,132
410644 │30,0 │20,0 │1,5 │2,0 │2,0 │1,0 │0,7 │0,825 │36 │0,235 │0,149
410645 │30,0 │20,0 │1,5 │2,5 │2,5 │0,5 │0,5 │0,925 │36 │0,264 │0,166
410646 │30,0 │20,0 │2,0 │2,0 │2,0 │1,0 │1,0 │0,964 │36 │0,275 │0,174
410647 │30,0 │20,0 │2,0 │2,0 │2,5 │2,0 │2,0 │0,956 │36 │0,273 │0,172
410648 │30,0 │20,0 │2,0 │2,5 │2,5 │- │- │1,063 │36 │0,303 │0,191
410649 │30,0 │20,0 │2,0 │3,0 │4,0 │- │- │1,174 │36 │0,335 │0,211
410650 │30,0 │20,0 │2,5 │2,0 │3,0 │1,2 │1,5 │1,111 │36 │0,317 │0,200
410651 │30,0 │20,0 │2,5 │2,5 │2,5 │- │- │1,201 │36 │0,342 │0,216
410652 │30,0 │20,0 │2,5 │3,0 │3,0 │1,5 │1,2 │1,286 │36 │0,367 │0,232
410654 │30,0 │20,0 │3,0 │3,0 │3,0 │1,5 │1,5 │1,420 │36 │0,405 │0,256
410655 │30,0 │20,0 │3,0 │4,0 │4,0 │2,0 │1,5 │1,601 │36 │0,456 │0,288
410657 │30,0 │21,0 │3,0 │8,5 │3,0 │- │- │2,449 │37 │0,698 │0,441
410658 │30,0 │24,5 │2,5 │2,5 │2,5 │- │- │1,313 │39 │0,374 │0,236
410659 │30,0 │25,0 │1,5 │1,5 │3,0 │0,7 │0,7 │0,820 │39 │0,234 │0,148
410660 │30,0 │25,0 │2,0 │2,0 │2,0 │- │1,0 │1,066 │39 │0,304 │0,192
410661 │30,0 │25,0 │3,0 │2,5 │3,0 │1,2 │1,5 │1,461 │39 │0,416 │0,263
410662 │30,0 │25,0 │3,0 │3,0 │2,0 │1,5 │1,5 │1,559 │39 │0,444 │0,281
410663 │30,0 │25,0 │3,0 │5,0 │5,0 │1,0 │1,5 │2,047 │39 │0,583 │0,368
410664 │30,0 │25,0 │3,0 │7,0 │3,0 │- │- │2,459 │39 │0,701 │0,443
410665 │30,0 │25,0 │4,0 │3,0 │4,0 │0,5 │0,5 │1,863 │39 │0,531 │0,335
410666 │30,0 │25,0 │4,0 │4,0 │4,0 │1,5 │1,5 │2,065 │39 │0,588 │0,372
410667 │30,0 │25,0 │6,0 │5,0 │5,0 │0,5 │0,5 │2,803 │39 │0,799 │0,504
410668 │30,0 │25,5 │2,5 │2,5 │2,5 │- │- │1,338 │40 │0,381 │0,241
410669 │30,0 │27,0 │4,0 │5,0 │5,0 │0,5 │0,5 │2,403 │41 │0,685 │0,432
410671 │30,0 │28,0 │2,5 │6,5 │3,0 │- │- │2,427 │41 │0,692 │0,437
411848 │30,0 │28,0 │3,5 │2,5 │5,0 │- │- │1,716 │41 │0,489 │0,309
410673 │30,0 │28,0 │4,0 │2,0 │3,0 │- │- │1,699 │41 │0,484 │0,306
410674 │30,0 │29,0 │5,0 │2,0 │5,0 │0,5 │0,5 │2,033 │42 │0,579 │0,366
410677 │31,0 │21,0 │2,5 │5,0 │3,0 │2,5 │1,2 │1,703 │38 │0,485 │0,307
410678 │31,0 │25,0 │2,5 │5,0 │3,0 │2,5 │1,2 │1,903 │40 │0,542 │0,343
410679 │31,0 │28,0 │2,5 │5,0 │2,5 │2,5 │1,2 │2,047 │42 │0,583 │0,368
410681 │32,0 │4,0 │1,8 │1,8 │- │- │- │0,616 │32 │0,175 │0,111
411849 │32,0 │15,0 │8,0 │14,0 │2,0 │1,0 │1,0 │3,544 │36 │1,010 │0,638
410684 │32,0 │16,0 │4,0 │22,0 │- │2,0 │2,0 │3,903 │36 │1,112 │0,703
410686 │32,0 │19,0 │1,5 │1,5 │1,5 │0,7 │0,7 │0,745 │37 │0,212 │0,134
410687 │32,0 │19,0 │1,5 │1,5 │2,0 │- │- │0,751 │37 │0,214 │0,135
410688 │32,0 │19,0 │2,0 │5,0 │2,0 │- │- │1,499 │37 │0,427 │0,270
410689 │32,0 │19,0 │2,4 │2,4 │2,4 │1,2 │1,2 │1,173 │37 │0,334 │0,211
410690 │32,0 │20,0 │2,0 │2,0 │2,5 │- │- │1,013 │38 │0,289 │0,182
410691 │32,0 │20,0 │2,5 │3,0 │3,0 │1,5 │0,5 │1,339 │38 │0,382 │0,241
411850 │32,0 │20,0 │6,0 │8,0 │3,0 │- │- │3,059 │38 │0,872 │0,551
411851 │32,0 │25,0 │2,0 │4,0 │4,0 │- │- │1,594 │41 │0,454 │0,287
410693 │32,0 │25,0 │3,5 │3,5 │3,0 │1,7 │1,7 │1,879 │41 │0,536 │0,338
410694 │32,0 │25,5 │3,7 │3,7 │2,5 │2,0 │2,0 │1,987 │41 │0,566 │0,358
410695 │32,0 │26,0 │2,5 │3,0 │3,0 │1,5 │1,2 │1,516 │41 │0,432 │0,273
411852 │32,0 │30,0 │1,5 │3,0 │2,5 │- │- │1,348 │44 │0,384 │0,243
410699 │32,5 │28,0 │2,0 │2,0 │2,5 │- │- │1,183 │43 │0,337 │0,213
411853 │32,5 │30,0 │2,5 │5,5 │2,0 │0,5 │0,5 │2,333 │44 │0,665 │0,420
410700 │33,0 │9,0 │3,0 │3,0 │0,5 │0,5 │0,5 │1,169 │34 │0,333 │0,211
410701 │33,0 │12,0 │5,0 │25,0 │1,0 │1,0 │1,0 │3,398 │35 │0,968 │0,612
410703 │33,0 │30,0 │4,0 │7,0 │3,0 │0,5 │0,5 │3,158 │45 │0,900 │0,568
410704 │33,0 │31,0 │6,0 │4,0 │4,0 │- │- │3,014 │45 │0,859 │0,543
410706 │34,0 │22,0 │4,0 │3,0 │4,0 │1,5 │2,0 │1,921 │41 │0,547 │0,346
412033 │34,0 │25,0 │6,5 │3,0 │3,0 │1,5 │1,5 │2,775 │42 │0,791 │0,499
410707 │34,0 │27,0 │6,0 │2,0 │3,0 │1,0 │0,5 │2,477 │44 │0,706 │0,446
411855 │34,0 │28,0 │2,5 │5,0 │3,0 │- │- │2,144 │44 │0,611 │0,386
412034 │34,0 │28,0 │6,5 │3,0 │3,0 │1,5 │1,5 │2,865 │44 │0,816 │0,516
410709 │35,0 │9,0 │2,5 │6,5 │1,5 │- │- │1,302 │36 │0,371 │0,234
412038 │35,0 │10,0 │1,5 │1,5 │2,0 │- │- │0,661 │37 │0,188 │0,119
411856 │35,0 │10,0 │2,0 │30,0 │2,0 │- │- │3,109 │37 │0,886 │0,560
410710 │35,0 │10,0 │4,0 │12,0 │3,0 │- │- │2,139 │37 │0,610 │0,385
410711 │35,0 │15,0 │1,5 │1,5 │1,5 │0,7 │0,7 │0,730 │38 │0,208 │0,131
410714 │35,0 │16,0 │2,0 │1,5 │2,0 │1,5 │2,0 │0,903 │39 │0,258 │0,163
410715 │35,0 │18,0 │3,0 │3,0 │1,0 │0,5 │0,5 │1,501 │39 │0,428 │0,270
411857 │35,0 │19,0 │13,0│10,0 │2,0 │1,0 │1,0 │5,154 │40 │1,469 │0,928
410716 │35,0 │20,0 │2,0 │2,0 │2,0 │1,0 │1,0 │1,064 │40 │0,303 │0,192
410717 │35,0 │20,0 │2,4 │2,4 │2,4 │- │- │1,275 │40 │0,363 │0,229
410718 │35,0 │20,0 │3,0 │3,0 │3,0 │1,5 │1,5 │1,570 │40 │0,447 │0,283
410719 │35,0 │20,0 │3,0 │5,0 │3,0 │2,0 │- │1,911 │40 │0,545 │0,344
410720 │35,0 │20,0 │4,0 │4,0 │3,5 │1,2 │1,2 │2,060 │40 │0,587 │0,371
410721 │35,0 │22,0 │3,5 │3,5 │3,5 │1,7 │1,7 │1,886 │41 │0,538 │0,340
410722 │35,0 │24,0 │3,5 │6,5 │3,0 │- │- │2,577 │43 │0,734 │0,464
410723 │35,0 │25,0 │2,0 │2,0 │3,0 │0,7 │0,7 │1,177 │43 │0,336 │0,212
410724 │35,0 │25,0 │3,0 │3,0 │3,0 │2,0 │2,0 │1,712 │43 │0,488 │0,308
410725 │35,0 │25,0 │3,0 │4,0 │3,0 │2,0 │1,5 │1,936 │43 │0,552 │0,348
410726 │35,0 │25,0 │6,0 │4,0 │2,5 │0,5 │0,5 │2,872 │43 │0,819 │0,517
410727 │35,0 │25,0 │7,0 │7,0 │8,0 │3,0 │3,0 │3,809 │43 │1,085 │0,686
410728 │35,0 │26,0 │4,0 │2,5 │4,0 │0,5 │0,5 │1,983 │44 │0,565 │0,357
410729 │35,0 │28,0 │2,0 │2,0 │2,0 │1,0 │1,0 │1,224 │45 │0,349 │0,220
411858 │35,0 │28,0 │5,0 │2,5 │2,0 │- │- │2,334 │45 │0,665 │0,420
410730 │35,0 │28,0 │10,0│3,0 │5,0 │- │- │4,094 │45 │1,167 │0,737
410731 │35,0 │30,0 │2,0 │2,0 │3,0 │0,7 │0,7 │1,277 │46 │0,364 │0,230
410732 │35,0 │30,0 │2,5 │3,0 │2,5 │0,5 │0,5 │1,712 │46 │0,488 │0,308
410733 │35,0 │30,0 │3,0 │3,0 │3,0 │1,5 │1,5 │1,870 │46 │0,533 │0,337
410735 │35,0 │30,0 │4,0 │4,0 │4,0 │2,0 │2,0 │2,457 │46 │0,700 │0,442
410736 │35,0 │30,0 │5,0 │5,0 │4,0 │1,0 │1,0 │3,030 │46 │0,864 │0,545
410738 │35,0 │32,0 │3,5 │6,5 │3,0 │0,5 │0,5 │3,096 │48 │0,882 │0,557
410741 │36,0 │15,0 │1,5 │2,0 │2,0 │1,0 │0,7 │0,815 │39 │0,232 │0,147
410744 │36,0 │20,0 │3,0 │2,0 │3,0 │3,0 │3,0 │1,401 │41 │0,399 │0,252
410745 │36,0 │22,0 │2,0 │2,0 │2,4 │1,0 │1,0 │1,128 │42 │0,321 │0,203
410746 │36,0 │22,0 │8,0 │19,0 │3,0 │2,0 │2,0 │5,542 │42 │1,580 │0,998
410747 │36,0 │23,0 │2,0 │2,0 │2,4 │- │1,0 │1,150 │43 │0,328 │0,207
410749 │36,0 │25,0 │2,5 │2,5 │2,0 │- │0,5 │1,471 │44 │0,419 │0,265
411860 │36,0 │25,0 │2,5 │6,5 │3,0 │0,5 │0,3 │2,381 │44 │0,679 │0,429
410750 │36,0 │30,0 │2,0 │5,0 │2,5 │- │- │2,133 │47 │0,608 │0,384
411861 │36,0 │31,0 │2,5 │11,0 │5,0 │0,5 │0,5 │4,088 │48 │1,165 │0,736
410751 │36,0 │35,0 │5,0 │3,0 │3,0 │1,5 │2,5 │2,701 │50 │0,770 │0,486
411859 │36,0 │35,0 │5,0 │18,0 │2,0 │0,5 │0,5 │7,208 │50 │2,054 │1,297
410753 │37,0 │20,0 │6,0 │8,0 │2,0 │- │- │3,349 │42 │0,954 │0,603
410754 │37,0 │21,0 │3,0 │4,0 │4,0 │- │- │1,864 │43 │0,531 │0,336
411862 │37,0 │35,0 │4,0 │12,0 │3,0 │0,5 │0,5 │5,218 │51 │1,487 │0,939
410756 │38,0 │15,0 │1,5 │1,5 │1,5 │0,7 │0,7 │0,775 │41 │0,221 │0,140
410757 │38,0 │16,0 │2,0 │2,0 │2,0 │1,0 │1,0 │1,044 │41 │0,398 │0,188
410759 │38,0 │19,0 │1,2 │1,2 │2,5 │- │- │0,683 │43 │0,195 │0,123
410760 │38,0 │19,0 │1,5 │1,5 │2,0 │0,7 │0,7 │0,839 │43 │0,239 │0,151
410761 │38,0 │19,0 │2,0 │4,0 │4,0 │1,5 │1,5 │1,465 │43 │0,417 │0,264
410762 │38,0 │22,0 │2,4 │2,4 │2,4 │1,2 │1,2 │1,389 │44 │0,396 │0,250
410763 │38,0 │25,0 │2,4 │2,4 │2,4 │1,2 │1,2 │1,461 │46 │0,416 │0,263
410764 │38,0 │25,0 │2,5 │3,0 │3,0 │- │- │1,644 │46 │0,469 │0,296
411863 │38,0 │25,0 │4,5 │3,5 │3,0 │0,5 │0,5 │2,446 │46 │0,697 │0,440
410765 │38,0 │25,0 │6,0 │3,0 │4,0 │- │- │2,884 │46 │0,822 │0,519
411864 │38,0 │25,0 │12,0│6,0 │2,0 │- │- │5,349 │46 │1,524 │0,963
410766 │38,0 │27,5 │1,5 │3,0 │4,0 │- │- │1,384 │47 │0,395 │0,249
410767 │38,0 │30,0 │2,0 │2,0 │2,0 │1,0 │1,0 │1,324 │49 │0,377 │0,238
410768 │38,0 │30,0 │3,0 │5,0 │4,0 │- │- │2,524 │49 │0,719 │0,454
410769 │38,0 │30,0 │13,0│3,0 │4,0 │- │- │5,484 │49 │1,563 │0,987
411865 │38,0 │30,0 │5,0 │3,0 │3,0 │- │- │2,669 │49 │0,761 │0,480
410770 │38,0 │32,0 │3,0 │3,0 │3,0 │1,5 │1,5 │2,020 │50 │0,576 │0,364
410772 │38,0 │32,0 │5,0 │5,0 │4,0 │2,5 │2,5 │3,258 │50 │0,928 │0,586
410773 │38,0 │32,0 │6,5 │6,5 │4,5 │3,2 │3,2 │4,127 │50 │1,176 │0,743
411866 │38,0 │33,0 │4,0 │7,0 │4,0 │- │- │3,584 │51 │1,022 │0,645
411867 │38,0 │34,0 │4,5 │3,5 │3,0 │- │- │2,762 │51 │0,787 │0,497
410775 │38,0 │35,0 │4,0 │5,0 │5,0 │2,5 │2,0 │3,102 │52 │0,884 │0,558
410776 │38,0 │35,0 │5,0 │16,0 │4,0 │- │- │6,734 │52 │1,919 │1,212
411868 │38,0 │35,0 │8,0 │3,0 │6,0 │0,5 │0,5 │3,926 │52 │1,119 │0,707
411869 │38,0 │35,5 │5,0 │8,0 │5,0 │1,0 │1,0 │4,389 │52 │1,251 │0,790
410778 │39,0 │22,0 │16,0│12,0 │2,0 │1,0 │1,0 │6,964 │45 │1,985 │1,254
411870 │39,0 │28,0 │8,0 │8,0 │6,0 │4,0 │4,0 │4,729 │48 │1,348 │0,851
410780 │39,0 │35,0 │2,5 │10,0 │3,0 │- │- │4,244 │52 │1,210 │0,764
410781 │39,0 │35,0 │3,0 │10,0 │4,0 │- │- │4,404 │52 │1,255 │0,793
410782 │39,0 │36,0 │3,0 │5,0 │5,0 │2,5 │1,5 │2,855 │53 │0,814 │0,514
410785 │40,0 │7,0 │2,5 │23,0 │5,0 │- │- │2,089 │41 │0,595 │0,376
412043 │40,0 │7,5 │1,5 │14,0 │1,0 │- │- │1,442 │41 │0,411 │0,260
410786 │40,0 │9,0 │3,0 │5,0 │- │- │- │1,500 │41 │0,428 │0,270
412140 │40,0 │10,0 │4,0 │3,0 │4,0 │1,5 │2,0 │1,801 │41 │0,513 │0,324
410788 │40,0 │15,0 │3,0 │3,0 │3,0 │1,5 │1,5 │1,570 │43 │0,447 │0,283
411872 │40,0 │18,0 │1,2 │1,7 │3,0 │- │- │0,785 │44 │0,224 │0,141
410793 │40,0 │20,0 │2,0 │2,0 │2,0 │1,0 │1,0 │1,164 │45 │0,332 │0,210
410794 │40,0 │20,0 │2,0 │3,0 │4,0 │- │- │1,374 │45 │0,392 │0,247
411873 │40,0 │20,0 │3,0 │3,0 │3,0 │- │- │1,729 │45 │0,493 │0,311
410796 │40,0 │20,0 │5,0 │5,0 │5,0 │3,0 │3,0 │2,765 │45 │0,788 │0,498
410798 │40,0 │24,0 │4,0 │4,0 │4,0 │2,0 │2,0 │2,417 │47 │0,689 │0,435
410799 │40,0 │25,0 │2,0 │2,0 │2,5 │1,0 │1,0 │1,269 │47 │0,362 │0,228
410801 │40,0 │25,0 │2,2 │3,5 │3,0 │- │- │1,697 │47 │0,484 │0,306
410802 │40,0 │25,0 │2,5 │2,5 │2,5 │1,2 │1,2 │1,570 │47 │0,447 │0,283
410803 │40,0 │25,0 │2,5 │4,0 │2,5 │- │- │1,913 │47 │0,545 │0,344
410804 │40,0 │25,0 │2,5 │9,0 │3,0 │3,0 │1,0 │3,023 │47 │0,862 │0,544
410805 │40,0 │25,0 │3,0 │3,0 │3,0 │1,5 │1,5 │1,870 │47 │0,533 │0,337
410806 │40,0 │25,0 │3,0 │4,0 │4,0 │2,0 │1,5 │2,101 │47 │0,599 │0,378
410808 │40,0 │25,0 │3,5 │3,5 │3,0 │1,5 │1,5 │2,162 │47 │0,616 │0,389
410809 │40,0 │25,0 │4,0 │3,0 │4,0 │1,5 │2,0 │2,251 │47 │0,642 │0,405
410810 │40,0 │25,0 │4,0 │5,0 │5,0 │2,5 │2,0 │2,682 │47 │0,764 │0,483
410811 │40,0 │25,0 │5,0 │5,0 │- │- │- │3,000 │47 │0,855 │0,540
411874 │40,0 │26,0 │6,5 │6,5 │3,0 │- │- │3,887 │47 │1,108 │0,700
411875 │40,0 │27,0 │5,0 │4,0 │5,0 │0,5 │0,5 │2,933 │48 │0,836 │0,528
410812 │40,0 │28,0 │2,0 │2,0 │1,0 │1,0 │- │1,320 │49 │0,376 │0,238
410813 │40,0 │28,0 │2,5 │3,0 │3,0 │2,5 │- │1,771 │49 │0,505 │0,319
410814 │40,0 │28,0 │2,5 │5,0 │3,0 │2,5 │- │2,281 │49 │0,650 │0,411
410817 │40,0 │28,0 │4,0 │5,0 │5,0 │2,5 │2,0 │2,832 │49 │0,807 │0,510
411876 │40,0 │29,0 │12,0│16,0 │1,0 │0,5 │0,5 │7,521 │50 │2,144 │1,354
410818 │40,0 │30,0 │1,5 │3,0 │3,0 │- │- │1,474 │50 │0,420 │0,265
410819 │40,0 │30,0 │2,0 │2,0 │2,0 │1,0 │1,0 │1,364 │50 │0,389 │0,246
411877 │40,0 │30,0 │2,5 │2,5 │2,5 │- │- │1,701 │50 │0,485 │0,306
410820 │40,0 │30,0 │2,5 │3,0 │3,0 │0,5 │0,5 │1,843 │50 │0,525 │0,332
410821 │40,0 │30,0 │3,0 │3,0 │3,0 │1,5 │1,5 │2,020 │50 │0,576 │0,364
410822 │40,0 │30,0 │3,0 │4,0 │4,0 │2,0 │1,5 │2,301 │50 │0,656 │0,414
410823 │40,0 │30,0 │3,0 │6,0 │3,0 │6,0 │- │2,762 │50 │0,787 │0,497
411878 │40,0 │30,0 │3,5 │6,5 │3,0 │- │- │3,142 │50 │0,895 │0,566
410824 │40,0 │30,0 │4,0 │3,0 │4,0 │1,5 │2,0 │2,401 │50 │0,684 │0,432
410826 │40,0 │30,0 │4,0 │4,0 │4,0 │2,0 │2,0 │2,657 │50 │0,757 │0,478
410827 │40,0 │30,0 │4,0 │12,0 │5,0 │0,5 │0,5 │4,773 │50 │1,360 │0,859
411879 │40,0 │30,0 │5,0 │4,0 │5,0 │0,5 │0,5 │3,053 │50 │0,870 │0,549
411880 │40,0 │30,0 │10,0│11,0 │3,0 │- │- │6,219 │50 │1,773 │1,119
410829 │40,0 │32,0 │2,5 │5,0 │2,5 │- │- │2,488 │51 │0,709 │0,448
410830 │40,0 │32,0 │2,5 │5,0 │2,5 │2,5 │1,2 │2,472 │51 │0,704 │0,445
410831 │40,0 │33,0 │10,0│6,0 │5,0 │- │- │5,434 │52 │1,549 │0,978
411881 │40,0 │34,0 │5,0 │4,0 │5,0 │0,5 │0,5 │3,213 │53 │0,916 │0,578
410832 │40,0 │35,0 │3,0 │3,0 │3,0 │1,5 │1,5 │2,170 │53 │0,618 │0,391
410833 │40,0 │35,0 │3,5 │6,5 │3,0 │- │- │3,467 │53 │0,988 │0,624
410834 │40,0 │35,0 │4,0 │4,0 │4,0 │2,0 │2,0 │2,857 │53 │0,814 │0,514
411882 │40,0 │35,0 │5,0 │2,9 │- │- │- │2,870 │53 │0,818 │0,517
411883 │40,0 │36,0 │3,0 │3,0 │3,0 │- │- │2,209 │54 │0,630 │0,398
410835 │40,0 │36,0 │3,0 │4,0 │3,0 │- │- │2,539 │54 │0,724 │0,457
410837 │40,0 │36,0 │5,0 │5,0 │5,0 │2,5 │2,5 │3,577 │54 │1,019 │0,644
411884 │40,5 │30,0 │6,0 │6,0 │2,5 │0,5 │0,5 │3,882 │51 │1,106 │0,699
411885 │41,0 │34,0 │10,0│2,0 │4,0 │- │- │4,614 │53 │1,315 │0,831
410842 │41,0 │40,0 │4,0 │6,0 │5,0 │2,0 │2,0 │3,836 │57 │1,093 │0,691
411886 │42,0 │15,0 │8,0 │8,0 │2,0 │0,5 │0,5 │3,928 │45 │1,119 │0,707
411887 │42,0 │22,0 │1,2 │2,0 │2,5 │0,5 │0,5 │0,932 │48 │0,266 │0,168
410844 │42,0 │28,0 │2,5 │5,0 │3,0 │- │- │2,344 │51 │0,668 │0,422
410846 │42,0 │30,0 │3,5 │2,0 │4,0 │- │- │2,034 │52 │0,580 │0,366
411888 │42,0 │30,0 │4,0 │2,0 │4,0 │- │- │2,234 │52 │0,637 │0,402
411889 │42,0 │35,0 │3,0 │6,5 │5,0 │0,5 │0,5 │3,393 │55 │0,967 │0,611
411890 │42,0 │35,0 │4,0 │11,0 │5,0 │1,0 │1,0 │5,139 │55 │1,465 │0,925
410848 │42,0 │39,0 │16,0│12,0 │5,0 │3,0 │3,0 │9,495 │57 │2,706 │1,709
410849 │42,0 │40,0 │3,0 │4,0 │4,0 │- │- │2,774 │58 │0,791 │0,499
410850 │42,0 │40,0 │3,5 │5,0 │5,0 │- │- │3,349 │58 │0,954 │0,603
410851 │42,0 │40,0 │10,0│10,0 │6,0 │- │- │7,277 │58 │2,074 │1,310
411891 │43,0 │8,0 │4,0 │3,0 │1,0 │- │- │1,842 │44 │0,525 │0,332
411892 │43,0 │21,0 │2,5 │2,5 │3,0 │- │- │1,557 │48 │0,444 │0,280
411893 │43,0 │30,0 │2,0 │8,0 │2,5 │- │- │3,113 │53 │0,887 │0,560
410855 │43,0 │30,0 │2,5 │2,5 │2,5 │- │1,0 │1,774 │53 │0,506 │0,319
411895 │43,5 │30,0 │4,0 │9,0 │6,0 │- │- │4,157 │53 │1,185 │0,748
411894 │43,5 │30,0 │7,0 │3,0 │3,0 │- │- │3,754 │53 │1,070 │0,676
411896 │44,0 │18,0 │5,0 │12,0 │5,0 │1,0 │1,0 │3,809 │48 │1,086 │0,686
410859 │44,0 │25,0 │2,0 │2,0 │2,5 │1,0 │1,0 │1,349 │51 │0,384 │0,243
410860 │44,0 │25,0 │2,5 │1,5 │2,0 │- │- │1,446 │51 │0,412 │0,260
410862 │44,0 │29,0 │1,6 │1,6 │1,6 │0,8 │0,8 │1,145 │53 │0,326 │0,206
410863 │44,0 │29,0 │5,0 │5,0 │4,0 │2,5 │2,5 │3,408 │53 │0,971 │0,613
410864 │44,0 │31,0 │5,0 │12,0 │4,0 │0,5 │0,5 │5,353 │54 │1,526 │0,964
410866 │44,0 │38,0 │2,4 │2,4 │2,4 │1,2 │1,2 │1,917 │58 │0,546 │0,345
411897 │45,0 │15,0 │2,0 │2,0 │3,0 │1,0 │- │1,177 │48 │0,335 │0,212
410867 │45,0 │16,0 │2,0 │1,5 │2,0 │0,7 │1,0 │1,115 │48 │0,318 │0,201
410868 │45,0 │16,0 │2,0 │1,5 │2,0 │1,5 │2,0 │1,105 │48 │0,315 │0,199
410869 │45,0 │16,0 │2,0 │2,0 │2,5 │- │- │1,193 │48 │0,340 │0,215
410870 │45,0 │18,0 │2,0 │2,0 │2,5 │1,0 │1,0 │1,229 │49 │0,350 │0,221
410872 │45,0 │20,0 │2,0 │3,0 │3,0 │- │- │1,459 │49 │0,416 │0,263
410873 │45,0 │23,0 │2,0 │2,0 │2,0 │1,0 │1,0 │1,324 │51 │0,377 │0,238
410874 │45,0 │24,0 │5,0 │5,0 │5,0 │1,0 │2,5 │3,238 │51 │0,923 │0,583
411898 │45,0 │25,0 │1,5 │2,0 │2,5 │- │- │1,158 │52 │0,330 │0,209
410875 │45,0 │25,0 │4,0 │4,0 │4,0 │2,0 │2,0 │2,657 │52 │0,757 │0,478
411899 │45,0 │25,0 │6,0 │6,0 │6,0 │0,5 │1,0 │3,915 │52 │1,116 │0,705
410877 │45,0 │27,0 │6,0 │6,0 │2,0 │- │- │3,969 │53 │1,131 │0,714
410878 │45,0 │28,0 │2,0 │2,0 │2,5 │1,0 │1,0 │1,429 │53 │0,407 │0,257
410880 │45,0 │28,0 │16,0│20,0 │- │- │- │9,600 │53 │2,736 │1,728
410881 │45,0 │29,0 │5,0 │9,0 │2,5 │- │- │4,423 │54 │1,261 │0,796
410882 │45,0 │29,5 │3,0 │6,0 │3,0 │- │- │2,959 │54 │0,843 │0,533
411900 │45,0 │30,0 │1,5 │3,0 │2,0 │- │- │1,539 │54 │0,438 │0,277
410883 │45,0 │30,0 │3,0 │3,0 │3,0 │1,5 │1,5 │2,170 │54 │0,618 │0,391
410886 │45,0 │30,0 │4,0 │10,0 │5,0 │2,0 │2,0 │4,436 │54 │1,264 │0,799
410887 │45,0 │34,0 │4,0 │8,0 │6,0 │- │- │4,277 │57 │1,219 │0,770
410888 │45,0 │35,0 │2,5 │2,5 │4,0 │- │- │1,972 │57 │0,562 │0,355
411902 │45,0 │35,0 │2,5 │3,0 │2,0 │- │- │2,109 │57 │0,601 │0,380
411903 │45,0 │35,0 │10,0│5,0 │3,0 │0,5 │0,5 │5,768 │57 │1,644 │1,038
410890 │45,0 │37,0 │4,0 │4,0 │4,0 │- │- │3,154 │58 │0,899 │0,568
410892 │45,0 │38,0 │6,5 │6,5 │6,0 │- │- │5,050 │59 │1,439 │0,909
411904 │45,0 │40,0 │3,5 │3,5 │4,0 │1,0 │1,0 │2,883 │60 │0,822 │0,519
410893 │45,0 │40,0 │4,0 │4,0 │5,0 │- │- │3,294 │60 │0,939 │0,593
410894 │45,0 │40,0 │4,0 │5,0 │5,0 │2,5 │2,0 │3,632 │60 │1,035 │0,654
410895 │45,0 │40,0 │5,0 │4,0 │5,0 │- │- │3,704 │60 │1,056 │0,667
410896 │45,0 │40,0 │5,0 │10,0 │4,0 │1,0 │1,0 │5,780 │60 │1,647 │1,040
410899 │45,0 │42,0 │5,0 │9,0 │4,0 │1,0 │- │5,612 │62 │1,599 │1,010
410900 │45,0 │42,0 │7,0 │4,0 │6,0 │- │- │4,627 │62 │1,319 │0,833
411905 │45,5 │45,0 │5,0 │8,0 │3,0 │1,0 │1,0 │5,490 │64 │1,565 │0,988
412103 │46,0 │10,0 │3,0 │2,0 │2,5 │- │- │1,533 │47 │0,437 │0,276
410901 │46,0 │20,0 │2,5 │3,5 │2,5 │1,5 │- │1,771 │50 │0,505 │0,319
410902 │46,0 │27,0 │2,0 │3,5 │2,0 │- │- │1,804 │54 │0,514 │0,325
411906 │46,0 │27,0 │15,0│22,0 │2,0 │- │- │9,549 │54 │2,721 │1,719
410903 │46,0 │30,0 │5,0 │8,0 │5,0 │- │- │4,354 │55 │1,241 │0,784
410904 │46,0 │32,0 │6,0 │4,0 │2,0 │- │- │3,809 │56 │1,085 │0,686
410905 │46,0 │35,0 │3,0 │4,0 │3,0 │0,5 │0,5 │2,678 │58 │0,763 │0,482
410906 │46,0 │40,0 │2,5 │2,5 │2,5 │- │- │2,101 │61 │0,599 │0,378
410907 │46,0 │40,0 │5,0 │6,0 │3,5 │0,5 │0,5 │4,425 │61 │1,261 │0,797
410908 │46,0 │45,0 │4,0 │8,0 │3,0 │2,0 │1,0 │5,129 │64 │1,462 │0,923
410909 │46,5 │35,0 │3,5 │6,5 │3,0 │- │- │3,694 │58 │1,053 │0,665
410910 │47,0 │23,0 │2,5 │2,5 │3,0 │- │1,2 │1,704 │52 │0,486 │0,307
410911 │47,0 │40,0 │3,0 │11,0 │4,0 │2,0 │- │5,506 │62 │1,569 │0,991
410912 │47,0 │45,0 │3,0 │12,0 │5,0 │- │- │6,504 │65 │1,854 │1,171
410914 │48,0 │20,0 │2,5 │2,5 │3,0 │- │- │1,657 │52 │0,472 │0,298
411907 │48,0 │22,0 │12,0│4,0 │2,0 │0,5 │0,5 │6,168 │53 │1,758 │1,110
410917 │48,0 │30,0 │4,0 │9,0 │3,0 │3,0 │3,0 │4,241 │57 │1,209 │0,763
411908 │48,0 │33,5 │3,8 │2,0 │2,0 │- │- │2,427 │59 │0,692 │0,437
410919 │48,0 │33,5 │6,5 │2,0 │2,0 │- │- │3,669 │59 │1,046 │0,660
410920 │48,0 │40,0 │4,0 │4,0 │5,0 │2,0 │2,0 │3,396 │63 │0,968 │0,611
410921 │48,0 │41,0 │8,0 │15,0 │5,0 │- │- │8,844 │63 │2,520 │1,592
410922 │48,0 │42,0 │2,5 │2,5 │2,5 │1,3 │1,3 │2,194 │64 │0,625 │0,395
410923 │48,0 │45,0 │4,0 │6,0 │5,0 │5,0 │5,0 │4,326 │66 │1,233 │0,779
410925 │49,0 │45,0 │3,0 │5,0 │5,0 │2,0 │1,0 │3,613 │67 │1,030 │0,650
410926 │49,0 │47,0 │3,0 │2,5 │5,0 │1,0 │1,0 │2,619 │68 │0,747 │0,471
411909 │50,0 │8,0 │4,0 │25,0 │- │1,5 │- │2,995 │51 │0,854 │0,539
410934 │50,0 │16,0 │2,0 │1,5 │2,0 │1,5 │2,0 │1,205 │53 │0,343 │0,217
411910 │50,0 │20,0 │1,8 │3,0 │2,0 │0,5 │0,5 │1,454 │54 │0,414 │0,262
410935 │50,0 │20,0 │3,0 │4,0 │4,0 │1,5 │2,0 │2,201 │54 │0,627 │0,396
410936 │50,0 │20,0 │3,0 │4,0 │4,0 │2,0 │1,5 │2,201 │54 │0,627 │0,396
410937 │50,0 │20,0 │3,0 │5,0 │3,0 │2,0 │2,0 │2,352 │54 │0,670 │0,423
410938 │50,0 │25,0 │3,0 │3,0 │3,0 │1,5 │1,5 │2,170 │56 │0,618 │0,391
410939 │50,0 │25,0 │3,0 │4,0 │4,0 │1,5 │1,5 │2,405 │56 │0,685 │0,433
410940 │50,0 │25,0 │4,0 │3,0 │4,0 │- │2,0 │2,656 │56 │0,757 │0,478
410941 │50,0 │26,0 │3,0 │4,0 │3,0 │- │- │2,439 │56 │0,695 │0,439
410942 │50,0 │30,0 │2,0 │2,5 │3,0 │- │- │1,719 │58 │0,490 │0,309
410943 │50,0 │30,0 │2,0 │4,0 │4,0 │- │- │2,154 │58 │0,614 │0,388
410944 │50,0 │30,0 │3,0 │3,0 │3,0 │1,5 │1,5 │2,320 │58 │0,661 │0,418
410945 │50,0 │30,0 │3,0 │4,0 │4,0 │2,0 │1,5 │2,601 │58 │0,741 │0,468
410946 │50,0 │30,0 │3,5 │5,0 │3,0 │- │- │3,094 │58 │0,882 │0,557
410947 │50,0 │30,0 │3,5 │10,0 │4,0 │- │- │4,434 │58 │1,264 │0,798
410948 │50,0 │30,0 │4,0 │3,0 │4,0 │1,5 │2,0 │2,801 │58 │0,798 │0,504
410949 │50,0 │30,0 │4,0 │5,0 │5,0 │0,5 │0,5 │3,353 │58 │0,955 │0,603
410950 │50,0 │30,0 │4,0 │9,0 │3,0 │3,0 │3,0 │4,321 │58 │1,231 │0,778
410951 │50,0 │30,0 │4,0 │12,0 │3,0 │- │- │5,139 │58 │1,465 │0,925
410952 │50,0 │30,0 │5,0 │3,0 │5,0 │1,5 │2,5 │3,285 │58 │0,936 │0,591
411911 │50,0 │30,0 │15,0│32,0 │2,0 │- │- │12,309 │58 │3,508 │2,216
410953 │50,0 │35,0 │2,5 │4,0 │4,0 │- │- │2,584 │61 │0,737 │0,465
410954 │50,0 │35,0 │2,5 │5,0 │3,0 │2,5 │- │2,881 │61 │0,821 │0,519
410955 │50,0 │35,0 │2,5 │6,5 │3,0 │- │- │3,382 │61 │0,964 │0,609
410956 │50,0 │35,0 │4,0 │12,0 │3,0 │- │- │5,739 │61 │1,636 │1,033
410957 │50,0 │35,0 │4,0 │12,0 │3,0 │4,0 │3,0 │5,686 │61 │1,620 │1,023
410958 │50,0 │35,0 │5,0 │3,0 │5,0 │1,5 │1,5 │3,435 │61 │0,979 │0,618
410959 │50,0 │35,0 │5,0 │5,0 │5,0 │2,5 │2,5 │4,027 │61 │1,148 │0,725
410960 │50,0 │35,0 │5,0 │10,0 │6,0 │- │- │5,577 │61 │1,590 │1,004
410961 │50,0 │35,0 │6,5 │6,5 │6,0 │3,0 │3,0 │5,141 │61 │1,465 │0,925
410962 │50,0 │37,0 │3,0 │4,0 │3,5 │- │- │2,886 │62 │0,823 │0,520
410963 │50,0 │38,0 │4,0 │6,0 │5,0 │- │- │4,094 │63 │1,167 │0,737
410964 │50,0 │38,0 │5,0 │5,0 │4,0 │2,0 │2,0 │4,167 │63 │1,138 │0,750
410965 │50,0 │38,0 │8,0 │12,0 │5,0 │6,0 │4,0 │7,542 │63 │2,149 │1,358
410967 │50,0 │40,0 │4,0 │8,0 │4,0 │1,0 │1,0 │4,910 │64 │1,399 │0,884
410968 │50,0 │40,0 │4,0 │12,0 │3,0 │- │- │6,339 │64 │1,807 │1,141
410969 │50,0 │40,0 │5,0 │10,0 │3,0 │5,0 │0,5 │6,018 │64 │1,715 │1,083
411912 │50,0 │40,0 │8,0 │4,0 │4,0 │1,0 │3,0 │5,293 │64 │1,508 │0,953
411913 │50,0 │40,0 │7,0 │11,0 │5,0 │- │- │7,184 │64 │2,647 │1,293
411914 │50,0 │42,0 │7,0 │7,0 │2,0 │0,5 │0,5 │5,958 │65 │1,698 │1,072
410970 │50,0 │43,0 │4,0 │10,0 │4,0 │1,0 │1,0 │5,930 │66 │1,690 │1,067
411915 │50,0 │43,0 │6,5 │3,0 │5,0 │1,0 │1,0 │4,394 │66 │1,252 │0,791
411916 │50,0 │44,0 │5,0 │4,0 │3,0 │3,0 │3,0 │4,041 │67 │1,152 │0,727
411917 │50,0 │45,0 │3,5 │5,0 │5,0 │0,5 │0,5 │3,878 │67 │1,105 │0,698
410971 │50,0 │45,0 │4,0 │9,0 │3,0 │- │- │5,709 │67 │1,627 │1,028
410972 │50,0 │45,0 │4,0 │12,0 │3,0 │2,0 │2,0 │6,922 │67 │1,973 │1,246
410975 │50,0 │45,0 │7,0 │7,0 │6,0 │2,0 │2,0 │6,220 │67 │1,773 │1,120
411918 │50,0 │45,0 │12,0│5,0 │4,0 │0,5 │0,5 │7,683 │67 │2,190 │1,383
411919 │50,0 │45,5 │6,0 │6,5 │5,0 │- │- │5,621 │68 │1,602 │1,012
410976 │50,0 │47,0 │3,5 │6,5 │6,0 │- │- │4,655 │69 │1,327 │0,838
411920 │50,0 │48,0 │9,0 │2,5 │3,0 │3,0 │3,0 │5,456 │69 │1,555 │0,982
410977 │50,0 │49,0 │2,0 │3,0 │3,0 │- │- │2,429 │70 │0,692 │0,437
410978 │50,5 │38,0 │6,5 │6,0 │5,0 │1,0 │1,0 │5,222 │63 │1,488 │0,940
410979 │50,8 │31,8 │3,2 │5,0 │3,2 │- │- │3,078 │60 │0,877 │0,554
410980 │51,0 │20,3 │1,7 │1,7 │3,0 │0,5 │05 │1,201 │55 │0,342 │0,216
410981 │51,0 │22,0 │2,0 │2,0 │2,0 │- │- │1,429 │56 │0,407 │0,257
411921 │51,0 │35,0 │3,5 │10,0 │3,0 │- │- │4,954 │62 │1,412 │0,892
410983 │51,0 │41,5 │4,0 │12,0 │5,0 │- │- │6,594 │66 │1,879 │1,187
410985 │52,0 │23,0 │8,0 │24,0 │3,0 │- │- │7,779 │57 │2,217 │1,400
410986 │52,0 │28,0 │2,5 │5,0 │3,0 │2,5 │- │2,581 │59 │0,736 │0,465
410987 │52,0 │31,0 │2,0 │2,0 │3,0 │- │- │1,639 │61 │0,467 │0,295
410989 │52,0 │45,0 │11,0│4,0 │4,0 │- │3,0 │7,095 │69 │2,022 │1,277
410990 │52,0 │45,0 │11,0│5,0 │5,0 │- │- │7,474 │69 │2,130 │1,345
410991 │52,0 │46,0 │4,0 │8,0 │4,0 │3,0 │3,0 │5,436 │69 │1,549 │0,978
410993 │52,0 │50,0 │3,5 │6,5 │5,0 │- │- │4,896 │72 │1,395 │0,881
411922 │52,5 │11,0 │3,4 │45,0 │- │- │- │5,205 │54 │1,483 │0,937
410994 │53,0 │25,0 │3,5 │6,5 │3,0 │- │- │3,272 │59 │0,932 │0,589
410995 │53,0 │26,0 │3,5 │6,5 │3,0 │- │- │3,337 │59 │0,951 │0,601
410996 │53,0 │28,0 │3,0 │5,0 │5,0 │- │- │2,894 │60 │0,825 │0,521
410997 │53,0 │28,0 │3,5 │6,5 │3,0 │- │- │3,467 │60 │0,988 │0,624
410998 │53,0 │28,0 │3,5 │6,5 │3,5 │3,2 │1,7 │3,446 │60 │0,982 │0,620
410999 │53,0 │30,0 │3,0 │5,0 │5,0 │- │- │2,994 │61 │0,853 │0,539
411001 │53,0 │35,0 │3,5 │4,0 │5,0 │- │- │3,169 │64 │0,903 │0,570
411002 │53,0 │35,0 │3,5 │6,5 │3,0 │- │- │3,922 │64 │1,118 │0,706
411003 │53,0 │41,0 │16,0│3,0 │3,0 │- │1,0 │9,249 │67 │2,636 │1,665
411923 │53,0 │41,0 │18,0│12,0 │- │2,0 │2,0 │12,283 │67 │3,501 │2,211
411004 │53,0 │42,0 │3,5 │6,0 │3,5 │- │- │4,191 │68 │1,195 │0,754
411005 │53,0 │45,0 │4,0 │10,0 │5,0 │- │- │6,274 │70 │1,788 │1,129
411924 │53,0 │48,0 │18,0│21,0 │5,0 │5,0 │5,0 │15,786 │72 │4,499 │2,842
411007 │53,5 │42,0 │3,5 │3,5 │3,0 │1,0 │1,0 │3,235 │68 │0,922 │0,582
411008 │54,0 │22,0 │1,7 │2,2 │2,0 │- │- │1,373 │58 │0,391 │0,247
411009 │54,0 │25,0 │3,5 │5,0 │5,0 │- │- │3,019 │60 │0,860 │0,543
411010 │54,0 │25,0 │4,0 │4,0 │4,0 │2,0 │2,0 │3,017 │60 │0,860 │0,543
411925 │54,0 │31,0 │2,0 │3,5 │4,0 │- │- │2,129 │62 │0,607 │0,383
411926 │55,0 │15,0 │1,5 │1,5 │1,5 │0,8 │0,8 │1,030 │57 │0,293 │0,185
411012 │55,0 │20,0 │1,5 │1,5 │2,5 │1,0 │- │1,114 │59 │0,317 │0,200
411014 │55,0 │22,5 │4,0 │4,0 │4,0 │- │- │2,974 │60 │0,848 │0,535
411015 │55,0 │25,0 │2,5 │2,5 │3,0 │1,2 │1,2 │1,951 │61 │0,556 │0,351
411016 │55,0 │25,0 │3,0 │6,0 │5,0 │3,0 │1,5 │3,000 │61 │0,855 │0,540
411017 │55,0 │30,0 │3,0 │3,0 │3,0 │1,5 │1,5 │2,470 │63 │0,704 │0,445
411018 │55,0 │30,0 │3,5 │6,0 │3,0 │- │- │3,534 │63 │1,007 │0,636
411927 │55,0 │30,0 │5,5 │5,0 │4,0 │- │- │4,284 │63 │1,221 │0,771
411019 │55,0 │35,0 │5,0 │8,0 │5,0 │0,5 │0,5 │5,203 │65 │1,483 │0,936
411020 │55,0 │35,0 │5,0 │10,0 │6,0 │- │- │5,827 │65 │1,661 │1,049
411928 │55,0 │38,0 │6,5 │3,0 │3,0 │- │- │4,539 │67 │1,294 │0,817
411022 │55,0 │40,0 │6,0 │6,0 │5,0 │3,0 │3,0 │5,355 │68 │1,526 │0,964
411023 │55,0 │42,0 │8,0 │10,0 │3,0 │- │- │7,819 │69 │2,229 │1,407
411024 │55,0 │42,0 │10,0│10,0 │4,0 │3,0 │3,0 │8,696 │69 │2,478 │1,565
411025 │55,0 │43,0 │6,0 │12,0 │3,0 │1,0 │1,0 │7,755 │70 │2,210 │1,396
411026 │55,0 │45,0 │1,5 │1,5 │3,0 │- │- │1,497 │71 │0,427 │0,269
411028 │55,0 │45,0 │5,0 │10,0 │6,0 │- │- │6,827 │71 │1,946 │1,229
411029 │55,0 │45,0 │12,0│14,0 │4,0 │- │- │11,254 │71 │3,207 │2,026
411030 │55,0 │45,0 │25,0│20,0 │5,0 │5,0 │5,0 │17,696 │71 │5,043 │3,185
411032 │55,0 │48,0 │5,0 │12,0 │5,0 │3,0 │2,0 │7,936 │73 │2,262 │1,428
411929 │55,0 │50,0 │6,0 │4,0 │5,0 │- │- │5,114 │74 │1,457 │0,920
411033 │55,0 │50,0 │6,0 │12,0 │5,0 │- │- │8,634 │74 │2,461 │1,554
411037 │55,5 │17,6 │10,6│45,0 │3,0 │1,0 │- │9,050 │58 │2,579 │1,629
411038 │56,0 │22,0 │1,8 │2,0 │2,0 │- │- │1,421 │60 │0,405 │0,256
411039 │56,0 │22,0 │8,0 │26,0 │3,0 │- │- │8,139 │60 │2,320 │1,465
411040 │56,0 │25,0 │1,8 │3,0 │3,0 │- │- │1,723 │61 │0,491 │0,310
411042 │56,0 │42,0 │3,2 │3,2 │5,0 │1,6 │1,6 │3,076 │70 │0,877 │0,554
411044 │56,0 │42,0 │3,5 │3,5 │5,0 │1,7 │1,7 │3,349 │70 │0,954 │0,603
411045 │57,0 │38,0 │6,5 │6,5 │6,0 │3,2 │3,2 │5,786 │69 │1,649 │1,041
411046 │57,0 │47,0 │17,0│15,0 │4,0 │- │- │14,224 │74 │4,054 │2,560
411930 │57,5 │55,0 │8,0 │19,5 │4,0 │1,0 │1,0 │13,795 │80 │3,932 │2,483
411047 │58,0 │25,0 │1,8 │3,0 │3,0 │- │- │1,759 │63 │0,501 │0,317
411048 │58,0 │29,0 │14,0│12,5 │4,0 │1,0 │1,0 │10,025 │65 │2,857 │1,805
411049 │58,0 │30,0 │12,0│27,0 │3,0 │3,0 │- │11,820 │65 │3,369 │2,128
411050 │58,0 │31,0 │2,5 │2,5 │3,0 │- │- │2,182 │66 │0,622 │0,393
411051 │58,0 │40,0 │2,5 │2,5 │2,5 │- │- │2,401 │71 │0,684 │0,432
411053 │58,0 │46,0 │5,0 │3,5 │5,0 │- │- │4,389 │74 │1,251 │0,790
411931 │60,0 │20,0 │5,5 │5,0 │4,0 │0,5 │0,5 │4,058 │63 │1,157 │0,730
411054 │60,0 │22,0 │1,5 │2,5 │3,0 │- │- │1,432 │64 │0,408 │0,258
411056 │60,0 │24,0 │4,0 │2,0 │3,0 │2,0 │2,0 │2,802 │65 │0,799 │0,504
411057 │60,0 │25,0 │2,2 │3,5 │3,0 │- │- │2,137 │65 │0,609 │0,385
411058 │60,0 │25,0 │3,2 │3,2 │5,0 │- │1,6 │2,666 │65 │0,760 │0,480
411059 │60,0 │25,0 │3,5 │5,0 │5,0 │- │- │3,229 │65 │0,920 │0,581
411932 │60,0 │26,0 │3,0 │5,0 │5,0 │0,5 │0,5 │3,003 │66 │0,856 │0,540
411060 │60,0 │28,0 │2,5 │4,0 │5,0 │2,5 │2,0 │2,552 │66 │0,727 │0,459
411061 │60,0 │28,0 │3,0 │3,0 │3,0 │1,5 │1,5 │2,560 │66 │0,730 │0,461
411062 │60,0 │28,0 │3,5 │3,5 │3,0 │1,5 │1,5 │2,967 │66 │0,846 │0,534
411933 │60,0 │28,0 │6,0 │6,0 │6,0 │0,5 │0,5 │4,996 │66 │1,424 │0,899
411063 │60,0 │30,0 │6,0 │15,0 │5,0 │- │- │7,254 │67 │2,067 │1,306
411064 │60,0 │32,0 │2,0 │2,2 │3,5 │- │- │1,886 │68 │0,538 │0,340
411065 │60,0 │35,0 │3,0 │3,0 │4,0 │2,0 │2,0 │2,777 │70 │0,791 │0,500
411066 │60,0 │35,0 │4,0 │4,0 │4,0 │2,0 │2,0 │3,657 │70 │1,042 │0,658
411934 │60,0 │35,0 │4,0 │6,0 │5,0 │1,0 │2,0 │4,303 │70 │1,226 │0,775
411067 │60,0 │35,0 │4,0 │10,0 │4,0 │- │2,0 │5,526 │70 │1,575 │0,995
411068 │60,0 │35,0 │5,0 │5,0 │5,0 │2,5 │2,5 │4,527 │70 │1,290 │0,815
411069 │60,0 │35,0 │6,0 │6,0 │5,0 │3,0 │3,0 │5,355 │70 │1,526 │0,964
411071 │60,0 │37,0 │2,5 │2,5 │2,5 │1,5 │1,2 │2,368 │71 │0,675 │0,426
411072 │60,0 │38,0 │5,0 │12,0 │9,0 │- │- │7,134 │71 │2,033 │1,284
411073 │60,0 │40,0 │2,5 │2,5 │2,5 │- │0,5 │2,450 │72 │0,698 │0,441
411074 │60,0 │40,0 │4,0 │4,0 │4,0 │2,0 │2,0 │3,857 │72 │1,099 │0,694
411075 │60,0 │40,0 │5,0 │12,0 │6,0 │- │- │7,277 │72 │2,074 │1,310
411076 │60,0 │40,0 │6,0 │4,0 │5,0 │1,0 │1,0 │5,009 │72 │1,428 │0,902
411935 │60,0 │40,0 │6,0 │6,0 │6,0 │0,5 │0,5 │5,716 │72 │1,629 │1,029
411078 │60,0 │42,0 │4,0 │10,0 │6,0 │0,5 │0,5 │6,276 │73 │1,789 │1,130
411079 │60,0 │43,0 │10,0│18,0 │5,0 │0,5 │0,5 │11,993 │74 │3,418 │2,159
411080 │60,0 │45,0 │7,0 │10,0 │5,0 │- │- │8,054 │75 │2,295 │1,450
411937 │60,0 │45,0 │8,5 │13,0 │5,0 │1,0 │1,0 │9,894 │75 │2,820 │1,781
411081 │60,0 │45,0 │10,0│10,0 │5,0 │- │- │9,554 │75 │2,723 │1,720
411082 │60,0 │46,0 │3,0 │2,0 │3,0 │1,5 │- │2,674 │76 │0,762 │0,481
411083 │60,0 │46,0 │4,0 │3,0 │3,0 │1,5 │- │3,674 │76 │1,047 │0,661
411084 │60,0 │50,0 │4,0 │12,0 │5,0 │- │- │7,974 │78 │2,272 │1,435
411938 │60,0 │50,0 │5,0 │8,0 │4,0 │0,5 │0,5 │6,633 │78 │1,890 │1,194
411085 │60,0 │50,0 │5,0 │12,0 │6,0 │- │- │8,477 │78 │2,416 │1,526
411086 │60,0 │50,0 │5,0 │16,0 │4,0 │1,0 │- │10,232 │78 │2,916 │1,842
411939 │60,0 │50,0 │6,0 │15,0 │5,0 │- │- │10,254 │78 │2,922 │1,846
411087 │60,0 │50,0 │8,0 │6,0 │5,0 │0,5 │0,5 │7,373 │78 │2,101 │1,327
411088 │60,0 │50,0 │12,0│4,0 │5,0 │- │- │8,774 │78 │2,500 │1,579
411089 │60,0 │50,0 │14,0│6,0 │5,0 │- │- │10,614 │78 │3,025 │1,910
411940 │60,0 │52,0 │6,0 │13,0 │5,0 │1,0 │1,0 │9,629 │80 │2,744 │1,733
411090 │60,0 │52,0 │8,0 │15,0 │5,0 │2,0 │2,0 │11,436 │80 │3,259 │2,059
411091 │60,0 │54,0 │6,0 │16,0 │6,0 │3,0 │3,0 │11,319 │81 │3,226 │2,037
411941 │60,0 │55,0 │8,0 │5,0 │5,0 │0,5 │0,5 │7,203 │81 │2,053 │1,296
411942 │60,0 │55,0 │8,0 │10,0 │5,0 │2,0 │2,0 │9,536 │81 │2,718 │1,717
411092 │60,0 │55,0 │12,0│7,0 │4,0 │- │- │10,244 │81 │2,920 │1,844
411093 │60,0 │55,0 │15,0│6,0 │5,0 │- │- │11,454 │81 │3,264 │2,062
411943 │60,0 │55,0 │16,0│6,0 │4,0 │0,5 │0,5 │11,973 │81 │3,412 │2,155
411946 │61,0 │53,0 │24,0│45,0 │3,0 │0,5 │0,5 │27,708 │81 │7,897 │4,987
411095 │61,0 │56,0 │3,5 │7,0 │3,0 │- │- │5,829 │83 │1,661 │1,049
411097 │62,0 │25,0 │3,2 │2,0 │5,0 │- │1,0 │2,472 │67 │0,704 │0,445
411098 │62,0 │30,0 │2,0 │2,0 │5,0 │- │- │1,854 │69 │0,528 │0,334
411099 │62,0 │33,5 │3,5 │7,0 │3,0 │7,0 │- │4,184 │70 │1,192 │0,753
411100 │62,0 │40,0 │10,0│10,0 │8,0 │0,5 │0,5 │9,336 │74 │2,661 │1,681
411101 │62,0 │50,0 │5,0 │10,0 │5,0 │0,5 │0,5 │7,653 │80 │2,181 │1,377
411944 │62,0 │50,0 │6,0 │10,0 │5,0 │- │- │8,174 │80 │2,329 │1,471
411102 │62,0 │50,0 │6,0 │12,0 │5,0 │- │- │9,054 │80 │2,580 │1,630
411103 │62,0 │50,0 │6,0 │13,0 │5,0 │1,0 │1,0 │9,489 │80 │2,704 │1,708
411945 │62,0 │60,0 │5,0 │15,0 │4,0 │0,5 │0,5 │11,383 │86 │3,244 │2,049
411104 │62,0 │61,0 │27,0│17,0 │6,0 │2,0 │2,0 │22,580 │87 │6,435 │4,064
411106 │63,0 │25,0 │3,0 │3,0 │3,0 │1,5 │1,5 │2,560 │68 │0,730 │0,461
411107 │63,0 │25,0 │3,2 │3,2 │5,0 │1,6 │1,6 │2,756 │68 │0,786 │0,496
411108 │63,0 │25,0 │3,5 │3,5 │5,0 │1,7 │1,7 │2,999 │68 │0,855 │0,540
411109 │63,0 │30,0 │2,5 │2,5 │2,5 │0,5 │- │2,275 │70 │0,648 │0,410
411110 │63,0 │32,0 │3,2 │3,2 │5,0 │1,6 │1,6 │2,980 │71 │0,849 │0,536
411947 │63,0 │50,0 │7,0 │7,0 │3,0 │- │- │7,439 │81 │2,120 │1,339
411111 │64,0 │36,0 │4,0 │5,0 │5,0 │2,5 │2,0 │4,192 │74 │1,195 │0,754
411112 │64,0 │39,0 │19,0│37,0 │5,0 │2,0 │2,0 │19,596 │75 │5,585 │3,527
411113 │64,0 │38,0 │5,0 │5,0 │4,0 │2,5 │2,5 │4,858 │75 │1,384 │0,874
411114 │64,0 │50,0 │5,0 │5,0 │4,0 │2,0 │2,0 │5,467 │81 │1,558 │0,984
411115 │64,4 │38,3 │5,0 │5,0 │4,0 │2,5 │2,5 │4,893 │75 │1,394 │0,881
411116 │65,0 │20,0 │2,0 │3,5 │3,0 │- │- │1,949 │68 │0,556 │0,351
411117 │65,0 │20,0 │3,0 │4,0 │3,0 │- │- │2,649 │68 │0,755 │0,477
411118 │65,0 │22,0 │2,0 │2,0 │2,0 │- │- │1,709 │69 │0,487 │0,308
411119 │65,0 │22,0 │2,0 │3,0 │2,0 │1,5 │1,0 │1,902 │69 │0,542 │0,342
411120 │65,0 │25,0 │2,5 │3,5 │2,5 │1,5 │1,0 │2,419 │70 │0,689 │0,435
411121 │65,0 │25,0 │3,0 │4,0 │2,5 │1,5 │1,0 │2,836 │70 │0,808 │0,511
411122 │65,0 │25,0 │4,0 │5,0 │5,0 │2,0 │2,0 │3,686 │70 │1,051 │0,664
411123 │65,0 │30,0 │2,0 │3,5 │3,0 │- │- │2,299 │72 │0,655 │0,414
411949 │65,0 │35,0 │6,0 │12,0 │5,0 │0,5 │0,5 │7,433 │74 │2,118 │1,338
411124 │65,0 │38,0 │6,5 │9,0 │6,0 │- │- │7,137 │75 │2,034 │1,285
411126 │65,0 │40,0 │4,0 │5,0 │5,0 │2,5 │2,0 │4,432 │76 │1,263 │0,798
411127 │65,0 │40,0 │5,0 │4,0 │5,0 │2,0 │2,5 │4,682 │76 │1,334 │0,843
411129 │65,0 │45,0 │2,5 │2,5 │2,5 │- │1,2 │2,698 │79 │0,769 │0,486
411950 │65,0 │50,0 │3,5 │3,5 │3,0 │0,5 │0,5 │3,921 │82 │1,117 │0,706
411130 │65,0 │50,0 │8,0 │17,0 │10,0│- │- │12,555 │82 │3,578 │2,260
411951 │65,0 │55,0 │12,0│6,0 │5,0 │1,0 │1,0 │10,429 │85 │2,972 │1,877
411131 │65,0 │60,0 │6,0 │15,0 │4,0 │- │- │12,034 │88 │3,430 │2,166
412067 │65,0 │62,0 │12,0│6,0 │4,0 │1,0 │1,0 │10,830 │90 │3,087 │1,949
411952 │65,5 │65,0 │9,5 │8,0 │4,0 │0,5 │0,5 │10,696 │92 │3,048 │1,925
411132 │66,0 │28,0 │3,0 │4,0 │5,0 │1,5 │1,5 │3,024 │72 │0,862 │0,544
411133 │66,0 │38,0 │4,0 │6,0 │5,0 │- │- │4,734 │76 │1,349 │0,852
411953 │66,0 │45,0 │3,0 │6,0 │3,0 │- │- │4,519 │80 │1,288 │0,813
411954 │66,0 │47,0 │10,0│47,0 │3,0 │0,5 │0,5 │24,008 │81 │6,842 │4,321
411134 │66,0 │50,0 │8,0 │6,0 │5,0 │- │- │7,854 │83 │2,238 │1,414
411135 │66,0 │56,0 │14,0│26,0 │3,0 │- │- │20,179 │87 │5,751 │3,632
411137 │67,0 │16,0 │2,0 │2,0 │3,0 │- │- │1,639 │69 │0,467 │0,295
411138 │67,0 │22,0 │2,0 │2,5 │3,0 │- │- │1,859 │71 │0,530 │0,335
411139 │67,0 │31,0 │2,0 │2,5 │3,0 │- │- │2,084 │74 │0,594 │0,375
411140 │67,0 │43,0 │2,0 │4,0 │4,0 │- │- │3,014 │80 │0,859 │0,543
411141 │67,0 │65,5 │15,0│31,0 │6,0 │2,0 │2,0 │25,765 │94 │7,343 │4,638
411142 │68,0 │20,0 │1,5 │1,5 │2,5 │1,0 │- │1,309 │71 │0,373 │0,236
411955 │68,0 │40,0 │4,0 │5,0 │4,0 │0,5 │0,5 │4,553 │79 │1,298 │0,820
411145 │69,0 │37,3 │6,5 │8,0 │6,0 │- │- │7,026 │78 │2,002 │1,265
411146 │70,0 │15,0 │3,5 │13,0 │4,0 │3,0 │- │3,960 │72 │1,129 │0,713
411147 │70,0 │18,0 │1,8 │2,0 │3,0 │- │- │1,603 │72 │0,457 │0,289
411148 │70,0 │19,0 │2,2 │2,2 │2,5 │- │- │1,923 │73 │0,548 │0,346
411956 │70,0 │20,0 │2,5 │2,5 │2,5 │0,5 │0,5 │2,200 │73 │0,627 │0,396
411150 │70,0 │25,0 │1,8 │3,0 │3,0 │- │- │1,975 │74 │0,563 │0,356
411957 │70,0 │25,0 │6,0 │3,0 │4,0 │1,0 │1,0 │4,800 │74 │1,368 │0,864
411151 │70,0 │26,0 │3,0 │4,0 │3,0 │- │- │3,039 │75 │0,866 │0,547
411153 │70,0 │30,0 │3,0 │4,0 │3,0 │- │- │3,199 │76 │0,912 │0,576
411154 │70,0 │40,0 │2,5 │2,5 │5,0 │2,5 │2,5 │2,714 │81 │0,774 │0,489
411155 │70,0 │40,0 │5,0 │5,0 │5,0 │2,5 │2,5 │5,277 │81 │1,504 │0,950
411156 │70,0 │40,0 │8,0 │7,0 │4,0 │- │- │7,874 │81 │2,244 │1,417
411158 │70,0 │41,0 │6,0 │10,0 │5,0 │- │- │7,754 │81 │2,210 │1,396
412105 │70,0 │45,0 │4,0 │6,0 │3,0 │1,0 │1,0 │5,275 │83 │1,503 │0,950
411159 │70,0 │45,0 │8,0 │15,0 │6,0 │2,0 │2,0 │11,210 │83 │3,195 │2,018
411160 │70,0 │50,0 │4,0 │2,5 │2,5 │- │- │3,963 │86 │1,130 │0,713
411161 │70,0 │50,0 │7,0 │10,0 │12,0│- │- │9,509 │86 │2,710 │1,712
411162 │70,0 │50,0 │12,0│12,0 │6,0 │2,0 │2,0 │13,020 │86 │3,711 │2,344
411958 │70,0 │52,0 │12,0│6,0 │6,0 │1,0 │1,0 │10,873 │87 │3,099 │1,957
411163 │70,0 │52,0 │24,0│4,0 │5,0 │1,0 │1,0 │17,969 │87 │5,121 │3,234
411165 │70,0 │57,0 │10,0│16,0 │2,0 │8,0 │2,0 │14,383 │90 │4,099 │2,589
411166 │70,0 │60,0 │5,0 │4,0 │5,0 │4,0 │4,0 │5,685 │92 │1,620 │1,023
411167 │70,0 │60,0 │15,0│6,0 │5,0 │2,0 │0,5 │13,245 │92 │3,775 │2,384
411168 │70,0 │63,0 │29,0│17,0 │6,0 │2,0 │2,0 │26,140 │94 │7,450 │4,705
411169 │70,0 │67,0 │31,0│16,0 │6,0 │2,0 │2,0 │27,520 │97 │7,843 │4,954
411171 │71,0 │26,0 │10,0│16,0 │4,0 │1,0 │1,0 │9,690 │76 │2,762 │1,744
411172 │71,0 │29,0 │4,8 │7,2 │9,5 │0,8 │0,8 │5,341 │77 │1,522 │0,961
411173 │71,0 │34,0 │18,5│16,0 │4,0 │1,0 │1,0 │15,645 │79 │4,459 │2,816
411959 │71,0 │47,0 │16,0│53,0 │5,0 │1,0 │1,0 │27,839 │85 │7,934 │5,011
411176 │72,0 │35,0 │9,0 │3,0 │3,0 │- │- │7,279 │80 │2,075 │1,310
411177 │72,0 │60,0 │6,0 │20,0 │4,0 │- │- │15,154 │94 │4,319 │2,728
411178 │73,0 │20,0 │2,0 │4,0 │3,0 │1,0 │1,0 │2,196 │76 │0,626 │0,395
411179 │73,0 │28,0 │2,0 │15,0 │6,0 │- │- │2,837 │78 │0,809 │0,511
411180 │73,0 │51,0 │12,5│15,0 │4,0 │- │- │14,934 │89 │4,256 │2,688
411183 │74,0 │39,0 │6,5 │11,0 │6,5 │0,5 │0,5 │8,475 │84 │2,415 │1,525
411186 │75,0 │25,0 │2,5 │4,0 │4,0 │- │- │2,809 │79 │0,801 │0,506
411961 │75,0 │25,0 │5,0 │5,0 │5,0 │2,0 │2,0 │4,786 │79 │1,364 │0,862
411187 │75,0 │25,5 │2,0 │5,0 │3,0 │- │- │2,694 │79 │0,768 │0,485
411188 │75,0 │26,0 │4,0 │8,0 │6,0 │0,5 │0,5 │4,836 │80 │1,378 │0,871
411189 │75,0 │30,0 │4,0 │4,0 │3,0 │1,5 │1,5 │4,050 │81 │1,154 │0,729
411190 │75,0 │30,0 │5,0 │5,0 │5,0 │2,5 │2,5 │5,027 │81 │1,433 │0,905
411191 │75,0 │30,0 │6,0 │15,0 │5,0 │- │- │8,154 │81 │2,324 │1,468
411192 │75,0 │32,0 │3,0 │5,0 │3,0 │- │- │3,719 │82 │1,060 │0,669
411193 │75,0 │35,0 │4,5 │4,5 │5,0 │2,0 │- │4,793 │83 │1,366 │0,863
411197 │75,0 │45,0 │2,5 │2,5 │2,5 │- │1,2 │2,948 │88 │0,840 │0,531
411198 │75,0 │45,0 │5,0 │4,0 │5,0 │1,0 │1,0 │5,399 │88 │1,539 │0,972
411199 │75,0 │45,0 │8,0 │7,0 │6,0 │2,0 │2,0 │8,650 │88 │2,465 │1,557
411200 │75,0 │45,0 │12,0│9,0 │5,0 │- │- │12,024 │88 │3,427 │2,164
411201 │75,0 │50,0 │4,0 │4,0 │4,0 │1,0 │1,0 │4,870 │90 │1,388 │0,877
411204 │75,0 │50,0 │5,0 │5,0 │5,0 │2,5 │2,5 │6,027 │90 │1,718 │1,085
411205 │75,0 │50,0 │5,0 │5,0 │8,0 │2,7 │2,7 │6,106 │90 │1,740 │1,099
411206 │75,0 │50,0 │6,0 │6,0 │12,0│1,5 │1,5 │7,439 │90 │2,120 │1,339
411207 │75,0 │50,0 │7,0 │7,0 │8,0 │3,5 │3,5 │8,345 │90 │2,378 │1,502
411962 │75,0 │50,0 │8,0 │8,0 │5,0 │- │- │9,414 │90 │2,683 │1,695
411208 │75,0 │50,0 │8,0 │10,0 │4,0 │0,5 │2,0 │10,225 │90 │2,914 │1,841
411963 │75,0 │50,0 │8,0 │10,0 │5,0 │- │- │10,254 │90 │2,922 │1,846
411209 │75,0 │50,0 │12,0│12,0 │- │- │- │13,560 │90 │3,865 │2,441
411211 │75,0 │55,0 │6,0 │10,0 │5,0 │0,5 │0,5 │9,453 │93 │2,694 │1,701
411961 │75,0 │68,0 │23,0│35,0 │2,0 │2,0 │2,0 │32,991 │101 │9,403 │5,938
411213 │75,0 │70,0 │16,0│14,0 │8,0 │- │- │19,697 │103 │5,614 │3,546
412142 │76,0 │16,2 │6,0 │17,0 │- │- │- │6,294 │78 │1,794 │1,133
411216 │76,0 │34,0 │18,0│34,0 │4,0 │1,0 │1,0 │19,150 │83 │5,458 │3,447
411217 │76,0 │45,0 │8,0 │10,0 │3,0 │- │- │9,799 │88 │2,793 │1,764
411219 │76,0 │64,0 │7,0 │8,0 │5,0 │0,5 │0,5 │9,933 │100 │2,831 │1,788
411222 │78,0 │40,0 │2,5 │2,5 │2,5 │- │- │2,901 │88 │0,827 │0,522
411224 │78,0 │70,0 │8,0 │24,0 │10,0│- │- │21,335 │105 │6,080 │3,840
411225 │79,0 │41,0 │14,0│65,0 │3,0 │- │- │28,629 │89 │8,159 │5,153
411226 │79,0 │65,0 │6,0 │6,0 │5,0 │- │- │8,334 │102 │2,375 │1,500
411228 │80,0 │18,0 │4,0 │14,0 │5,0 │3,0 │- │5,194 │82 │1,480 │0,935
411231 │80,0 │22,0 │2,0 │2,0 │2,0 │1,0 │1,0 │2,004 │83 │0,571 │0,361
411232 │80,0 │33,0 │4,0 │10,0 │3,0 │0,5 │0,5 │6,118 │87 │1,744 │1,101
411233 │80,0 │34,0 │6,0 │7,0 │4,0 │0,5 │0,5 │6,793 │87 │1,936 │1,223
411234 │80,0 │37,0 │5,0 │8,0 │5,0 │- │- │6,614 │88 │1,885 │1,190
411235 │80,0 │38,0 │6,5 │7,0 │6,0 │- │- │7,482 │89 │2,132 │1,347
411237 │80,0 │40,0 │24,0│50,0 │2,0 │2,0 │2,0 │27,191 │89 │7,750 │4,894
411238 │80,0 │44,0 │8,0 │10,5 │5,0 │- │- │10,234 │91 │2,917 │1,842
411239 │80,0 │45,0 │7,0 │7,0 │6,0 │3,0 │3,0 │8,299 │92 │2,365 │1,494
411966 │80,0 │45,0 │27,0│12,0 │1,5 │1,0 │1,0 │23,761 │92 │6,772 │4,277
411968 │80,0 │50,0 │10,0│22,0 │5,0 │3,0 │3,0 │16,815 │94 │4,792 │3,027
411240 │80,0 │50,0 │10,0│30,0 │6,0 │- │- │20,077 │94 │5,722 │3,614
411967 │80,0 │50,0 │12,0│6,0 │4,0 │0,5 │0,5 │11,860 │94 │3,380 │2,135
411242 │80,0 │60,0 │12,0│20,0 │6,0 │1,0 │1,0 │19,273 │100 │5,493 │3,469
411244 │80,0 │70,0 │9,0 │15,0 │8,0 │1,0 │1,0 │16,483 │106 │4,698 │2,967
411969 │80,5 │40,5 │6,0 │6,0 │2,5 │0,5 │0,5 │6,912 │90 │1,970 │1,244
111970 │82,0 │40,0 │30,0│14,0 │- │- │- │26,000 │91 │7,410 │4,680
411971 │82,0 │65,0 │12,0│7,0 │4,0 │4,0 │2,0 │13,541 │105 │3,859 │2,437
411247 │83,0 │26,0 │3,0 │6,0 │5,0 │1,5 │1,5 │3,914 │87 │1,115 │0,705
411972 │83,0 │58,0 │25,0│25,0 │2,0 │2,0 │2,0 │28,991 │101 │8,263 │5,218
411249 │83,0 │61,0 │26,0│43,0 │10,0│5,0 │5,0 │36,737 │103 │10,470 │6,613
411250 │84,0 │25,0 │2,2 │5,0 │3,0 │- │- │3,007 │88 │0,857 │0,541
411973 │84,0 │52,0 │25,0│20,0 │3,0 │1,0 │1,0 │26,415 │99 │7,528 │4,755
411252 │85,0 │25,0 │1,5 │3,0 │4,5 │- │- │2,023 │89 │0,577 │0,364
411253 │85,0 │25,0 │2,2 │3,5 │3,0 │- │- │2,687 │89 │0,766 │0,484
411256 │85,0 │40,0 │7,0 │7,0 │10,0│1,0 │1,0 │8,470 │94 │2,414 │1,525
411257 │85,0 │40,0 │8,0 │6,0 │6,0 │3,0 │2,0 │8,769 │94 │2,499 │1,578
411259 │85,0 │52,0 │8,0 │3,0 │5,0 │- │- │8,174 │100 │2,329 │1,471
411974 │85,0 │55,0 │32,0│18,0 │0,5 │0,5 │0,5 │31,339 │101 │8,932 │5,641
411260 │85,0 │60,0 │5,0 │10,0 │5,0 │- │- │9,804 │104 │2,794 │1,765
411261 │85,0 │60,0 │8,0 │20,0 │5,0 │- │- │17,254 │104 │4,917 │3,106
411262 │85,0 │60,0 │25,0│5,0 │5,0 │- │- │23,054 │104 │6,570 │4,150
411263 │85,0 │61,0 │6,0 │10,0 │5,0 │- │- │10,654 │105 │3,036 │1,918
411264 │85,0 │65,0 │10,0│7,0 │5,0 │2,0 │2,0 │12,386 │107 │3,530 │2,230
411265 │85,0 │65,0 │10,0│25,0 │5,0 │0,5 │0,5 │22,303 │107 │6,356 │4,014
411266 │85,0 │79,0 │20,0│8,0 │10,0│- │- │21,935 │116 │6,251 │3,948
411975 │85,0 │80,0 │15,0│7,0 │5,0 │- │- │17,354 │117 │4,946 │3,124
411267 │85,0 │80,0 │21,0│21,0 │1,0 │1,0 │1,0 │30,238 │117 │8,618 │5,443
411268 │86,0 │38,0 │3,0 │4,0 │5,0 │- │- │4,034 │94 │1,150 │0,726
411269 │86,0 │58,0 │8,0 │10,0 │5,0 │- │- │11,934 │104 │3,401 │2,148
411976 │86,0 │65,0 │25,0│20,0 │3,0 │1,0 │1,0 │29,515 │108 │8,412 │5,313
411273 │87,0 │22,0 │1,7 │2,2 │2,0 │- │- │1,934 │90 │0,551 │0,348
411276 │87,0 │40,0 │18,0│56,0 │5,0 │2,0 │2,0 │28,016 │96 │7,985 │5,043
411277 │87,0 │54,0 │4,0 │7,0 │1,0 │- │- │6,982 │102 │1,990 │1,257
411278 │88,0 │26,0 │3,0 │4,0 │3,0 │- │- │3,579 │92 │1,020 │0,644
411279 │88,0 │40,0 │2,5 │2,5 │2,5 │- │- │3,151 │97 │0,898 │0,567
411280 │88,0 │60,0 │3,0 │5,0 │5,0 │0,5 │0,5 │5,543 │107 │1,580 │0,998
411254 │89,0 │26,0 │4,0 │7,0 │3,0 │1,0 │- │5,117 │93 │1,458 │0,921
411977 │89,0 │30,0 │4,0 │7,0 │3,0 │- │- │5,399 │94 │1,539 │0,972
411281 │90,0 │20,0 │4,0 │16,0 │6,0 │3,0 │- │6,218 │92 │1,772 │1,119
411283 │90,0 │25,0 │2,0 │2,0 │2,5 │- │- │2,273 │93 │0,648 │0,409
411284 │90,0 │25,0 │2,0 │2,0 │3,0 │1,0 │1,0 │2,275 │93 │0,648 │0,410
411285 │90,0 │25,0 │2,5 │2,5 │2,5 │1,2 │1,3 │2,819 │93 │0,803 │0,507
411286 │90,0 │25,0 │3,2 │6,5 │4,5 │- │- │4,340 │93 │1,237 │0,781
411287 │90,0 │25,0 │3,5 │6,5 │4,5 │- │- │4,591 │93 │1,308 │0,826
412106 │90,0 │26,0 │3,5 │7,0 │3,0 │1,0 │1,0 │4,740 │94 │1,351 │0,853
411978 │90,0 │27,0 │2,2 │12,0 │3,0 │0,5 │0,5 │4,974 │94 │1,418 │0,895
411288 │90,0 │30,0 │2,5 │2,5 │2,5 │1,2 │1,2 │2,945 │95 │0,839 │0,530
411979 │90,0 │39,0 │18,0│46,0 │3,0 │1,0 │1,0 │25,875 │98 │7,374 │4,658
411980 │90,0 │40,0 │2,0 │3,1 │3,0 │- │- │2,997 │99 │0,854 │0,540
411290 │90,0 │41,5 │2,5 │2,5 │2,5 │- │- │3,238 │99 │0,923 │0,583
411292 │90,0 │45,0 │2,5 │2,5 │2,5 │1,2 │1,2 │3,320 │101 │0,946 │0,598
411295 │90,0 │50,0 │6,0 │6,0 │8,0 │3,0 │3,0 │8,139 │103 │2,320 │1,465
411296 │90,0 │50,0 │8,0 │8,0 │8,0 │3,0 │3,0 │10,659 │103 │3,038 │1,919
411297 │90,0 │50,0 │8,0 │12,0 │5,0 │- │- │12,294 │103 │3,504 │2,213
411298 │90,0 │50,0 │8,0 │15,0 │5,0 │1,0 │1,0 │13,549 │103 │3,862 │2,439
411299 │90,0 │54,0 │14,0│22,0 │6,0 │1,0 │1,0 │21,473 │105 │6,120 │3,865
411300 │90,0 │65,0 │7,0 │15,0 │4,0 │2,0 │4,0 │14,991 │111 │4,273 │2,698
411303 │90,0 │65,0 │15,0│7,0 │4,0 │4,0 │2,0 │16,991 │111 │4,843 │3,058
411305 │90,0 │75,0 │10,0│15,0 │6,0 │- │3,0 │18,808 │117 │5,360 │3,385
411981 │90,0 │80,0 │26,0│26,0 │3,0 │1,0 │1,0 │37,455 │120 │10,675 │6,742
411982 │90,0 │83,0 │25,0│16,0 │5,0 │3,0 │3,0 │31,795 │123 │9,062 │5,723
411306 │91,0 │28,0 │3,0 │4,1 │5,0 │- │- │3,809 │95 │1,085 │0,686
411983 │91,0 │34,0 │12,0│47,0 │3,0 │0,5 │0,5 │21,278 │97 │6,064 │3,830
411984 │92,5 │51,0 │9,0 │8,5 │2,5 │1,0 │1,0 │11,904 │106 │3,393 │2,143
411308 │93,0 │22,0 │2,8 │4,0 │3,0 │- │- │3,391 │96 │0,967 │0,610
412107 │94,0 │45,0 │6,0 │12,0 │5,0 │1,0 │1,0 │10,369 │104 │2,955 │1,866
411310 │95,0 │25,0 │2,0 │6,0 │6,0 │0,5 │0,5 │3,292 │98 │0,938 │0,593
411314 │95,0 │35,0 │3,0 │4,0 │3,0 │2,0 │2,0 │4,132 │101 │1,178 │0,744
411315 │95,0 │39,0 │4,0 │9,0 │5,0 │3,0 │2,0 │6,976 │103 │1,988 │1,256
411316 │95,0 │40,0 │3,0 │8,0 │5,0 │- │- │5,864 │103 │1,671 │1,055
411317 │95,0 │40,0 │6,0 │4,0 │4,0 │1,0 │1,0 │7,090 │103 │2,021 │1,276
411318 │95,0 │48,0 │8,0 │12,0 │5,0 │- │- │12,451 │106 │3,549 │2,242
411319 │95,0 │48,0 │8,0 │12,0 │8,0 │- │- │12,357 │106 │3,573 │2,257
411320 │95,0 │48,0 │8,0 │15,0 │5,0 │- │- │13,654 │107 │3,891 │2,458
411985 │95,0 │50,0 │8,0 │14,0 │5,0 │0,5 │0,5 │13,533 │107 │3,857 │2,436
411321 │95,0 │60,0 │5,0 │3,0 │5,0 │1,0 │2,0 │6,443 │112 │1,836 │1,160
411322 │96,0 │20,0 │1,5 │4,0 │3,0 │- │- │2,199 │98 │0,627 │0,396
411324 │96,0 │75,0 │25,0│58,0 │5,0 │3,0 │3,0 │53,015 │122 │15,109 │9,543
412108 │97,0 │34,0 │5,0 │8,0 │3,0 │1,0 │1,0 │7,185 │103 │2,048 │1,293
411325 │98,0 │32,0 │10,0│15,0 │- │- │- │13,100 │103 │3,734 │2,358
411327 │100,0 │22,0 │4,5 │17,0 │6,0 │3,0 │- │7,533 │102 │2,147 │1,356
411986 │100,0 │25,0 │2,0 │2,0 │2,0 │0,5 │0,5 │2,468 │103 │0,703 │0,444
411987 │100,9 │25,0 │7,0 │7,0 │5,0 │2,0 │2,0 │8,296 │103 │2,364 │1,493
411328 │100,0 │26,0 │3,0 │4,0 │3,0 │2,0 │1,0 │3,929 │103 │1,120 │0,707
411988 │100,0 │30,0 │3,0 │7,0 │6,0 │1,0 │1,0 │4,963 │104 │1,414 │0,893
411329 │100,0 │30,0 │9,5 │32,0 │5,0 │1,0 │1,0 │16,109 │104 │4,591 │2,900
411989 │100,0 │32,0 │5,0 │5,0 │5,0 │- │- │6,404 │105 │1,825 │1,153
411990 │100,0 │35,0 │12,0│5,0 │5,0 │1,0 │1,0 │13,199 │106 │3,762 │2,376
411331 │100,0 │38,0 │6,5 │9,0 │6,0 │- │- │9,412 │107 │2,682 │1,694
411332 │100,0 │39,0 │4,0 │4,0 │5,0 │2,0 │2,0 │5,436 │107 │1,549 │0,979
411333 │100,0 │40,0 │5,0 │5,0 │5,0 │2,5 │- │6,790 │108 │1,935 │1,222
411334 │100,0 │45,0 │8,0 │8,0 │5,0 │- │- │11,014 │110 │3,139 │1,982
411335 │100,0 │45,0 │8,0 │8,0 │5,0 │2,0 │2,0 │10,996 │110 │3,134 │1,979
411336 │100,0 │60,0 │7,0 │7,0 │10,0│4,0 │4,0 │10,856 │117 │3,094 │1,954
411337 │100,о │60,0 │9,0 │9,0 │10,0│4,0 │4,0 │13,736 │117 │3,915 │2,472
411338 │100,0 │65,0 │19,0│12,0 │5,0 │2,0 │2,0 │24,556 │119 │6,999 │4,420
411339 │100,0 │68,0 │5,0 │4,0 │10,0│- │- │7,735 │121 │2,204 │1,392
411340 │100,0 │75,0 │8,0 │8,0 │8,0 │4,0 │4,0 │13,429 │125 │3,827 │2,417
411341 │100,0 │75,0 │8,0 │8,0 │10,0│3,3 │3,3 │13,528 │125 │3,855 │2,435
411344 │100,0 │92,0 │84,0│40,0 │15,0│1,0 │2,0 │87,672 │136 │24,987 │15,781
411991 │101,0 │44,0 │28,0│25,0 │3,0 │3,0 │3,0 │32,261 │110 │9,194 │5,807
411346 │101,0 │75,0 │32,0│29,0 │3,0 │1,0 │1,0 │44,805 │126 │12,769 │8,065
411326 │102,0 │12,0 │2,0 │2,0 │2,0 │- │- │2,249 │103 │0,641 │0,405
411348 │102,0 │68,0 │32,0│20,0 │6,0 │2,0 │2,0 │39,900 │123 │11,372 │7,182
411349 │103,0 │51,0 │13,0│18,0 │5,0 │- │- │20,284 │115 │5,781 │3,651
411350 │104,0 │28,0 │4,0 │6,0 │4,0 │- │- │5,634 │108 │1,606 │1,014
411992 │104,0 │55,0 │25,0│39,0 │5,0 │1,0 │1,0 │37,749 │118 │10,759 │6,795
411993 │105,0 │35,0 │3,0 │8,0 │3,0 │1,0 │1,0 │5,725 │111 │1,632 │1,031
411994 │105,0 │40,0 │25,0│23,0 │0,5 │2,0 │2,0 │29,683 │112 │8,460 │5,343
411353 │105,0 │77,0 │22,0│30,0 │15,0│5,0 │5,0 │39,976 │130 │11,393 │7,196
411354 │105,0 │86,0 │55,0│62,0 │15,0│10,0 │10,0│77,024 │136 │21,952 │13,864
411995 │105,0 │95,0 │20,0│25,0 │5,0 │2,0 │2,0 │39,786 │142 │11,339 │7,162
411356 │106,0 │70,0 │16,0│16,0 │8,0 │- │- │25,737 │127 │7,335 │4,633
411996 │106,0 │89,0 │30,0│33,0 │2,0 │2,0 │2,0 │51,261 │138 │14,610 │9,227
411357 │107,0 │31,0 │3,0 │5,0 │6,0 │- │- │4,687 │111 │1,336 │0,844
411997 │107,0 │40,0 │3,5 │5,0 │5,0 │- │- │5,624 │114 │1,603 │1,012
411358 │108,0 │29,0 │5,0 │4,0 │2,5 │- │- │6,373 │112 │1,816 │1,147
411359 │108,0 │65,0 │22,0│20,0 │5,0 │- │- │32,414 │126 │9,238 │5,834
411360 │108,0 │68,0 │28,0│6,0 │3,0 │- │- │32,659 │128 │9,308 │5,879
411361 │109,0 │50,0 │8,0 │12,0 │5,0 │- │- │13,814 │120 │3,937 │2,486
411362 │110,0 │24,0 │5,0 │19,0 │6,0 │4,0 │- │9,153 │113 │2,609 │1,648
411363 │110,0 │35,5 │4,0 │6,5 │6,0 │- │- │6,525 │116 │1,860 │1,174
411998 │110,0 │65,5 │5,5 │9,0 │6,0 │0,5 │0,5 │11,526 │128 │3,285 │2,075
411365 │110,0 │72,0 │5,0 │8,0 │5,0 │- │- │10,914 │132 │3,110 │1,964
411999 │110,0 │106,0 │16,0│12,0 │5,0 │2,0 │2,0 │28,436 │153 │8,104 │5,119
411367 │112,0 │29,0 │5,0 │9,0 │2,5 │- │2,5 │7,760 │116 │2,212 │1,397
411368 │115,0 │34,0 │6,0 │7,0 │4,0 │0,5 │0,5 │8,893 │120 │2,535 │1,601
411370 │118,0 │39,0 │11,0│21,0 │3,0 │2,0 │2,0 │18,862 │124 │5,376 │3,395
412000 │119,0 │28,5 │2,0 │2,0 │3,0 │- │- │2,929 │122 │0,835 │0,527
411371 │120,0 │25,0 │3,5 │4,0 │3,0 │2,0 │1,0 │5,069 │123 │1,445 │0,912
411373 │120,0 │35,0 │5,5 │13,0 │3,0 │- │- │10,454 │125 │2,979 │1,882
411374 │120,0 │43,0 │15,0│8,0 │5,0 │- │- │20,294 │127 │5,784 │3,653
412001 │120,0 │58,0 │15,0│17,0 │5,0 │1,0 │1,0 │25,359 │133 │7,227 │4,565
411375 │120,0 │68,0 │4,0 │5,0 │10,0│- │- │8,215 │138 │2,341 │1,479
411376 │120,0 │70,0 │8,0 │8,0 │5,0 │2,5 │2,5 │14,587 │139 │4,157 │2,626
411377 │120,0 │70,0 │8,0 │8,0 │12,0│5,0 │5,0 │14,762 │139 │4,207 │2,657
411378 │120,0 │70,0 │23,0│6,0 │5,0 │0,5 │0,5 │30,473 │139 │8,685 │5,485
411379 │120,0 │80,0 │10,0│10,0 │11,0│4,0 │4,0 │19,191 │144 │5,469 │3,454
411380 │120,0 │80,0 │20,0│15,0 │10,0│2,0 │2,0 │33,197 │144 │9,461 │5,976
412002 │121,0 │26,0 │3,0 │4,0 │2,5 │- │- │4,563 │124 │1,301 │0,821
411381 │122,0 │92,0 │22,0│22,0 │5,0 │- │- │42,294 │153 │12,054 │7,613
412003 │128,0 │65,0 │8,0 │6,0 │5,0 │- │- │13,314 │139 │3,794 │2,396
411383 │124,0 │66,0 │6,0 │6,0 │5,0 │- │- │11,094 │140 │3,162 │1,997
411385 │125,0 │25,0 │2,2 │3,5 │3,0 │- │- │3,567 │127 │1,017 │0,642
411386 │125,0 │25,0 │5,5 │20,0 │7,0 │4,0 │- │10,846 │127 │3,091 │1,952
411388 │125,0 │45,0 │2,2 │2,5 │2,0 │- │- │3,829 │133 │1,091 │0,689
411389 │125,0 │68,0 │8,0 │5,0 │5,0 │- │- │13,054 │142 │3,720 │2,350
411391 │125,0 │80,0 │10,0│10,0 │11,0│3,7 │3,7 │19,701 │148 │5,615 │3,546
411392 │125,0 │80,0 │10,0│10,0 │11,0│5,5 │5,5 │19,630 │148 │5,595 │3,533
411394 │125,0 │110,0 │8,0 │7,0 │5,0 │4,0 │4,0 │17,125 │167 │4,881 │3,082
411395 │127,0 │38,0 │6,5 │9,0 │6,0 │- │- │11,167 │133 │3,183 │2,010
411396 │130,0 │9,0 │3,0 │5,0 │- │- │- │4,200 │130 │1,197 │0,756
411397 │130,0 │26,0 │3,2 │5,5 │3,0 │- │- │5,433 │133 │1,548 │0,978
411398 │130,0 │51,0 │9,3 │10,3 │10,0│- │- │16,600 │140 │4,731 │2,988
411399 │130,0 │80,0 │8,0 │8,0 │8,0 │4,0 │4,0 │16,229 │153 │4,625 │2,921
411401 │130,0 │120,0 │20,0│10,0 │14,0│4,7 │4,7 │36,326 │177 │10,353 │6,539
411404 │136,0 │57,0 │4,0 │6,5 │6,0 │1,0 │1,0 │8,958 │147 │2,553 │1,612
412004 │137,0 │65,0 │26,0│35,0 │5,0 │5,0 │5,0 │49,216 │152 │14,027 │8,859
411406 │140,0 │27,0 │6,0 │21,0 │8,0 │4,0 │- │12,913 │143 │3,680 │2,324
411407 │140,0 │43,0 │10,0│15,0 │6,0 │- │- │19,027 │147 │5,423 │3,425
411408 │140,0 │43,0 │10,0│18,0 │8,0 │- │- │20,077 │147 │5,722 │3,614
411409 │140,0 │80,0 │10,0│10,0 │14,0│6,0 │6,0 │21,266 │161 │6,061 │3,828
411410 │140,0 │80,0 │12,0│12,0 │14,0│6,0 │6,0 │25,226 │161 │7,189 │4,541
411411 │140,0 │90,0 │10,0│10,0 │12,0│4,0 │4,0 │22,240 │166 │6,339 │4,003
411412 │141,0 │27,0 │3,0 │3,5 │5,0 │- │- │5,124 │144 │1,460 │0,922
412005 │145,0 │110,0 │12,0│24,0 │10,0│4,0 │1,0 │41,130 │182 │11,722 │7,403
412006 │146,0 │49,0 │15,0│17,0 │5,0 │1,0 │1,0 │27,729 │154 │7,903 │4,991
412007 │148,0 │63,0 │15,0│47,0 │4,0 │1,0 │1,0 │44,790 │161 │12,765 │8,062
411415 │150,0 │16,0 │9,0 │40,0 │1,0 │1,0 │1,0 │16,298 │151 │4,645 │2,934
411416 │150,0 │22,0 │2,0 │3,0 │2,0 │1,5 │1,0 │3,602 │152 │1,026 │0,648
411417 │150,0 │22,0 │2,0 │4,0 │2,0 │1,5 │1,0 │3,802 │152 │1,083 │0,684
411418 │150,0 │35,0 │3,5 │3,5 │5,0 │- │- │6,406 │154 │1,826 │1,153
412008 │150,0 │35,0 │12,0│65,0 │2,0 │1,0 │1,0 │32,954 │154 │9,392 │5,932
411419 │150,0 │40,0 │3,5 │3,5 │5,0 │- │- │6,581 │155 │1,876 │1,185
411420 │150,0 │53,0 │7,0 │3,5 │5,0 │- │- │12,164 │159 │3,467 │2,189
411422 │150,0 │100,0 │10,0│10,0 │5,0 │- │- │24,054 │180 │6,855 │4,330
411425 │152,0 │48,0 │9,0 │10,0 │10,0│- │9,0 │17,621 │159 │5,022 │3,172
411426 │155,0 │29,0 │6,5 │23,0 │9,0 │4,0 │- │15,390 │158 │4,386 │2,770
411427 │155,0 │72,0 │19,0│19,0 │1,0 │2,0 │2,0 │39,505 │171 │11,259 │7,111
411429 │160,0 │25,0 │2,5 │4,5 │2,5 │1,5 │1,0 │5,019 │162 │1,430 │0,903
411435 │170,0 │100,0 │12,0│12,0 │10,0│6,0 │6,0 │31,020 │197 │8,841 │5,584
411436 │170,0 │32,0 │7,0 │25,0 │10,0│5,0 │- │18,311 │173 │5,219 │3,296
411437 │170,0 │70,0 │5,0 │5,0 │- │- │- │11,750 │184 │3,349 │2,115
411438 │170,0 │100,0 │14,0│14,0 │14,0│7,0 │7,0 │36,050 │197 │10,274 │6,489
411439 │170,0 │115,0 │70,0│48,0 │15,0│5,0 │5,0 │140,976 │205 │40,178 │25,376
412010 │170,0 │135,0 │40,0│55,0 │6,0 │2,0 │2,0 │120,310 │217 │34,288 │21,656
411441 │171,0 │40,0 │8,0 │8,0 │5,0 │- │- │16,294 │176 │4,644 │2,933
411442 │171,0 │105,0 │8,0 │8,0 │12,0│0,5 │0,5 │21,748 │201 │6,198 │3,915
411443 │175,0 │25,0 │2,8 │4,0 │3,0 │- │- │5,807 │177 │1,655 │1,045
412011 │175,0 │70,0 │7,0 │7,0 │10,0│- │- │16,875 │188 │4,009 │3,037
411444 │176,0 │28,0 │3,6 │4,0 │3,0 │- │- │7,331 │178 │2,089 │1,320
411446 │182,0 │41,0 │4,0 │5,0 │5,0 │- │- │9,184 │187 │2,617 │1,653
412012 │184,0 │91,0 │56,0│21,0 │6,0 │6,0 │6,0 │110,313 │205 │31,439 │19,856
411447 │185,0 │25,0 │5,0 │3,5 │2,5 │1,5 │1,0 │9,956 │187 │2,838 │1,792
411448 │190,О │46,0 │8,0 │9,0 │4,0 │3,5 │3,0 │18,609 │195 │5,303 │3,350
412014 │195,0 │122,0 │55,0│60,0 │3,0 │3,0 │3,0 │147,431 │230 │42,018 │26,538
411450 │200,0 │120,0 │12,0│12,0 │6,0 │4,0 │4,0 │36,969 │233 │10,536 │6,654
411454 │203,0 │75,0 │20,0│20,0 │10,0│8,0 │8,0 │51,540 │216 │14,689 │9,277
411455 │210,0 │28,0 │4,0 │6,0 │4,0 │2,5 │2,0 │9,852 │212 │2,808 │1,773
411456 │210,0 │51,0 │6,0 │6,0 │2,0 │- │- │15,309 │216 │4,363 │2,756
412015 │215,0 │80,0 │8,0 │8,0 │5,0 │0,5 │0,5 │23,013 │229 │6,559 │4,142
411458 │220,0 │26,0 │3,0 │4,0 │3,0 │2,0 │1,0 │7,529 │222 │2,146 │1,355
411459 │220,0 │26,0 │5,0 │5,0 │3,0 │2,0 │1,0 │12,059 │222 │3,437 │2,171
412016 │230,0 │82,0 │66,0│113,0 │10,0│2,0 │2,0 │170,077 │244 │48,472 │30,614
411460 │230,0 │120,0 │25,0│25,0 │2,0 │- │- │81,259 │259 │23,159 │14,627
411462 │240,0 │130,0 │34,5│34,5 │3,0 │3,0 │3,0 │115,728 │273 │32,983 │20,831
412017 │265,0 │100,0 │20,0│30,0 │10,0│2,0 │2,0 │77,197 │283 │22,001 │13,896
Примечания. 1. Значения радиусов скругления R и радиусов притупления острых кромок (

и

), не приведенные в таблице, должны соответствовать
ГОСТ 8617.
2. Радиусы притупления острых кромок (r,

,

) должны соответствовать требованиям
ГОСТ 8617.
2. Теоретическая масса 1 м профиля из алюминиевых сплавов вычислена по номинальным размерам при плотности 2,85 г/см3, что соответствует плотности алюминиевого сплава В95.
Теоретическая масса 1 м профиля из магниевых сплавов вычислена по номинальным размерам при плотности 1,80 г/см3, что соответствует плотности магниевого сплава МА14.
3. Переводные коэффициенты для вычисления приближенной теоретической массы 1 м профиля из алюминиевых и магниевых сплавов приведены в
Приложении 1.
4. Соответствие номеров профилей ранее действующим обозначениям приведено в
Приложении 2.
Справочное
1. Переводные коэффициенты для вычисления приближенной теоретической массы 1 м профиля из алюминия и алюминиевых сплавов
Алюминий всех марок - 0,950
Сплавы марок: АМц - 0,958
АМцС - 0,958
АМг2 - 0,940
АМг3 - 0,937
АМг5 - 0,930
АМг6 - 0,926
1561 - 0,930
Д1 - 0,982
Д16 - 0,976
Д16ч - 0,976
Д19ч - 0,968
Д20 - 0,996
АВ - 0,947
К48-2 - 0,972
К48-2пч - 0,972
АД31 - 0,950
АД31Е - 0,950
АД33 - 0,951
АД35 - 0,954
1915 - 0,972
1920 - 0,954
1925 - 0,972
1935 - 0,977
1985ч - 0,948
М40 - 0,965
ВАД1 - 0,968
ВД17 - 0,965
АВД1-1 - 0,982
1980 - 0,968
Сплавы марок: ВД1 - 0,982
1161 - 0,971
1163 - 0,975
В93 - 0,992
АК4 - 0,970
АК6 - 0,962
АК4-1 - 0,982
АК4-1ч - 0,982
АКМ - 0,970
В96Цпч - 1,001
2. Переводные коэффициенты для вычисления приближенной теоретической массы 1 м профиля из магниевых сплавов
Сплавы марок: МА1 - 0,978
МА2 - 0,989
МА2-1 - 0,990
МА2-1пч - 0,990
МА8 - 0,989
МА12 - 0,989
Справочное
Таблица 2
───────┬───────────────────┬──────────────────────────────────────
Номер │Обозначение профиля│ Обозначение профиля по чертежам
профиля│по каталогу 1966 г.│
───────┼───────────────────┼──────────────────────────────────────
410502 │- │ПС885-855, ПК16755, ПВ 1638
410504 │- │ПК14738
410505 │- │ПК14739
410506 │П52-2 │АПР20, ПС2-1, НП268-1, ПК2-1
410508 │П52-4 │ПП4-170
410509 │П52-5 │С711
410511 │- │ПК0449
410513 │П52-10 │ПР111-11
410515 │П52-14 │С497, ПС48, ПП4-9
410517 │П52-16 │ПР101-13
410518 │П52-18 │ПС2-77, ПК2-38
410519 │- │ПК14788
410521 │- │НП1501, ПК17292
410522 │- │ПК17291
410523 │П52-20 │ПС2-191
410524 │П52-24, П52-22 │НП10-1, ПП4-66, ПС2-112
410525 │П52-26 │ПС2-45, ПК2-20
410526 │- │ПК17029-1
410527 │- │ПК14737
410530 │П52-30 │ПК0159-1
410532 │- │ПК17083
410533 │П52-34 │ПК2-115, ПП4-95
410535 │П52-36 │С1594, АПР144
410536 │П52-38 │ПВ1449, ПС2-96, ПК2-45
410540 │- │ПС885-776
410542 │П52-40 │ПВ1572, ПК2-301, ПК2-301А
410543 │П52-42 │ПК2-219
410544 │П52-44 │С57-4, ПК2-117
410545 │П52-46 │ПР101-50
410547 │П52-50 │С999, ПП4-135, ПК2-118
410548 │П52-52 │ПР111-13, ПР111-13А
410549 │П52-54 │ПР101-11
410550 │П52-56 │ПВ661, ПК13092, ПК2-86, П792-Е26
410553 │П52-60 │ПР101-30, ПС2-55, НП212-30, ПК2-218
410555 │П52-62 │Н792-Е27, ПК14749, ПК2-87, С534-1
410556 │П52-64 │С927, ПС2-168
410557 │П52-66 │ПК2-217
410558 │- │ПК15030
410559 │- │ПК16770-2
410561 │- │ПК13883
410562 │- │ПК17947
410563 │П52-68 │ПК2-98, ПП4-12, ПС885-311
410566 │- │ПК16477
410569 │- │ПК16276
410570 │П52-72 │ПК188
410571 │П52-74 │ПК2-97, ПП4-11
410572 │П52-76 │С637, НП1790
410574 │П52-80 │ПК0158, ПК0158-1
410575 │- │С1105-1
410576 │- │ПК16278
410577 │П52-82 │ПС2-141
410579 │П52-84 │ПС2-2, ПК2-2, ПП4-51
410581 │П58-86 │С1395, ПС2-74, ПК2-36
410582 │- │ПК16293, ПС1057Д
410583 │П52-88 │ПК2-116
410584 │П52-90 │С7-1, ПК2-53, НП221-1, ПС2-80
410586 │- │ПС885-764
410587 │П52-92 │ПР111-1
410588 │П52-94 │ПС2-52, ПП4-3, НП1305-1
410589 │П52-96 │ПР101-3
410590 │П52-98 │ПР111-30
410591 │П52-100 │ПК0014
410592 │- │ПК14744
410594 │П52-102 │ПР101-31
410596 │П52-104 │ПР101-4, ПР101-4А
410597 │П52-106 │ПР101-5, ПР101-5А
410598 │П52-108 │ПВ967, ПС2-3, ПК2-3, НП212-2, ПП4-13
410599 │П52-110 │ПС2-4, ПК2-4, НП212-32, ПП4-14
410600 │П52-113, П52-112 │ПР101-32, ПС2-5, НП212-1
410601 │П52-114 │С173-2, ПК2-119, ПП4-97, ПС2-221,
│ │ПК8405, ПК8405А
410602 │П52-116 │ПР111-2, ПР111-2А
410603 │П52-118 │С937, НП660-2, ПП4-140, ПС2-158,
│ │ПК2-220
│П52-120 │С124, НП1464-1, ПК8390А, С124А, ПК8390
410604 │П52-122 │ПР111-3, ПР111-3А
410605 │П52-124 │ПР111-31
410606 │П52-126 │С1407-2, ПК2-120, ПП4-98
410607 │П52-128 │ПР111-4, ПР111-4А
410608 │П52-129 │С802-3
410609 │П52-131 │ПК11918
410610 │- │ПК16277
410612 │П52-133 │С802-1, ПК12239
410614 │П52-130 │ПС2-71, ПК2-33
410615 │П52-135 │ПВ1048, ПК12238
410618 │П52-132 │ПВ754, ПС2-69, ПК2-31
410619 │П52-134 │ПР101-33, ПС2-6, НП212-7
410620 │П52-136 │ПС2-50, ПП4-62, ПК2-24
410621 │П52-137 │С802-2, НП221-1, ПК12240
410624 │П52-140 │АПР145, НП902-1
410626 │П52-142 │ПВ1565, С57-1, ПК2-110, ПП4-87
410627 │П52-144 │ПК2-135, ПС2-122
410631 │П52-146 │АПР147, ПВ1806
410633 │П52-153 │ПКО827
410634 │П52-148 │ПК2-213
410635 │- │С1176-2, ПК14619
410636 │П52-150 │С7-5, ПВ426, НП221-6, ПК2-57, ПС2-85
410637 │П52-152 │ПК2-215
410638 │- │ПК17189
410639 │П52-154 │ПР101-6, ПР101-6А
410640 │П52-156 │ПР101-7
410641 │П52-158 │ПК2-214
410642 │- │С1105-2, НП1996
410644 │П52-160 │ПР111-5, ПР111-5А
410645 │- │С173-10
410646 │П52-164 │НП403-1, ПП4-136
410647 │П52-166 │ПВ1392, ПС2-47, ПК2-21
410648 │- │ПК17598
410649 │- │ПК12685
410650 │П52-168 │ПР101-21, ПР101-21А
410651 │П52-170 │ПВ1564, С309, ПК19894
410652 │П52-172 │ПР111-6, ПР111-6А
410654 │П52-174 │ПР101-14, ПВ473-4, ПР101-14А, С2265-3
410655 │П52-176 │ПВ625-3, ПК2-60, ПС2-90
410657 │П52-179 │С814-3, ПК12285
410658 │П52-180 │ПС2-72, ПК2-34
410659 │П52-182 │ПР101-34, НП212-4, ПС2-7
410660 │П52-184 │ПВ763, ПК2-128, ПП4-103
410661 │П52-186 │ПР101-22, ПР101-22А
410662 │П52-188 │С1394, ПС2-95, ПК12446, ПК2-44,
│ │НП221-7
410663 │П52-190 │ПС2-8, НП75-1, ПВ813, ПК2-5
410664 │- │ПК18302
410665 │П52-192 │С173-4, ПК2-197
410666 │П52-194 │НП73-1А, ПК2-95
410667 │- │ПК17191
410668 │П52-196 │С1360, ПС2-70, ПК2-32
410669 │П52-198 │НП539-2
410671 │- │ПК15287
410673 │П52-199 │ПК12655
410674 │П52-202 │ПК2-251, ПП4-164
410677 │- │ПК16202
410678 │П52-206, П52-204 │ПР111-32, ПП4-31, ПС2-9, ПР111-32А
410679 │П52-208 │ПК2-222
410681 │- │АПР262
410684 │П56-4 │ПК11011
410686 │П52-212 │ПР101-35, ПС2-10, ПВ571, НП212-25
410687 │П52-214 │ПК2-238
410688 │П52-216 │ПР111-33, ПС2-11, ПР111-33А
410689 │П52-218 │ПР101-15, ПР101-15А
410690 │П52-220 │ПК2-240
410691 │П52-222 │НП570-1
410693 │П52-226 │ПС2-56, ПК2-27, НП212-29, ПП4-60
410694 │П52-228 │ПВ625-2, ПС-12, ПК2-6, НП112-1,
│ │С2265-2, АПР-12
410695 │П52-230 │ПР111-34, ПС2-13, ПР111-34А
410699 │- │С1105-3, ПК4491
410700 │П52-235 │ПК12475
410701 │- │НП1371-1
410703 │- │ПК17488
410704 │П52-238 │С844, ПК2-144, ПС2-129
410706 │П52-242 │Н792-Е28, ПК2-88
410707 │П52-244 │ПС2-170
410709 │П52-246 │ПС2-143
410710 │П58-4, П52-248 │ПК1349, НП387-1
410711 │П52-250 │ПК2-232
410714 │П52-254 │ПВ1453, ПС2-14, ПК2-7
410715 │- │НП1424-1
410716 │П52-256 │С953, ПК2-105, ПК2-105А, ПП4-76,
│ │ПС2-200
410717 │П52-258 │ПК2-239, ПК2-239В
410718 │П52-260 │ПП4-146, НП1005-1
410719 │- │ПК17603
410720 │П52-262 │ПС2-135
410721 │П52-264 │ПС2-12, ПР101-36А, НП212-23, ПР101-36
410722 │- │ПК17095, ПК12586
410723 │П52-265 │ПК0451
410724 │П52-266 │ПК0451
410725 │П52-268 │ПК2-224
410726 │- │ПК17094
410727 │П52-270 │ПК0129
410728 │- │ПК12722
410729 │П52-272 │ПК2-230, ПС2-198
410730 │П52-274 │ПВ885, ПК2-77, ПС2-113, ПВ1635
410731 │П52-275 │ПС2-206
410732 │П52-276 │С173-11, ПК2-194
410733 │П52-278 │С332
410735 │П52-282 │С7-4, НП221-5, ПК2-56, ПС2-84
410736 │П52-284 │С173-14, С1645, ПК2274
410738 │П52-286 │НП346-1, ПК2-143, ПС2-222
410741 │П52-289 │ПК12031
410744 │- │ПК17378
410745 │П52-288 │ПК2-124, ПП4-93
410746 │П52-290 │ПК0309
410747 │П52-292 │ПВ1435, ПК2-125, ПП4-102
410749 │П52-296 │ПК2-259
410750 │- │ПК16768
410751 │П52-298 │С657, ПС2-93, ПА80, ПК2-42
410753 │П92-300 │С330
410754 │П52-302 │ПК2-123, ПП4-101
410756 │П52-304 │ПК2-221
410757 │П52-306 │ПР101-37, ПС2-16, ПР101-37А, НП212-8
410759 │- │С1305
410760 │П52-308 │ПР101-38, ПР101-38А, ПС2-17, НП212-5
410761 │- │ПК16770-3
410762 │П52-310 │С810, ПС2-97, ПК2-46
410763 │П52-312 │ПР101-16, ПС2-18, ПР101-16А, НП212-10
410764 │- │ПК15280
410765 │П52-314 │ПС2-19, ПР101-39
410766 │- │С1637, ПК16579
410767 │П52-316 │ПК2-229
410768 │П52-318 │ПК2-269
410769 │П52-320 │ПС2-20, ПП4-80, ПК2-8
410770 │П52-322 │ПР101-40, ПР101-40А, ПС2-53
410772 │П52-326 │ПР101-41, ПР101-41А, ПС2-58, НП212-22
410773 │П52-328 │ПР101-42, ПР101-42А, ПС2-63, НП212-11
410775 │П52-332 │ПС2-21, ПК2-9
410776 │П52-334 │ПК2-330
410778 │- │ПК12125
410780 │- │ПК12720
410781 │- │ПК12721
410782 │П52-336 │ПВ1566, С98
410785 │П74-10 │ПК1116-4, НП227-1
410786 │П52-338 │ПК0464
410788 │П52-339 │ПВ1101, НП1990
410793 │- │ПК16284
410794 │П52-342 │ПР111-15, ПР111-15А
410796 │П52-344 │ПВ1438, ПВ430, НП65-1, ПК2-94
410798 │П52-348 │С995, ПВ431-3, ПК2-68, ПС2-98, ПК2-68А
410799 │П52-350 │ПК2-223
410801 │П52-351 │ПК2-369
410802 │- │ПК16285
410803 │- │ПК14063-2
410804 │П52-352 │ПК2-62, ПС2-99
410805 │П52-354 │ПК2-363, ПК2-337, НП700-1
410806 │П52-356 │ПР111-7, ПР111-7А
410808 │- │ПК2-129
410809 │П52-360 │ПР101-8, ПР101-8А
410810 │- │ПК16835
410811 │П52-362 │ПК2-314
410812 │П52-364 │ПК2-211
410813 │П52-366 │ПК2-257
410814 │П52-368 │ПР111-35, ПР111-35А, ПС2-22
410817 │П52-372 │С7-2, НП221-2, ПК2-54, ПС2-81
410818 │- │ПК17184А
410819 │- │ПК16283
410820 │- │ПК17498
410821 │П52-374 │ПК2-233
410822 │П52-376 │Н792-Е35, ПК2-93А, ПК2-93
410823 │П52-378 │С1019, ПК2-84, ПС2-120
410824 │П52-380 │ПР101-23, ПВ1112, ПР101-23А
410826 │П52-382 │С441, ПК2-89, Н792-Е29, ПВ625-4
410827 │- │ПК2-139, ПК16205, НП346-5
410829 │П52-386 │НП4-113, НП1992
410830 │П52-388 │ПВ1392-3, ПС2-23, ПК2-10, НП4-35
410831 │П52-390 │ПВ1582, ПК1-59
410832 │П52-391 │ПК2-346
410833 │- │ПК17116
410834 │П52-392 │ПК2-347, ПК2-212
410835 │ПК2-394 │ПВ1378, С57-5, ПК2-147, ПС2-226
410837 │П52-398 │С102, ПК2-90, Н792-Е30
410842 │П52-400 │ПК2-154, ПС2-124
410844 │- │ПК16242
410846 │- │ПК17110
410848 │П52-402 │ПК1-107
410849 │П52-404 │ПК2-317
410850 │П52-405 │ПК13253
410851 │П52-406 │С888, ПК2-155, ПП4-125, ПС2-227,
│ │ПВ1671
410855 │П52-410 │С1407-3, ПК2-140, ПП4-110, ПС2-229
410859 │П52-412 │С737, ПК2-11А, НП212-3, ПП4-17,
│ │ПС2-24, ПС2-88, ПК2-11
410860 │- │С1310
410862 │П52-414 │С1107-1, ПК2-99, ПП4-18, ПС2-216
410863 │П52-416 │АПР1, ПС2-25, ПК2-12, НП113-1
410864 │- │ПК18159
410866 │П52-418 │ПК2-100, ПП4-19
410867 │П52-420 │НП10-3, ПП4-68
410868 │П52-422 │ПВ832, ПС2-26, ПК2-13
410869 │П52-423 │ПК0625
410870 │- │ПК16287
410872 │П52-425 │ПК12986
410873 │П52-424 │ПК2-228
410874 │П52-426 │ПВ431-2, ПС2-27, ПВ543, ПК2-14
410875 │П52-428 │ПК2-39, ПС2-82, НП221-3
410877 │П52-431 │С814-4, ПК12286
410878 │П52-432, П52-434 │ПР101-43, ПС2-28, НП212-6, ПР101-43А
410880 │- │НП1485
410881 │П52-436 │ПК2-329
410882 │- │ПК15282
410883 │П52-438 │НП241-1, ПС2-218
410886 │П52-444 │ПК2-167, ПС2-131
410887 │П52-446 │ПК1-60
410888 │П52-448 │С16, ПК2-168
410890 │- │ПК1-58
410892 │П52-452 │ПВ1334, ПП5-115, ПК2-149
410893 │- │ПК12711
410894 │П52-454 │НП503-2, ПП4-177
410895 │П52-455 │ПК12437
410896 │П52-456 │С173-12, ПК2273
410899 │- │ПК12713
410900 │П52-458 │С636
410901 │- │ПК17781
410902 │П52-460 │С498
410903 │П52-462 │С1200, ПС2-145
410904 │П52-463 │С814-1, ПК12283
410905 │- │ПК17091
410906 │П52-464 │С964, ПК2-156, ПП4-116, ПС2-230
410907 │П52-466 │ПВ1087, НП346-4, ПК2-157, ПС2-233
410908 │П52-468 │НП386-1, ПК2-170, ПС2-244
410909 │П52-470 │С57-6, ПК2-145
410910 │П52-472 │ПК2-126, ПП4-94
410911 │П52-474 │С991, ПК2-85, ПС2-121
410912 │П52-476 │ПК2-78А, ПК2-78, ПС2-114
410914 │П52-478 │ПК2-121, ПП4-99
410917 │П52-484 │ПР111-16, С400, ПР111-16А
410919 │- │ПК16294
410920 │- │С1505, ПК15973
410921 │П52-485 │ПК12954
410922 │П52-487 │ПК13549
410923 │П52-486 │НП553-1
410925 │- │ПК18305
410926 │П52-490 │ПК2-266
410934 │П52-496 │ПС2-29, ПК2-15
410935 │П52-498 │ПВ500
410936 │П52-500 │ПР111-17
410937 │П52-502 │ПР111-18, С536, ПР111-18А
410938 │П52-504 │ПВ1459, ПК2-102, ПП4-73
410939 │П52-506 │ПК2-234
410940 │П52-508 │ПВ964, ПВ1589, ПП4-105, ПС2-212
410941 │П52-510 │ПС2-156
410942 │- │С1176-5, ПК3135, ПК2781, ПК4496
410943 │- │ПК12587
410944 │П52-512 │С980, ПВ1331, ПК2-107, ПП4-82
410945 │П52-514 │ПР111-8, ПР111-8А
410946 │- │ПК15295
410947 │П52-515 │ПК13082
410948 │П52-516 │ПР101-9, ПР101-9А
410949 │П52-518 │С173-5
410950 │П52-520 │ПР111-19
410951 │П52-522 │ПК1-66
410952 │П52-524 │ПР101-12, ПР101-12А
410953 │П52-527 │ПК11951
410954 │П52-526 │ПК2-258
410955 │- │ПК15293
410956 │П52-528 │ПК1-64
410957 │- │ПК0657
410958 │П52-530 │ПВ1004, ПК2-37, ПС2-76, ПП4-63, ПБ1772
410959 │П52-532 │Н792-Е38, ПК2-91, ПВ313-1, ПС2-133
410960 │- │ПК16398
410961 │П52-534 │ПК2-328
410962 │- │ПК16246
410963 │П52-535 │С954, ПС2-207
410964 │П52-536 │ПК0302-1
410965 │П52-538 │ПР111-36, ПС2-30
410967 │П52-540 │ПК2-278
410968 │П52-542 │ПК1-70
410969 │- │ПК17115
410970 │П52-544 │С173-13, ПК2-208
410971 │П52-546 │С193, С2290
410972 │П52-548 │ПР111-20, ПР111-20А, ПК17591, НП165-1,
│ │ПС2-31
410975 │- │ПК15737-3
410976 │П52-552 │ПК1-62
410977 │П52-554 │С282, ПК8410А, НП1931, ПК2-246
410978 │- │ПК16519
410979 │П52-556 │ПП4-21, ПК2-40
410980 │П52-558 │С471, НП1948, ПВ465
410981 │П52-559 │С1214, ПК12055-4, НП1218-1, ПК15126
410983 │- │ПК15045
410985 │- │С1213
410986 │П52-562 │ПР111-37, ПС2-32
410987 │- │ПК16331
410989 │П52-566 │ПС2-86, НП430-1, ПП4-154, ПК2-58
410990 │П52-568 │ПК2-176, ПП4-150, ПС2-126, С904-2,
│ │ПК2-81, ПС2-117
410993 │- │ПК15288
410994 │- │ПК17121
410995 │П52-574 │ПК12439, ПС2-149
410996 │- │ПК12588
410997 │П52-576 │ПК2-332
410998 │П52-578 │ПК2-225
410999 │П52-579 │ПК12988
411001 │- │ПК17183А
411002 │П52-582 │ПР111-38, ПС2-33, НП291-1, ПК2-47,
│ │ПС2-34
411003 │П52-584 │НП291-1, ПК2-47, ПС2-34
411004 │- │ПК14166
411005 │П52-586 │ПК5-2
411007 │- │ПД61
411008 │- │ПК17572-2
411009 │- │ПК14167
411010 │П52-590 │ПР101-44, ПС2-87, НП212-33
411012 │- │ПК16295-2
411014 │П52-591 │ПК12646
411015 │П52-594 │ПР101-45, ПС2-62, ПР101-45А, НП212-14
411016 │П52-596 │С7-3, ПК2-55, НП221-4, ПС2-83
411017 │П52-598 │С1517, ПВ276, НП1858
411018 │П52-600 │НП1390-1, ПС2-166
411019 │- │ПК17120
411020 │- │ПК16399
411022 │П52-602 │ПК2-216
411023 │П52-604 │ПК2-331
411024 │П52-605 │ПК0819
411025 │П52-606 │НП390-1, ПК2-177
411026 │- │ПК17336
411028 │П52-608 │С1196, ПК2-171, ПП4-126, ПС2-245
411029 │П52-610 │ПК2-49, НП155-2, ПС2-67
411030 │П54-12 │НП738-1
411032 │П52-612 │С245, С70, ПК2-178, ПС2-123
411033 │- │ПК14858
411037 │П74-19 │ПК13473
411038 │- │С1176-3, ПК3123
411039 │- │С1289
411040 │- │С1176-4
411042 │П52-620 │ПС2-59, НП212-21, ПК2-164, ПП4-44
411044 │П52-622 │ПР101-46, ПР101-46А
411045 │П52-624 │ПР101-47, ПС2-64, НП212-38
411046 │П52-626 │НП155-1, ПС2-75
411047 │П52-627 │С1051, ПК12055-3, ПК14211
411048 │- │ПК14484
411049 │П54-14 │ПК11549
411050 │- │С1689, ПК16994
411051 │П52-628 │ПК2-158, ПП4-117
411053 │- │ПК12580
411054 │П52-630 │С919, ПК15-2, ПК15-2-1
411056 │- │ПК16983
411057 │П52-632 │С845, ПК2-51, НП226-1, ПС2-78
411058 │П52-634 │ПВ764, ПВ917, ПК2-131, ПП4-106
411059 │- │ПК14173
411060 │П52-636 │ПК2-256
411061 │П52-638 │ПК2-106, ПП4-77, ПС2-228
411062 │П52-640 │ПК2-103, ПП4-74
411063 │П52-642 │ПК2-241, ПП4-160
411064 │П52-643 │ПК2-364
411065 │П52-644 │ПВ799-1, ПК2-338, С2167-1
411066 │П52-646 │ПВ799-4, ПК2-339, НП711-1, С2167-4
411067 │- │ПК13693
411068 │П52-648 │ПВ898, ПС2-35, ПК2-16, НП76-1
411069 │П52-650 │Н792-Е34, ПК2-92, ПС2-180, ПВ313-2
411071 │- │ПК16291
411072 │П52-654 │ПС2-165
411073 │П52-656 │ПК2-159, ПК2-159А, ПП4-118, ПК0957
411074 │П52-658 │ПВ868, ПК2-41, ПС2-91, С2150
411075 │П52-660 │ПК1-57, ПК2-160, ПП4-127
411076 │П52-662 │ПК2-275
411078 │П52-666 │С943, ПК2-165, ПП4-128
411079 │П52-668 │ПК2-59, ПС2-89, НП428-1
411080 │П52-670 │ПК2-83, ПС2-119
411081 │- │ПК14175
411082 │П52-672 │ПК2-174, ПП4-91, ПС2-214
411083 │П52-674 │С761, ПК2-61А, ПК2-61, ПС2-92
411084 │П52-676 │ПК205-2, ПС2-182
411085 │- │ПК13784
411086 │П52-678 │ПС2-65, С770, ПК2-29
411087 │П52-680 │ПК2-281
411088 │П52-682 │ПК179-3
411089 │- │ПК12715
411090 │П62-684 │ПП4-151, ПС2-142
411091 │- │ПК12718
411092 │П52-686 │ПК0901116
411093 │П52-688 │ПС2-152, НП1458-1
411095 │- │ПК14881
411097 │П52-692 │С57-8, ПК2-132, ПС2-225
411098 │- │ПК16769
411099 │- │ПК16207
411100 │П52-694 │ПС2-193
411101 │- │ПК17612
411102 │- │ПК18013, ПК2612
411103 │- │ПК17114
411104 │П52-695 │ПК12089
411106 │П52-696 │ПС2-163
411107 │П52-698 │ПС2-60, НП212-19, ПП4-38, ПК2-133
411108 │П52-700 │ПР101-48
411109 │П52-702 │ПК2-141, ПП4-111, ПС2-192
411110 │П52-704 │ПВ1289, ПС2-61, НП212-17, ПП4-39,
│ │ПК2-28
411111 │П52-706 │ПК2-299
411112 │- │ПК13821
411113 │П52-708 │НП233-1
411114 │П52-710 │ПК0303-2
411115 │П52-712 │ПВ1545, ПС2-36, ПК2-17, ПП4-142, АПР8
411116 │- │С1694-1, ПК17000-1
411117 │П52-714 │ПС2-137, НП1626
411118 │П52-715 │С1176-1, ПК12055-5
411119 │П52-716 │С846, ПК2-183, ПС2-132
411120 │П52-718 │С173-15, ПК4072
411121 │П62-720 │ПК2-184, ПС2-125
411122 │П52-722 │ПС2-54, ПК2-26, НП78-1
411123 │- │С1694-2, ПК17000-2
411124 │П52-724 │С57-7
411126 │П52-728 │ПР111-9
411127 │П52-730 │ПР101-10, ПР101-10А
411129 │П52-734 │С57-10, ПП4-173
411130 │- │ПК14606
411131 │- │ПК12719
411132 │П52-736 │С97, ПК2-185, ПС2-235
411133 │П52-737 │ПК16514, ПК12187
411134 │П52-738 │С52, С405, ПК2-175А, ПК2-175, ПС2-186
411135 │- │ПК16676
411137 │- │ПК14746, ПК13684
411138 │П52-740 │С1562, ПК2-353
411139 │П52-742 │ПК0734, ПК203
411140 │- │ПК18304
411141 │П52-743 │ПК12088
411142 │- │ПК16295-1
411145 │П52-744 │С57-3, ПВ711, ПК2-112, ПП4-89, ПС2-194
411146 │П58-6 │ПВ229-1, НП706-1
411147 │- │ПК17366-2
411148 │- │ПК17554
411150 │- │ПК17366-1
411151 │П52-746 │ПС2-157, НП1430-1
411153 │- │С1135-1, ПК14428-1
411154 │П52-748 │ПК2-271
411155 │П52-750 │ПВ907, ПВ814, ПС2-37, ПК2-18, НП77-1
411156 │- │ПК13757
411158 │П52-753 │ПК2-367
411159 │П52-752 │ПК2-172, ПП4-129
411160 │- │ПК17250
411161 │П52-755 │ПК12407
411162 │П52-754 │С765, ПВ771, ПК2-186, ПС2-128
411163 │- │ПК13773
411165 │П52-758 │ПВ1339, ПС2-188, ПК19760, НП1729
411166 │П52-760 │С1487, ПК2-43, ПС2-94, ПК2-43А
411167 │П52-762 │С484, ПК2-180, ПП4-130, ПС2-223,
│ │С1720
411168 │П52-763 │ПК12091
411169 │П52-765 │ПК12087
411171 │- │ПК14487
411172 │П52-764 │ПК2-101, ПП4-20, ПС2-232
411173 │- │ПК14486
411176 │П52-766 │НП460-1
411177 │- │ПК17909
411178 │П52-768 │ПК2-122, ПП4-90
411179 │- │ПК14088
411180 │П52-770 │ПК2-323
411183 │П52-774 │С30, ПК2-153, ПС2-217
411186 │- │ПК14165
411187 │- │ПК15284
411188 │- │ПК18002
411189 │П52-778 │ПК2-104, ПП4-75, ПС2-231
411190 │П52-780 │ПР101-17
411191 │- │ПК14151
411192 │- │ПК15020
411193 │П52-782 │ПР101-18, ПР101-18А
411197 │П52-786 │НП981-1, ПП4-172
411198 │П52-788 │ПК2-276
411199 │- │ПК15737-2
411200 │П52-790 │ПВ1160, ПК2-75, ПС2-111
411201 │П52-792 │ПК2-108А, ПП4-83, ПС2-189, ПК2-108
411204 │П52-794 │ПВ387-2, ПР101-19, ПР101-19А, ПС2-39
411205 │П52-796 │ПК2-308
411206 │П52-798 │ПК0197, НП1348-1, ПВ1580, ПК2615
411207 │П52-800 │ПС2-57, ПР101-20, ПС2-40, ПР101-20А,
│ │НП212-27
411208 │П52-802 │ПК1-72А, ПК1-72
411209 │П52-804 │ПС2-73, ПК0622, ПК2-35, ПВ1710
411211 │П52-808 │ПК2-179А, ПК2-179, ПП4-131, ПС2-181
411213 │П52-810 │ПС2-160
411216 │- │ПК14485
411217 │П52-812 │ПВ431-4, ПК2-173, ПП4-132, ПВ1773
411219 │П52-814 │С853, ПК2-182, ПП4-133, ПС2-220
411222 │П52-816 │ПК2-161, ПП4-110
411224 │П52-819 │ПК12571
411225 │- │С1424, С1631
411226 │П52-820 │ПК2-237
411228 │П58-8, П52-822 │ПВ229-2, НП706-2, ПВ892
411231 │- │ПК17508
411232 │П52-824 │ПС2-179, НП1342-1
411233 │П52-826 │С1573, С173-7, НП1728, ПК4073
411234 │- │ПК15517
411235 │П52-828 │НП346-2, ПК2-151
411237 │- │ПК13820-2
411238 │П52-830 │ПК2-298
411239 │П52-832 │НП711-2
411240 │П52-834 │С168, С2292
411242 │- │ПК18183
411244 │П52-836 │ПК2-354
411247 │П52-838 │ПК2-134А, ПК2-134, ПП4-134
411249 │П52-840 │ПК9442
411250 │- │ПК15286
411252 │- │ПК17188А
411253 │П52-842 │С952, НП226-2, ПК2-52, ПС2-79
411254 │- │ПК18295
411256 │П52-845 │ПК13339
411257 │П52-844 │ПК2-309
411259 │- │ПК15344
411260 │- │ПК16245
411261 │П52-847 │ПК12099
411262 │- │ПК12712
411263 │П52-849 │ПК12111
411264 │П52-851 │ПК2-372
411265 │П52-846, П52-853 │С586, ПК2-334, ПС2-241, С2293
411266 │П52-848 │ПК179-1
411267 │- │ПС885-553
411268 │П52-850 │ПК2-352
411269 │- │ПК12731
411273 │- │ПК17572-1
411276 │- │ПК13820
411277 │- │ПК14786
411278 │П52-852 │НП1249-1, ПС2-159
411279 │П52-854 │ПК2-162, ПП4-120
411280 │- │ПК17872
411281 │П58-10 │ПВ229-3, НП706-3
411283 │- │ПК16883
411284 │- │ПК16297
411285 │П52-858 │НП660-3
411286 │П52-860 │ПС2-41, ПП4-49, НП1849
411287 │П52-862 │ПР111-39, ПР111-39А, ПК2-113
411288 │- │ПК16290
411290 │П52-866 │ПК2-163, ПП4-121
411292 │П52-868 │ПР101-49, ПВ473-5, ПС2-42, НП212-36
411295 │П52-872 │ПВ799-2, ПК2-340, С2167-2
411296 │П52-873 │ПВ799-3, С2167-3
411297 │П52-874 │ПК0421
411298 │- │ПК16982
411299 │П52-876 │ПК41, ПС540
411300 │П62-878 │ПД36, ПП4-86, ПК2-109В, ПК2-109
411303 │П52-882 │ПК2-109А, ПК2-109, ПС2-187, ПК2-109В
411305 │П52-885 │ПК13522
411306 │П52-886 │С635
411308 │П52-887 │ПК13078
411310 │- │ПК17099
411314 │П52-894 │ПС2-169
411315 │П52-896 │ПК2-193, ПС2-184, С0228-1
411316 │- │С1135-2, ПК14428-2
411317 │П52-898 │ПК2-280
411318 │П52-900 │ПК2-326
411319 │П52-902 │ПК2-260
411320 │П52-904 │ПК2-316
411321 │П52-905 │ПК0811
411322 │- │ПК16767
411324 │- │ПК18179
411325 │- │ПК15556
411326 │П52-907 │ПК0990
411327 │П52-12 │ПВ229-4, НП706-4
411328 │П52-906 │С1190, НП1054-1, ПП4-148, ПК19803,
│ │ПК19423
411329 │- │ПК11070
411331 │П52-908 │ПВ788, ПК2-152, ПС2-202, С57-9
411332 │П52-910 │ПК2-192
411333 │П52-912 │ПС2-68, ПВ693, ПК2-30, ПП4-7
411334 │П52-914 │ПК0423
411335 │- │ПК0692
411336 │П52-916 │ПВ1452, ПК2-341
411337 │П52-918 │ПК2-342
411338 │- │ПК18145
411339 │П52-920 │ПВ257
411340 │П52-922 │ПК2-320
411341 │П52-924 │ПК2-312, ПС2-178
411344 │- │ПК11871
411346 │- │ПК16812
411348 │- │ПК13801
411349 │П52-929 │С880
411350 │П52-928 │С762, ПС2-144, С2121
411353 │П52-931 │НП811-1
411354 │П54-16 │С183
411356 │П52-930 │ПК2-66, ПС2-103
411357 │П52-932 │С942, С944, ПК2-142, ПП4-112, ПС2-234
411358 │П52-934 │С57-2, ПК2-111, ПП4-88, ПС2-224,
│ │ПВ1689
411359 │П52-935 │ПК12020-1
411360 │- │ПК01068
411361 │П52-936 │ПК1-76, ПП4-161
411362 │П58-14 │ПВ229-5, НП706-5
411363 │П52-939 │ПК12182
411365 │- │ПК14856
411367 │П52-938 │ПР111-40, ПС2-43
411368 │П52-940 │С173-9
411370 │П52-943 │С931
411371 │П52-942 │ПС2-110, ПК2-74
411373 │П52-945 │ПК13051
411374 │- │ПК15754
411375 │П52-946 │ПС2-100, ПВ584, ПК2-63, ПП4-92
411376 │П52-948 │ПП4-156, НП1915
411377 │П52-950 │ПК2-343
411378 │П52-951 │С764, ПК12035
411379 │П52-952 │ПВ1581, ПК2-304
411380 │П52-954 │ПК0521
411381 │П52-956 │С704, ПК2-82, ПС2-118
411383 │П52-958 │ПВ1135, ПП4-153, ПС2-148, ПВ1775
411385 │П52-960, П52-962 │С6, ПК2-48, НП170-1, ПС2-46
411386 │П58-16, П52-964 │ПВ229-6, НП706-6, НП515-1
411388 │- │ПК15103-1
411389 │П52-966 │ПК1-74, ПП4-166, ПВ2001
411391 │П52-968 │ПК0080-2, НП389-1
411392 │- │ПВ387-5, С2124-3
411394 │П52-972 │С53, ПК2-188
411395 │П52-974 │ПС2-51, ПК2-25, ПК2-25А, ПП4-52
411396 │П52-976 │ПВ466
411397 │П52-978 │ПС2-106, ПК2-70
411398 │П52-980 │ПК43-13, ПК2-272
411399 │П62-982 │ПК2-321
411401 │П52-984 │ПК0080-3
411404 │П52-985 │ПК2-325
411406 │П58-18 │ПВ229-7, НП706-7
411407 │П52-986 │ПК2-166, НП346-3
411408 │П52-988 │С945, ПС2-49, ПК2-23, ПП4-56
411409 │П52-990 │ПК2-344
411410 │П52-992 │ПК2-345
411411 │П52-994 │ПК2-305
411412 │П52-996 │С634
411415 │- │НП1191-1
411416 │П52-998 │С929, ПК2-236, ПС2-175
411417 │П52-1000 │ПК2-71, ПП4-143, ПС2-107
411418 │П52-1002 │ПП4-162, ПК2-252
411419 │П52-1004 │ПП4-163, ПК2-253
411420 │П52-1006 │ПК1-75, ПП4-175, НП1334-1
411422 │П52-1008 │ПВ576-1
411425 │П52-1010 │С904-1, ПК2-19А, ПК2-19, ПС2-44,
│ │ПП4-78, ПВ1738
411426 │П58-20 │ПВ229-8, НП706-8
411427 │П52-1012 │ПВ1379, ПС2-177
411429 │П52-1016 │С323, ПП4-144, ПС2-108, П2-72
411435 │- │ПД38
411436 │П58-22 │НП706-9, ПВ229-9
411437 │П52-1022 │ПК0490
411438 │П52-1024 │НП700-2
411439 │П54-18 │ПС755-2
411441 │П52-1028 │ПП4-168, ПК4300
411442 │П52-1030 │ПК2-187, ПК0624, ПК0495, ПП4-138
411443 │П52-1032 │ПК15, ПС512
411444 │П52-1034 │С633
411446 │П62-1036 │ПК2-189, ПС2-127
411447 │- │С351
411448 │П52-1038 │ПК2-67, ПС2-105
411450 │П52-1040 │ПС2-171
411454 │П52-1044 │ПС2-104, ПК2-69
411455 │П52-1046 │ПК2-73, ПП4-145, ПС2-109
411456 │- │ПК15103-2
411458 │П52-1048 │ПК2-80
411459 │П52-1050 │ПС2-185
411460 │П52-1051 │ПС2-238
411462 │П52-1053 │ПК11781
411830 │- │ПК19524-2
411831 │- │БК319
411832 │- │ПК18875
411833 │- │ПК8421
411834 │- │ПК4617
411835 │- │ПК8173
411836 │- │ПК18845
411837 │- │ПК17725, С1829
411838 │- │НП1971
411839 │- │ПК14785
411840 │- │ПК4589
411841 │- │ПК19723
411842 │- │ПК7050, ПВ1906
411843 │- │ПК19888
411844 │- │ПК8271
411845 │- │ПК8021
411846 │- │НП1972
411847 │- │НП1982
411848 │- │ПК4595-4
411849 │- │ПК18693
411850 │- │ПК2235
411851 │- │ПК20025
411852 │- │ПК20030
411853 │- │ПК8026
411855 │- │ПК2644
411856 │- │ПК19346, С2096
411857 │- │НП1516
411858 │- │ПК2625
411859 │- │ПК2838
411860 │- │ПК8285
411861 │- │ПК19161
411862 │- │ПК8075
411863 │- │ПК17356-2, С1738-2
411864 │- │ПК8716
411865 │- │ПК19824
411866 │- │ПК19850, С2135
411867 │- │ПК17356-3, С1738-3
411868 │- │ПК8025
411869 │- │ПК4630
411870 │- │НП1730
411872 │- │ПК17715
411873 │- │ПК19166
411874 │- │ПК17713
411875 │- │ПК4595-1
411876 │- │ПК18415
411877 │- │ПК20009
411878 │- │ПК2626
411879 │- │ПК4595-2
411880 │- │ПК4705
411881 │- │ПК4595-3
411882 │- │ПК2192
411883 │- │ПК7052, С2214
411884 │- │ПК8599
411885 │- │ПК19329, С2082
411886 │- │НП1970
411887 │- │ПК19720
411888 │- │ПК17111
411889 │- │ПК8013
411890 │- │ПК3151
411891 │- │ПК17759
411892 │- │ПК19826, С2129
411893 │- │ПК8435
411894 │- │ПК8316
411895 │- │ПК19040
411896 │- │ПК4650
411897 │- │ПК19111
411898 │- │ПК2324
411899 │- │БК175
411900 │- │ПК19419
411902 │- │ПК19442
411903 │- │ПК4245
411904 │- │ПК18661
411905 │- │ПК16516
411906 │- │ПК19510
411907 │- │НП1973
411908 │- │ПК16296
411909 │- │БК105
411910 │- │ПК17726, С1830
411911 │- │ПК19511
411912 │- │ПК18456
411913 │- │ПК2082
411914 │- │БК229
411915 │- │ПК18669
411916 │- │БК187
411917 │- │ПК18738
411918 │- │ПК19217
411919 │- │ПК8320
411920 │- │ПК19202
411921 │- │ПК2645
411922 │- │ПК01231
411923 │- │НП1737
411924 │- │ПК2403
411925 │- │ПК17427, С1764
411926 │- │ПК17051, С1701, ПС1058Д
411927 │- │ПК2930
411928 │- │ПК19819
411929 │- │ПК2351
411930 │- │ПК19153
411931 │- │ПК4460, ПК7064, С2224
411932 │- │ПК4175
411933 │- │БК176
411934 │- │ПК18663
411935 │- │БК174
411937 │- │ПК2390
411938 │- │ПК18578
411939 │- │ПК2624
411940 │- │ПК19152
411941 │- │ПК8014
411942 │- │ПК2112
411943 │- │ПК18750
411944 │- │ПК2611
411945 │- │ПК18743
411946 │- │ПК8355
411947 │- │ПК20022
411949 │- │ПК2794
411950 │- │ПК4125
411951 │- │ПК4171
411952 │- │ПК18279
411953 │- │ПК8118
411954 │- │ПК8365
411955 │- │ПК4124
411956 │- │ПК4159
411957 │- │ПК4674
411958 │- │ПК18360
411959 │- │ПК19193
411961 │- │ПК19524-1
411962 │- │ПК2615
411963 │- │ПК2619
411964 │- │ПК2484
411966 │- │ПК3083
411967 │- │ПК8070
411968 │- │ПК2397
411969 │- │ПК8598
411970 │- │ПК8192
411971 │- │ПК18354
411972 │- │ПК2862
411973 │- │ПК19540
411974 │- │ПК8372
411975 │- │ПК19911
411976 │- │ПК19543
411977 │- │ПК18806
411978 │- │ПК19218
411979 │- │ПК19541
411980 │- │ПК2389
411981 │- │ПК2920
411982 │- │ПК19361, ПВ1837
411983 │- │ПК8366
411984 │- │ПК4276
411985 │- │ПК2614
411986 │- │ПК8169
411987 │- │ПК19524
411988 │- │ПК2802
411989 │- │ПК2357
411990 │- │ПК4600
411991 │- │ПК2675
411992 │- │ПК16146
411993 │- │ПК2670
411994 │- │ПК19454
411995 │- │ПК19616
411996 │- │ПК2859
411997 │- │ПК18575
411998 │- │ПК17919
411999 │- │ПК2080
412000 │- │ПК18646, С1969
412001 │- │ПК8188
412002 │- │ПК19270
412003 │- │ПК8108, ПК19375
412004 │- │ПК2577
412005 │- │ПК2923
412006 │- │ПК8189
412007 │- │ПК8194
412008 │- │ПК18530
412010 │- │ПК2255
412011 │- │ПК18332
412012 │- │ПК18248
412014 │- │ПК2511
412015 │- │ПК2317
412016 │- │ПК18499
412017 │- │ПК18251
412018 │- │ПК17760
412023 │- │С1780-1, ПК17549-1
412025 │- │ПС1064Д
412033 │- │С1912-1, ПК18234-1
412034 │- │С1912-2, ПК18234-2
412038 │- │С1780-2, ПК17549-2
412043 │- │С2148, ПК19993
412097 │- │С2250
412098 │- │ПВ1902, ПК7046
412100 │- │ПК8709
412101 │- │ПК19893
412103 │- │ПК4351
412105 │- │ПК4443
412106 │- │ПК4448
412107 │- │ПК4442
412108 │- │ПК4449
412140 │- │ПК8779
412142 │- │СПА2131