Главная // Актуальные документы // ГОСТ (Государственный стандарт)СПРАВКА
Источник публикации
М.: Стандартинформ, 2009
Примечание к документу
Документ
введен в действие с 01.07.2009.
Взамен ГОСТ 27672-88 в части контроля диаметров.
Название документа
"ГОСТ ИСО 3547-2-2006. Межгосударственный стандарт. Подшипники скольжения. Втулки свертные. Часть 2. Данные для контроля наружного и внутреннего диаметров"
(введен в действие Приказом Ростехрегулирования от 25.12.2008 N 730-ст)
"ГОСТ ИСО 3547-2-2006. Межгосударственный стандарт. Подшипники скольжения. Втулки свертные. Часть 2. Данные для контроля наружного и внутреннего диаметров"
(введен в действие Приказом Ростехрегулирования от 25.12.2008 N 730-ст)
по техническому регулированию
и метрологии
от 25 декабря 2008 г. N 730-ст
МЕЖГОСУДАРСТВЕННЫЙ СТАНДАРТ
ПОДШИПНИКИ СКОЛЬЖЕНИЯ
ВТУЛКИ СВЕРТНЫЕ
ЧАСТЬ 2
ДАННЫЕ ДЛЯ КОНТРОЛЯ НАРУЖНОГО И ВНУТРЕННЕГО ДИАМЕТРОВ
Plain bearings. Wrapped bushes. Part 2.
Test data for outside and inside diameters
ISO 3547-2:1999
Plain bearings - Wrapped bushes - Part 2:
Test data for outside and inside diameters
(IDT)
ГОСТ ИСО 3547-2-2006
Дата введения
1 июля 2009 года
Цели, основные принципы и основной порядок проведения работ по межгосударственной стандартизации установлены
ГОСТ 1.0-92 "Межгосударственная система стандартизации. Основные положения" и
ГОСТ 1.2-97 "Межгосударственная система стандартизации. Стандарты межгосударственные, правила и рекомендации по межгосударственной стандартизации. Порядок разработки, принятия, применения, обновления и отмены"
1 ПОДГОТОВЛЕН Всероссийским научно-исследовательским институтом стандартизации и сертификации в машиностроении (ВНИИНМАШ) Федерального агентства по техническому регулированию и метрологии на основе собственного аутентичного перевода стандарта, указанного в
пункте 4
2 ВНЕСЕН Межгосударственным техническим комитетом по стандартизации МТК 344 "Подшипники скольжения"
3 ПРИНЯТ Межгосударственным советом по стандартизации, метрологии и сертификации (Протокол N 29 от 24 июня 2006 г.)
За принятие проголосовали:
Краткое наименование страны по МК (ИСО 3166) 004-97 | Код страны по МК (ИСО 3166) 004-97 | Сокращенное наименование национального органа по стандартизации |
Азербайджан | AZ | Азстандарт |
Армения | AM | Минторгэкономразвития |
Беларусь | BY | Госстандарт Республики Беларусь |
Грузия | GE | Грузстандарт |
Казахстан | KZ | Госстандарт Республики Казахстан |
Киргизия | KG | Кыргызстандарт |
Молдова | MD | Молдова-Стандарт |
Российская Федерация | RU | Федеральное агентство по техническому регулированию и метрологии |
Таджикистан | TJ | Таджикстандарт |
Туркменистан | TM | Главгосслужба "Туркменстандартлары" |
Узбекистан | UZ | Узстандарт |
Украина | UA | Госпотребстандарт Украины |
4 Настоящий стандарт идентичен международному стандарту ИСО 3547-2:1999 "Подшипники скольжения. Втулки свертные. Часть 2. Данные для контроля наружного и внутреннего диаметров" (ISO 3547-2:1999 "Plain bearings - Wrapped bushes - Part 2: Test data for outside and inside diameter").
При применении настоящего стандарта рекомендуется использовать вместо ссылочных международных стандартов соответствующие им национальные стандарты Российской Федерации, сведения о которых приведены в дополнительном
приложении А
5
Приказом Федерального агентства по техническому регулированию и метрологии от 25 декабря 2008 г. N 730-ст межгосударственный стандарт ГОСТ ИСО 3547-2-2006 введен в действие в качестве национального стандарта Российской Федерации с 1 июля 2009 г.
6 ВЗАМЕН ГОСТ 27672-88 в части контроля диаметров
Информация о введении в действие (прекращении действия) настоящего стандарта публикуется в указателе "Национальные стандарты".
Информация об изменениях к настоящему стандарту публикуется в указателе (каталоге) "Национальные стандарты", а текст изменений - в информационных указателях "Национальные стандарты". В случае пересмотра или отмены настоящего стандарта соответствующая информация будет опубликована в информационном указателе "Национальные стандарты"
Свертные втулки в свободном состоянии являются недостаточно устойчивыми, но после запрессовки в отверстие корпуса они соответствуют форме отверстия корпуса вследствие заведомого превышения наружного диаметра втулки по сравнению с диаметром отверстия корпуса. Поэтому наружный и внутренний диаметры свертных втулок контролируют только с помощью специальных калибров и измерительного оборудования. Для обеспечения такого контроля на чертежах свертных втулок следует указывать специальные данные контроля.
Настоящий стандарт устанавливает данные для контроля наружного и внутреннего диаметров свертных втулок, изготовленных из сплошного и многослойного подшипникового материала, а также обозначения типов контроля.
Толщину стенки втулки измеряют в свободном состоянии, поэтому специальных данных контроля на чертежах свертной втулки не указывают (см. ИСО 12307-1 и ИСО 12307-2).
Примечание - В зависимости от способа изготовления в основе втулок допустимы отдельные незначительные углубления. Аналогично втулки со смазочными отверстиями, канавками и углублениями могут иметь деформацию. Поэтому толщину стенки втулки измеряют вне этих зон.
В настоящем стандарте использованы ссылки на следующие международные стандарты:
ИСО 3547-1:1999 Подшипники скольжения. Втулки свертные. Часть 1. Размеры
ИСО 3547-4:1999 Подшипники скольжения. Втулки свертные. Часть 4. Материалы
ИСО 4378-1:1999 Подшипники скольжения. Термины, определения и классификация. Часть 1. Конструкция, подшипниковые материалы и их свойства
ИСО 12301:1992 Подшипники скольжения. Методы контроля геометрических показателей и показателей качества материалов
ИСО 12307-1:1994 Подшипники скольжения. Свертные втулки. Контроль наружного диаметра
ИСО 12307-2:1995 Подшипники скольжения. Свертные втулки. Контроль внутреннего диаметра
В настоящем стандарте применены термины по ИСО 4378-1.
В настоящем стандарте применены следующие обозначения и единицы измерения (см. таблицу 1 и
рисунок 1).
Таблица 1
Обозначения и единицы измерения
Обозначение | Определение | Единица измерения |
Acal | Уменьшенная площадь поперечного сечения втулки (расчетные значения) | мм2 |
B | Номинальная ширина втулки | мм |
C1 | Внутренняя фаска | мм |
C0 | Наружная фаска | мм |
D1 | Номинальный внутренний диаметр втулки | мм |
Di,ch | Внутренний диаметр втулки в кольцевом калибре | мм |
D0 | Номинальный наружный диаметр втулки | мм |
Fch | Контрольная нагрузка | Н |
dch, 1 | Диаметр отверстия контрольного блока | мм |
dch, 2 | Диаметр установочной оправки | мм |
s1 | Толщина слоя стальной основы <*> | мм |
s2 | Толщина слоя подшипникового материала <*> | мм |
s3 | Толщина стенки втулки <*> | мм |
T | Допуск на диаметр D0 | мм |
v | Упругое сжатие D0 при Fch | мм |
z | Расстояние между полувкладышами контрольного блока | мм |
| Показания индикатора | мм |
| Показания кольцевого индикатора при контроле типа D | мм |
<*> Для втулок. Изготовленных из одного материала, принимают s1 = s3 или s2 = s3. |
Примечания
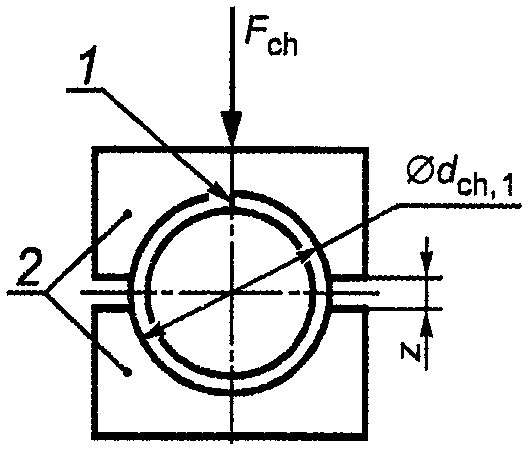
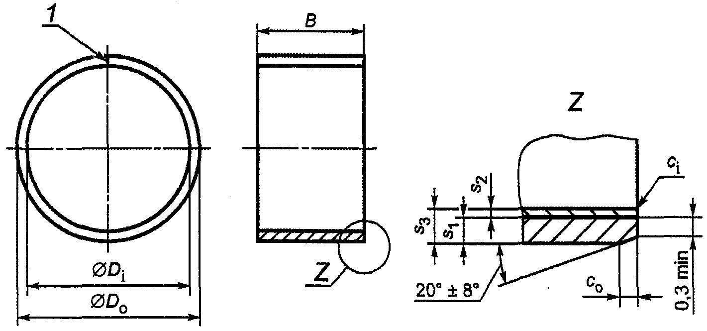
1 Элемент 1 - разъем.
2 Выносной элемент
Z показан для втулки, изготовленной из многослойного материала, где

- толщина стальной основы;

- толщина слоя антифрикционного материала как основа для расчета в соответствии с ИСО 3547-2;

- полная толщина стенки;

и

- наружная и внутренняя фаски;

(может быть радиусом или фаской согласно ИСО 13715
[1].
5 Общие данные, указываемые на чертеже
Для свертной втулки следует указывать:
- наружный диаметр

и толщину стенки

или
- наружный диаметр

и внутренний диаметр

.
Не допускается толщину стенки

и внутренний диаметр

указывать одновременно как контролируемые размеры.
6.1 Контроль типа A
Контроль наружного диаметра

проводят на измерительном оборудовании с помощью контрольного блока и установочной оправки в соответствии с
разделом 7.
6.2 Контроль типа B
Контроль наружного диаметра

проводят с помощью двух кольцевых калибров в соответствии с
разделом 8.
6.3 Контроль типа C
Контроль внутреннего диаметра

втулки, установленной в кольцевой калибр, проводят в соответствии с
разделом 9.
6.4 Контроль типа D
Контроль наружного диаметра

проводят с помощью прецизионной мерной ленты в соответствии с
разделом 10.
7.1 Описание
Измерительное оборудование состоит из базовой плиты, на которой установлены два полувкладыша контрольного блока (см. ИСО 12307-1).
После установки втулки в измерительное оборудование в положение с разъемом в верхней части два полувкладыша контрольного блока сжимаются при заданной контрольной нагрузке

. Контрольную нагрузку выбирают таким образом, чтобы обеспечить удовлетворительное прилегание наружной поверхности втулки к внутренней поверхности контрольного блока.
Диаметр установочной оправки отличается от диаметра контрольного блока.
Максимальное различие между диаметрами контрольного блока

и установочной оправки

приведено в таблице 2.
Таблица 2
D0 | dch, 1 - dch, 2, не более |
До 18 включ. | 0,006 |
Св. 18 " 50 " | 0,008 |
" 50 " 80 " | 0,010 |
" 80 " 120 " | 0,012 |
" 120 " 180 " | 0,016 |
Наружный диаметр втулки во время контроля уменьшается в результате упругого сжатия
v (см. таблицу 3), однако остаточного уменьшения

не происходит. Установка показывающего устройства на корректирующий размер достигается с помощью установочной оправки при приложенной контрольной нагрузке

. Это регулирует расстояние
z между двумя полувкладышами контрольного блока.
Таблица 3
Упругое сжатие
v наружного диаметра

при контрольной нагрузке

D0 | v |
До 6 включ. | 0,003 |
Св. 6 " 12 " | 0,006 |
" 12 " 80 " | 0,013 |
" 80 " 180 " | 0,025 |
После установки втулки расстояние
z между двумя полувкладышами контрольного блока изменяется при приложении нагрузки

, и индикатор расстояния регистрирует значение

. Наружный диаметр рассчитывают по формуле

.
7.2 Исходные данные для расчета
7.2.1 Упругое сжатие v наружного диаметра 
Упругое сжатие
v наружного диаметра

составляет разность между значениями

при нулевой нагрузке и приложенной контрольной нагрузке

.
Для обеспечения надлежащего прилегания втулки к поверхности контролируемого корпуса нагрузка

должна быть определенной величины. Контрольную нагрузку устанавливают такой, чтобы она обеспечивала заданное значение упругого сжатия
v наружного диаметра, регламентированное в
таблице 3.
7.2.2 Диаметр контрольного блока
и контрольная нагрузка 
Диаметр контрольного блока рассчитывают исходя из установленного верхнего предела наружного диаметра по уравнению:

.
Значения

и

приведены в таблице 4.
Таблица 4
Формулы для расчета

и

D0 | D0 <= 6 | 6 < D0 <= 12 | 12 < D0 <= 80 | 80 < D0 <= 180 |
dch, 1 | D0, max - 0,003 | D0, max - 0,006 | D0, max - 0,013 | D0, max - 0,025 |
Fch | 1500 x Acal/dch, 1 (округляют до 100 Н) | 3000 x Acal/dch, 1 (округляют до 250 Н) | 6000 x Acal/dch, 1 (округляют до 500 Н) | 12000 x Acal/dch, 1 (округляют до 500 Н) |
Примечание - При расчете Fch значения 1500, 3000, 6000 или 12000 выражают в Н/мм. |
7.2.3 Уменьшенная площадь поперечного сечения 
Используя номинальные размеры
B,

и

, рассчитывают значения

по следующим уравнениям:

- для втулки из стали, сплава сталь/свинец, сплава сталь/олово и материала сталь/пластик;

- для втулок из сплава сталь/медь;

- для втулок из медного сплава;

- для втулок из сплава сталь/алюминий.
Смазочные канавки уменьшают значение

в зависимости от их формы, расположения и способа изготовления. Если отношение площади поверхности канавок к общей поверхности втулок превышает 10%, то это учитывают при расчете

.
Примечание - Для втулок, изготовленных не в соответствии с ИСО 3547-1, для размеров
B,

и

используют среднеарифметическое значение двух предельных размеров, округленное до 0,1 мм.
7.2.4 Пределы показаний 
Верхний предел: 0; нижний предел:

(округленный до 0,005 мм).
7.2.5 Пример указания и расчета данных
Дано:
втулка по ИСО 3547 -

;
наружный диаметр:

;
толщина стенки:

;
толщина слоя стальной основы:

;
ширина втулки: B = (30 +/- 0,5) мм;
материал: сплав сталь/медь S3 (согласно ИСО 3547-4).
Результаты расчета

.

.
Примечание -

.

;

(округлено до 500 Н).
верхний предел

: 0;
нижний предел

:

(округлено до 0,005 мм).
7.2.6 Пример указания данных для контроля (см. рисунок 2)
1 - положение разъема; 2 - контрольный блок
Рисунок 2 - Контроль типа A с помощью контрольного
блока и установочной оправки
Контроль типа A по настоящему стандарту.
Контрольный блок и установочная оправка

.
Контрольная нагрузка |  . |
Пределы  |  и -0,065 мм. |
Наружный диаметр |  . |
8.1 Описание
Контроль проводят с помощью двух кольцевых калибров, проходного GO и непроходного NO GO, диаметры которых выбирают эмпирически по ИСО 3547-1, таблица 6, и согласовывают между изготовителем и заказчиком.
Контролируемая втулка должна входить в проходной кольцевой калибр от усилия руки (максимальное усилие - 250 Н) и не должна входить в непроходной кольцевой калибр (при том же усилии) (см. ИСО 12307-1).
Примечание - В отдельных случаях на точность контроля может влиять отклонение втулки от округлости или стыковое соединение, которое не закрыто, тогда предпочтительным является контроль типа A.
8.2 Пример указания данных
Дано:
втулка по ИСО 3547 -

;
наружный диаметр:

;
материал: сплав сталь/медь S3 (согласно ИСО 3547-4).
8.3 Пример указания данных для контроля
Контроль типа B по настоящему стандарту.
Диаметр проходного калибра GO = 34,095 мм.
Диаметр непроходного калибра NO GO = 34,045 мм.
Примечание - Диаметры калибров GO и NO GO устанавливаются эмпирически.
9.1 Описание
Для контроля внутреннего диаметра

втулку вставляют в кольцевой калибр, номинальный диаметр которого должен соответствовать размеру, указанному в ИСО 3547-1, таблица 5, а другие детали кольцевого калибра - ИСО 12307-2.
Внутренний диаметр

измеряют с помощью трехточечного измерительного прибора (см. ИСО 12301) или контролируют с помощью GO и NO GO калибров-пробок.
Диаметры проходного и непроходного калибров-пробок

должны соответствовать допускам внутреннего диаметра

втулки в кольцевом калибре, указанным в ИСО 3547-1, таблица 4.
Проходной калибр-пробка должен вставляться с минимальным усилием, а непроходной калибр-пробка не должен вставляться от усилия руки (максимальное усилие - 250 Н).
При установке втулки в кольцевой калибр возможно остаточное уменьшение наружного диаметра.
Примечание - Чтобы изготовитель и заказчик могли сравнить результаты контроля, необходимо согласовать, будут ли они получены измерением или с помощью калибров.
9.2 Пример указания данных
Дано:
втулка по ИСО 3547 - 30W 34 x 30-Y1;
материал: сплав медь/олово Y1 (согласно ИСО 3547-4);
отверстие корпуса:

;
внутренний диаметр:

, втулка в кольцевом калибре (см. ИСО 3547-1, таблица 4).
9.3 Пример указания данных для контроля (см. рисунок 3)
1 - втулка, вставленная в кольцевой калибр
диаметром 34,013 мм
Рисунок 3 - Контроль типа C с помощью калибров по ИСО 3547-2
внутренний диаметр кольцевого калибра:

(см. ИСО 3547-1, таблица 5 и ИСО 12307-2, таблица 2);
наружный диаметр проходного калибра-пробки:

;
наружный диаметр непроходного калибра-пробки:

(см. ИСО 3547-1, таблица 4 и ИСО 12307-2, таблица 2).
10.1 Описание
Для контроля наружного диаметра втулок больших размеров следует использовать прецизионную мерную ленту, чтобы измерить окружность. Мерная лента охватывает втулку на 360° по центральной линии ширины с приложенным усилием, достаточным для закрытия разъема втулки (см. рисунок 4).
1 - прецизионная мерная лента; 2 - измерительный прибор;
3 - механизм натяжения; 4 - установочная оправка;
5 - втулка
Мерную ленту калибруют по установочной оправке диаметром, равным номинальному наружному диаметру

втулки. Измерительный прибор крепят на свободном конце мерной ленты и устанавливают размер калибрования.
После измерения втулки показания кольцевого индикатора имеют различия между калиброванным значением установочной оправки и измеренным значением втулки. Исходя из этого, наружный диаметр

втулки вычисляют по формуле

.
10.2 Пример указания данных
Дано:
втулка по ИСО 3547 - 200А 205 x 100-S3;
наружный диаметр:

;
материал: сплав сталь/медь S3 (согласно ИСО 3547-4).
10.3 Пример указания данных для контроля
Контроль типа D по настоящему стандарту.
Детали данного контроля должны быть согласованы между изготовителем и заказчиком.
Контроль мерной лентой проводят калиброванием ленты с помощью установочной оправки с последующим контролем втулки в соответствии с
рисунком 4.
Контроль типа A наружного диаметра

обозначают следующим образом:
Контроль ИСО 3547-A.
(справочное)
СВЕДЕНИЯ О СООТВЕТСТВИИ НАЦИОНАЛЬНЫХ СТАНДАРТОВ
РОССИЙСКОЙ ФЕДЕРАЦИИ ССЫЛОЧНЫМ МЕЖДУНАРОДНЫМ
(РЕГИОНАЛЬНЫМ) СТАНДАРТАМ
Таблица А.1
Обозначение ссылочного международного стандарта | Обозначение и наименование соответствующего национального стандарта |
ИСО 3547-1:1999 | |
ИСО 3547-4:1999 | |
ИСО 4378-1:1997 | ГОСТ ИСО 4378-1-2001 Подшипники скольжения. Термины, определения и классификация. Часть 1. Конструкция, подшипниковые материалы и их свойства (IDT) |
ИСО 12301:1992 | ГОСТ ИСО 12301-95 Подшипники скольжения. Методы контроля геометрических показателей качества материалов (IDT) |
ИСО 12307-1:1994 | ГОСТ ИСО 12307-1-96 Подшипники скольжения. Свертные втулки. Контроль наружного диаметра (IDT) |
ИСО 12307-2:1995 | ГОСТ ИСО 12307-2-99 Подшипники скольжения. Свертные втулки. Контроль внутреннего диаметра (IDT) |
Примечание - В настоящей таблице использованы следующие условные обозначения степени соответствия стандартов: - IDT - идентичные стандарты. |
| ИСО 13715:1994 | Технические чертежи. Края неопределенной формы. Словарь и обозначения на чертежах |
(ISO 13715:1994) | (Technical drawings - Edges of undefined shape - Vocabulary and indication on drawings) |