Список изменяющих документов (в ред. Изменения N 1, утв. в августе 1983 г., Изменения N 2, утв. в июне 1987 г., Изменения N 3, утв. в феврале 1997 г., Изменения N 4, утв. в феврале 2002 г.) |
Наименование государства | Наименование национального органа по стандартизации |
Азербайджанская Республика | Азгосстандарт |
Республика Армения | Армгосстандарт |
Республика Беларусь | Госстандарт Беларуси |
Республика Грузия | Грузстандарт |
Республика Казахстан | Госстандарт Республики Казахстан |
Киргизская Республика | Киргизстандарт |
Республика Молдова | Молдовастандарт |
Российская Федерация | Госстандарт России |
Республика Таджикистан | Таджикгосстандарт |
Туркменистан | Главная государственная инспекция Туркменистана |
Республика Узбекистан | Узгосстандарт |
Украина | Госстандарт Украины |
Наименование государства | Наименование национального органа по стандартизации |
Азербайджанская Республика | Азгосстандарт |
Республика Армения | Армгосстандарт |
Республика Беларусь | Госстандарт Республики Беларусь |
Республика Казахстан | Госстандарт Республики Казахстан |
Кыргызская Республика | Кыргызстандарт |
Республика Молдова | Молдовастандарт |
Российская Федерация | Госстандарт России |
Республика Таджикистан | Таджикстандарт |
Республика Узбекистан | Узгосстандарт |
Украина | Госстандарт Украины |
Обозначение НТД, на который дана ссылка | Номер пункта, приложения |
ГОСТ 8908-81 | |

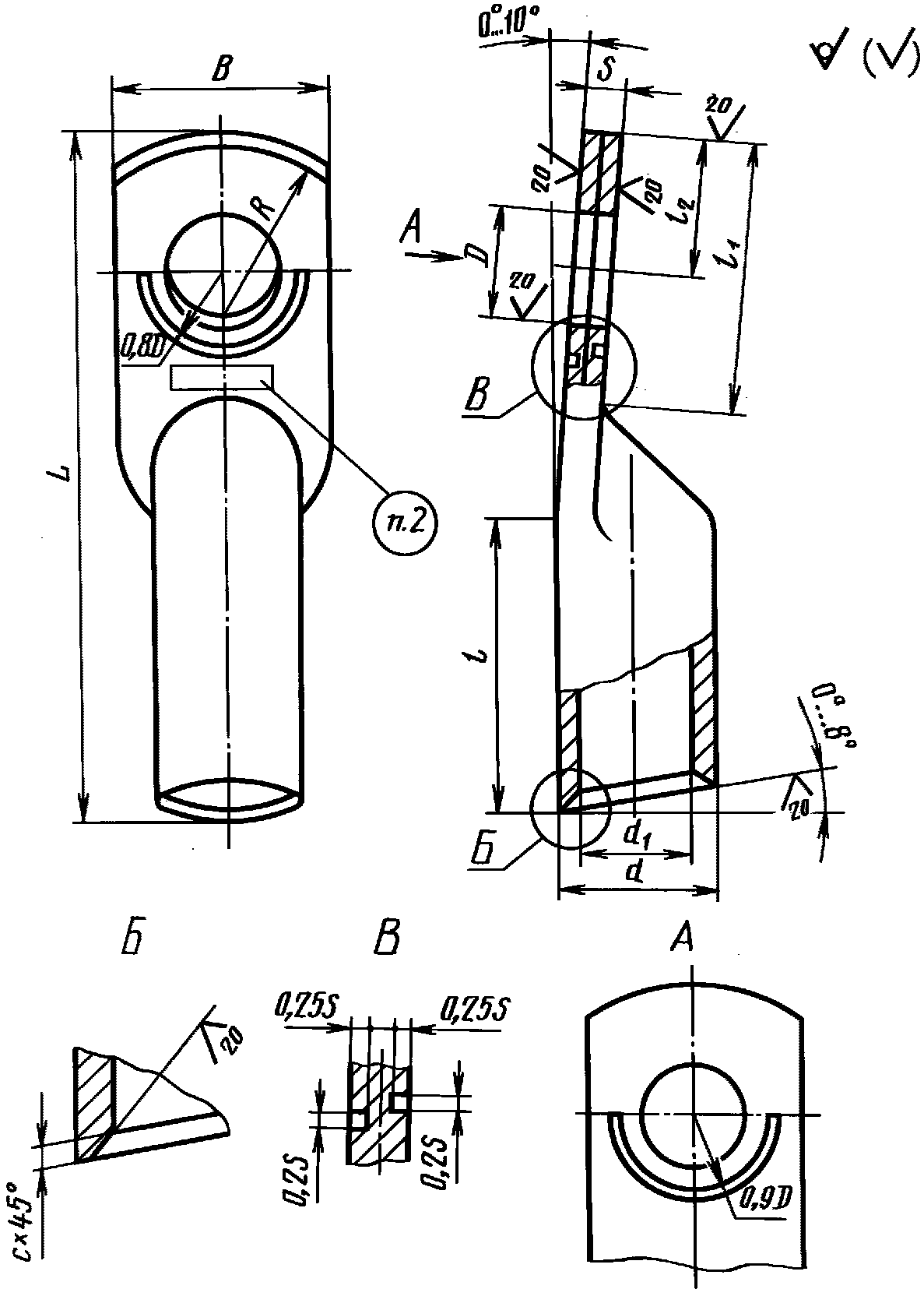
Обозначение | Код ОКП | Диаметр контактного стержня | D | d | d1 | c | L | lmin <***> | l1 | l2 | s <**> | B, не более | Rmax | Расчетная масса 1000 шт., кг, не более | |||
из трубки | из прутка | из трубки | из прутка | из трубки | из прутка | ||||||||||||
16-8-5,4-А-УХЛ3 | 34 4983 0011 | 8 | 8,4 | 10 | 5,4 | 1,2 | 59 +/- 1 | 59 +/- 1 | 30 | 22 | 9 | 3,5 | 3,5 | 16,5 | 13 | 9,2 | 8,3 |
16-8-5,4-А-УХЛ2 | 34 4983 0013 | ||||||||||||||||
16-8-5,4-А-Т2 | 34 4983 0012 | ||||||||||||||||
25-8-7-А-УХЛ3 | 34 4983 0021 | 12 | 7,0 | 1,3 | 62 +/- 1 | 61 +/- 1 | 4,5 | 4,5 | 18,0 | 12,9 | 12,6 | ||||||
25-8-7-А-УХЛ2 | 34 4983 0023 | ||||||||||||||||
25-8-7-А-Т2 | 34 4983 0022 | ||||||||||||||||
35-10-8-А-УХЛ3 | 34 4983 0031 | 10 | 10,5 | 14 | 8,0 | 1,5 | 68 +/- 1 | 66 +/- 1 | 30 | 27 | 12 | 5,0 | 5,0 | 20,0 | 13 | 19,6 | 17,5 |
35-10-8-А-УХЛ2 | 34 4983 0033 | ||||||||||||||||
35-10-8-А-Т2 | 34 4983 0032 | ||||||||||||||||
50-10-9-А-УХЛ3 | 34 4983 0041 | 16 | 9,0 | 1,8 | 75 +/- 1 | 70 +/- 1 | 36 | 5,5 | 6,0 | 23 | 16 | 28,8 | 24,9 | ||||
50-10-9-А-УХЛ2 | 34 4983 0043 | ||||||||||||||||
50-10-9-А-Т2 | 34 4983 0042 | ||||||||||||||||
70-10-11-А-УХЛ3 | 34 4983 0051 | 18 | 11,0 | 86 +/- 2 | 81 +/- 2 | 38 | 32 | 13 | 6,0 | 7,0 | 25,0 | 20 | 38,0 | 35,5 | |||
70-10-11-А-УХЛ2 | 34 4983 0053 | ||||||||||||||||
70-10-11-А-Т2 | 34 4983 0052 | ||||||||||||||||
70-10-12-А-УХЛ3 | 34 4983 0061 | 12,0 | 1,5 | 5,5 | 5,5 | 35,7 | 33,7 | ||||||||||
70-10-12-А-УХЛ2 | 34 4983 0063 | ||||||||||||||||
70-10-12-А-Т2 | 34 4983 0062 | ||||||||||||||||
95-12-13-А-УХЛ3 | 34 4983 0071 | 12 | 13,0 | 20 | 13,0 | 1,8 | 89 +/- 2 | 83 +/- 2 | 40 | 6,5 | 7,5 | 28,0 | 44,5 | 41,8 | |||
95-12-13-А-УХЛ2 | 34 4983 0073 | ||||||||||||||||
95-12-13-А-Т2 | 34 4983 0072 | ||||||||||||||||
120-12-14-А-УХЛ3 | 34 4983 0081 | 22 | 14,0 | 2,0 | 96 +/- 2 | 90 +/- 2 | 48 | 7,0 | 7,0 | 33,0 | 59,9 | 55,5 | |||||
120-12-14-А-УХЛ2 | 34 4983 0083 | ||||||||||||||||
120-12-14-А-Т2 | 34 4983 0082 | ||||||||||||||||
120-16-14-А-УХЛ3 <*> | 34 4983 0091 | 16 | 17,0 | 15 | 58,6 | 54,2 | |||||||||||
120-16-14-А-УХЛ2 <*> | 34 4983 0093 | ||||||||||||||||
120-16-14-А-Т2 <*> | 34 4983 0092 | ||||||||||||||||
150-12-16-А-УХЛ3 <*> | 34 4983 0101 | 12 | 13,0 | 24 | 16,0 | 107 +/- 2 | 100 +/- 2 | 42 | 13 | 8,5 | 34,0 | 24 | 74,0 | 72,5 | |||
150-12-16-А-УХЛ2 | 34 4983 0103 | ||||||||||||||||
150-12-16-А-Т2 | 34 4983 0102 | ||||||||||||||||
150-16-16-А-УХЛ3 <*> | 34 4983 0111 | 16 | 17,0 | 15 | 7,0 | 72,0 | 71,2 | ||||||||||
150-16-16-А-УХЛ2 <*> | 34 4983 0113 | ||||||||||||||||
150-16-16-А-Т2 <*> | 34 4983 0112 | ||||||||||||||||
150-12-17-А-УХЛ3 | 34 4983 0121 | 12 | 13,0 | 17,0 | 1,8 | 13 | 6,5 | 6,5 | 61,3 | 60,4 | |||||||
150-12-17-А-УХЛ2 | 34 4983 0123 | ||||||||||||||||
150-12-17-А-Т2 | 34 4983 0122 | ||||||||||||||||
150-16-17-А-УХЛ3 <*> | 34 4983 0131 | 16 | 17,0 | 15 | 60,0 | 58,6 | |||||||||||
150-16-17-А-УХЛ2 <*> | 34 4983 0133 | ||||||||||||||||
150-16-17-А-Т2 <*> | 34 4983 0132 | ||||||||||||||||
185-16-18-А-УХЛ3 | 34 4983 0141 | 26 | 18,0 | 2,0 | 116 +/- 2 | 108 +/- 2 | 50 | 47 | 7,5 | 7,5 | 36,0 | 27 | 78,9 | 75,1 | |||
185-16-18-А-УХЛ2 | 34 4983 0143 | ||||||||||||||||
185-16-18-А-Т2 | 34 4983 0142 | ||||||||||||||||
185-20-18-А-УХЛ3 <*> | 34 4983 0151 | 20 | 21,0 | 19 | 75,3 | 73,2 | |||||||||||
185-20-18-А-УХЛ2 <*> | 34 4983 0153 | ||||||||||||||||
185-20-18-А-Т2 <*> | 34 4983 0152 | ||||||||||||||||
185-16-19-А-УХЛ3 | 34 4983 0161 | 16 | 17,0 | 26 | 19,0 | 1,8 | 116 +/- 2 | 108 +/- 2 | 50 | 47 | 15 | 7,0 | 7,0 | 36,0 | 27 | 70,0 | 68,3 |
185-16-19-А-УХЛ2 | 34 4983 0163 | ||||||||||||||||
185-16-19-А-Т2 | 34 4983 0162 | ||||||||||||||||
185-20-19-А-УХЛ3 <*> | 34 4983 0171 | 20 | 21,0 | 19 | 68,5 | 64,8 | |||||||||||
185-20-19-А-УХЛ2 <*> | 34 4983 0173 | ||||||||||||||||
185-20-19-А-Т2 <*> | 34 4983 0172 | ||||||||||||||||
240-20-20-А-УХЛ3 | 34 4983 0181 | 28 | 20,0 | 2,0 | 126 +/- 3 | 117 +/- 3 | 53 | 52 | 7,5 | 7,5 | 40,0 | 28 | 86,4 | 80,4 | |||
240-20-20-А-УХЛ2 | 34 4983 0183 | ||||||||||||||||
240-20-20-А-Т2 | 34 4983 0182 | ||||||||||||||||
240-20-22-А-УХЛ3 | 34 4983 0191 | 30 | 22,0 | 2,0 | 132 +/- 3 | 122 +/- 3 | 56 | 53 | 7,5 | 7,5 | 42,5 | 31 | 115,6 | 106,5 | |||
240-20-22-А-УХЛ2 | 34 4983 0193 | ||||||||||||||||
240-20-22-А-Т2 | 34 4983 0192 | ||||||||||||||||
300-20-24-А-УХЛ3 | 34 4983 0201 | 34 | 24,0 | 2,5 | 145 +/- 3 | 131 +/- 3 | 60 | 60 | 9,5 | 9,5 | 48,0 | 41 | 150,0 | 140,0 | |||
300-20-24-А-УХЛ2 | 34 4983 0203 | ||||||||||||||||
300-20-24-А-Т2 | 34 4983 0202 | ||||||||||||||||

Обозначение | Код ОКП | Диаметр контактного стержня | D | d | d1 | c | L | lmin <***> | l1 +/- 1,0 | s <**> | s1 <**> | B | Rmax | Расчетная масса 1000 шт., кг, не более |
16-6-5,4-МА-УХЛ3 | 34 4985 0011 | 6 | 6,4 | 10 | 5,4 | 1,2 | 63 +/- 2 | 30 | 20 | 3,5 | 4,5 | 15,0 | 13 | 23,1 |
16-6-5,4-МА-Т2 | 34 4985 0012 | |||||||||||||
25-8-7-МА-УХЛ3 | 34 4985 0021 | 8 | 8,4 | 12 | 7,0 | 1,3 | 66 +/- 2 | 4,5 | 5,5 | 18,0 | 30,7 | |||
25-8-7-МА-Т2 | 34 4985 0022 | |||||||||||||
35-10-8-МА-УХЛ3 | 34 4985 0031 | 10 | 10,5 | 14 | 8,0 | 1,5 | 71 +/- 2 | 24 | 5,0 | 6,0 | 20,0 | 16 | 45,2 | |
35-10-8-МА-Т2 | 34 4985 0032 | |||||||||||||
50-10-9-МА-УХЛ3 | 34 4985 0041 | 16 | 9,0 | 1,8 | 78 +/- 2 | 36 | 5,5 | 6,5 | 23,0 | 58,6 | ||||
50-10-9-МА-Т2 | 34 4985 0042 | |||||||||||||
70-10-11-МА-УХЛ3 | 34 4985 0051 | 10 | 10,5 | 18 | 11,0 | 1,8 | 90 +/- 3 | 38 | 28 | 6,0 | 7,0 | 25,0 | 20 | 79,6 |
70-10-11-МА-Т2 | 34 4985 0052 | |||||||||||||
70-10-12-МА-УХЛ3 | 34 4985 0061 | 12,0 | 1,5 | 5,5 | 6,5 | 75,9 | ||||||||
70-10-12-МА-Т2 | 34 4985 0062 | |||||||||||||
95-12-13-МА-УХЛ3 | 34 4985 0071 | 12 | 13,0 | 20 | 13,0 | 1,8 | 93 +/- 3 | 40 | 6,5 | 7,5 | 28,0 | 97,8 | ||
95-12-13-МА-Т2 | 34 4985 0072 | |||||||||||||
120-12-14-МА-УХЛ3 | 34 4985 0081 | 22 | 14,0 | 2,0 | 100 +/- 3 | 48 | 7,0 | 8,0 | 31,0 | 126,2 | ||||
120-12-14-МА-Т2 | 34 4985 0082 | |||||||||||||
120-16-14-МА-УХЛ3 <*> | 34 4985 0091 | 16 | 17,0 | 30 | 120,0 | |||||||||
120-16-14-МА-Т2 <*> | 34 4985 0092 | |||||||||||||
150-12-16-МА-УХЛ3 | 34 4985 0101 | 12 | 13,0 | 24 | 16,0 | 107 +/- 3 | 34 | 34,0 | 24 | 153,2 | ||||
150-12-16-МА-Т2 | 34 4985 0102 | |||||||||||||
150-16-16-МА-УХЛ3 <*> | 34 4985 0111 | 16 | 17,0 | 149,0 | ||||||||||
150-16-16-МА-Т2 <*> | 34 4985 0112 | |||||||||||||
150-12-17-МА-УХЛ3 | 34 4985 0121 | 12 | 13,0 | 17,0 | 1,8 | 6,5 | 7,5 | 139,1 | ||||||
150-12-17-МА-Т2 | 34 4985 0122 | |||||||||||||
150-16-17-МА-УХЛ3 <*> | 34 4985 0131 | 16 | 17,0 | 135,0 | ||||||||||
150-16-17-МА-Т2 <*> | 34 4985 0132 | |||||||||||||
185-16-18-МА-УХЛ3 | 34 4985 0141 | 26 | 18,0 | 2,0 | 115 +/- 3 | 50 | 38 | 7,5 | 8,5 | 36,0 | 28 | 152,6 | ||
185-16-18-МА-Т2 | 34 4985 0142 | |||||||||||||
185-20-18-МА-УХЛ3 <*> | 34 4985 0151 | 20 | 21,0 | 148,0 | ||||||||||
185-20-18-МА-Т2 <*> | 34 4985 0152 | |||||||||||||
185-16-19-МА-УХЛ3 | 34 4985 0161 | 16 | 17,0 | 19,0 | 1,8 | 7,0 | 8,0 | 177,6 | ||||||
185-16-19-МА-Т2 | 34 4985 0162 | |||||||||||||
185-20-19-МА-УХЛ3 <*> | 34 4985 0171 | 20 | 21,0 | 172,0 | ||||||||||
185-20-19-МА-Т2 <*> | 34 4985 0172 | |||||||||||||
240-20-20-МА-УХЛ3 | 34 4985 0181 | 28 | 20,0 | 2,0 | 122 +/- 3 | 53 | 40 | 7,5 | 8,5 | 40,0 | 157,5 | |||
240-20-20-МА-Т2 | 34 4985 0182 | |||||||||||||
240-20-22-МА-УХЛ3 | 34 4985 0191 | 30 | 22,0 | 2,0 | 128 +/- 3 | 56 | 7,5 | 8,5 | 42,5 | 31 | 206,9 | |||
240-20-22-МА-Т2 | 34 4985 0192 | |||||||||||||
300-20-24-МА-УХЛ3 | 34 4985 0201 | 34 | 24,0 | 2,5 | 140 +/- 3 | 60 | 9,5 | 10,5 | 48,0 | 41 | 250,0 | |||
300-20-24-МА-Т2 | 34 4985 0202 |
по ГОСТ 8908.
Сечение, мм2/класс жилы по ГОСТ 22483 | L | L1 | R | b | d | d1 | h | |
16-6-5,4 16-8-5,4 | 16/1; 16/2 | 12,5 | 10 | 5,0 | 1,5 | 4,5 | 2,0 | 5,5 |
25-8-7,0 | 16/3; 25/1; 25/2 | |||||||
35-10-8 | 25/3; 35/1 35/2 | 11 | 7,0 | 6,5 | 3,0 | 7,5 | ||
50-10-9 | 35/3; 50/1 | |||||||
70-10-11 | 50/2; 70/1; 70/2 | 17,0 | 16 | 8,0 | 3,0 | 10,0 | 6,5 | 9,5 |
70-10-12 | 50/3; 95/1 | |||||||
95-12-13 | 70/3; 95/2 | |||||||
120-12-14 120-16-14 | 120/1 | 20,0 | 19 | 10,0 | 11,5 | 8,0 | 11,5 | |
150-12-16 150-16-16 | 95/3; 120/2 185/1 | |||||||
150-12-17 150-16-17 | 120/4; 150/1; 150/2 | |||||||
185-16-18 185-20-18 | 185/2 | 24,0 | 22 | 12,5 | 14,5 | 9,0 | 12,5 | |
185-16-19 185-20-19 | 150/3 | |||||||
240-20-20 | 240/1 | 15,0 | 14,0 | |||||
240-20-22 | 240/2 | 4,0 | 17,0 | 10,0 | ||||
300-20-24 | 185/3; 240/3; 300/1; 300/2 | 26,0 | 24 | 16,0 |
