Главная // Актуальные документы // ГОСТ (Государственный стандарт)
СПРАВКА
Источник публикации
М.: ИПК Издательство стандартов, 1998
Примечание к документу
С 1 июля 2003 года до вступления в силу технических регламентов акты федеральных органов исполнительной власти в сфере технического регулирования носят рекомендательный характер и подлежат обязательному исполнению только в части, соответствующей целям, указанным в пункте 1 статьи 46 Федерального закона от 27.12.2002 N 184-ФЗ.

Введен в действие с 1 января 1998 года.

Взамен СТ СЭВ 5173-85.
Название документа
"ГОСТ 30080-93. Станки камнеобрабатывающие шлифовально-полировальные. Типы и основные параметры"
(введен в действие Постановлением Госстандарта РФ от 12.11.1997 N 366)


"ГОСТ 30080-93. Станки камнеобрабатывающие шлифовально-полировальные. Типы и основные параметры"
(введен в действие Постановлением Госстандарта РФ от 12.11.1997 N 366)


Содержание


Введен в действие
Постановлением Госстандарта РФ
от 12 ноября 1997 г. N 366
МЕЖГОСУДАРСТВЕННЫЙ СТАНДАРТ
СТАНКИ
КАМНЕОБРАБАТЫВАЮЩИЕ ШЛИФОВАЛЬНО-ПОЛИРОВАЛЬНЫЕ
ТИПЫ И ОСНОВНЫЕ ПАРАМЕТРЫ
Stone-dressing grinding-polishing machines.
Types and main parameters
ГОСТ 30080-93
Группа Г45
МКС 91.220
ОКП 48 4552
Дата введения
1 января 1998 года
Предисловие
1. Разработан Государственным проектно-конструкторским институтом по машинам для промышленности строительных материалов (Гипростроммашина).
Внесен Госстандартом Украины.
2. Принят Межгосударственным советом по стандартизации, метрологии и сертификации (Протокол N 1 от 15 марта 1993 г.).
За принятие проголосовали:
┌───────────────────────────┬────────────────────────────────────┐
│Наименование государства │Наименование национального органа по│
│ │ стандартизации │
├───────────────────────────┼────────────────────────────────────┤
│Азербайджанская Республика │Азгосстандарт │
│Республика Армения │Армгосстандарт │
│Республика Белоруссия │Госстандарт Белоруссии │
│Республика Казахстан │Госстандарт Республики Казахстан │
│Республика Молдова │Молдовастандарт │
│Российская Федерация │Госстандарт России │
│Республика Таджикистан │Таджикгосстандарт │
│Туркменистан │Главная государственная инспекция │
│ │Туркменистана │
│Республика Узбекистан │Узгосстандарт │
│Украина │Госстандарт Украины │
└───────────────────────────┴────────────────────────────────────┘
3. Постановлением Государственного комитета Российской Федерации по стандартизации, метрологии и сертификации от 12 ноября 1997 г. N 366 межгосударственный стандарт ГОСТ 30080-93 введен в действие непосредственно в качестве государственного стандарта Российской Федерации с 1 января 1998 г.
4. Взамен СТ СЭВ 5173-85.
1. ОБЛАСТЬ ПРИМЕНЕНИЯ
Настоящий стандарт распространяется на камнеобрабатывающие шлифовально-полировальные станки, предназначенные для выполнения шлифовальных и полировальных операций при изготовлении облицовочных плит, архитектурно-строительных и других изделий из природного камня.
Требования настоящего стандарта являются обязательными.
Стандарт пригоден для целей сертификации.
2. ТИПЫ
2.1. Установлены следующие типы камнеобрабатывающих шлифовально-полировальных станков:
1 - плоскошлифовальные портальные;
2 - плоскошлифовальные мостовые;
3 - плоскошлифовальные консольные;
4 - кромкошлифовальные;
5 - торцешлифовальные;
6 - комбинированные;
7 - плоскошлифовальные конвейерные.
2.2. Допускается использовать специальные камнеобрабатывающие шлифовально-полировальные станки для обработки и фасонной поверхности с применением специального инструмента.
3. ОСНОВНЫЕ ПАРАМЕТРЫ
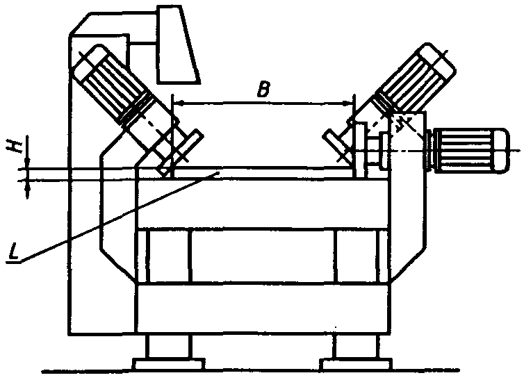
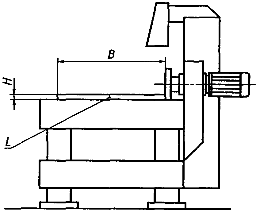
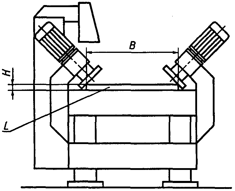
Основные параметры станков должны соответствовать указанным на рисунках 1 - 7 и в таблице 1.
Рисунок 1. Тип 1
Рисунок 2. Тип 2
Рисунок 3. Тип 3
Рисунок 4. Тип 4
Рисунок 5. Тип 5
Рисунок 6. Тип 6
Рисунок 7. Тип 7
Примечание. Рисунки 1 - 7 не определяют конструкцию станков.
Таблица 1
Размеры в миллиметрах
┌──────────────────┬─────────────────────────────────────────────────────────────────────────────────────────────────────────┐
│ Наименование │ Значение параметра для типов станков │
│ параметра ├─────────┬────────┬─────────┬─────────┬─────────┬─────────┬──────────────────────────────────────────────┤
│ │ 1 │ 2 │ 3 │ 4 │ 5 │ 6 │ 7 │
│ │ │ │ │ │ │ ├──────────────────────────────────────────────┤
│ │ │ │ │ │ │ │ при ширине конвейера │
│ │ │ │ │ │ │ ├─────────┬─────────┬────────┬────────┬────────┤
│ │ │ │ │ │ │ │ 200 │ 400 │ 600 │ 1000 │ 2200 │
├──────────────────┼─────────┼────────┼─────────┼─────────┼─────────┼─────────┼─────────┼─────────┼────────┼────────┼────────┤
│ 1. Размеры │ │ │ │ │ │ │ │ │ │ │ │
│обрабатываемых │ │ │ │ │ │ │ │ │ │ │ │
│изделий: │ │ │ │ │ │ │ │ │ │ │ │
│длина L, не более │Не огра- │ 3600 │ 2500 │ 1000 │ 2000 │ 2400 │150 - 500│300 - 600│400 - │ 2200 │ 2200 │
│ │ничена │ │ │ │ │ │ │ │ 1000│ │ │
│ширина В, не более│ 3600 │ 3600 │ 1400 │ 620 │ 1200 │ 1200 │100 - 240│240 - 400│400 - │620 - │1000 - │
│ │ │ │ │ │ │ │ │ │ 620│ 1000│ 2200│
│высота (толщина) H│ 20 - 300│20 - 250│ 20 - 800│ 8 - 120│ 8 - 120│ 10 - 120│ 7 - 20 │ 10 - 80 │ 12 - 80│20 - 100│20 - 120│
│ 2. Диаметр │300 - │300 - │300 - 360│150 - 160│150 - 160│150 - 160│150 - 250│320 - 450│420 - │420 - │420 - │
│шлифовально-поли- │ 1000│ 1000│ │ │ │ │ │ │ 630│ 630 │ 630│
│ровальной головки │ │ │ │ │ │ │ │ │ │ │ │
│ 3. Количество │ 1 - 2 │ 1 - 2 │ 1 │ 4 - 12 │ 1 - 10 │ 6 - 16 │ 2 - 13 │ 3 - 17 │ 3 - 18 │ 3 - 18 │ 3 - 24 │
│шлифовальных или │ │ │ │ │ │ │ │ │ │ │ │
│полировальных │ │ │ │ │ │ │ │ │ │ │ │
│головок, шт. │ │ │ │ │ │ │ │ │ │ │ │
│ 4. Скорость │0,1 - 12 │0,1 - 12│ - │0,1 - 6 │0,1 - 12 │0,1 - 12 │ 0 - 1,5 │ 0,1 - 2 │0,05 - │0,05 - │0,05 - │
│подачи, м/мин │ │ │ │ │ │ │ │ │ 1,5│ 1,5│ 1,5│
│ 5. Окружная │ 10 - 40 │10 - 40 │ 5 - 25 │ 5 - 25 │ 5 - 25 │ 5 - 40 │ 5 - 45 │ 8 - 30 │ 8 - 30 │ 8 - 30 │ 8 - 30 │
│скорость │ │ │ │ │ │ │ │ │ │ │ │
│шлифования, м/с │ │ │ │ │ │ │ │ │ │ │ │
│ 6. Усилие прижима│ 0 - 8 │ 0 - 8 │ 0 - 3 │ 0 - 0,5│ 0 - 2 │ 0 - 4 │ 0 - 4 │ 0 - 8 │ 0 - 8 │ 0 - 8 │ 0 - 8 │
│шлифовального и │ │ │ │ │ │ │ │ │ │ │ │
│полировального │ │ │ │ │ │ │ │ │ │ │ │
│инструмента, кН │ │ │ │ │ │ │ │ │ │ │ │
└──────────────────┴─────────┴────────┴─────────┴─────────┴─────────┴─────────┴─────────┴─────────┴────────┴────────┴────────┘