Главная // Актуальные документы // ГОСТ (Государственный стандарт)СПРАВКА
Источник публикации
ГУП ЦПП, Госстрой России, 2001
Примечание к документу
С 1 июля 2003 года до вступления в силу технических регламентов акты федеральных органов исполнительной власти в сфере технического регулирования носят рекомендательный характер и подлежат обязательному исполнению только в части, соответствующей целям, указанным в
пункте 1 статьи 46 Федерального закона от 27.12.2002 N 184-ФЗ.
Введен в действие с 1 мая 2001 года (
Постановление Госстроя РФ от 05.01.2001 N 1).
Взамен ГОСТ 25945-87.
Название документа
"ГОСТ 25945-98. Материалы и изделия полимерные строительные герметизирующие нетвердеющие. Методы испытаний"
(введен в действие Постановлением Госстроя РФ от 05.01.2001 N 1)
"ГОСТ 25945-98. Материалы и изделия полимерные строительные герметизирующие нетвердеющие. Методы испытаний"
(введен в действие Постановлением Госстроя РФ от 05.01.2001 N 1)
Утвержден и введен в действие
от 5 января 2001 г. N 1
МЕЖГОСУДАРСТВЕННЫЙ СТАНДАРТ
МАТЕРИАЛЫ И ИЗДЕЛИЯ ПОЛИМЕРНЫЕ СТРОИТЕЛЬНЫЕ
ГЕРМЕТИЗИРУЮЩИЕ НЕТВЕРДЕЮЩИЕ
МЕТОДЫ ИСПЫТАНИЙ
Building polymer sealing non-hardening materials
and products. Test methods
ГОСТ 25945-98
1. Разработан Открытым акционерным обществом "Полимерстройматериалы" Российской Федерации.
Внесен Госстроем России.
2. Принят Межгосударственной научно-технической комиссией по стандартизации, техническому нормированию и сертификации в строительстве (МНТКС) 12 ноября 1998 г.
За принятие проголосовали:
┌─────────────────────┬───────────────────────────────────────────────┐
│ Наименование │Наименование органа государственного управления│
│ государства │ строительством │
├─────────────────────┼───────────────────────────────────────────────┤
│Республика Казахстан │Комитет по делам строительства Министерства │
│ │энергетики, индустрии и торговли Республики │
│ │Казахстан │
│Республика Молдова │Министерство окружающей среды и благоустройства│
│ │территорий │
│Российская Федерация │Госстрой России │
│Республика Узбекистан│Госкомархитектстрой Республики Узбекистан │
│Украина │Госстрой Украины │
└─────────────────────┴───────────────────────────────────────────────┘
3. Взамен ГОСТ 25945-87.
4. Утвержден и введен в действие с 1 мая 2001 г. в качестве государственного стандарта Российской Федерации
Постановлением Госстроя России от 5 января 2001 г. N 1.
Настоящий стандарт распространяется на строительные полимерные герметизирующие нетвердеющие материалы и изделия (далее - герметизирующие материалы), предназначенные для герметизации швов наружных и внутренних ограждающих строительных конструкций жилых, общественных и производственных зданий.
В настоящем стандарте использованы ссылки на следующие стандарты:
ГОСТ 111-90. Стекло листовое. Технические условия
ГОСТ 427-75. Линейки измерительные металлические. Технические условия
ГОСТ 577-68. Индикаторы часового типа с ценой деления 0,01 мм. Технические условия
ГОСТ 1440-78. Приборы для определения пенетрации нефтепродуктов. Общие технические условия
ГОСТ 9147-80. Посуда и оборудование лабораторные фарфоровые. Технические условия
ГОСТ 12026-76. Бумага фильтровальная лабораторная. Технические условия
ГОСТ 17622-72. Стекло органическое техническое. Технические условия
ГОСТ 21240-89. Скальпели и ножи медицинские. Общие технические требования и методы испытаний
| | ИС МЕГАНОРМ: примечание. Взамен ГОСТ 24104-88 Постановлением Госстандарта РФ от 26.10.2001 N 439-ст с 1 июля 2002 года введен в действие ГОСТ 24104-2001. | |
ГОСТ 24104-88. Весы лабораторные общего назначения и образцовые. Общие технические условия
ГОСТ 25336-82. Посуда и оборудование лабораторные стеклянные. Типы, основные параметры и размеры
ГОСТ 25706-83. Лупы. Типы, основные параметры. Общие технические требования.
3.1.1. Отбор проб должен производиться в соответствии с нормативным документом на конкретный вид герметизирующего материала.
3.1.2. Отобранные пробы должны быть выдержаны перед испытанием не менее 3 ч при температуре (23 +/- 5) °С.
Подготовку проб к испытанию, изготовление из них образцов и испытания, если нет других указаний, проводят при температуре (23 +/- 5) °С.
3.1.3. Пробу герметизирующего материала перед изготовлением образцов помещают на антиадгезионную бумагу или другие материалы, обладающие антиадгезионными свойствами, и подогревают в сушильном шкафу при температуре (70 +/- 2) °С не менее 1 ч, если в нормативных документах на конкретный вид герметизирующего материала не указаны другие температура и время.
3.1.4. За величину показателя, имеющего числовое значение, принимают среднеарифметическое значение результатов испытания всех образцов.
3.2. Определение предела прочности при растяжении, относительного удлинения при максимальной нагрузке и характера разрушения
3.2.1. Средства испытания и вспомогательные устройства
Машина разрывная с кинематической схемой нагружения, обеспечивающая:
- измерение нагрузки с погрешностью не более 1,0%;
- скорость движения подвижного захвата (10,0 +/- 0,5) мм/мин;
- запись диаграммы "нагрузка-деформация" (рисунок 1) в масштабе 1:1, 5:1, 10:1;
- погрешность записи деформации не более 3% действительной деформации.
Допускается применение разрывной машины с цифровой шкалой.
Захваты стальные (рисунок 2). Допускается изменение конструкции захватов в соответствии с типом разрывной машины.
Рисунок 2
Шкаф электрический сушильный, обеспечивающий поддержание температуры в диапазоне 50 - 100 °С.
Трафарет, изготовленный из прозрачного органического стекла по
ГОСТ 17622,
ГОСТ 9784 или оконного стекла по ГОСТ 111 (рисунок 3). Толщина стекла должна быть 1 - 2 мм. Длина трафарета - (48 + 2) мм, ширина - (28 + 2) мм. Разметку сетки на стекле производят механическим или химическим (травление) способом.
Рисунок 3
Подложки (2 шт.) в виде призмы длиной и шириной (50 + 2) мм и толщиной, обеспечивающей сохранение формы подложек в процессе изготовления и испытания образца. Масса одной подложки не должна превышать 170 г. Материал подложки указывают в нормативных документах на конкретный вид герметизирующего материала.
Секундомер.
| | ИС МЕГАНОРМ: примечание. Взамен ГОСТ 24104-88 Постановлением Госстандарта РФ от 26.10.2001 N 439-ст с 1 июля 2002 года введен в действие ГОСТ 24104-2001. | |
Весы общего назначения 3-го класса по ГОСТ 24104.
Планки деревянные ограничительные размером [(52 х 20 х 10) +/- 2] мм.
Мел по
ГОСТ 12085 или другие виды наполнителей по действующим нормативным документам.
3.2.2. Подготовка к проведению испытания
3.2.2.1. Испытания проводят на трех образцах.
3.2.2.2. Подложки подготавливают в соответствии с нормативными документами на конкретный вид герметизирующего материала.
3.2.2.3. Пробе герметизирующего материала придают форму валика диаметром 30 - 35 мм и длиной не менее 50 мм, помещают на середину подложки и обжимают с двух сторон ограничительными планками. Во избежание прилипания герметизирующего материала к планкам они должны быть со стороны, примыкающей к герметизирующему материалу, смазаны индустриальным маслом и присыпаны наполнителем, применяемым для изготовления герметизирующего материала. Сверху пробу прижимают второй подложкой для придания ей формы прямоугольного параллелепипеда с размером поперечного сечения [(30 х 20) +/-2)] мм и длиной, равной длине подложки. Избыток герметизирующего материала удаляют ножом со сторон, не ограниченных планками.
3.2.2.4. Измеряют ширину и длину образца, расстояние между подложками h и рассчитывают площадь поперечного сечения образца S.
3.2.2.5. Подготовленные образцы должны быть выдержаны перед испытанием на воздухе при температуре (23 +/- 5) °С в течение не менее 3 ч.
3.2.3. Проведение испытания
3.2.3.1. Удаляют ограничительные планки и помещают образцы в захваты разрывной машины. Время от момента удаления планок до начала испытания должно быть не более 30 с.
3.2.3.2. Устанавливают заданную скорость движения подвижного захвата и проводят испытание образцов до их разрушения. При этом производят запись диаграммы "нагрузка-деформация" (
рисунок 1) или снимают данные по цифровой шкале машины.
Разрушением образца считают разрыв герметизирующего материала (когезионное разрушение) или отрыв материала от подложки (адгезионное разрушение).
3.2.3.3. Максимальную нагрузку при растяжении Р и удлинение образца

герметизирующего материала при максимальной нагрузке определяют по диаграмме "нагрузка-деформация" или по цифровой шкале машины.
Масштаб записи диаграммы выбирают так, чтобы форма диаграммы была аналогична приведенной на
рисунке 1.
Масштаб записи должен быть указан в нормативных документах на конкретный вид герметизирующего материала.
3.2.3.4. Для определения характера разрушения образца обе подложки освобождают от захватов, срезают основную массу герметизирующего материала смоченным водой ножом так, чтобы на поверхности подложки оставался слой герметизирующего материала толщиной не более 1,5 мм.
На место отрыва герметизирующего материала от поверхности подложки накладывают трафарет таким образом, чтобы число клеток, под которыми отсутствует герметизирующий материал, было минимальным. Подсчитывают площадь отрыва - число клеток, под которыми отсутствует герметизирующий материал.
3.2.4. Обработка результатов испытания
3.2.4.1. Предел прочности при растяжении

, МПа, определяют по формуле

, (1)
где Р - максимальная нагрузка при растяжении, Н;
S - площадь поперечного сечения образца, м2.
Результат округляют до 0,01 МПа.
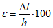
3.2.4.2. Относительное удлинение при максимальной нагрузке

, %, определяют по формуле

, (2)
где h - расстояние между подложками до испытания, мм;

- удлинение образца при максимальной нагрузке, мм.
Результат округляют до 1%.
3.2.4.3. Характер разрушения считают когезионным, если только на одном из трех испытанных образцов число клеток, под которыми хотя бы частично отсутствует герметизирующий материал, менее или равно 10. Во всех остальных случаях характер разрушения считают адгезионным.
3.3. Определение относительного удлинения при минимальной температуре эксплуатации
3.3.1. Средства испытания и вспомогательные устройства
Средства испытания и вспомогательные устройства - по
3.2.1 со следующими дополнениями:
машина разрывная, снабженная криокамерой;
скорость движения подвижного захвата разрывной машины - (1,0 +/- 0,5) мм/мин.
Криокамера должна обеспечивать поддержание заданной температуры с погрешностью 1 °С.
3.3.2. Подготовка к проведению испытания
3.3.2.1. Подготовка к проведению испытаний - по
3.2.2. Подготовленные образцы должны быть выдержаны в криокамере разрывной машины не менее 1 ч при температуре, указанной в нормативном документе на конкретный вид герметизирующего материала.
3.3.3. Проведение испытания
3.3.3.1. Удаляют ограничительные планки, помещают образцы в захваты разрывной машины и выдерживают в них не менее 15 мин, после чего проводят испытание образцов по
3.2.3.2,
3.2.3.3.
3.3.4. Обработка результатов испытания
3.3.4.1. Относительное удлинение при минимальной температуре эксплуатации

, %, вычисляют по
формуле (2).
3.4. Определение стойкости к циклическим деформациям
3.4.1. Средства испытания и вспомогательные устройства
Машина усталостная малоцикловая, снабженная индикатором часового типа по
ГОСТ 577 для установления амплитуды деформации, счетчиком числа циклов и нагружающим устройством, схема которого приведена на рисунке 4.
1 - подвижная траверса; 2 - индикатор; 3 - захваты;
4 - установочные винты
Рисунок 4
Машина должна обеспечивать:
- закрепление образцов в захватах, один из которых в процессе испытания неподвижен, а другой совершает возвратно-поступательное движение со скоростью (5,0 +/- 0,5) мм/мин;
- амплитуду деформации (2,00 +/- 0,02) мм;
- время выдержки образцов в крайних положениях от 1 до 990 с.
Захват стальной (рисунок 5).
1 - рабочая поверхность захвата; 2 - прижимной винт
Рисунок 5
Мел по
ГОСТ 12085 или другие виды наполнителей по действующим нормативным документам.
3.4.2. Подготовка к проведению испытания
3.4.2.1. Испытание проводят на трех образцах.
3.4.2.2. Подложку подготавливают в соответствии с нормативным документом на конкретный вид герметизирующего материала.
3.4.2.3. Подготовка образцов к испытанию - по
3.2.2.3.
Подготовленные образцы выдерживают перед испытанием на воздухе при температуре (23 +/- 5) °С не менее 3 ч.
3.4.2.4. Устанавливают время выдержки подвижной траверсы в крайнем верхнем, а затем крайнем нижнем положениях (600 +/- 5) с.
3.4.2.5. Устанавливают амплитуду деформации образцов (2,00 +/- 0,02) мм, для этого:
- включают машину и устанавливают подвижную траверсу таким образом, чтобы расстояние между рабочими поверхностями захватов, измеряемое штангенциркулем, составляло (20 +/- 1) мм и фиксируют это положение установочным винтом;
- устанавливают стрелку индикатора на 5,00 мм;
- перемещают подвижную траверсу на (2,00 +/- 0,02) мм вниз и фиксируют это положение установочным винтом;
- возвращают траверсу в исходное положение и выключают машину.
3.4.2.6. Удаляют ограничительные планки из образцов, устанавливают образцы в захваты нагружающего устройства, фиксируют их в этом положении прижимными винтами и выдерживают в течение (600 +/- 5) с.
3.4.3. Проведение испытания и обработка результатов испытания
3.4.3.1. Включают машину, проводят 100 циклов растяжения-сжатия образцов на (2,00 +/- 0,02) мм и, не освобождая образцы от захватов, замеряют величину наплыва герметизирующего материала в миллиметрах на боковую поверхность нижней подложки, при этом нулевую отметку линейки совмещают с верхней гранью нижней подложки.
3.4.3.2. Подвижную траверсу перемещают в исходное (верхнее) положение, выдерживают (600 +/- 5) с, после чего образцы освобождают от захватов машины и определяют по
3.2.3.4 площадь отрыва герметизирующего материала от подложки.
Для каждого образца определяют площадь отрыва отдельно на каждой подложке.
3.4.3.3. Определяют характер разрушения образцов по
3.2.4.3.
3.4.4. Обработка результатов испытания
За результат испытания принимают площадь отрыва герметизирующего материала от подложки и величину наплыва материала на подложку.
3.5. Определение водопоглощения
3.5.1. Средства испытания и вспомогательные устройства
| | ИС МЕГАНОРМ: примечание. Взамен ГОСТ 24104-88 Постановлением Госстандарта РФ от 26.10.2001 N 439-ст с 1 июля 2002 года введен в действие ГОСТ 24104-2001. | |
Весы общего назначения 3-го класса с погрешностью не более 0,001 г по ГОСТ 24104.
Шкаф электрический сушильный, обеспечивающий поддержание температуры в диапазоне 50 - 100 °С.
Секундомер.
Емкость вместимостью не менее 1 л.
Ткань хлопчатобумажная или фланель.
Вода питьевая по действующим нормативным документам или дистиллированная по
ГОСТ 6709.
3.5.2. Подготовка к проведению испытания
3.5.2.1. Испытания проводят на трех образцах.
3.5.2.2. Подложку очищают от пыли и загрязнений, обезжиривают тканью, смоченной бензином, высушивают на воздухе при температуре (23 +/- 5) °С в течение 5 - 10 мин, затем вытирают тканью, смоченной ацетоном, вновь высушивают на воздухе в течение 5 - 10 мин и взвешивают (

).
3.5.2.3. Герметизирующий материал массой (10,0 +/- 0,2) г распределяют по всей поверхности подложки (рисунок 6).
1 - герметизирующий материал; 2 - подложка
Рисунок 6
3.5.2.4. Перевернув образец подложкой вверх, проверяют сплошность контакта герметизирующего материала с подложкой. Не допускается наличие пузырьков воздуха между герметизирующим материалом и подложкой.
3.5.2.5. Подготовленные образцы перед испытанием выдерживают на воздухе при температуре (23 +/- 5) °С в течение не менее 3 ч.
3.5.3. Проведение испытания
3.5.3.1. Подготовленные образцы взвешивают (

) и помещают в воду таким образом, чтобы слой воды над ними был не менее 50 мм, а образцы не соприкасались друг с другом и стенками емкости. Образцы выдерживают в воде не менее 24 ч, затем извлекают из воды, осушают фильтровальной бумагой и вновь взвешивают (

). Время с момента извлечения образцов из воды до взвешивания не должно превышать 60 с.
3.5.4. Обработка результатов испытания
Водопоглощение W, % по массе, вычисляют по формуле

, (3)
где

- масса подложки, г;

- масса герметизирующего материала с подложкой до испытания, г;

- масса герметизирующего материала с подложкой после испытания, г.
Результат округляют до 0,01%.
3.6. Определение липкости
Сущность метода заключается в измерении усилия сцепления герметизирующего материала с поверхностью.
3.6.1. Средства испытания и вспомогательные устройства
Машина разрывная с кинематической схемой нагружения, обеспечивающая:
- измерение усилия с погрешностью не более 1,0%;
- скорость движения подвижной траверсы от 10 до 1000 мм/мин;
- запись диаграммы "усилие-время". Масштаб записи выбирают таким образом, чтобы диаграмма была аналогична приведенной на рисунке 9.
Пресс, обеспечивающий усилие до 2000 Н (200 кгс).
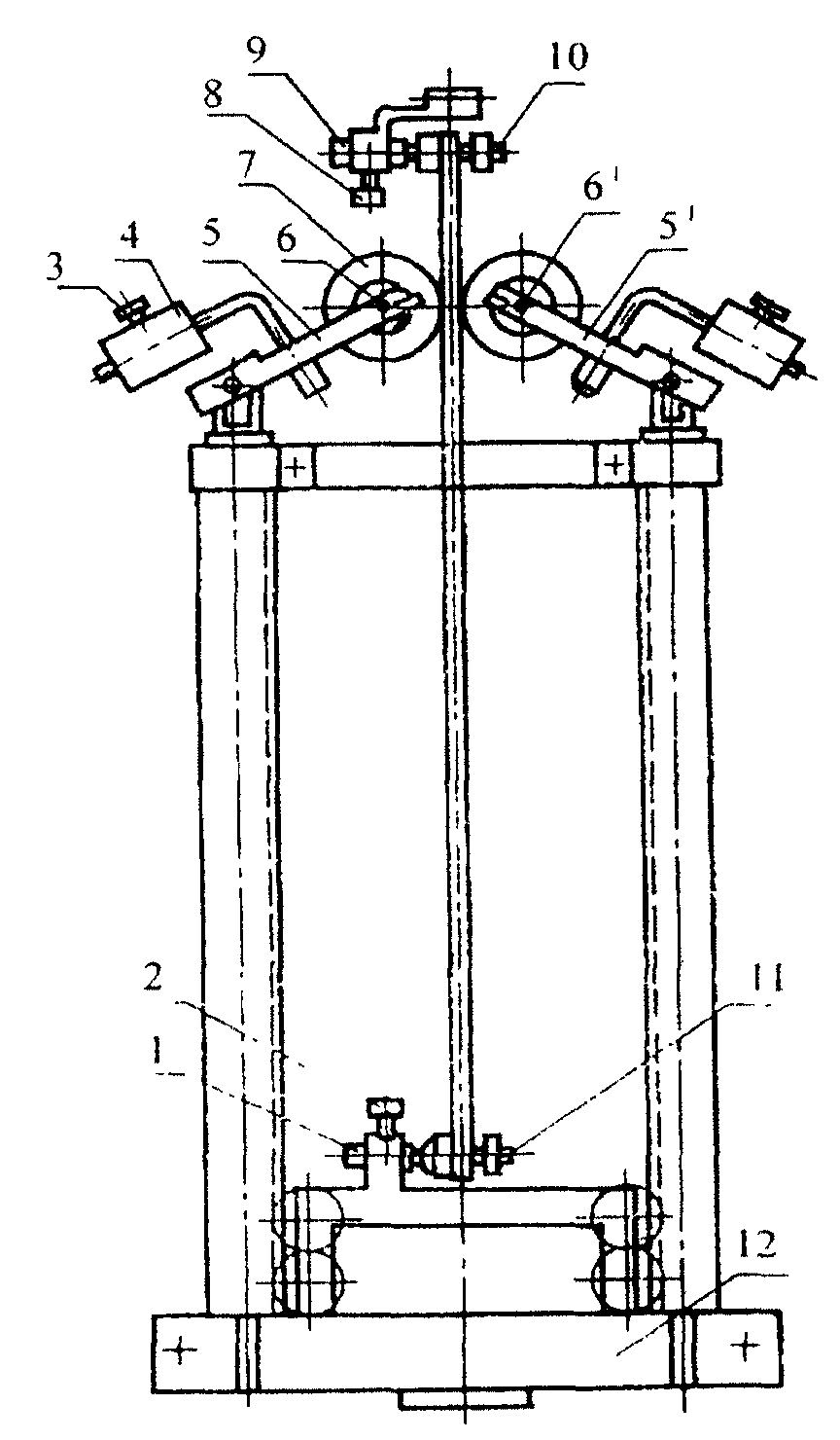
Приспособление для определения липкости (рисунок 7).
1 - нижний зажим; 2, 8 - затягивающие винты;
3 - закрепляющий винт; 4 - противовес;
5, 5' - нагружающие рычаги; 6, 6' - оси; 7 - ролик;
9 - верхний зажим; 10, 11 - фиксирующие винты;
12 - основание приспособления
Ролики со сферической рабочей поверхностью с радиусом закругления 20 мм. Материал роликов должен быть указан в нормативном документе на конкретный вид герметизирующего материала.
Шкаф электрический сушильный, обеспечивающий поддержание температуры в диапазоне 50 - 100 °С.
Лупа измерительная с погрешностью не более 0,1 мм по
ГОСТ 25706.
Подложки дюралюминиевые или из органического стекла по
ГОСТ 9784 размером [(250 х 35) +/- 2] мм, толщиной (5 +/- 0,5) мм (рисунок 8).
1 - подложка; 2 - испытываемый материал;
3 - антиадгезионная бумага; 4 - риски; 5 - прорезь
Плиты стальные размером [(280 х 70 х 20) +/- 2] мм.
Ограничители стальные размером [(50 х 10) +/- 2] мм и толщиной (0,25 +/- 0,01) мм.
Бумага антиадгезионная или другие материалы, обладающие антиадгезионными свойствами и исключающие налипание герметизирующего материала к плитам пресса.
Ткань хлопчатобумажная или фланель.
3.6.2. Подготовка к проведению испытания
3.6.2.1. Подготовка образцов из мастик
Испытание проводят на трех образцах.
На боковую поверхность подложки наносят риски

и

(
рисунок 8).
На обезжиренную ацетоном подложку вдоль продольной оси с двух сторон наносят герметизирующий материал в форме валика диаметром 5 - 6 мм. Длина валика должна быть такой, чтобы расстояние от края материала до риски

составляло (10 +/- 1) мм. Сразу после нанесения герметизирующий материал закрывают антиадгезионной бумагой.
Подготовленную подложку помещают на стальную плиту пресса. Между антиадгезионной бумагой и подложкой с обеих сторон устанавливают четыре ограничителя, по два с каждой стороны. Ограничители должны находиться напротив рисок

(
рисунок 8). На подложку с герметизирующим материалом, закрытым антиадгезионной бумагой, накладывают вторую стальную плиту и прессуют с усилием (2000 +/- 40)Н [(200 +/- 4) кгс] до соприкосновения плит с ограничителями. Образец выдерживают при заданном усилии в течение 2 - 3 мин. Образец отбраковывают, если герметизирующий материал касается хотя бы одного из четырех ограничителей.
Ограничители удаляют. Герметизирующий материал и антиадгезионную бумагу, выходящие за боковые грани подложки, срезают скальпелем. На антиадгезионной бумаге с двух сторон подложки скальпелем делают по две прорези. Прорези должны находиться напротив рисок

(
рисунок 8).
3.6.2.2. Подготовка образцов из самоклеющихся лент
Испытание проводят на шести полосках ленты размером [(160 х 35) +/- 2] мм каждая. Толщина ленты должна соответствовать нормативным документам на конкретный вид ленты. Края полосок должны располагаться напротив рисок

.
На обезжиренную ацетоном подложку с двух сторон вдоль продольной оси наклеивают полоски ленты. При испытании самоклеющейся ленты с антиадгезионной бумагой, нанесенной на нее с двух сторон, ленту наклеивают на подложку, предварительно освободив ее с одной стороны от антиадгезионной бумаги.
При испытании ленты с полимерным слоем ее наклеивают на подложку полимерным слоем при помощи клея, адгезионные свойства которого выше величины липкости ленты (например, клей БФ-2, 88Н и т.п.).
На антиадгезионной бумаге делают прорези в соответствии с
3.6.2.1.
3.6.3. Проведение испытания
3.6.3.1. Образцы перед испытанием должны быть выдержаны при температуре (23 +/- 5) °С в течение не менее 3 ч.
3.6.3.2. На каждом образце проводят три прокатывания роликами.
3.6.3.3. Образец закрепляют в верхнем неподвижном зажиме 9 разрывной машины и нижнем зажиме 1 с помощью фиксирующих винтов 10 и 11 (
рисунок 7), используя при первом прокатывании роликов пазы а-а' на подложке (
рисунок 8). Образец устанавливают вертикально путем изменения положения зажимов 1 и 9, после чего затягивают винты 2 и 8. Ролики 7 нагружающих рычагов 5 и 5' опускают на образец. Ролики должны располагаться на расстоянии не менее чем на 10 мм выше верхней прорези.
| | ИС МЕГАНОРМ: примечание. Нумерация пунктов дана в соответствии с официальным текстом документа. | |
3.6.3.3. Вертикальность установки образца проверяют, измеряя линейкой расстояние от осей 6 и 6' до основания приспособления 12. При необходимости проводят корректировку положения образца, изменяя положение зажимов 1 и 9. Подвижную траверсу разрывной машины опускают на (130 +/- 2) мм и вновь проверяют вертикальность установки образца, как указано выше. Результаты измерения не должны отличаться более чем на 1 мм.
3.6.3.4. Ролики отводят от образца. Подвижную траверсу возвращают в исходное положение.
Поверхность роликов обезжиривают тканью или фланелью, смоченной ацетоном. Ролики устанавливают на образце на расстоянии не менее чем на (10 +/- 2) мм выше прорези

верхней части образца.
3.6.3.5. Устанавливают скорость подвижной траверсы, указанную в нормативном документе на конкретный вид герметизирующего материала, с учетом обеспечения адгезионного характера отрыва герметизирующего материала от поверхности ролика из ряда скоростей 10, 20, 30, 40, 50, 60, 70, 80, 90, 100, 200, 300, 400, 500, 600, 700, 800, 900, 1000 мм/мин. В нормативном документе должна быть указана минимальная скорость, при которой не происходит налипание материала на ролики.
3.6.3.6. Среднюю часть образца между прорезями

рабочих поверхностей образца освобождают от антиадгезионной бумаги. Опускают подвижную траверсу до перехода роликов на антиадгезионную бумагу нижней части образца на длину (10 +/- 2) мм ниже прорези

нижней части образца, одновременно записывая диаграмму "усилие-время".
3.6.3.7. Образец освобождают от зажимов 1 и 9 и снова в них закрепляют, используя при втором прокатывании роликов пазы b-b', при третьем - пазы с-с' (рисунок 8). Подготовку к испытанию при втором и третьем прокатываниях роликов проводят, как указано в
3.6.3.2 -
3.6.3.6.
3.6.3.8. Для расчета липкости определяют по диаграмме "усилие-время" (рисунок 9) с погрешностью не более 5% максимальные и минимальные значения усилий сцепления герметизирующего материала с роликами.
Рисунок 9
3.6.3.9. Измеряют при помощи лупы ширину следа роликов l на поверхности герметизирующего материала с двух сторон подложки. Число измерений ширины следа ролика для каждого прокатывания должно быть шесть: по три измерения с каждой стороны по всей длине следа ролика на расстоянии не менее чем 25 мм друг от друга.
3.6.4. Обработка результатов испытания
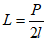
3.6.4.1. Липкость L, Н/м, при одном прокатывании роликов вычисляют по формуле

, (4)
где Р - среднеарифметическое значение максимальных и минимальных усилий сцепления, определенных по диаграмме "усилие-время", Н;

- среднеарифметическое значение шести измерений ширины следа ролика на поверхности герметизирующего материала, м.
Результат округляют до 0,01 Н/м.
За результат испытания образца принимают среднеарифметическое трех значений липкости (при трех прокатываниях роликов), вычисленных по
формуле 4.
3.6.4.2. При налипании герметизирующего материала хотя бы на один из роликов характер разрушения считают когезионным, при отсутствии - адгезионным.
3.6.4.3. Результаты, полученные при когезионном характере разрушения, при расчете липкости не учитывают. Если число этих результатов превышает 40% всех измерений, определение липкости повторяют при большей скорости вплоть до 1000 мм/мин. Если когезионное разрушение наблюдается при этой скорости, то у герметизирующего материала при температуре (23 +/- 5) °С липкость не может быть измерена. В этом случае результаты испытания признают недействительными.
3.7. Определение пенетрации
Сущность метода заключается в определении глубины погружения конуса в герметизирующий материал в течение установленного времени.
3.7.1. Средства испытания и вспомогательные устройства
| | ИС МЕГАНОРМ: примечание. Взамен ГОСТ 24104-88 Постановлением Госстандарта РФ от 26.10.2001 N 439-ст с 1 июля 2002 года введен в действие ГОСТ 24104-2001. | |
Весы общего назначения 3-го класса с погрешностью не более 0,005 г по ГОСТ 24104.
Прибор по
ГОСТ 1440 с конусом для испытаний пластичных смазок и петролатумов.
Шкаф электрический сушильный, обеспечивающий поддержание температуры в диапазоне 50 - 100°С.
Секундомер.
Стакан металлический диаметром не менее 70 мм и высотой не менее 40 мм.
3.7.2. Подготовка к проведению испытания
Испытание проводят на трех образцах.
Стакан заполняют материалом, срезая ножом избыток вровень с краями стакана. Подготовленный образец выдерживают при температуре (23 +/- 5) °С не менее 3 ч.
Перед проведением каждого испытания конус прибора очищают, при этом конус должен находиться в верхнем положении.
3.7.3. Проведение испытания
3.7.3.1. Заполненный стакан помещают на столик прибора.
Наконечник конуса устанавливают на поверхность герметизирующего материала, при этом точка касания конуса должна располагаться на расстоянии не менее 10 мм от края стакана.
3.7.3.2. Включают секундомер, одновременно освобождая ось конуса и давая конусу свободно погружаться в герметизирующий материал в течение (5,0 +/- 0,2) с.
Глубину погружения конуса в миллиметрах определяют по шкале прибора.
3.7.3.3. На образце проводят три измерения на расстоянии не менее 10 мм между точками касания конуса с герметизирующим материалом.
3.7.4. Обработка результатов испытания
За величину пенетрации для образца принимают среднеарифметическое значение трех измерений.
3.8. Определение миграции пластификатора
3.8.1. Средства испытания и вспомогательные устройства
Шкаф электрический сушильный, обеспечивающий поддержание температуры в пределах 50 - 100 °С.
Печь муфельная, обеспечивающая поддержание температуры до 650 °С.
| | ИС МЕГАНОРМ: примечание. Взамен ГОСТ 24104-88 Постановлением Госстандарта РФ от 26.10.2001 N 439-ст с 1 июля 2002 года введен в действие ГОСТ 24104-2001. | |
Весы общего назначения 3-го класса с погрешностью не более 0,002 г по ГОСТ 24104.
Пресс, обеспечивающий создание нагрузки (2000 +/- 40) Н.
Плита стальная размерами [(70 х 70 х 10) +/- 2] мм.
Ограничители стальные размерами [(70,0 х 10,0 х 0,5) +/- 0,2] мм.
Бумага антиадгезионная.
3.8.2. Подготовка к проведению испытания
3.8.2.1. Испытания проводят на трех образцах.
3.8.2.2. Подложку подготавливают в соответствии с требованиями нормативного документа на конкретный вид герметизирующего материала.
3.8.2.3. Пробе материала массой (2,5 +/- 0,5) г придают форму валика длиной (20 +/- 2) мм, помещают на середину подложки, предварительно протертой ацетоном, по краям которой с двух сторон расположены ограничители, накрывают антиадгезионной бумагой и прессуют между подложкой и стальной плитой пресса под нагрузкой (2000 +/- 40) Н до соприкосновения герметизирующего материала с ограничителями. Время действия нагрузки - 2 - 3 мин. Избыток материала удаляют. Не допускается подтекание герметизирующего материала под ограничители.
3.8.3. Проведение испытания
3.8.3.1. Образцы, подготовленные по
3.8.2.3, помещают в сушильный шкаф. Время и температура выдержки должны быть указаны в нормативном документе на конкретный вид герметизирующего материала.
3.8.3.2. После выдержки в сушильном шкафу образцы охлаждают на воздухе при температуре (23 +/- 5) °С. Затем скальпелем снимают герметизирующий материал, отступая от края подложки на (5 +/- 1) мм.
Материал массой не менее 5 г, снятый с трех образцов, помещают в предварительно прокаленный тигель и взвешивают (

).
3.8.3.3. В другой тигель, предварительно прокаленный, помещают навеску исходного герметизирующего материала массой не менее 5 г и взвешивают (

).
3.8.3.4. Два тигля с навесками помещают в печь и медленно нагревают при открытой дверце до полного озоления, не допуская воспламенения навески.
Зачем печь закрывают и тигли прокаливают при температуре (500 +/- 25) °С не менее 1 ч.
После прокаливания тигли с навесками извлекают из печи, переносят в эксикатор, охлаждают в течение (30 +/- 2) мин и взвешивают (

,

).
Прокаливание, охлаждение и взвешивание повторяют до получения расхождения между последовательными взвешиваниями не более 0,004 г.
3.8.4. Обработка результатов испытания
Миграцию пластификатора М, % по массе, вычисляют по формуле

, (7)
где

- масса тигля с герметизирующим материалом, предварительно выдержанным в сушильном шкафу, до прокаливания, г;

- масса тигля с герметизирующим материалом, не выдержанным в сушильном шкафу, до прокаливания, г;

- масса тигля с герметизирующим материалом, предварительно выдержанным в сушильном шкафу, после прокаливания, г;

- масса тигля с герметизирующим материалом, не выдержанным в сушильном шкафу, после прокаливания, г.
Результат округляют до 1%.
3.8.5. Допускается определять миграцию пластификатора по методике, приведенной в
Приложении А.
3.9. Определение однородности
Сущность метода заключается в визуальном осмотре поперечных срезов материала или изделия и в подсчете и измерении включений на поверхности срезов.
3.9.1. Средства контроля и вспомогательные устройства
Лампа накаливания мощностью 100 Вт.
Лупа измерительная с погрешностью не более 0,5 мм по
ГОСТ 25706.
3.9.2. Подготовка к проведению испытания
Число образцов для испытаний должно быть не менее трех по одному образцу от каждой отобранной от партии пробы.
Длина образца должна быть не менее 350 мм.
На каждом образце испытываемого материала с помощью ножа или скальпеля, смоченною водой, выполняют не менее трех поперечных срезов на расстоянии (100 +/- 10) мм друг от друга, отступая от одного из краев на (50 +/- 5) мм.
3.9.3. Проведение испытания и обработка результатов испытания
3.9.3.1. Каждую поверхность среза испытываемого материала осматривают с помощью лупы, подсчитывают и измеряют включения.
3.9.3.2. Визуальный осмотр производят при освещении поверхности среза лампой накаливания, находящейся на расстоянии (500 +/- 25) мм от поверхности среза. Расстояние глаз контролера от поверхности среза - (300 +/- 25) мм.
3.9.3.3. Число и размер включений в каждом срезе одного образца должны соответствовать требованиям нормативного документа на конкретный вид материала. Число образцов, не соответствующих требованиям нормативных документов по однородности, должно быть не более одного из всех испытанных образцов.
3.10. Определение сопротивления текучести
3.10.1. Средства испытания и вспомогательные устройства
Лоток из белой жести толщиной 0,8 - 1,0 мм (рисунок 10).
Рисунок 10
Шкаф электрический сушильный, обеспечивающий поддержание температуры в диапазоне 50 - 100 °С.
Брусок металлический размером [(30 х 30 х 20) +/- 2] мм.
Лупа измерительная с погрешностью не более 0,1 мм по
ГОСТ 25706.
3.10.2. Подготовка к проведению испытания
3.10.2.1. Испытания проводят на трех образцах.
3.10.2.2. Лоток заполняют герметизирующим материалом таким образом, чтобы материал немного выступал над верхними и торцевыми срезами боковых стенок, и выдерживают на воздухе при температуре (23 +/- 5) °С в горизонтальном положении не менее 3 ч, после чего выступающий герметизирующий материал срезают вровень с верхними и торцевыми срезами боковых стенок лотка.
3.10.3. Проведение испытания и обработка результатов испытания
3.10.3.1. Лоток с герметизирующим материалом устанавливают вертикально в сушильный шкаф выступающей частью вниз и выдерживают при температуре и времени, указанных в нормативном документе на конкретный вид герметизирующего материала.
3.10.3.2. По истечении заданного времени лоток с герметизирующим материалом выдерживают в горизонтальном положении на воздухе при температуре (23 +/- 5) °С не менее 3 ч.
3.10.3.3. По выступающей части лотка продвигают брусок до соприкосновения с герметизирующим материалом и с помощью лупы измеряют зазор в миллиметрах между бруском и торцевыми срезами стенок лотка.
Результат округляют до 0,1 мм.
3.10.3.4. За результат испытания образца принимают величину стекания мастики на выступающую часть лотка.
3.11. Определение плотности
3.11.1. Средства испытания и вспомогательные устройства
| | ИС МЕГАНОРМ: примечание. Взамен ГОСТ 24104-88 Постановлением Госстандарта РФ от 26.10.2001 N 439-ст с 1 июля 2002 года введен в действие ГОСТ 24104-2001. | |
Весы общего назначения 3-го класса с погрешностью не более 0,005 г по ГОСТ 24104.
3.11.2. Подготовка к проведению испытания и проведение испытания
3.11.2.1 Испытание проводят на трех образцах.
3.11.2.2. Стакан взвешивают (

), измеряют его внутренний диаметр d и высоту h и заполняют герметизирующим материалом таким образом, чтобы не образовались пузырьки воздуха. Избыток срезают ножом. Подготовленный образец взвешивают (

).
3.11.3. Обработка результатов испытания
| | ИС МЕГАНОРМ: примечание. Нумерация пунктов дана в соответствии с официальным текстом документа. | |
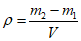
3.11.3. Плотность герметизирующего материала

, г/см3, вычисляют по формуле

, (6)
где

- масса стакана, г;

- масса стакана с навеской, г.
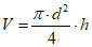
V - объем герметизирующего материала, равный внутреннему объему стакана и вычисляемый по формуле

, (7)
где d - внутренний диаметр стакана, см;
h - высота стакана, см.
Результат округляют до 0,1 г/см3.
3.12. Оформление результатов испытаний
Результаты испытаний оформляют протоколом, в котором указывают:
- наименование герметизирующего материала по нормативному документу;
- предел прочности при растяжении, относительное удлинение при максимальной нагрузке и характер разрушения;
- относительное удлинение при минимальной температуре эксплуатации;
- стойкость к циклическим деформациям;
- водопоглощение;
- липкость;
- пенетрацию;
- миграцию пластификатора;
- однородность - наличие (или отсутствие) комков и посторонних включений и их размер;
- сопротивление текучести;
- плотность;
- дату и место проведения испытания;
- номер и наименование настоящего стандарта.
(рекомендуемое)
ОПРЕДЕЛЕНИЕ МИГРАЦИИ ПЛАСТИФИКАТОРА С ПРИМЕНЕНИЕМ
ЛАТУННОГО КОЛЬЦА
А.1. Средства контроля и вспомогательные устройства
Кольцо латунное высотой 5 мм, внутренним диаметром 20 мм.
Шкаф сушильный, обеспечивающий поддержание температуры в диапазоне 50 - 100 °С.
А.2. Подготовка к проведению испытания и проведение испытания
А.2.1. Число образцов для испытаний должно быть не менее трех, по одному образцу от каждой отобранной от партии пробы.
А.2.2. Для определения миграции пластификатора на стеклянную пластинку кладут слой фильтровальной бумаги и ставят на нее латунное кольцо. Кольцо заполняют испытываемым герметизирующим материалом.
А.2.3. Подготовленные образцы выдерживают в сушильном шкафу при температуре 100 °С в течение 4 ч. После извлечения образцов из термостата на фильтровальной бумаге не должно обнаруживаться следов пластификатора.