Главная // Актуальные документы // ГОСТ (Государственный стандарт)СПРАВКА
Источник публикации
М.: Стандартинформ, 2015
Примечание к документу
Текст данного документа приведен с учетом
поправки, введенной в действие с 12.10.2021, опубликованной в "ИУС", N 3, 2022.
Документ включен в
Перечень международных и региональных (межгосударственных) стандартов, а в случае их отсутствия - национальных (государственных) стандартов, в результате применения которых на добровольной основе обеспечивается соблюдение требований технического
регламента Таможенного союза "О безопасности машин и оборудования" (ТР ТС 010/2011) (
Решение Коллегии Евразийской экономической комиссии от 09.03.2021 N 28).
Документ
введен в действие с 01.01.2015.
Название документа
"ГОСТ ISO 21592-2013. Межгосударственный стандарт. Машины и оборудование строительные. Машины для торкретирования бетонной смеси. Терминология и технические условия"
(введен в действие Приказом Росстандарта от 19.03.2014 N 183-ст)
"ГОСТ ISO 21592-2013. Межгосударственный стандарт. Машины и оборудование строительные. Машины для торкретирования бетонной смеси. Терминология и технические условия"
(введен в действие Приказом Росстандарта от 19.03.2014 N 183-ст)
агентства по техническому
регулированию и метрологии
от 19 марта 2014 г. N 183-ст
МЕЖГОСУДАРСТВЕННЫЙ СТАНДАРТ
МАШИНЫ И ОБОРУДОВАНИЕ СТРОИТЕЛЬНЫЕ
МАШИНЫ ДЛЯ ТОРКРЕТИРОВАНИЯ БЕТОННОЙ СМЕСИ
ТЕРМИНОЛОГИЯ И ТЕХНИЧЕСКИЕ УСЛОВИЯ
Building construction machinery and equipment. Concrete
spraying machines. Terminology and commercial specifications
(ISO 21592:2006, IDT)
ГОСТ ISO 21592-2013
Дата введения
1 января 2015 года
Цели, основные принципы и основной порядок проведения работ по межгосударственной стандартизации установлены
ГОСТ 1.0-92 "Межгосударственная система стандартизации. Основные положения" и
ГОСТ 1.2-2009 "Межгосударственная система стандартизации. Стандарты межгосударственные, правила и рекомендации по межгосударственной стандартизации. Правила разработки, принятия, применения, обновления и отмены".
1. Подготовлен Обществом с ограниченной ответственностью "ИЦ "ЦНИП СДМ" (ООО "ИЦ "ЦНИП СДМ") на основе собственного аутентичного перевода на русский язык международного стандарта, указанного в
пункте 5.
2. Внесен Техническим комитетом по стандартизации ТК 267 "Строительно-дорожные машины и оборудование".
3. Принят Межгосударственным советом по стандартизации, метрологии и сертификации (протокол от 27 декабря 2013 г. N 63-П).
За принятие проголосовали:
Краткое наименование страны по МК (ИСО 3166) 004-97 | Код страны по МК (ИСО 3166) 004-97 | Сокращенное наименование национального органа по стандартизации |
Азербайджан | AZ | Азстандарт |
Армения | AM | Минэкономики Республики Армения |
Беларусь | BY | Госстандарт Республики Беларусь |
Казахстан | KZ | Госстандарт Республики Казахстан |
Киргизия | KG | Кыргызстандарт |
Молдова | MD | Молдова-Стандарт |
Россия | RU | Росстандарт |
Узбекистан | UZ | Узстандарт |
4.
Приказом Федерального агентства по техническому регулированию и метрологии от 19 марта 2014 г. N 183-ст межгосударственный стандарт ГОСТ ISO 21592-2013 введен в действие в качестве национального стандарта Российской Федерации с 1 января 2015 г.
5. Настоящий стандарт идентичен международному стандарту ISO 21592:2006 Building construction machinery and equipment - Concrete spraying machines - Terminology and commercial specifications (Машины и оборудование строительные. Машины для торкретирования бетонной смеси. Терминология и технические условия).
Международный стандарт разработан Техническим комитетом по стандартизации ISO/TC 127 "Машины землеройные" Международной организации по стандартизации (ISO) и утвержден Европейским комитетом по стандартизации CEN в качестве европейского стандарта без внесения изменений.
Перевод с английского языка (en).
Степень соответствия - идентичная (IDT).
Разработанный стандарт может быть использован при ежегодной актуализации перечня стандартов, содержащих правила и методы исследований (испытаний), а также стандартов, в результате применения которых на добровольной основе обеспечивается соблюдение требований технического
регламента Таможенного союза "О безопасности машин и оборудования".
6. Введен впервые.
Информация об изменениях к настоящему стандарту публикуется в ежегодном информационном указателе "Национальные стандарты" (по состоянию на 1 января текущего года), а текст изменений и поправок - в ежемесячном информационном указателе "Национальные стандарты". В случае пересмотра (замены) или отмены настоящего стандарта соответствующее уведомление будет опубликовано в ежемесячном информационном указателе "Национальные стандарты". Соответствующая информация, уведомление и тексты размещаются также в информационной системе общего пользования - на официальном сайте Федерального агентства по техническому регулированию и метрологии в сети Интернет.
Настоящий стандарт устанавливает термины и определения к машинам для торкретирования бетонной смеси, используемым для футеровки, укрепления бетонных конструкций, каменных поверхностей (шахты, тоннели), кирпичных стен, стальных конструкций и деревянных опалубок. На рисунках, приведенных в
Приложении А, показаны примеры типов машин для торкретирования, их конструкции и геометрические характеристики.
В настоящем стандарте применены следующие термины с соответствующими определениями:
2.1. Установка для торкретирования бетонной смеси; установка для торкретирования цементно-песчаного раствора (concrete mixture sprayer; concrete sprayer): машина для торкретирования бетонной смеси на строительные и другие конструкции.
2.2. Торкретирование бетонной смеси (concrete mixspraying): операция по нанесению бетонного слоя с помощью набрызга под давлением.
Примечание. Процесс торкретирования бетонной смеси разделяется на два типа:
- сухой набрызг;
- влажный набрызг.
2.3. Установка для влажного торкретирования смеси; влажное торкретирование (wet mixture sprayer; wet sprayer): машина, предназначенная для торкретирования с использованием готовой бетонной смеси.
Пример - Установка для торкретирования бетононасосного типа, установка для торкретирования роторного типа.
Примечание. Штукатурные установки поршневого и винтового типа также могут быть использованы для небольших объемов работ влажным набрызгом.
2.4. Установка для сухого торкретирования смеси; сухое торкретирование (dry mixture sprayer; dry sprayer): машина, предназначенная для торкретирования бетонной смеси, которая с помощью сжатого воздуха подает цемент и заполнитель в шланг, и под определенным давлением в сопло форсунки поступает вода и происходит смешивание компонентов.
Примечание 1. Основной рабочий орган машины для сухого торкретирования - ротор, чья роль заключается в подаче сухих компонентов из зоны атмосферного давления в камеру повышенного давления.
Примечание 2. В зависимости от выполняемых работ определяются следующие типы роторов:
- для сухого набрызга;
- для влажного набрызга;
- для подачи бетонной смеси и набрызга огнеупорных материалов.
2.5. Установка для влажного и сухого торкретирования смеси; влажное и сухое торкретирование (wet and dry mixture sprayer; wet and dry sprayer): машина, предназначенная для выполнения мокрого и сухого торкретирования, в качестве альтернативы и после ее модификации.
2.6. Установка для торкретирования роторного типа (rotor type sprayer): машина, в которой материал загружается из приемного бункера в роторную камеру, затем под давлением воздуха подается в шланг и разбрызгивается через форсунку.
Примечание. Установку для торкретирования роторного типа используют для влажного и сухого торкретирования смеси.
2.7. Установка для торкретирования бетононасосного типа (concrete pump type sprayer): машина, в которой бетонная смесь поступает в бетононасос, затем под давлением воздуха разбрызгивается через форсунку.
2.8. Лопастное колесо (impeller type sprayer): машина, в которой бетонная смесь, поступая из бетононасоса, смешивается с ускорителем твердения и разбрызгивается по вращающемуся лопастному колесу.
2.9. Распределительная стрела (spraying boom): сложенная и/или разложенная стрела, крепящаяся к несущей опоре и снабженная соплом, чья роль заключается в набрызге бетонной смеси в пределах досягаемости.
2.10. Шасси (sprayer carrier): шасси, на котором смонтирована установка для торкретирования, обеспечивающее ее передвижение.
Примечание. Для монтажа установки для торкретирования, как правило, используются колесные, гусеничные и железнодорожные шасси.
2.11. Очистительное устройство (cleaning device): устройство, используемое для очистки смесителя, торкрет-форсунки, трубопровода и сопла.
2.12. Кабельный барабан (cable reel): устройство, используемое для фиксации электрических кабелей, по которым осуществляется электропитание бетононасоса, воздушного компрессора и других элементов машины.
2.13. Ускоритель твердения (quick-setting admixture): добавка, вводимая в бетонную смесь до форсунки для ускорения процесса твердения.
2.14. Рабочая масса (operating mass): масса, которая включает в себя основные единицы в рабочем состоянии, распределительную стрелу (если таковая имеется), шасси (если таковое имеется), балласт (если таковой имеется), гидравлическую, охлаждающую жидкость для очистки, заполненные баки, ручные инструменты и крепления, предусмотренные изготовителем.
3.1. Основная классификация
Конструкцию установки для торкретирования определяют по следующим критериям:
- процесс торкретирования, для которого предназначена установка (см.
3.2);
- принцип работы (см.
3.3);
- управление устройством распределения (сопло/крыльчатка) (см.
3.4);
- тип двигателя (см.
3.6).
3.2. Типы процессов торкретирования, для которых предназначена установка
Установки для торкретирования классифицируют по процессу:
- влажное торкретирование/установка для влажного торкретирования смеси (см.
рисунок А.1);
- сухое торкретирование/установка для сухого торкретирования смеси;
- влажное и сухое торкретирование/установка для влажного и сухого торкретирования смеси.
3.3. Принцип работы установки для торкретирования
Торкрет установки классифицируют по типу работы:
- установка для торкретирования роторного типа/роторная установка;
- установка для торкретирования бетононасосного типа/бетононасос.
3.4. Управление устройством распределения (сопло/крыльчатка)
Установки для торкретирования классифицируют по управлению устройством распределения;
- ручное управление;
- механическое управление устройствами распределения бетонной смеси, установленными на стреле.
Торкрет установки классифицируют по типу транспортного средства:
- на самоходном, колесном или гусеничном шасси;
- буксируемый на собственном шасси;
- на рельсовом ходу;
- транспортируемый.
Установки для торкретирования классифицируют по типу двигателя:
- электрические;
- внутреннего сгорания с искровым зажиганием;
- внутреннего сгорания с воспламенением от сжатия;
- комбинированные.
4. Технические характеристики
4.1. Основные характеристики установки для торкретирования
Указывают следующее:
a) модель и тип;
b) наименование производителя;
c) применение (влажное или сухое или влажное/сухое торкретирование);
d) производительность установки для торкретирования:
1) бетон, который будет использован:
- максимальный размер заполнителя, в миллиметрах (мм);
- минимальная осадка конуса, в сантиметрах (см);
2) производительность установки для торкретирования, в кубических метрах в час (м3/ч);
f) максимальное расстояние подачи:
- влажной смеси, в метрах (м);
- сухой смеси, в метрах (м);
g) мощность установки, в киловаттах (кВт);
h) напряжение и частота электропитания, в вольтах (В) и герцах (Гц);
i) габаритные размеры:
- длина, в миллиметрах (мм);
- ширина, в миллиметрах (мм);
- высота, в миллиметрах (мм);
j) рабочая масса, в килограммах (кг).
4.2. Дополнительные данные по отдельным типам установок для торкретирования
Указывается следующее:
a) метод управления;
b) рабочее давление воздуха, в мегапаскалях (мПа) или барах, бар;
c) расход воздуха, в кубических метрах в минуту (м3/мин);
d) внутренний диаметр шланга, в миллиметрах (мм);
e) емкость бункера, в кубических метрах (м3);
f) высота загрузки, в миллиметрах (мм);
g) основной электродвигатель:
- тип;
- мощность и обороты, в киловаттах (кВт) и мин-1;
- напряжение и частота, в вольтах (В) и герцах (Гц);
h) вибрационный двигатель:
- тип;
- мощность и обороты, в киловаттах (кВт) и мин-1;
- напряжение и частота, в вольтах (В) и герцах (Гц).
4.2.2. Установка для торкретирования бетононасосного типа (см.
рисунки А.3 и
А.10)
Указывается следующее:
a) метод управления;
b) диаметр рабочего цилиндра, в миллиметрах (мм);
c) ход рабочего цилиндра, в миллиметрах (мм);
d) количество цилиндров;
e) давление бетона, в мегапаскалях (мПа) или барах, бар;
f) давление воздуха, в мегапаскалях (мПа) или барах, бар;
g) потребление воздуха, в кубических метрах в минуту (м3/мин);
h) емкость бункера, в кубических метрах (м3);
i) высота загрузки, в миллиметрах (мм);
j) тип смешивающей/активационной установки (агрегата);
k) гидравлический привод;
1) гидравлический насос:
- модель;
- максимальный объем на выходе, в литрах в минуту (л/мин);
- давление на выходе, в мегапаскалях (мПа) или барах, бар;
2) объем масляного бака, в литрах (л);
3) двигатель:
- тип;
- мощность и обороты, в киловаттах (кВт) и мин-1;
- напряжение и частота, в вольтах (В) и герцах (Гц).
4.3. Характеристики основных частей установки для торкретирования
Указывается следующее:
a) модель;
b) изготовитель;
c) принцип работы (складывающаяся или телескопическая);
d) поворотный механизм, угол поворота, в градусах;
e) первая секция:
- угол наклона вверх/вниз, в градусах;
- вылет, в миллиметрах (мм);
f) вторая секция:
- угол наклона вверх/вниз, в градусах;
- вылет, в миллиметрах (мм);
g) третья секция:
- угол наклона вверх/вниз, в градусах;
- вылет, в миллиметрах (мм);
h) форсунка:
- принцип работы;
- диаметр форсунки, в миллиметрах (мм);
i) гидравлический привод;
1) гидравлический насос:
- модель;
- максимальный объем на выходе, в литрах в минуту (л/мин);
- давление на выходе, в мегапаскалях (мПа) или барах, бар;
2) объем масляного бака, в литрах (л);
3) электродвигатель:
- тип;
- мощность и обороты, в киловаттах (кВт) и мин-1;
- напряжение и частота, в вольтах (В) и герцах (Гц);
j) габаритные размеры в транспортном положении:
- длина, в миллиметрах (мм);
- ширина, в миллиметрах (мм);
- высота, в миллиметрах (мм);
k) масса, в килограммах (кг).
Указывают следующее:
a) модель;
b) изготовитель;
c) скорость движения, в километрах в час (км/ч);
d) рабочая скорость передвижения при торкретировании, в метрах в минуту (м/мин);
e) максимальный уклон рабочей площадки, в процентах (%);
f) метод управления (механический, гидравлический, другой);
g) минимальный радиус поворота, в миллиметрах (мм);
h) характеристики шин или траков:
- передних колес (марка, давление), в мегапаскалях (МПа) или барах, бар;
- задних колес (марка, давление), в мегапаскалях (МПа) или барах, бар;
- ширина гусениц, в миллиметрах (мм);
- шаг звена гусеницы, в миллиметрах (мм);
i) номер сертификата соответствия требованиям к выбросам двигателями вредных (загрязняющих) веществ;
j) устройство очистки отработанных газов двигателя:
- модель;
- изготовитель;
- серийный номер;
k) характеристики основного двигателя:
- модель;
- изготовитель;
- мощность, в киловаттах (кВт);
- номинальный крутящий момент, в ньютонах на метр (Н·м);
- объем, в кубических сантиметрах (см3);
- обороты, в мин-1;
- номера цилиндров;
- система охлаждения;
l) осветительные приборы:
- передние;
- задние;
- рабочие фары;
m) выносные опоры:
- модель;
- передние;
- задние.
4.3.3. Очистительное устройство
Указывают следующее:
a) модель;
b) расход жидкости, в литрах в минуту (л/мин);
c) давление на выходе, в мегапаскалях (МПа) или барах, бар;
d) емкость бака, в литрах (л);
e) электродвигатель:
- тип;
- мощность и обороты, в киловаттах (кВт) и мин-1;
- напряжение и частота, в вольтах (В) и герцах (Гц);
f) габаритные размеры:
- длина, в миллиметрах (мм);
- ширина, в миллиметрах (мм);
- высота, в миллиметрах (мм);
g) масса, в килограммах (кг).
4.3.4. Кабельный барабан
Указывают следующее:
a) модель;
b) длина кабеля, в метрах (м);
c) тип кабеля;
d) метод управления.
4.3.5. Воздушный компрессор(ы)
Указывают следующее:
a) для блока N 1:
- объем на выходе, в кубических метрах в минуту (м3/мин);
- давление на выходе, в мегапаскалях (МПа) или барах, бар;
b) для блока N 2 (если это требуется для большой емкости установки для торкретирования):
- объем на выходе, в кубических метрах в минуту (м3/мин);
- давление на выходе, в мегапаскалях (МПа) или барах, бар.
4.3.6. Система введения ускорителя твердения бетонной смеси
Указывают следующее:
a) тип;
b) управление:
- механическое;
- электронное.
(справочное)
ПРИМЕРЫ ТИПОВ УСТАНОВОК ДЛЯ ТОРКРЕТИРОВАНИЯ,
ИХ РАБОТА, СТРУКТУРА И ГАБАРИТНЫЕ РАЗМЕРЫ
Альтернативный тип сопла
1 - влажная смесь; 2 - воздух под давлением; 3 - установка
роторного типа; 4 - пневматическая передача (тонкой
струйкой); 5 - воздух; 6 - блок дозировки ускорителя;
7 - жидкий ускоритель; 8 - ускоритель + воздух;
9 - сопло; 10 - ускоритель твердения; 11 - бетон
Рисунок А.1. Работа установки для влажного торкретирования
смеси. Установка для торкретирования роторного типа
L - длина <а>; W - ширина <а>; H - высота <а>;
1 - корпус двигателя; 2 - бункер; 3 - регулятор скорости;
4 - перепускной клапан; 5 - вибратор; 6 - монтажная плита;
7 - электропривод; 8 - коробка передач; 9 - плита ротора;
10 - ротор; 11 - воздушная камера
--------------------------------
<а> Габаритные размеры.
Рисунок А.2. Установка для торкретирования роторного типа
L - длина <а>; W - ширина <а>; H - высота <а>; 1 - рама;
2 - промывочная камера; 3 - внешний вибратор; 4 - сито
бункера; 5 - гидроцилиндр; 6 - рабочий цилиндр;
7 - активатор; 8 - точка разгрузки бетонной смеси;
9 - бункер; 10 - нижний клапан
--------------------------------
<а> Габаритные размеры.
Рисунок А.3. Установка для торкретирования
бетононасосного типа
L - длина <а>; W - ширина <а>; H - высота <а>;
1 - корпус двигателя; 2 - бункер; 3 - регулятор скорости;
4 - вращающийся затвор; 5 - перистальтический шланг;
6 - вал; 7 - электропривод; 8 - коробка передач; 9 - ротор;
10 - выходное отверстие; 11 - воздухоприемник
--------------------------------
<а> Габаритные размеры.
Рисунок А.4. Роторная установка для торкретирования
L - длина <а>; W - ширина <а>; H - высота <а>;
1 - опорная плита; 2 - гидравлический мотор;
3 - верхний корпус; 4 - нижний корпус; 5 - порт загрузки
бетона; 6 - крыльчатка; 7 - порт разгрузки;
8 - форсунка ускорителя твердения
--------------------------------
<а> Габаритные размеры.
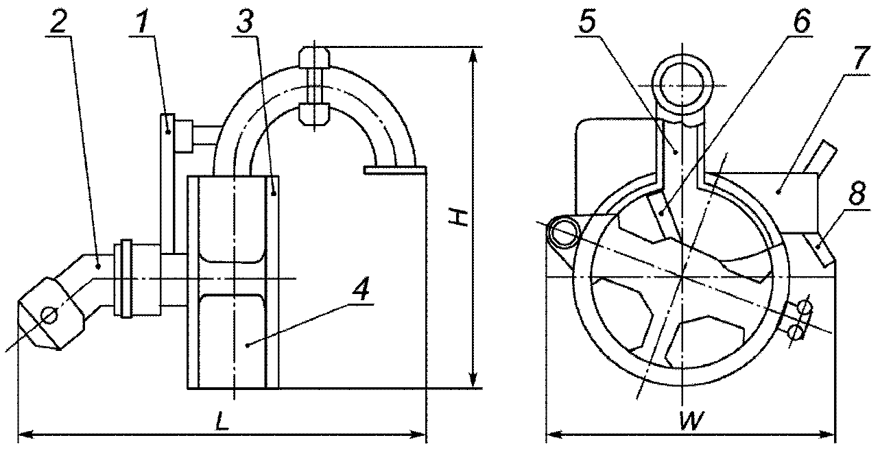
Рисунок А.5. Рабочий орган форсунки
1 - направляющее устройство форсунки (вперед, назад);
2 - секция N 3 (телескопическая); 3 - секция N 3
(поворотный цилиндр); 4 - секция N 2 (окончание стрелы);
5 - секция N 1; 6 - секция N 1 (телескопический цилиндр);
7 - выравнивающий (следящий) цилиндр; 8 - направляющее
устройство форсунки (вправо, влево); 9 - секция N 3
(телескопический цилиндр); 10 - секция N 3 (подъемный
цилиндр); 11 - секция N 1 (подъемный цилиндр); 12 - секция
N 1 (поворотный цилиндр); 13 - основание стрелы
Рисунок А.6. Конструкция складывающейся
и телескопической стрелы
1 - шасси; 2 - выносные опоры; 3 - колесо;
4 - кабельный барабан
Рисунок А.7. Колесное шасси
1 - шасси; 2 - выносные опоры; 3 - кабельный барабан;
4 - гусеница
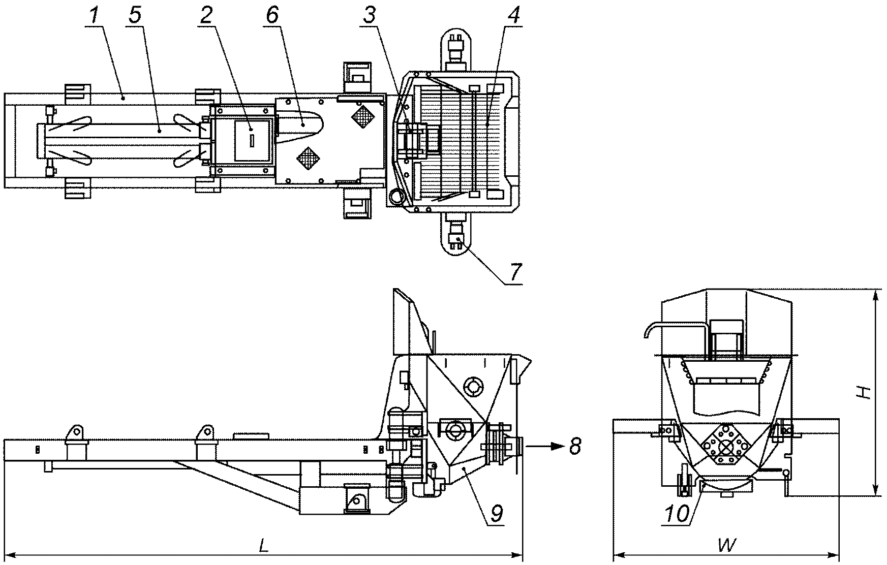
Рисунок А.8. Гусеничное шасси
L - длина <а>; W - ширина <а>; H - высота <а>; 1 - шасси;
2 - блок установки для торкретирования роторного типа;
3 - стрела в сборе; 4 - водяной насос; 5 - воздушный
компрессор; 6 - кабельный барабан; 7 - выносные опоры;
L1 - колесная база
--------------------------------
<а> Габаритные размеры.
Рисунок А.9. Установка для торкретирования
роторного типа. Колесное шасси
L - длина <а>; W - ширина <а>; H - высота <а>; 1 - шасси;
2 - блок установки для торкретирования бетононасосного
типа; 3 - стрела в сборе; 4 - водяной насос; 5 - воздушный
компрессор; 6 - кабельный барабан; 7 - выносные опоры;
L1 - колесная база
--------------------------------
<а> Габаритные размеры.
Рисунок А.10. Установка для торкретирования
бетононасосного типа. Колесное шасси
L - длина <а>; W - ширина <а>; H - высота <а>;
1 - шасси; 2 - бетононасос в сборе; 3 - стрела в сборе;
4 - блок установки для торкретирования роторного
типа (крыльчатка); 5 - кабельный барабан;
L1 - колесная база
--------------------------------
<а> Габаритные размеры.
Рисунок А.11. Установка для торкретирования роторного типа
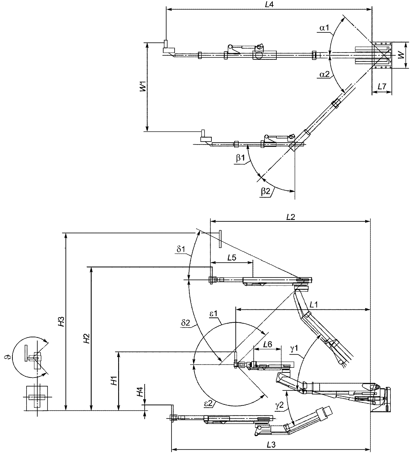
L1 - общая длина в исходном положении; L2 - максимальная
длина в вертикальном положении; L3 - общая длина секции N 1
в горизонтальном положении; L4 - максимальный охват стрелы;
L5 - секция N 3, вылет телескопической стрелы;
L6 - секция N 1, вылет телескопической стрелы;
L7 - длина основания стрелы; W - ширина основания стрелы;
W1 - максимальное смещение стрелы по горизонтали;
H1 - высота форсунки стрелы в исходном положении;
H2 - секция N 1, высота форсунки в вертикальном положении;
H3 - секции N 1 и N 3, высота форсунки в вертикальном
положении; H4 - секция N 1, высота форсунки в горизонтальном
положении;

и

- секция N 1, угол поворота (вправо,
влево);

и

- секция N 3, угол поворота (вправо,
влево);

и

- секции N 1, угол подъема (вверх, вниз);

и

- секция N 3, угол поворота (вверх, вниз);

и

- частота поворота форсунки (влево, вправо);

- частота изменения угла поворота форсунки
(влево, вправо)
Рисунок А.12. Распределительная стрела. Габаритные
характеристики
A1 - площадь распыления; A2 - область перемещения форсунки;
H - общая высота стрелы в исходном положении;
H1 - максимальная высота распыления; H2 - максимальная
высота форсунки; W - общая ширина; W1 - максимальная ширина
распыления; W2 - максимальная ширина перемещения форсунки;
W3 - колея; L - габаритная длина стрелы в положении
для транспортировки; L1 - колесная база;
L2 - задний габарит
Рисунок А.13. Установка для торкретирования роторного
типа. Колесное шасси. Площадь распыления
A1 - площадь распыления; A2 - зона перемещения форсунки;
H - общая высота стрелы в положении для транспортировки;
H1 - максимальная площадь распыления; H2 - максимальная
высота форсунки; R1 - максимальный радиус распыления;
R2 - максимальный радиус передвижения форсунки;
W - габаритная ширина; W1 - максимальная ширина распыления;
W2 - максимальная ширина перемещения форсунки;
L - габаритная длина стрелы в положении для транспортировки;
L1 - колесная база; L2 - передний габарит;
L3 - задний габарит
Рисунок А.14. Установка для торкретирования
бетононасосного типа. Площадь распыления