Главная // Актуальные документы // ГОСТ (Государственный стандарт)СПРАВКА
Источник публикации
М.: Стандартинформ, 2014
Примечание к документу
Текст данного документа приведен с учетом
поправки, опубликованной в "ИУС", N 2, 2023.
Документ
введен в действие с 01.07.2013.
Название документа
"ГОСТ EN 1605-2011. Межгосударственный стандарт. Изделия теплоизоляционные, применяемые в строительстве. Метод определения деформации при заданной сжимающей нагрузке и температуре"
(введен в действие Приказом Росстандарта от 29.11.2012 N 1842-ст)
"ГОСТ EN 1605-2011. Межгосударственный стандарт. Изделия теплоизоляционные, применяемые в строительстве. Метод определения деформации при заданной сжимающей нагрузке и температуре"
(введен в действие Приказом Росстандарта от 29.11.2012 N 1842-ст)
агентства по техническому
регулированию и метрологии
от 29 ноября 2012 г. N 1842-ст
МЕЖГОСУДАРСТВЕННЫЙ СТАНДАРТ
ИЗДЕЛИЯ ТЕПЛОИЗОЛЯЦИОННЫЕ, ПРИМЕНЯЕМЫЕ В СТРОИТЕЛЬСТВЕ
МЕТОД ОПРЕДЕЛЕНИЯ ДЕФОРМАЦИИ ПРИ ЗАДАННОЙ СЖИМАЮЩЕЙ
НАГРУЗКЕ И ТЕМПЕРАТУРЕ
Thermal insulating products in building applications.
Method for determination of deformation under specified
compressive load and temperature conditions
(EN 1605:1996, IDT)
ГОСТ EN 1605-2011
Дата введения
1 июля 2013 года
Цели, основные принципы и основной порядок проведения работ по межгосударственной стандартизации установлены
ГОСТ 1.0-92 "Межгосударственная система стандартизации. Основные положения" и
ГОСТ 1.2-2009 "Межгосударственная система стандартизации. Стандарты межгосударственные, правила и рекомендации по межгосударственной стандартизации. Правила разработки, принятия, применения, обновления и отмены".
1. Подготовлен Некоммерческой организацией "Ассоциация производителей экструдированного пенополистирола "РАПЭКС" на основе аутентичного перевода на русский язык европейского регионального стандарта, указанного в
пункте 4.
2. Внесен Техническим комитетом по стандартизации ТК 465 "Строительство".
3. Принят Межгосударственной научно-технической комиссией по стандартизации, техническому нормированию и оценке соответствия в строительстве (приложение Д к протоколу от 8 декабря 2011 г. N 39).
За принятие проголосовали:
Краткое наименование страны по МК (ISO 3166) 004-97 | Код страны по МК (ISO 3166) 004-97 | Сокращенное наименование национального органа государственного управления строительством |
Азербайджан | AZ | Государственный комитет градостроительства и архитектуры |
Армения | AM | Министерство градостроительства |
Казахстан | KZ | Агентство по делам строительства и жилищно-коммунального хозяйства |
Киргизия | KG | Госстрой |
Молдова | MD | Министерство строительства и регионального развития |
Россия | RU | Министерство регионального развития |
Таджикистан | TJ | Агентство по строительству и архитектуре при Правительстве |
Туркмения | TM | Главгосслужба "Туркменстандартлары" |
Узбекистан | UZ | Госархитектстрой |
Украина | UA | Министерство регионального развития и строительства |
4. Настоящий стандарт идентичен европейскому региональному стандарту EN 1605:1996 Thermal insulating products for building applications - Determination of deformation under specified compressive load and temperature conditions (Теплоизоляционные изделия, применяемые в строительстве. Определение деформации при заданной сжимающей нагрузке и температуре).
Наименование настоящего стандарта изменено относительно наименования указанного стандарта для приведения в соответствие с ГОСТ 1.5-2001
(подраздел 3.6).
В настоящем стандарте учтены изменения к указанному европейскому региональному стандарту, одобренные Европейским комитетом по стандартизации 17 августа 2006 г.
При применении настоящего стандарта рекомендуется использовать вместо ссылочных международных и европейских стандартов соответствующие им межгосударственные стандарты, сведения о которых приведены в дополнительном
Приложении ДА.
Перевод с английского языка (en).
Степень соответствия - идентичная (IDT).
5.
Приказом Федерального агентства по техническому регулированию и метрологии от 29 ноября 2012 г. N 1842-ст межгосударственный стандарт ГОСТ 1605-2011 введен в действие в качестве национального стандарта Российской Федерации с 1 июля 2013 г.
6. Введен впервые.
Информация об изменениях к настоящему стандарту публикуется в ежегодном информационном указателе "Национальные стандарты", а текст изменений и поправок - в ежемесячном информационном указателе "Национальные стандарты". В случае пересмотра (замены) или отмены настоящего стандарта соответствующее уведомление будет опубликовано в ежемесячном информационном указателе "Национальные стандарты". Соответствующая информация, уведомление и тексты размещаются также в информационной системе общего пользования - на официальном сайте Федерального агентства по техническому регулированию и метрологии в сети Интернет.
Настоящий стандарт распространяется на теплоизоляционные изделия (далее - изделия), применяемые в строительстве, и устанавливает требования к средствам испытания и методике определения деформации при заданной сжимающей нагрузке и температуре, действующих на изделие в течение заданного времени.
В настоящем стандарте использованы ссылки на следующие стандарты:
ISO 5725-2:1994 Accuracy (trueness and precision) of measurement methods and results - Part 2: Basic method for the determination of repeatability of a standard measurement method [Точность (правильность и прецизионность) методов и результатов измерений. Часть 2: Основной метод определения повторяемости и воспроизводимости стандартного метода измерений]
EN 12085:1997 Thermal insulating products for building applications - Determination of linear dimensions of test specimens (Теплоизоляционные изделия, применяемые в строительстве. Определение линейных размеров образцов для испытаний).
В настоящем стандарте применен следующий термин с соответствующим определением:
3.1. Относительная деформация (relative deformation)

: отношение уменьшения толщины образца, измеренной при заданной сжимающей нагрузке по направлению действия нагрузки, к первоначальной толщине образца, выраженное в процентах.
К образцу прикладывают заданную сжимающую нагрузку и измеряют относительную деформацию в два этапа, в каждом из которых применяют заданную температуру и время выдержки при этой температуре.
5.1. Средства измерения линейных размеров образцов в соответствии с требованиями EN 12085, обеспечивающие погрешность измерения длины и ширины не более 0,5%, толщины - не более +/- 0,1 мм.
5.2. Печь с термостатом и принудительной циркуляцией воздуха для поддержания требуемой температуры с точностью +/- 1 К.
5.3. Приспособление для создания нагрузки, состоящее из двух плоских пластин, одна из которых является подвижной. Пластины должны быть расположены так, чтобы создавать сжимающую нагрузку на образец в вертикальном направлении. Подвижная пластина должна быть самовыравнивающейся.
Пластины должны создавать нагрузку плавно, без искажения, так, чтобы в процессе испытания заданное статическое напряжение в образце не изменялось более чем на +/- 5%.
Примечание. Поверхности плоских пластин должны быть тщательно зачищены/отполированы. Расстояние между верхней пластиной и средством измерения должно быть минимальным. Установка на нуль при измерении деформации должна проводиться с помощью калиброванного стального блока, толщина которого должна быть приблизительно равна толщине образца, подвергаемого испытанию.
6.1. Размеры образцов
Толщина образцов должна быть равна толщине изделия, из которого их вырезают, но не менее 20 мм.
Рабочие грани образцов (грани, перпендикулярные к направлению прилагаемой нагрузки) должны иметь форму квадрата со следующими рекомендуемыми размерами сторон:
50 x 50 мм или
100 x 100 мм, или
150 x 150 мм, или
200 x 200 мм, или
300 x 300 мм.
Длина стороны рабочей грани (поперечного сечения) образца должна быть равна толщине образца или превышать ее.
Применяемые размеры образцов должны быть указаны в стандарте или в технических условиях на изделие.
Примечание. При отсутствии стандарта или технических условий на изделие размеры образцов могут быть согласованы между заинтересованными сторонами.
Отклонение от параллельности между двумя рабочими гранями образца не должно превышать 0,5% длины стороны рабочей грани образца и не должно быть более 0,5 мм.
При подготовке к испытанию неровные поверхности рабочих граней образцов должны быть зачищены (выровнены) или на них должно быть нанесено выравнивающее покрытие.
Нанесенное на образец покрытие не должно иметь значительных деформаций, в противном случае эту деформацию следует учитывать при обработке результатов испытания путем ее вычитания.
6.2. Число образцов для испытания
Число образцов для испытания должно быть указано в стандарте или в технических условиях на изделие. Если число образцов не указано, испытанию подвергают не менее трех образцов для каждого выбранного ряда условий.
Примечание. При отсутствии стандарта или технических условий на изделие число образцов может быть согласовано между заинтересованными сторонами.
6.3. Подготовка образцов к испытанию
Образцы для испытания вырезают из изделия так, чтобы направление приложения сжимающей нагрузки к образцу при его испытании соответствовало направлению, в котором сжимающая нагрузка действует на изделие при его эксплуатации. Любые поверхностные слои, образующиеся при изготовлении изделий, а также любые облицовки и/или покрытия, которые были нанесены на изделие, должны быть сохранены на образце.
Примечание. Специальные способы подготовки образцов к испытанию, если необходимо, должны быть указаны в стандарте или в технических условиях на изделие.
6.4. Кондиционирование образцов
Образцы перед испытанием выдерживают в течение 6 ч при температуре (23 +/- 5) °C. В случае разногласий образцы выдерживают при температуре (23 +/- 2) °C и относительной влажности воздуха (50 +/- 5)% в течение времени, указанного в стандарте или в технических условиях на изделие.
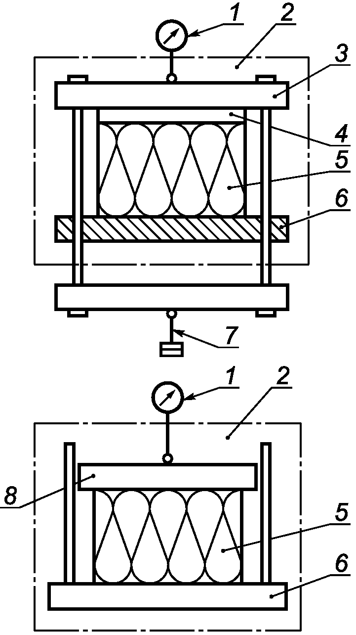
7.1. Условия испытания
Условия испытания выбирают из приведенных в таблице 1. Схемы испытаний образца приведены на
рисунке 1.
Таблица 1
Ряд условий | Нагрузка, кПа | Этап A | Этап B |
Температура, °C | Время, ч | Температура, °C | Время, ч |
1 | 20 | 23 +/- 5 | 48 +/- 1 | 80 +/- 1 | 48 +/- 1 |
2 | 40 | 23 +/- 5 | 48 +/- 1 | 70 +/- 1 | 168 +/- 1 |
3 | 80 | 23 +/- 5 | 48 +/- 1 | 60 +/- 1 | 168 +/- 1 |
1 - прибор с круговой шкалой; 2 - печь; 3 - нагружающая
пластина; 4 - пластина для распределения нагрузки
(подвижная, самовыравнивающаяся); 5 - образец;
6 - траверса; 7 - гири для создания нагрузки;
8 - нагружающая пластина
Рисунок 1. Схемы испытания при определении деформации
7.2. Методика проведения испытания
Измеряют длину и ширину рабочей грани каждого образца с погрешностью не более 0,5% в соответствии с требованиями EN 12085.
Полученные значения используют для вычисления первоначальной площади поперечного сечения образца при определении нагрузки.
Испытание проводят, применяя один из трех рядов условий (1, 2 или 3), приведенных в
таблице 1.
Применяемый ряд условий должен быть указан в стандарте или технических условиях на изделие.
После кондиционирования измеряют толщину

каждого образца с точностью 0,1 мм в соответствии с требованиями EN 12085.
Испытание проводят в два этапа: A и B по следующей схеме.
Образец нагружают при температуре (23 +/- 5) °C в течение (48 +/- 1) ч, используя нагрузку, соответствующую выбранному ряду условий (1, 2 или 3) из указанных в
таблице 1.
Через (48 +/- 1) ч измеряют толщину образца

под нагрузкой с точностью до 0,1 мм.
Образец, находящийся под нагрузкой, подвергают воздействию температуры в течение времени, указанного в
таблице 1 для выбранного ряда условий (1, 2 или 3).
Измеряют толщину образца

с точностью до 0,1 мм по истечении времени выдержки образца под нагрузкой при выбранной температуре испытания.
8. Обработка и представление результатов
За результаты испытаний принимают среднеарифметические значения результатов отдельных испытаний, выраженные до третьей значащей цифры.
Примечание. Результаты, полученные при испытании образцов разной толщины, могут быть различными.
После испытаний при условиях, установленных для этапа A, вычисляют относительную деформацию образца

, %, по формуле

, (1)
где

- толщина образца до приложения нагрузки (в соответствии с
7.2), мм;

- толщина образца после приложения нагрузки (в соответствии с
7.2.1), мм.
После испытаний при условиях, установленных для этапа B, вычисляют общую относительную деформацию образца

, %, по формуле

, (2)
где

- толщина образца до приложения нагрузки (в соответствии с
7.2), мм;

- толщина образца после приложения нагрузки при заданной температуре (в соответствии с
7.2.2), мм.
Характеристики точности измерений получены на основании результатов межлабораторных испытаний, проведенных в восьми лабораториях. Испытанию подвергались три изделия.
Характеристики точности измерений рассчитаны в соответствии с ISO 5725-2 и приведены в таблицах 2 и
3.
Таблица 2
Относительная деформация при заданных условиях
(нагрузка 20 кПа, температура 23 °C, время 48 ч)
Условия испытания | Относительная деформация  после проведения испытаний по этапу A, % |
Диапазон измерения  | Оценка дисперсии повторяемости  | Предел повторяемости 95% | Оценка дисперсии воспроизводимости  | Предел воспроизводимости 95% |
Нагрузка 20 кПа при температуре 23 °C в течение 48 ч | От -0,2 до +2,9 | 0,2 | 0,5 | 0,4 | 1,2 |
Таблица 3
Относительная деформация при заданных условиях
(нагрузка 20 кПа, температура 80 °C, время 48 ч)
Условия испытания | Относительная деформация  после проведения испытаний по этапу B, % |
Диапазон измерения  | Оценка дисперсии повторяемости  | Предел повторяемости 95% | Оценка дисперсии воспроизводимости  | Предел воспроизводимости 95% |
Нагрузка 20 кПа при температуре 80 °C в течение 48 ч | От -0,3 до +7,5 | 0,3 | 0,8 | 0,8 | 2,0 |
Для других условий испытания точность результатов измерения предположительно должна быть аналогичной.
Приведенные выше термины, относящиеся к характеристикам точности измерений, соответствуют ISO 5725-2.
Для метода испытания, приведенного в настоящем стандарте, не представляется возможным определить систематическую ошибку из-за отсутствия приемлемого исходного материала.
Примечание. Изделия для определения точности измерений выбраны так, чтобы получить достаточно широкий диапазон изменения размеров.
Условия испытаний выбраны так, чтобы получить значительные отклонения между результатами испытаний.
Отчет об испытании должен содержать:
a) ссылку на настоящий стандарт;
b) идентификацию изделия:
1) наименование изделия, предприятия-изготовителя или поставщика,
2) код маркировки,
3) вид изделия,
4) вид упаковки,
5) форму поставки изделия в лабораторию,
6) дополнительную информацию, например номинальные размеры, номинальную плотность;
c) методику проведения испытания:
1) порядок подготовки образцов к испытанию, порядок отбора образцов, например, кто и в каком месте проводил отбор образцов,
2) условия кондиционирования,
4) дату проведения испытания,
5) общую информацию о процедуре испытания, включая размеры образцов и выбранный ряд условий,
6) обстоятельства, которые могут повлиять на результаты испытания.
Примечание. Сведения об оборудовании и фамилия лаборанта, проводившего испытание, должны находиться в лаборатории, однако в отчете их не следует указывать;
d) результаты испытания: результаты каждого отдельного испытания и средние значения, полученные при проведении испытаний при условиях, установленных для этапов A и B.
(справочное)
СВЕДЕНИЯ О СООТВЕТСТВИИ ССЫЛОЧНЫХ
МЕЖДУНАРОДНЫХ И ЕВРОПЕЙСКИХ РЕГИОНАЛЬНЫХ
СТАНДАРТОВ МЕЖГОСУДАРСТВЕННЫМ СТАНДАРТАМ
Таблица ДА.1
Обозначение ссылочных стандартов | Степень соответствия | Обозначение и наименование соответствующего межгосударственного стандарта |
|
|
ISO 5725-2:1994 | IDT | ГОСТ ИСО 5725-2-2003 Точность (правильность и прецизионность) методов и результатов измерений. Часть 2. Основной метод определения повторяемости и воспроизводимости стандартного метода измерений |
EN 12085:1997 | IDT | ГОСТ EN 12085-2011 Изделия теплоизоляционные, применяемые в строительстве. Методы измерения линейных размеров образцов, предназначенных для испытаний |
Примечание. В настоящей таблице использовано следующее условное обозначение степени соответствия стандартов: - IDT - идентичные стандарты. |