Главная // Актуальные документы // ГОСТ (Государственный стандарт)СПРАВКА
Источник публикации
М.: Стандартинформ, 2014
Примечание к документу
Документ
введен в действие с 1 января 2015 года.
Название документа
"ГОСТ EN 13588-2013. Межгосударственный стандарт. Битумы и битуминозные вяжущие. Определение когезии битуминозных вяжущих с использованием маятника"
(введен в действие Приказом Росстандарта от 28.08.2013 N 739-ст)
"ГОСТ EN 13588-2013. Межгосударственный стандарт. Битумы и битуминозные вяжущие. Определение когезии битуминозных вяжущих с использованием маятника"
(введен в действие Приказом Росстандарта от 28.08.2013 N 739-ст)
агентства по техническому
регулированию и метрологии
от 28 августа 2013 г. N 739-ст
МЕЖГОСУДАРСТВЕННЫЙ СТАНДАРТ
БИТУМЫ И БИТУМИНОЗНЫЕ ВЯЖУЩИЕ
ОПРЕДЕЛЕНИЕ КОГЕЗИИ БИТУМИНОЗНЫХ ВЯЖУЩИХ
С ИСПОЛЬЗОВАНИЕМ МАЯТНИКА
Bitumens and bituminous binders. Determination
of cohesion of bituminous binders with pendulum test
(EN 13588:2008, IDT)
ГОСТ EN 13588-2013
Дата введения
1 января 2015 года
Цели, основные принципы и порядок проведения работ по межгосударственной стандартизации установлены
ГОСТ 1.0-92 "Межгосударственная система стандартизации. Основные положения" и
ГОСТ 1.2-2009 "Межгосударственная система стандартизации. Стандарты межгосударственные, правила и рекомендации по межгосударственной стандартизации. Правила разработки, принятия, применения, обновления и отмены"
1 ПОДГОТОВЛЕН Техническим комитетом по стандартизации ТК 160 "Продукция нефтехимического комплекса", Федеральным государственным унитарным предприятием "Всероссийский научно-исследовательский центр стандартизации, информации и сертификации сырья, материалов и веществ" (ФГУП "ВНИЦСМВ") на основе собственного аутентичного перевода на русский язык стандарта, указанного в
пункте 4
2 ВНЕСЕН Федеральным агентством по техническому регулированию и метрологии
3 ПРИНЯТ Межгосударственным советом по стандартизации, метрологии и сертификации (протокол N 58-П от 28 августа 2013 г.)
За принятие проголосовали:
Краткое наименование страны по МК (ИСО 3166) 004-97 | Код страны по МК (ИСО 3166) 004-97 | Сокращенное наименование национального органа по стандартизации |
Армения | AM | Минэкономики Республики Армения |
Беларусь | BY | Госстандарт Республики Беларусь |
Казахстан | KZ | Госстандарт Республики Казахстан |
Кыргызстан | KG | Кыргызстандарт |
Молдова | MD | Молдова-Стандарт |
Российская Федерация | RU | Росстандарт |
Таджикистан | TJ | Таджикстандарт |
Узбекистан | UZ | Узстандарт |
4 Настоящий стандарт идентичен европейскому региональному стандарту EN 13588:2008 Bitumen and bituminous binders - Determination of cohesion of bituminous binders with pendulum test (Битум и битуминозные вяжущие. Определение когезии битуминозных вяжущих испытанием маятником).
Европейский региональный стандарт разработан техническим комитетом CEN/TC 336 "Битуминозные вяжущие" Европейского комитета по стандартизации (CEN), секретариат которого ведет AFNOR.
Перевод с английского языка (en).
Официальные экземпляры европейского регионального стандарта, на основе которого подготовлен настоящий межгосударственный стандарт, европейские региональные стандарты, на которые даны ссылки, имеются в Федеральном информационном фонде технических регламентов и стандартов.
Сведения о соответствии межгосударственных стандартов ссылочным европейским региональным стандартам приведены в дополнительном
приложении ДА.
Степень соответствия - идентичная (IDT)
5
Приказом Федерального агентства по техническому регулированию и метрологии от 28 августа 2013 г. N 739-ст межгосударственный стандарт ГОСТ EN 13588-2013 введен в действие в качестве национального стандарта Российской Федерации с 1 января 2015 г.
6 ВВЕДЕН ВПЕРВЫЕ
Информация об изменениях к настоящему стандарту публикуется в ежегодно издаваемом информационном указателе "Национальные стандарты", а текст изменений и поправок - в ежемесячно издаваемом информационном указателе "Национальные стандарты". В случае пересмотра (замены) или отмены настоящего стандарта соответствующее уведомление будет опубликовано в ежемесячно издаваемом информационном указателе "Национальные стандарты". Соответствующая информация, уведомление и тексты размещаются также в информационной системе общего пользования - на официальном сайте Федерального агентства по техническому регулированию и метрологии в сети Интернет
Когезия является одним из показателей эксплуатационных характеристик битуминозных вяжущих. В соответствии с предполагаемым уровнем рабочих нагрузок необходимо использовать битуминозные вяжущие с большим значением когезии. Изначально когезию использовали для оценки поверхностного слоя дорожного покрытия, но ее также можно применять для оценки любого типа битуминозного вяжущего (чистого, модифицированного или разжиженного), который будет использован в различных областях дорожного строительства. Знание когезии позволяет выбирать тип битуминозного вяжущего с учетом предполагаемого объема транспортного потока и условий эксплуатации.
Настоящий стандарт устанавливает метод определения когезии битуминозного вяжущего и построения графика зависимости когезии от температуры.
Настоящий стандарт устанавливает метод определения когезии битумов и битуминозных вяжущих при температуре от минус 10 °C до плюс 80 °C, а также зависимость когезии от температуры.
Настоящий стандарт распространяется на чистые, модифицированные и разжиженные битумы. Для разжиженных битумов испытание может быть проведено на растворе, содержащем битуминозное вяжущее, или на вяжущем, из которого был удален разжижитель. Для битумных эмульсий испытание проводят на остатке, полученном после восстановления; метод восстановления должен быть указан в протоколе.
Применение настоящего стандарта может быть связано с использованием опасных материалов, операций и оборудования. В настоящем стандарте не предусмотрено рассмотрение всех вопросов обеспечения безопасности, связанных с его применением. Пользователь настоящего стандарта несет ответственность за установление соответствующих правил по технике безопасности и охране здоровья, а также определяет целесообразность применения законодательных ограничений перед его использованием.
Для применения настоящего стандарта необходимы следующие ссылочные документы. Для недатированных ссылок применяют последнее издание ссылочного документа (включая все его изменения).
EN 58 Bitumen and bituminous binders - Sampling bituminous binders (Битум и битуминозные вяжущие. Отбор проб битуминозных вяжущих)
EN 12594 Bitumen and bituminous binders - Preparation of test samples (Битум и битуминозные вяжущие. Приготовление образцов для испытания)
В настоящем стандарте применен следующий термин с соответствующим определением:
3.1 когезия (cohesion): Значение энергии на единицу площади, необходимое для полного отрыва куба от подставки, предварительно приклеенного с помощью битуминозного вяжущего.
Примечание - Если куб остается приклеенным к подставке после упругого смещения, измеренная при этом энергия всегда меньше истинного значения когезии. Поэтому такой результат подтверждает, что значение когезии битуминозного вяжущего выше установленного.
В настоящем стандарте применены следующие обозначения:
4.1

- угол, показываемый указателем после запуска маятника и столкновения с кубом, приклеенным к подставке битуминозным вяжущим.
4.2

- угол, показываемый указателем после запуска маятника и столкновения с кубом, установленным на подставку, но не приклеенным к ней битуминозным вяжущим.
4.3 E - энергия, необходимая для смещения куба, приклеенного к подставке битуминозным вяжущим.
4.4 E' - энергия, необходимая для смещения куба, установленного на чистую подставку, но не приклеенного к ней битуминозным вяжущим.
4.5 Cm - максимальное значение когезии в верхней части кривой.
4.6 Tm - температура испытания, при которой достигается максимальное значение когезии.
4.7 m - масса маятника.
4.8 g - ускорение свободного падения.
4.9 r - радиус центра тяжести маятника.
4.10 s - площадь разрушения.
4.11 T - температура проведения испытания.
4.12 C - когезия битуминозного вяжущего при установленной температуре.
Стальной куб со стороной 10 мм фиксируют на стальной подставке с помощью пленки битуминозного вяжущего толщиной 1 мм.
Установку нагревают до температуры испытания, затем куб смещают, ударяя по нему маятником. Энергию, поглощенную при разрыве пленки битуминозного вяжущего, вычисляют по углу колебания маятника

. Испытание проводят не менее чем при шести значениях температуры, охватывающей максимум когезии битуминозного вяжущего (см. рисунок 1).
Рисунок 1 - Зависимость когезии от температуры
6.1 Прибор для определения когезии, состоящий из деталей, приведенных в 6.1.1 -
6.1.4:
6.1.1 Основание, установленное горизонтально с помощью винтов регулировки высоты и пузырькового указателя уровня, снабженное следующим оборудованием:
- регулируемыми быстро освобождаемыми зажимами для удержания испытательной установки на основании;
- двумя вертикальными опорами, прикрепленными к основанию, поддерживающими маятник;
- тормозным устройством маятника для фиксирования в исходном положении под углом 4° +/- 1° к вертикали;
- съемным защитным каркасом, позволяющим маятнику свободно колебаться во время удержания смещенного куба.
6.1.2 Ударный маятник формой и размерами в соответствии с
рисунком 2, способный свободно колебаться на горизонтальной оси, закрепленный на опорах с помощью шариковых подшипников. Крепления подшипников устанавливают так, чтобы ударный край маятника мог быть точно отрегулирован для свободных колебаний на соответствующей высоте по отношению к образцу.
a) Масса маятника - (1925 +/- 95) г.
Примечание - Масса маятника должна быть указана в протоколе.
b) Радиус в точке удара - (500 +/- 1) мм.
c) Расстояние от центра тяжести маятника до оси - (295 +/- 2) мм.
6.1.3 Указатель на опорах маятника, перемещаемый маятником и удерживаемый регулируемым стопорным устройством в точке максимальной амплитуды колебаний до тех пор, пока не будет возвращен в исходное положение вручную.
Указатель должен быть снабжен круговой шкалой с ценой деления 0,5° и нулевой отметкой в нижнем положении равновесия маятника.
Примечание - Некоторые шкалы могут быть градуированы от 0° до 400° с ценой деления 0,5°.
Если нет других указаний, предельные отклонения должны быть
+/- 1 мм. Радиус в точке удара составляет (500 +/- 1) мм
Рисунок 2 - Ударный маятник
6.1.4 Стальной куб и подставка для него, имеющие на поверхности зазубрины, покрываемые битуминозным вяжущим. Форма и размеры стального куба и подставки для него приведены на
рисунках 3 -
5.
Если нет других указаний, предельные отклонения
должны быть +/- 1 мм и +/- 0,5°
Если нет других указаний, предельные отклонения
должны быть +/- 1 мм и +/- 0,5°
Рисунок 4 - Подставка для куба
Если нет других указаний, предельные отклонения
должны быть +/- 1 мм и +/- 0,5°
Рисунок 5 - Типичная форма зазубрин куба и подставки
Масса куба должна быть (9,0 +/- 0,5) г.
Форма зазубрин не регламентирована, могут быть использованы различные конфигурации, не нарушающие сцепление битуминозного вяжущего с кубом и подставкой при проведении испытания.
Примечание - Для каждой температуры испытания рекомендуют использовать не менее 6 установок из куба, приклеенного к подставке с помощью битуминозного вяжущего; обычно проводят испытания не менее чем при трех разных температурах для определения зависимости когезии от температуры. Следовательно, необходимо 18 установок.
6.2 Термостат, поддерживающий температуру на 60 °C - 85 °C выше температуры размягчения испытуемого образца с точностью до 5 °C.
6.3 Камера с регулируемой температурой, воздушная или жидкостная баня, поддерживающая установленную температуру в пределах +/- 1,0 °C в диапазоне от минус 10 °C до плюс 80 °C.
6.4 Устройство измерения температуры в камере с регулируемой температурой с ценой деления 0,2 °C или менее.
6.5 Другая аппаратура, включая кисть, шпатель и нож.
Примечание - Готовят установки не менее чем для восьми температур испытания.
7.1 Подготовка кубов и подставок для них
Кубы и подставки должны быть чистыми. Их моют подходящим растворителем, затем проверяют. При необходимости для удаления загрязнения из зазубрин используют небольшую кисть
(6.5).
Ополаскивают кубы и подставки водным раствором этанола, сушат в термостате и проверяют отсутствие повреждений.
Предварительно нагревают кубы и подставки в термостате при температуре (60 +/- 5) °C в течение не менее 60 мин. Если кубы и подставки нагревают до более высокой температуры (см.
примечание к 7.3.2), регистрируют температуру.
Для разжиженного битуминозного вяжущего куб и подставку можно нагревать в течение 30 мин. Если битуминозное вяжущее имеет температуру размягчения выше 60 °C по стандарту
[1], куб и подставка должны быть нагреты до температуры размягчения с точностью до 5 °C.
7.2 Подготовка битуминозного вяжущего
7.2.1 Проба должна быть однородной, представительной и отобрана в соответствии с EN 58.
7.2.2 Пробу готовят в соответствии с EN 12594.
7.2.3 Нагревают образец до температуры, при которой его можно нанести на зазубренную поверхность предварительно нагретых куба и подставки (см.
примечания 1 и
2). Продолжительность и температура нагревания должны соответствовать указаниям поставщиков. При отсутствии ограничений нагревают образец до температуры не более чем на 90 °C выше температуры размягчения по кольцу и шару. Регистрируют время и температуру нагревания.
Важно при проведении испытания не нагревать битуминозные вяжущие дольше необходимого и готовить битуминозные вяжущие каждый раз одним и тем же способом. При невыполнении данных условий могут быть получены недостоверные результаты, особенно для битуминозных вяжущих, модифицированных полимерами.
Примечания
1 Допускается проводить испытания разжиженных битумов без нагревания. Сильно модифицированные битумы требуют нагрева до температуры, при которой они становятся преимущественно вязко-текучими. Подходящим для нанесения битуминозных вяжущих является диапазон температур на 40 °C - 50 °C выше температуры размягчения по кольцу и шару. Целесообразно нагревать куб и подставку в том же термостате, что и битуминозное вяжущее.
2 Термическая характеристика образца может влиять на результаты настоящего испытания.
7.3 Подготовка установок для испытания
7.3.1 Готовят необходимое количество установок для каждой температуры.
7.3.2 Выполняют следующую процедуру в течение не более 10 мин.
Берут по одному предварительно нагретому кубу и подставке. Небольшим шпателем наносят предварительно нагретый образец на поверхности с зазубринами куба и подставки. Общий объем образца (не менее 0,2 см3) должен обеспечивать заполнение зазора между кубом и подставкой в установке. Как можно быстрее помещают куб на подставку с зазубринами, обращенными друг к другу, и ребрами, параллельными ребрам подставки, которые будут параллельны плоскости движения маятника, при размещении установки в зажимы аппарата.
Прижимают куб к подставке, чтобы выдавить избыток образца, при этом ребра куба должны соприкасаться с подставкой.
Примечание - Для эластичных битуминозных вяжущих характерно накопление напряжения в пленке битума, приводящее к плохой повторяемости испытаний. В исключительных случаях куб может быть поднят до начала испытания. Чтобы избежать этой проблемы, куб, подставку и образец нагревают до более высокой температуры. Допускается на верхнюю поверхность куба помещать груз массой приблизительно 500 г.
7.3.3 Проводят процедуру по
7.3.2 для каждой установки.
7.3.4 Удаляют избыток образца с поверхностей куба нагретым ножом. При необходимости очищают поверхность куба, по которой ударит маятник, фильтровальной бумагой, слегка смоченной растворителем. Растворитель не должен попадать на открытую пленку битуминозного вяжущего.
7.4 Хранение установок
Помещают установки в камеру с регулируемой температурой при температуре испытания на 1,5 - 4,0 ч - для жидкостной бани и на 3 - 15 ч - для воздушной бани.
7.5 Настройка маятника
Помещают аппарат для измерения когезии на твердую устойчивую поверхность и выравнивают. Следят, чтобы ударный край маятника не имел повреждений и был прямым. При необходимости проверяют установку нуля шкалы, отпуская маятник свободно висеть в нижнем положении, при этом нуль шкалы должен находиться в пределах 0° + 0,5° от маятника. Регулируют зажимы так, чтобы установка находилась в положении, при котором ударный край маятника был параллелен нижней поверхности куба и по всей длине куба был на (2,0 +/- 0,2) мм выше верхнего края зазубрин подставки (см.
приложение B).
Устанавливают маятник в "верхнее" положение.
Устанавливают указатель в "верхнее" положение до касания маятника.
Несколько раз отпускают маятник без испытательной установки до получения в течение шести последовательных колебаний постоянного угла колебания маятника не менее 155,0° +/- 0,5°. При необходимости для выполнения этого требования регулируют тормозное устройство.
В "верхнем" положении маятник с указателем находятся под углом 4° +/- 1° к вертикали. При этом не требуется импульс для запускания маятника.
Удерживающее устройство указателя чувствительно к колебаниям температуры, поэтому комнатная температура должна быть от 18 °C до 28 °C при подготовке аппаратуры и проведении испытания. При таких условиях рассеяние энергии трения при колебании маятника без образца незначительно по сравнению с энергией поглощения при разрушении пленки битуминозного вяжущего при испытании.
7.6 Выбор температуры испытания
Выбирают три значения температуры испытания с интервалом 10 °C в соответствии с консистенцией битуминозного вяжущего, наблюдаемой при комнатной температуре, например 10 °C, 20 °C и 30 °C - для разжиженных битуминозных вяжущих,
30 °C, 40 °C и 50 °C - для стабилизированных чистых и модифицированных битуминозных вяжущих.
Затем выбирают дополнительные значения температуры, обеспечивающие:
a) один результат не более 0,4 Дж/см
2 на низкотемпературной и высокотемпературной сторонах кривой зависимости когезии от температуры или, если не было получено значение 0,4 Дж/см
2, определяют когезию при температуре минус 10 °C и плюс 80 °C;
b) три результата с предельным отклонением 5 °C от температуры, при которой получена максимальная когезия;
c) не менее одного результата между максимальным значением и в пределах от 40% до 60% максимального значения на низкотемпературной и высокотемпературной сторонах кривой. Затем выбирают температуры на низкотемпературной и высокотемпературной сторонах кривой, при которых значение когезии составляет 0,5 Дж/см
2. Если невозможно достичь вышеуказанных температур, определяют по одному результату на низкотемпературной и высокотемпературной сторонах кривой при температурах, составляющих половину разности между максимальным и минимальным значениями когезии, определенными по
перечислению a).
Примечание - В зависимости от цели испытания для ранее испытанного битуминозного вяжущего может быть выбран другой температурный интервал, отличающийся от 10 °C, и другой диапазон температур.
7.7 Измерение
Устанавливают маятник в "верхнее" положение и указатель так, чтобы он касался маятника.
Открывают дверцу защитного каркаса.
Перемещают испытательную установку из камеры с регулируемой температурой в зажимное устройство, следя за тем, чтобы куб не двигался относительно подставки. Закрывают дверцу защитного каркаса и отпускают маятник. Время, необходимое для проведения указанной процедуры, начиная с перемещения установки, должно быть не более 20 с, все испытания при одной температуре должны быть проведены в течение 10 мин.
Записывают угол колебания

с точностью до 0,5°.
Вынимают смещенный куб и подставку из защитного каркаса и проверяют поверхности, контактировавшие с битуминозным вяжущим, на наличие нарушения когезии. Если видимая площадь чистого металла на кубе или подставке более 5 мм2, результат не учитывают и повторяют испытание.
Если на ударном крае маятника обнаружены прилипшие частицы битуминозного вяжущего, их удаляют фильтровальной бумагой, слегка смоченной растворителем.
Возвращают маятник и указатель в "верхнее" положение.
Меняют использованную подставку на чистую новую и помещают только что испытанный куб на эту подставку чистой стороной вниз.
Отпускают маятник и записывают угол колебания маятника

с точностью до 0,5°.
Повторяют испытания на других установках и записывают углы

,

,

,

.
7.8 Особые меры предосторожности
Разность между результатами последовательных измерений с образцом битуминозного вяжущего и без него является когезией. Для достижения оптимальной точности испытания проводят как можно быстрее одно за другим не более чем через 2 мин.
При температуре, близкой к максимальной когезии, при разрушении битуминозного вяжущего после удара вяжущее может оставаться на подставке. Если маятник касается битума, уменьшается угол колебания. Необходимо это учитывать, чтобы избежать ошибок. В этом случае повторяют испытание при другой температуре.
Указатель должен быть параллелен шкале и находиться на расстоянии приблизительно 5 мм от нее. Показания указателя снимают с постоянного расстояния от шкалы, приблизительно равного 500 мм, при освещении, не дающем тень от указателя на шкалу. Не следует допускать ошибки вследствие параллакса.
8. Оформление результатов
В протоколе испытания
(приложение A) указывают значения углов колебания маятника

(с образцом) и

(без образца) в градусах.
Вычисляют энергию E, Дж, поглощенную при ударе, по формуле

(1)
Не учитывают поправку на угол исходного положения маятника, равный 4°.
Вычисляют энергию E', Дж, разрушения битуминозного вяжущего по формуле

(2)
Вычисляют когезию C, Дж/см2, по формуле

(3)
где
s - площадь разрушения. В соответствии с размерами куба
(рисунок 3) и более точно в соответствии с площадью контакта с битуминозным вяжущим
s = 1 см
2.
Примечание - g - это ускорение свободного падения, равное 9,81 м/с2.
Каждый угол

и

преобразуют в значения энергии
E и
E' (Дж).
Среднее значение E и E' четырех или шести испытаний (отпусканий маятника) определяют для одной температуры испытания.
Наносят результаты испытаний при использованных температурах на график: по оси абсцисс откладывают температуру, по оси ординат - когезию. Проводят плавную кривую по нанесенным точкам и определяют максимальное значение когезии Cm и соответствующее ей значение температуры Tm.
Примечание - Для того чтобы не проводить каждый раз расчеты для конкретного прибора, следует составить таблицу соответствия угла

и энергии
E.
Представленные данные прецизионности в настоящее время являются наиболее точными до получения результатов межлабораторных испытаний.
9.1 Чистые битумы
Повторяемость двух результатов последовательных испытаний, полученных одним оператором на одной и той же аппаратуре при постоянных условиях испытания на идентичных образцах при нормальном и правильном проведении испытания, не должна отличаться более чем на 0,06 Дж/см2.
Воспроизводимость двух результатов испытаний, полученных разными операторами в разных лабораториях на идентичных образцах при нормальном и правильном проведении испытания, не должна отличаться более чем на 0,18 Дж/см2.
9.2 Модифицированные полимерами битумы
Повторяемость двух результатов последовательных испытаний, полученных одним оператором на одной и той же аппаратуре при постоянных условиях испытания на идентичных образцах при нормальном и правильном проведении испытания, не должна отличаться более чем на 0,10 Дж/см2.
Воспроизводимость двух результатов испытаний, полученных разными операторами в разных лабораториях на идентичных образцах при нормальном и правильном проведении испытания, не должна отличаться более чем на 0,36 Дж/см2.
Протокол испытания должен содержать:
a) тип и полную идентификацию испытуемого образца;
b) обозначение настоящего стандарта;
c) температуру проведения испытания;
e) любое отклонение от методики испытания;
f) подтверждение того, что термическую характеристику образца можно получить в лаборатории;
g) массу маятника;
h) дату проведения испытания.
(справочное)
ФОРМА ПРОТОКОЛА ИСПЫТАНИЯ
Тип битума: | N опыта | Температура, °C | Температура, °C |
Дата: | С образцом | Без образца | E - E' | С образцом | Без образца | E - E' |
Температура в лаборатории: | | E | | E' | | E | | E' |
Заметки: | 1 | | | | | | | | | | |
2 | | | | | | | | | | |
3 | | | | | | | | | | |
Ф.и.о. ответственного за испытание: | 4 | | | | | | | | | | |
5 | | | | | | | | | | |
6 | | | | | | | | | | |
| Средняя энергия, Дж | | Средняя энергия, Дж | |
Подпись: | Когезия, Дж/см2 | | Когезия, Дж/см2 | |
N опыта | Температура, °C | Температура, °C | Температура, °C |
С образцом | Без образца | E - E' | С образцом | Без образца | E - E' | С образцом | Без образца | E - E' |
| E | | E' | | E | | E' | | E | | E' |
1 | | | | | | | | | | | | | | | |
2 | | | | | | | | | | | | | | | |
3 | | | | | | | | | | | | | | | |
4 | | | | | | | | | | | | | | | |
5 | | | | | | | | | | | | | | | |
6 | | | | | | | | | | | | | | | |
| Средняя энергия, Дж | | Средняя энергия, Дж | | Средняя энергия, Дж | |
Когезия, Дж/см2 | | Когезия, Дж/см2 | | Когезия, Дж/см2 | |
N опыта | Температура, °C | Температура, °C | Температура, °C |
С образцом | Без образца | | С образцом | Без образца | | С образцом | Без образца | |
| E | | E' | E - E' | | E | | E' | E - E' | | E | | E' | E - E' |
1 | | | | | | | | | | | | | | | |
2 | | | | | | | | | | | | | | | |
3 | | | | | | | | | | | | | | | |
4 | | | | | | | | | | | | | | | |
5 | | | | | | | | | | | | | | | |
6 | | | | | | | | | | | | | | | |
| Средняя энергия, Дж | | Средняя энергия, Дж | | Средняя энергия, Дж | |
Когезия, Дж/см2 | | Когезия, Дж/см2 | | Когезия, Дж/см2 | |
(обязательное)
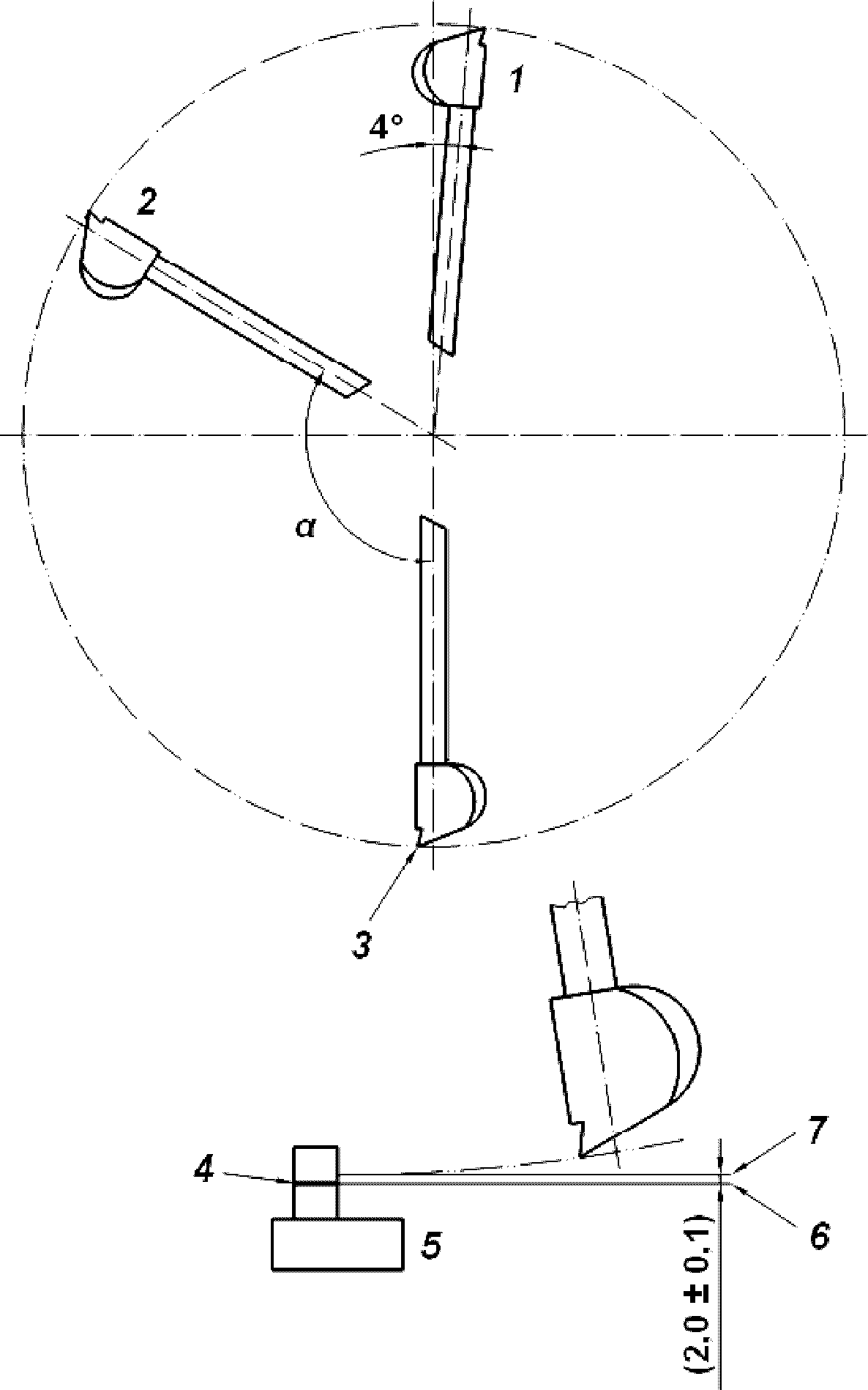
СХЕМА ПРОВЕДЕНИЯ ИСПЫТАНИЯ
1 - исходное положение; 2 - предел колебания
после удара; 3 - нулевой угол; 4 - линия удара куба;
5 - подставка (
рисунок 4 настоящего стандарта); 6 - верхний
край зазубрин подставки для куба; 7 - нижний край маятника;

- угол после удара (со связующим веществом)
Рисунок B.1 - Принцип действия маятника
(справочное)
СВЕДЕНИЯ О СООТВЕТСТВИИ МЕЖГОСУДАРСТВЕННЫХ СТАНДАРТОВ
ССЫЛОЧНЫМ ЕВРОПЕЙСКИМ РЕГИОНАЛЬНЫМ СТАНДАРТАМ
Таблица ДА.1
Обозначение и наименование ссылочного европейского регионального стандарта | Степень соответствия | Обозначение и наименование межгосударственного стандарта |
EN 58:2004 Битум и битуминозные вяжущие. Отбор проб битуминозных вяжущих | - | |
EN 12594:2007 Битум и битуминозные вяжущие. Приготовление образцов для испытания | - | <*> |
<*> Соответствующий межгосударственный стандарт отсутствует. До его утверждения рекомендуется использовать перевод на русский язык данного стандарта. Перевод данного стандарта находится в Федеральном информационном фонде технических регламентов и стандартов. |
| EN 1427 | Bitumen and bituminous binders - Determination of the softening point - Ring and Ball method (Битум и битуминозные вяжущие. Определение температуры размягчения. Метод кольца и шара) |
[2] | EN 13808 | Bitumen and bituminous binders - Terminology (Битум и битуминозные вяжущие. Термины) |