Главная // Актуальные документы // ГОСТ (Государственный стандарт)СПРАВКА
Источник публикации
М.: Стандартинформ, 2012
Примечание к документу
Документ
введен в действие с 1 сентября 2012 года.
Название документа
"ГОСТ EN 12089-2011. Межгосударственный стандарт. Изделия теплоизоляционные, применяемые в строительстве. Метод определения характеристик изгиба"
(введен в действие Приказом Росстандарта от 17.04.2012 N 45-ст)
"ГОСТ EN 12089-2011. Межгосударственный стандарт. Изделия теплоизоляционные, применяемые в строительстве. Метод определения характеристик изгиба"
(введен в действие Приказом Росстандарта от 17.04.2012 N 45-ст)
агентства по техническому
регулированию и метрологии
от 17 апреля 2012 г. N 45-ст
МЕЖГОСУДАРСТВЕННЫЙ СТАНДАРТ
ИЗДЕЛИЯ ТЕПЛОИЗОЛЯЦИОННЫЕ, ПРИМЕНЯЕМЫЕ В СТРОИТЕЛЬСТВЕ
МЕТОД ОПРЕДЕЛЕНИЯ ХАРАКТЕРИСТИК ИЗГИБА
Thermal insulating products in building applications.
Method for determination of bending behaviour
(EN 12089:1997, IDT)
ГОСТ EN 12089-2011
Дата введения
1 сентября 2012 года
Цели, основные принципы и основной порядок проведения работ по межгосударственной стандартизации установлены
ГОСТ 1.0-92 "Межгосударственная система стандартизации. Основные положения" и МСН 1.01-01-2009 "Система межгосударственных нормативных документов в строительстве. Основные положения".
1. Подготовлен Некоммерческим партнерством "Производители современной минеральной изоляции "Росизол" на основе аутентичного перевода на русский язык европейского регионального стандарта, указанного в
пункте 4.
2. Внесен Техническим комитетом по стандартизации ТК 465 "Строительство".
3. Принят Межгосударственной научно-технической комиссией по стандартизации, техническому нормированию и оценке соответствия в строительстве (МНТКС) (дополнение N 1 к приложению Д протокола N 38 от 18 марта 2011 г.).
За принятие стандарта проголосовали:
┌───────────────────┬──────────┬──────────────────────────────────────────┐
│ Краткое │Код страны│ Сокращенное наименование национального │
│наименование страны│ по МК │ органа государственного управления │
│ по МК (ISO 3166) │(ISO 3166)│ строительством │
│ 004-97 │ 004-97 │ │
├───────────────────┼──────────┼──────────────────────────────────────────┤
│Азербайджан │ AZ │Госстрой │
│Армения │ AM │Министерство градостроительства │
│Казахстан │ KZ │Агентство по делам строительства и │
│ │ │жилищно-коммунального хозяйства │
│Киргизия │ KG │Госстрой │
│Молдова │ MD │Министерство строительства и регионального│
│ │ │развития │
│Российская │ RU │Департамент регулирования градостроитель- │
│Федерация │ │ной деятельности Министерства региональ- │
│ │ │ного развития │
│Украина │ UA │Министерство регионального развития │
│ │ │строительства и жилищно-коммунального │
│ │ │хозяйства │
└───────────────────┴──────────┴──────────────────────────────────────────┘
4. Настоящий стандарт идентичен европейскому региональному стандарту EN 12089:1997 Thermal insulating products for building applications - Determination of bending behaviour (Теплоизоляционные изделия, применяемые в строительстве. Определение характеристик изгиба).
Наименование настоящего стандарта изменено относительно наименования европейского регионального стандарта для приведения в соответствие с ГОСТ 1.5
(подраздел 3.6).
Перевод с английского языка (en).
Сведения о соответствии межгосударственных стандартов ссылочным европейским региональным стандартам приведены в дополнительном
Приложении ДА.
Степень соответствия - идентичная (IDT).
5.
Приказом Федерального агентства по техническому регулированию и метрологии от 17 апреля 2012 г. N 45-ст межгосударственный стандарт ГОСТ EN 12089-2011 введен в действие в качестве национального стандарта Российской Федерации с 1 сентября 2012 г.
6. Введен впервые.
Информация о введении в действие (прекращении действия) настоящего стандарта и изменений к нему публикуется в указателе "Национальные стандарты".
Информация об изменениях к настоящему стандарту публикуется в указателе (каталоге) "Национальные стандарты", а текст изменений - в информационных указателях "Национальные стандарты". В случае пересмотра или отмены настоящего стандарта соответствующая информация будет опубликована в информационном указателе "Национальные стандарты".
Настоящий стандарт применяют, если заключенные контракты или другие согласованные условия предусматривают применение теплоизоляционных материалов с характеристиками, гармонизированными с требованиями европейских региональных стандартов, а также в случаях, когда это технически и экономически целесообразно.
Настоящий стандарт распространяется на теплоизоляционные изделия (далее - изделия), применяемые в строительстве, и устанавливает требования к средствам испытания и методике определения характеристик изгиба полноразмерных изделий
(метод A) и образцов
(метод B) под действием сил, приложенных в трех точках.
При испытании в соответствии с данным методом определяют прочность при изгибе и прогиб изделий при заданной нагрузке.
Данный метод может быть использован для определения сопротивления изделий напряжению изгиба при их транспортировании и применении.
В настоящем стандарте использованы ссылки на следующие стандарты:
EN 822:1994 Thermal insulating products for building applications - Determination of length and width (Теплоизоляционные изделия, применяемые в строительстве. Определение длины и ширины)
EN 823:1994 Thermal insulating products for building applications - Determination of thickness (Теплоизоляционные изделия, применяемые в строительстве. Определение толщины)
EN 12085:1997 Thermal insulating products for building applications - Determination of linear dimensions of test specimens (Теплоизоляционные изделия, применяемые в строительстве. Определение линейных размеров образцов для испытаний)
ISO 572-1:1994 Accuracy (trueness and precision) of measurement methods and results - Part 1: General principles and definitions [Точность (правильность и презиционность) методов измерения и результаты измерения. Часть 1. Общие принципы и определения]
ISO 5725-2:1994 Accuracy (trueness and precision) of measurement methods and results - Part 2: Basic method for the determination of repeatability and reproducibility of a standard measurement method [Точность (правильность и презиционность) методов измерения и результаты измерения. Часть 2. Основной метод определения повторяемости и воспроизводимости стандартного метода измерения].
В настоящем стандарте применены следующие термины с соответствующими определениями:
3.1. Прочность при изгибе (bending strength)

: максимальное напряжение, возникающее в образце под действием максимальной силы

, зарегистрированной при изгибе.
3.2. Напряжение при изгибе (bending stress)

: напряжение, возникающее в образце под действием силы

в момент прогиба образца X.
3.3. Прогиб (deflection) X: вертикальный прогиб образца в середине пролета под действием силы

, измеренный в точке приложения силы.
Метод испытания заключается в приложении к поверхности прямоугольного образца, расположенного на двух опорах, силы в осевом направлении при заданной скорости с помощью нагружающего валика. Силу

, Н, прикладывают к образцу в середине между опорами (см. рисунок 1).
a) Прочность при изгибе
b) Прогиб
L - расстояние между опорами, мм
Рисунок 1. Общая схема испытания на изгиб
5.1. Испытательная машина
Испытательная машина с заданным диапазоном сил и перемещением подвижной части; машина должна быть снабжена нагружающим валиком и регулируемыми опорами.
Скорость приложения нагрузки к образцу должна быть постоянной.
5.1.1. Опоры
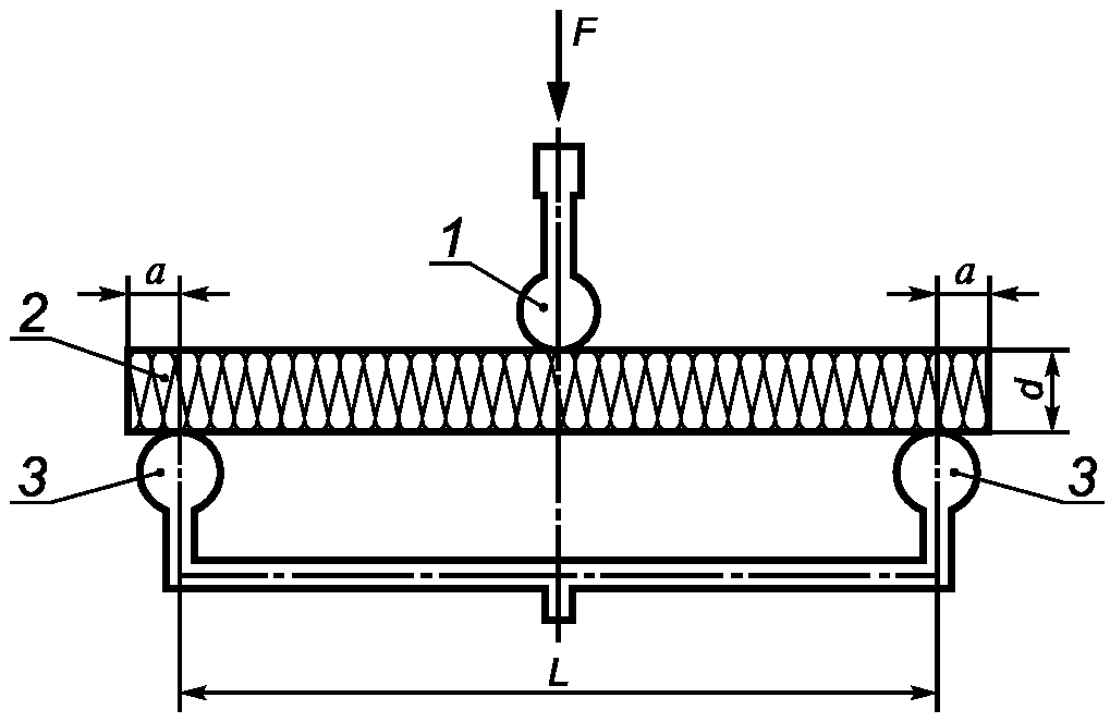
Опоры для образца должны состоять из двух регулируемых цилиндрических валиков, расположенных в одной горизонтальной плоскости параллельно друг другу. Диаметр опор должен быть равен (80 +/- 3) мм или (30 +/- 3) мм (см. рисунок 2). Длина опор должна быть равна ширине образца.
1 - нагружающий валик; 2 - образец толщиной d; 3 - опоры
Рисунок 2. Схема испытания по определению
характеристик изгиба
Расстояние L между опорами (см.
рисунок 2) должно регулироваться в диапазонах от 300 до 1200 мм
(метод A) и от 200 до 500 мм
(метод B).
5.1.2. Нагружающий валик
Форма и размеры нагружающего валика должны быть одинаковыми с формой и размерами опор. Нагружающий валик располагают в центре между опорами и параллельно им.
5.1.3. Пластины для распределения нагрузки
Для изделий, которые при испытании могут разрушиться в месте приложения нагрузки и в опорах, следует применять стальные пластины толщиной не менее 1 мм для равномерного распределения нагрузки. Ширина пластин должна быть (30 +/- 1) мм, длина - как минимум равна ширине образца.
5.2. Приборы для измерения прогиба и силы
5.2.1. Измерение прогиба
Испытательная машина должна быть снабжена прибором, позволяющим непрерывно измерять смещение нагружающего валика с погрешностью +/- 5% или +/- 0,1 мм, при этом выбирают меньшее значение. Измеренное смещение валика соответствует прогибу образца X.
5.2.2. Измерение силы
Датчик для измерения силы F, действующей на образец, расположенный на опорах во время испытания, должен быть прикреплен к нагружающему валику. Датчик должен быть таким, чтобы его собственная деформация, возникающая в процессе измерения, была пренебрежимо мала по сравнению с измеряемой или могла быть учтена при вычислении. Датчик должен обеспечивать непрерывное измерение силы с погрешностью +/- 1%.
Датчик применяют для одновременной записи силы F и прогиба X и построения кривой зависимости прогиба от силы в соответствии с
разделом 7.
6.1. Размеры образцов
В качестве образцов применяют полноразмерные изделия. Образцы должны иметь прямоугольную форму и следующие размеры:
- толщину, равную толщине изделия;
- длину, равную длине изделия, но не более 1300 мм;
- ширину, равную ширине изделия. Если возможности испытательной машины не позволяют применять образцы указанной ширины, то ширина образцов должна быть не менее 300 мм.
Образцы должны иметь прямоугольную форму и следующие размеры:
- толщину, равную толщине изделия, но не более 100 мм;
- длину, в пять раз превышающую номинальную толщину изделия, плюс 50 мм (но не более 550 мм);
- ширину - 150 мм.
Примечание. Размеры образцов, отличные от указанных выше, могут быть приведены в стандарте или технических условиях на изделие конкретного вида или установлены по договоренности между заинтересованными сторонами.
6.2. Число образцов
Число образцов должно быть указано в стандарте или технических условиях на изделие. При отсутствии стандарта или технических условий на изделие испытанию подвергают не менее трех образцов.
Примечание. При отсутствии стандарта или технических условий на изделие число образцов может быть согласовано между заинтересованными сторонами.
Если направление силы изгиба, действующей на изделие при его эксплуатации, неизвестно и/или на двух лицевых поверхностях изделия имеются поверхностные слои, облицовка и/или покрытия, то число образцов следует увеличить.
6.3. Подготовка образцов к испытанию
При подготовке к испытанию образцы должны сохранять структуру изделия, из которого их вырезают. Любые поверхностные слои, облицовки и/или покрытия следует сохранить.
6.4. Кондиционирование образцов
Образцы перед испытанием выдерживают не менее 6 ч при температуре (23 +/- 5) °C. В случае разногласий образцы выдерживают при температуре (23 +/- 2) °C и относительной влажности воздуха (50 +/- 5)% в течение времени, указанного в стандарте или технических условиях на изделие, но не менее 6 ч.
7. Методика проведения испытаний
7.1. Условия испытаний
Испытания проводят при температуре (23 +/- 5) °C. В случае разногласий испытание проводят при температуре (23 +/- 2) °C и относительной влажности воздуха (50 +/- 5)%.
7.2. Проведение испытаний
Измеряют длину и ширину полноразмерных изделий
(метод A) в соответствии с EN 822 и толщину в соответствии с EN 823.
Измеряют длину, ширину и толщину образцов с погрешностью не более +/- 1% в соответствии с EN 12085.
Расстояние L между центрами опор измеряют с погрешностью не более +/- 0,5% от значений:
- длины полноразмерного изделия минус 100 мм - для
метода A;
- длины, в пять раз превышающей номинальную толщину, - для
метода B.
Примечание. Другие значения расстояния между опорами L могут быть установлены в стандарте или технических условиях на изделие или согласованы между заинтересованными сторонами.
Образец (изделие) помещают симметрично относительно опор так, чтобы направление нагружения было перпендикулярно к продольной оси образца (изделия).
Регулируют скорость испытательной машины до 10 мм/мин с допуском +/- 10%.
Строят кривую зависимости прогиба X от силы F и отмечают максимальную силу

(см. рисунок 3).

- максимальная сила;

- сила, соответствующая прогибу X;

- прогиб при максимальной силе

; X - прогиб,
соответствующий силе

Рисунок 3. Кривая зависимости прогиба от силы
Отмечают характер разрушения образца (изделия).
8. Обработка и представление результатов испытаний
8.1. Общие положения
За результат испытания принимают среднеарифметическое значение результатов отдельных испытаний, выраженное тремя значащими цифрами.
Результаты испытания не могут быть экстраполированы для изделий другой толщины.
8.2. Прочность при изгибе
Прочность при изгибе

, вычисляют по формуле

, (1)
где

- приложенная максимальная сила, Н;
L - расстояние между опорами, мм;
b - ширина образца, мм;
d - толщина образца, мм.
8.3. Напряжение при изгибе и прогиб
Прогиб X и соответствующую ему силу

определяют по кривой зависимости прогиба от силы (см.
рисунок 3).
Напряжение при изгибе

, вычисляют по формуле

, (2)
где

- сила, соответствующая прогибу X, Н;
L - расстояние между опорами, мм;
b - ширина образца, мм;
d - толщина образца, мм.
Примечания.
1. Настоящий метод не предназначен для определения модуля упругости при изгибе.
2. Напряжение

не является постоянной величиной, а зависит от результатов испытания и параметров изделия. Данную характеристику не сравнивают с другими механическими свойствами изделия.
Приведенные ниже характеристики точности определения прочности при изгибе установлены на основе результатов "кругового испытания", при котором применялись аналогичные средства испытания и проводилась аналогичная подготовка образцов к испытанию:
- предел 95%-ной повторяемости

;
- предел 95%-ной воспроизводимости

.
Приведенные термины, относящиеся к характеристикам точности метода, соответствуют ISO 5725-1 и ISO 5725-2.
Отчет об испытаниях должен содержать:
a) ссылку на настоящий стандарт;
b) идентификацию изделия:
1) наименование изделия, предприятия-изготовителя или поставщика;
2) код маркировки изделия;
3) вид изделия;
4) вид упаковки;
5) форму поставки изделия в лабораторию;
6) наличие облицовки или покрытия;
7) другую информацию, например, номинальную толщину, номинальную плотность изделия;
c) методику проведения испытания:
1) подготовку к испытанию и порядок отбора образцов, например, кто и в каком месте проводил отбор образцов;
2) условия кондиционирования образцов;
3) любые отклонения от условий, указанных в
разделах 6 и
7;
4) дату проведения испытания;
5) общую информацию об испытании:
5.2) направление приложения силы во время испытания;
5.3) размеры испытуемых образцов;
5.4) расстояние между опорами;
5.5) пластины для распределения нагрузки (при их использовании);
5.6) расположение облицовки (или покрытия) относительно нагружающего валика;
6) обстоятельства, которые могли бы повлиять на результаты испытания.
Примечание. Сведения об оборудовании и о лаборанте, проводившем испытания, должны находиться в лаборатории, однако в отчете их не указывают;
d) результаты:
1) результаты отдельных испытаний по определению прочности при изгибе; соответствующего прогиба или напряжения при изгибе при заданном прогибе, или при прогибе, соответствующем данной нагрузке; среднеарифметические значения результатов испытания;
2) кривые зависимости значения прогиба от силы.
(справочное)
СВЕДЕНИЯ О СООТВЕТСТВИИ МЕЖГОСУДАРСТВЕННЫХ СТАНДАРТОВ
ССЫЛОЧНЫМ МЕЖДУНАРОДНЫМ И ЕВРОПЕЙСКИМ
РЕГИОНАЛЬНЫМ СТАНДАРТАМ
Таблица ДА.1
┌────────────────────────────┬────────┬───────────────────────────────────┐
│ Обозначение и наименование │Степень │ Обозначение и наименование │
│ ссылочного международного, │соответ-│ соответствующего │
│ европейского регионального │ствия │ межгосударственного стандарта │
│ стандарта │ │ │
├────────────────────────────┼────────┼───────────────────────────────────┤
│Теплоизоляционные изделия, │ │теплоизоляционные, применяемые в │
│применяемые в строительстве.│ │строительстве. Методы измерения │
│Определение длины и ширины │ │длины и ширины │
├────────────────────────────┼────────┼───────────────────────────────────┤
│Теплоизоляционные изделия, │ │теплоизоляционные, применяемые в │
│применяемые в строительстве.│ │строительстве. Методы измерения │
│Определение толщины │ │толщины │
├────────────────────────────┼────────┼───────────────────────────────────┤
│Теплоизоляционные изделия, │ │теплоизоляционные, применяемые в │
│применяемые в строительстве.│ │строительстве. Методы измерения │
│Определение линейных разме- │ │линейных размеров образцов, │
│ров образцов для испытаний │ │предназначенных для испытаний │
├────────────────────────────┼────────┼───────────────────────────────────┤
ИС МЕГАНОРМ: примечание.
│ISO 5725-1:1994 Точность │ IDT │ГОСТ ИСО 5725-1-2003 Точность │
│(правильность и презицион- │ │(правильность и прецизионность) │
│ность) методов измерения и │ │методов и результатов измерений. │
│результаты измерения. Часть │ │Часть 1. Основные положения и │
│1. Общие принципы и │ │определения │
│определения │ │ │
├────────────────────────────┼────────┼───────────────────────────────────┤
ИС МЕГАНОРМ: примечание.
│ISO 5725-2:1994 Точность │ IDT │ГОСТ ИСО 5725-2-2003 Точность │
│(правильность и презицион- │ │(правильность и прецизионность) │
│ность) методов измерения и │ │методов и результатов измерений. │
│результаты измерения. Часть │ │Часть 2. Основной метод определения│
│2. Основной метод определе- │ │повторяемости и воспроизводимости │
│ния повторяемости и воспро- │ │стандартного метода измерений │
│изводимости стандартного │ │ │
│метода измерения │ │ │
├────────────────────────────┴────────┴───────────────────────────────────┤
│ Примечание. В настоящей таблице использовано следующее условное│
│обозначение степени соответствия стандартов: │
│ IDT - идентичные стандарты. │
└─────────────────────────────────────────────────────────────────────────┘