Главная // Актуальные документы // ГОСТ (Государственный стандарт)СПРАВКА
Источник публикации
М.: Стандартинформ, 2012
Примечание к документу
Документ
введен в действие с 1 сентября 2012 года.
Название документа
"ГОСТ EN 12087-2011. Межгосударственный стандарт. Изделия теплоизоляционные, применяемые в строительстве. Методы определения водопоглощения при длительном погружении"
(введен в действие Приказом Росстандарта от 17.04.2012 N 39-ст)
"ГОСТ EN 12087-2011. Межгосударственный стандарт. Изделия теплоизоляционные, применяемые в строительстве. Методы определения водопоглощения при длительном погружении"
(введен в действие Приказом Росстандарта от 17.04.2012 N 39-ст)
агентства по техническому
регулированию и метрологии
от 17 апреля 2012 г. N 39-ст
МЕЖГОСУДАРСТВЕННЫЙ СТАНДАРТ
ИЗДЕЛИЯ ТЕПЛОИЗОЛЯЦИОННЫЕ, ПРИМЕНЯЕМЫЕ В СТРОИТЕЛЬСТВЕ
МЕТОДЫ ОПРЕДЕЛЕНИЯ ВОДОПОГЛОЩЕНИЯ ПРИ ДЛИТЕЛЬНОМ ПОГРУЖЕНИИ
Thermal insulating products in building applications.
Methods for determination of long term water absorption
by immersion
(EN 12087:1997, IDT)
ГОСТ EN 12087-2011
Дата введения
1 сентября 2012 года
Цели, основные принципы и основной порядок проведения работ по межгосударственной стандартизации установлены
ГОСТ 1.0-92 "Межгосударственная система стандартизации. Основные положения" и МСН 1.01-01-2009 "Система межгосударственных нормативных документов в строительстве. Основные положения".
1. Подготовлен Некоммерческим партнерством "Производители современной минеральной изоляции "Росизол" на основе аутентичного перевода на русский язык европейского регионального стандарта, указанного в
пункте 4.
2. Внесен Техническим комитетом по стандартизации ТК 465 "Строительство".
3. Принят Межгосударственной научно-технической комиссией по стандартизации, техническому нормированию и оценке соответствия в строительстве (МНТКС) (дополнение N 1 к приложению Д протокола N 38 от 18 марта 2011 г.).
За принятие стандарта проголосовали:
┌───────────────────┬──────────┬──────────────────────────────────────────┐
│ Краткое │Код страны│ Сокращенное наименование национального │
│наименование страны│ по МК │ органа государственного управления │
│ по МК (ISO 3166) │(ISO 3166)│ строительством │
│ 004-97 │ 004-97 │ │
├───────────────────┼──────────┼──────────────────────────────────────────┤
│Азербайджан │ AZ │Госстрой │
│Армения │ AM │Министерство градостроительства │
│Казахстан │ KZ │Агентство по делам строительства и │
│ │ │жилищно-коммунального хозяйства │
│Киргизия │ KG │Госстрой │
│Молдова │ MD │Министерство строительства и регионального│
│ │ │развития │
│Российская │ RU │Департамент регулирования градостроитель- │
│Федерация │ │ной деятельности Министерства региональ- │
│ │ │ного развития │
│Украина │ UA │Министерство регионального развития │
│ │ │строительства и жилищно-коммунального │
│ │ │хозяйства │
└───────────────────┴──────────┴──────────────────────────────────────────┘
4. Настоящий стандарт идентичен европейскому региональному стандарту EN 12087:1997 Thermal insulating products for building applications - Determination of long term water absorption by immersion (Теплоизоляционные изделия, применяемые в строительстве. Определение водопоглощения при длительном погружении).
В настоящем стандарте учтены изменения к указанному европейскому региональному стандарту, одобренные Европейским комитетом по стандартизации 17 августа 2006 г.
Наименование настоящего стандарта изменено относительно наименования европейского регионального стандарта для приведения в соответствие с ГОСТ 1.5
(подраздел 3.6).
Перевод с английского языка (en).
Сведения о соответствии межгосударственных стандартов ссылочным международным и европейским региональным стандартам приведены в дополнительном
Приложении Д.А.
Степень соответствия - идентичная (IDT).
5.
Приказом Федерального агентства по техническому регулированию и метрологии от 17 апреля 2012 г. N 39-ст межгосударственный стандарт ГОСТ EN 12087-2011 введен в действие в качестве национального стандарта Российской Федерации с 1 сентября 2012 г.
6. Введен впервые.
Информация о введении в действие (прекращении действия) настоящего стандарта и изменений к нему публикуется в указателе "Национальные стандарты".
Информация об изменениях к настоящему стандарту публикуется в указателе (каталоге) "Национальные стандарты", а текст изменений - в информационных указателях "Национальные стандарты". В случае пересмотра или отмены настоящего стандарта соответствующая информация будет опубликована в информационном указателе "Национальные стандарты".
Настоящий стандарт применяют, если заключенные контракты или другие согласованные условия предусматривают применение теплоизоляционных материалов с характеристиками, гармонизированными с требованиями европейских региональных стандартов, а также в случаях, когда это технически и экономически целесообразно.
Настоящий стандарт распространяется на теплоизоляционные изделия, применяемые в строительстве (далее - изделия), и устанавливает требования к средствам испытания и методикам определения водопоглощения при длительном погружении образцов в воду.
Настоящий стандарт устанавливает следующие методы:
-
метод 1 - частичное погружение образцов;
-
метод 2 - полное погружение образцов.
Испытание изделий по определению водопоглощения при длительном частичном погружении моделирует водопоглощение изделий при длительном воздействии воды в условиях строительной площадки.
Водопоглощение при длительном полном погружении не является характеристикой изделий в условиях строительной площадки, однако может применяться для некоторых изделий при их конкретном применении.
В настоящем стандарте использованы ссылки на следующие стандарты:
ISO 5725-2:1994 Accuracy (trueness and precision) of measurement methods and results - Part 2: Basic method for the determination of repeatability and reproducibility of a standard measurement method [Точность (правильность и прецизионность) методов и результатов измерений. Часть 2. Основной метод определения повторяемости и воспроизводимости стандартного метода измерений]
EN 12085:1997 Thermal insulating products for building applications - Determination of linear dimensions of test specimens (Теплоизоляционные изделия, применяемые в строительстве. Определение линейных размеров образцов для испытаний).
Настоящий стандарт не содержит терминов и соответствующих им определений.
4.1. Частичное погружение (метод 1)
Определяют водопоглощение по изменению массы образца, частично погруженного в воду на 28 сут.
Воду, удерживаемую на поверхности образца, но не поглощенную им, удаляют путем ее стекания
(метод 1A) или учитывают вычитанием значения первоначального водопоглощения
(метод 1B).
4.2. Полное погружение (метод 2)
Определяют водопоглощение по изменению массы образца, полностью погруженного в воду на 28 сут.
Воду, удерживаемую на поверхности образца, но не поглощенную им, удаляют путем ее стекания
(метод 2A) или учитывают вычитанием значения первоначального водопоглощения
(метод 2B).
5.1. Весы, обеспечивающие взвешивание образцов с погрешностью не более 0,1 г.
5.2. Емкость с водой, снабженная устройством для поддержания постоянного уровня воды в пределах +/- 2 мм; пригруз, удерживающий образец в заданном положении. Схемы испытаний приведены на рисунках 1 -
3. Подставки для образца не должны закрывать более чем на 15% площадь грани образца, погруженной в воду. Пригруз не должен изменять первоначальную форму образца.
1 - емкость с водой; 2 - пригруз, удерживающий образец
в частично погруженном положении; 3 - образец
Рисунок 1. Схема испытания по определению водопоглощения
1 - емкость с водой; 2 - пригруз, удерживающий образец
полностью погруженным в воду; 3 - образец
Рисунок 2. Схема испытания по определению водопоглощения
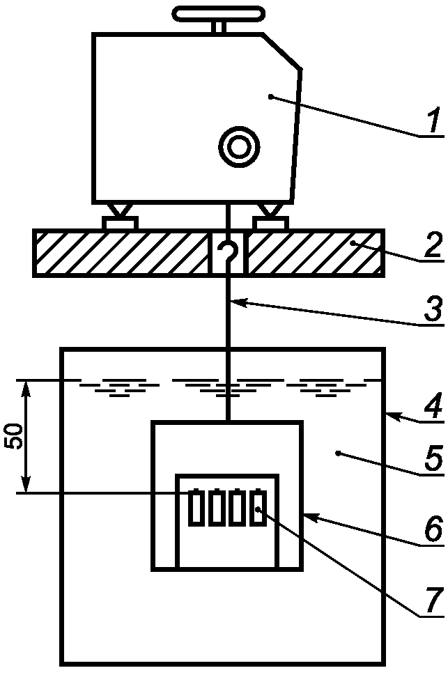
1 - весы; 2 - опорный столик для взвешивания;
3 - фиксирующий стержень; 4 - емкость с водой; 5 - вода;
6 - сетчатый контейнер из нержавеющего материала
с фиксирующим стержнем или пригрузом массой, достаточной
для предотвращения всплытия образца; 7 - образец
Рисунок 3. Схема испытания по определению водопоглощения
5.3. Водопроводная вода температурой (23 +/- 5) °C.
5.4. Приспособления для стекания воды (
методы 1А и
2А; см. рисунки 4a и 4b).
1 - подставка из нержавеющей стали; 2 - образец;
3 - перфорированная сетка из нержавеющей стали
Рисунок 4. Приспособления для стекания воды
6.1. Размеры образцов
Толщина образцов d должна быть равна толщине изделия.
Образцы должны иметь форму призмы с квадратным поперечным сечением размером стороны (200 +/- 1) мм.
6.2. Число образцов
Число образцов указывают в стандарте или технических условиях на изделие конкретного вида. Если число образцов не установлено, испытывают не менее четырех образцов.
Примечание. При отсутствии стандарта или технических условий на изделие число образцов может быть согласовано между заинтересованными сторонами.
6.3. Подготовка образцов к испытаниям
Образцы вырезают так, чтобы их боковые грани не совпадали с боковыми гранями изделия. При подготовке к испытанию образцы должны сохранять структуру изделия, из которого их вырезают. Любые оболочки, облицовки и/или покрытия должны быть сохранены.
Примечание. Специальные методы подготовки образцов (если необходимо) должны быть приведены в стандарте или технических условиях на изделие.
6.4. Кондиционирование образцов
Образцы перед испытанием выдерживают не менее 6 ч при температуре (23 +/- 5) °C. В случае разногласий образцы выдерживают при температуре (23 +/- 2) °C и относительной влажности воздуха (50 +/- 5)% в течение времени, указанного в стандарте или технических условиях на изделие, но не менее 6 ч.
7. Методика проведения испытаний
7.1. Условия испытаний
Испытания проводят при температуре (23 +/- 5) °C. В случае разногласий испытания проводят при температуре (23 +/- 2) °C.
7.2. Проведение испытаний
Выбранный метод испытаний указывают в стандарте или технических условиях на изделие.
Примечания.
1. При отсутствии стандарта или технических условий на изделие метод испытания согласовывают между собой заинтересованные стороны. Водопоглощение определяют через 28 сут после погружения образцов.
2. Если необходимо, водопоглощение определяют через 7 и/или 14 сут после погружения. Размеры образцов измеряют до начала испытаний с погрешностью не более 0,5 мм в соответствии с EN 12085.
3. Если после погружения образцов отмечены изменения их размеров, измерения необходимо повторить.
7.2.1. Водопоглощение при длительном частичном погружении (метод 1)
Образцы взвешивают с точностью до 0,1 г для определения первоначальной массы

.
При проведении испытания половину всех образцов помещают в емкость одной из лицевых граней вниз, а вторую половину образцов - противоположной гранью вниз.
Образец помещают в пустую емкость и при помощи пригруза прикладывают нагрузку, при которой образец при наливании воды был бы частично погружен в воду. В емкость осторожно наливают воду до тех пор, пока нижняя грань образца не будет находиться на (10 +/- 2) мм ниже уровня воды (см.
рисунок 1). Во время испытания уровень воды должен оставаться постоянным.
Через 28 сут образец извлекают из емкости с водой. Образец для удаления излишней влаги осушают в течение (10 +/- 0,5) мин, поместив его вертикально на сетку или подставку для стекания воды, установленную под углом 45°, как показано на
рисунках 4a или
4b. Затем образец вновь взвешивают для определения массы

.
Метод 1B (вычитание значения первоначального водопоглощения)
Образцы взвешивают с точностью до 0,1 г для определения первоначальной массы

.
При проведении испытания половину всех образцов помещают в емкость одной из лицевых граней вниз, а вторую половину образцов - противоположной гранью вниз.
Образец помещают в емкость с водой так, чтобы его нижняя грань была погружена на (10 +/- 2) мм ниже уровня воды. Через 10 с образец извлекают из резервуара, держа его горизонтально, и помещают в течение 5 с на пластмассовый поднос известной массы. Поднос с образцом взвешивают для определения массы образца с учетом первоначально поглощенной воды

.
Образец вторично помещают в емкость с водой и при помощи пригруза удерживают его частично погруженным в воду на (10 +/- 2) мм ниже уровня воды (см.
рисунок 1). Во время испытания уровень воды должен оставаться постоянным.
При проведении испытания половину всех образцов помещают в емкость одной из лицевых граней вниз, а вторую половину образцов - противоположной гранью вниз.
Через 28 сут образец извлекают из емкости, удерживая его в горизонтальном положении, и помещают в течение 5 с на пластмассовый поднос известной массы для определения массы

.
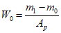
Метод 1B применяют в случае, если значение первоначального водопоглощения менее или равно 0,5 кг/м2. Значение первоначального водопоглощения

, определяют по формуле

, (1)
где

- первоначальная масса образца, определенная в
методе 1B, кг;

- масса образца с учетом первоначального водопоглощения
(метод 1B), кг;

- площадь грани образца, погруженной в воду, м2.
7.2.2. Водопоглощение при длительном полном погружении (метод 2)
Образцы взвешивают с точностью до 0,1 г для определения первоначальной массы

.
Образец помещают в пустую емкость и прикладывают нагрузку, которая должна удерживать образец полностью погруженным в воду. В емкость осторожно наливают воду до тех пор, пока верхняя грань образца не окажется ниже уровня воды на (50 +/- 2) мм (см.
рисунок 2). Во время испытания уровень воды должен оставаться постоянным.
Через 28 сут образец извлекают из емкости. Для удаления излишней влаги образец осушают в течение (10 +/- 0,5) мин, поместив его в вертикальном положении на сетку или подставку для стекания воды, установленную под углом 45°, как показано на
рисунках 4a или
4b. Затем образец вновь взвешивают для определения массы

.
Метод 2B (вычитание значения первоначального водопоглощения)
Образцы взвешивают с точностью до 0,1 г для определения первоначальной массы

.
Образец помещают в емкость с водой так, чтобы его верхняя грань находилась ниже уровня воды на (50 +/- 2) мм. Через 10 с образец извлекают из емкости и в течение 5 с, удерживая его в горизонтальном положении, помещают на пластмассовый поднос известной массы. Поднос с образцом взвешивают для определения массы образца

с учетом первоначально поглощенной воды.
Образец вновь помещают в емкость с водой и прикладывают нагрузку, удерживающую образец полностью погруженным в воду, при этом верхняя грань образца должна находиться ниже уровня воды на (50 +/- 2) мм (см.
рисунок 2).
Во время испытания уровень воды должен оставаться постоянным.
Через 28 сут образец извлекают из емкости, удерживая его в горизонтальном положении, и помещают в течение 5 с на пластмассовый поднос известной массы для определения массы

.
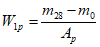
Метод 2B применяют в случае, если первоначальное водопоглощение менее или равно 0,5 кг/м2. Значение первоначального водопоглощения

, определяют по формуле

, (2)
где

- первоначальная масса образца, определенная в
методе 2B, кг;

- масса образца с учетом значения первоначального водопоглощения
(метод 2B), кг;

- общая площадь поверхности образца, находящегося в воде, м2.
Образцы взвешивают с точностью до 0,1 г для определения первоначальной массы

.
Определяют линейные размеры образцов

,

,

с точностью до 0,5 мм в соответствии с EN 12085.
Емкость наполняют водопроводной водой. Пустой сетчатый контейнер, погруженный в воду, взвешивают с точностью до 0,1 г (масса

).
Контейнер удаляют из воды и помещают в него горизонтально образцы так, чтобы после погружения в воду уровень воды над верхней гранью образцов был равен (50 +/- 2) мм. Во время испытания уровень воды в емкости должен оставаться постоянным. Контейнер с образцами погружают в емкость с водой и с помощью фиксирующего стержня прикрепляют его к весам. Образующиеся на образцах воздушные пузырьки удаляют щеткой или встряхиванием. Контейнер должен находиться на одном и том же уровне относительно уровня воды при всех его взвешиваниях.
Через 28 сут определяют массу погруженного в воду контейнера с образцами

с точностью до 0,1 г.
Измеряют линейные размеры образцов

,

,

с точностью до 0,5 мм.
8. Обработка результатов испытаний
8.1. Общие положения
За результат испытаний принимают среднеарифметическое значение результатов отдельных испытаний (в
методе 1 для изделий с разными лицевыми гранями вычисляют два средних значения).
Результаты испытаний не допускается распространять на изделия другой толщины.
Результаты, полученные при определении водопоглощения разными методами, не допускается сравнивать.
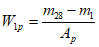
8.2. Водопоглощение при длительном частичном погружении
Водопоглощение при длительном частичном погружении каждого образца

, вычисляют по формулам:
- метод 1A:

; (3)
- метод 1B:

, (4)
где

- первоначальная масса образца, определенная в
методе 1A, кг;

- масса образца с учетом значения первоначального водопоглощения в
методе 1B, кг;

- масса образца после частичного погружения на 28 сут (
методы 1A и
1B), кг;

- площадь грани образца, погруженной в воду, м2.
Значение водопоглощения

округляют с точностью до 0,01 кг/м2.
8.3. Водопоглощение при длительном полном погружении
Водопоглощение при длительном полном погружении

в процентах по объему вычисляют по формулам:
- метод 2A:

; (5)
- метод 2B:

, (6)
где

- первоначальная масса образца, определенная
методом 2A, кг;

- масса образца с учетом значения первоначального водопоглощения, определенная в
методе 2B, кг;

- масса образца после полного погружения на 28 сут, определенная
методами 2A и
2B, кг;
V - первоначальный объем образца, м3;

- плотность воды, равная 1000 кг/м3.
Значение водопоглощения

округляют с точностью до 0,1% по объему.
Водопоглощение образца через 28 сут после погружения его в воду

в процентах по объему вычисляют по формуле

, (7)
где

- первоначальная масса образца, кг;

- масса пустого решетчатого контейнера, погруженного в воду, кг;

- масса образца и контейнера через 28 сут после их погружения в воду, кг;

- первоначальный объем образца, м3;

- объем образца через 28 сут после его погружения, м3;

- плотность воды, равная 1000 кг/м3.
Значение водопоглощения

округляют с точностью до 0,1% по объему.
На основании результатов "круговых испытаний", при которых применялись аналогичные средства испытаний и проводилась аналогичная подготовка образцов к испытаниям, установлены следующие характеристики точности метода определения водопоглощения при длительном частичном погружении образцов в воду:
- предел воспроизводимости R при вероятности 95% для
метода 1A 
;
- предел воспроизводимости R при вероятности 95% для
метода 1B 
.
Термины, относящиеся к точности метода, соответствуют ISO 5725-2.
Отчет об испытаниях должен содержать:
a) ссылку на настоящий стандарт;
b) идентификацию изделия:
1) наименование изделия, предприятия-изготовителя или поставщика;
2) код маркировки изделия;
3) вид изделия;
4) вид упаковки;
5) форму поставки изделия в лабораторию;
6) другую информацию, например, номинальные размеры, номинальную плотность;
c) методику испытания:
1) подготовку к испытанию и порядок отбора образцов, например, кто и в каком месте проводил отбор образцов;
2) условия кондиционирования образцов;
3) размеры образцов;
4) любые отклонения от условий, указанных в
разделах 6 и
7;
5) дату проведения испытаний;
6) общую информацию об испытаниях, включая ссылку на методы (
1A,
2A,
1B,
2B или
2C) и, если необходимо, значение первоначального водопоглощения;
7) обстоятельства, которые могли бы повлиять на результаты испытаний.
Примечание. Сведения об оборудовании и о лаборанте, проводившем испытания, должны находиться в лаборатории, однако в отчете их не указывают;
d) результаты испытаний: результаты отдельных испытаний и среднеарифметические значения водопоглощения.
(справочное)
СВЕДЕНИЯ О СООТВЕТСТВИИ МЕЖГОСУДАРСТВЕННЫХ СТАНДАРТОВ
ССЫЛОЧНЫМ МЕЖДУНАРОДНЫМ И ЕВРОПЕЙСКИМ
РЕГИОНАЛЬНЫМ СТАНДАРТАМ
Таблица Д.А.1
┌────────────────────────────┬────────┬───────────────────────────────────┐
│ Обозначение и наименование │Степень │ Обозначение и наименование │
│ ссылочного международного, │соответ-│ соответствующего │
│ европейского стандарта │ствия │ межгосударственного стандарта │
├────────────────────────────┼────────┼───────────────────────────────────┤
ИС МЕГАНОРМ: примечание.
│ISO 5725-2:1994 Точность │ IDT │ГОСТ ИСО 5725-2-2003 Точность │
│(правильность и прецизион- │ │(правильность и прецизионность) │
│ность) методов и результатов│ │методов и результатов измерений. │
│измерений. Часть 2. Основной│ │Часть 2. Основной метод определения│
│метод определения повторяе- │ │повторяемости и воспроизводимости │
│мости и воспроизводимости │ │стандартного метода измерений │
│стандартного метода │ │ │
│измерений │ │ │
├────────────────────────────┼────────┼───────────────────────────────────┤
│Теплоизоляционные изделия, │ │теплоизоляционные, применяемые в │
│применяемые в строительстве.│ │строительстве. Методы измерения │
│Определение линейных │ │линейных размеров образцов, │
│размеров образцов для │ │предназначенных для испытаний │
│испытаний │ │ │
├────────────────────────────┴────────┴───────────────────────────────────┤
│ Примечание. В настоящей таблице использовано следующее условное│
│обозначение степени соответствия стандартов: │
│ IDT - идентичные стандарты. │
└─────────────────────────────────────────────────────────────────────────┘