Главная // Актуальные документы // ГОСТ (Государственный стандарт)СПРАВКА
Источник публикации
М.: Стандартинформ, 2014
Примечание к документу
Документ
введен в действие с 1 июля 2013 года.
Название документа
"ГОСТ EN 1109-2011. Межгосударственный стандарт. Материалы кровельные и гидроизоляционные гибкие битумосодержащие. Метод определения гибкости при пониженных температурах"
(введен в действие Приказом Росстандарта от 27.12.2012 N 1993-ст)
"ГОСТ EN 1109-2011. Межгосударственный стандарт. Материалы кровельные и гидроизоляционные гибкие битумосодержащие. Метод определения гибкости при пониженных температурах"
(введен в действие Приказом Росстандарта от 27.12.2012 N 1993-ст)
агентства по техническому
регулированию и метрологии
от 27 декабря 2012 г. N 1993-ст
МЕЖГОСУДАРСТВЕННЫЙ СТАНДАРТ
МАТЕРИАЛЫ КРОВЕЛЬНЫЕ И ГИДРОИЗОЛЯЦИОННЫЕ ГИБКИЕ
БИТУМОСОДЕРЖАЩИЕ
МЕТОД ОПРЕДЕЛЕНИЯ ГИБКОСТИ ПРИ ПОНИЖЕННЫХ ТЕМПЕРАТУРАХ
Roofing and hydraulic-insulating flexible bitumen-based
materials. Method for determination of flexibility
at low temperatures
(EN 1109:1999, IDT)
ГОСТ EN 1109-2011
Дата введения
1 июля 2013 года
Цели, основные принципы и основной порядок проведения работ по межгосударственной стандартизации установлены
ГОСТ 1.0-92 "Межгосударственная система стандартизации. Основные положения" и
ГОСТ 1.2-2009 "Межгосударственная система стандартизации. Стандарты межгосударственные, правила и рекомендации по межгосударственной стандартизации. Правила разработки, принятия, применения, обновления и отмены".
1. Подготовлен Федеральным государственным бюджетным учреждением "Научно-исследовательский институт строительной физики Российской академии архитектуры и строительных наук" ("НИИСФ РААСН") на основе аутентичного перевода на русский язык европейского регионального стандарта, указанного в
пункте 4.
2. Внесен Техническим комитетом по стандартизации ТК 465 "Строительство".
3. Принят Межгосударственной научно-технической комиссией по стандартизации, техническому нормированию и оценке соответствия в строительстве (МНТКС) (приложение Д к Протоколу от 8 декабря 2011 г. N 39).
За принятие проголосовали:
Краткое наименование страны по МК (ИСО 3166) 004-97 | Код страны по МК (ИСО 3166) 004-97 | Сокращенное наименование национального органа государственного управления строительством |
Азербайджан | AZ | Государственный комитет градостроительства и архитектуры |
Армения | AM | Министерство градостроительства |
Киргизия | KG | Госстрой |
Молдова | MD | Министерство строительства и регионального развития |
Россия | RU | Министерство регионального развития |
Таджикистан | TJ | Агентство по строительству и архитектуре при Правительстве |
Узбекистан | UZ | Госархитектстрой |
Украина | UA | Министерство регионального развития, строительства и жилищно-коммунального хозяйства |
4. Настоящий стандарт идентичен европейскому региональному стандарту EN 1109:1999. Flexible sheets for waterproofing - Bitumen sheets for roof waterproofing - Determination of flexibility at low temperature (Материалы гибкие гидроизоляционные. Материалы кровельные и гидроизоляционные битумосодержащие. Определение гибкости при пониженных температурах).
Наименование настоящего стандарта изменено по отношению к наименованию европейского регионального стандарта для приведения в соответствие с ГОСТ 1.5-2001
(подраздел 3.6).
Перевод с английского языка (en).
Сведения о соответствии межгосударственных стандартов ссылочным международным стандартам приведены в дополнительном
Приложении ДА.
Степень соответствия - идентичная (IDT).
5.
Приказом Федерального агентства по техническому регулированию и метрологии от 27 декабря 2012 г. N 1993-ст межгосударственный стандарт ГОСТ EN 1109-2011 введен в действие в качестве национального стандарта Российской Федерации с 1 июля 2013 г.
6. Введен впервые.
Информация об изменениях к настоящему стандарту публикуется в ежегодном информационном указателе "Национальные стандарты", а текст изменений и поправок - в ежемесячном информационном указателе "Национальные стандарты". В случае пересмотра (замены) или отмены настоящего стандарта соответствующее уведомление будет опубликовано в ежемесячном информационном указателе "Национальные стандарты". Соответствующая информация, уведомление и тексты размещаются также в информационной системе общего пользования - на официальном сайте Федерального агентства по техническому регулированию и метрологии в сети Интернет.
Применение настоящего стандарта, устанавливающего метод определения гибкости кровельных и гидроизоляционных гибких битумосодержащих материалов при пониженных температурах, позволяет получить адекватную оценку качества материалов, производимых в государствах Евразийского экономического сообщества и странах ЕС, а также обеспечить конкурентоспособность продукции на международном рынке.
Настоящий стандарт применяют, если заключенные контракты или другие согласованные условия предусматривают применение материалов с характеристиками, гармонизированными с требованиями европейских региональных стандартов, а также в случаях, когда это технически и экономически целесообразно.
Настоящий стандарт распространяется на кровельные и гидроизоляционные гибкие основные или безосновные битумосодержащие материалы (далее - материалы) и устанавливает метод определения их гибкости при заданной пониженной температуре или при различных температурных режимах для установления предельного значения температуры гибкости материалов.
Настоящий стандарт предназначен для определения характеристик и (или) классификации материалов, сравнительного анализа покровных слоев материалов одинаковой структуры, а также для оценки изменения предельного значения температуры гибкости материалов в процессе их искусственного старения.
Настоящий стандарт предназначен для определения характеристик материалов после их изготовления или поставки до их укладки.
Требования настоящего стандарта распространяются только на материалы и неприменимы для определения характеристик изготовленных из них гидроизоляционных систем после производства работ.
Результаты испытаний на гибкость не следует использовать для сравнения материалов различной структуры вследствие влияния дополнительных параметров (вида покровных слоев, толщины полотна материала, типа и расположения основы, вида защитных слоев), которые при проведении испытаний не учитывают, а также для прогнозирования поведения материалов при пониженных температурах в реальных условиях эксплуатации.
В настоящем стандарте использованы ссылки на следующие международные стандарты:
ISO 5725-1:1994. Accuracy (trueness and precision) of measurement methods and results - Part 1: General principles and definitions [Точность (правильность и прецизионность) методов и результатов измерений. Часть 1: Основные положения и определения]
ISO 5725-2:1994. Accuracy (trueness and precision) of measurement methods and results - Part 2: Basic method for the determination of repeatability of a standard measurement method [Точность (правильность и прецизионность) методов и результатов измерений. Часть 2: Основной метод определения повторяемости и воспроизводимости стандартного метода измерений].
В настоящем стандарте применены следующие термины с соответствующими определениями:
3.1. Гибкость (flexibility): способность образца материала к изгибанию в определенных условиях без образования трещин.
3.2. Предельное значение температуры гибкости (cold bending temperature): минимальная температура, при которой образец материала может изгибаться по полуокружности стержня определенного диаметра без образования трещин.
3.3. Трещина (crack): разрыв покровного слоя образца материала до основы (для основных материалов) или разрыв образца по всей толщине (для безосновных материалов).
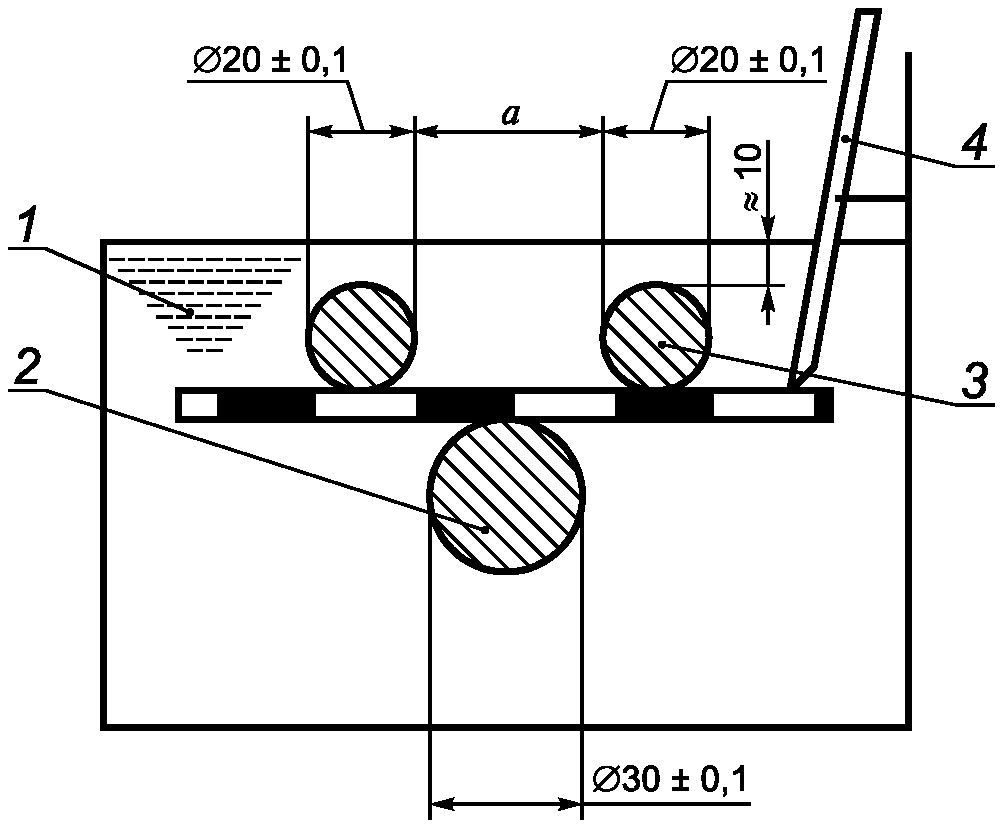
Образцы, вырубленные из полосы материала, отобранной для испытаний, изгибают по полуокружности стержня (угол изгибания 180°) с помощью механического изгибающего приспособления, погруженного в охлаждающую жидкость, после чего осматривают образцы и устанавливают наличие трещин.
Испытания проводят для лицевой и нижней сторон образца.
Конструкция и принцип действия изгибающего приспособления приведены на
рисунке 1.
a) Начало изгибания
b) Конец изгибания
1 - охлаждающая жидкость; 2 - изгибающий стержень;
3 - фиксированный цилиндр; 4 - термодатчик
Рисунок 1. Конструкция и принцип действия
изгибающего приспособления
Изгибающее приспособление состоит из двух фиксированных цилиндров диаметром (20 +/- 0,1) мм и расположенного между ними вертикально перемещающегося цилиндрического стержня диаметром (30 +/- 0,1) мм для изгибания образца. Допускается вместо стержня использовать полуцилиндрический брус с закруглением радиусом (15 +/- 0,1) мм.
Расстояние между цилиндрами a может регулироваться, что позволяет изменять зазор между цилиндрами и изгибающим стержнем в зависимости от толщины испытуемого образца.
Изгибающее приспособление помещено в термостатируемую ванну с охлаждающей жидкостью, температура которой может регулироваться в диапазоне от плюс 20 °C до минус 40 °C. Погрешность измерения температуры должна быть не более +/- 0,5 °C.
В качестве охлаждающей жидкости рекомендуется использовать смесь монопропиленгликоля <*> с водой в соотношении по объему 1:1 (для температур до минус 25 °C) или смесь этанола с водой в соотношении по объему 2:1 (для температур ниже минус 20 °C).
--------------------------------
<*> Монопропиленгликоль = 1,2 пропандиол (по номенклатуре ИЮПАК).
Температуру охлаждающей жидкости контролируют с помощью термодатчика, обеспечивающего измерение температуры с погрешностью не более +/- 0,5 °C; термодатчик должен быть погружен в охлаждающую жидкость на уровне испытуемых образцов.
Для обеспечения плоскостности образцов в начале испытания и их полного погружения в охлаждающую жидкость могут быть использованы съемные зажимы.
При проведении испытания изгибающий стержень, расположенный под образцом, поднимается вертикально вверх с постоянной скоростью перемещения (360 +/- 40) мм/мин, при этом образец изгибается по полуокружности стержня (угол изгибания 180°).
Наличие трещин устанавливают визуальным осмотром образца. Для более точной оценки результатов испытания значение перемещения изгибающего стержня устанавливают с помощью ограничителей так, чтобы в конце испытания контролируемая поверхность образца находилась над охлаждающей жидкостью.
Отбор образцов проводят в соответствии с требованиями стандартов на материалы конкретных видов.
Образцы размерами [(140 x 50) +/- 1] мм для проведения испытаний в соответствии с
8.3 или
8.4 вырубают из полосы материала, отобранной для испытаний, равномерно по ширине полотна материала на расстоянии не менее 150 мм от края полотна, при этом больший размер образца должен быть расположен в продольном направлении полотна материала. Образцы нумеруют последовательно, начиная от одного края полотна материала; маркируют также лицевую и нижнюю стороны образца.
Удаляют защитную пленку с образца путем прикрепления к нему полоски клеящей ленты при температуре окружающей среды, охлаждения образца до температуры определения его гибкости, приведенной в нормативных или технических документах на материалы конкретных видов, и последующего удаления защитной пленки с помощью прикрепленной полоски. Пленку можно удалить также струей сжатого воздуха, давление воздуха должно быть не более 5 бар (

), диаметр сопла ~= 0,5 мм.
Если с помощью указанных выше приемов пленку удалить не удается, допускается использовать обжиг пленки пламенем газовой горелки в течение минимального времени, необходимого для удаления пленки, не повреждая при этом покровный слой образца.
Перед проведением испытаний образцы выдерживают не менее 4 ч при температуре (23 +/- 2) °C на ровной плоской поверхности; образцы не должны касаться друг друга и прилипать к поверхности. Для предотвращения прилипания может быть использована силиконизированная бумага. Отставшие гранулы посыпки удаляют легким постукиванием образца.
8. Методика проведения испытаний
8.1. Подготовка к испытаниям
Перед проведением испытаний серии образцов устанавливают расстояние a между цилиндрами (см.
рисунок 1), приблизительно равное 32 мм плюс удвоенная толщина испытуемого образца.
Затем помещают изгибающее приспособление в ванну с охлаждающей жидкостью так, чтобы толщина слоя жидкости над цилиндрами была приблизительно равна 10 мм, а изгибающий стержень находился в нижнем положении.
8.2. Кондиционирование образцов
После достижения заданной температуры испытания (с погрешностью не более +/- 0,5 °C) образцы устанавливают в устройство при помощи съемных зажимов так, чтобы они были полностью погружены в охлаждающую жидкость. Время кондиционирования образцов при заданной температуре должно быть 1 ч +/- 5 мин. Отсчет времени кондиционирования начинают с того момента, когда температура охлаждающей жидкости после погружения образцов вновь достигает заданного значения. Температуру охлаждающей жидкости устанавливают с помощью термодатчика, расположенного приблизительно на уровне испытуемых образцов. Затем проводят испытания в соответствии с
8.3 или
8.4.
8.3. Определение гибкости при заданной температуре
Для проведения испытаний готовят две серии по пять образцов для испытаний лицевой и нижней сторон образца. Образцы устанавливают в приспособление между цилиндрами и изгибающим стержнем испытуемой стороной вверх и кондиционируют в соответствии с
8.2 при заданной температуре, указанной в нормативных или технических документах на материалы конкретных видов. Температура испытаний на гибкость должна быть выражена целым числом.
Затем изгибающий стержень приводят в движение вертикально вверх по отношению к испытуемому образцу со скоростью (360 +/- 40) мм/мин, при этом образец изгибается по полуокружности стержня. Движение стержня заканчивают на расстоянии (30 +/- 1) мм от верхней поверхности цилиндров (см.
рисунок 1). Контролируемая поверхность образца должна находиться над уровнем охлаждающей жидкости; если этого не происходит, то уровень жидкости необходимо снизить.
Наличие трещин устанавливают осмотром образца невооруженным глазом с использованием соответствующего источника света; в спорных случаях может быть дополнительно применено оптическое устройство, например лупа. Время после завершения движения изгибающего стержня и до конца осмотра не должно превышать 10 с. Наличием трещин считается один или более разрывов в покровном слое образца материала до основы (для основных материалов) или разрыв образца материала по всей его толщине (для безосновных материалов).
Все пять образцов в серии испытывают немедленно друг за другом. Если позволяют размеры прибора, проводят одновременное испытание нескольких образцов.
8.4. Определение предельного значения температуры гибкости
Если необходимо установить предельное значение температуры гибкости материала (например, для подтверждения изменения свойств материала в процессе его искусственного старения), применяют следующую процедуру, используя метод испытания, приведенный в
8.3.
Сначала устанавливают ориентировочный температурный интервал, внутри которого находится предельное значение температуры гибкости материала, путем предварительных испытаний отдельных образцов при различных температурных режимах с шагом в 6 °C, начиная с предполагаемой температуры гибкости. Температурные режимы должны быть кратными 6 °C (например, минус 12 °C, минус 18 °C, минус 24 °C и т.д.).
Затем проводят испытания на гибкость серии из пяти образцов при различных температурах внутри этого интервала, но с более узким шагом в 2 °C, начиная с того значения температуры, при котором происходит разрушение образца.
Испытания проводят отдельно для каждой стороны образца. Для проведения испытаний при каждой температуре используют новую серию из пяти образцов.
Последовательно повышая температуру на 2 °C, продолжают испытания до температуры, при которой не менее четырех из пяти образцов одной серии, испытанных немедленно друг за другом, не образуют трещин при испытании. Эту температуру принимают за предельное значение температуры гибкости материала.
9. Обработка результатов испытаний, точность метода
9.1. Обработка результатов испытаний на гибкость при заданной температуре
Материал считают выдержавшим испытание на гибкость при заданной температуре при испытании в соответствии с
8.3, если не менее четырех из пяти испытанных образцов не образовали трещин на испытуемой стороне образца. Результаты испытаний оценивают отдельно для каждой из сторон полотна материала.
9.2. Обработка результатов определения предельного значения температуры гибкости
За предельное значение температуры гибкости для испытуемой стороны материала при испытании в соответствии с
8.4 принимают температуру, при которой не менее четырех из пяти испытанных образцов не образуют трещин. Результаты испытаний оценивают отдельно для каждой из сторон полотна материала (предельные значения температур гибкости для лицевой и нижней сторон полотна материала могут отличаться).
Точность метода определения гибкости получена на основании межлабораторных испытаний в соответствии с ISO 5725-2 для основных материалов с битумно-полимерным покровным слоем. Для других видов материалов данные о точности метода отсутствуют.
9.3.1. Повторяемость
Установлены следующие характеристики повторяемости:
- среднеквадратическое отклонение повторяемости

;
- доверительный интервал (95%) результата

;
- предел повторяемости (разность между результатами двух измерений) r = 3 °C.
9.3.2. Воспроизводимость
Установлены следующие характеристики воспроизводимости:
- среднеквадратическое отклонение воспроизводимости

;
- доверительный интервал (95%) результата

;
- предел воспроизводимости (разность между результатами двух измерений) R = 6 °C.
Приведенные выше термины соответствуют ISO 5725-1 и ISO 5725-2.
Отчет об испытаниях должен содержать:
a) данные, необходимые для идентификации испытуемого материала;
b) ссылку на настоящий стандарт и отклонения от его требований;
c) информацию об отборе образцов в соответствии с
разделом 6;
d) информацию о подготовке образцов в соответствии с
разделом 7;
e) результаты испытаний в соответствии с
9.1 или
9.2;
f) дату проведения испытаний.
(справочное)
СВЕДЕНИЯ О СООТВЕТСТВИИ МЕЖГОСУДАРСТВЕННЫХ СТАНДАРТОВ
ССЫЛОЧНЫМ МЕЖДУНАРОДНЫМ СТАНДАРТАМ
Таблица ДА.1
Обозначение ссылочного международного стандарта | Степень соответствия | Обозначение и наименование соответствующего межгосударственного стандарта |
|
|
ISO 5725-1:1994. Точность (правильность и прецизионность) методов и результатов измерений. Часть 1: Основные положения и определения | IDT | ГОСТ ИСО 5725-1-2003 "Точность (правильность и прецизионность) методов и результатов измерений. Часть 1. Основные положения и определения" |
|
|
ISO 5725-2:1994. Точность (правильность и прецизионность) методов и результатов измерений. Часть 2: Основной метод определения повторяемости и воспроизводимости стандартного метода измерений | IDT | ГОСТ ИСО 5725-2-2003 "Точность (правильность и прецизионность) методов и результатов измерений. Часть 2. Основной метод определения повторяемости и воспроизводимости стандартного метода измерений" |
Примечание. В настоящей таблице использовано следующее условное обозначение степени соответствия стандартов: IDT - идентичные стандарты. |