Главная // Актуальные документы // ГОСТ (Государственный стандарт)СПРАВКА
Источник публикации
М.: Стандартинформ, 2013
Примечание к документу
Документ
введен в действие с 1 июля 2013 года.
Название документа
"ГОСТ EN 1107-1-2011. Межгосударственный стандарт. Материалы кровельные и гидроизоляционные гибкие битумосодержащие. Метод определения изменения линейных размеров"
(введен в действие Приказом Росстандарта от 27.12.2012 N 1994-ст)
"ГОСТ EN 1107-1-2011. Межгосударственный стандарт. Материалы кровельные и гидроизоляционные гибкие битумосодержащие. Метод определения изменения линейных размеров"
(введен в действие Приказом Росстандарта от 27.12.2012 N 1994-ст)
агентства по техническому
регулированию и метрологии
от 27 декабря 2012 г. N 1994-ст
МЕЖГОСУДАРСТВЕННЫЙ СТАНДАРТ
МАТЕРИАЛЫ КРОВЕЛЬНЫЕ И ГИДРОИЗОЛЯЦИОННЫЕ
ГИБКИЕ БИТУМОСОДЕРЖАЩИЕ
МЕТОД ОПРЕДЕЛЕНИЯ ИЗМЕНЕНИЯ ЛИНЕЙНЫХ РАЗМЕРОВ
Roofing and hydraulic-insulating flexible bitumen-based
materials. Method for determination of linear
dimensional change
(EN 1107-1:1999, IDT)
ГОСТ EN 1107-1-2011
Дата введения
1 июля 2013 года
Цели, основные принципы и основной порядок проведения работ по межгосударственной стандартизации установлены
ГОСТ 1.0-92 "Межгосударственная система стандартизации. Основные положения" и
ГОСТ 1.2-2009 "Межгосударственная система стандартизации. Стандарты межгосударственные, правила и рекомендации по межгосударственной стандартизации. Правила разработки, принятия, применения, обновления и отмены".
1. Подготовлен Корпорацией "ТехноНИКОЛЬ" и федеральным государственным бюджетным учреждением "Научно-исследовательский институт строительной физики Российской академии архитектуры и строительных наук" ("НИИСФ РААСН") на основе аутентичного перевода на русский язык европейского регионального стандарта, указанного в
пункте 4.
2. Внесен Техническим комитетом по стандартизации ТК 465 "Строительство".
3. Принят Межгосударственной научно-технической комиссией по стандартизации, техническому нормированию и оценке соответствия в строительстве (МНТКС) (приложение Д к Протоколу от 8 декабря 2011 г. N 39).
За принятие стандарта проголосовали:
Краткое наименование страны по МК (ИСО 3166) 004-97 | Код страны по МК (ИСО 3166) 004-97 | Сокращенное наименование национального органа государственного управления строительством |
Азербайджан | AZ | Государственный комитет градостроительства и архитектуры |
Армения | AM | Министерство градостроительства |
Киргизия | KG | Госстрой |
Молдова | MD | Министерство строительства и регионального развития |
Россия | RU | Министерство регионального развития |
Таджикистан | TJ | Агентство по строительству и архитектуре при Правительстве |
Узбекистан | UZ | Госархитектстрой |
Украина | UA | Министерство регионального развития, строительства и жилищно-коммунального хозяйства |
4. Настоящий стандарт идентичен европейскому региональному стандарту EN 1107-1:1999. Flexible sheets for waterproofing - Determination of dimensional stability - Part 1: Bitumen sheets for roof waterproofing (Материалы гибкие гидроизоляционные. Определение изменения линейных размеров. Часть 1. Материалы кровельные и гидроизоляционные битумосодержащие).
Наименование настоящего стандарта изменено относительно наименования европейского регионального стандарта для приведения в соответствие с ГОСТ 1.5-2001
(подраздел 3.6).
Перевод с английского языка (en).
Сведения о соответствии межгосударственных стандартов ссылочным международным стандартам приведены в дополнительном
Приложении ДА.
Степень соответствия - идентичная (IDT).
5.
Приказом Федерального агентства по техническому регулированию и метрологии от 27 декабря 2012 г. N 1994-ст межгосударственный стандарт ГОСТ EN 1107-1-2011 введен в действие в качестве национального стандарта Российской Федерации с 1 июля 2013 г.
6. Введен впервые.
Информация об изменениях к настоящему стандарту публикуется в ежегодном информационном указателе "Национальные стандарты", а текст изменений и поправок - в ежемесячном информационном указателе "Национальные стандарты". В случае пересмотра (замены) или отмены настоящего стандарта соответствующее уведомление будет опубликовано в ежемесячном информационном указателе "Национальные стандарты". Соответствующая информация, уведомление и тексты размещаются также в информационной системе общего пользования - на официальном сайте Федерального агентства по техническому регулированию и метрологии в сети Интернет.
Применение настоящего стандарта, устанавливающего метод определения изменения линейных размеров кровельных и гидроизоляционных гибких битумосодержащих материалов, позволяет получить адекватную оценку качества материалов, производимых в государствах Евразийского экономического сообщества и странах ЕС, а также обеспечить конкурентоспособность продукции на международном рынке.
Настоящий стандарт применяют, если заключенные контракты или другие согласованные условия предусматривают применение материалов с характеристиками, гармонизированными с требованиями европейских региональных стандартов, а также в случаях, когда это технически и экономически целесообразно.
Настоящий стандарт распространяется на кровельные и гидроизоляционные гибкие битумосодержащие материалы (далее - материалы) и устанавливает метод определения изменения линейных размеров, вызванного релаксацией внутренних напряжений в материале под воздействием нагрева в процессе производства.
Настоящий стандарт предназначен для определения характеристик и/или классификации материалов после их изготовления или поставки, до их укладки. Требования настоящего стандарта распространяются только на материалы и неприменимы для определения характеристик изготовленных из них гидроизоляционных систем после производства работ.
Метод может быть использован для прогнозирования пригодности материалов для целей гидроизоляции в реальных условиях эксплуатации.
В настоящем стандарте использованы ссылки на следующие международные стандарты:
ISO 5725-1:1994. Accuracy (trueness and precision) of measurement methods and results - Part 1: General principles and definitions [Точность (правильность и прецизионность) методов и результатов измерений. Часть 1. Основные положения и определения]
ISO 5725-2:1994. Accuracy (trueness and precision) of measurement methods and results - Part 2: Basic method for the determination of repeatability of a standard measurement method [Точность (правильность и прецизионность) методов и результатов измерений. Часть 2. Основной метод определения повторяемости и воспроизводимости стандартного метода измерений].
В настоящем стандарте применен следующий термин с соответствующим определением:
3.1. Изменение линейных размеров (dimensional change): изменение длины образца в ненапряженном состоянии, вырубленного из полосы материала в продольном направлении, под воздействием заданной температуры, выраженное в процентах по отношению к длине образца до испытания.
Образцы, вырубленные из полосы материала, отобранной для испытания, выдерживают при заданной температуре для релаксации внутренних напряжений в материале. Измеряют изменение длины образца оптическим или механическим методом (см. разделы 5,
7 и
9).
Для измерений используют два альтернативных метода:
a) Оптический метод (метод A).
Метод основан на оптическом измерении расстояния между рисками, нанесенными на образец до и после воздействия на него заданной температуры в течение заданного времени (см.
рисунок 1).
1 - центрирующий конус; 2 - съемная игла; 3 - гайка М5
(измерительная метка); 4 - участок с удаленным покровным
слоем; 5 - алюминиевая бирка; 6 - риски; 7 - скрепки
Рисунок 1. Образец и средства испытаний (метод A)
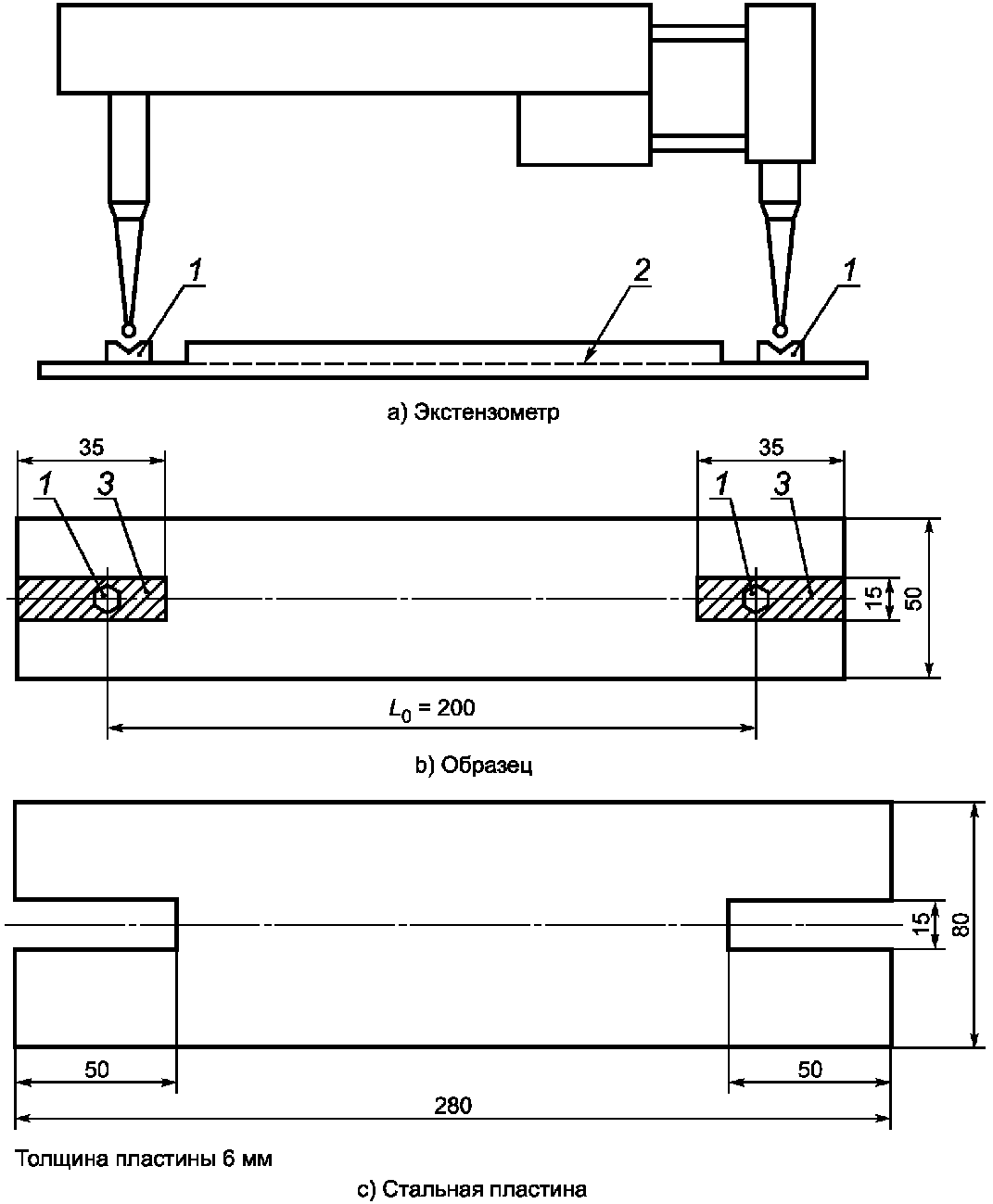
b) Механический метод (B).
Метод основан на измерении изменения расстояния между двумя измерительными метками с использованием экстензометра (см.
рисунок 2).
1 - измерительные метки; 2 - основа; 3 - участки
с удаленным покровным слоем
Рисунок 2. Образец и средства испытаний (метод B)
5.2. Средства испытаний для методов A и B
5.2.1. Сушильный шкаф с циркуляцией воздуха (без подачи воздуха извне), обеспечивающий поддержание температуры (80 +/- 2) °C.
5.2.2. Термодатчик, связанный с наружным электронным термометром, обеспечивающий измерение температуры с погрешностью не более +/- 1 °C в заданном температурном режиме.
5.2.3. Стальная пластина размерами

с прорезями; используется как шаблон для частичного удаления покровного слоя и выравнивания образца при нанесении рисок и во время проведения измерений (см.
рисунки 1 и
2).
5.2.4. Стеклянная пластина, покрытая тальком.
5.3. Средства испытаний для метода A (оптический метод)
5.3.1. Общие требования
Кроме средств испытаний, приведенных в
5.2, используют дополнительное оборудование, приведенное в 5.3.2 -
5.3.7.
5.3.2. Устройство из стали для нанесения рисок размерами

с центрирующим конусом (диаметр

, высота

, угол конуса

) и съемной иглой (диаметр заостренного конца иглы

); расстояние от оси конуса до заостренного конца иглы

(см.
рисунок 1).
5.3.3. Гайки М5 или аналогичные приспособления, используемые в качестве измерительных меток.
5.3.4. Алюминиевые бирки размерами

, на которые наносятся риски.
5.3.5. Канцелярский степлер для прикрепления алюминиевых бирок.
5.3.6. Измерительный инструмент со шкалой не менее 250 мм и ценой деления не более 1 мм.
5.3.7. Оптическое устройство для измерения длины (например, измерительная лупа) с ценой деления не более 0,05 мм.
5.4. Средства испытаний для метода B (механический метод)
5.4.1. Общие требования
Кроме средств испытаний, приведенных в
5.2, используют дополнительное оборудование, приведенное в 5.4.2 и 5.4.3.
5.4.2. Экстензометр с измерительной базой 200 мм, снабженный механическим или электронным измерительным устройством с погрешностью измерения не более +/- 0,05 мм.
5.4.3. Измерительные метки для экстензометра.
Отбор образцов проводят в соответствии с требованиями стандартов на материалы конкретных видов.
Из полосы материала, отобранной для испытаний, вырубают пять образцов размерами [(250 x 50) +/- 1] мм равномерно по ширине полотна материала на расстоянии не менее 150 мм от края полотна, при этом больший размер образца должен быть расположен в продольном направлении полотна материала. Для материалов, содержащих более одной основы, вырубают 10 образцов.
Образцы нумеруют последовательно, начиная от одного края полотна материала; маркируют также лицевую и нижнюю стороны образца.
Удаляют защитную пленку с образца путем прикрепления к нему полоски клеящей ленты при температуре окружающей среды, охлаждения образца до температуры определения его гибкости, приведенной в нормативном или техническом документе на материал конкретного вида, и последующего удаления защитной пленки с помощью прикрепленной полоски. Пленку можно удалить также струей сжатого воздуха при давлении не более 5 бар

, диаметр сопла

.
Если с помощью указанных выше способов пленку удалить не удается, можно использовать обжиг пленки пламенем газовой горелки в течение минимального времени, необходимого для удаления пленки, не повреждая при этом покровный слой образца.
С нижней стороны образца удаляют покровный слой до основы, как показано на
рисунке 1 или
2. Для удаления покровного слоя используют металлический шаблон и нагретый шпатель или аналогичный инструмент. Повреждение основы не допускается.
Измерительные метки приклеивают к основе с помощью клея, не содержащего растворитель, как показано на
рисунках 1 и
2. При подготовке образцов для проведения испытаний оптическим методом алюминиевые бирки прикрепляют к образцу степлером с помощью двух металлических скрепок, проходящих через основу, под прямым углом к продольной кромке образца, как показано на
рисунке 1. Для безосновных материалов измерительные метки приклеивают к поверхности образца. Для материалов, содержащих более одной основы, испытание проводят для обеих сторон образца.
Подготовленные образцы помещают на плоскую пластину, покрытую тальком, и выдерживают при температуре (23 +/- 2) °C в течение не менее 24 ч. Устройство для нанесения рисок, стальную пластину и измерительное устройство экстензометра также кондиционируют при указанной температуре.
8. Методика проведения испытаний
8.1. Метод A (оптический метод)
При применении оптического метода (см.
5.3) измеряют длину образца до испытания

при температуре (23 +/- 2) °C с помощью измерительного инструмента с ценой деления 1 мм. Затем на образец наносят первую риску. Для этого стальную пластину с прорезями помещают на образец так, чтобы прорези находились над измерительной меткой и алюминиевой биркой. Центрирующий конус устройства для нанесения рисок помещают в центр измерительной метки и иглой наносят на алюминиевую бирку первую риску без дополнительного усилия, только под действием собственного веса устройства. Первая риска должна быть идентифицирована.
8.2. Метод B (механический метод)
При применении механического метода (см.
5.4) устанавливают измерительное устройство на измерительные метки при температуре (23 +/- 2) °C и измеряют расстояние между ними (длина образца до испытания

) с погрешностью не более +/- 0,05 мм.
8.3. Общие положения (методы A и B)
Сушильный шкаф предварительно нагревают до температуры (80 +/- 2) °C. Температуру в шкафу устанавливают с помощью термодатчика, расположенного вблизи испытуемых образцов.
Подготовленные образцы помещают на обильно покрытую тальком стеклянную пластину так, чтобы измерительные метки находились сверху, и выдерживают в сушильном шкафу при температуре (80 +/- 2) °C в течение 24 ч +/- 10 мин. Образцы не должны прилипать к пластине во время проведения испытания. Заданная температура должна поддерживаться в сушильном шкафу в течение всего периода проведения испытания.
Затем пластины с образцами вынимают из шкафа и выдерживают при температуре (23 +/- 2) °C не менее 4 ч.
9. Вычисление и обработка результатов испытаний,
точность метода
9.1. Метод A (оптический метод)
На образцы наносят вторую риску, как описано в
8.1. Для каждого образца измеряют расстояние между внешними краями двух рисок в радиальном направлении (см.
рисунок 1) с помощью оптического измерительного инструмента с погрешностью не более +/- 0,05 мм.
Изменение длины каждого образца выражают в процентах по отношению к длине образца до испытания

.
9.2. Метод B (механический метод)
Повторно измеряют расстояние между измерительными метками, как описано в
8.2, с погрешностью не более +/- 0,05 мм.
Для каждого образца определяют разность между длиной образца до испытания

и после проведения испытания.
Изменение длины каждого образца выражают в процентах по отношению к длине образца до испытания

.
9.3. Обработка результатов
Результаты приводят со знаком "+" в случае увеличения длины образца и знаком "-" - в случае уменьшения длины образца в процессе испытания.
Изменение длины образца вычисляют как среднеарифметическое значение результатов испытания пяти образцов.
Результат округляют до 0,1%.
Для материалов, содержащих более одной основы, результаты испытаний вычисляют отдельно для каждой стороны материала.
Точность метода определения изменения линейных размеров получена на основании межлабораторных измерений в соответствии с ISO 5725-2 для материалов на полиэфирной основе.
Для материалов на других основах, а также для безосновных материалов данные о точности метода отсутствуют.
Установлены следующие характеристики повторяемости:
- диапазон пяти отдельных значений -

;
- среднеквадратическое отклонение повторяемости -

;
- доверительный интервал (95%) результата -

;
- предел повторяемости (разность между результатами двух измерений) - r = 0,2%.
Установлены следующие характеристики воспроизводимости:
- среднеквадратическое отклонение воспроизводимости -

;
- доверительный интервал (95%) результата -

;
- предел воспроизводимости (разность между результатами двух измерений) - R = 0,3%.
Приведенные выше термины соответствуют ISO 5725-1 и ISO 5725-2.
Отчет об испытаниях должен содержать:
a) данные, необходимые для идентификации испытуемого материала;
b) ссылку на настоящий стандарт и отклонения от его требований;
c) информацию об отборе образцов в соответствии с
разделом 6;
d) информацию о подготовке образцов в соответствии с
разделом 7;
e) информацию о проведении испытаний в соответствии с
9.3 с указанием применяемого метода (A или B);
f) дату проведения испытаний.
(справочное)
СВЕДЕНИЯ О СООТВЕТСТВИИ МЕЖГОСУДАРСТВЕННЫХ СТАНДАРТОВ
ССЫЛОЧНЫМ МЕЖДУНАРОДНЫМ СТАНДАРТАМ
Таблица ДА.1
Обозначение ссылочного международного стандарта | Степень соответствия | Обозначение и наименование соответствующего межгосударственного стандарта |
|
|
ISO 5725-1:1994. Точность (правильность и прецизионность) методов и результатов измерений. Часть 1: Основные положения и определения | IDT | ГОСТ ИСО 5725-1-2003 "Точность (правильность и прецизионность) методов и результатов измерений. Часть 1. Основные положения и определения" |
|
|
ISO 5725-2:1994. Точность (правильность и прецизионность) методов и результатов измерений. Часть 2: Основной метод определения повторяемости и воспроизводимости стандартного метода измерений | IDT | ГОСТ ИСО 5725-2-2003 "Точность (правильность и прецизионность) методов и результатов измерений. Часть 2. Основной метод определения повторяемости и воспроизводимости стандартного метода измерений" |
Примечание. В настоящей таблице использовано следующее условное обозначение степени соответствия стандартов: - IDT - идентичные стандарты. |