Главная // Актуальные документы // ГОСТ (Государственный стандарт)СПРАВКА
Источник публикации
М.: Стандартинформ, 2016
Примечание к документу
Документ
введен в действие с 1 января 2015 года.
Название документа
"ГОСТ 32264-2013. Межгосударственный стандарт. Гудрон и пек. Определение содержания соединений, нерастворимых в толуоле"
(введен в действие Приказом Росстандарта от 28.08.2013 N 755-ст)
"ГОСТ 32264-2013. Межгосударственный стандарт. Гудрон и пек. Определение содержания соединений, нерастворимых в толуоле"
(введен в действие Приказом Росстандарта от 28.08.2013 N 755-ст)
агентства по техническому
регулированию и метрологии
от 28 августа 2013 г. N 755-ст
МЕЖГОСУДАРСТВЕННЫЙ СТАНДАРТ
ГУДРОН И ПЕК
ОПРЕДЕЛЕНИЕ СОДЕРЖАНИЯ СОЕДИНЕНИЙ, НЕРАСТВОРИМЫХ В ТОЛУОЛЕ
Tar and pitch. Determination of toluene-insoluble content
ГОСТ 32264-2013
Дата введения
1 января 2015 года
Цели, основные принципы и основной порядок проведения работ по межгосударственной стандартизации установлены в
ГОСТ 1.0-2015 "Межгосударственная система стандартизации. Основные положения" и
ГОСТ 1.2-2015 "Межгосударственная система стандартизации. Стандарты межгосударственные, правила и рекомендации по межгосударственной стандартизации. Правила разработки, принятия, обновления и отмены"
1 ПОДГОТОВЛЕН Техническим комитетом по стандартизации ТК 160 "Продукция нефтехимического комплекса", Федеральным государственным унитарным предприятием "Всероссийский научно-исследовательский центр стандартизации, информации и сертификации сырья, материалов и веществ" (ФГУП "ВНИЦСМВ") на основе собственного перевода на русский язык англоязычной версии стандарта, указанного в
пункте 5
2 ВНЕСЕН Федеральным агентством по техническому регулированию и метрологии
3 ПРИНЯТ Межгосударственным советом по стандартизации, метрологии и сертификации по переписке (протокол от 28 августа 2013 г. N 58-П)
За принятие проголосовали:
Краткое наименование страны по МК (ИСО 3166) 004-97 | Код страны по МК (ИСО 3166) 004-97 | Сокращенное наименование национального органа по стандартизации |
Армения | AM | Минэкономики Республики Армения |
Киргизия | KG | Кыргызстандарт |
Молдова | MD | Молдова-Стандарт |
Россия | RU | Росстандарт |
Таджикистан | TJ | Таджикстандарт |
Узбекистан | UZ | Узстандарт |
4
Приказом Федерального агентства по техническому регулированию и метрологии от 28 августа 2013 г. N 755-ст межгосударственный стандарт ГОСТ 32264-2013 введен в действие в качестве национального стандарта Российской Федерации с 1 января 2015 г.
5 Настоящий стандарт идентичен стандарту ASTM D 4072-08 "Стандартный метод определения содержания нерастворимых в толуоле соединений (TI) в гудроне и пеке" ["Standard test method for toluene-insoluble (TI) content of tar and pitch", IDT].
Стандарт разработан Комитетом ASTM D02 "Нефтепродукты и смазочные материалы".
Наименование настоящего стандарта изменено относительно наименования указанного стандарта для приведения в соответствие с ГОСТ 1.5-2001
(подраздел 3.6).
Официальные экземпляры стандарта ASTM, на основе которого подготовлен настоящий межгосударственный стандарт, стандарты ASTM, на которые даны ссылки, имеются в национальном органе по стандартизации.
Сведения о соответствии ссылочных международных стандартов межгосударственным стандартам приведены в дополнительном
приложении ДА.
6 ВВЕДЕН ВПЕРВЫЕ
7 ПЕРЕИЗДАНИЕ. Декабрь 2016 г.
Информация об изменениях к настоящему стандарту публикуется в ежегодном информационном указателе "Национальные стандарты", а текст изменений и поправок - в ежемесячном информационном указателе "Национальные стандарты". В случае пересмотра (замены) или отмены настоящего стандарта соответствующее уведомление будет опубликовано в ежемесячном информационном указателе "Национальные стандарты". Соответствующая информация, уведомление и тексты размещаются также в информационной системе общего пользования - на официальном сайте Федерального агентства по техническому регулированию и метрологии в сети Интернет (www.gost.ru)
1.1 Настоящий стандарт устанавливает метод определения содержания в гудроне и пеке соединений, нерастворимых в толуоле (TI).
1.2 Настоящий метод испытаний является эмпирическим, поэтому не требуется строгого соблюдения всех деталей проведения испытания.
1.3 Значения в единицах системы СИ рассматривают как стандартные. Другие единицы измерения в настоящий стандарт не включены.
1.4 В настоящем стандарте не предусмотрено рассмотрение всех вопросов обеспечения безопасности, связанных с его использованием. Пользователь настоящего стандарта несет ответственность за установление соответствующих правил по технике безопасности и охране здоровья, а также определяет целесообразность применения законодательных ограничений перед его использованием. Особые меры предосторожности приведены в
разделе 7.
Для применения настоящего стандарта необходимы следующие ссылочные документы. Для недатированных ссылок применяют последнее издание ссылочного документа (включая все его изменения) <1>.
--------------------------------
<1> По вопросу стандартов ASTM следует посетить ASTM website, www.astm.org или обратиться к службе ASTM по работе с клиентами на service@astm.org. Относительно тома ежегодного сборника стандартов ASTM следует обратиться на страницу ASTM Website standard's Document Summary.
ASTM D 95 Standard test method for water in petroleum products and bituminous materials by distillation (Стандартный метод определения содержания воды в нефтепродуктах и битуминозных материалах дистилляцией)
ASTM D 362 Specification for industrial grade toluene (Спецификация на технический толуол) <2>
--------------------------------
<2> Отменен. Последняя версия данного стандарта доступна на сайте www.astm.org.
ASTM D 850 Standard test method for distillation of industrial aromatic hydrocarbons and related materials (Стандартный метод дистилляции промышленных ароматических углеводородов и сопутствующих материалов)
ASTM D 4296 Standard practice for sampling pitch (Стандартный метод отбора проб пека)
ASTM E 11 Standard specification for woven wire test sieve cloth and test sieves (Стандартные технические требования на полотно из плетеной проволоки и проволочные сита для испытаний)
3.1 Образец кипятят и затем экстрагируют горячим толуолом в алундовом стакане. Нерастворимые вещества сушат и взвешивают.
4 Назначение и применение
4.1 Настоящий метод применяют для оценки и описания гудронов и пеков как одного из элементов в установлении единообразия при поставках или снабжении.
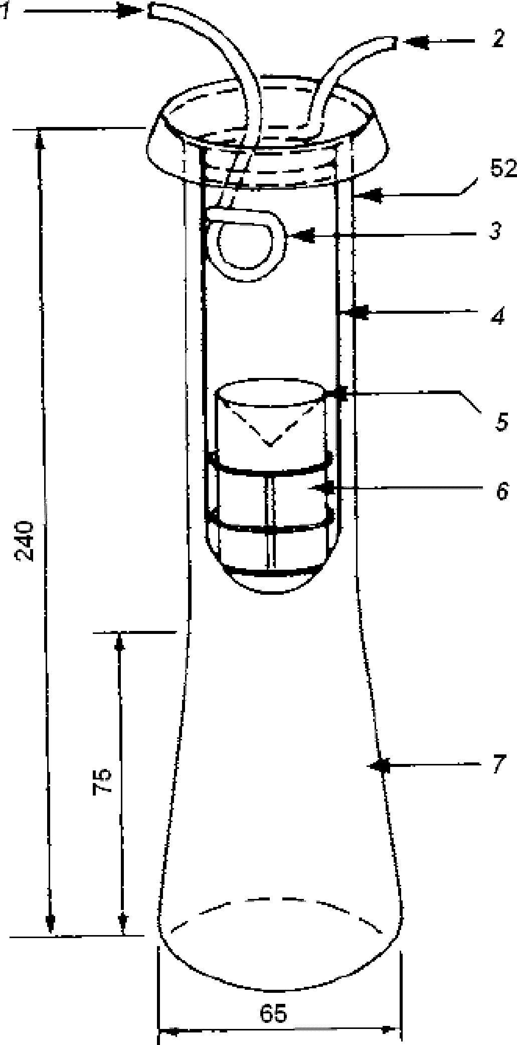
5.1 Экстракционный аппарат
Экстракционный аппарат представляет собой колбу с металлическим колпачковым холодильником
(рисунок 1).
1 - вход воды; 2 - выход воды; 3 - металлический
холодильник; 4 - проволочная опора, закрепленная
на крючке на верхней части холодильника;
5 - бумажный конус; 6 - алундовый стакан; 7 - колба
Рисунок 1 - Экстракционный аппарат
5.2 Экстракционный стакан
Алундовый стакан из крупнозернистого материала марки AN485 (ранее имел обозначение PA 98) с плоским дном, диаметром 30 мм, высотой 80 мм.
5.3 Покрытие стакана - бумажный конус
Круглый лист фильтровальной бумаги диаметром 70 мм вкладывают в маленькую стеклянную воронку, смачивают водой и сушат воронку с бумажным конусом в термостате.
5.4 Сита с размером ячеек 600 мкм (N 30) и 250 мкм (N 60), соответствующие требованиям ASTM E 11.
5.5 Нагреватель мощностью не менее 300 Вт.
6.1 Толуол технический, соответствующий требованиям ASTM D 362. (Предупреждение - Огнеопасен).
6.2 Концентрированная соляная кислота. (Предупреждение - Едкое вещество).
7.1 Так как толуол является токсичным и горючим веществом, рабочее помещение необходимо хорошо проветривать и изолировать от искр и пламени.
7.2 Необходимо соблюдать надлежащие лабораторные процедуры обращения с соляной кислотой.
8.1 Пробы отбирают в соответствии с ASTM D 4296. Они не должны содержать посторонних включений. Тщательно перемешивают пробу непосредственно перед отбором образца для испытания или обезвоживания.
9.1 Твердый пек
Твердый образец пека, содержащий свободную воду, сушат в термостате с принудительной конвекцией при температуре 50 °C.
9.2 Мягкий пек
Если при нагревании на поверхности появляется пена, указывающая на присутствие воды, образец выдерживают в открытом контейнере при температуре от 125 °C до 150 °C до исчезновения с поверхности пены. Избегают перегревания и удаляют источник тепла сразу же после исчезновения пены.
9.3 Гудрон
Образец обезвоживают при атмосферном давлении, используя обычный аппарат для перегонки, аналогичный применяемому в ASTM D 850. После достижения температуры 170 °C перегонку прекращают. Отделяют все масла из отогнанной воды (при наличии кристаллов емкость нагревают до их растворения) и после охлаждения до умеренной температуры тщательно смешивают масла с остаточным гудроном в перегонном кубе.
9.3.1 В качестве альтернативы обезвоживанию определяют содержание воды в гудроне по ASTM D 95, если содержание воды менее 10% масс., содержание нерастворимых в толуоле соединений корректируют по массе сухого гудрона
(13.2). Этот метод применяют только для стабильных эмульсий воды в гудроне, у которых после выдержки при комнатной температуре в течение 24 ч не отделяется вода.
10.1 Твердый пек
Если пек может быть раздроблен при комнатной температуре, готовят 20 г образца измельчением, смешиванием и квартованием сухой пробы. Для дробления используют небольшую щековую дробилку или муллитовую ступку с пестиком. В представительной пробе размеры частиц образца должны быть не более 5 мм в любом измерении. Измельчают образец так, чтобы он прошел через сито с размером ячеек 250 мкм (N 60). Хранят просеянный образец в плотно закрытом контейнере и используют в течение 24 ч
(10.4).
10.2 Мягкий пек
Если пек слишком мягкий для дробления и слишком липкий для перемешивания, нагревают образец при минимальной температуре для того, чтобы пропустить его через сито с размером ячеек 600 мкм (N 30). Время нагревания не должно превышать 10 мин. Для удаления посторонних включений пропускают нагретую пробу через сито с размером ячеек 600 мкм.
10.3 Гудрон
Нагревают образец при минимальной температуре, чтобы пропустить его через сито с размером ячеек 600 мкм (N 30). Для удаления посторонних включений пропускают нагретую пробу через сито с размером ячеек 600 мкм.
10.4 Образец после дробления и просеивания испытывают в течение 24 ч, т.к. состав измельченного гудрона может изменяться.
11 Подготовка экстракционного стакана
11.1 Сушат чистый стакан в термостате при температуре (105 +/- 5) °C в течение 45 мин, охлаждают в эксикаторе и взвешивают с точностью до 0,5 мг. Регистрируют массу.
11.1.1 После каждого использования прокаливают стакан в течение нескольких часов при температуре от 700 °C до 800 °C. Для предотвращения растрескивания медленно охлаждают стакан, поместив его в сушильный шкаф на 1 ч после извлечения из печи. Перед повторным использованием готовят стакан по 11.1.
11.1.2 После многократного использования кипятят стакан в водном растворе соляной кислоты в соотношении 1:1 (используют равное количество соляной кислоты и дистиллированной воды) для удаления из пор пепла. Затем стакан кипятят в дистиллированной воде и промывают дистиллированной водой. После высушивания при температуре 105 °C нагревают и готовят стакан по
11.1 и 11.1.1.
12.1 Масса пробы для анализа должна быть такой, чтобы получить от 150 до 250 мг веществ, нерастворимых в толуоле, но не менее 1 г.
12.2 Помещают необходимое количество пробы во взвешенный стакан вместимостью 150 см
3 и взвешивают с точностью до 0,5 мг. Наливают 60 см
3 толуола в стакан, постоянно помешивая, для полного смешивания пробы и толуола и дисперсии нерастворимых веществ
(7.1). Помещают стакан на электрическую плитку или на паровую или водяную баню и нагревают содержимое до температуры (95 +/- 5) °C. Поддерживают эту температуру в течение 25 мин. Периодически перемешивают пробу мешалкой в течение всего периода нагревания для полного растворения пробы в толуоле. Проверяют полноту растворения, рассматривая дно стакана на наличие нерастворенного материала.
12.3 Помещают взвешенный стакан в фильтровальное устройство. Полностью смачивают стакан толуолом. После растворения аккуратно наливают часть горячей смеси в стакан
(7.1). Уровень толуола должен быть не выше 20 мм от верхнего края экстракционного стакана. При фильтрации желательно сохранить большую часть нерастворимых веществ в лабораторном стакане с растворенным образцом. Переносят нерастворимые вещества в экстракционный стакан с небольшими порциями толуола. Тщательно промывают стакан с образцом толуолом, используя при необходимости подходящую щетку или мочалку для отделения любых прилипших к стакану частиц. Переносят все смытые частицы в экстракционный стакан.
12.4 После того как почти весь толуол выльется из экстракционного стакана его содержимое сразу же промывают небольшим количеством толуола. Толуол выливают из экстракционного стакана.
12.5 Вынимают увлажненный толуолом стакан из фильтровального устройства и помещают в проволочный держатель экстракционного аппарата. Накрывают экстракционный стакан бумажным конусом вершиной вниз. Собирают экстракционный аппарат на горячей плите, помещая войлочную прокладку между верхней частью экстракционной колбы и кожухом холодильника, и наливают свежий толуол в экстракционную колбу. Добавляют в колбу от 3 до 6 небольших кусочков пемзы для равномерного кипения, предотвращения образования пузырей и разбрызгивания во время экстракции. Поверхность толуола в колбе должна быть на расстоянии приблизительно 25 мм ниже дна экстракционного стакана
(7.1).
12.6 Экстрагируют при такой скорости нагревания, чтобы конденсирующийся толуол непрерывно капал из холодильника со скоростью от 1 до 2 капель в секунду. Продолжают экстракцию при таких условиях в течение 18 ч (см. примечание).
Примечание - Температура окружающей среды влияет на скорость каплепадения толуола, особенно если аппарат работает всю ночь без вмешательства оператора (например, температура лаборатории снижается в ночное время и скорость каплепадения замедляется или прекращается). Для снижения этого воздействия вокруг нагревателя и экстракционного аппарата помещают металлический экран, который будет препятствовать чрезмерному охлаждению экстракционного аппарата за счет холодного воздуха из вытяжного шкафа. Экраном может быть банка с двумя обрезанными концами.
12.7 После окончания экстракции удаляют источник тепла и толуол выливают из экстракционного стакана, затем стакан вынимают из аппарата. Удаляют бумажный конус и аккуратно кладут экстракционный стакан на бок на предметное стекло в вытяжной шкаф так, чтобы толуол испарился. Оставляют его на 30 мин. Помещают высушенный воздухом экстракционный стакан в сушильную печь на 60 мин при температуре (105 +/- 5) °C. Вынимают сухой экстракционный стакан из сушильной печи и сразу же помещают в эксикатор. После охлаждения взвешивают экстракционный стакан и его содержимое с точностью до 0,5 мг и регистрируют массу (12.8).
12.8 Если масса нерастворимого в толуоле вещества менее 150 или более 250 мг, повторяют определение изменения массы на пробе массой не менее 1 г
(11.1).
13.1 Вычисляют массу нерастворимых в толуоле веществ TI, % масс., по формуле

(1)
где B - масса алундового стакана с нерастворимыми в толуоле веществами, мг;
A - масса алундового стакана без бумажного конуса, мг;
C - масса образца.
13.2 Если масса нерастворимых в толуоле веществ была определена в образце гудрона, содержащего воду
(9.3.1), верное содержание нерастворимых в толуоле веществ (% масс.), определенное по
13.1, на основе сухого гудрона вычисляют по формуле

(2)
14.1 Регистрируют содержание нерастворимых в толуоле веществ с точностью до 0,1%.
15 Прецизионность и отклонение
15.1 Приемлемость результатов (с 95%-ной вероятностью) оценивают по следующим критериям.
15.1.1 Повторяемость
Результаты двух параллельных испытаний, выполненных одним и тем же оператором, считаются недостоверными, если они отличаются более чем на 0,9%.
15.1.2 Воспроизводимость
Значения, полученные каждой из двух лабораторий, представляющие собой среднеарифметическое значение результатов двух определений, считают недостоверными, если они отличаются более чем на 2,0%.
15.2 Отклонение
Настоящий метод испытаний не имеет отклонения, так как количество веществ, нерастворимых в толуоле, определяют по настоящему методу испытаний.
(справочное)
СВЕДЕНИЯ О СООТВЕТСТВИИ ССЫЛОЧНЫХ МЕЖДУНАРОДНЫХ
СТАНДАРТОВ МЕЖГОСУДАРСТВЕННЫМ СТАНДАРТАМ
Таблица ДА.1
Обозначение ссылочного международного стандарта | Степень соответствия | Обозначение и наименование межгосударственного стандарта |
ASTM D 95-10 | IDT | ГОСТ 32055-2013 "Нефтепродукты и материалы битумные. Определения содержания воды с помощью перегонки" |
ASTM D 362-84 | - | |
ASTM D 850-11 | - | <*> |
ASTM D 4296-09 | IDT | ГОСТ 32270-2013 "Пеки. Отбор проб" |
ASTM E 11-09 | - | <*> |
<*> Соответствующий межгосударственный стандарт отсутствует. До его утверждения рекомендуется использовать перевод на русский язык данного стандарта. Перевод данного стандарта находится в Федеральном информационном фонде технических регламентов и стандартов. Примечание - В настоящей таблице использовано следующее условное обозначение степени соответствия стандартов: - IDT - идентичный стандарт. |