Главная // Актуальные документы // ГОСТ (Государственный стандарт)СПРАВКА
Источник публикации
М.: Стандартинформ, 2014
Примечание к документу
Документ
введен в действие с 1 ноября 2014 года.
Название документа
"ГОСТ 32108-2013 (ISO 13332:2000). Межгосударственный стандарт. Вибрация. Измерения вибрации, передаваемой машиной через упругие изоляторы. Двигатели внутреннего сгорания поршневые высокоскоростные и среднескоростные"
(введен в действие Приказом Росстандарта от 22.11.2013 N 1644-ст)
"ГОСТ 32108-2013 (ISO 13332:2000). Межгосударственный стандарт. Вибрация. Измерения вибрации, передаваемой машиной через упругие изоляторы. Двигатели внутреннего сгорания поршневые высокоскоростные и среднескоростные"
(введен в действие Приказом Росстандарта от 22.11.2013 N 1644-ст)
агентства по техническому
регулированию и метрологии
от 22 ноября 2013 г. N 1644-ст
МЕЖГОСУДАРСТВЕННЫЙ СТАНДАРТ
ВИБРАЦИЯ
ИЗМЕРЕНИЯ ВИБРАЦИИ, ПЕРЕДАВАЕМОЙ МАШИНОЙ
ЧЕРЕЗ УПРУГИЕ ИЗОЛЯТОРЫ
ДВИГАТЕЛИ ВНУТРЕННЕГО СГОРАНИЯ ПОРШНЕВЫЕ
ВЫСОКОСКОРОСТНЫЕ И СРЕДНЕСКОРОСТНЫЕ
Mechanical vibration. Measurement of vibration transferred
into resilient isolators. High-speed and medium-speed
reciprocating internal combustion engines
(ISO 13332:2000, MOD)
ГОСТ 32108-2013
(ISO 13332:2000)
Дата введения
1 ноября 2014 года
Цели, основные принципы и основной порядок проведения работ по межгосударственной стандартизации установлены в
ГОСТ 1.0-92 "Межгосударственная система стандартизации. Основные положения" и
ГОСТ 1.2-2009 "Межгосударственная система стандартизации. Стандарты межгосударственные, правила и рекомендации по межгосударственной стандартизации. Порядок разработки, принятия, применения, обновления и отмены".
1. Подготовлен Автономной некоммерческой организацией "Научно-исследовательский центр контроля и диагностики технических систем" (АНО "НИЦ КД") на основе собственного аутентичного перевода стандарта, указанного в
пункте 5.
2. Внесен Федеральным агентством по техническому регулированию и метрологии (Росстандарт).
3. Принят Межгосударственным советом по стандартизации, метрологии и сертификации (Протокол от 25 марта 2013 г. N 55-п).
За принятие проголосовали:
Краткое наименование страны по МК (ИСО 3166) 004-97 | Код страны по МК (ИСО 3166) 004-97 | Сокращенное наименование национального органа по стандартизации |
Армения | AM | Минэкономики Республики Армения |
Беларусь | BY | Госстандарт Республики Беларусь |
Казахстан | KZ | Госстандарт Республики Казахстан |
Киргизия | KG | Кыргызстандарт |
Молдова | MD | Молдова-Стандарт |
Россия | RU | Росстандарт |
Узбекистан | UZ | Узстандарт |
Украина | UA | Минэкономразвития Украины |
4.
Приказом Федерального агентства по техническому регулированию и метрологии от 22 ноября 2013 г. N 1644-ст межгосударственный стандарт ГОСТ 32108-2013 (ISO 13332:2000) введен в действие в качестве национального стандарта Российской Федерации с 1 ноября 2014 г.
5. Настоящий стандарт модифицирован по отношению к международному стандарту ISO 13332:2000 Reciprocating internal combustion engines - Test code for the measurement of structure-borne noise emitted from high-speed and medium-speed reciprocating internal combustion engines measured at the engine feet (Двигатели внутреннего сгорания поршневые. Испытательный код для измерений вибрации высокоскоростных и среднескоростных двигателей внутреннего сгорания на их опорах) путем внесения технических отклонений, объяснение которых приведено во введении к настоящему стандарту.
Международный стандарт разработан техническим комитетом по стандартизации ISO/TC 70 "Двигатели внутреннего сгорания" Международной организации по стандартизации (ISO).
Перевод с английского языка (en).
Степень соответствия - модифицированная (MOD).
Наименование настоящего стандарта изменено относительно наименования международного стандарта для приведения в соответствие с ГОСТ 1.5-2001
(подраздел 3.6).
Настоящий стандарт подготовлен на основе применения
ГОСТ Р 53577-2009 "Вибрация. Измерения вибрации, передаваемой машиной через упругие изоляторы. Двигатели внутреннего сгорания поршневые высокоскоростные и среднескоростные".
6. Введен впервые.
Информация об изменениях к настоящему стандарту публикуется в ежегодном информационном указателе "Национальные стандарты", а текст изменений и поправок - в ежемесячном информационном указателе "Национальные стандарты". В случае пересмотра (замены) или отмены настоящего стандарта соответствующее уведомление будет опубликовано в ежемесячном информационном указателе "Национальные стандарты". Соответствующая информация, уведомление и тексты размещаются также в информационной системе общего пользования - на официальном сайте Федерального агентства по техническому регулированию и метрологии в сети Интернет.
Работа двигателей внутреннего сгорания, в том числе поршневых, связана с вибрацией, передающейся по конструкции здания, сооружения, транспортного средства, которая является причиной звукового излучения. Зачастую двигатель является доминирующим источником акустического шума, но даже если это не так, все равно шум двигателя создает неблагоприятный фон, и его следует, по возможности, уменьшить. С этой целью двигатель устанавливают на изоляторы.
Распространяющаяся по конструкции вибрация, источником которой является двигатель, зависит от передаточных свойств изоляторов, а также опор самого двигателя и от подвижности приемной системы (конструкции, включающей в себя изоляторы, по которой вибрация распространяется до точки, где ее рассматривают).
Исследование распространения вибрации по конструкции, особенно на низких частотах, является сложной задачей. Облегчить ее помогает знание вибрационной активности машины. При выполнении ряда условий по результатам измерений вибрации на опорах машины можно оценить, какой будет вибрация в той или иной точке приемной системы.
По сравнению с примененным международным стандартом ISO 13332:2000 в настоящий стандарт внесены следующие технические отклонения, выделенные курсивом:
- приведено указание на то, что общие требования к испытаниям машин с целью определения их вибрационной активности установлены в
ГОСТ 32107, который следует применять совместно с настоящим стандартом;
- по тексту стандарта представление результатов измерений в относительных величинах (дБ) заменено представлением в абсолютных величинах, что является более употребительным в национальных стандартах в области вибрации;
- ссылочные международные стандарты заменены соответствующими межгосударственными стандартами (см.
Приложение ДА);
- в
разделе 3 вместо терминов и соответствующих определений, заимствованных из ISO 9611, дана ссылка на
ГОСТ 32107, являющийся введением указанного международного стандарта. Исключена ссылка на невведенный ISO 3046-3:1989;
- в
разделе 5 ссылка на невведенный ISO 1503 заменена прямым указанием расположения осей координат (направлений измерений вибрации) с выделением одиночной полужирной вертикальной линией;
- в
пункте 6.3 исключена ссылка на невведенный ISO 3046-3:1989;
- в
разделе 7 указан способ определения нижней границы диапазона частот измерений, если существует иная цель испытаний, кроме оценки акустического шума, излучаемого приемной системой;
- в
разделе 8 ссылка на ISO 2954 заменена более точной ссылкой на
ГОСТ ИСО 5348, в котором отражен рассматриваемый аспект стандартизации.
Настоящий стандарт является испытательным кодом по вибрации и устанавливает метод определения вибрационной активности высоко- и среднескоростных двигателей внутреннего сгорания наземных установок, рельсового и морского транспорта (далее - двигателей) по измерениям вибрации на его опорах.
Общие требования к методу измерений и ограничения данного метода установлены в ГОСТ 32107.
Настоящий стандарт не распространяется на низкоскоростные двигатели, а также на двигатели сельскохозяйственных тракторов, автомобилей и самолетов.
Настоящий стандарт может быть использован для измерений вибрации двигателей дорожно-строительных машин, средств напольного транспорта и других рабочих машин, пока для них не будет разработан соответствующий испытательный код по вибрации.
В настоящем стандарте использованы нормативные ссылки на следующие стандарты:
ГОСТ ИСО 3046-1-2002 Двигатели внутреннего сгорания поршневые. Часть 1. Стандартные исходные условия, объявленные мощность, расходы топлива и смазочного масла. Методы испытаний
ГОСТ ИСО 3046-7-2002 Двигатели внутреннего сгорания поршневые. Характеристики. Часть 7. Обозначение мощности двигателя
ГОСТ 32107-2013 Вибрация. Измерения вибрации, передаваемой машиной через упругие изоляторы. Общие требования.
Примечание. При пользовании настоящим стандартом целесообразно проверить действие ссылочных стандартов в информационной системе общего пользования - на официальном сайте Федерального агентства по техническому регулированию и метрологии в сети Интернет или по ежегодному информационному указателю "Национальные стандарты", который опубликован по состоянию на 1 января текущего года, и по выпускам ежемесячного информационного указателя "Национальные стандарты" за текущий год. Если ссылочный стандарт заменен (изменен), то при пользовании настоящим стандартом следует руководствоваться заменяющим (измененным) стандартом. Если ссылочный стандарт отменен без замены, то положение, в котором дана ссылка на него, применяется в части, не затрагивающей эту ссылку.
В настоящем стандарте применены термины по ГОСТ 32107.
В настоящем стандарте использованы обозначения, как указано в таблице 1.
Таблица 1
Перечень обозначений
Обозначение величины | Определение величины | Единица измерений |
d | Толщина опорной лапы двигателя | мм |
| Расстояние от места установки акселерометра до точки 1 в поперечном направлении | мм |
| Размер изолятора в продольном направлении | мм |
| Размер изолятора в поперечном направлении | мм |
| Наивысшая собственная частота колебаний двигателя как жесткого тела, установленного на изоляторы | Гц |
| Нижняя граница диапазона частот применения метода | Гц |
| Верхняя граница диапазона частот применения метода | Гц |
| Скорость в продольном направлении в точке i | м/с |
| Скорость в поперечном направлении в точке i | м/с |
| Скорость в вертикальном направлении в точке i | м/с |
| Средняя скорость в продольном направлении | м/с |
| Средняя скорость в поперечном направлении | м/с |
| Средняя скорость в вертикальном направлении | м/с |
n | Число опор двигателя | - |
| Скорость в точке 1z i-й опоры | м/с |
| Скорость в точке 2z i-й опоры | м/с |
x | Продольная ось координат | - |
y | Поперечная ось координат | - |
z | Вертикальная ось координат | - |
5. Основы метода испытаний
Результаты исследований передаваемой в опорную конструкцию вибрации показывают, что в ней превалируют составляющие поступательной вибрации в трех взаимно перпендикулярных направлениях. Поэтому в настоящем стандарте угловые составляющие вибрации опор двигателя не рассматриваются <1>, и измерению подлежат только составляющие поступательной вибрации на опорных лапах двигателей.
--------------------------------
<1> Заинтересованными сторонами в конкретной ситуации может быть принято решение о необходимости оценивать также угловые составляющих вибрации. Такие измерения являются более сложными по сравнению с измерениями поступательной вибрации. Измерение угловой вибрации может быть выполнено по
ГОСТ 32107.
Измерения проводят в трех взаимно перпендикулярных направлениях: вертикальном, продольном (вдоль оси коленчатого вала) и поперечном.
Предполагается, что изоляторы, на которые опираются лапы двигателя, не накладывают существенных ограничений на вибрацию лап.
Примечание. Если измерения проводят в целях расчета и сравнения вибрации, передаваемой от двигателя в приемную систему, то для расчета необходимы также знания частотных характеристик источника вибрации (опорных лап двигателя) и приемной системы.
Вибрация двигателя является функцией частоты. Применяемые изоляторы налагают ограничения на диапазон частот измерения вибрации.
6.1. Подготовка двигателя
Перед измерениями двигатель устанавливают на соответствующие изоляторы, обеспечивают подачу воздуха, топлива, электрического напряжения, работу систем смазки, охлаждения и выхлопа, а также соединение с устройством отбора мощности, производимой двигателем во время измерений. Необходимые для этого механические соединения должны иметь упругие вставки, чтобы присоединенные конструкции не влияли на производимую двигателем вибрацию. Двигатель должен быть снабжен стандартным маховиком. Тип и характеристики упругой муфты соединения двигателя с устройством отбора мощности должны быть указаны в протоколе испытаний.
6.2. Условия установки
Способы установки двигателей могут изменяться в зависимости от их массы, мощности и назначения. Хотя опорные лапы высокоскоростных и среднескоростных двигателей обычно устанавливают на упругие изоляторы, данные изоляторы могут обладать характеристиками, которые не позволят применить метод измерения вибрации, передаваемой двигателем в приемную систему.
Примечание. Чтобы нижняя граница

диапазона частот применения метода позволяла охватить весь диапазон частот вибрации двигателя, рекомендуется, чтобы:
a) изоляторы были установлены на массивном жестком основании;
b) частота

была как можно более низкой.
6.3. Режим работы двигателя
Режим работы двигателя при проведении испытаний на вибрационную активность, номинальная частота вращения и полная нагрузка в соответствии с ГОСТ ИСО 3046-1 и ГОСТ ИСО 3046-7 должны быть определены изготовителем. Другие условия работы двигателя могут быть согласованы заинтересованными сторонами.
В процессе измерений значения частоты вращения и выходной мощности двигателя не должны отличаться от установленных более чем на 10%. Испытания проводят в установившемся режиме работы двигателя.
Измерения частоты вращения и мощности двигателя - по ГОСТ ИСО 3046-1. Результаты измерений заносят в протокол испытаний.
7. Диапазон частот измерений
Обычно двигатель изолируют от приемной системы с целью уменьшить излучение шума вибрирующей конструкцией. Низшая граница диапазона частот, воспринимаемых человеческим ухом, находится вблизи 20 Гц, поэтому с точки зрения акустики виброизоляция двигателя в диапазоне ниже 20 Гц не является необходимой. Отсюда следует требование к наивысшей собственной частоте

колебаний двигателя (как твердого тела) на изоляторах при реализации метода измерений по
ГОСТ 32107: она должна быть ниже 7 Гц.
Если предметом анализа является не излучение шума, а например воздействие передаваемой вибрации на человека, то желательно, чтобы диапазон частот применения метода охватывал весь диапазон частот вибрации двигателя. При этом следует учесть, что у двухтактного двигателя диапазон частот производимой вибрации ограничен снизу частотой вращения коленчатого вала, а у четырехтактного двигателя - половиной частоты вращения коленчатого вала. Если низшая частота вибрации достаточно велика, то требования к

могут быть менее жесткими.
На рисунке 1 показаны графики предельных значений

в зависимости от низшей рабочей частоты вращения коленчатого вала

двухтактного и четырехтактного двигателей для целей акустических исследований (что определяет ограничение

в области низких частот вращения коленчатого вала частотой 7 Гц).
Если целью исследования является анализ передаваемой двигателем вибрации во всем диапазоне частот, то прямые линии на рисунке 1 должны быть продолжены в низкочастотную область до их пересечения с началом координат.
Низшая граница диапазона частот измерений

должна быть примерно в три раза выше

. В этом случае диапазон частот измерений не включает составляющие, усиливаемые на резонансе системы "двигатель - изоляторы".
1 - двухтактный двигатель; 2 - четырехтактный двигатель
Примечание. Значение

должно лежать в заштрихованной области.
Рисунок 1. Зависимость предельного значения

от

Верхняя граница диапазона частот измерений

определяется собственной частотой низшей моды колебаний поверхности опорной лапы двигателя. Чтобы в максимальной степени расширить диапазон частот измерений в область верхних частот, опорные лапы двигателя должны быть как можно более жесткими.
Следует иметь в виду, что диапазон частот измерений по
ГОСТ 32107 может включать области, где виброизоляция будет недостаточной (менее 10 дБ).
Результаты измерений будут максимально близки к вибрации на месте установки двигателя, если масса и жесткость опор и изоляторов, использованных при испытаниях (включая установочные фланцы), будут такими же, что и на месте установки.
Метод измерений может быть проиллюстрирован
рисунком 2. На рисунке 2a) показана установка испытуемого двигателя на изоляторы, достаточно податливые, чтобы не искажать вибрацию опорных лап двигателя. Это условие обеспечивается превышением не менее чем в три раза нижней границей диапазона частот измерений

максимальной собственной частоты

колебаний двигателя как твердого тела (см.
раздел 7).
Основной способ измерений предполагает установку одного акселерометра на верхней поверхности лапы непосредственно над точкой А, являющейся геометрическим центром области контакта опоры с изолятором, или как можно ближе к ней [см.
рисунок 2a)].
На
рисунке 2b) показан альтернативный способ установки акселерометров на лапе двигателя. Пару акселерометров устанавливают как можно ближе к точке А на одинаковых расстояниях от нее. За ускорение опоры принимают среднее арифметическое значение сигналов с двух акселерометров. Крепление акселерометров - по
ГОСТ ИСО 5348.
Для оценки верхней границы

диапазона частот измерений, выше которой начинают проявляться формы изгибных колебаний поверхности опоры в области ее контакта с изолятором, проводят дополнительные исследования для определения частоты низшей моды колебаний. Для этого, например, возбуждают вибрацию опоры ударом молотка и измеряют отклик посредством той же пары акселерометров, что установлена для испытаний на определение вибрационной активности двигателя. Возможно проведение более детального исследования с проведением модального анализа вибрации опоры.
| |
1 - акселерометр; 2 - опорная лапа; 3 - изолятор; 4 - основание | 1 - акселерометр; 2 - опорная лапа; 3 - изолятор; 4 - основание |
| |
Рисунок 2. Принцип измерений вибрации опоры двигателя |
Хотя в настоящем разделе принцип измерений рассмотрен на примере вибрации в вертикальном направлении, он может быть применен в отношении других направлений движения и при соответствующей им установке акселерометров.
9. Выбор опор для измерений
При выборе опор руководствуются следующими правилами:
- если число опор двигателя не превышает четырех, то измерения проводят на всех опорах;
- если двигатель имеет от пяти до восьми опор, то измерения проводят на четырех опорах, максимально отстоящих друг от друга;
- если двигатель имеет более девяти опор, то измерения проводят на четырех опорах, максимально отстоящих друг от друга, а также на двух опорах, расположенных наиболее близко к центру тяжести двигателя;
- если двигатель установлен на плиту, поддерживаемую изоляторами, то для выбора числа и месторасположения точек измерений (областей контакта с изоляторами) используют тот же принцип, что и для опорных лап двигателя.
Заинтересованные стороны могут рассмотреть возможность проведения измерений на большем числе опор, особенно в случае, если двигатель постоянно соединен с другим устройством.
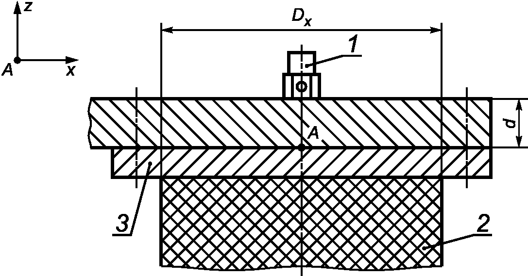
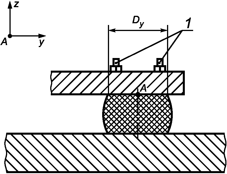
Акселерометр устанавливают на опоре двигателя над точкой А, являющейся геометрическим центром области контакта опоры с изолятором, как показано на
рисунках 3 и
4.
1 - акселерометр; 2 - изолятор;
3 - установочный фланец изолятора
Рисунок 3. Установка акселерометра для измерений

1 - акселерометр; 2 - изолятор; 3 - установочный фланец
изолятора; a - точка 1; b - точка 2; c - точка 3
Рисунок 4. Установка акселерометра для измерений

(точка 1) и

(точки 2 и 3)
Размещению акселерометра точно над точкой А могут помешать крепежные элементы (болты) или ограничители движения опоры. В этом случае положение акселерометра можно сдвинуть:
- по оси x в пределах размера

;
- по оси y в пределах размера

, где

.
Чтобы обеспечить требуемую точность результатов измерений во всем диапазоне частот, акселерометры должны находиться в жестком контакте с вибрирующей поверхностью. Данное условие может быть удовлетворено при использовании следующих способов крепления акселерометров:
- резьбовым соединением;
- на эпоксидный клей;
- резьбовым соединением с металлической пластиной (адаптером), которую приклеивают или закрепляют болтами к вибрирующей поверхности.
Примечание. Допускается использование трехкомпонентного акселерометра, позволяющего измерять поступательную вибрацию в трех взаимно перпендикулярных направлениях одновременно.
Если установить акселерометр в пределах размера

невозможно, то используют два акселерометра, размещая их, как показано на
рисунках 5 и
6. В этом случае скорость

получают как среднее арифметическое значение скоростей

и

согласно
ГОСТ 32107. Цепи измерений для обоих акселерометров должны иметь одинаковые амплитудно-частотные и фазочастотные характеристики. Для измерений вибрации в поперечном направлении возможно устанавливать акселерометры в точках 1, 2 или 3, как показано на
рисунке 4.
1 - акселерометр
Рисунок 5. Установка двух акселерометров для измерений

1 - опора; 2 - акселерометр; 3 - изолятор; 4 - основание
Рисунок 6. Альтернативный способ установки акселерометров
для измерений

Оси чувствительности акселерометров всегда должны быть перпендикулярны к поверхности в области контакта опоры двигателя с изолятором. Это требование следует соблюдать и в том случае, если поверхность установочного фланца двигателя не горизонтальна.
В процессе испытаний выполняют следующие действия.
a) Выполняют калибровку измерительной цепи.
b) Измеряют наведенную вибрацию на опорах двигателя.
c) Измеряют вибрацию в диапазоне частот от

до

в трех взаимно перпендикулярных направлениях на выбранных в соответствии с
разделом 9 опорах двигателя. Для этого:
- определяют

расчетным методом или посредством измерений;
- определяют значения

и

для каждой опоры в каждом направлении измерений;
- измеряют вибрацию на каждой опоре в каждом направлении при работе двигателя в заданном режиме (см.
6.3) в третьоктавных полосах частот в пределах диапазона частот измерений;
- представляют результаты измерений в виде третьоктавных спектров скорости для каждого направления движения (можно на одном графике) с указанием частот

и

;
- строят графики третьоктавных спектров скорости для каждого направления движения, усредненных по всем опорам, а также огибающие (по максимальным и минимальным значениям) этих спектров.
Полученную информацию отражают в протоколе испытаний (см. Приложение А).
(рекомендуемое)
ФОРМА ПРОТОКОЛА ИСПЫТАНИЙ
1. Общая информация | | |
Измерения проведены: | | (организация, исполнитель) |
| | (дата) |
| | (место) |
Цель измерений: | | (вид испытания) |
Контролирующая организация: | | (по требованию заказчика) |
Поставщик двигателя: | | |
2. Установка | | |
2.1. Двигатель | | |
Изготовитель: | | |
Рабочий цикл: | | (двухтактный или четырехтактный) |
Модель: | | |
Заводской номер: | | |
Номинальная частота вращения,  : | | |
Номинальная мощность, кВт: | | |
Топливо: | | (цетановое число, вязкость, др.) |
Масса двигателя, кг: | | (измеренная) |
Приложение (для специальных режимов, по согласованию) | | (есть/нет) |
2.2. Приводное оборудование | | |
Гибкое соединение | | |
Тип: | | |
Изготовитель: | | |
Модель: | | |
Промежуточный вал | | |
Тип: | | |
Изготовитель: | | |
Модель: | | |
Устройство отбора мощности | | |
Тип: | | (динамометр, генератор, компрессор, редуктор, др.) |
Изготовитель: | | |
Модель: | | |
2.3. Изоляторы | | |
Тип опоры | | (опорная плита, опорные лапы) |
Изоляторы | | |
Изготовитель: | | |
Тип: | | |
Число: | | |
Расположение: | | (с приложением схемы или фотографии) |
Тип основания: | | |
Масса нагрузки: | | (с рабочими средами двигателя, элементами крепления, др.) |
(Указать полученные расчетным способом или в результате измерений три собственные частоты поступательных колебаний двигателя как жесткого тела на изоляторах. При необходимости указать дополнительно три собственные частоты угловых колебаний двигателя на изоляторах) |
3. Измерения | | |
3.1. Измеряемые параметры | | |
Среднеквадратичные значения скорости (ускорения): | | |
3.2. Средства измерений | | |
Датчики вибрации: | | (изготовитель, модель) |
Устройства согласования: | | (изготовитель, модель) |
Записывающее устройство: | | (изготовитель, модель, режим записи, диапазон частот) |
Средства анализа: | | (изготовитель, модель) |
Калибровка: | | |
Время усреднения: | | |
3.3. Диапазон частот измерений | | |
(Указывают третьоктавные полосы в диапазоне частот анализа) | | |
3.4. Точки измерений | | |
Общее число опор: | | |
Число опор, на которых проводят измерения: | | |
Расположение точек измерений на двигателе: | | (с приложением схемы) |
Точное указание размещения датчиков на опорах: | | |
Направления измерений: | | (с приложением схемы) |
4. Результаты испытаний | | |
4.1. Режим работы двигателя | | |
(Указывают все режимы работы двигателя, использованные во время испытаний) | | |
Мощность, кВт: | | |
Частота вращения:  : | | |
4.2. Результаты измерений | | |
(Результаты измерений приводят для каждого режима работы двигателя) | | |
Среднеквадратичные значения скорости во всех точках и направлениях измерений  , м/с: | | |
Третьоктавные спектры скорости для всех точек и направлений измерений  , м/с: | | (с приложением графиков) |
Усредненные по опорам третьоктавные спектры скорости для всех направлений измерений: | | (с приложением графиков) |
(справочное)
РАЗДЕЛ ISO 13332:2000, ПРИМЕНЕННЫЙ В НАСТОЯЩЕМ СТАНДАРТЕ
С МОДИФИКАЦИЕЙ ЕГО СОДЕРЖАНИЯ
Ссылки на международные стандарты, которые приняты в качестве межгосударственных, заменены ссылками на соответствующие идентичные и модифицированные межгосударственные стандарты. Полный перечень изменений нормативных ссылок приведен в таблице ДА.1.
Таблица ДА.1
Раздел, подраздел, пункт, подпункт, таблица, приложение | Модификация |
2. Нормативные ссылки | Ссылка на ISO 3046-1:1995 "Двигатели внутреннего сгорания поршневые. Характеристики. Часть 1. Стандартные расчетные условия, заявленные мощность, расходы топлива и смазочного масла и методы испытаний" заменена ссылкой на ГОСТ ИСО 3046-1-2002 "Двигатели внутреннего сгорания поршневые. Часть 1. Стандартные исходные условия, объявленные мощность, расходы топлива и смазочного масла. Методы испытаний" (IDT). Ссылка на ISO 3046-7:1995 "Двигатели внутреннего сгорания поршневые. Характеристики. Часть 7. Испытания в целях заявления мощности двигателя" заменена ссылкой на ГОСТ ИСО 3046-7-2002 "Двигатели внутреннего сгорания поршневые. Часть 7. Обозначение мощности двигателя" (IDT). Ссылка на ISO 5348:1998 "Вибрация. Механическое крепление акселерометров" (взамен ошибочно указанного ИСО 2954:1975) заменена ссылкой на ГОСТ ИСО 5348-2002 "Вибрация. Механическое крепление акселерометров" (IDT). Ссылка на ISO 9611:1996 "Акустика. Описание источников вибрации с точки зрения последующего звукового излучения через присоединенные конструкции. Измерения скорости в точках установки машины на упругие изоляторы" заменена ссылкой на ГОСТ "Вибрация. Измерения вибрации, передаваемой машиной через упругие изоляторы. Общие требования" (MOD) |