Главная // Актуальные документы // ГОСТ (Государственный стандарт)СПРАВКА
Источник публикации
М.: Стандартинформ, 2014
Примечание к документу
Документ включен в
Перечень стандартов, в результате применения которых на добровольной основе обеспечивается соблюдение требований технического
регламента Таможенного союза "О безопасности оборудования для работы во взрывоопасных средах" (ТР ТС 012/2011), и в
Перечень стандартов, содержащих правила и методы исследований (испытаний) и измерений, в том числе правила отбора образцов, необходимые для применения и исполнения требований технического
регламента Таможенного союза "О безопасности оборудования для работы во взрывоопасных средах" (ТР ТС 012/2011) и осуществления оценки соответствия объектов технического регулирования (
Решение Комиссии Таможенного союза от 18.10.2011 N 825).
Документ включен в
Перечень национальных стандартов, содержащих правила и методы исследований (испытаний) и измерений, в том числе правила отбора образцов, необходимых для применения и исполнения Федерального
закона от 22.07.2008 N 123-ФЗ "Технический регламент о требованиях пожарной безопасности" и осуществления оценки соответствия (
Распоряжение Правительства РФ от 10.03.2009 N 304-р).
Документ
введен в действие с 15 февраля 2014 года.
Название документа
"ГОСТ 30852.3-2002. Межгосударственный стандарт. Электрооборудование взрывозащищенное. Часть 2. Заполнение или продувка оболочки под избыточным давлением p"
(введен в действие Приказом Росстандарта от 29.11.2012 N 1868-ст)
"ГОСТ 30852.3-2002. Межгосударственный стандарт. Электрооборудование взрывозащищенное. Часть 2. Заполнение или продувка оболочки под избыточным давлением p"
(введен в действие Приказом Росстандарта от 29.11.2012 N 1868-ст)
агентства по техническому
регулированию и метрологии
от 29 ноября 2012 г. N 1868-ст
МЕЖГОСУДАРСТВЕННЫЙ СТАНДАРТ
ЭЛЕКТРООБОРУДОВАНИЕ ВЗРЫВОЗАЩИЩЕННОЕ
ЧАСТЬ 2
ЗАПОЛНЕНИЕ ИЛИ ПРОДУВКА ОБОЛОЧКИ ПОД ИЗБЫТОЧНЫМ ДАВЛЕНИЕМ p
Explosionproof electrical equipment. Part 2.
Filling or purging of the pressurized enclosure "p"
ГОСТ 30852.3-2002
Дата введения
15 февраля 2014 года
Цели, основные принципы и порядок проведения работ по межгосударственной стандартизации установлены
ГОСТ 1.0-92 "Межгосударственная система стандартизации. Основные положения" и
ГОСТ 1.2-2009 "Межгосударственная система стандартизации. Стандарты межгосударственные, правила и рекомендации по межгосударственной стандартизации. Правила разработки, принятия, применения, обновления и отмены".
1. Подготовлен Автономной некоммерческой национальной организацией "Ex-стандарт" (АННО "Ex-стандарт").
2. Внесен Федеральным агентством по техническому регулированию и метрологии (Росстандарт) (ТК 403).
3. Принят Межгосударственным советом по стандартизации, метрологии и сертификации (протокол N 22 от 6 ноября 2002 г.).
За принятие проголосовали:
Краткое наименование страны по МК (ИСО 3166) 004-97 | Код страны по МК (ИСО 3166) 004-97 | Сокращенное наименование национального органа по стандартизации |
Азербайджан | AZ | Азстандарт |
Армения | AM | Минэкономики Республики Армения |
Беларусь | BY | Госстандарт Республики Беларусь |
Казахстан | KZ | Госстандарт Республики Казахстан |
Кыргызстан | KG | Кыргызстандарт |
Молдова | MD | Молдова-Стандарт |
Российская Федерация | RU | Росстандарт |
Таджикистан | TJ | Таджикстандарт |
Туркменистан | TM | Главгосслужба "ТУРКМЕНСТАНДАРТ-ЛАРЫ" |
Украина | UA | Госпотребстандарт Украины |
4.
Приказом Федерального агентства по техническому регулированию и метрологии от 29 ноября 2012 г. N 1868-ст межгосударственный стандарт ГОСТ 30852.3-2002 введен в действие в качестве национального стандарта Российской Федерации с 15 февраля 2014 г.
5. Настоящий стандарт модифицирован по отношению к проекту международного стандарта IEC 60079-2 (31/286/CDV) Electrical apparatus for explosive gas atmospheres - Part 2: Pressurized enclosure "p" (Электрооборудование взрывозащищенное. Часть 3. Заполнение или продувка оболочки под избыточным давлением p). Все дополнения в тексте стандарта выделены курсивом.
6. Введен впервые.
Информация об изменениях к настоящему стандарту публикуется в ежегодном информационном указателе "Национальные стандарты", а текст изменений и поправок - в ежемесячном информационном указателе "Национальные стандарты". В случае пересмотра (замены) или отмены настоящего стандарта соответствующее уведомление будет опубликовано в ежемесячном информационном указателе "Национальные стандарты". Соответствующая информация, уведомление и тексты размещаются также в информационной системе общего пользования - на официальном сайте Федерального агентства по техническому регулированию и метрологии в сети Интернет.
Настоящий стандарт представляет собой аутентичный текст четвертой редакции проекта IEC 60079-2 (31/286/CDV), разосланного на рассмотрение странам - членам МЭК 1999-03-26, с незначительными дополнениями, отражающими потребности экономик стран, упомянутых в предисловии как проголосовавших за принятие межгосударственного стандарта. Все дополнения в тексте стандарта выделены курсивом.
В целях удобства обращения к конкретным техническим требованиям в настоящем стандарте сохранена нумерация разделов, подразделов, пунктов, подпунктов и т.п., данная в IEC 60079-2 (CDV), за исключением раздела 3, термины в котором расположены в порядке русского алфавита.
Настоящий стандарт содержит требования к конструкции, испытаниям и маркировке электрооборудования, предназначенного для использования в потенциально взрывоопасных газовых средах, в которых:
а) защитный газ поддерживается под давлением выше давления во внешней среде и используется для защиты от образования взрывоопасной газовой смеси в оболочках, которые не содержат внутренний источник утечки воспламеняющегося газа или пара, либо
б) защитный газ подается в количестве, достаточном, чтобы полученная концентрация взрывоопасной газовой (паровой) смеси вокруг электрического компонента была вне верхнего и нижнего пределов взрываемости в соответствии с условиями эксплуатации. Это применяется для предотвращения образования взрывоопасных смесей внутри оболочек, содержащих один или более внутренних источников утечки.
1.1. Настоящий стандарт устанавливает специальные требования к конструкции и испытаниям электрооборудования с взрывозащитой вида p, предназначенного для использования в потенциально взрывоопасной среде.
Требования настоящего стандарта дополняют требования, приведенные в
ГОСТ 30852.0.
Стандарт содержит требования к электрооборудованию и связанным с ним устройствам, включая входные и выходные газопроводы, а также устройства контроля и управления, используемые для установления избыточного давления и/или разбавления.
1.2. Настоящий стандарт устанавливает требования к оболочкам под давлением с ограниченной утечкой воспламеняющегося вещества в виде газа, пара или жидкости.
1.3. Стандарт не распространяется на оболочки под давлением, в которых встроенная система может выделять:
а) воздух с содержанием кислорода выше нормального;
б) кислород в сочетании с инертным газом (объемная доля кислорода в инертном газе больше 21%).
1.4. Стандарт не содержит требований к помещениям, защищенным избыточным давлением и предназначенным для установки анализаторов.
1.5. При проведении испытаний в целях определения соответствия электрооборудования требованиям настоящего стандарта погрешность измерения может не учитываться, поскольку она не оказывает сколько-нибудь значительного влияния на результаты измерений. Это связано с тем, что при выборе измерительной аппаратуры учитывается необходимая точность измерений и устанавливается требуемая периодичность калибровки аппаратуры.
1.6. Требования настоящего стандарта являются обязательными.
В настоящем стандарте использованы ссылки на следующие межгосударственные стандарты:
ГОСТ 16504-81 Система государственных испытаний продукции. Испытания и контроль качества продукции. Основные термины и определения
ГОСТ 27473-87 (МЭК 112-79) Материалы электроизоляционные твердые. Метод определения сравнительного и контрольного индексов трекингостойкости во влажной среде
| | ИС МЕГАНОРМ: примечание. В официальном тексте документа, видимо, допущена опечатка: имеется в виду ГОСТ 30852.0-2002 (МЭК 60079-0:1998), а не ГОСТ 30852.0-99 (МЭК 60079-0-98). | |
ГОСТ 30852.0-99 (МЭК 60079-0-98) Электрооборудование взрывозащищенное. Часть 0. Общие требования
Примечание. При пользовании настоящим стандартом целесообразно проверить действие ссылочных стандартов в информационной системе общего пользования - на официальном сайте Федерального агентства по техническому регулированию и метрологии в сети Интернет или по ежегодному информационному указателю "Национальные стандарты", который опубликован по состоянию на 1 января текущего года, и по выпускам ежемесячного информационного указателя "Национальные стандарты" за текущий год. Если ссылочный стандарт заменен (изменен), то при пользовании настоящим стандартом следует руководствоваться заменяющим (измененным) стандартом. Если ссылочный стандарт отменен без замены, то положение, в котором дана ссылка на него, применяется в части, не затрагивающей эту ссылку.
В настоящем стандарте применяются следующие термины с соответствующими определениями:
3.1. Внутренний источник загазованности (утечки): точка или участок внутри защитной оболочки, из которых воспламеняющееся вещество в виде газа, пара или жидкости может поступать в оболочку под давлением в таком количестве, что в смеси с воздухом может образоваться взрывоопасная газовая среда.
3.2. Воспламеняющее устройство (ВУ): устройство, которое в нормальном режиме работы является источником воспламенения для заданной взрывоопасной газовой (паровой) среды. Это определение включает электрооборудование, не защищенное, как указано в
7.13.
3.3. Воспламеняющееся вещество: газы, пары, жидкости или их смеси, которые способны к воспламенению.
3.4. Встроенная система: часть электрооборудования, содержащая воспламеняющееся вещество и которая может быть внутренним источником выделения (утечки) этого вещества.
3.5. Встроенное электрооборудование: электрооборудование, размещенное внутри оболочки под давлением.
3.6. Герметично закрытое устройство: устройство такой конструкции, что наружная среда не может проникнуть внутрь, а любое соединение выполнено неразъемным, например пайкой, дуговой сваркой или сплавлением стекла и металла.
3.7. Защитный газ: воздух или инертный газ, используемые для продувки и поддержания избыточного давления, а если требуется, и для разбавления воспламеняющихся веществ внутри оболочки.
Примечание. В настоящем стандарте инертный газ означает азот, диоксид углерода, аргон или любой газ, который при смешении с кислородом в отношении 4:1 (как в атмосферном воздухе) не расширяет пределы воспламенения взрывоопасных смесей.
3.8. Зона разбавления: зона вблизи внутреннего источника утечки, в которой концентрация воспламеняющегося вещества не уменьшена до безопасного значения.
3.9. Избыточное давление: давление внутри защитной оболочки, превышающее давление во внешней среде, окружающей оболочку.
3.10. Индикатор <*>: устройство для установления факта существования входного сигнала и/или определения его значения без указания погрешности.
--------------------------------
<*> В настоящем стандарте используют еще одно значение термина: измерительный прибор (см.
таблицу 2). Определение термина "измерительный прибор" -
РМГ 29-99 [1].
3.11. Источник защитного газа: устройство (компрессор, воздуходувка, газопровод или баллон со сжатым газом), обеспечивающее подачу защитного газа под избыточным давлением.
Источник защитного газа содержит входные и выходные трубы, регуляторы давления, клапаны. Компоненты системы повышения давления сюда не входят.
3.12. Компенсация утечки: обеспечение потока защитного газа, достаточного для компенсации любой утечки из оболочки под давлением и сопряженных линий.
3.13. Наддув: обеспечение защиты от проникновения внешней среды в оболочку путем поддержания в ней давления защитного газа выше давления во внешней среде.
3.14. Оболочка под давлением: оболочка, в которой защитный газ поддерживается под давлением, превышающим давление во внешней среде.
3.15. Объем оболочки: внутренний объем оболочки без встроенного оборудования. Для вращающихся электрических машин это свободный внутренний объем плюс объем, вытесненный ротором.
3.17. Продувка: операция пропускания защитного газа через оболочку под давлением и газопроводы в таком количестве, чтобы концентрация взрывоопасной газовой среды снизилась до безопасного уровня.
3.18. Разбавление: непрерывная подача защитного газа после предварительной (предпусковой) продувки (очистки) с таким расходом, что концентрация воспламеняющегося вещества внутри оболочки под давлением поддерживается вне предела взрываемости у любого потенциального источника воспламенения (то есть вне зоны разбавления).
Примечание. Разбавление кислорода инертным газом может привести к образованию концентрации взрывоопасного газа или пара выше нижнего предела взрываемости (НПВ).
3.19. Сигнальное устройство: электрооборудование, осуществляющее визуальные или звуковые сигналы, привлекающие внимание.
3.20. Система установления избыточного давления (система наддува): совокупность компонентов, обеспечивающих создание и контроль избыточного давления в оболочке под давлением.
3.21. Статическое избыточное давление: поддержание избыточного давления внутри оболочки под давлением без дополнительного поступления защитного газа.
3.22. Установление избыточного давления для взрывозащиты вида px: увеличение давления, которое изменяет классификацию взрывоопасной зоны внутри оболочки под давлением от зоны 1 или зоны группы I до невзрывоопасной зоны.
3.23. Установление избыточного давления для взрывозащиты вида py: увеличение давления, изменяющее классификацию взрывоопасной зоны внутри оболочки под давлением от зоны 1 до зоны 2.
3.24. Установление избыточного давления для взрывозащиты вида pz: увеличение давления, изменяющее классификацию взрывоопасной зоны внутри оболочки под давлением от зоны 2 до невзрывоопасной.
Примечание. Уровни взрывозащиты электрооборудования "Заполнение или продувка под избыточным давлением p" для взрывозащиты видов px, py и pz приведены в
Приложении К.
Примечание. В настоящем стандарте, если нет других указаний, термины "напряжение" и "ток" означают постоянное напряжение или действующее значение переменного напряжения или тока.
Взрывозащита "Заполнение или продувка оболочки под избыточным давлением" подразделяется на три вида (px, py и pz), выбираемые в зависимости от класса зоны внешней потенциально взрывоопасной среды (1, 2 или зона группы I), от наличия внутри оболочки воспламеняющего устройства и встроенной системы, а также агрегатного состояния воспламеняющегося вещества, способного вследствие утечки поступать внутрь оболочки под давлением. Виды взрывозащиты приведены в таблице 1.
Таблица 1
Агрегатное состояние воспламеняющегося вещества во встроенной системе | Класс взрывоопасной зоны | Вид взрывозащиты |
Оболочка, содержащая воспламеняющие устройства | Оболочка, не содержащая воспламеняющие устройства |
Нет | 1 (или зона группы I) | px | py |
2 | pz | Не применяется |
Газ/пар | 1 | px | py |
2 | px (при наиболее опасном расположении воспламеняющего устройства) | py |
Жидкость | 1 | | py |
2 | | Не применяется |
<*> Если нормальная утечка (предусмотренная при работе в нормальном режиме) отсутствует, см. Приложение Д. <**> Защитный газ должен быть инертным, если за видом защиты избыточным давлением следует указание "инертный", см. раздел 13. Примечание. Если воспламеняющимся веществом является жидкость, нормальная утечка не допускается. |
Вид взрывозащиты определяет конструктивные требования к оболочке под давлением и системе обеспечения избыточного давления. Виды взрывозащиты и конструктивные требования к оболочке представлены в таблице 2.
Таблица 2
Требования к конструкции, обеспечивающей взрывозащиту вида p
Критерии конструкции и защиты | Вид взрывозащиты |
px | py | pz |
с индикацией | с сигнализацией |
Степень защиты от внешних воздействий | Минимально IP4X | Минимально IP3X |
Проверка периода предварительной (предпусковой) продувки | Требуется наличие приборов контроля времени продувки, давления и расхода | Требуется индикатор времени продувки и величины расхода |
Предотвращение выхода раскаленных частиц через нормально закрытое выходное отверстие во взрывоопасную зону 1 | Требуется барьер от искр и частиц. В отсутствии образования раскаленных частиц барьер не требуется (см. 5.8) | Никаких требований |
То же, в зону 2 | Никаких требований |
Предотвращение выхода раскаленных частиц во взрывоопасную зону 1 через открытое выходное отверстие в нормальных условиях работы | Требуется барьер от искр и частиц | Никаких требований |
Для открытия дверцы, крышки требуются специальные инструменты | | - |
Для открытия дверцы, крышки инструмента не требуется | Блокировка согласно 7.12 (при отсутствии внутренних нагретых частей) | |
Внутренние нагретые части, требующие времени для охлаждения перед открыванием оболочки | Исполнение в соответствии с 6.2б | Не используется для защиты, поскольку нагрев внутренних частей не допускается | Никаких требований |
5. Требования к конструкции оболочек под давлением
5.1. Оболочка
Оболочка под давлением должна иметь степень защиты согласно
таблице 2.
Примечание. При влажности и запыленности в условиях угольной пыли степень защиты, обеспечиваемая оболочкой, должна быть IP44.
5.2. Материалы
На материалы оболочки, компонентов, газопроводов и соединительных частей не должен неблагоприятно влиять применяемый защитный газ и агрессивная окружающая среда.
5.3.1. В оболочках под давлением для электрооборудования группы I двери и крышки должны:
- или должны быть блокированы так, чтобы электропитание электрооборудования, не имеющего защиты согласно
7.13 настоящего стандарта, отключалось автоматически при размыкании блокирующих устройств и не могло быть включено до тех пор, пока не произойдет замыкание этих блокирующих устройств. Должны также выполняться требования
7.6 настоящего стандарта.
5.3.2. В оболочках под давлением для электрооборудования группы I со статическим избыточным давлением двери и крышки должны иметь специальные крепления согласно
ГОСТ 30852.0 и должны быть снабжены предупредительной надписью:
"ПРЕДОСТЕРЕЖЕНИЕ! НЕ ОТКРЫВАТЬ ВО ВЗРЫВООПАСНОЙ ЗОНЕ".
5.3.3. На оболочки под давлением для электрооборудования группы II требование использования креплений согласно
ГОСТ 30852.0 не распространяется.
Примечание. Под воздействием высокого внутреннего давления при открытии дверей или крышек возможно их резкое открывание. Защиту операторов и обслуживающего персонала осуществляют одним из следующих способов:
а) использованием нескольких креплений, которые обеспечивают безопасное снижение избыточного давления из оболочки до того, как ослабнут все крепления, или
б) использованием крепления на два положения, что позволяет производить безопасное снижение давления при открывании оболочки, или
в) ограничением максимального внутреннего давления до значения, равного 2,5 кПа.
5.3.4. В оболочках со статическим избыточным давлением для электрооборудования группы II двери и крышки могут быть открыты только с помощью инструмента. При этом необходима предупредительная надпись согласно
5.3.2.
5.3.5. Оболочка под давлением с взрывозащитой вида px, в которой находятся нагретые компоненты, требующие времени для охлаждения, может быть открыта только с помощью ключа или инструмента.
5.4. Механическая прочность
Оболочки под давлением, газопроводы (если таковые имеются) и соединения должны выдерживать при условии закрытых выходов давление, в 1,5 раза превышающее максимальное избыточное давление, обозначенное изготовителем для нормальных условий эксплуатации, но не менее 200 Па.
Однако если в процессе эксплуатации может возникнуть давление, способное привести к деформации оболочки, газопроводов (при их наличии) или соединений, то необходимо применение защитного устройства для ограничения максимального внутреннего избыточного давления до уровня безопасного для взрывозащиты данного вида. Если изготовитель не обеспечивает такое защитное устройство, то оборудование следует маркировать знаком X, и в технической документации должна быть приведена вся информация, необходимая потребителю для обеспечения требований настоящего стандарта.
5.5. Отверстия, перегородки и внутренние компоненты
5.5.1. Отверстия и перегородки следует размещать таким образом, чтобы обеспечить эффективную продувку.
Примечания.
1. Непродуваемые участки должны быть устранены путем правильного размещения входа и выхода защитного газа, при этом необходимо учитывать влияние на продувку внутренних перегородок.
2. Для газов или паров, которые тяжелее воздуха (плотность более 1,0 г/см3), вход защитного газа должен размещаться ближе к верху оболочки, а выход - ближе к низу оболочки.
3. Для газов и паров легче воздуха (плотность менее 1,0 г/см3) вход защитного газа должен находиться ближе к низу оболочки, а выход - ближе к верху оболочки.
4. Размещение входа и выхода с противоположных сторон оболочки способствует перекрестной вентиляции.
5. Внутренние перегородки (например, печатные платы) следует размещать таким образом, чтобы не преграждать поток защитного газа. Использование коллекторов или экранов также улучшает поток вокруг препятствий.
6. Количество отверстий для входа и выхода зависит от конструкции электрооборудования. Особое внимание следует обращать на продувку подотсеков, на которые может быть подразделено электрооборудование.
5.5.2. Поток защитного газа для внутренних отсеков следует направлять через основную оболочку или продувать их отдельно.
Примечание. Выходные отверстия должны иметь площадь сечения не менее 1 см2 на каждые 1000 см3 объема оболочки при минимальном диаметре отверстия 6,3 мм.
5.5.3. Катодно-лучевые трубки и другие герметичные устройства не требуют продувки.
5.5.4. Компоненты со свободным внутренним объемом менее 20 см3 не рассматривают как внутренние отсеки, требующие продувки, если только общий объем таких компонентов составляет не более 1% от свободного внутреннего объема оболочки под давлением.
Примечания.
1. Значение, равное 1%, соответствует 25% нижнего предела взрываемости водорода (см.
А.2).
2. Электрические элементы, герметизированные от окружающей среды, например транзисторы, микросхемы, конденсаторы и др., не учитывают при расчетах общего объема компонента.
5.5.5. В случае статического избыточного давления оболочка должна иметь одно или более отверстий. После заполнения и достижения избыточного давления все отверстия следует заглушить.
5.6. Изоляционные материалы
Для электрооборудования группы I изоляционные материалы, находящиеся под напряжением, способным вызывать дуговые разряды в воздухе под воздействием номинального тока более 16 А, должны иметь группу трекингостойкости с индексом СИТ >= 400 М согласно
ГОСТ 27473.
5.7. Уплотнения
Кабели и газопроводы, связанные с оболочкой под давлением, следует уплотнить для обеспечения требуемого уровня защиты оболочки от воздействия окружающей среды. При отсутствии уплотнения их следует рассматривать как часть оболочки.
5.8. Барьеры защиты от искр и нагретых частиц
Оболочки под давлением и газопроводы, если таковые используются для защитного газа, должны быть снабжены барьерами от искр и частиц для защиты от попадания раскаленных частиц во взрывоопасную зону.
Исключения
1. Такие барьеры для выходного отверстия не требуются при сбросе в зону 1, если раскаленные частицы в нормальном режиме не образуются.
2. Барьеры не требуются при выходе в зону 2, если в нормальном режиме раскаленные частицы не образуются.
Принято считать, что в нормальном режиме раскаленные частицы не образуются, если контакты замыкания/размыкания находятся под током менее 10 А, рабочее напряжение не превышает 275 В переменного тока или 60 В постоянного тока, а контакты имеют покрытие или заключены в оболочку.
Если изготовитель не применяет барьеры, то маркировка электрооборудования производится согласно
ГОСТ 30852.0.
6.1. Общее
Электрооборудование должно быть классифицировано в соответствии с требованиями температурной классификации по
ГОСТ 30852.0. Классификация определяется согласно 6.2 и
6.3 настоящего стандарта.
6.2. Для взрывозащиты вида px или py классификация должна быть основана:
а) на самой высокой температуре внешней поверхности оболочки, или
б) на самой нагретой поверхности внутреннего компонента.
Исключение - Температура внутреннего компонента может превышать температурную классификацию, если:
2) оболочка под давлением маркирована согласно
ГОСТ 30852.0 с учетом времени, достаточного для охлаждения компонента до температуры, соответствующей температурному классу оболочки. Необходимы меры, предотвращающие в случае потери избыточного давления контакт взрывоопасной газовой среды, которая может высвободиться, с поверхностью нагретого компонента до его охлаждения ниже допустимого максимального значения.
Примечание. Это обеспечивается за счет соответствующей конструкции соединений оболочки под давлением и газопроводов или другим способом, например с помощью вспомогательных систем вентиляции или путем заключения нагретой поверхности внутри оболочки под давлением в герметичный корпус.
6.3. Для взрывозащиты вида pz температурная классификация основана на температуре самой нагретой наружной поверхности оболочки.
7. Средства и устройства защиты, кроме варианта взрывозащиты
с помощью статического избыточного давления
7.1. Средства, используемые для защиты электрооборудования от взрыва с помощью избыточного давления (таблица 3), сами не должны быть источником взрыва (см.
7.13), или же их следует устанавливать за пределами взрывоопасной зоны.
Таблица 3
Средства защиты в зависимости от взрывозащиты вида p
Виды защитных устройств | Вид взрывозащиты |
px | py | pz |
Защитное устройство для определения потери минимального избыточного давления | | Индикатор или датчик давления (7.9г) |
Защитное устройство для проверки времени предварительной продувки | Реле времени, датчики давления и расхода на выходе (7.6) | Указатели времени продувки и величины расхода (7.7в) |
Защитное устройство для двери или крышки (открывается с помощью инструмента) | | Не требуется |
Защитное устройство для двери или крышки (открывается без инструмента) | Блокировка (7.12) (нагретых внутренних компонентов нет) | Предупреждение (6.2б) (нагретых внутренних компонентов нет) | |
Защитное устройство при наличии нагретых внутренних компонентов и встроенной системы (см. 15) | Аварийная сигнализация и блокировка, обеспечивающая прекращение поступления воспламеняющегося вещества | Не применяется для защиты, поскольку нагрев внутренних частей не допускается | Аварийная сигнализация (нормальная утечка не допускается) |
7.2. Защитные устройства
(таблица 3) согласно настоящему стандарту являются компонентами системы управления.
Изготовитель должен обеспечить безопасность и целостность системы управления:
- для взрывозащиты вида px или py - при работе в нормальном режиме и наличии одной неисправности;
- для взрывозащиты вида pz - при работе в нормальном режиме.
7.3. Защитные устройства поставляются изготовителем электрооборудования или пользователем. Если изготовитель не обеспечивает установку защитных устройств, электрооборудование маркируют знаком X, и техническое описание должно содержать всю необходимую потребителю информацию согласно требованиям настоящего стандарта.
7.4. Для оболочек с взрывозащитой вида px в целях определения режима работы системы управления изготовитель должен представить схему функционирования средств и устройств защиты, например в виде графика или таблицы состояния, диаграммы расхода и т.п.
Схема последовательности должна четко идентифицировать и отражать рабочее состояние средств и устройств защиты и последовательность их действия.
Для проверки соответствия схеме необходимо провести испытания на функционирование. Эти испытания проводят при нормальных атмосферных условиях, если нет других указаний изготовителя.
Примечание. Пример информации, предоставляемой изготовителем, приведен в
Приложении Б.
7.5. Изготовитель должен указать максимальные и минимальные уровни срабатывания и допуски для защитных устройств. Защитные устройства должны использоваться в пределах нормальных эксплуатационных условий, определенных изготовителем.
7.6. Необходимы защитные устройства, предотвращающие подачу питания на электрооборудование внутри оболочки под давлением до завершения предварительной продувки. Для взрывозащиты вида px последовательность работы защитных устройств следующая:
а) после запуска производят контроль расхода защитного газа и величины избыточного давления в оболочке под давлением согласно требованиям настоящего стандарта;
б) время продувки отсчитывают, когда достигается минимальный допустимый расход защитного газа, а избыточное давление находится в заданных пределах;
в) по истечении заданного времени продувки включается питание электрооборудования;
г) в случае нарушения работы защитных устройств на любом этапе отсчет времени прекращают и реле времени переключают на начало цикла.
7.7. Изготовитель должен указать условия продувки после открывания оболочки или падения избыточного давления ниже указанного допустимого минимума:
а) для взрывозащиты видов px или py изготовитель должен указать минимальный расход газа при продувке и время продувки согласно требованиям испытаний (см.
16.3 или
16.4). Минимальный расход продувочного газа и время продувки могут быть приняты равными пятикратному объему оболочки, если испытательная лаборатория на основании расчетов сочтет такую продувку достаточной без испытаний;
б) для взрывозащиты вида pz изготовитель должен указать такой минимальный расход защитного газа и такое время продувки оболочки под давлением, чтобы количество пропущенного защитного газа было равно пяти объемам оболочки. Количество защитного газа может быть уменьшено, если испытания (см.
16.3 или
16.4) показали эффективность продувки;
в) расход защитного газа следует контролировать на выходе из оболочки под давлением. Для взрывозащиты вида px необходимо измерять фактический расход. Для взрывозащиты вида py или pz должна быть установлена табличка, регламентирующая продувку оболочки под давлением до подачи питания на электрооборудование,
а также необходимо иметь защитные устройства, контролирующие расход защитного газа, например по давлению в оболочке и размерам выходного сопла.
Примечание. Определение свободного пространства в газопроводах, не являющихся частью сертифицированного электрооборудования, и обеспечение дополнительного времени продувки при заданном минимальном расходе входит в обязанности потребителя.
7.8. Если изготовителем обозначен минимальный расход защитного газа с учетом специальных условий (например, когда температура встроенного электрооборудования выше указанного температурного класса), необходимы одно или более автоматических защитных устройств, которые срабатывают в случае падения расхода защитного газа на выходе ниже обозначенной минимальной величины.
7.9. Следует обеспечить одно или более автоматических защитных устройств, которые должны срабатывать, когда избыточное давление внутри оболочки под давлением падает ниже минимума, обозначенного изготовителем:
а) автоматическое защитное устройство получает сигнал от датчика, соединенного непосредственно со средой внутри оболочки;
б) между датчиком автоматического защитного устройства и внутренним объемом оболочки под давлением устанавливать клапаны не разрешается;
в) необходимо обеспечить возможность проверки правильности работы защитных устройств. Их размещение и установку требуемых параметров следует производить согласно
7.10.
Примечание. Выбор конкретного вида действия автоматического защитного устройства (то есть отключение питания, включение звуковой аварийной сигнализации или другое в целях обеспечения безопасности) входит в компетенцию потребителя;
г) оболочка под давлением с взрывозащитой вида pz может быть снабжена индикатором или измерительным прибором вместо автоматического защитного устройства, если обеспечены следующие требования:
1) Источник защитного газа должен быть снабжен аварийным сигнализатором для индикации неисправности источника защитного газа. Этот сигнализатор позволяет контролировать возможность обеспечения минимального давления в оболочке под давлением.
2) Между оболочкой под давлением и аварийным сигнализатором источника защитного газа не должно быть никаких устройств, кроме аварийного клапана и/или устройства регулирования давления или расхода.
3) Клапан должен:
- иметь маркировку согласно
18.7 и обеспечивать возможность блокирования в открытом положении;
- иметь указатель положения (открыто/закрыто);
- размещаться рядом (быть сопряженным) с оболочкой под давлением;
- использоваться только при обслуживании оболочки под давлением.
4) Настройка и управление устройством регулирования давления или расхода должны производиться с помощью специального инструмента.
5) Между оболочкой под давлением и аварийным сигнализатором подачи защитного газа запрещается устанавливать фильтры.
6) Индикатор следует размещать таким образом, чтобы обеспечить удобное наблюдение показаний.
7) Индикатор должен определять значение давления в оболочке.
8) Точку измерения следует размещать таким образом, чтобы можно было учитывать самые жесткие условия эксплуатации.
Примечания.
1. Если для определения расхода и давления защитного газа используют расходомер, то его следует размещать на выходе.
2. Если для определения расхода используют измеритель давления, то его можно размещать на любом участке оболочки, кроме входа.
3. Поток защитного газа через оболочку или давление в оболочке можно контролировать на входе в оболочку только в исключительных случаях.
9) Между индикатором и оболочкой под давлением не следует устанавливать клапаны.
7.10. В каждой точке внутри оболочки под давлением и подключенных газопроводах, где возможна утечка, следует установить минимальное избыточное давление относительно внешнего 50 Па для взрывозащиты видов px и py и 25 Па - для pz.
Изготовитель должен обозначить минимальное и максимальное избыточное давление при эксплуатации и максимальную скорость утечки при максимальном избыточном давлении.
Распределение давления в различных системах и газопроводах приведено в
Приложении В.
Примечание. Очень важно, чтобы при установке связанных с оболочкой газопроводов, компрессора или вентилятора последние не представляли опасности при эксплуатации. Основные требования к установке газопроводных систем изложены в
Приложении Г.
7.11. При использовании общего источника защитного газа для ряда отдельных оболочек под давлением можно применять общее защитное устройство или устройства при условии, что конечное регулирующее воздействие учитывает наиболее неблагоприятную конфигурацию группы оболочек.
Если используется общее защитное устройство, то при открытии двери или крышки одной оболочки нет необходимости отключать электрооборудование в других оболочках под давлением или включать аварийную сигнализацию, если соблюдены три следующих условия:
а) для взрывозащиты вида px перед открытием двери или крышки следует отключить питание электрооборудования в данной оболочке под давлением, кроме элементов, защищенных в соответствии с
7.13;
б) общее защитное устройство продолжает контролировать избыточное давление и, если это необходимо, расход через все другие оболочки под давлением в этой группе;
в) перед подключением питания к электрооборудованию в данной оболочке под давлением необходимо произвести продувку, описанную в
7.6.
7.12. В устройствах с взрывозащитой вида px крышки и двери следует блокировать таким образом, чтобы отключение питания электрооборудования, не указанного в
7.13, происходило автоматически при их открытии, а включение питания было возможным только после их закрытия.
Указанные устройства также должны соответствовать требованиям
7.6.
Исключение - Двери и крышки, которые можно открывать только с помощью инструмента или ключа.
7.13. Электрооборудование внутри оболочки под давлением с взрывозащитой вида px или py, на которое подается питание в условиях отключения защиты, должно иметь взрывозащиту видов d, e, i, m, o или q.
Электрооборудование внутри оболочки под давлением с взрывозащитой вида pz, на которое подается питание в условиях отключения защиты, должно иметь взрывозащиту видов d, e, i, m, o, q, nA или nC.
7.14. Электрооборудование внутри оболочки под давлением с взрывозащитой вида py должно иметь взрывозащиту видов o, q, d, i, m, e, nA или nC.
Примечание. Оболочка под давлением для встроенного электрооборудования может выполнять функции взрывозащиты вида n.
8. Обеспечение защиты и защитные устройства
для статического избыточного давления
8.1. Все защитные устройства, предотвращающие взрыв в электрооборудовании, защищенном статическим избыточным давлением, не должны инициировать взрыв, и если защитные устройства приводятся в действие электрическими средствами, то они должны быть защищены согласно
ГОСТ 30852.0 или установлены за пределами взрывоопасной зоны.
8.2. Защитный газ должен быть инертным. Объемная доля кислорода после заполнения инертным газом должна составлять менее 1%.
8.3. Внутренние источники выделения воспламеняющихся веществ не допускаются.
8.4. Оболочку под давлением следует заполнить инертным газом вне взрывоопасной зоны, используя методику, указанную изготовителем.
8.5. Если избыточное давление падает ниже минимума, указанного изготовителем, то при взрывозащите видов px и py требуется срабатывание двух автоматических защитных устройств или одного автоматического устройства при взрывозащите вида pz. Необходимо обеспечить возможность проверки правильности работы устройств во время эксплуатации электрооборудования. Изменение уставок автоматических защитных устройств должно быть возможно только с помощью инструмента или ключа.
Примечание. Потребитель определяет назначение автоматических защитных устройств (например, для отключения питания или включения звуковой аварийной сигнализации, или для принятия других мер обеспечения безопасности).
8.6. Электрооборудование внутри оболочки под давлением, на которое подается питание, когда взрывозащита вида p не функционирует, должно иметь один из видов взрывозащиты, указанных в
7.13.
8.7. Минимальное избыточное давление должно превышать максимальную потерю давления в нормальных условиях эксплуатации за время, не менее чем в 100 раз превышающее необходимое для охлаждения встроенных в оболочку компонентов до безопасной температуры (согласно
ГОСТ 30852.0), но не менее 1 ч.
Минимальное избыточное давление должно превышать внешнее давление не менее чем на 50 Па в наиболее неблагоприятных допустимых условиях эксплуатации.
Защитный газ не должен быть воспламеняющимся. Изготовитель должен указать тип защитного газа и допустимый альтернативный газ.
Примечания.
1. Защитный газ не должен из-за химических свойств или содержащихся примесей снижать эффективность взрывозащиты вида p или неблагоприятно влиять на функционирование и целостность встроенного в оболочку электрооборудования.
2. В качестве защитного газа может использоваться воздух, применяемый для приборов автоматики, азот или другой невоспламеняющийся газ.
10. Оболочка под давлением с внутренним источником
поступления воспламеняющихся веществ
Условия поступления воспламеняющихся веществ, требования к конструкции встроенной системы, методика установления избыточного давления, ограничения, налагаемые на электрооборудование, способное вызвать воспламенение, и температура внутренних нагретых поверхностей приведены в разделах 11 -
15.
11. Условия поступления воспламеняющихся веществ
11.1. Отсутствие поступления
11.1.1. Если встроенная система является неповреждаемой, то внутренняя утечка (поступление) отсутствует (см.
12.2).
11.1.2. В условиях работы в заданных температурных пределах внутренняя утечка невозможна, если воспламеняющееся вещество внутри встроенной системы находится в газовой или паровой фазе при условии, что
а) газовая смесь внутри встроенной системы имеет концентрацию всегда ниже нижнего предела взрываемости, или
б) минимальное давление, обозначенное для оболочки под давлением, не менее чем на 50 Па выше максимального давления, обозначенного для встроенной системы, и при этом обеспечивается срабатывание автоматического защитного устройства, если перепад давления меньше 50 Па.
Примечание. Потребитель определяет назначение сигнала от автоматического защитного устройства (например, для отключения питания или включения звуковой сигнализации, или для принятия других мер обеспечения безопасности).
Согласно данному подпункту электрооборудование следует маркировать знаком X в соответствии с
ГОСТ 30852.0.
11.2. Ограничение поступления газа или пара
Необходимо иметь возможность прогнозирования величины поступления (утечки) воспламеняющегося вещества в оболочку под давлением при любых неисправностях во встроенной системе (см.
12.3).
Примечание. В настоящем стандарте утечку сжиженного газа рассматривают как утечку газа.
11.3. Ограничение утечки жидкости
Величина утечки воспламеняющегося вещества в оболочку под давлением ограничена (см.
11.2), но превращение жидкости в воспламеняющийся пар непредсказуемо. Необходимо учитывать возможность скопления жидкости внутри оболочки под давлением и последствия этого скопления.
Если из жидкости высвобождается кислород, то необходимо прогнозировать его возможный максимальный расход (см.
13.2.2).
12. Конструктивные требования к встроенной системе
12.1. Общие конструктивные требования
Конструкция встроенной системы должна учитывать наиболее неблагоприятные условия эксплуатации, указанные изготовителем, и допустимость или недопустимость утечки. Система должна быть или неповреждаемой, или давать ограниченную утечку при неисправности.
Если воспламеняющимся веществом является жидкость, поступления (утечки) в нормальных условиях эксплуатации не должно быть, а защитный газ должен быть инертным (см.
Приложение Д).
Примечание. Защитный газ должен быть инертным, чтобы образующиеся пары не превышали допустимый предел разбавления защитного газа.
Изготовитель должен указать максимальное входное давление встроенной системы.
Изготовитель должен представить описание конструкции аппарата встроенной системы, указать рабочие условия и тип воспламеняющегося вещества, а также прогнозируемую величину поступления в заданных точках, что позволит классифицировать встроенную систему по следующим категориям:
12.2. Неповреждаемая встроенная система
Должна быть выполнена из металла, керамики или стекла в виде трубок или емкостей без подвижных соединений, например сильфонов. Соединения выполняют сваркой, дуговой пайкой, сплавлением стекла и металла или с помощью эвтектических методов <*>.
--------------------------------
<*> Метод соединения двух или более компонентов (обычно металлических) с использованием двойного или тройного сплава, затвердевающего при постоянной температуре, которая ниже температуры начала отвердения любого соединяемого компонента.
Низкотемпературные сплавы для пайки типа композитов свинца/олова не допускаются.
Примечание. Изготовитель должен тщательно определить возможность отрицательного воздействия рабочих условий на потенциально хрупкую встроенную систему.
Эти условия должны быть оговорены изготовителем и потребителем. К ним можно отнести вибрацию, тепловой удар и операции по обслуживанию, требующие открытия дверей и крышек оболочки под давлением.
12.3. Встроенная система с ограниченной утечкой
Конструкция системы должна быть такой, чтобы величину утечки воспламеняющегося вещества можно было прогнозировать при любой ее неисправности.
Количество воспламеняющегося вещества, попадающее в оболочку под давлением, включает в себя количество воспламеняющегося вещества во встроенной системе и воспламеняющееся вещество, поступающее во встроенную систему с процесса. Его расход следует ограничить до требуемой величины с помощью соответствующих устройств, размещаемых за пределами оболочки под давлением.
Однако если часть встроенной системы от точки ввода в оболочку под давлением до и включая вход устройства для ограничения расхода соответствует требованиям
12.2, то ограничительное устройство можно устанавливать внутри оболочки под давлением; в этом случае оно должно крепиться неподвижно и не иметь подвижных частей.
Расход во встроенную систему с процесса нет необходимости ограничивать, если можно прогнозировать максимальную величину утечки из встроенной системы в оболочку под давлением. Это условие может быть удовлетворено, если:
а) встроенная система содержит соединяемые части, каждая из которых в отдельности отвечает требованиям
12.2, и соединения между частями выполнены таким образом, чтобы можно было прогнозировать максимальную утечку. При этом соединения должны быть закреплены неподвижно и/или
б) встроенная система содержит сопла или отверстия для выхода в нормальных условиях работы (например, пламени). В остальном она должна отвечать требованиям
12.1.
Если в электрооборудовании нет устройства ограничения расхода, то оболочку под давлением маркируют знаком X.
Специальные условия безопасной эксплуатации предусматривают обозначение максимального давления и расхода воспламеняющегося вещества во встроенной системе.
Оболочку под давлением, содержащую пламя, следует рассматривать так, как если бы пламя было погашено.
Максимальное количество смеси топлива/воздуха, являющейся источником пламени, следует суммировать с величиной утечки из встроенной системы.
Примечания.
1. Во встроенной системе допускаются уплотнения из эластомера, смотровые окна и др. неметаллические части. Допускаются также трубная резьба, компрессионные соединения (например, металлические компрессионные фитинги) и фланцевые соединения.
2. Потребитель должен учитывать возможность образования воспламеняющейся смеси при проникновении воздуха во встроенную систему и принять соответствующие дополнительные защитные меры, например увеличить количество подаваемого для продувки инертного газа.
13. Защитный газ и методика установления
избыточного давления
13.1. Общее
Выбор защитного газа зависит от вероятности появления, количества и состава утечки из встроенной системы. Допустимый защитный газ указан в таблице 4.
Таблица 4
Требования к защитному газу для оболочки
под давлением со встроенной системой
| Непрерывное разбавление | Компенсация утечки |
Состояние вещества | Нормальный режим | При аварии | | ВПВ > 80% | ВПВ < 80% | ВПВ > 80% |
Газ или жидкость | Отсутствует | Отсутствует | Не применяются |
Газ | Ограниченная | Воздух или инертный газ | Воздух | Только инертный газ | |
Ограниченная | |
Жидкость | Отсутствует | Только инертный газ | | Только инертный газ |
Ограниченная | | |
<*> ВПВ - верхний предел взрываемости. <**> Методика установления избыточного давления не используется. |
Конструкция оболочки под давлением со встроенной системой и ограниченной утечкой должна быть такой, чтобы образование взрывоопасной газовой среды внутри оболочки под давлением на участке потенциального источника воспламенения, то есть за пределами зоны разбавления, было невозможно.
В
Приложении Е приведены примеры, каким образом внутренние перегородки позволяют разместить потенциальные источники воспламенения за пределами зоны разбавления.
Если в качестве защитного используют инертный газ, то оболочку под давлением следует маркировать согласно
18.9.
Применяемая методика установления избыточного давления зависит от условий и состава утечки следующим образом:
13.2. Установление избыточного давления с компенсацией утечки
13.2.1. Утечка отсутствует
В качестве защитного газа можно использовать воздух или инертный газ.
13.2.2. Ограниченная утечка газа или жидкости
В качестве защитного газа следует использовать инертный газ.
Объемная доля кислорода в воспламеняющемся веществе не должна превышать 2%.
В нормальных условиях утечка воспламеняющегося вещества должна отсутствовать (см.
Приложение Д).
Верхний предел взрываемости (ВПВ) воспламеняющегося вещества не должен превышать 80%.
Примечания.
1. Обеспечить защиту с компенсацией утечки при использовании инертного газа, если воспламеняющееся вещество обладает способностью вступать в реакцию с небольшим количеством кислорода или в отсутствии кислорода, то есть при ВПВ > 80%, сложно или невозможно.
2. Если ВПВ > 80% или объемная доля кислорода превышает 2%, или если происходит нормальная утечка воспламеняющегося вещества (см.
Приложение Д), то для разбавления воспламеняющегося вещества используют непрерывный поток согласно 13.3.
13.3. Установление избыточного давления с разбавлением
13.3.1. Утечка отсутствует
В качестве защитного газа можно использовать воздух или инертный газ.
13.3.2. Ограниченная утечка газа или пара
Расход защитного газа после продувки должен быть достаточным при всех возможных неисправностях встроенной системы для разбавления максимальной утечки у потенциального источника воспламенения, то есть за пределами зоны разбавления:
а) когда защитным газом является воздух, воспламеняющееся вещество в утечке следует разбавлять до концентрации не выше 25% от нижнего предела взрываемости (НПВ);
б) когда в качестве защитного газа используется инертный газ, кислород в утечке следует разбавлять до значения, не превышающего 0,02 объемных долей (2%).
Когда воспламеняющееся вещество, высвобождаемое из встроенной системы, имеет ВПВ > 80%, любую утечку следует разбавлять воздухом до концентрации не выше 25% от НПВ.
Примечание. Если воспламеняющееся вещество способно вступать в реакцию с небольшим количеством кислорода или в отсутствии кислорода, то есть имеет ВПВ > 80%, то необходимо разбавление до концентрации 25% от НПВ.
13.3.3. Ограниченная утечка жидкости
Защитный газ должен быть инертным, и необходимо выполнение требований
13.3.2б.
Нормальная утечка воспламеняющегося вещества должна отсутствовать (см.
Приложение Д).
14. Электрооборудование, способное к воспламенению
Электрооборудование в зоне разбавления должно иметь защиту, указанную в таблице 5. Исключение составляют факелы, поджигающие электроды или др. подобные устройства для зажигания. Зона разбавления, образуемая факелом, не должна совмещаться с любой другой зоной разбавления.
Таблица 5
Виды взрывозащиты, допускаемые в зоне разбавления
Условия внутренней утечки | Взрывозащита вида p |
px и py | pz |
При аварии (отклонение от нормы) | d, e, i, m, o, q | d, e, i, m, o, q, nA, nC |
В нормальных условиях | ia | ia |
Примечания.
1. В целом любой внутренний источник утечки должен находиться ближе к выходу, а любое электрооборудование, способное вызвать воспламенение, - ближе ко входу защитного газа для обеспечения наикратчайшего расстояния выхода воспламеняющегося вещества из оболочки под давлением в обход электрооборудования, способного вызвать воспламенение.
2. Для предотвращения распространения пламени от источника воспламенения внутри встроенной системы обратно на установку необходим пламегаситель. Однако эти меры в данном стандарте не рассматривают.
15. Внутренние нагретые поверхности
Если оболочка под давлением содержит поверхность, температура которой превышает температуру воспламенения высвобождаемого из встроенной системы воспламеняющегося вещества, необходимо автоматическое защитное устройство. Функционирование защитного устройства оговорено в
11.1.2б и приведено в
таблице 3. Кроме того:
а) если в качестве защитного газа используют воздух, то утечка оставшегося во встроенной системе воспламеняющегося вещества не должна образовывать концентрацию более 50% НПВ вблизи нагретой(ых) поверхности(ей), или
б) если в качестве защитного газа используют инертный газ, конструкция соединений оболочки под давлением должна предотвращать какое-либо значительное смешение наружного воздуха с внутренним инертным газом (или внутренним воспламеняющимся газом или паром) на протяжении периода охлаждения. Поступление атмосферного воздуха не должно увеличивать объемную долю кислорода в смеси св. 2%.
На оболочке под давлением должна быть установлена табличка, предупреждающая о необходимости выдержки интервала между отключением источника нагрева внутри оболочки под давлением и открытием двери или крышки. Этот интервал должен быть равен наибольшему времени охлаждения нагретой поверхности до температуры ниже температуры воспламенения высвобождаемого из встроенной системы воспламеняющегося вещества или ниже температурного класса оболочки под давлением в зависимости от того, какая величина меньше.
16. Функциональные проверки и испытания
16.1. Испытание на максимальное избыточное давление
На оболочку под давлением, газопровод и соединения, если они являются частью оболочки, подают давление, в 1,5 раза превышающее обозначенное максимальное допустимое избыточное давление, или 200 Па в зависимости от того, что больше.
Давление при испытании следует выдержать в течение (120 +/- 10) с.
Испытание считают успешным, если не обнаружено остаточной деформации, которая может нарушить вид взрывозащиты.
16.2. Испытание на утечку
16.2.1. Давление в оболочке под давлением следует установить на уровне максимального избыточного давления, обозначенного изготовителем для нормальных условий эксплуатации. Выходное отверстие закрывают, а утечку измеряют на входном отверстии. Измеренный расход не должен превышать максимальной величины утечки, указанной изготовителем.
16.2.2. В случае статического избыточного давления в оболочке под давлением следует установить максимальное избыточное давление для нормальных условий эксплуатации. Отверстия закрывают и внутреннее давление измеряют в течение времени, установленного в
8.7. Изменение давления не должно превышать минимальное избыточное давление, установленное для нормальных условий эксплуатации.
16.3. Испытание на продувку оболочки под давлением, не имеющей внутреннего источника утечки (метод установления избыточного давления - компенсация утечки или непрерывный поток), и испытание на заполнение при статическом избыточном давлении
16.3.1. Оболочка под давлением с воздухом в качестве защитного газа
Оболочку под давлением для испытания готовят согласно
Приложению А. Оболочку заполняют газом для испытания до концентрации не менее 70% в любой точке.
Как только оболочка заполнится, поток газа для испытания перекрывают, и включают подачу воздуха с минимальной скоростью продувки, обозначенной изготовителем.
Измеряют время продувки, которую производят до тех пор, пока ни в одной из точек пробоотбора концентрация газа для испытания не будет превышать приведенную в
А.2. Измеренное время является необходимым временем продувки.
Если требуется второе испытание (соответственно с легким или наоборот тяжелым газом), то оболочку под давлением заполняют другим испытательным газом с противоположным показателем плотности (легкий/тяжелый газ) до концентрации не менее 70% в любой точке. Затем измеряют необходимое время продувки для второго испытания.
Минимальная длительность продувки, обозначенная изготовителем, должна быть не меньше измеренного времени продувки или равняться большему из двух периодов продувки, если проводится два испытания.
16.3.2. Оболочка под давлением с инертным газом в качестве защитного газа
Оболочку под давлением для испытания готовят в соответствии с
Приложением А. Сначала оболочку заполняют воздухом при нормальном атмосферном давлении. Затем производят продувку оболочки инертным газом, указанным изготовителем.
Время продувки измеряют до тех пор, пока не остается ни одной точки пробоотбора, где бы концентрация кислорода превышала приведенную в
А.3. Это время принимают за время продувки. Минимальная длительность продувки, обозначенная изготовителем, не должна быть меньше измеренного времени продувки.
16.3.3. Оболочка под давлением, в которой защитным газом является воздух или инертный газ плотностью, отличающейся от плотности воздуха на +/- 10%
Если воздух и инертный газ допускаются в качестве альтернативных защитных газов при том же времени продувки, то время продувки следует измерять методом
16.3.1.
16.3.4. Испытание методики заполнения оболочки под давлением, защищенной статическим избыточным давлением
При статическом избыточном давлении сначала следует заполнить оболочку воздухом при нормальном атмосферном давлении. Затем электрооборудование заполняют инертным газом согласно инструкции изготовителя. Измеряют концентрацию кислорода. В каждой точке пробоотбора объемная доля кислорода в газовой среде, заполняющей оболочку, не должна превышать 1%.
16.4. Испытание продувки и разбавления в оболочке под давлением, имеющей внутренний источник утечки
16.4.1. Газ для испытания
При выборе газа(ов) для испытания необходимо учитывать внешнюю среду и внутреннюю утечку воспламеняющегося вещества.
16.4.2. Оболочка под давлением, в которой воспламеняющееся вещество содержит менее 0,02 объемной доли кислорода (2%), а защитный газ является инертным
16.4.2.1. Испытание продувки
Испытание следует проводить по методике
16.3.2. Минимальный расход продувочного газа должен составлять не меньше максимальной скорости утечки из встроенной системы.
Минимальное время продувки, обозначенное изготовителем, должно не менее чем в 1,5 раза превышать измеренное время продувки.
Примечание. Для учета кислорода, высвобождаемого из встроенной системы во время продувки, время продувки, подтвержденное испытанием, увеличивают на 50%.
16.4.2.2. Испытание разбавления
Это испытание не требуется, т.к. воспламеняющееся вещество содержит не более 0,02 объемной доли кислорода (2%).
16.4.3. Оболочка под давлением, в которой избыточное давление устанавливается с помощью непрерывного потока; встроенная система содержит не более 0,21 объемной доли кислорода (21%), защитный газ является инертным
16.4.3.1. Испытание продувки
Оболочку заполняют воздухом. Воздух вводят в оболочку через встроенную систему с расходом, соответствующим максимальной скорости утечки в самых неблагоприятных условиях утечки. При этом учитывают место, количество и характер утечек, а также их близость к потенциально воспламеняющемуся электрооборудованию, то есть за пределами зоны разбавления.
Затем включают подачу защитного газа с минимальным расходом, обозначенным изготовителем. Измеряют время до тех пор, пока ни в одной пробоотборной точке концентрация кислорода не будет превышать указанную в
А.3. Это время принимают за измеренное время продувки.
Минимальное время продувки, обозначенное изготовителем, должно быть не меньше измеренного времени продувки.
16.4.3.2. Испытание разбавления
Сразу же после испытания на продувку согласно
16.4.3.1 подачу защитного газа устанавливают на минимальный расход, обозначенный изготовителем; расход кислорода из встроенной системы устанавливают согласно
16.4.3.1.
Концентрация кислорода, измеренная в течение не менее 30 мин., не должна превышать указанную в
А.3.
Объем воздуха с содержанием кислорода, эквивалентным содержанию кислорода во встроенной системе, вводят в оболочку под давлением из встроенной системы наряду с утечкой воздуха, как указано в
12.3.
Во время утечки концентрация кислорода вблизи потенциального источника воспламенения, то есть за пределами зоны разбавления, не должна превышать 1,5-кратную концентрацию кислорода, указанную в
А.3, и за время не более 30 мин. должна стать меньше приведенной в
А.3.
Примечание. Это испытание проводят для моделирования очень большой утечки, которая происходит при полном выходе из строя встроенной системы.
16.4.4. Оболочка под давлением, в которой воспламеняющееся вещество не является жидкостью; избыточное давление устанавливается непрерывным потоком, а защитным газом является воздух
16.4.4.1. Испытание продувки
Испытание проводят по методике
16.3.1. Кроме того, во время испытания газ для испытания вводят в оболочку под давлением через встроенную систему со скоростью, равной максимальной скорости утечки, таким образом, чтобы воспроизвести наиболее жесткие условия утечки; при этом учитывают места, количество и характер утечек, а также их близость к потенциальному источнику воспламенения, то есть за пределами зоны разбавления.
Время измеряют до тех пор, пока не останется точек пробоотбора, где концентрация газа для испытания превышала бы указанную в
А.2.
Если требуется второе испытание (для проверки в качестве испытуемого как легкого, так и тяжелого газа), то используют другой газ для испытания, а за время продувки принимают измеренное время продувки.
Минимальная длительность продувки, обозначенная изготовителем, не должна быть меньше измеренного времени продувки или представлять больший из двух измеренных периодов продувки, если проводят два испытания.
16.4.4.2. Испытание разбавления
Сразу же после испытания на продувку согласно
16.4.4.1 подачу защитного газа устанавливают на минимальный расход, обозначенный изготовителем. При этом расход газа для испытания из встроенной системы устанавливают на уровне, указанном в
16.4.3.1.
Концентрация газа для испытания, измеренная в течение не менее 30 мин., не должна превышать указанную в
А.2.
Объем газа для испытания, эквивалентный объему воспламеняющегося вещества внутри встроенной системы, вводят в оболочку под давлением из встроенной системы вместе с газом для испытания, расход которого эквивалентен максимальной величине утечки воспламеняющегося газа, как указано в
12.3.
Во время утечки концентрация газа вблизи потенциального источника воспламенения, то есть за пределами зоны разбавления, не должна превышать двухкратное значение, указанное в
А.2, и в течение 30 мин. должна стать меньше приведенной в
А.2.
Если требуется второе испытание, то используют другой газ для испытания.
Примечание. Это испытание проводят для моделирования очень большой утечки, которая может быть при полном выходе из строя встроенной системы.
16.5. Проверка минимального избыточного давления
Проверяют способность системы под давлением функционировать и поддерживать избыточное давление согласно
7.10 в нормальных условиях эксплуатации.
Давление в оболочке измеряют в точках возможной утечки, особенно на участках наименьшего давления.
Защитный газ подают в оболочку при минимальном избыточном давлении и с минимальным расходом, указанным изготовителем.
Для вращающихся электрических машин испытания проводят как на остановленных машинах, так и работающих с максимальной номинальной скоростью.
16.6. Испытания неповреждаемости встроенной системы
Эти испытания проводят на встроенной системе неповреждаемой конструкции.
16.6.1. Испытание на избыточное давление
Давление испытания, не менее чем в пять раз превышающее максимальное внутреннее избыточное давление, обозначенное для нормальных условий эксплуатации, но не менее 1000 Па, подают во встроенную систему и выдерживают в течение (120 +/- 10) с.
Встроенную систему испытывают при самой неблагоприятной номинальной температуре.
Достижение максимального давления испытания должно произойти за 5 с.
Испытание считают успешным, если не обнаружено остаточной деформации и испытания выполнены в соответствии с 16.6.2.
16.6.2. Испытание на неповреждаемость
а) Встроенную систему помещают в среду гелия с давлением, равным максимальному давлению, указанному для нормальной эксплуатации.
Давление внутри встроенной системы снижают до абсолютного давления 0,1 Па или менее. Схема данного испытания приведена в
Приложении Ж.
б) Как вариант, встроенную систему помещают в вакуумную камеру и подсоединяют к источнику гелия с максимальным давлением, обозначенным для нормальных условий эксплуатации.
Давление в вакуумной камере понижают до абсолютного давления 0,1 Па или менее.
Испытание считают успешным, если во время работы системы удается поддерживать абсолютное давление не более 0,1 Па.
16.7. Испытание на избыточное давление встроенной системы с ограниченной утечкой
Испытание проводят на встроенной системе с ограниченной утечкой в нормальных условиях работы.
Давление испытания, не менее чем в 1,5 раза превышающее максимальное внутреннее избыточное давление для нормальных условий работы, но не менее 200 Па, подают во встроенную систему и поддерживают в течение (120 +/- 10) с.
Испытание считают успешным, если остаточная деформация отсутствует.
16.8. Проверка способности оболочки под давлением ограничивать внутреннее избыточное давление
16.8.1. Это испытание проводят, если в оболочке используют сжатый воздух (или другой сжатый газ), при этом в случае отказа регулятора ограничение максимального избыточного давления в оболочке производят за счет утечки, выходных отверстий или с помощью редукторов давления. На оболочке должна быть предупредительная надпись:
"НИЖЕСЛЕДУЮЩИЕ ИСПЫТАНИЯ ПОТЕНЦИАЛЬНО ОПАСНЫ И ТРЕБУЮТ ПРИНЯТИЯ МЕР ДЛЯ ЗАЩИТЫ ПЕРСОНАЛА И ИМУЩЕСТВА".
16.8.2. Систему установления избыточного давления и оболочку испытывают максимальным номинальным давлением или 690 кПа (в зависимости от того, что больше), которое подают на вход системы установления давления. При этом регулятор в системе установления избыточного давления байпассируют для воспроизведения условий неисправности регулятора.
Примечание. Давление 690 кПа является типовым давлением питания приборов.
16.8.3. Закрывают все отверстия, которые могут быть закрыты во время нормальной эксплуатации. Исключение составляют отверстия сброса и редукторы давления.
16.8.4. Измеренное внутреннее давление не должно превышать максимальное допустимое избыточное давление, указанное изготовителем на табличке.
17. Приемосдаточные испытания
17.1. При испытании на функционирование проверяют работу защитных устройств.
17.2. Испытание на утечку проводят согласно
16.2.
17.3. Испытание на неповреждаемость встроенной системы проводят согласно
16.6.
17.4. Испытание встроенной системы с ограниченной утечкой проводят согласно
16.7.
18.1. Оболочку под давлением маркируют в соответствии с требованиями
ГОСТ 30852.0.
18.2. Если в соответствии с требованиями настоящего стандарта необходима предупредительная маркировка, то ее содержание можно изменять в зависимости от приводимой в ней технической информации. Несколько предупреждений могут быть объединены в одно.
18.3. В маркировку следует включать следующую дополнительную информацию:
а) уровни взрывозащиты по
ГОСТ 30852.0 - вид взрывозащиты p (то есть px, py или pz);
б) минимальное количество защитного газа, необходимое для предварительной (предпусковой) продувки оболочки:
- минимальный расход продувки защитным газом;
- минимальное время предварительной продувки;
- минимальное дополнительное время продувки на единицу объема дополнительных газопроводов, если такие имеются.
Примечания.
1. Увеличение расхода защитного газа для продувки всех соединительных газопроводов производится потребителем;
2. Для взрывозащиты видов pz и py вместо расхода можно использовать показания датчика минимального давления, если давление является объективным показателем правильности расхода (см.
7.7в);
в) тип защитного газа;
г) минимальное и максимальное избыточные давления;
д) минимальный расход защитного газа;
е) минимальное и максимальное давления питания на входе системы установления избыточного давления;
ж) максимальная величина утечки из оболочки под давлением;
з) температура или предел температуры защитного газа на входе оболочки под давлением, если они указаны изготовителем;
и) точка или точки контроля давления, если только эти данные не внесены в соответствующую документацию.
18.4. Оболочка под давлением со встроенной системой
Кроме указанной в
18.3, оболочки со встроенной системой должны иметь следующую маркировку, если это необходимо:
а) максимальное входное давление во встроенную систему;
б) максимальный расход во встроенной системе;
в) указание об ограничении объемной доли кислорода в воспламеняющемся веществе (не более 2%);
г) указание об ограничении ВПВ воспламеняющегося вещества (не более 80%).
18.5. Оболочка под давлением, защищенная статическим избыточным давлением
На оболочку должна быть нанесена надпись:
"ПРЕДУПРЕЖДЕНИЕ! ДАННАЯ ОБОЛОЧКА ЗАЩИЩЕНА СТАТИЧЕСКИМ ИЗБЫТОЧНЫМ ДАВЛЕНИЕМ. ОБОЛОЧКУ СЛЕДУЕТ ЗАПОЛНЯТЬ ТОЛЬКО ВНЕ ВЗРЫВООПАСНОЙ ЗОНЫ СОГЛАСНО ИНСТРУКЦИЯМ ИЗГОТОВИТЕЛЯ".
18.6. Системы установления избыточного давления
При наличии сертификации система установления избыточного давления и относящиеся к ней устройства безопасности следует маркировать: [Exp].
18.7. В случаях, предусмотренных
7.9.г4, клапан следует маркировать надписью:
"ПРЕДУПРЕЖДЕНИЕ! КЛАПАН ДЛЯ ПОДАЧИ ЗАЩИТНОГО ГАЗА. ИЗУЧИТЕ ИНСТРУКЦИЮ ПЕРЕД ТЕМ, КАК ЗАКРЫВАТЬ КЛАПАН".
Примечание. Клапан может быть закрыт только в случае, если известно, что зона является безопасной или электрооборудование внутри оболочки под давлением обесточено и охлаждено.
18.8. Если по инструкции потребитель должен ограничить давление, на оболочке маркируют максимальное рабочее давление. Инструкции должны содержать следующие требования:
а) изготовитель должен установить такой источник защитного газа, который не увеличит максимальное рабочее давление в оболочке в условиях одной неисправности. При этом неисправность должна быть самообнаруживающейся. Защиту обеспечивают резервным регулятором или наружным редуктором давления, рассчитанным на максимальный расход, или
б) потребитель должен применять только воздуходувки, а не источник сжатого воздуха для подачи защитного газа.
Соответствие проверяют по инструкции и маркировке.
18.9. Если в качестве защитного используют инертный газ, то оболочку под давлением следует маркировать следующей надписью:
"ПРЕДУПРЕЖДЕНИЕ! ОБОЛОЧКА СОДЕРЖИТ ИНЕРТНЫЙ ГАЗ, КОТОРЫЙ МОЖЕТ ВЫЗВАТЬ УДУШЬЕ. КРОМЕ ТОГО, В КОРПУСЕ СОДЕРЖИТСЯ ВОСПЛАМЕНЯЮЩЕЕСЯ ВЕЩЕСТВО, КОТОРОЕ ПРИ СОЕДИНЕНИИ С ВОЗДУХОМ МОЖЕТ ВЫЗВАТЬ ВЗРЫВ".
(обязательное)
ИСПЫТАНИЯ ПРОЦЕССОВ ПРОДУВКИ И РАЗБАВЛЕНИЯ
А.1. Общие положения
Состав среды в оболочке под давлением следует определять в точках, где предполагается присутствие газа для испытания и вблизи потенциально воспламеняющегося электрооборудования, то есть за пределами зоны разбавления.
Концентрацию газа в точках контроля следует измерять на протяжении всего (всех) испытания. Например, оболочка под давлением может быть снабжена рядом трубок небольшого диаметра, открытые концы которых размещают внутри оболочки под давлением в точках пробоотбора.
Если испытание требует отбора проб, то отбирать следует такие количества проб, которые не могут повлиять на результаты испытания.
Если это необходимо, отверстия в оболочке под давлением можно закрыть для заполнения требуемым газом при условии их последующего открытия для испытания продувки и разбавления.
Если в качестве защитного газа используют воздух, то испытание проводят следующим образом:
- на специфических воспламеняющихся газах и парах (если требуется). В этом случае необходимо определить потенциально взрывоопасные газы и выбрать для испытания газы с плотностью, отличающейся на +/- 10% от плотности наиболее тяжелого и наиболее легкого из обозначенных газов;
- электрооборудование, предназначенное для одного (основного) газа, подвергают испытанию с помощью иного газа, плотность которого отличается на +/- 10% от плотности основного газа;
- при проверке всех воспламеняющихся газов следует провести два испытания. Одно испытание проводят с газами легче воздуха. В этом случае для испытания используют гелий. Второе испытание проводят с газами тяжелее воздуха. В этом случае для испытания используют аргон или диоксид углерода.
Примечание. Как правило, газы для испытания должны быть невоспламеняющимися и нетоксичными.
А.2. Критерии подтверждения соответствия, когда в качестве защитного газа используют воздух
Концентрация газа для испытания в точках пробоотбора после продувки и разбавления не должна превышать:
- если испытания проводят на определенных воспламеняющихся газах, - 25% от нижнего предела взрываемости (НПВ) газа, имеющего наиболее низкий НПВ;
- если предусмотрен один воспламеняющийся газ, - 25% от НПВ этого газа;
- если испытание проводят на всех воспламеняющихся газах, то 1% об. - для испытания гелием и 0,25% об. - для испытания аргоном или диоксидом углерода.
Примечание. Эти значения приблизительно соответствуют 25% НПВ для легких и тяжелых воспламеняющихся газов соответственно.
А.3. Критерии для подтверждения соответствия, если в качестве защитного используют инертный газ
Если защитный газ является инертным, то объемная доля кислорода в инертном газе после продувки и разбавления не должна превышать 2%.
(справочное)
ПРИМЕР ЛОГИЧЕСКОЙ СХЕМЫ ФУНКЦИОНИРОВАНИЯ
СРЕДСТВ И УСТРОЙСТВ ЗАЩИТЫ
Б.1. На рисунке Б.1 приведен пример информации, представленной изготовителем по простейшей системе управления для оболочки под давлением с компенсацией утечки.
Примечание. Расшифровка обозначений приведена в
таблице Б.1
Рисунок Б.1. Диаграмма состояния и таблица состояния
для системы управления продувкой с компенсацией утечки
Каждое состояние системы определяется по реакции на вход устройств контроля. Состояния являются единственными. Переходные процессы между состояниями допускаются только по маршрутам, обозначенным стрелками и в направлении стрелок.
Б.2. Логические условия возникновения каждого состояния определяются исключительно логическими Булевыми уравнениями. Все возможные сочетания условий входа приведены в таблице Б.1. Этим методом можно описать и другие системы с большим количеством устройств контроля при условии, что каждое рабочее состояние определяется исключительно по его входам.
Таблица Б.1
Логические определения компенсации утечки
Состояние и условия входа | Обозначение |
Превышенное максимальное избыточное давление | [XOP] |
Избыточное давление св. 50 Па (25 Па для pz) | [MOP] |
Расход продувки, больший минимального | [PELO] |
Неполное время продувки | NOT [PTIM] |
Полное время продувки | [PTIM] |
Начальное состояние | SO |
Минимальные условия запуска продувки | S1 |
Продувка | S2 |
Продувка завершена, питание подключено | S3 |
[MOP] & NOT [XOP] & NOT [PELO] & NOT [PTIM] = S1 [MOP] & NOT [XOP] & [PELO] & NOT [PTIM] = S2 [MOP] & NOT [XOP] & [PTIM] = S3 |
(справочное)
ПРИМЕРЫ ИЗМЕНЕНИЯ ДАВЛЕНИЯ В ГАЗОПРОВОДАХ И ОБОЛОЧКАХ
На рисунках В.1 -
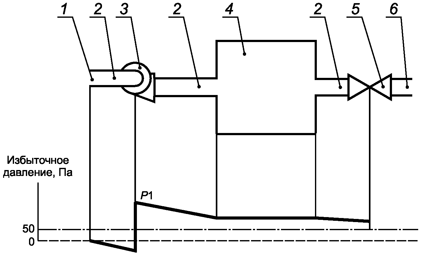
В.4 приведены примеры установления избыточного давления с помощью вентилятора. Возможны и другие способы создания избыточного давления, например подача воздуха из баллонов со сжатым воздухом, компрессоров и др. В этих случаях на участке до входа оболочки будут происходить разные перепады давления.
1 - вход защитного газа;
2 - газопровод; 3 - вентилятор; 4 - оболочка;
5 - дроссельная заслонка; 6 - выход защитного газа;
P1 - давление защитного газа. Определяется по сопротивлению
потоку через газопровод, через части внутри оболочки
и в ряде случаев - через дроссель
Примечания.
1. Вход защитного газа расположен в безопасной зоне.
2. Дроссельную заслонку применяют в случае, когда необходимо поддерживать избыточное давление.
Рисунок В.1а. Выход защитного газа без использования
защитного барьера от искр и частиц
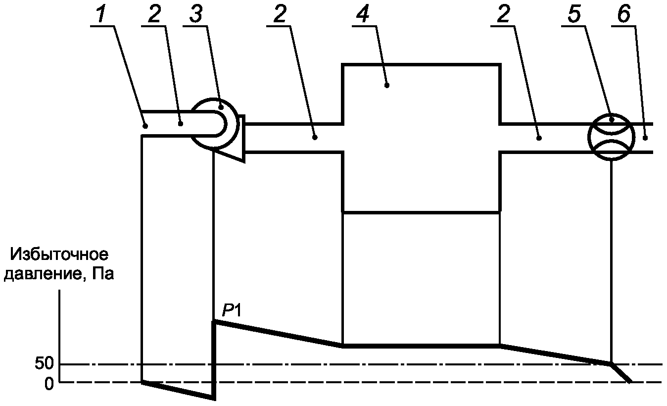
1 - вход защитного газа; 2 - газопровод; 3 - вентилятор;
4 - оболочка; 5 - дроссельная заслонка; 6 - выход
защитного газа; 7 - барьер защиты от искр и частиц;
P1 - давление защитного газа. Определяется по сопротивлению
потоку через газопровод, через части внутри оболочки
и в ряде случаев - через дроссель или барьер защиты
от искр и частиц
Примечания.
1. Вход защитного газа расположен в безопасной зоне.
2. Дроссельную заслонку применяют в случае, когда необходимо поддерживать избыточное давление.
Рисунок В.1б. Выход защитного газа с использованием
защитного барьера от искр и частиц
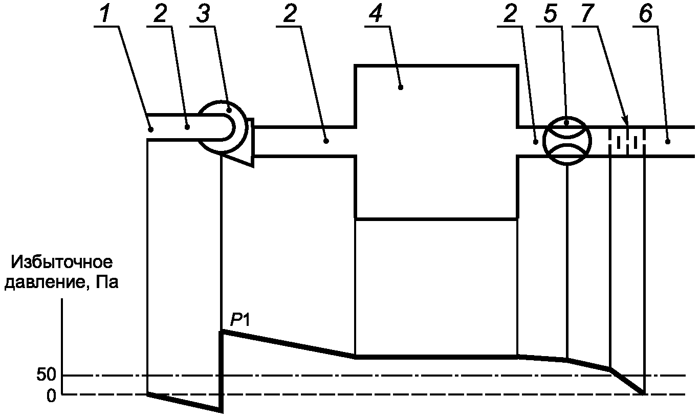
1 - вход защитного газа; 2 - газопровод; 3 - вентилятор;
4 - оболочка; 5 - выходной клапан; 6 - выход защитного газа;
P1 - давление защитного газа (практически постоянное)
Примечание. Вход защитного газа расположен в безопасной зоне.
Рисунок В.2. Оболочки под давлением
с компенсацией утечки без подвижных частей
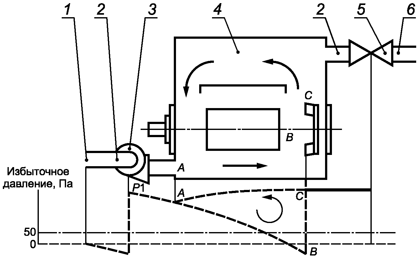
1 - вход защитного газа; 2 - газопровод; 3 - вентилятор;
4 - оболочка; 5 - выходной клапан; 6 - выход защитного газа;
P1 - давление защитного газа. Определяется по сопротивлению
внутренних частей потоку и подвергается воздействию
внутреннего вентилятора на участке между A, B и C
Примечания.
1. Вход защитного газа расположен в безопасной зоне.
2. Давление в каждой точке возможной утечки превышает минимальное давление, равное 50 Па, для взрывозащиты вида px.
Рисунок В.3. Оболочки под давлением с компенсацией утечки -
вращающаяся электрическая машина с внутренним вентилятором
1 - вход защитного газа; 2 - газопровод; 3 - вентилятор;
4 - оболочка; 5 - выходной клапан; 6 - выход защитного газа;
P1 - давление защитного газа. Определяется
по сопротивлению внутренних частей потоку
и по наибольшему значению давления наружного воздуха;
P2 - давление наружного воздуха, создаваемое
наружным охлаждающим вентилятором
Примечание. Вход защитного газа расположен в безопасной зоне.
Рисунок В.4. Оболочка под давлением с компенсацией утечки -
вращающаяся электрическая машина с наружным вентилятором
(справочное)
ИНФОРМАЦИЯ, ПРЕДСТАВЛЯЕМАЯ ПОТРЕБИТЕЛЮ
Г.1. Общие положения
Потребителя в целях безопасной эксплуатации следует обеспечить информацией о правилах установки системы создания избыточного давления, в случаях, когда условия эксплуатации требуют от потребителя установки защитных устройств или использования непредусмотренных средств защиты. Оборудование должно быть промаркировано согласно
ГОСТ 30852.0. Техническая документация должна содержать всю необходимую потребителю информацию для обеспечения соответствия требованиям настоящего стандарта и
ГОСТ 30852.0.
Кроме того, изготовитель должен указать следующие данные:
Г.2. Линия подачи защитного газа
Г.2.1. Размещение входа
За исключением подачи газа из баллонов и некоторых случаев применения по группе I, точка входа защитного газа на линию подачи должна размещаться во взрывобезопасной зоне.
Для группы I, где защитный газ поступает на линию подачи из взрывоопасной зоны, следует принять следующие меры предосторожности:
а) на выходной стороне вентилятора или компрессора необходимо установить два отдельных детектора рудничного газа, каждый из которых автоматически отключает подачу электропитания на оболочку под давлением, если концентрация рудничного газа превышает 10% от нижнего предела взрываемости (НВП);
б) время автоматического отключения не должно превышать половину времени прохождения защитного газа от точки детектирования до оболочки под давлением;
в) в случае автоматического отключения оболочку под давлением следует повторно продуть до возобновления подачи электропитания. Время продувки следует отсчитывать только после того, как концентрация рудничного газа в защитном газе не станет менее 10% от НПВ.
Г.2.2. Линия между оболочкой под давлением и входом
Подающий газопровод компрессора не должен проходить через взрывоопасную зону.
Если линия подачи компрессора проходит через взрывоопасную зону, она должна быть выполнена из негорючего материала и защищена от механического повреждения и коррозии.
Если внутреннее давление ниже атмосферного (см.
Приложение В), необходимо убедиться в отсутствии утечки в газопроводе. Дополнительные защитные меры, например детекторы горючего газа, позволят определить концентрацию присутствующих воспламеняющихся газов или паров.
Г.2.3. Выходы защитного газа
Выходы линий защитного газа должны находиться во взрывобезопасной зоне, если только изготовитель или потребитель не обеспечат барьеры от частиц.
Г.2.4. Дополнительное время продувки с учетом газопровода
Время продувки следует увеличить с учетом продувки свободного объема тех газопроводных линий, которые не являются частью сертифицированного оборудования, не менее чем пятикратным объемом при минимальном расходе, обозначенном изготовителем.
Г.3. Питание устройств подачи защитного газа
Электропитание устройств подачи защитного газа (воздуходувка, компрессор и т.д.) подают от отдельного источника питания или от источника питания оболочки под давлением.
Г.4. Установление статического избыточного давления
Если избыточное давление падает ниже обозначенного минимума, то перед повторным заполнением оболочку под давлением следует переместить во взрывобезопасную зону.
Г.5. Оболочки со встроенной системой
Максимальное давление и расход воспламеняющегося вещества на входе встроенной системы не должны превышать величин, обозначенных изготовителем.
Необходимы дополнительные меры против образования взрывоопасной смеси за счет проникновения воздуха во встроенную систему.
Кроме того, необходимо предотвратить возникновение неблагоприятных рабочих условий, которые могут повредить встроенную систему. В технической документации эти условия должны быть определены. К ним относятся вибрация, тепловой удар, а также операции по обслуживанию, требующие открытия дверей и крышек оболочки под давлением.
В случае возможного возгорания от нагретой внутренней поверхности для перекрытия потока воспламеняющегося вещества может понадобиться переключатель потока.
Предотвращение утечки из встроенной системы возможно с помощью установления положительного давления. Если нарушение нормальной утечки может повлиять на классификацию наружных зон, рекомендуются дополнительные меры предосторожности.
Г.6. Максимальное избыточное давление оболочки
Потребитель должен ограничить давление в соответствии с указаниями изготовителя.
(обязательное)
ТИПА УТЕЧКИ ВНУТРИ ОБОЛОЧКИ
Д.1. Общие положения
Последствия утечки воспламеняющегося вещества внутри оболочки более опасны, чем утечка в окружающую атмосферу. Временная утечка внутри оболочки приводит к скоплению воспламеняющихся веществ, которые остаются внутри нее длительное время даже после прекращения утечки. Поэтому важнее обратить особое внимание на "нормальную утечку" и "нарушение условий утечки", чем на утечку на открытом воздухе. Во всех случаях необходима установка устройств, ограничивающих расход воспламеняющихся веществ из встроенной системы в оболочку под давлением. Допускается лишь ограниченная утечка.
Д.2. Отсутствие утечки в нормальных и аварийных условиях
Встроенная система отвечает конструктивным требованиям
12.2 и требованиям испытаний
16.6 для неповреждаемой встроенной системы.
Д.3. Система с отсутствием нормальной утечки и с ограниченным нарушением условий утечки
Встроенную систему, не отвечающую требованиям неповреждаемости и содержащую металлические линии, трубки или такие элементы, как трубки Бурдона, сильфоны или спирали с соединениями, которые невозможно демонтировать при обслуживании и которые имеют резьбу, крепят сваркой или с помощью эвтектических методов, или представляющую собой металлические компрессионные фитинги, нельзя рассматривать как систему с нормальной утечкой. Ее рассматривают как систему с ограниченно нарушенной утечкой.
Поворотные или скользящие соединения, фланцевые соединения, уплотнения из эластомера и неметаллические гибкие трубки не отвечают этим критериям.
Д.4. Ограниченная нормальная утечка
Системы, не отвечающие требованиям нормальной утечки, следует рассматривать как системы с ограниченной нормальной утечкой. Сюда можно отнести встроенные системы, соединения которых подлежат плановому обслуживанию. Такие соединения следует четко идентифицировать.
Встроенные системы, содержащие неметаллические трубки или такие элементы, как трубки Бурдона, сильфонные мембраны, спирали, уплотнения из эластомера, поворотные или скользящие соединения, следует рассматривать как источник утечки в нормальных условиях эксплуатации.
Доступ в оболочки, в которых во время нормальной работы возникает пламя, следует производить исключительно после устранения пламени.
Предполагается, что гашение пламени является нормой, и оборудование следует классифицировать как имеющее нормальную утечку, если только не установлены специальные автоматические устройства, перекрывающие поток воспламеняющегося газа или пара после гашения пламени.
(справочное)
ПРИМЕРЫ ВЗАИМНОГО РАСПОЛОЖЕНИЯ ВОСПЛАМЕНЯЮЩИХ УСТРОЙСТВ
И ЗОН РАЗБАВЛЕНИЯ, ПОЗВОЛЯЮЩИХ УПРОСТИТЬ ПРОДУВКУ ОБОЛОЧКИ
На рисунке Е.1 показан пример использования зоны разбавления для упрощения продувки и удовлетворения требованиям испытания разбавления.
1 - номинальная граница зоны разбавления; 2 - вход
воспламеняющегося вещества; 3 - выход воспламеняющегося
вещества; 4 - испытание зоны разбавления; 5 - вход
продувочного газа; 6 - перегородка оболочки воспламеняющего
устройства; 7 - выход продувочного газа
Рисунок Е.1. Пример использования зоны разбавления
Если заключить воспламеняющее устройство (ВУ) во внутренний корпус или использовать перегородки, то с помощью простейшего испытания можно убедиться в том, что ВУ находится за пределами зоны разбавления. Поэтому нет необходимости определять степень распространения зоны разбавления только лишь для того, чтобы установить, что зона разбавления не достигает ВУ.
На рисунке Е.2 показан пример использования неповреждаемой встроенной системы для упрощения продувки и разбавления вокруг ВУ. Поскольку те части встроенной системы, которые окружены внутренней перегородкой, отвечают требованиям неповреждаемости, то ВУ не может находиться в пределах зоны разбавления.
1 - потенциальный источник утечки с номинальной зоной
разбавления; 2 - внутренняя перегородка; 3 - вход
продувочного газа; 4 - неповреждаемые части встроенной
системы; 5 - размещение ВУ; 6 - выход продувочного газа
Рисунок Е.2. Пример использования неповреждаемой
встроенной системы
На рисунке Е.3 показан пример использования внутренней перегородки вокруг потенциального источника утечки для упрощения продувки и разбавления вокруг ВУ, находящегося за пределами перегородок. Поскольку зона разбавления находится внутри перегородки, ВУ размещается за пределами зоны разбавления.
1 - испытание зоны разбавления; 2 - вход продувочного
инертного газа; 3 - потенциальный источник утечки
с номинальной зоной разбавления; 4 - выход продувочного газа
Рисунок Е.3. Пример использования внутренней перегородки
(обязательное)
ИСПЫТАНИЕ НЕПОВРЕЖДАЕМОСТИ ВСТРОЕННОЙ СИСТЕМЫ
На рисунке Ж.1 представлена схема проведения испытания на неповреждаемость встроенной системы (см.
16.6.2а).
1 - система, заполненная гелием;
2 - испытуемая система; 3 - выход
Рисунок Ж.1. Схема испытания неповреждаемости
При этом:
1) В испытуемой системе объем

больше объема

.
2) Площадь поперечного сечения сопла критическим диаметром

меньше площади поперечного сечения соединительного сопла диаметром

.
3) Устройство контроля давления P необходимо скорректировать на свойства газа, используемого в испытаниях на утечку (то есть на свойства гелия).
4) Испытание считают успешным, если в

можно установить абсолютное давление меньше или равное 0,1 Па, и оба клапана

и

открыты.
5) Величину утечки (если таковая имеется) можно определить при открытом клапане

и закрытом клапане

.
(обязательное)
ДОПОЛНИТЕЛЬНЫЕ ТРЕБОВАНИЯ,
ОТРАЖАЮЩИЕ ПОТРЕБНОСТИ ЭКОНОМИК СТРАН, УПОМЯНУТЫХ
В ПРЕДИСЛОВИИ КАК ПРОГОЛОСОВАВШИХ ЗА ПРИНЯТИЕ
МЕЖГОСУДАРСТВЕННОГО СТАНДАРТА
И.1. Требования к оболочкам, электрические цепи которых содержат конденсаторы
Оболочки, не имеющие взрывозащиты в соответствии с 7.13 настоящего стандарта, могут быть открыты только по истечении времени, необходимого для разряда конденсатора.
И.2. Обеспечение взрывозащиты встроенной системы, в которой защитным газом является воздух, а воспламеняющимся веществом - жидкость
И.2.1. Вид защиты избыточным давлением системы, имеющей воспламеняющее устройство и встроенную систему с возможной утечкой воспламеняющейся жидкости, представлен в таблице И.1, являющейся дополнением к таблице 1.
Таблица И.1
Агрегатное состояние воспламеняющегося вещества во встроенной системе | Класс взрывоопасной зоны | Вид взрывозащиты |
Оболочка, содержащая воспламеняющие устройства | Оболочка, не содержащая воспламеняющие устройства |
Жидкость | 1 | px (воздух) | py |
И.2.2. Для обеспечения взрывозащиты вида px или py (см. таблицу И.1) должны применяться система блокировок и сигнализации, измерители давления, сигнализаторы взрывоопасных концентраций и соответствующая маркировка.
И.2.2.1. Измерители давления и их размещение должны удовлетворять требованиям, изложенным в разделах 7 и 8 настоящего стандарта.
И.2.2.2. Сигнализаторы взрывоопасных концентраций должны выдавать аварийный сигнал при достижении внутри оболочки под давлением концентрации взрывоопасной газопаровоздушной смеси, равной 25% от НПВ.
Сенсоры (пробозаборники) сигнализатора должны размещаться в местах, потенциально опасных в отношении попадания в оболочку под давлением воспламеняющихся веществ, и измерять концентрацию паров взрывоопасной жидкости в воздухе.
И.2.2.3. Электрооборудование должно иметь в зоне разбавления устройство, например поддон или каплесборник, в которое должна попадать жидкость, поступающая в оболочку из-за утечки из встроенной системы.
И.2.2.4. Система блокировок и сигнализации при аварийном сигнале от датчиков давления должна удовлетворять требованиям, изложенным в разделах 7 и 8 настоящего стандарта.
И.2.2.5. Система блокировок и сигнализации при аварийном сигнале от сигнализатора взрывоопасных концентраций должна:
- отключить электропитание и подачу во встроенную систему взрывоопасной жидкости для взрывозащиты вида px;
- выдать визуальный или звуковой сигнал о наличии опасной ситуации для взрывозащиты видов py и pz.
И.2.2.6. Испытания системы блокировок и сигнализации должны проводиться на границе зоны разбавления при условии утечки взрывоопасной жидкости из встроенной системы в режиме прекращения продувки оболочки защитным газом-воздухом.
Испытания проводят для взрывоопасных жидкостей, которые могут быть во встроенной системе в процессе эксплуатации электрооборудования.
Результаты испытаний признают положительными в случае, если аварийный сигнал появляется при достижении концентрации взрывоопасного вещества в воздухе, равной 25% от НПВ.
И.2.2.7. Электрооборудование, имеющее во встроенной системе жидкое воспламеняющееся вещество и в качестве защитного газа использующее воздух, должно иметь предупредительную табличку, на которой должно быть указано, для каких взрывоопасных жидкостей настроена система.
(справочное)
УРОВНИ ВЗРЫВОЗАЩИТЫ ЭЛЕКТРООБОРУДОВАНИЯ ВИДОВ px, py ИЛИ pz
Уровни взрывозащиты электрооборудования вида "заполнение или продувка оболочки под избыточным давлением" представлены в таблице К.1.
Таблица К.1
| |
Наименование | Обозначение |
Электрооборудование повышенной надежности против взрыва | 2 | py; pz |
Взрывобезопасное электрооборудование | 1 | px |
| | Государственная система обеспечения единства измерений. Метрология. Основные термины и определения |