Главная // Актуальные документы // ГОСТ (Государственный стандарт)
СПРАВКА
Источник публикации
М.: Стандартинформ, 2011
Примечание к документу
Текст данного документа приведен с учетом поправки, опубликованной в "ИУС", N 1, 2021.

Документ введен в действие с 01.01.2012.

Взамен ГОСТ 2.317-69.
Название документа
"ГОСТ 2.317-2011. Межгосударственный стандарт. Единая система конструкторской документации. Аксонометрические проекции"
(введен в действие Приказом Росстандарта от 03.08.2011 N 211-ст)

"ГОСТ 2.317-2011. Межгосударственный стандарт. Единая система конструкторской документации. Аксонометрические проекции"
(введен в действие Приказом Росстандарта от 03.08.2011 N 211-ст)


Содержание


Введен в действие
Приказом Росстандарта
от 3 августа 2011 г. N 211-ст
МЕЖГОСУДАРСТВЕННЫЙ СТАНДАРТ
ЕДИНАЯ СИСТЕМА КОНСТРУКТОРСКОЙ ДОКУМЕНТАЦИИ
АКСОНОМЕТРИЧЕСКИЕ ПРОЕКЦИИ
Unified system of design documentation.
Axonometric projections
ГОСТ 2.317-2011
Группа Т52
МКС 01.100;
ОКСТУ 0002
Дата введения
1 января 2012 года
Предисловие
Цели, основные принципы и основной порядок проведения работ по межгосударственной стандартизации установлены ГОСТ 1.0-92 "Межгосударственная система стандартизации. Основные положения" и ГОСТ 1.2-2009 "Межгосударственная система стандартизации. Стандарты межгосударственные, правила и рекомендации по межгосударственной стандартизации. Правила разработки, принятия, применения, обновления и отмены".
Сведения о стандарте
1. Разработан Федеральным государственным унитарным предприятием "Всероссийский научно-исследовательский институт стандартизации и сертификации в машиностроении" (ФГУП "ВНИИНМАШ"), Автономной некоммерческой организацией "Научно-исследовательский центр CALS-технологий "Прикладная логистика" (АНО НИЦ CALS-технологий "Прикладная логистика").
2. Внесен Федеральным агентством по техническому регулированию и метрологии.
3. Принят Межгосударственным советом по стандартизации, метрологии и сертификации (Протокол от 12 мая 2011 г. N 39).
За принятие стандарта проголосовали:
┌────────────────────┬─────────────┬──────────────────────────────────────┐
│Краткое наименование│Код страны по│Сокращенное наименование национального│
│ страны по │МК (ИСО 3166)│ органа по стандартизации │
│МК (ИСО 3166) 004-97│ 004-97 │ │
├────────────────────┼─────────────┼──────────────────────────────────────┤
│Азербайджан │ AZ │Азстандарт │
│Армения │ AM │Минэкономики Республики Армения │
│Беларусь │ BY │Госстандарт Республики Беларусь │
│Казахстан │ KZ │Госстандарт Республики Казахстан │
│Кыргызстан │ KG │Кыргызстандарт │
│Молдова │ MD │Молдова-Стандарт │
│Российская Федерация│ RU │Росстандарт │
│Таджикистан │ TJ │Таджикстандарт │
│Туркмения │ TM │Главгосслужба "Туркменстандартлары" │
│Узбекистан │ UZ │Узстандарт │
│Украина │ UA │Госпотребстандарт Украины │
└────────────────────┴─────────────┴──────────────────────────────────────┘
4. Приказом Федерального агентства по техническому регулированию и метрологии от 3 августа 2011 г. N 211-ст межгосударственный стандарт ГОСТ 2.317-2011 введен в действие в качестве национального стандарта Российской Федерации с 1 января 2012 г.
5. Взамен ГОСТ 2.317-69.
Информация о введении в действие (прекращении действия) настоящего стандарта публикуется в указателе "Национальные стандарты".
Информация об изменениях к настоящему стандарту публикуется в указателе "Национальные стандарты", а текст изменений - в информационных указателях "Национальные стандарты". В случае пересмотра или отмены настоящего стандарта соответствующая информация будет опубликована в информационном указателе "Национальные стандарты".
1. Область применения
Настоящий стандарт устанавливает аксонометрические проекции, применяемые в графических документах всех отраслей промышленности и строительства.
На основе настоящего стандарта допускается, при необходимости, разрабатывать стандарты, учитывающие специфику выполнения аксонометрических проекций в организации.
2. Нормативные ссылки
В настоящем стандарте использованы нормативные ссылки на следующие межгосударственные стандарты:
ГОСТ 2.052-2006. Единая система конструкторской документации. Электронная модель изделия. Общие положения
ГОСТ 2.102-68. Единая система конструкторской документации. Виды и комплектность конструкторских документов
ГОСТ 2.311-68. Единая система конструкторской документации. Изображение резьбы
ГОСТ 2.402-68. Единая система конструкторской документации. Условные обозначения зубчатых колес, реек, червяков и звездочек цепных передач.
Примечание. При пользовании настоящим стандартом целесообразно проверить действие ссылочных стандартов в информационной системе общего пользования - на официальном сайте Федерального агентства по техническому регулированию и метрологии в сети Интернет или по ежегодно издаваемому информационному указателю "Национальные стандарты", который опубликован по состоянию на 1 января текущего года, и по соответствующим ежемесячно издаваемым информационным указателям, опубликованным в текущем году. Если ссылочный стандарт заменен (изменен), то при пользовании настоящим стандартом следует руководствоваться заменяющим (измененным) стандартом. Если ссылочный стандарт отменен без замены, то положение, в котором дана ссылка на него, применяется в части, не затрагивающей эту ссылку.
3. Термины и определения
В настоящем стандарте применены термины по ГОСТ 2.052, а также следующие термины с соответствующими определениями:
3.1. Аксонометрическая проекция: проекция на плоскость с помощью параллельных лучей, идущих из центра проецирования (который удален в бесконечность) через каждую точку объекта до пересечения с плоскостью, на которую проецируется объект.
3.2.
┌─────────────────────────────────────────────────────────────────────────┐
│ Графический документ: документ, содержащий в основном графическое│
│изображение изделия и (или) его составных частей, взаимное│
│расположение и функционирование этих частей, их внутренние и внешние│
│связи. │
│ Примечание. К графическим документам относят чертежи, схемы,│
│электронные модели изделия и его составных частей. │
│ │
│ [ГОСТ 2.001-93, статья А.4] │
└─────────────────────────────────────────────────────────────────────────┘
3.3. Косоугольная проекция: аксонометрическая проекция, у которой направление проецирования неперпендикулярно к плоскости проецирования.
3.4. Коэффициент искажения: отношение длины проекции отрезка оси на плоскость к его истинной длине.
3.5. Прямоугольная проекция: аксонометрическая проекция, у которой направление проецирования перпендикулярно к плоскости проецирования.
3.6.
┌─────────────────────────────────────────────────────────────────────────┐
│ Электронная модель изделия (модель): электронная модель детали│
│или сборочной единицы по ГОСТ 2.102. │
│ [ГОСТ 2.052-2006, статья 3.1.1] │
└─────────────────────────────────────────────────────────────────────────┘
4. Основные положения
4.1. В зависимости от направления проецирования по отношению к плоскости проекций аксонометрические проекции делят на прямоугольные и косоугольные.
4.2. Настоящий стандарт устанавливает правила построения (отображения) на плоскости следующих аксонометрических проекций:
- прямоугольной изометрической проекции;
- прямоугольной диметрической проекции;
- косоугольной фронтальной изометрической проекции;
- косоугольной горизонтальной изометрической проекции;
- косоугольной фронтальной диметрической проекции.
4.3. Установленные настоящим стандартом аксонометрические проекции могут быть получены путем проецирования электронной модели изделия на плоскость в соответствии с требованиями настоящего стандарта.
4.4. Линии штриховки сечений в аксонометрических проекциях наносят параллельно одной из диагоналей проекций квадратов, лежащих в соответствующих координатных плоскостях, стороны которых параллельны аксонометрическим осям в соответствии с рисунком А.1 (Приложение А).
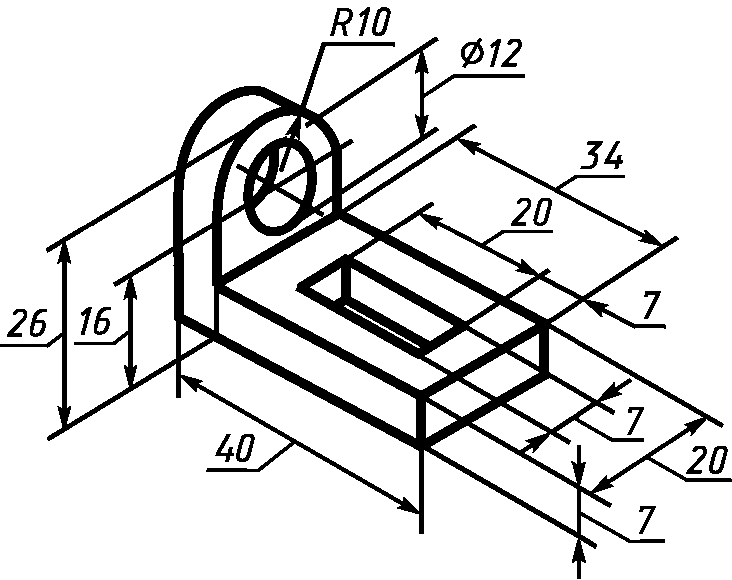
4.5. При нанесении размеров выносные линии проводят параллельно аксонометрическим осям, размерные линии - параллельно измеряемому отрезку в соответствии с рисунком А.2 (Приложение А).
4.6. В аксонометрических проекциях спицы маховиков и шкивов, ребра жесткости и подобные элементы штрихуют (см. рисунок 6).
4.7. При выполнении в аксонометрических проекциях зубчатых колес, реек, червяков и подобных элементов допускается применять условности по ГОСТ 2.402.
В аксонометрических проекциях резьбу изображают по ГОСТ 2.311.
Допускается изображать профиль резьбы полностью или частично, как показано на рисунке А.3 (Приложение А).
4.8. В необходимых случаях допускается применять другие теоретически обоснованные аксонометрические проекции.
5. Прямоугольные проекции
5.1. Изометрическая проекция
5.1.1. Положение аксонометрических осей приведено на рисунке 1.
Рисунок 1
5.1.2. Коэффициент искажения по осям x, y, z равен 0,82.
Изометрическую проекцию для упрощения, как правило, выполняют без искажения по осям x, y, z, т.е. приняв коэффициент искажения равным 1.
5.1.3. Окружности, лежащие в плоскостях, параллельных плоскостям проекций, проецируются на аксонометрическую плоскость проекций в эллипсы (см. рисунок 2).
1 - эллипс (большая ось расположена под углом 90° к оси y);
2 - эллипс (большая ось расположена под углом 90° к оси z);
3 - эллипс (большая ось расположена под углом 90° к оси x)
Рисунок 2
Если изометрическую проекцию выполняют без искажения по осям x, y, z, то большая ось эллипсов 1, 2, 3 равна 1,22, а малая ось - 0,71 диаметра окружности.
Если изометрическую проекцию выполняют с искажением по осям x, y, z, то большая ось эллипсов 1, 2, 3 равна диаметру окружности, а малая ось - 0,58 диаметра окружности.
5.1.4. Пример изометрической проекции детали приведен на рисунке 3.
Рисунок 3
5.2. Диметрическая проекция
5.2.1. Положение аксонометрических осей приведено на рисунке 4.
Рисунок 4
5.2.2. Коэффициент искажения по оси y равен 0,47, а по осям x и z - 0,94.
Диметрическую проекцию, как правило, выполняют без искажения по осям x и z и с коэффициентом искажения 0,5 по оси y.
5.2.3. Окружности, лежащие в плоскостях, параллельных плоскостям проекций, проецируются на аксонометрическую плоскость проекций в эллипсы (см. рисунок 5).
1 - эллипс (большая ось расположена под углом 90° к оси y);
2 - эллипс (большая ось расположена под углом 90° к оси z);
3 - эллипс (большая ось расположена под углом 90° к оси x)
Рисунок 5
Если диметрическую проекцию выполняют без искажения по осям x и z, то большая ось эллипсов 1, 2, 3 равна 1,06 диаметра окружности, а малая ось эллипса 1 - 0,95, эллипсов 2 и 3 - 0,35 диаметра окружности.
Если диметрическую проекцию выполняют с искажением по осям x и z, то большая ось эллипсов 1, 2, 3 равна диаметру окружности, а малая ось эллипса 1 - 0,9, эллипсов 2 и 3 - 0,33 диаметра окружности.
5.2.4. Пример диметрической проекции детали приведен на рисунке 6.
Рисунок 6
6. Косоугольные проекции
6.1. Фронтальная изометрическая проекция
6.1.1. Положение аксонометрических осей приведено на рисунке 7.
Рисунок 7
Допускается применять фронтальные изометрические проекции с углом наклона оси y 30° и 60°.
6.1.2. Фронтальную изометрическую проекцию выполняют без искажения по осям x, y, z.
6.1.3. Окружности, лежащие в плоскостях, параллельных фронтальной плоскости проекций, проецируются на аксонометрическую плоскость в окружности, а окружности, лежащие в плоскостях, параллельных горизонтальной и профильной плоскостям проекций, - в эллипсы (см. рисунок 8).
1 - окружность; 2 - эллипс (большая ось составляет
с осью x угол 22°30'); 3 - эллипс (большая ось составляет
с осью z угол 22°30')
Рисунок 8
Большая ось эллипсов 2 и 3 равна 1,3, а малая ось - 0,54 диаметра окружности.
6.1.4. Пример фронтальной изометрической проекции детали приведен на рисунке 9.
Рисунок 9
6.2. Горизонтальная изометрическая проекция
6.2.1. Положение аксонометрических осей приведено на рисунке 10.
Рисунок 10
Допускается применять горизонтальные изометрические проекции с углом наклона оси y 45° и 60°, сохраняя угол между осями x и y 90°.
6.2.2. Горизонтальную изометрическую проекцию выполняют без искажения по осям x, y и z.
6.2.3. Окружности, лежащие в плоскостях, параллельных горизонтальной плоскости проекций, проецируются на аксонометрическую плоскость проекций в окружности, а окружности, лежащие в плоскостях, параллельных фронтальной и профильной плоскостям проекций, - в эллипсы (см. рисунок 11).
1 - эллипс (большая ось составляет с осью z угол 15°);
2 - окружность; 3 - эллипс (большая ось составляет
с осью z угол 30°)
Рисунок 11
Большая ось эллипса 1 равна 1,37, а малая ось - 0,37 диаметра окружности.
Большая ось эллипса 3 равна 1,22, а малая ось - 0,71 диаметра окружности.
6.2.4. Пример горизонтальной изометрической проекции приведен на рисунке 12.
Рисунок 12
6.3. Фронтальная диметрическая проекция
6.3.1. Положение аксонометрических осей приведено на рисунке 13.
Рисунок 13
Допускается применять фронтальные диметрические проекции с углом наклона оси y 30° и 60°.
Коэффициент искажения по оси y равен 0,5, а по осям x и z - 1.
6.3.2. Окружности, лежащие в плоскостях, параллельных фронтальной плоскости проекций, проецируются на аксонометрическую плоскость проекций в окружности, а окружности, лежащие в плоскостях, параллельных горизонтальной и профильной плоскостям проекций, - в эллипсы (см. рисунок 14). Большая ось эллипсов 2 и 3 равна 1,07, а малая ось - 0,33 диаметра окружности.
1 - окружность; 2 - эллипс (большая ось составляет с осью x
угол 7°14'); 3 - эллипс (большая ось составляет с осью z
угол 7°14')
Рисунок 14
6.3.3. Пример фронтальной диметрической проекции детали приведен на рисунке 15.
Рисунок 15
Приложение А
(справочное)
УСЛОВНОСТИ И НАНЕСЕНИЕ РАЗМЕРОВ
Рисунок А.1. Нанесение линий штриховки в сечении
Рисунок А.2. Нанесение размеров
Рисунок А.3. Изображение резьбы