Главная // Актуальные документы // ГОСТ (Государственный стандарт)
СПРАВКА
Источник публикации
М.: ИПК Издательство стандартов, 2004
Примечание к документу
Документ утратил силу на территории Российской Федерации с 1 января 2013 года в связи с изданием Приказа Росстандарта от 13.12.2011 N 1028-ст. Взамен введен в действие ГОСТ Р ИСО 24333-2011.

Документ включен в Перечень стандартов, содержащих правила и методы исследований (испытаний) и измерений, в том числе правила отбора образцов, необходимые для применения и исполнения требований технического регламента Таможенного союза "О безопасности зерна" (ТР ТС 015/2011) и осуществления оценки (подтверждения) соответствия продукции (Решение Комиссии Таможенного союза от 09.12.2011 N 874).

С 1 июля 2003 года до вступления в силу технических регламентов акты федеральных органов исполнительной власти в сфере технического регулирования носят рекомендательный характер и подлежат обязательному исполнению только в части, соответствующей целям, указанным в пункте 1 статьи 46 Федерального закона от 27.12.2002 N 184-ФЗ.

Документ введен в действие с 1 января 1999 года.
Название документа
"ГОСТ ИСО 2170-97. Межгосударственный стандарт. Зерновые и бобовые. Отбор проб молотых продуктов"
(введен в действие Постановлением Госстандарта России от 27.03.1998 N 90)

"ГОСТ ИСО 2170-97. Межгосударственный стандарт. Зерновые и бобовые. Отбор проб молотых продуктов"
(введен в действие Постановлением Госстандарта России от 27.03.1998 N 90)


Содержание


Введен в действие
Постановлением Государственного
комитета Российской Федерации
по стандартизации, метрологии
и сертификации
от 27 марта 1998 г. N 90
МЕЖГОСУДАРСТВЕННЫЙ СТАНДАРТ
ЗЕРНОВЫЕ И БОБОВЫЕ
ОТБОР ПРОБ МОЛОТЫХ ПРОДУКТОВ
Cereals and pulses. Sampling of milled products
ГОСТ ИСО 2170-97
Группа С19
МКС 67.060
ОКСТУ 9295
Дата введения
1 января 1999 года
Предисловие
1. Разработан Всероссийским научно-исследовательским институтом зерна и продуктов его переработки (ВНИИЗ),
Всероссийским научно-исследовательским институтом стандартизации и сертификации агропромышленной продукции (ВНИИССагропродукт).
Внесен Госстандартом России.
2. Принят Межгосударственным советом по стандартизации, метрологии и сертификации (Протокол N 12 от 21 ноября 1997 г.).
За принятие проголосовали:
Наименование государства
Наименование национального органа по стандартизации
Азербайджанская Республика
Азгосстандарт
Республика Армения
Армгосстандарт
Республика Белоруссия
Госстандарт Белоруссии
Грузия
Грузстандарт
Республика Казахстан
Госстандарт Республики Казахстан
Киргизская Республика
Киргизстандарт
Республика Молдова
Молдовастандарт
Российская Федерация
Госстандарт России
Республика Таджикистан
Таджикгосстандарт
Туркменистан
Главная государственная инспекция Туркменистана
Украина
Госстандарт Украины
3. Настоящий стандарт представляет собой аутентичный текст ИСО 2170-80 "Зерновые и бобовые. Отбор проб молотых продуктов".
4. Постановлением Государственного комитета Российской Федерации по стандартизации, метрологии и сертификации от 27 марта 1998 г. N 90 межгосударственный стандарт ГОСТ ИСО 2170-97 введен в действие непосредственно в качестве государственного стандарта Российской Федерации с 1 января 1999 г.
5. Введен впервые.
6. Переиздание. Ноябрь 2003 г.
Введение
Отбор проб - это процедура, требующая максимальной аккуратности и внимания. Поэтому следует делать упор на необходимость получения наиболее представительной пробы.
Небрежный или неточный отбор проб может привести к недоразумению и неправильным взаиморасчетам.
Методы, изложенные в настоящем стандарте, признаны целесообразными и настоятельно рекомендуются для повсеместного применения, где это возможно.
Известно, что трудно установить твердые правила для каждого случая, особые обстоятельства могут вызвать необходимость некоторой модификации метода, например, если требуется проверить однородность поставки путем исследования отдельных точечных проб.
В этой сфере деятельности широко известны торговые ассоциации, устанавливающие правила отбора проб, которых следует придерживаться при заключении с ними контрактов. Методы, изложенные в настоящем стандарте, ни в коем случае не отменяют правила, изложенные в таких контрактах или принятые официальными инспектирующими органами.
1. ОБЛАСТЬ ПРИМЕНЕНИЯ
Настоящий стандарт устанавливает общие положения, относящиеся к отбору проб для оценки качества молотых продуктов зерновых и бобовых культур.
Настоящий стандарт не распространяется на семена, целое зерно, бобовые, частично размолотые зерновые и бобовые, трудно поддающиеся классификации. Крахмал и масла, получаемые из зерновых и бобовых, также не включены в настоящий стандарт.
Примечание. Отбор образцов зерновых по ГОСТ Р 50436, отбор бобовых культур в мешках по ГОСТ Р 50437. Примеры продуктов, трудно поддающихся классификации, по Приложению А.
2. НОРМАТИВНЫЕ ССЫЛКИ
В настоящем стандарте использованы ссылки на следующие стандарты:
ГОСТ Р 50436-92 <*> (ИСО 950-79) Зерновые. Отбор проб зерна
ГОСТ Р 50437-92 <*> (ИСО 951-79) Бобовые культуры в мешках. Отбор проб
--------------------------------
<*> Действует на территории Российской Федерации.
ГОСТ ИСО 6644-97 Зерно и продукты его переработки. Автоматический отбор проб с применением механического устройства
3. ОПРЕДЕЛЕНИЯ
В настоящем стандарте применяют следующие термины с соответствующими определениями.
3.1. Поставка: количество продуктов, отгруженное или полученное за один раз и предусмотренное конкретным контрактом или транспортным документом. Поставка может состоять из одной или нескольких партий.
3.2. Партия: установленное количество продукта с присущими ему однородными характеристиками, взятое из поставки и позволяющее провести оценку качества.
3.3. Точечная (исходная) проба: небольшое количество продукта, взятое из одного определенного места в партии за единицу времени или в течение определенного промежутка времени.
Следует отбирать несколько точечных проб в различных местах с таким расчетом, чтобы после их смешения можно было бы определить качество всей партии.
3.4. Объединенная проба: совокупность точечных проб, взятых из одной партии и тщательно перемешанных.
3.5. Средняя (лабораторная) проба: количество продукта, выделенное из объединенной пробы и предназначенное для анализа или другого исследования.
4. ОБЩИЕ ПОЛОЖЕНИЯ
4.1. Отбор проб проводится сообща инспекторами (лаборантами), назначаемыми заинтересованными сторонами или инспектором (лаборантом), назначаемым совместно.
4.2. Пробы должны быть характерными для партий, от которых они отобраны.
В связи с тем что состав партии редко бывает однородным, следует отбирать достаточное количество точечных проб и тщательно их перемешивать для получения объединенной пробы, из которой путем последующего деления получают средние пробы.
4.3. Необходимо чтобы продукция, поврежденная (подпорченная) во время морской или сухопутной транспортировки, а также находящаяся в некондиционном состоянии, хранилась отдельно от неповрежденной, и отбор проб от нее осуществлялся отдельно. Пробы, отобранные от поврежденной продукции, не должны смешиваться с пробами, отобранными от неповрежденной продукции.
4.4. Особое внимание следует уделять тому, чтобы оборудование для отбора проб было чистым, сухим и без посторонних запахов.
Отбор проб необходимо проводить таким образом, чтобы предохранить пробы, оборудование для отбора проб и емкости для проб от случайного загрязнения, такого как капли дождя, пыль и т.п.
5. АППАРАТУРА
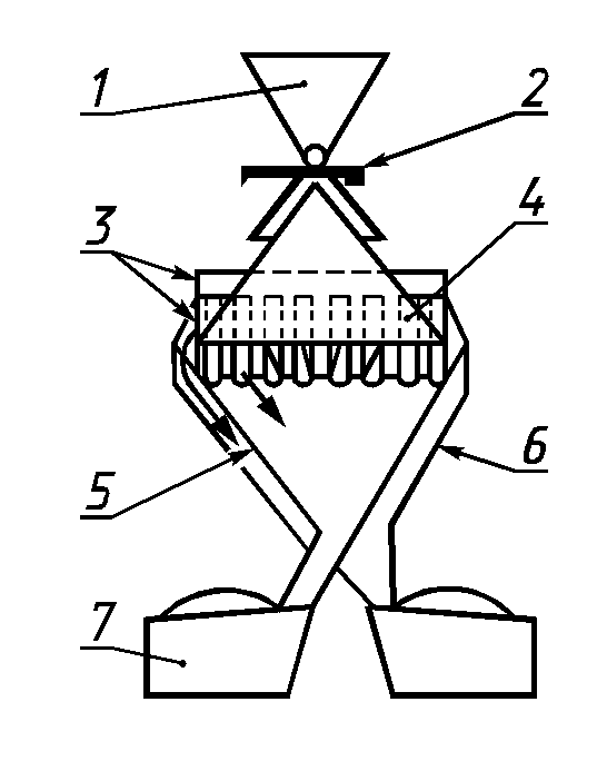
Для отбора проб применяются следующие аппаратура и устройства (примеры аппаратуры и устройств представлены на рисунках 1 - 9).
Глубина желобка - 10
Рисунок 1. Щуп открытого типа
Рисунок 2. Совок
Глубина желобка 16
Рисунок 3. Секционный щуп открытого типа
Рисунок 4. Цилиндрический пробоотборник (секционный
для отбора проб из насыпи)
Рисунок 5. Пробоотборник для отбора проб из мешков
(мешочный щуп)
Рисунок 6. Пробоотборник для отбора проб из перемещаемой
струи (типа "Пеликан")
Рисунок 7. Металлическое устройство для деления пробы
на четыре части
1 - загрузочная воронка; 2 - задвижка; 3 - емкости,
открывающиеся во внешнюю воронку; 4 - каналы, отводящие
поток во внутреннюю воронку; 5 - внутренняя воронка,
6 - внешняя воронка; 7 - приемник; 8 - каналы, отводящие
поток во внутреннюю воронку; 9 - емкости, открывающиеся
во внешнюю воронку; 10 - каналы, соединенные ниже
основания конуса; 11 - вершина конуса;
12 - основание конуса
Рисунок 8. Конический делитель
Рисунок 9. Многожелобковый делитель
Примечание. Существует множество различных типов и разновидностей аппаратуры для отбора проб. Размеры, указанные на рисунках, являются ориентировочными, даны в миллиметрах.
5.1. Для отбора проб из насыпи:
ручные совки, цилиндрические пробоотборники и устройства для периодического отбора точечных проб от струи перемещаемого продукта.
Автоматический пробоотборник для периодического непрерывного отбора проб согласно ГОСТ ИСО 6644-81.
5.2. Для отбора проб из мешков: мешочный щуп или пробоотборник.
5.3. Для смешивания и деления зерна: совок и делительные устройства.
6. МЕСТО И ВРЕМЯ ОТБОРА ПРОБ
Место и время отбора проб должны быть установлены по согласованию с заинтересованными сторонами. Конкретные требования, предъявляемые к отбору проб при погрузке и выгрузке, приведены ниже.
6.1. Погрузка
Пробы продукции, отправляемой в таре, должны отбираться во время погрузки или непосредственно перед ней на месте погрузки.
6.2. Выгрузка
Если продукция прибыла морским или речным путем, то отбор проб должен проводиться при выгрузке из судна.
6.3. Отбор проб из грузовых контейнеров, цистерн и платформ
Отбор образцов из грузовых контейнеров, цистерн или платформ должен проводиться в месте погрузки или окончательной разгрузки.
7. ОТБОР ПРОБ
7.1. Пробы продукции, перевозимой насыпью
7.1.1. Доставка по морю или другими водными путями
7.1.1.1. Если в контракте специально не оговорено, то поставка должна быть разделена на партии по 500 т или примерно на такие же части, составляющие поставку.
Примечание. Метрическая тонна (1 т) = 1000 кг.
Если поставка перевозится на нескольких транспортах, то каждый транспорт должен составлять одну партию продукции.
7.1.1.2. Если отбор проб проводится во время движения продукции, то отбор проб следует проводить в промежутки времени, зависящие от скорости движения потока.
7.1.1.3. При отборе проб незатаренной продукции во время погрузки или разгрузки пробы должны отбираться из возможно большего количества мест, исключая кормовое сужение, и в промежутки времени, определяемые темпом погрузки или разгрузки.
7.1.1.4. При отборе проб из грузовых бункеров до взвешивания пробы должны отбираться при помощи цилиндрических пробоотборников, совков или механических пробоотборников согласно установленному в порту порядку.
7.1.1.5. Метод отбора проб от продукции, хранящейся на складе, в большей мере зависит от конкретных условий.
7.1.2. Доставка железнодорожным или автомобильным транспортом
7.1.2.1. Если в контракте специально не оговорено, то пробы нужно брать из каждого загруженного вагона или грузового автомобиля.
7.1.2.2. При отборе проб из загруженных вагонов или грузовых автомобилей точечные пробы должны быть взяты по всей глубине насыпи при помощи цилиндрического пробоотборника, вводимого вертикально в следующих точках.
Вагоны и грузовые автомобили грузоподъемностью до 15 тонн: 5 точек отбора (в середине и приблизительно на расстоянии 500 мм от стенок и бортов)
Вагоны грузоподъемностью от 15 до 30 тонн: восемь точек отбора
Вагоны грузоподъемностью от 30 до 50 тонн: одиннадцать точек отбора.
По согласованию с торгующими организациями пробы могут отбираться только в трех уровнях (сверху, в середине и снизу), а не по всей глубине насыпи.
7.1.2.3. Если тип вагона не позволяет провести отбор проб вышеуказанным способом, то по соглашению между покупателем и продавцом отбор проб может быть проведен согласно 7.1.1.2 настоящего стандарта.
7.1.3. Перевозка в грузовых контейнерах, цистернах и на платформах
Пробы следует отбирать согласно 7.1.2.2.
7.2. Пробы продукции, перевозимой в мешках или другой таре
7.2.1. Если нет специальных оговорок в контракте или установившаяся практика работы порта не требует ничего другого, то точечные пробы следует отбирать из различных частей мешка (например из верхней части, середины и нижней части) с помощью мешочного щупа. Количество проверяемых мешков указано в таблице 1.
Таблица 1
Количество мешков, подлежащих отбору проб
Количество мешков
в поставке
подлежащих отбору проб
До 10
Каждый мешок
От 10 до 100
10 мешков, взятых произвольно
Более 100
Количество мешков примерно равно квадратному корню от общего числа мешков в поставке, взятых согласно подходящей схеме отбора проб в соответствии с Приложением Б
Если после взятия проб щупом в мешках остаются отверстия, они должны быть заделаны.
7.2.2. Перевозка в фасованном виде
Фасованная продукция обычно транспортируется в открытых контейнерах или больших картонных коробках, вмещающих большое количество фасовки.
Для определения количества контейнеров или картонных коробок, из которых будут отбираться пробы, нужно поступать так же, как в случае отбора проб из мешков, т.е. согласно 7.2.1. Если в поставке общее количество контейнеров или коробок не превышает 1000, то из каждого контейнера или из каждой коробки, предназначенной для отбора проб, должна быть взята только одна фасовка.
Для того чтобы гарантировать произвольность при выборе фасовки из содержимого контейнера или коробки, необходимо, по возможности, исключить отбор фасовок, занимающих одинаковые места в контейнере или коробке.
Фасовки, выбранные таким образом, нужно рассматривать как точечные пробы.
8. ОБЪЕДИНЕННАЯ ПРОБА
Объединенная проба формируется путем тщательного смешивания точечных проб.
8.1. Пробы отбираемые из нефасованных продуктов, должны быть тщательно перемешаны.
8.2. Если объединенная проба состоит из отдельных проб, отобранных от расфасованных продуктов, то все они должны быть отправлены на испытания, если между покупателем и продавцом не оговорено иначе.
9. СРЕДНИЕ (ЛАБОРАТОРНЫЕ) ПРОБЫ
Если объединенная проба сформирована путем смешивания проб, отобранных от нефасованного продукта, то для получения требуемого числа средних (лабораторных) проб ее необходимо разделить при помощи оборудования в соответствии с разделом 5.
Число средних (лабораторных) проб, необходимых для анализа и оценки, должно быть оговорено в контракте или в обоюдном соглашении между покупателем и продавцом.
10. МАССА ПРОБ
Если объединенная проба сформирована путем смешивания точечных проб, отобранных от нефасованного продукта, то масса пробы соответствует величинам, приведенным в таблице 2.
Таблица 2
Масса проб
Масса партии, т
Точечная проба, кг, не более
Объединенная проба, кг, не более
Средняя (лабораторная) проба, кг
До 500
1
100
3
В случае необходимости масса получаемых средних (лабораторных) проб может быть увеличена или уменьшена.
11. УПАКОВКА И МАРКИРОВКА ПРОБ
11.1. Упаковка проб
11.1.1. Пробы должны быть упакованы в емкости, изготовленные из материала, не вступающего в химические реакции с продуктом, например, в стеклянные бутылки или банки с притертыми крышками, в мешки из грубой плотной небеленой хлопчатобумажной ткани или бумажные мешки.
11.1.2. Пробы, предназначенные для определения влажности или других испытаний, когда не допускается потеря летучего вещества (например, при исследовании на наличие химической обработки), должны быть упакованы в воздухонепроницаемые и влагонепроницаемые емкости, снабженные герметично закрывающимися крышками.
Во избежание потери влаги и порчи продукта емкости должны быть полностью заполнены, а крышки опечатаны.
11.1.3. На мешках и других емкостях должны быть подписи (печати) лиц, отбиравших пробу.
11.2. Этикетки для проб
При использовании бумажных этикеток материал для них должен быть высокого качества. Отверстие на этикетке должно быть укреплено. Этикетка должна быть прикреплена к емкости, содержащей пробу, и иметь подписи (печать) лиц, отбиравших пробу. Подписи (печать) следует располагать таким образом, чтобы гарантировать неприкосновенность пробы.
Каждая этикетка должна содержать следующую информацию:
наименование судна, вагона и др.;
наименование и адрес отправителя;
наименование и адрес получателя;
дату прибытия;
массу груза;
общую массу и количество мешков;
наименование продукции;
обозначение марки и номер партии;
наименование поставщика;
наименование покупателя;
номер контракта и дату его подписания;
дату отбора проб;
дату окончания выгрузки;
место и точки отбора проб;
фамилию, имя лица, отбиравшего пробу.
Информация на этикетку должна наноситься несмываемой краской.
По соглашению между продавцом и покупателем дубликат этикетки может быть вложен внутрь емкости с пробой, если проба не предназначена для определения влажности.
12. ОТПРАВКА ПРОБ
Пробы должны быть отправлены как можно быстрее и только в исключительных случаях допускается отправка позднее чем через 48 ч после отбора проб (исключая нерабочие дни).
13. ОТЧЕТ ОБ ОТБОРЕ ПРОБ
Отчет об отборе проб, кроме обычной информации, должен содержать сведения о состоянии продукта, от которого отбираются пробы, включая признаки зараженности вредителями на складах, в силосных башнях, на судне и других транспортных средствах. Зараженность вредителями не всегда легко выявляется, только при специальном осмотре или просеивании.
В отчете должны быть также сведения о применяемом оборудовании для отбора проб, если оно отличается от описанного в данном стандарте, и всех обстоятельствах, которые могли бы повлиять на процесс отбора проб.
Приложение А
(справочное)
ПРИМЕРЫ ЗЕРНОВЫХ И БОБОВЫХ, ПОДВЕРГШИХСЯ ОБРАБОТКЕ,
И ТРУДНО ПОДДАЮЩИХСЯ КЛАССИФИКАЦИИ
Предложенный список не является исчерпывающим, но дает представление о продуктах, которые трудно классифицировать. Для отбора проб предлагается следующая классификация:
Зерна или семена
Перловая крупа (ячневая крупа)
Рис неполированный (шелушеный)
Рис полированный (шлифованный)
Рис полированный
Рис обогащенный
Пшеница обрушенная
Молотые продукты
Крупа овсяная дробленая (целые зерна овса)
Овсяная мука (плющеная овсяная крупа)
Все молотые продукты в виде хлопьев
Приложение Б
(справочное)
СХЕМА ОТБОРА ПРОБ ИЗ ПОСТАВОК, СОДЕРЖАЩИХ БОЛЕЕ 100 ЕДИНИЦ
(МЕШКОВ, ЕМКОСТЕЙ)
Для поставок, состоящих из более чем 100 единиц (мешков, емкостей), количество проверяемых единиц (мешков, емкостей) приблизительно равно квадратному корню от общего числа мешков в поставке.
Поставку следует мысленно разделить на некоторое число групп, в каждой из которых содержится n единиц (мешков), соответствующее квадратному корню от количества мешков во всей поставке (округленное в большую сторону).
Для N от 101 до 10 000 единиц (мешков) количество n мешков, образующих одну группу согласно таблице Б.1. В каждой из этих групп следует произвольно выбрать один мешок для отбора проб.
Таблица Б.1
Схема отбора проб для поставок, содержащих более
100 мешков
N
n
101 - 121
11
122 - 144
12
145 - 169
13
170 - 196
14
197 - 225
15
226 - 256
16
257 - 289
17
290 - 324
18
325 - 361
19
362 - 400
20
401 - 441
21
442 - 484
22
485 - 529
23
530 - 576
24
577 - 625
25
626 - 676
26
677 - 729
27
730 - 784
28
785 - 841
29
842 - 900
30
901 - 961
31
962 - 1024
32
1025 - 1089
33
1090 - 1156
34
1157 - 1225
35
1226 - 1296
36
1297 - 1369
37
1370 - 1444
38
1445 - 1521
39
1522 - 1600
40
1601 - 1681
41
1682 - 1764
42
1765 - 1849
43
1850 - 1936
44
1937 - 2025
45
2026 - 2116
46
2117 - 2209
47
2210 - 2304
48
2305 - 2401
49
2402 - 2500
50
2501 - 2601
51
2602 - 2704
52
2705 - 2809
53
2810 - 2916
54
2917 - 3025
55
3026 - 3136
56
3137 - 3249
57
3250 - 3364
58
3365 - 3481
59
3482 - 3600
60
3601 - 3721
61
3722 - 3844
62
3845 - 3969
63
3970 - 4096
64
4097 - 4225
65
4226 - 4356
66
4357 - 4489
67
4490 - 4624
68
4625 - 4761
69
4762 - 4900
70
4901 - 5041
71
5042 - 5184
72
5085 - 5329
73
5330 - 5476
74
5477 - 5625
75
5626 - 5776
76
5777 - 5929
77
5930 - 6084
78
6085 - 6241
79
6242 - 6400
80
6401 - 6561
81
6562 - 6724
82
6725 - 6889
83
6890 - 7056
84
7057 - 7225
85
7226 - 7396
86
7397 - 7569
87
7570 - 7744
88
7745 - 7921
89
7922 - 8100
90
8101 - 8281
91
8282 - 8464
92
8465 - 8649
93
8650 - 8836
94
8837 - 9025
95
9026 - 9216
96
9217 - 9409
97
9410 - 9604
98
9605 - 9801
99
9802 - 10000
100
N - количество мешков в поставке;
n - количество мешков в группе.
Лицам, проводящим отбор проб, рекомендуется записать цифры от 1 до n и каждый раз вычеркивать одну цифру, прежде чем выбрать из группы n мешков и отбирать пробу из мешка, соответствующего этой цифре.
Пример. Поставка содержит 200 единиц (N). Для N, равного 197 - 225, количество мешков n в каждой группе равно 15. Необходимо записать цифры 1, 2, 3, ..., 14, 15. Вычеркнуть одну цифру, например, 7. Из первой группы, состоящей из 15 мешков, берут седьмой мешок и из него отбирают пробы. Вычеркнуть другую цифру, например, 3. Из второй группы, состоящей из 15 мешков, берут третий мешок и из него отбирают пробы. Процедуру продолжают, пока не отберут пробы из 13 групп по 15 мешков (всего 195 мешков). Оставшаяся группа содержит менее 15 мешков. Из нее произвольно берут мешок для отбора проб. Таким образом, из поставки, содержащей 200 единиц (мешков), отбирают пробы из 14 мешков (n - 1).
Для поставок, содержащих более 10 000 мешков, n равно квадратному корню из N, округленному до большего значения.