Главная // Актуальные документы // ГОСТ (Государственный стандарт)
СПРАВКА
Источник публикации
М.: ИПК Издательство стандартов, 2001
Примечание к документу
Документ утратил силу на территории Российской Федерации с 1 июля 2010 года в связи с изданием Приказа Ростехрегулирования от 18.12.2008 N 582-ст. Взамен введен в действие ГОСТ Р 53146-2008.

Ограничение срока действия снято по Протоколу N 7-95 Межгосударственного совета по стандартизации, метрологии и сертификации ("ИУС", N 11, 1995).

Документ введен в действие с 1 января 1992 года.

Взамен ГОСТ 12694-80.
Название документа
"ГОСТ 12694-90. Межгосударственный стандарт. Изделия трикотажные бельевые для детей новорожденных, ясельного и дошкольного возраста. Общие технические условия"
(утв. и введен в действие Постановлением Госстандарта СССР от 14.11.1990 N 2825)

"ГОСТ 12694-90. Межгосударственный стандарт. Изделия трикотажные бельевые для детей новорожденных, ясельного и дошкольного возраста. Общие технические условия"
(утв. и введен в действие Постановлением Госстандарта СССР от 14.11.1990 N 2825)


Содержание


Утвержден и введен в действие
Постановлением Государственного
комитета СССР по управлению
качеством продукции и стандартам
от 14 ноября 1990 г. N 2825
МЕЖГОСУДАРСТВЕННЫЙ СТАНДАРТ
ИЗДЕЛИЯ ТРИКОТАЖНЫЕ БЕЛЬЕВЫЕ ДЛЯ ДЕТЕЙ
НОВОРОЖДЕННЫХ, ЯСЕЛЬНОГО И ДОШКОЛЬНОГО ВОЗРАСТА
ОБЩИЕ ТЕХНИЧЕСКИЕ УСЛОВИЯ
Knitted underwear for babies and nursery-school children.
General specifications
ГОСТ 12694-90
Группа М42
ОКП 84 1140
Дата введения
1 января 1992 года
ИНФОРМАЦИОННЫЕ ДАННЫЕ
1. Разработан и внесен Государственным комитетом по легкой промышленности при Госплане СССР.
2. Утвержден и введен в действие Постановлением Государственного комитета СССР по управлению качеством продукции и стандартам от 14.11.90 N 2825.
3. Взамен ГОСТ 12694-80.
4. Ссылочные нормативно-технические документы
Обозначение НТД, на который дана ссылка
Номер пункта, раздела
ГОСТ 1136-81
ГОСТ 9176-87
ГОСТ 10399-87
ИС МЕГАНОРМ: примечание.
Взамен ГОСТ 13711-82 Постановлением Госстандарта России от 09.01.2001 N 2-ст с 1 января 2002 года введен в действие ГОСТ 30157.0-95.
ГОСТ 13711-82
ГОСТ 26006-83
ГОСТ 26289-84
5. Ограничение срока действия снято по протоколу N 7-95 Межгосударственного Совета по стандартизации, метрологии и сертификации (ИУС 11-95).
6. Переиздание. Ноябрь 2000 г.
Настоящий стандарт распространяется на бельевые трикотажные изделия для детей новорожденных, ясельного и дошкольного возраста.
1. ВИДЫ И РАЗМЕРЫ
1.1. Бельевые изделия подразделяют на следующие виды: распашонки (черт. 1), рубашечки (черт. 2), кофточки (черт. 3), ползунки (черт. 4, 5), конверты (черт. 6, 7), комбинезоны (черт. 8), полукомбинезоны (черт. 9, 10), трусы с нагрудником или бретелями (черт. 11), чепчики (черт. 12), подгузники (черт. 13), пинетки (черт. 14), рукавички (черт. 15), фартуки (черт. 16), простынки, пелерины (черт. 17).
Определение основных понятий бельевых изделий - по ГОСТ 17037.
1.2. Изделия изготовляют различных конструкций и моделей отдельно или в комплекте с изделиями, предусмотренными настоящим стандартом и другой нормативно-технической документацией.
1.3. Изделия должны изготовляться в размерах, соответствующих размерным признакам типовой фигуры детей, указанным в табл. 1 - 3.
Таблица 1
Размеры кофточек, комбинезонов и полукомбинезонов коротких
см
Возрастная группа
Ясельная
Дошкольная
Рост
62
68, 74
74
80, 86
92
98, 104
98, 104
110, 116
80, 86
92
110
110, 116
Обхват груди
40
44
48
52
56
52
56
60
Таблица 2
Размеры ползунков, комбинезонов, полукомбинезонов длинных
см
Возрастная группа
Ясельная
Дошкольная
Рост
62
68
74
80
92
98
98
110
74
80
86
104
104
116
86
92
110
110
116
Обхват груди
40
44
48
52
56
52
56
60
Примечание. Ползунки изготовляют с размера 62 - 40 по размер 80 - 52.
Таблица 3
Размеры распашонок, рубашечек, конвертов, трусов
с нагрудником или бретелями, пелерин, чепчиков, рукавичек,
фартуков, подгузников, пинеток
см
Вид изделия
Обхват груди
Распашонки, конверты без рукавов, рукавички
40, 44, 48
Рубашечки, конверты с рукавами, пинетки
44, 48
Трусы с нагрудником или бретелями
44, 48, 52, 56, 60
Пелерины
40, 44, 48, 52, 56, 60
Чепчики
40, 44, 48, 52
Подгузники
40, 44
Фартуки
44, 48, 52, 56
Размеры простынок должны быть 85 x 100, 90 x 100, 100 x 100 см.
Изготовление изделий других размеров, не предусмотренных стандартом, производится по заказу потребителя.
1.4. Линейные размеры изделий должны соответствовать размерам типовых фигур мальчиков и девочек по ГОСТ 17916, ГОСТ 17917 и "Методическим указаниям для конструирования одежды. Величины размерных признаков типовых фигур девочек", "Методическим указаниям для конструирования одежды. Величины размерных признаков типовых фигур мальчиков" и предусматриваться в техническом описании на модель.
Изделия по ростам комплектуют в соответствии с Приложением 1.
Группы растяжимости полотен для проектирования линейных размеров изделий приведены в Приложении 2.
1.5. Межростовая разница по длине изделий и рукавов должна соответствовать табл. 4.
Таблица 4
Наименование изделия
Межростовая разница по длине, см
изделий
рукавов длинных
Ползунки, комбинезоны, полукомбинезоны длинные, конверты
6,0
4,0
Ползунки, полукомбинезоны короткие, кофточки
4,0
4,0
Примечание. Межростовая разница по длине изделий и рукавов, не предусмотренных в таблице (комбинезонов и полукомбинезонов с разной длиной ножки, ползунков-мешков и др.), должна быть указана в техническом описании на модель.
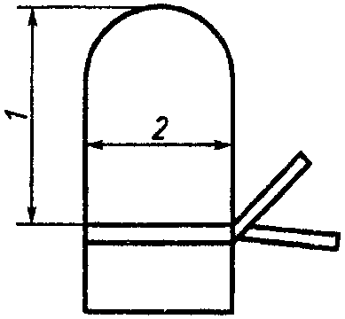
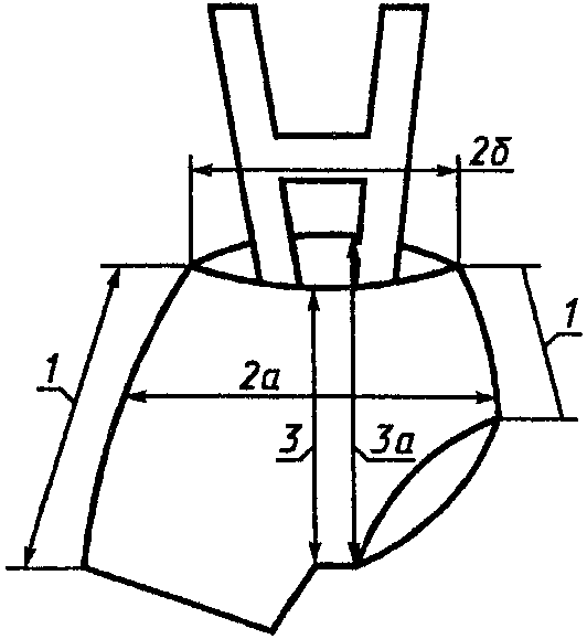
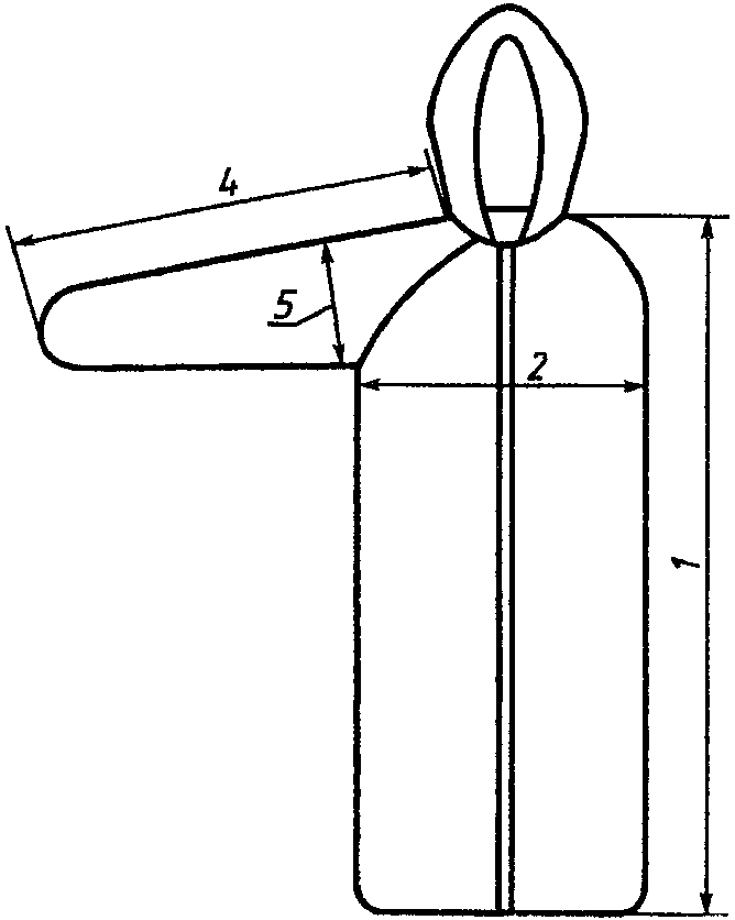
1.6. Места основных измерений изделий и допускаемые отклонения от установленных линейных размеров указаны в табл. 5 и на черт. 1 - 17.
Таблица 5
Номер измерения на чертеже
Наименование измерения
Номер чертежа
Наименование изделия
Место измерения
Допускаемое отклонение от линейного размера, см
1
Длина изделия
1, 2, 3
Распашонка, рубашечка, кофточка
По прямой от высшей точки плечевого шва до низа
+2,0
-1,5
1
Длина изделия
5, 6, 7, 8, 9, 10, 17
Ползунки, конверт, комбинезон, полукомбинезон, пелерина
По прямой от высшей точки плечевого шва или верха бретели до низа изделия
+/- 2,0
1
То же
Полукомбинезон
По прямой от высшей точки плечевого шва или верха бретели до середины основания ластовицы (шагового шва)
+/- 2,0
1
"
Ползунки
По прямой от верхнего края пояса до низа следа в сложенном виде или до низа изделия
+/- 2,0
1
"
Чепчик, капюшон
По прямой от верхней точки переда до нижнего края в сложенном виде
+/- 1,0
1
"
Подгузник, фартук
По прямой на уровне середины от верхнего до нижнего края изделия
+/- 1,0
1
Длина по боку
Трусы с нагрудником или бретелями
По прямой от верхнего края пояса до низа следа в сложенном виде или до низа изделия
+/- 2,0
1
Высота
Пинетки
По прямой от уровня завязок до низа следа в сложенном виде
+/- 1,0
1
То же
Рукавички
По прямой от верха до уровня завязок
+/- 1,0
2
Ширина изделия
1, 2, 3, 5, 6, 8
Распашонка, рубашечка, кофточка, ползунки, конверт с рукавами, комбинезон
По прямой между боковыми сгибами (швами) на 2 см ниже глубины проймы
+/- 1,0
2
То же
1, 2, 3, 7
Распашонки, рубашечки, кофточки с цельнокроеными рукавами, конверт без рукавов
По прямой между боковыми сгибами (швами) посередине изделий
+/- 1,0
2
"
Чепчик, капюшон
По прямой посередине длины спереди до затылочной части
+/- 1,0
2
"
Рукавички
По прямой посередине длины от верха до уровня завязок
+/- 1,0
2
"
Фартук
По прямой в самой широкой части изделия
+/- 1,0
Ширина по линии бедер
4, 11
Ползунки, трусы с нагрудником или бретелями
По прямой между боковыми сгибами (швами) посередине длины переда
+/- 1,0
Ширина пояса на эластичной (резиновой) тесьме
4, 11
То же
По прямой на уровне верхнего края
+/- 1,0
3
Длина переда
4, 11
"
По прямой от верхнего края переда до середины основания ластовицы или шагового шва
+/- 1,0
Длина сидения
4, 11
Ползунки, трусы с нагрудником или бретелями
По прямой от верхнего края сидения до середины основания ластовицы или шагового шва
+/- 1,0
4
Длина рукава:
втачного
1, 2, 3, 6, 8
Распашонка, рубашечка, кофточка, конверт, комбинезон
От высшей точки оката рукава вдоль средней линии рукава до низа
+2,0
-1,0
реглан, цельнокроеного
1, 2, 3, 6, 8
То же
От высшей точки горловины вдоль средней линии рукава до низа
+2,0
-1,0
5
Ширина рукава (втачного или реглан)
1, 2, 3, 6, 8
"
По прямой от нижней точки проймы перпендикулярно к средней линии рукава
+/- 1,0
6
Длина стана
5, 8, 9, 10
Ползунки, комбинезон, полукомбинезон
По прямой от высшей точки линии плеча или шва до середины основания ластовицы или до шагового шва
+/- 2,0
7
Длина следа
4, 5, 8, 9, 14
Ползунки, комбинезон, полукомбинезон, пинетки
По прямой между крайними точками следа в сложенном виде
+/- 1,0
Примечания.
1. Допускаемое отклонение по длине и ширине простынок +/- 2,0 см.
2. Места измерений и допускаемые отклонения к линейным измерениям устанавливаются в техническом описании на модель:
ширины по линии груди полукомбинезонов;
ширины по линии бедер комбинезонов, полукомбинезонов;
ширины пелерины, подгузников;
длины короткого рукава.
3. Длину изделия и рукава измеряют, включая бейку, кант, манжету и напульсник в сложенном или отвернутом виде, в зависимости от модели.
Черт. 1
Черт. 2
Черт. 3
Черт. 4
Черт. 5
Черт. 6
Черт. 7
Черт. 8
Черт. 9
Черт. 10
Черт. 11
Черт. 12
Черт. 13
Черт. 14
Черт. 15
Черт. 16
Черт. 17
2. ТЕХНИЧЕСКИЕ ТРЕБОВАНИЯ
2.1. Бельевые трикотажные изделия должны соответствовать требованиям настоящего стандарта и по внешнему виду, модели, конструкции, изготовлению и прикладным материалам - образцу-эталону, утвержденному по ГОСТ 15.007, и техническому описанию на модель, утвержденному в установленном порядке.
2.2. Характеристики
2.2.1. Бельевые изделия изготовляют из натурального и искусственного сырья (вискозы, сиблона, полинозного) и их сочетаний.
Применение других видов искусственного сырья, а также синтетического сырья в изделиях должно быть разрешено органами Министерства здравоохранения СССР.
2.2.2. Требования к пошиву, виды и параметры стежков, строчек и швов, линейная плотность швейных ниток и нитей должны соответствовать требованиям ГОСТ 10399, ГОСТ 6309 и другой нормативно-технической документации и типовых технологических режимов со следующими дополнениями:
виды обработки горловины, низа рукавов, бортов, воротников, низа и верха изделий, виды и наличие ластовиц в ползунках, комбинезонах и полукомбинезонах, места расположения застежки в изделиях, наличие запаха в распашонках, величина подгиба краев изделий, количество швов в комбинезонах и полукомбинезонах, ширина прокладываемой эластичной тесьмы должны быть указаны в техническом описании на модель;
трусы должны изготовляться с двойной ластовицей;
торс ползунков, ползунков-конвертов и трусов всех видов должен быть с одним или двумя швами;
затылочная часть чепчиков должна состоять из одной детали шириной не менее 9 см на уровне измерения ширины изделия;
воротник должен быть двойным или одинарным в соответствии с утвержденным образцом-эталоном;
при изготовлении распашонок с запахом величина запаха должна быть не менее 5 см;
наличие, вид и цвет прикладных и отделочных материалов, фурнитуры и швейных ниток должны быть указаны в техническом описании на модель.
2.3. Требования к сырью и материалам
2.3.1. Полотна, применяемые для изготовления бельевых изделий, должны соответствовать требованиям ГОСТ 28554 и другой нормативно-технической документации.
Изделия изготовляют из трикотажных полотен гладких и рисунчатых переплетений, пестровязаных и набивных, гладкокрашеных, отбеленных, отваренных и других видов отделки, комбинированными из различных видов полотен и с различными видами материалов.
2.3.2. Изменение линейных размеров полотна для изделий после мокрых обработок должно соответствовать ГОСТ 26289.
2.3.3. Устойчивость окраски полотна для изделий должна соответствовать требованиям ГОСТ 2351.
2.3.4. Прикладные, отделочные материалы, фурнитура и швейные нитки должны соответствовать требованиям нормативно-технической документации.
2.4. Маркировка и упаковка
2.4.1. Маркировка и упаковка бельевых изделий - по ГОСТ 3897.
Первичная упаковка должна обеспечивать сохранность качества изделий при транспортировании и хранении.
Способы упаковывания устанавливаются по согласованию изготовителя и потребителя.
Размеры бельевых трикотажных изделий для детей новорожденных, ясельного и дошкольного возраста определяются ростом и обхватом груди.
Пример обозначения размера кофточки, изготовленной на типовую фигуру с ростом 68, 74 см и обхватом груди 44 см: 68, 74 - 44.
3. ПРИЕМКА
3.1. Приемка изделий - по ГОСТ 9173.
3.2. Определение сортности изделий - по ГОСТ 1136.
4. МЕТОДЫ ИСПЫТАНИЙ
4.1. Методы отбора проб - по ГОСТ 9173.
4.2. Определение линейных размеров - по ГОСТ 8846.
ИС МЕГАНОРМ: примечание.
Взамен ГОСТ 13711-82 Постановлением Госстандарта России от 09.01.2001 N 2-ст с 1 января 2002 года введен в действие ГОСТ 30157.0-95.
4.3. Определение изменения линейных размеров после мокрых обработок - по ГОСТ 13711.
4.4. Определение минимально допустимой растяжимости шва и числа стежков в строчке - по ГОСТ 9176.
4.5. Определение явной и скрытой прорубки полотна - по ГОСТ 26006.
4.6. Определение устойчивости окраски изделий к физико-химическим воздействиям - по ГОСТ 9733.0, ГОСТ 9733.4, ГОСТ 9733.6, ГОСТ 9733.27.
5. ТРАНСПОРТИРОВАНИЕ И ХРАНЕНИЕ
Транспортирование и хранение - по ГОСТ 3897.
Приложение 1
Рекомендуемое
КОМПЛЕКТОВАНИЕ ИЗДЕЛИЙ ПО РОСТАМ
Вид изделия
Рост
Изделия, проектируемые на каждый рост типовой фигуры (ползунки, комбинезоны и др.)
68
74
80
86
98
104
110
116
Изделия, проектируемые на два смежных роста типовой фигуры (кофточки, комбинезоны короткие и др.)
68, 74
80, 86
98, 104
110, 116
Приложение 2
Рекомендуемое
ГРУППЫ РАСТЯЖИМОСТИ ПОЛОТЕН, УСТАНОВЛЕННЫЕ
ДЛЯ ПРОЕКТИРОВАНИЯ ЛИНЕЙНЫХ РАЗМЕРОВ ИЗДЕЛИЙ
Условное обозначение группы полотна
Группа растяжимости полотна
Наименование полотна по виду
переплетения
сырьевого состава
I
1
Основовязаное
Искусственное, хлопчатобумажное, шерстяное, смешанное и с содержанием химического сырья
1, 2
Жаккардовое
То же
1
Кулирное однолицевое футерированное
Хлопчатобумажное, смешанное и с содержанием химического сырья
1
Кулирное однолицевое гладкое, покровное, плюшевое
Искусственное, хлопчатобумажное, шерстяное, смешанное и с содержанием химического сырья
II
2
Кулирное однолицевое гладкое, покровное, плюшевое
Искусственное, хлопчатобумажное, шерстяное, смешанное и с содержанием химического сырья
III
2, 3
Двухластичное гладкое и рисунчатое
Хлопчатобумажное, шерстяное, смешанное и с содержанием химического сырья
2, 3
Ластичное и рисунчатое на базе ластика
То же
Примечание. При несоответствии фактической растяжимости полотна группе растяжимости, указанной для данного переплетения, ширина изделий должна приниматься по группе полотен, имеющих группу растяжимости, соответствующую фактической для данного полотна.