Главная // Актуальные документы // ГОСТ (Государственный стандарт)
СПРАВКА
Источник публикации
М.: Стандартинформ, 2015
Примечание к документу
Документ утратил силу с 01.07.2020 в связи с изданием Приказа Росстандарта от 09.10.2019 N 897-ст. Взамен введен в действие ГОСТ ISO 8317-2019.

Документ включен в Перечень международных и региональных (межгосударственных) стандартов (п. п. 281, 300, 315), а в случае их отсутствия - национальных (государственных) стандартов, содержащих правила и методы исследований (испытаний) и измерений, в том числе правила отбора образцов, необходимые для применения и исполнения требований технического регламента Таможенного союза "О безопасности упаковки" (ТР ТС 005/2011) и осуществления оценки соответствия объектов технического регулирования (Решение Коллегии Евразийской экономической комиссии от 29.01.2024 N 9).

Документ включен в Перечень стандартов (пункты 303, 320, 332), содержащих правила и методы исследований (испытаний) и измерений, в том числе правила отбора образцов, необходимые для применения и исполнения требований технического регламента Таможенного союза "О безопасности упаковки" (ТР ТС 005/2011) и осуществления оценки соответствия объектов технического регулирования (Решение Комиссии Таможенного союза от 16.08.2011 N 769).

Документ введен в действие с 01.01.2016.

Взамен ГОСТ ИСО 8317-93.
Название документа
"ГОСТ ISO 8317-2014. Межгосударственный стандарт. Упаковка, откупоривание которой недоступно детям. Требования и испытания упаковки многоразового использования"
(введен в действие Приказом Росстандарта от 30.06.2015 N 852-ст)

"ГОСТ ISO 8317-2014. Межгосударственный стандарт. Упаковка, откупоривание которой недоступно детям. Требования и испытания упаковки многоразового использования"
(введен в действие Приказом Росстандарта от 30.06.2015 N 852-ст)


Содержание


Введен в действие
Приказом Федерального агентства
по техническому регулированию
и метрологии
от 30 июня 2015 г. N 852-ст
МЕЖГОСУДАРСТВЕННЫЙ СТАНДАРТ
УПАКОВКА, ОТКУПОРИВАНИЕ КОТОРОЙ НЕДОСТУПНО ДЕТЯМ
ТРЕБОВАНИЯ И ИСПЫТАНИЯ УПАКОВКИ МНОГОРАЗОВОГО ИСПОЛЬЗОВАНИЯ
Child-resistant packaging. Requirements and testing
procedures for reclosable packages
(ISO 8317:2003, IDT)
ГОСТ ISO 8317-2014
МКС 55.040
Дата введения
1 января 2016 года
Предисловие
Цели, основные принцип и порядок проведения работ по межгосударственной стандартизации установлены в ГОСТ 1.0-92 "Межгосударственная система стандартизации. Основные положения" и ГОСТ 1.2-2009 "Межгосударственная система стандартизации. Стандарты межгосударственные, правила и рекомендации по межгосударственной стандартизации. Правила разработки, принятия, применения, обновления и отмены"
Сведения о стандарте
1 ПОДГОТОВЛЕН Техническим комитетом по стандартизации ТК 415 "Средства укупорочные", ООО "ЦСИ "Продмаштест" на основе собственного аутентичного перевода на русский язык международного стандарта, указанного в пункте 5
2 ВНЕСЕН Федеральным агентством по техническому регулированию и метрологии (Росстандарт)
3 ПРИНЯТ Межгосударственным советом по стандартизации, метрологии и сертификации (протокол от 22 декабря 2014 г. N 73-П)
За принятие проголосовали:
Краткое наименование страны по МК (ИСО 3166) 004-97
Код страны по МК (ИСО 3166) 004-97
Сокращенное наименование национального органа по стандартизации
Армения
AM
Минэкономики Республики Армения
Беларусь
BY
Госстандарт Республики Беларусь
Киргизия
KG
Кыргызстандарт
Молдова
MD
Молдова-Стандарт
Россия
RU
Росстандарт
Таджикистан
TJ
Таджикстандарт
4 Приказом Федерального агентства по техническому регулированию и метрологии от 30 июня 2015 г. N 852-ст межгосударственный стандарт ГОСТ ISO 8317-2014 введен в действие в качестве национального стандарта Российской Федерации с 1 января 2016 г.
5 Настоящий стандарт идентичен международному стандарту ISO 8317:2003 Child-resistant packaging - Requirements and testing procedures for reclosable packages (Упаковка, откупоривание которой недоступно детям. Требования и испытания упаковки многоразового использования)
Международный стандарт разработан Техническим комитетом ИСО/ТК 122 "Упаковка".
Перевод с английского языка (en).
Степень соответствия - идентичная (IDT)
6 Настоящий стандарт подготовлен для обеспечения соблюдения требований технического регламента Таможенного союза ТР ТС 005/2011 "О безопасности упаковки"
7 ВЗАМЕН ГОСТ ИСО 8317-93
Информация об изменениях к настоящему стандарту публикуется в ежегодном информационном указателе "Национальные стандарты", а текст изменений и поправок - в ежемесячном информационном указателе "Национальные стандарты". В случае пересмотра (замены) или отмены настоящего стандарта соответствующее уведомление будет опубликовано в ежемесячном информационном указателе "Национальные стандарты". Соответствующая информация, уведомление и тексты размещаются также в информационной системе общего пользования - на официальном сайте Федерального агентства по техническому регулированию и метрологии в сети Интернет
1. Область применения
Настоящий стандарт устанавливает требования и методы испытания упаковки многоразового использования, откупоривание которой недоступно детям.
Описанная методика проведения испытаний может применяться для упаковки многоразового использования, предназначенной для любой продукции, которая при использовании извлекается из упаковки.
Настоящий стандарт предназначен только для оценки типа упаковки (см. 3.1), но не применим для гарантии качества.
2. Термины и определения
В настоящем стандарте применены следующие термины с соответствующими определениями:
2.1 контейнер (container): Емкость из стекла, металла, пластмассы или комбинации материалов, предназначенная для упаковки продукции и имеющая венчик горловины подходящий под соответствующее укупорочное средство.
2.2 укупорочное средство (closure): Колпачок или крепежное приспособление из металла, пластмассы или комбинации материалов, предназначенные для укупоривания соответствующего контейнера и обеспечивающие герметичность.
2.3 упаковка, откупоривание которой недоступно детям (child-resistant package): Упаковка, состоящая из контейнера и соответствующего укупорочного средства, недоступная для открытия (или доступу к содержимому) детьми в возрасте до пятидесяти двух месяцев, но не вызывает затруднений при открывании у взрослых.
2.4 упаковка многоразового использования (reclosable package): Упаковка, которую после первоначального откупоривания, можно повторно неоднократно закрыть до полного использования содержимого, сохраняя при этом защитные свойства упаковки.
2.5 имитирующий продукт (substitute product): Нейтральный заменитель продукции, вместо которой он используется.
Примечание - Твердые имитирующие продукты для упаковки, откупоривание которой недоступно детям, обычно представляют собой порошок, гранулы или единицы аналогичной формы размером от 5 до 30 мм, желательно нейтрального цвета, и безвредные. Жидкий имитирующий продукт - всегда бесцветная вода.
3. Общие положения
3.1 Соответствие настоящему стандарту
Упаковка, откупоривание которой недоступно детям, испытанная в соответствии с требованиями настоящего стандарта, указывает на правильное ее изготовление, использование, а также показывает, что данная упаковка может обеспечить достаточную степень недоступности откупоривания детьми, сохраняя одновременно доступность содержимого для взрослых, т.е. испытание предназначено для оценки типа упаковки.
Изготовители упаковки и предприятия, производящие заполнение продукции в упаковку, должны идентифицировать показатели упаковки, откупоривание которой недоступно детям в возрасте до 52 месяцев, разработать и внедрить методики испытаний как части проводимой и документально оформляемой процедуры контроля качества, гарантирующей соответствие упаковок требованиям безопасности для детей.
Примечание - Метод необходимых испытаний может быть особенным для конструкции упаковки, откупоривание которой недоступно детям, но контролируемые параметры различных классификаций можно найти в [1] и [2], и использовать в качестве основы для составления соответствующего протокола.
Данные, полученные в результате испытаний механических свойств, можно использовать для подтверждения соответствия упаковки, подпадающей под "серию аналогичных упаковок".
3.2 Упаковка для испытаний
Перед проведением испытаний с участием детей упаковки многоразового использования изготовители и упаковщики должны убедиться в том, что продолжительность срока действия упаковки превышает максимальное количество открывания и закрывания, при этом характеристики и свойства упаковки не ухудшаются.
3.3 Группы людей для испытания упаковки
Испытание проводят двумя группами людей:
a) испытание с участием детей в возрасте от 42 мес до 51 мес включительно;
b) испытание с участием взрослых в возрасте от 50 лет до 70 лет включительно.
4. Требования
4.1 Требования к испытаниям
При представлении на испытание новой упаковки серию упаковок одного типа, представленных на испытание одновременно, оценивают в соответствии со следующими рекомендациями. При этом изготовитель упаковки и/или упаковщик должны предоставить обоснование для такой серии упаковок, которая подтверждает степень их унификации.
Если упаковка, входящая в серию, имеет укупорочные средства, отличающиеся только по диаметру, где наибольший диаметр превышает наименьший в 1,5 раза, то испытывают упаковки с укупорочными средствами наибольшего и наименьшего диаметра, и одну упаковку с укупорочным средством промежуточного размера.
Если упаковочные контейнеры отличаются вместимостью, а укупорочные средства идентичны, то испытывают наибольшую и наименьшую упаковку.
Если упаковочные контейнеры отличаются вместимостью, а укупорочные средства отличаются только по диаметру, но аналогичны по всем своим характеристикам, то испытывают упаковку с укупорочным средством наибольшего и наименьшего диаметров, соответствующим самому большому и самому маленькому контейнеру; то есть обычно четыре сочетания "контейнер/укупорочное средство" с указанным выше соотношением диаметров 1,5.
Испытуемая система "контейнер/укупорочное средство" должна быть представительной системой, которая в обычных условиях эксплуатации включает любой комок или прокладку, если это является неотъемлемой частью укупорочной системы.
Если все упаковки прошли испытания, то считается что контейнеры и укупорочные средства промежуточных размеров из той же серии, соответствуют требованиям настоящего стандарта.
Если испытывают упаковки имеющие корпус контейнера разной формы, но все другие характеристики одинаковые, а укупорочные средства идентичны или отличаются только по диаметру, то испытывают все формы корпуса и обеспечивают испытание не менее четырех сочетаний "контейнер/укупорочное средство".
Если все упаковки успешно проходят испытание, то контейнеры и укупорочные средства других размеров считают соответствующими требованиям настоящего стандарта.
Если после проведения испытаний и приемки ряда упаковок необходимо добавить упаковки, размеры которых выходят за пределы принятого ряда, то проводят дополнительные испытания для расширения установленного ряда.
Все другие варианты испытывают как отдельные серии. При незначительных изменениях в конструкции контейнера и укупорочных средств упаковка должна пройти механические испытания.
4.2 Требования безопасности
Упаковка, откупоривание которой недоступно детям, должна отвечать требованиям безопасности для детей, изложенным в 4.3, а также должна удовлетворять требованиям к упаковке, например, соответствовать ее содержимому, обеспечивать механическую защиту и функционировать должным образом в течение всего периода ее использования.
4.3 Эксплуатационные требования
4.3.1 Требования для детей
4.3.1.1 Испытания проводят с группой из 200 детей
При испытании упаковки в соответствии с 5.4.3 должны выполняться следующие требования:
- не менее 85% из 200 детей испытательной группы не должны открыть упаковку в течение 5 мин до показа;
- не менее 80% из 200 детей этой же группы не должны открыть ту же самую упаковку в течение 5 мин после показа.
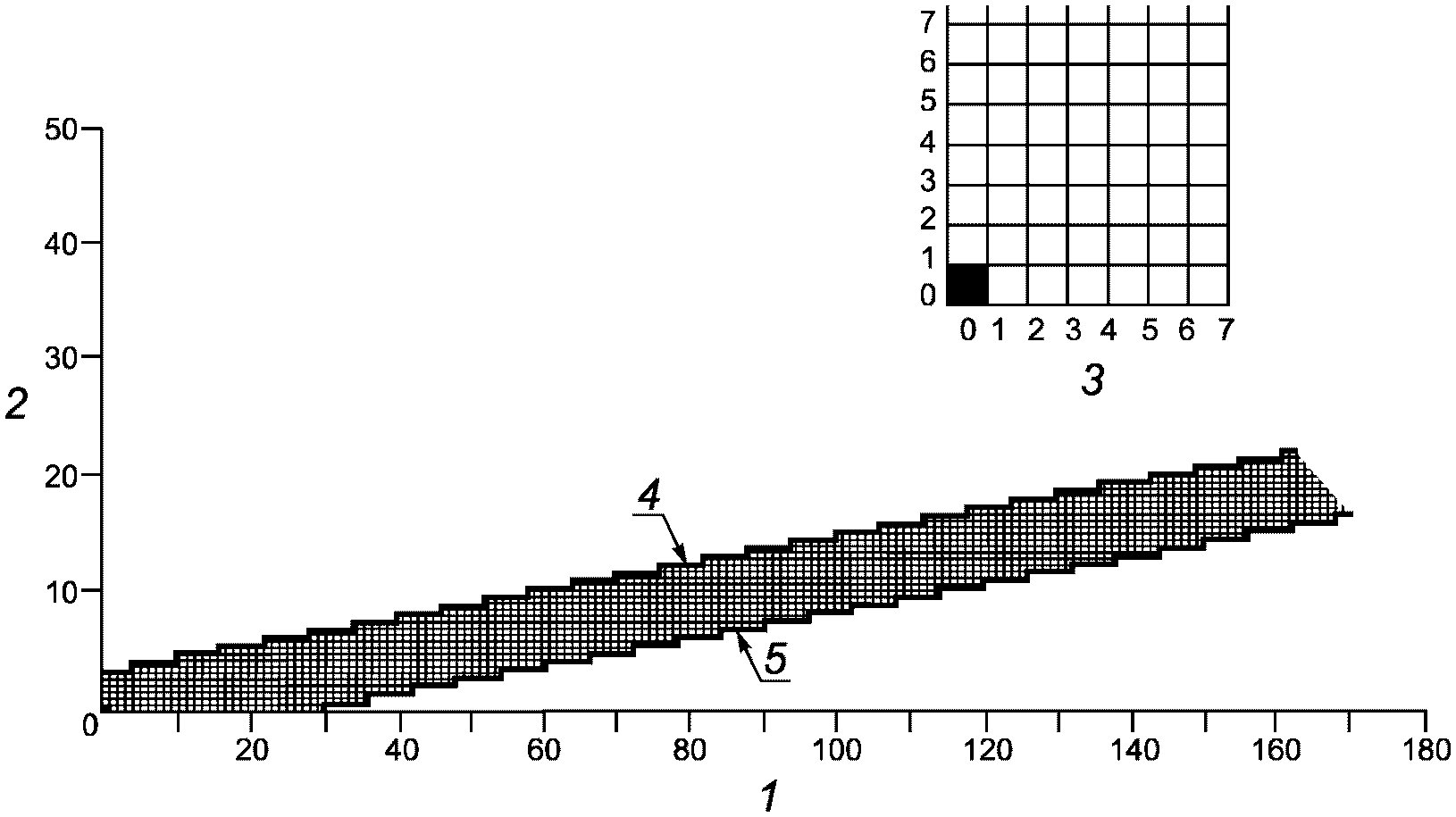
4.3.1.2 Использование последовательного метода испытаний
ИС МЕГАНОРМ: примечание.
В официальном тексте документа, видимо, допущена опечатка: пункт 7.1.2 отсутствует.
При использовании группы, меньшей, чем полная группа для испытаний в соответствии с 7.1.2, результат получают из заполнения рисунка 1 и 2.
1 - количество неоткрытых упаковок;
2 - количество открытых упаковок; 3 - увеличение масштаба
графика; 4 - линия предела 2; 5 - линия предела 1
Допустимый уровень качества (AQL) = 10%; предельный уровень качества (LQ): 20%; a = b = 5%, где a - риск изготовителя; b - риск потребителя.
Рисунок 1 - График испытания с участием детей упаковки
многоразового использования, откупоривание которой
недоступно детям, по последовательной методике (до показа)
1 - количество неоткрытых упаковок; 2 - количество открытых
упаковок; 3 - линия предела 2; 4 - линия предела 1
Допустимый уровень качества (AQL) = 15%; предельный уровень качества (LQ): 25%; a = b = 5%, где a - риск изготовителя; b - риск потребителя.
Примечание - Увеличение масштаба графика см. на рисунке 1.
Рисунок 2 - График испытания с участием детей
упаковки многоразового использования, откупоривание
которой недоступно детям, по последовательной методике
(после показа)
4.3.2 Требования для взрослых людей
При испытании упаковки в соответствии с 5.5.2, 90% отобранных взрослых людей должны суметь открыть и надлежащим образом повторно закрыть упаковку.
5. Проведение испытаний
5.1 Контроль за проведением испытаний
Все испытания должны проходить под наблюдением объективного и квалифицированного специалиста(ов). При испытании с участием детей, инспектор(ы) по контролю должны уметь обращаться с детьми.
5.2 Образцы упаковок
Необходимо предоставить достаточное количество упаковок, соответствующих рисункам и спецификациям контейнера и укупорочных средств, чтобы инспектор(ы) мог(ли) выбрать нужный для испытания образец и обеспечить резерв для справочной информации.
Для каждого испытания предусматривают новую упаковку для всех участников.
5.3 Предварительная проверка и подготовка
Непосредственно перед испытанием каждая упаковка должна быть открыта и повторно закрыта надлежащим образом.
В упаковках, которые недоступны для детей и содержат защиту от неумелого обращения, инспектор(ы), проводящий(е) испытание, должен(ы) разрушить эту защиту и перед испытанием произвести открытие, как указано в предыдущем разделе. Упаковку, предназначенную для испытания, не допускается заполнять опасной продукцией.
Для испытаний с участием взрослых и детей упаковку заполняют имитирующей продукцией.
Упаковку номинальной вместимостью до 1 дм3, предназначенную для жидкостей или твердых веществ, заполняют имитирующей продукцией полностью, т.е. в таком виде, в каком она поступает в продажу; упаковку номинальной вместимостью более 1 дм3, заполняют 1 кг твердого или 1 дм3 жидкого имитирующего продукта соответствующим образом.
Ограничение количества имитирующего продукта до 1 кг твердого или 1 дм3 жидкого продукта вызвано тем, что такое содержание обеспечивает достаточную массу контейнера, и не утяжеляет его чрезмерно, чтобы ребенок смог поднять его и манипулировать им при проведении испытания.
Если укупорочную систему, используемую на испытуемой упаковке, проверяют на крутящий момент, то инспектор по контролю должен собрать упаковки вручную и оставить их на 72 ч при комнатной температуре до проведения испытаний. Это позволит материалам (например, колпачок/прокладка/комок ваты) обеспечить наилучшее сцепление.
Значение крутящего момента должно быть внесено в протокол испытаний. После подготовки упаковок для испытаний, следует обращаться осторожно с ними.
5.4 Испытание с участием детей
5.4.1 Инструкция для инспекторов по контролю за проведением испытаний
5.4.1.1 Окружающие и персонал
Окружающие и персонал должны быть хорошо знакомы детям и доброжелательны.
5.4.1.2 Присутствие родителей
Дети ведут себя иначе, если упаковки предъявляют в присутствии родителей. Привлечение родителей к испытаниям нежелательно, т.к. дети боятся обмануть ожидания родителей. Чтобы не допускать влияния родителей, следует исключить их присутствие на испытаниях.
5.4.1.3 Присутствие официального наблюдателя
По требованию контролирующего органа, официальный наблюдатель может присутствовать при испытании, но требования 5.4.1.1 остаются в силе.
5.4.1.4 Социальное происхождение детей
Существует взаимосвязь между степенью успешных попыток открытия упаковок и социальным происхождением детей. Детей следует отбирать так, чтобы они представляли социальные, этнические и культурные слои населения страны в целом, а не только той местности, где проводят испытание. Если это невозможно, в протоколе следует отметить отклонение от данного метода отбора.
5.4.1.5 Исключение внешних отвлекающих факторов
Во время испытания дети должны находиться не в помещении для занятий, а в определенном месте для испытаний и должны быть защищены от внешних отвлекающих факторов.
5.4.1.6 Размещение детей
Дети должны сидеть парами за расставленными столами или партами, или, по желанию, они могут сидеть на полу.
5.4.2 Комплектование испытательной группы
Необходимо обеспечить участие 200 детей в возрасте от 42 до 51 мес включительно, равномерно распределив их по возрасту и полу. Все они должны быть здоровы, без явных физических недостатков, которые могли бы повлиять на ловкость рук. Среди них не должно быть детей, принимавших участие более чем в одном испытании упаковки с другим принципом откупоривания. Если ребенок участвует в испытаниях повторно, желательно, чтобы между испытаниями прошло не менее недели. Одновременно лучше проводить только одно испытание за один сеанс, потому что наблюдается большое различие между результатами испытаний одной и другой упаковки.
5.4.3 Место проведения испытания
Испытание с участием детей проводят в любом знакомом для детей месте, например, в школе или детском саду, но эти дети должны быть изолированы от общего контингента учащихся и защищены от внешних отвлекающих факторов. Необходимо обеспечить не менее трех мест для проведения испытаний, выбранных в разных демографических районах. Ни одно индивидуальное лицо, проводящее испытание, не может назначить более 35% детей для участия в испытании.
5.4.4 Методика испытания
Испытание проводят с 200 детьми или по последовательной методике. В последнем случае количество детей, участвующих в испытании, будет зависеть от полученных результатов (см. 6.1.2). При испытании по последовательной методике должны соблюдаться ограничения по возрасту и полу, указанные в 5.4.2.
Дети участвуют в испытании парами, и каждую пару контролирует один инспектор по контролю за проведением испытания. В одном месте и в одно время в испытании могут участвовать несколько пар (до 5) при условии, что это не будет отвлекать другие пары. Дети могут принимать любое положение, которое сочтут удобным. Если ребенок ушел со своего места во время испытания, инспектор по контролю должен вернуть его на место и попросить продолжить испытание, не давая дополнительных инструкций по откупориванию упаковок; это обстоятельство должно быть отражено в протоколе испытания.
Каждому ребенку дают упаковку и просят открыть ее любым способом, в течение 5 мин. Ребенка не останавливают, если он захочет открыть упаковку зубами или любым другим способом. Однако ребенок не должен иметь доступа к каким-либо инструментам или подручным средствам для откупоривания, кроме тех инструментов и устройств, которые специально приложены и являются частью упаковки с защитой от вскрытия детьми; в этом случае ребенок должен иметь малозаметный доступ к такому инструменту, нельзя заострять на нем внимание ребенка до демонстрации откупоривания упаковки.
Если ребенок откроет упаковку в течение 5 мин, он должен оставаться на месте до конца испытания. Ребенку, не справившемуся с заданием в течение 5 мин, инспектор по контролю должен показать, как открывается и закрывается упаковка, не поясняя своих действий. Затем ребенку дают еще 5 мин для откупоривания упаковки.
5.4.5 Оформление результатов (см. 6.1)
Через каждые 5 мин регистрируют, открыл ли ребенок упаковку; если да, то когда это произошло - до или после демонстрации. Следует также отметить, использовались ли для откупоривания упаковки зубы (или какие-либо другие средства).
5.5 Испытание с участием взрослых (в возрасте от 50 до 70 лет включительно)
5.5.1 Общие положения
В отличие от испытания с участием детей нет необходимости проводить испытание с участием взрослых в определенном месте или времени.
5.5.2 Комплектование группы для испытания
Для участия в испытании комплектуют группу из 100 участников.
Перед проведением испытания каждого взрослого подвергают отборочной проверке. Он должен отрицательно ответить на следующий вопрос: не связана ли его профессия с конструированием, производством или применением упаковки, откупоривание которой недоступно детям?
Можно предоставить вопрос в письменном виде, чтобы проверить, грамотен ли человек. Лица с явными физическими недостатками, которые могли бы повлиять на ловкость рук, а также люди, неспособные понимать инструкции, к испытаниям не допускаются.
Участникам доступно объясняют цель испытания, но без наглядного показа.
Произвольно отбирают 100 подходящих участников в возрасте от 50 до 70 лет в соответствии с требованиями, указанными в таблице 1. Не более 30 человек, участвовавших в каком-либо другом месте проведения испытаний. Одно индивидуальное лицо не может проводить испытания с участием более 35 взрослых человек.
Таблица 1
Состав взрослой испытательной группы
Возрастной диапазон (лет)
Мужчин
Женщин
Всего
50 - 54
8 или 7
17 или 18
25
55 - 59
7 или 8
18 или 17
25
60 - 70
15
35
50
Всего
30
70
100
5.5.3 Методика проведения испытаний
Взрослая испытательная группа состоит из 100 участников. Участники, которые не прошли отбор, исключаются, и на их место набирают новых участников. Каждому взрослому участнику выдают упаковку со всеми вспомогательными средствами и инструкциями по откупориванию и укупориванию, напечатанными на упаковке или вложенными в нее в том виде, в каком упаковка поступает к потребителю. Демонстрацию откупоривания и укупоривания упаковки не проводят. Участникам испытания в течение 5 мин предлагают прочитать инструкцию, а затем правильно открыть и закрыть упаковку.
Если в течение 5 мин участник не смог открыть испытуемую упаковку, то участник проходит дополнительное тестирование. Дополнительный тест должен включать просьбу к участнику открыть и повторно закрыть два обычных укупорочных средства (без устройства защиты от вскрытия детьми) за 1 мин каждое, которые представляют собой:
a) колпачок диаметром 28 мм со сплошной винтовой резьбой, навинчиваемый с крутящим моментом 1,1 Нм на цилиндрический пластмассовый контейнер вместимостью от 25 до 50 дм3;
b) крышку с пружинной защелкой, диаметром 28 мм, надеваемую на круглый пластмассовый контейнер вместимостью от 25 до 50 дм3. Участники, неспособные открыть или повторно закрыть обе такие упаковки в течение 1 мин дополнительного теста, исключаются из результатов взрослой испытательной группы.
Участников, способных открыть обе эти упаковки, считают несправившимися с задачей в конечном результате.
Тем участникам, которые успешно открыли испытуемую упаковку в течение 5 мин, выдают новую идентичную упаковку с просьбой открыть и повторно укупорить ее максимально быстро. Участнику дается 1 мин, для того чтобы открыть и повторно надлежащим образом укупорить упаковку.
5.5.4 Оформление результатов (см. 6.2)
Следует записать, успешно ли взрослый участник открыл и надлежащим ли образом повторно закрыл упаковку за 1 мин испытания, включая дополнительный тест, в случае его проведения, см. 5.5.3 и 4.3.2.
6. Оценка результатов
6.1 Испытание с участием детей
6.1.1 Положительные/отрицательные
Результат испытания считают отрицательным, если ребенок сможет открыть упаковку (или получит доступ к ее содержимому).
6.1.2 Последовательный метод
6.1.2.1 Изображение результатов испытаний на графике
Каждый полученный результат фиксируют на соответствующем графике, заполняя клетки следующим образом:
- справа от предыдущего результата, если ребенок не смог открыть упаковку (или достичь доступа к ее содержимому) в течение первых 5 мин (рисунок 1), и на рисунке 2, если ребенок не смог открыть упаковку (или достичь доступа к ее содержимому) в течение следующих 5 мин, т.е. положительный результат (см. 6.1.1);
- над предыдущим результатом на рисунках 1 и 2, если ребенок смог открыть упаковку (или достичь доступа к ее содержимому) в течение первых 5 мин, или только на рисунке 2, если ребенок смог открыть упаковку (или достичь доступа к ее содержимому) в течение следующих 5 мин, т.е. отрицательный результат (см. п. 6.1.1).
Должна получиться отдельная цепочка заполненных клеток для результатов, до и после показа.
Примечание - В случае заполнения первого результата незаполненную клетку считают предварительным результатом.
6.1.2.2 Определение результатов
Упаковку считают:
- прошедшей испытание, если цепочка заполненных клеток проходит, ниже линии предела 1 как на рисунке 1, так и на рисунке 2;
- не прошедшей испытание, если цепочка заполненных клеток проходит над линией предела 2 как на рисунке 1, так и на рисунке 2;
- если не происходит ни того ни другого, результаты оценивают в соответствии с требованиями, указанными в 4.3.1.
6.1.3 Полное испытание
Если не используют последовательную методику, и испытания проводят с участием всех детей, результаты оценивают в соответствии с требованиями, указанными в 4.3.1.
6.2 Испытание с участием взрослых
Результат испытания считают положительным, если 90% или более отобранных взрослых смогли открыть упаковку в течение первых 5 мин испытания и открыть и снова надлежащим образом укупорить упаковку в течение 1 мин испытания. Отобранный взрослый - это тот, который не был исключен в соответствии с методикой, изложенной в 5.5.3.
Результат испытания, проведенного отдельным взрослым, считают отрицательным, если отобранный кандидат смог открыть упаковку в течение первых 5 мин, но не смог открыть и снова надлежащим образом укупорить упаковку в течение 1 мин испытания.
6.3 Результат общих испытаний
Только упаковку, удовлетворяющую требованиям испытаний, указанным в 4.3.1.1 и 4.3.2, как с участием детей, так и взрослых, считают соответствующей настоящему стандарту.
7. Протокол испытаний
7.1 Общие положения
В протоколе испытаний должна быть указана инспектором по контролю за проведением испытаний следующая информация:
a) наименование организации, проводящей испытания;
b) дата проведения испытаний;
c) наименование и адрес изготовителя испытуемой упаковки и/или фасовщика/упаковщика продукции;
d) фамилии лиц, осуществляющих контроль за проведением испытаний;
e) номер технических условий, классификационные номера и полное описание испытуемых упаковок;
f) полный текст поясняющих указаний и т.п., предоставленных взрослым участникам и детям во время испытания;
g) копии инструкций изготовителя по открыванию и повторному укупориванию упаковок, предоставленные взрослым во время испытаний;
h) описание имитирующей продукции, используемой для испытания.
7.2 Испытание с участием детей
В протоколе испытаний указывают следующие данные:
a) место проведения испытания;
b) количество, имя, возраст и пол детей, участвовавших в испытании;
c) количество детей, с указанием возраста и пола, успешно открывших упаковку:
1) до показа,
2) после показа,
3) средства, используемые детьми, успешно открывших упаковку;
d) если испытания проводились с участием всех детей, количество детей (в процентах), не сумевших открыть упаковку.
7.3 Испытание с участием взрослых
В протоколе испытаний необходимо указать следующую информацию:
a) количество, возраст и пол взрослых, участвовавших в испытании;
b) количество, возраст и пол взрослых участников, которые успешно открыли и повторно должным образом укупорили упаковку;
c) количество участников, которые открыли, но не сумели должным образом повторно укупорить упаковку;
d) количество участников, которые не сумели открыть упаковку.
7.4 Дополнительная информация (по выбору) для внесения в протокол испытаний
В протокол испытаний следует включать любую дополнительную информацию, которая будет полезной при оценке и интерпретации результата, например, время, в течение которого взрослые участники и дети открыли и закрыли упаковки, метод, используемый детьми для осуществления доступа, и т.д.
7.5 Результат общих испытаний
В протоколе испытаний необходимо указать, является ли результат общих испытаний положительным или отрицательным.
Библиография
[1]
Руководство ИСО/МЭК 23:1982 (ISO/IEC Guide 23:1982)
Методы указания соответствия стандартам для систем сертификации с участием третьей стороны
[2]
American Society for Testing and Materials (ASTM) Standards Annual Volume 15.09
Американское общество по испытаниям и материалам, том 15.09 ежегодного издания стандартов