Главная // Актуальные документы // ГОСТ (Государственный стандарт)
СПРАВКА
Источник публикации
М.: Стандартинформ, 2013
Примечание к документу
Документ утратил силу с 1 января 2017 года в связи с изданием Приказа Росстандарта от 30.05.2016 N 439-ст. Взамен введен в действие ГОСТ IEC 60335-2-70-2015.

Документ включен в Перечень стандартов, в результате применения которых на добровольной основе обеспечивается соблюдение требований технического регламента Таможенного союза "О безопасности низковольтного оборудования" (ТР ТС 004/2011) и в Перечень стандартов, содержащих правила и методы исследований (испытаний) и измерений, в том числе правила отбора образцов, необходимые для применения и исполнения требований технического регламента Таможенного союза "О безопасности низковольтного оборудования" (ТР ТС 004/2011) и осуществления оценки соответствия объектов технического регулирования (Решение Комиссии Таможенного союза от 16.08.2011 N 768).

Документ введен в действие с 1 января 2013 года.
Название документа
"ГОСТ IEC 60335-2-70-2011. Межгосударственный стандарт. Безопасность бытовых и аналогичных электрических приборов. Часть 2-70. Частные требования к доильным установкам"
(введен в действие Приказом Росстандарта 14.12.2011 N 1498-ст)

"ГОСТ IEC 60335-2-70-2011. Межгосударственный стандарт. Безопасность бытовых и аналогичных электрических приборов. Часть 2-70. Частные требования к доильным установкам"
(введен в действие Приказом Росстандарта 14.12.2011 N 1498-ст)


Содержание


Введен в действие
Приказом Федерального агентства
по техническому регулированию
и метрологии
от 14 декабря 2011 г. N 1498-ст
МЕЖГОСУДАРСТВЕННЫЙ СТАНДАРТ
БЕЗОПАСНОСТЬ БЫТОВЫХ И АНАЛОГИЧНЫХ ЭЛЕКТРИЧЕСКИХ ПРИБОРОВ
ЧАСТЬ 2-70
ЧАСТНЫЕ ТРЕБОВАНИЯ К ДОИЛЬНЫМ УСТАНОВКАМ
Safety of household and similar electrical appliances.
Part 2-70. Particular requirements for milking machines.
(IEC 60335-2-70:1993, IDT)
ГОСТ IEC 60335-2-70-2011
Группа Е75
МКС 97.180
Дата введения
1 января 2013 года
Предисловие
Цели, основные принципы и основной порядок проведения работ по межгосударственной стандартизации установлены ГОСТ 1.0-92 "Межгосударственная система стандартизации. Основные положения" и ГОСТ 1.2-2009 "Межгосударственная система стандартизации. Стандарты межгосударственные, правила и рекомендации по межгосударственной стандартизации. Правила разработки, принятия, применения, обновления и отмены".
Сведения о стандарте
1. Подготовлен Обществом с ограниченной ответственностью "МП Сертификационная лаборатория бытовой электротехники ТЕСТБЭТ" (ООО "ТЕСТБЭТ" в рамках Технического комитета по стандартизации ТК 19 "Электрические приборы бытового назначения" на основе собственного аутентичного перевода на русский язык стандарта, указанного в пункте 5.
2. Внесен Федеральным агентством по техническому регулированию и метрологии.
3. Принят Межгосударственным советом по стандартизации, метрологии и сертификации (Протокол от 29 ноября 2011 г. N 40).
За принятие стандарта проголосовали:
Краткое наименование страны по МК (ИСО 3166) 004-97
Код страны по МК (ИСО 3166)004-97
Сокращенное наименование национального органа по стандартизации
Азербайджан
AZ
Азстандарт
Беларусь
BY
Госстандарт Республики Беларусь
Кыргызстан
KG
Кыргызстандарт
Российская Федерация
RU
Росстандарт
Таджикистан
TJ
Таджикстандарт
4. Приказом Федерального агентства по техническому регулированию и метрологии от 14 декабря 2011 г. N 1498-ст межгосударственный стандарт ГОСТ IEC 60335-2-70-2011 введен в действие в качестве национального стандарта Российской Федерации с 1 января 2013 г.
5. Настоящий стандарт идентичен международному стандарту IEC 60335-2-70:1993 Safety of household and similar electrical appliances. Part 2. Particular requirements for milking machines (Безопасность бытовых и аналогичных приборов. Часть 2.70. Дополнительные требования к доильным установкам).
Степень соответствия - идентичная (IDT).
Сведения о соответствии межгосударственных стандартов ссылочным международным стандартам приведены в дополнительном Приложении ДА.
Стандарт подготовлен на основе применения ГОСТ Р МЭК 60335-2-70-98.
6. Введен впервые.
Информация о введении в действие (прекращении действия) настоящего стандарта публикуется в ежемесячно издаваемом указателе "Национальные стандарты".
Информация об изменениях к настоящему стандарту публикуется в ежегодно издаваемом информационном указателе "Национальные стандарты", а текст изменений и поправок - в ежемесячно издаваемом информационном указателе "Национальные стандарты". В случае пересмотра или отмены настоящего стандарта соответствующая информация будет опубликована в ежемесячно издаваемом информационном указателе "Национальные стандарты".
Введение
В соответствии с соглашением по техническим барьерам в торговле Всемирной торговой организации (Соглашение по ТБТ ВТО) применение международных стандартов является одним из важных условий, обеспечивающих устранение технических барьеров в торговле.
Применение международных стандартов осуществляется путем принятия международных стандартов в качестве региональных или национальных стандартов.
С целью обеспечения взаимопонимания национальных органов по стандартизации в части применения международного стандарта Международной электротехнической комиссии (IEC) подготовлен ГОСТ IEC 60335-2-70 "Безопасность бытовых и аналогичных приборов. Часть 2.70. Дополнительные требования к доильным установкам".
Настоящий стандарт относится к группе стандартов, регламентирующих требования безопасности бытовых и аналогичных электрических приборов, состоящей из части 1 (IEC 60335-1 с Изменениями N 1 (1994) и N 2 (1999)) - общие требования безопасности приборов, а также частей, устанавливающих частные требования к конкретным видам приборов.
Стандарт применяют совместно с международным стандартом МЭК 60335-1 с Изменениями N 1 (1994) и N 2 (1999).
Номера пунктов настоящего стандарта, которые дополняют разделы ГОСТ IEC 60335-1, начинаются с цифры 101; дополнительные приложения обозначены буквами AA, BB и т.д.
ИС МЕГАНОРМ: примечание.
Требования к методам испытаний, выделенные курсивом в официальном тексте документа, в электронной версии документа отмечены знаком "#"; термины, выделенные полужирным шрифтом в официальном тексте документа, в электронной версии документа отмечены знаком "@".
Требования к методам испытаний выделены курсивом.
Термины, применяемые в настоящем стандарте, выделены полужирным шрифтом.
Нормативные ссылки приведены в Приложении A.
1. ОБЛАСТЬ ПРИМЕНЕНИЯ
Этот раздел части 1 заменен следующим.
Настоящий стандарт устанавливает требования безопасности @к доильным установкам@, используемым в стойлах и на выгонах, которые созданы для молочных ферм животных, таких как коровы, @с номинальным напряжением@ не более 250 В для однофазных установок и 480 В - для других установок.
Примечания
1. Примерами таких установок являются:
- ведерные @доильные установки@;
- бидонные @доильные установки@;
- @доильные@ трубопроводные @установки@;
- записывающие (регистрирующие) @доильные установки@;
- @доильные установки@ с раздельным воздушным и молочным трубопроводами.
2. Примеры @доильных установок@, на которые распространяется настоящий стандарт, приведены в ИСО 3918 и в Приложении AA.
3. Верхний предел @номинального@ однофазного @напряжения@ может быть превышен в случаях, когда требуются многофазные электродвигатели на 480 В.
4. Настоящий стандарт распространяется на @агрегаты@ доильных установок, поставляемые одним изготовителем и предназначенные для сборки комплекта @доильной установки@. Стандарт может использоваться в качестве руководства по безопасности @доильных установок@, собираемых из агрегатов, производимых разными изготовителями.
5. Следует обратить внимание на следующее:
- Для @доильных установок@, предназначенных для использования на транспортных средствах, на борту кораблей, самолетов могут быть необходимы дополнительные требования.
- Для @доильных установок@, предназначенных для использования в тропических странах, могут быть необходимы дополнительные требования.
- Во многих странах национальные органы здравоохранения, охраны труда и органы водоснабжения предъявляют к приборам дополнительные требования.
2. ТЕРМИНЫ И ОПРЕДЕЛЕНИЯ
Этот раздел части 1 применяют, за исключением следующего.
2.2.9. Замена
@Условия нормальной эксплуатации вакуумного насоса и пульсирующей системы@ (normal operation of a vacuum pump and of a pulsation system): работа с номинальным вакуумом в течение эксплуатации.
@Условия нормальной эксплуатации выходного (выпускного) молочного насоса@ (normal operation of a releaser milk pump): работа, когда вакуумная система функционирует с номинальным вакуумом вакуумного насоса.
@Условия нормальной эксплуатации фильтрующей системы@ (normal operation of a cleaning system): работа фильтрующей системы в соответствии с указаниями изготовителя.
@Условия нормальной эксплуатации во время доения@ (normal operation during milking): функционирование вакуумного насоса, пульсирующей системы и выходного молочного насоса на протяжении работы в соответствии с указаниями изготовителя.
@Условия нормальной эксплуатации во время фильтрации@ (normal operation during cleaning): функционирование вакуумного насоса, пульсирующей системы, выходного молочного насоса и фильтрующей системы на протяжении работы в соответствии с указаниями изготовителя.
2.2.101. @Агрегат@ (sub-assembly): часть, которая в сочетании с другими частями, составляет комплект доильной установки.
2.2.102. @Доильная установка@ (milking machine): комплект устройств (механизмов), предназначенный для доения, обычно включающий вакуумную и пульсирующую системы, один или несколько аппаратов и другие компоненты.
2.2.103. @Доильный комплекс@ (milking unit): совокупность компонентов доильной установки, которые собраны в установку так, что более одного животного может быть подоено одновременно.
2.2.104. @Вакуумный насос@ (vacuum pump): воздушный насос, который создает вакуум в системе.
2.2.105. @Пульсирующая система@ (pulsation system): система, в которой циклически изменяется давление; это осуществляется или пневматически, или электрически в камерах доильных установок.
2.2.106. @Выходной молочный насос@ (pulsation system): устройство для откачивания молока из вакуумной системы.
2.2.107. @Номинальный вакуум@ (rated vacuum): вакуум, назначенный изготовителем для вакуумного насоса или пульсирующей системы.
3. ОБЩИЕ ТРЕБОВАНИЯ
Этот раздел части 1 применяют.
4. ОБЩИЕ УСЛОВИЯ ИСПЫТАНИЙ
Этот раздел части 1 применяют, за исключением следующего.
4.2. Дополнение
#Изготовитель обязан поставлять необходимый испытательный комплект с указанием по монтажу, чтобы обеспечить возможность проверить @доильную установку@ или ее @агрегаты@.#
4.101. #В случае, если испытания, указанные в настоящем стандарте, требуют работы @доильной установки@ ниже @условий нормальной эксплуатации@, испытания проводят отдельно при нормальных условиях операции доения и операции фильтрования.#
5. В СТАДИИ РАССМОТРЕНИЯ
6. КЛАССИФИКАЦИЯ
Этот раздел части 1 применяют, за исключением следующего.
6.1. Замена
@Доильные установки@ или @агрегаты@ по типу защиты от поражения электрическим током должны быть @классов I, II@ или @III@.
@Доильные установки или агрегаты класса III@ должны иметь номинальное напряжение не более 24 В.
#Соответствие требованию проверяют осмотром и соответствующими испытаниями.#
6.2. Замена
Части @доильной установки@ или @агрегата@, которые содержат электронные элементы и при техническом обслуживании обмываются водной струей, должны иметь степень защиты IPX6. Другие электрические части должны иметь степень защиты IPX4.
#Соответствие требованию проверяют осмотром и соответствующими испытаниями.#
7. МАРКИРОВКА И ИНСТРУКЦИИ
Этот раздел части 1 применяют, за исключением следующего.
7.1. Дополнение
@Доильные установки@ или @агрегаты@, которые не маркированы степенью защиты IPX6 и которые установлены согласно указаниям изготовителя в местах, где вероятно попадание под водную моющую струю, должны иметь надпись:
"НЕ ПОЛЬЗОВАТЬСЯ ШЛАНГОМ"
@Вакуумные насосы@ и @пульсирующие системы@ должны быть маркированы значениями @номинального вакуума@ в килопаскалях.
7.12.1. Дополнение
Изготовитель @доильной установки@ должен снабжать ее указаниями, которые должны включать следующее:
- принципиальную схему;
- указания, обеспечивающие объединение установки в эффективное оборудование, связанное в систему;
- указания по размещению частей, не маркированных степенью защиты IPX6, в месте, где они не подвержены риску попадания под водную струю высокого давления;
- подробности о чистке доильной установки в полностью собранном виде;
- указание, что сборку установки проводят в соответствии с правилами монтажа по IEC 60364-7-705.
Доильная установка должна быть оснащена инструкцией, которая содержит необходимые сведения об обслуживании и функционировании установки, а также замене запасных частей. Сведения должны включать:
- периодичность обслуживания и детализацию всех процессов замены и регулировок;
- перечень номеров всех частей и, где применимо, агрегатов, используемых в установке.
Изготовители @агрегатов@ должны снабжать их соответствующими указаниями по монтажу и проведению обслуживания.
7.15. Дополнение
Каждый отдельный @агрегат@ должен иметь соответствующую маркировку.
8. ЗАЩИТА ОТ КОНТАКТА С ТОКОВЕДУЩИМИ ЧАСТЯМИ
Этот раздел части 1 применяют.
9. ПУСК ЭЛЕКТРОМЕХАНИЧЕСКИХ ПРИБОРОВ
Этот раздел части 1 не применяют.
10. ПОТРЕБЛЯЕМАЯ МОЩНОСТЬ И ТОК
Этот раздел части 1 применяют.
11. НАГРЕВ
Этот раздел части 1 применяют, за исключением следующего.
11.7. Дополнение
#Рабочий период фильтрации означает максимальное время фильтрации в соответствии с указаниями изготовителя.#
12. В СТАДИИ РАССМОТРЕНИЯ
13. ТОК УТЕЧКИ И ЭЛЕКТРИЧЕСКАЯ ПРОЧНОСТЬ ПРИ РАБОЧЕЙ
ТЕМПЕРАТУРЕ
Этот раздел части 1 применяют.
14. В СТАДИИ РАССМОТРЕНИЯ
15. ВЛАГОСТОЙКОСТЬ
Этот раздел части 1 применяют.
16. ТОК УТЕЧКИ И ЭЛЕКТРИЧЕСКАЯ ПРОЧНОСТЬ
Этот раздел части 1 применяют.
17. ЗАЩИТА ОТ ПЕРЕГРУЗКИ ТРАНСФОРМАТОРОВ И СОЕДИНЕННЫХ
С НИМИ ЦЕПЕЙ
Этот раздел части 1 применяют.
18. ИЗНОСОСТОЙКОСТЬ
Этот раздел части 1 не применяют.
19. НЕНОРМАЛЬНАЯ РАБОТА
Этот раздел части 1 применяют, за исключением следующего.
19.1. Дополнение
#Соответствие требованию также проверяют применением каких-либо операций или внедрением каких-либо дефектов, которые можно ожидать в нормальных условиях, в то время как доильная установка работает вне условий нормальной эксплуатации и номинального напряжения. За один раз воспроизводят только один вариант ненормальной работы, испытания проводят последовательно. Во время испытаний температура проводов не должна превышать значений, приведенных в таблице 6 IEC 60335-1.#
Примечания
1. Примеры ненормальных условий:
- программный контроллер остановлен в каком-либо положении;
- отключение или переключение одной или более фаз электропитания во время действия какой-либо части программы;
- размыкание или замыкание электроэлементов, таких как резисторы, конденсаторы, индуктивности и т.п.;
- провал магнитных волн;
- отключение водоснабжения;
- отключение водоочистки.
2. В основном испытания ограничивают теми случаями, которые могут ожидаться для создания наиболее неблагоприятных результатов.
3. Для целей этих испытаний тепловую защиту не замыкают накоротко.
19.2. #Не применяют.#
19.3. #Не применяют.#
19.7. Дополнение
#Движущиеся части @вакуумных насосов@ блокируют так долго, насколько это необходимо для получения установившегося состояния.#
20. УСТОЙЧИВОСТЬ И МЕХАНИЧЕСКИЕ ОПАСНОСТИ
Этот раздел части 1 применяют.
21. МЕХАНИЧЕСКАЯ ПРОЧНОСТЬ
Этот раздел части 1 применяют, за исключением следующего.
21.1. Изменение
#Пружину ударного устройства регулируют так, чтобы энергия удара составляла (1,0 +/- 0,1) Дж.#
22. КОНСТРУКЦИЯ
Этот раздел части 1 применяют, за исключением следующего.
22.1. Дополнение
Ограждение мотора, который предназначен для установки в зонах вне доения, в пыльной среде, должно иметь степень защиты не ниже IP4X. Ограждение других электрических частей, предназначенных для установки в таких зонах, должно иметь степень защиты не ниже IP5X.
22.33. Дополнение
Примечание. Жидкости в @доильных установках@ считаются доступными проводящими жидкостями.
23. ВНУТРЕННЯЯ ПРОВОДКА
Этот раздел части 1 применяют.
24. КОМПЛЕКТУЮЩИЕ ИЗДЕЛИЯ
Этот раздел части 1 применяют.
25. ПРИСОЕДИНЕНИЕ К ИСТОЧНИКУ ПИТАНИЯ И ВНЕШНИЕ
ГИБКИЕ ШНУРЫ
Этот раздел части 1 применяют, за исключением следующего.
25.7. Дополнение
@Гибкие шнуры@ не должны быть легче простых полихлоропреновых шнуров в оболочке (марка шнура 245 IEC 57)
#Соответствие требованию проверяют осмотром.#
26. ЗАЖИМЫ ДЛЯ ВНЕШНИХ ПРОВОДОВ
Этот раздел части 1 применяют.
27. ЗАЗЕМЛЕНИЕ
Этот раздел части 1 применяют, за исключением следующего.
27.2. Дополнение
@Доильная установка@ и ее @агрегаты@ должны быть снабжены зажимом для подключения внешнего нейтрального соединительного проводника. Этот зажим должен иметь надежный контакт со всеми доступными металлическими частями @доильной установки@ и ее @агрегатов@ и должен обеспечивать подключение проводника, имеющего поперечное сечение до 10 мм2. Зажим должен находиться в месте, удобном для подключения соединительного проводника после сборки @доильной установки@ или ее @агрегатов@.
Примечание. Небольшие неподвижные доступные металлические части, например таблички с надписями и др., не требуют электрического контакта с зажимом.
28. ВИНТЫ И СОЕДИНЕНИЯ
Этот раздел части 1 применяют.
29. ПУТИ УТЕЧКИ ТОКА, ВОЗДУШНЫЕ ЗАЗОРЫ И РАССТОЯНИЯ
ПО ИЗОЛЯЦИИ
Этот раздел части 1 применяют.
30. ТЕПЛОСТОЙКОСТЬ, ОГНЕСТОЙКОСТЬ И СТОЙКОСТЬ К ОБРАЗОВАНИЮ
ТОКОВЕДУЩИХ МОСТИКОВ
Этот раздел части 1 применяют, за исключением следующего.
30.2. Изменение
#Заменить испытательную спецификацию следующей:
Соответствие требованию проверяют испытаниями по 30.2.1, 30.2.3 и, если применимо, по 30.2.4.#
31. СТОЙКОСТЬ К КОРРОЗИИ
Этот раздел части 1 применяют.
32. РАДИАЦИЯ, ТОКСИЧНОСТЬ И ПОДОБНЫЕ ОПАСНОСТИ
Этот раздел части 1 применяют.
Приложения
Приложения части 1 применяют, за исключением следующего.
Приложение A
(справочное)
НОРМАТИВНЫЕ ССЫЛКИ
Дополнение
IEC 60364-7-705:1984 Electrical installations of buildings - Part 7: Requirements for special installations of locations - Section 705: Electrical installations of agricultural and horticultural premises (Электроустановки зданий. Часть 7. Требования к специальным электроустановкам. Раздел 705. Электроустановки сельскохозяйственных и животноводческих помещений)
Приложение AA
(справочное)
ПРИМЕРЫ ДОИЛЬНЫХ УСТАНОВОК
Выдержка из ISO 3918:1977 Milking machine installations - Vocabulary (Установки доильные. Словарь)
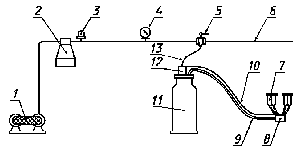
1 - вакуумный насос; 2 - вакуумный сосуд; 3 - регулятор; 4 - вакуумметр; 5 - вакуумный кран; 6 - воздушный трубопровод; 7 - стаканы для сосков; 8 - держатель; 9 - длинная трубка для молока; 10 - длинная пульсирующая трубка; 11 - емкость для молока; 12 - вибратор; 13 - вакуумная трубка
Рисунок AA.1. Доильная установка с емкостью для молока
1 - вакуумный насос; 2- вакуумный сосуд; 3 - регулятор; 4 - вакуумметр; 5 - вакуумный кран; 6 - воздушный трубопровод; 7 - стаканы для сосков; 8 - держатель; 9 - длинная трубка для молока; 10 - длинная пульсирующая трубка; 11 - бидон; 12 - вибратор; 13 - вакуумная трубка
Рисунок AA.2. Доильная установка с подачей молока
1 - вакуумный насос; 2 - вакуумный сосуд; 3 - регулятор; 4 - санитарный сифон; 5 - воздушный трубопровод; 6 - вакуумметр; 7 - вибратор; 8 - длинная пульсирующая трубка; 9 - стаканы для сосков; 10 - держатель; 11 - длинная трубка для молока; 12 - молочный трубопровод; 13 - ресивер; 14 - насос сливного устройства молока; 15 - подающий трубопровод
Примечание. Механическое встроенное сливное устройство для молока в приемной камере может быть установлено на место ресивера и насоса сливного устройства молока.
Рисунок AA.3. Доильная установка с молочным трубопроводом
1 - вакуумный насос; 2 вакуумный сосуд; 3 - регулятор; 4 - санитарный сифон; 5 - воздушный трубопровод (пульсаторы); 6 - воздушный трубопровод (молочный вакуум); 7 - вакуумметр; 8 - вибратор; 9 - длинная пульсирующая трубка; 10 - стаканы для сосков; 11 - держатель; 12 - длинная трубка для молока; 13 - емкость, снабженная регистрирующим прибором; 14 - подающий трубопровод; 15 - ресивер; 16 - насос сливного устройства молока; 17 - подающий трубопровод
Примечание. Механическое встроенное сливное устройство для молока в приемной камере может быть установлено на место ресивера и насоса сливного устройства молока.
Рисунок AA.4. Доильная установка с емкостью, снабженной
регистрирующим прибором.
Приложение ДА
(справочное)
СВЕДЕНИЯ О СООТВЕТСТВИИ МЕЖГОСУДАРСТВЕННЫХ СТАНДАРТОВ
ССЫЛОЧНЫМ МЕЖДУНАРОДНЫМ СТАНДАРТАМ
Таблица ДА.1
Обозначение и наименование международного стандарта
Степень соответствия
Обозначение и наименование межгосударственного стандарта
IEC 60335-1:1991 Приборы электрические бытового и аналогичного назначения. Безопасность. Часть 1. Общие требования
NEQ
ГОСТ МЭК 60335-1-2008 Бытовые и аналогичные электрические приборы. Безопасность. Часть 1. Общие требования
IEC 60364-7-705:1984 Электроустановки зданий. Часть 7. Требования к специальным электроустановкам. Раздел 705. Электроустановки сельскохозяйственных и животноводческих помещений
-
<*>
Примечание. В настоящей таблице использованы следующее условное обозначение степени соответствия стандарта:
NEQ - неэквивалентный стандарт.